Movatterモバイル変換


[0]ホーム

URL:


CN113280581B - Vacuum microwave low-temperature dehydration equipment for meat - Google Patents

Vacuum microwave low-temperature dehydration equipment for meat
Download PDF

Info

Publication number
CN113280581B
CN113280581BCN202110604156.0ACN202110604156ACN113280581BCN 113280581 BCN113280581 BCN 113280581BCN 202110604156 ACN202110604156 ACN 202110604156ACN 113280581 BCN113280581 BCN 113280581B
Authority
CN
China
Prior art keywords
fixedly arranged
box body
meat
vacuum pump
vacuum
Prior art date
Legal status (The legal status is an assumption and is not a legal conclusion. Google has not performed a legal analysis and makes no representation as to the accuracy of the status listed.)
Active
Application number
CN202110604156.0A
Other languages
Chinese (zh)
Other versions
CN113280581A (en
Inventor
武杰
刘勇
Current Assignee (The listed assignees may be inaccurate. Google has not performed a legal analysis and makes no representation or warranty as to the accuracy of the list.)
Bengbu College
Original Assignee
Bengbu College
Priority date (The priority date is an assumption and is not a legal conclusion. Google has not performed a legal analysis and makes no representation as to the accuracy of the date listed.)
Filing date
Publication date
Application filed by Bengbu CollegefiledCriticalBengbu College
Priority to CN202110604156.0ApriorityCriticalpatent/CN113280581B/en
Publication of CN113280581ApublicationCriticalpatent/CN113280581A/en
Application grantedgrantedCritical
Publication of CN113280581BpublicationCriticalpatent/CN113280581B/en
Activelegal-statusCriticalCurrent
Anticipated expirationlegal-statusCritical

Links

Images

Classifications

Landscapes

Abstract

Translated fromChinese

本发明提供一种用于肉类真空微波低温脱水设备,所述箱体的外壁上固定设置有操作面板、示意灯和PLC控制器,所述箱体上连通设置有进气管和真空泵,所述箱体的内腔中固定设置有真空表和温度传感器;所述空心柱固定设置在箱体中,所述开槽中固定设置有集成开关和串联式示意灯开关;所述承载件通过开设的卡槽卡嵌在横杆上,所述凹型块能够被旋转装置驱动进而发生转动,所述称重传感器上挂设有挂钩,所述安装槽中固定设置有真空泵降频开关,所述空心柱在承载件下方的外壁上固定设置有阻挡环。本发明提供了用于肉类真空微波低温脱水设备,能够对不同的肉制品进行独立的脱水处理,且装置整体的耗能更低,有效保留了肉制品的营养和风味,非常值得推广。

Figure 202110604156

The invention provides a vacuum microwave low-temperature dehydration equipment for meat. An operation panel, a signal lamp and a PLC controller are fixedly arranged on the outer wall of the box body, and an air inlet pipe and a vacuum pump are communicated and arranged on the box body. A vacuum gauge and a temperature sensor are fixedly arranged in the inner cavity of the box body; the hollow column is fixedly arranged in the box body, and an integrated switch and a series indicator light switch are fixedly arranged in the slot; The card slot is embedded on the cross bar, the concave block can be driven by the rotating device to rotate, the load cell is hung with a hook, the vacuum pump down-frequency switch is fixed in the installation slot, the hollow column A blocking ring is fixedly arranged on the outer wall below the carrier. The invention provides vacuum microwave low-temperature dehydration equipment for meat, which can perform independent dehydration treatment on different meat products, and the overall energy consumption of the device is lower, effectively retaining the nutrition and flavor of the meat products, and is very worthy of promotion.

Figure 202110604156

Description

Vacuum microwave low-temperature dehydration equipment for meat
Technical Field
The invention relates to the technical field of meat dehydration, in particular to vacuum microwave low-temperature dehydration equipment for meat.
Background
Among the prior art, an application number is "202010031799.6" a dehydration drying system for beef processing, including toasting the case, toast the middle part of case and be provided with rotation baking equipment, toast the front end upper side of case and be provided with and put in the mouth, toast the rear end of case and seted up the discharge gate, toast the front end of case and all be provided with transmission device with the rear end, this a dehydration drying system for beef processing can solve the following difficult problem that current beef exists at the dry dehydration in-process: the prepared beef needs to be manually placed into a drying tool for drying, the traditional drying tool has limited internal space, beef needs to be dried in batches, and manual regular observation operation is needed; and, traditional drying tool can't carry out continuous stoving operation, and drying tool is inside to toast the dehydration through the mode of high temperature to beef, and the drying means is single, and beef dehydration is inefficient.
However, the method still has the obvious defects in the using process: 1. the device dries the beef at high temperature, so that nutritional ingredients in the beef can be damaged, the taste of the beef is influenced, and the quality of the product can be reduced; 2. the device adopts an integrated structure to dehydrate and dry a plurality of beef simultaneously, but the beef has different optimal dehydration degrees due to the difference of size, thickness, water content and the like, so the device is only suitable for the processing of the beef with low quality requirement in a unified way, and can not be independently adjusted according to different beef, thereby being not suitable for the processing of high-quality meat.
Disclosure of Invention
The invention aims to provide a vacuum microwave low-temperature dehydration device for meat, which solves the problems in the background technology.
In order to achieve the purpose, the invention provides the following technical scheme:
a vacuum microwave low-temperature dehydration device for meat, comprising:
the device comprises a box body, wherein an operation panel, an indicator light and a PLC (programmable logic controller) are fixedly arranged on the outer wall of the box body, an air inlet pipe and a vacuum pump are communicated with the box body, and a vacuum gauge and a temperature sensor are fixedly arranged in an inner cavity of the box body;
the device comprises a box body, a hollow column, a fixed plate, a cylinder, a cross rod, a first trigger block and a second trigger block, wherein the box body is fixedly provided with the hollow column; and
the bearing part is embedded on the cross rod through a set clamping groove, a circular ring bearing is embedded in the bearing part, a concave block is hinged in the circular ring bearing and can be driven by a rotating device to rotate, a weighing sensor is arranged in a groove of the concave block, a hook is hung on the weighing sensor, a transverse plate is fixedly arranged on the hook, a convex block is fixedly arranged on one side of the transverse plate close to the bearing part, a mounting groove is formed in the position of the bearing part corresponding to the convex block, a vacuum pump down switch is fixedly arranged in the mounting groove and is in signal connection with a vacuum pump, a blocking ring is fixedly arranged on the outer wall of the hollow column below the bearing part, a spring is connected between the blocking ring and the bearing part, and a plurality of microwave generation panels are fixedly arranged on the inner wall of the box body, the integrated switch is connected with the corresponding rotating motor and the corresponding microwave generation panel through signals, the lower half section of the box body is provided with a shielding baffle, and the stop ring is located in an area surrounded by the shielding baffle.
Preferably, an intake valve is disposed on the intake pipe.
Preferably, the hollow column is provided with a guide rail on an outer wall thereof, so that the carrier can move up and down along the guide rail.
Preferably, the rotating device comprises an inverted U-shaped transmission rod, the inverted U-shaped transmission rod is fixedly arranged above the concave block, a connecting rod is fixedly arranged above the inverted U-shaped transmission rod, the connecting rod is fixed at the output end of the rotating motor, supporting rods are fixedly arranged on two sides of the rotating motor, and the supporting rods are fixed on the bearing piece.
Preferably, a shock pad is arranged on the blocking ring.
Preferably, the number of carriers, blocker rings and microwave generating panels is equal.
Preferably, a partition plate is fixedly arranged in the inner cavity of the box body, the hollow column is fixedly arranged on the partition plate, a plurality of concave parts are arranged on the partition plate, the concave parts are communicated with a drain pipe, the drain pipe is communicated with the water storage box, and the water storage box is arranged at the bottom of the inner cavity of the box body.
Compared with the prior art, the invention has the beneficial effects that:
1. the invention uses the vacuum microwave technology to carry out dehydration treatment on the meat product in a low-temperature environment, compared with the traditional high-temperature dehydration, the invention can furthest retain the nutritional ingredients of the meat product, has better taste and appearance and can improve the quality of the meat product;
2. the invention can set independent dehydration treatment modes aiming at meat products with different sizes, thicknesses, water contents and the like, avoids the traditional one-cut extensive treatment and effectively improves the product quality;
3. the energy-saving device has high energy-saving degree, and after the meat product at a certain position is dehydrated, the corresponding rotating motor and the microwave generating panel are closed, and the vacuum pump is lowered in frequency, so that the overall power consumption of the device is reduced, and the dehydration cost of the meat product is effectively reduced.
The vacuum microwave low-temperature dehydration equipment for meat provided by the invention can be used for independently dehydrating different meat products, has high pertinence and lower energy consumption of the whole device, effectively retains the nutrition and flavor of the meat products, and is very worthy of popularization.
Drawings
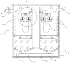
FIG. 1 is a schematic front sectional view of the overall structure of the present invention;
FIG. 2 is an enlarged view taken at A in FIG. 1 according to the present invention;
FIG. 3 is a schematic sectional view of a top view of a fixing plate according to the present invention;
FIG. 4 is a schematic top view of a microwave generating panel according to one embodiment of the present invention;
fig. 5 is a schematic top view of a microwave generating panel according to a second embodiment of the present invention.
In the figure: the device comprises abox body 1, anoperation panel 2, abeacon light 3, aPLC 4, an air inlet pipe 5, a vacuum pump 6, an air inlet valve 7, a vacuum meter 8, atemperature sensor 9, ahollow column 10, afixing plate 11, agroove 12, anair cylinder 13, across rod 14, afirst trigger block 15, asecond trigger block 16, an integratedswitch 17, aserial beacon switch 18, abearing 19, aclamping groove 191, a ring bearing 20, a concave block 21, an invertedU-shaped transmission rod 22, a connectingrod 23, arotary motor 24, asupport rod 25, aweighing sensor 26, ahook 27, atransverse plate 28, a convexblock 29, a mounting groove 30, a vacuum pump down switch 31, abarrier ring 32, ashock pad 33, aspring 34, amicrowave generation panel 35, ashielding baffle 36, apartition plate 37, adrain pipe 38, awater storage box 39 and ameat product 40.
Detailed Description
The technical solutions in the embodiments of the present invention will be clearly and completely described below with reference to the drawings in the embodiments of the present invention, and it is obvious that the described embodiments are only a part of the embodiments of the present invention, and not all of the embodiments. All other embodiments, which can be derived by a person skilled in the art from the embodiments given herein without making any creative effort, shall fall within the protection scope of the present invention.
Example (b):
referring to fig. 1 to 5, the present invention provides a technical solution:
a vacuum microwave low-temperature dehydration device for meat, comprising:
anoperation panel 2, asignal lamp 3 and a PLC (programmable logic controller) 4 are fixedly arranged on the outer wall of abox body 1, theoperation panel 2 can be a touch control operation screen, a user can set working parameters of all electric elements related to the invention through theoperation panel 2, when thesignal lamp 3 is lighted, the situation that allmeat products 40 in thebox body 1 are dehydrated is shown, the user is reminded to take out the meat products in time, thePLC 4 can control all the electric elements related to the invention, an air inlet pipe 5 and a vacuum pump 6 are communicated and arranged on thebox body 1, the vacuum pump 6 works to enable an inner cavity of thebox body 1 to be in a vacuum state, a vacuum meter 8 and atemperature sensor 9 are fixedly arranged in the inner cavity of thebox body 1 and are respectively used for monitoring the vacuum degree and the temperature in thebox body 1 in real time;
thehollow column 10, thehollow column 10 is fixedly arranged in thebox body 1, thefixed plate 11 is fixedly arranged in thehollow column 10, a plurality ofslots 12 are uniformly arranged on thefixed plate 11, anair cylinder 13 is arranged in theslot 12, across rod 14 is fixedly arranged at the output end of theair cylinder 13, theair cylinder 13 stretches and retracts to drive thecross rod 14 to move, afirst trigger block 15 and asecond trigger block 16 are fixedly arranged on one side of thecross rod 14 close to theair cylinder 13, an integratedswitch 17 and a series-typeindicator light switch 18 are fixedly arranged in theslot 12, when thefirst trigger block 15 is pressed to the integratedswitch 17, because the integratedswitch 17 is in signal connection with a correspondingrotating motor 24 and amicrowave generating panel 35, the rotatingmotor 24 and themicrowave generating panel 35 at corresponding positions can be closed, which indicates that themeat product 40 at the position is dehydrated and then automatically closed in time to save power consumption, when thesecond trigger block 16 is pressed to the series-typeindicator light switch 18, because the serial indicatinglamp switches 18 are in signal connection with the indicatinglamps 3, the circuits at the positions are communicated, but only when all the serial indicatinglamp switches 18 are triggered, the serial circuits are electrified, so that the indicatinglamps 3 are lightened, all themeat products 40 in thebox body 1 are dehydrated, and a user is reminded to take out the meat products; and
thebearing part 19 is clamped and embedded on thecross bar 14 through aclamping groove 191 formed in thebearing part 19, therefore, thebearing part 19 is detachably installed on thecross bar 14, acircular ring bearing 20 is embedded in thebearing part 19, a concave block 21 is hinged in the circular ring bearing 20, therefore, the concave block 21 can rotate in situ, the concave block 21 can be driven by a rotating device to rotate, the main purpose is to drive themeat product 40 to rotate, all sides of themeat product 40 can be uniformly subjected to microwave treatment, aweighing sensor 26 is arranged in a groove of the concave block 21, ahook 27 is hung on theweighing sensor 26, themeat product 40 is hung on thehook 27, therefore, theweighing sensor 26 can monitor the weight and the weight change of themeat product 40 and thehook 27 in real time, atransverse plate 28 is fixedly arranged on thehook 27, and aconvex block 29 is fixedly arranged on one side of thetransverse plate 28, which is close to thebearing part 19, the position of thebearing piece 19 corresponding to theprotruding block 29 is provided with a mounting groove 30, the mounting groove 30 is fixedly provided with a vacuum pump down switch 31, the vacuum pump down switch 31 is in signal connection with the vacuum pump 6, when the protrudingblock 29 triggers the vacuum pump down switch 31, the working frequency of the vacuum pump 6 is reduced, because the number of meat products in thebox body 1 is reduced, the generated steam quantity is also reduced, the working frequency of the vacuum pump 6 is reduced at the moment, the energy-saving effect is achieved, and further, the cost of dehydration treatment of themeat products 40 is reduced, thehollow column 10 is fixedly provided with abarrier ring 32 on the outer wall below thebearing piece 19, thetransverse plate 28 is blocked and limited by thebarrier ring 32 when descending, aspring 34 is connected between thebarrier ring 32 and thebearing piece 19, the inner wall of thebox body 1 is fixedly provided with a plurality ofmicrowave generating panels 35, and themicrowave generating panels 35 can generate microwaves, make the moisture response microwave in themeat products 40 and heat up, moisture gasification, form steam, spill over themeat products 40, realize the dehydration to themeat products 40 from this, integratedswitch 17 and corresponding rotatingelectrical machines 24,panel 35 signal connection takes place for the microwave, the lower half section ofbox 1 is provided withshielding baffle 36,blocker ring 32 is located the regional that shieldingbaffle 36 encloses,shielding baffle 36's effect is to avoid the microwave to takeplace panel 35 and acts on themeat products 40 that have dehydrated the completion, it is excessive to avoid themeat products 40 to dehydrate.
Preferably, the intake pipe 5 is provided with an intake valve 7, and whether the intake pipe 5 is communicated with the outside or not is controlled by the intake valve 7.
Preferably, guide rails are provided on the outer wall of thehollow column 10 so that thecarrier 19 can move up and down along the guide rails, thereby preventing thecarrier 19 from shifting during movement.
Preferably, the rotating device includes an invertedU-shaped transmission rod 22, the invertedU-shaped transmission rod 22 is fixedly disposed above the concave block 21 and can drive the concave block 21 to rotate, a connectingrod 23 is fixedly disposed above the invertedU-shaped transmission rod 22, the connectingrod 23 is fixed to an output end of the rotatingelectric machine 24,support rods 25 are fixedly disposed on two sides of the rotatingelectric machine 24, and thesupport rods 25 are fixed to thebearing member 19 and are used for providing a stable supporting effect for the rotatingelectric machine 24.
Preferably, thestop ring 32 is provided with ashock pad 33, and theshock pad 33 is arranged to prevent thebearing 19 from being damaged by collision when falling.
Preferably, the number of thecarriers 19, theblocking rings 32 and the microwave-generatingpanels 35 is equal, and the specific number can be flexibly set according to the needs.
Preferably, apartition plate 37 is fixedly arranged in the inner cavity of thebox body 1, thehollow column 10 is fixedly arranged on thepartition plate 37, a plurality of concave parts are arranged on thepartition plate 37 and communicated with adrain pipe 38, thedrain pipe 38 is communicated with awater storage box 39, thewater storage box 39 is arranged at the bottom of the inner cavity of thebox body 1, if more free water exists on themeat product 40 in an initial state, the water can fall on thepartition plate 37 and flow together to the concave parts, and is finally stored in thewater storage box 39 through thedrain pipe 38 for temporary storage, thewater storage box 39 is detachably arranged, and thewater storage box 39 can be taken down for cleaning after being used for a period of time.
The first embodiment is as follows:
firstly, a door (not shown in the figure) of thebox body 1 is opened, thebearing piece 19 moves upwards along a guide rail on the outer wall of thehollow column 10, then theair cylinder 13 in the corresponding position is controlled to start, theair cylinder 13 pushes thecross rod 14 outwards for a certain distance and stops, thecross rod 14 at the moment just penetrates through aclamping groove 191 in thebearing piece 19, then thebearing piece 19 is limited, then themeat product 40 is hung on thehook 27, then thehook 27 is hung on theweighing sensor 26 in the groove of the concave block 21, and theweighing sensor 26 can monitor the weight and the weight change of themeat product 40 and thehook 27 in real time, so that the steps are repeated, and themeat product 40 to be dehydrated is hung in sequence.
Then, the box door is closed, the air inlet valve 7 is closed, the air inlet pipe 5 is not communicated with the outside, the vacuum pump 6 is started, the inner cavity of thebox body 1 is vacuumized, when the internal vacuum degree monitored by the vacuum meter 8 reaches a preset value, themicrowave generation panel 35 is started, in the embodiment, themicrowave generation panel 35 is totally provided with four independent panels, the boiling point of water is reduced in a vacuum state, under the action of microwaves emitted by themicrowave generation panel 35, high-frequency electromagnetic oscillation causes molecular motion, so that the moisture in themeat product 40 is gasified under a low-temperature condition to form steam, the steam overflows themeat product 40, the steam is pumped by the vacuum pump 6, continuously overflows and is continuously pumped out, and therefore high-efficiency low-temperature dehydration of themeat product 40 is realized, the nutritional ingredients and flavor substances of themeat product 40 can be furthest reserved by the technical low-temperature dehydration processing mode, and meanwhile, the drying time is greatly shortened, the drying efficiency is improved.
The weight of themeat product 40 is continuously reduced along with the dehydration process, the preset optimal dehydration degree of themeat product 40 can be set in advance, when theweighing sensor 26 monitors that the dehydration weight of themeat product 40 reaches a preset value, thePLC 4 controls thecorresponding air cylinder 13 to be started, so that theair cylinder 13 drives thecross rod 14 to retract, on one hand, thebearing piece 19 loses the limit of thecross rod 14 and slides downwards along the guide rail on the outer wall of thehollow column 10 until thecross plate 28 is limited by thestop ring 32, and themeat product 40 is positioned in the area enclosed by theshielding baffle 36 at the moment, so that themeat product 40 is prevented from being dehydrated excessively, which is one of beneficial effects; when thetransverse plate 28 is blocked for limiting, thebearing piece 19 further descends under the action of gravity until the top surface of thetransverse plate 28 is attached to the bottom surface of thebearing piece 19, at this time, thetransverse plate 28 drives thehook 27 to be slightly jacked upwards, so that the weight is not pressed on theweighing sensor 26 any more, and further, the elastic element in theweighing sensor 26 is prevented from being damaged and losing efficacy due to long-time pressing, the service life of theweighing sensor 26 is prolonged, and the beneficial effect is two; when thetransverse plate 28 is tightly attached to the bottom surface of thebearing piece 19, theprotruding block 29 triggers the vacuum pump down switch 31, the number of the vacuum pump down switches 31 is multiple, after eachmeat product 40 is dehydrated, one vacuum pump down switch 31 is triggered, so that the working frequency of the vacuum pump 6 is reduced by one step, because the number of the meat products in thebox body 1 is reduced, the amount of generated steam is reduced, the working frequency of the vacuum pump 6 is reduced at the moment, an energy-saving effect is achieved, the cost of dehydration treatment of themeat product 40 is reduced, and the third beneficial effect is achieved.
On the other hand, thecylinder 13 drives thecross bar 14 to retract, so that thefirst trigger block 15 and thesecond trigger block 16 fixedly arranged on thecross bar 14 move along with thecross bar 14 and respectively trigger the integratedswitch 17 and the serialindicator light switch 18, when thefirst trigger block 15 presses the integratedswitch 17, because the integratedswitch 17 is in signal connection with the correspondingrotating motor 24 and themicrowave generating panel 35, therotating motor 24 and themicrowave generating panel 35 at the corresponding positions are both closed, which indicates that the dehydration treatment of themeat product 40 at the corresponding position is completed, and then the meat product is automatically closed in time to save the power consumption, which is four beneficial effects; when thesecond trigger block 16 presses the series typeindicator light switch 18, the circuit at the position is communicated because the series typeindicator light switch 18 is in signal connection with theindicator light 3, but only when all the series typeindicator light switches 18 are triggered, the series circuit is electrified, so that theindicator light 3 is lightened, the dehydration treatment of all themeat products 40 in thebox body 1 is finished, a user is reminded to take out the meat products, and the five beneficial effects are that the vacuum microwave low-temperature dehydration treatment of themeat products 40 is realized.
It should be noted that the above-mentioned control of any electrical component in the present device can be performed by an instant manual operation through theoperation panel 2, or can be preset by thePLC controller 4, so that the use is more convenient.
Example two:
the present embodiment is similar to the first embodiment, and the only difference is that in the present embodiment, themicrowave generating panel 35 is provided with five independent panels, the numbers of thecross bar 14, thebearing 19, the rotatingmotor 24, theblocking ring 32, themicrowave generating panel 35, and the like are all equal, and the specific number can be flexibly set according to the needs, and the microwave generating panel can be matched and used in a set.
It is noted that, herein, relational terms such as first and second, and the like may be used solely to distinguish one entity or action from another entity or action without necessarily requiring or implying any actual such relationship or order between such entities or actions. Also, the terms "comprises," "comprising," or any other variation thereof, are intended to cover a non-exclusive inclusion, such that a process, method, article, or apparatus that comprises a list of elements does not include only those elements but may include other elements not expressly listed or inherent to such process, method, article, or apparatus.
Although embodiments of the present invention have been shown and described, it will be appreciated by those skilled in the art that changes, modifications, substitutions and alterations can be made in these embodiments without departing from the principles and spirit of the invention, the scope of which is defined in the appended claims and their equivalents.

Claims (6)

Translated fromChinese
1.一种用于肉类真空微波低温脱水设备,其特征在于,包括:1. a vacuum microwave low-temperature dehydration device for meat is characterized in that, comprising:箱体(1),所述箱体(1)的外壁上固定设置有操作面板(2)、示意灯(3)和PLC控制器(4),所述箱体(1)上连通设置有进气管(5)和真空泵(6),所述箱体(1)的内腔中固定设置有真空表(8)和温度传感器(9);A box body (1), an operation panel (2), an indicating lamp (3) and a PLC controller (4) are fixedly arranged on the outer wall of the box body (1), and an input device (4) is communicated with the box body (1). an air pipe (5) and a vacuum pump (6), a vacuum gauge (8) and a temperature sensor (9) are fixedly arranged in the inner cavity of the box body (1);空心柱(10),所述空心柱(10)固定设置在箱体(1)中,所述空心柱(10)中固定设置有固定板(11),所述固定板(11)上均匀开设有多个开槽(12),所述开槽(12)中设置有气缸(13),所述气缸(13)的输出端固定设置有横杆(14),所述横杆(14)靠近气缸(13)的一侧固定设置有第一触发块(15)和第二触发块(16),所述开槽(12)中固定设置有集成开关(17)和串联式示意灯开关(18),所述串联式示意灯开关(18)和示意灯(3)信号连接;以及A hollow column (10), the hollow column (10) is fixedly arranged in the box body (1), a fixing plate (11) is fixedly arranged in the hollow column (10), and the fixing plate (11) is evenly arranged There are a plurality of slots (12), a cylinder (13) is arranged in the slot (12), and a cross bar (14) is fixedly arranged at the output end of the air cylinder (13), and the cross bar (14) is close to the A first trigger block (15) and a second trigger block (16) are fixedly arranged on one side of the cylinder (13), and an integrated switch (17) and a series-type indicator light switch (18) are fixedly arranged in the slot (12). ), the series indicating light switch (18) and the indicating light (3) signal connection; and承载件(19),所述承载件(19)通过开设的卡槽(191)卡嵌在横杆(14)上,所述承载件(19)中内嵌设置有圆环轴承(20),所述圆环轴承(20)中铰接设置有凹型块(21),所述凹型块(21)能够被旋转装置驱动进而发生转动,所述旋转装置包括倒U型传动杆(22),所述倒U型传动杆(22)固定设置在凹型块(21)的上方,所述倒U型传动杆(22)的上方固定设置有连杆(23),所述连杆(23)固定于旋转电机(24)的输出端,所述旋转电机(24)的两侧固定设置有支撑杆(25),所述支撑杆(25)固定于承载件(19)上,所述凹型块(21)的凹槽中设置有称重传感器(26),所述称重传感器(26)上挂设有挂钩(27),所述挂钩(27)上固定设置有横板(28),所述横板(28)靠近承载件(19)的一侧固定设置有凸起块(29),所述承载件(19)对应凸起块(29)的位置处开设有安装槽(30),所述安装槽(30)中固定设置有真空泵降频开关(31),所述真空泵降频开关(31)和真空泵(6)信号连接,所述空心柱(10)在承载件(19)下方的外壁上固定设置有阻挡环(32),所述阻挡环(32)和承载件(19)之间连接设置有弹簧(34),所述箱体(1)的内壁上固定设置有多个微波发生面板(35),所述集成开关(17)和对应的旋转电机(24)、微波发生面板(35)信号连接,所述箱体(1)的下半段设置有屏蔽挡板(36),所述阻挡环(32)位于屏蔽挡板(36)围成的区域内;A bearing member (19), the bearing member (19) is embedded on the cross bar (14) through the opening slot (191), and a ring bearing (20) is embedded in the bearing member (19), A concave block (21) is hingedly arranged in the annular bearing (20), and the concave block (21) can be driven by a rotating device to rotate, and the rotating device includes an inverted U-shaped transmission rod (22), and the The inverted U-shaped transmission rod (22) is fixedly arranged above the concave block (21), a connecting rod (23) is fixedly arranged above the inverted U-shaped transmission rod (22), and the connecting rod (23) is fixed to the rotating The output end of the motor (24), the two sides of the rotating motor (24) are fixedly provided with support rods (25), the support rods (25) are fixed on the bearing member (19), the concave block (21) A load cell (26) is arranged in the groove of the load cell, a hook (27) is hung on the load cell (26), and a horizontal plate (28) is fixed on the hook (27). (28) A raised block (29) is fixedly arranged on the side close to the carrier (19), and a mounting groove (30) is provided at the position of the carrier (19) corresponding to the raised block (29). A vacuum pump frequency reduction switch (31) is fixed in the groove (30), the vacuum pump frequency reduction switch (31) is signally connected to the vacuum pump (6), and the hollow column (10) is on the outer wall below the bearing member (19) A blocking ring (32) is fixedly arranged, a spring (34) is connected between the blocking ring (32) and the carrier (19), and a plurality of microwave generating panels are fixedly arranged on the inner wall of the box body (1). (35), the integrated switch (17) is signal-connected to the corresponding rotating motor (24) and the microwave generating panel (35). The lower half of the box (1) is provided with a shielding baffle (36), so The blocking ring (32) is located in the area enclosed by the shielding baffle plate (36);当所述第一触发块(15)按压到集成开关(17)时,由于集成开关(17)和对应的旋转电机(24)、微波发生面板(35)信号连接,对应位置的旋转电机(24)、微波发生面板(35)都会关闭,当所述第二触发块(16)按压到串联式示意灯开关(18)时,由于串联式示意灯开关(18)和示意灯(3)信号连接,此时该处的电路连通,但是只有当所有的串联式示意灯开关(18)均被触发时,串联电路才会通电,使得示意灯(3)亮起;When the first trigger block (15) is pressed against the integrated switch (17), since the integrated switch (17) is signally connected to the corresponding rotating motor (24) and the microwave generating panel (35), the rotating motor (24) at the corresponding position is in signal connection. ) and the microwave generating panel (35) will be turned off. When the second trigger block (16) is pressed against the series-type indicating light switch (18), the series indicating light switch (18) and the indicating light (3) are signal-connected. , the circuit there is connected at this time, but only when all the series-type indicating light switches (18) are triggered, the series circuit will be energized, so that the indicating light (3) will light up;当所述称重传感器(26)监测到肉制品(40)的脱水减重达到预定值时,所述PLC控制器(4)会控制对应的气缸(13)启动,使得气缸(13)带动横杆(14)回缩,所述承载件(19)失去横杆(14)的限位,就会沿着空心柱(10)外壁上的导向轨而向下滑落,直至所述横板(28)受到阻挡环(32)的限位,此时的肉制品(40)处于屏蔽挡板(36)围成的区域内,避免肉制品(40)被脱水过度,当所述横板(28)被阻挡限位时,承载件(19)在其重力作用下下降,直至所述横板(28)的顶面贴到承载件(19)的底面,此时,所述横板(28)带动挂钩(27)被轻微向上顶起,使其不再将重量压在称重传感器(26)上,进而避免称重传感器(26)内部的弹性元件被长时间按压而损坏失效,所述横板(28)在紧贴承载件(19)的底面时,所述凸起块(29)会触发到真空泵降频开关(31),所述真空泵降频开关(31)的数量为多个,每个肉制品(40)完成脱水后,都会有一个真空泵降频开关(31)被触发,使得所述真空泵(6)的工作频率下降一级,进而降低真空泵(6)的工作频率。When the weighing sensor (26) detects that the dehydration and weight loss of the meat product (40) reaches a predetermined value, the PLC controller (4) will control the corresponding air cylinder (13) to start, so that the air cylinder (13) drives the horizontal When the rod (14) is retracted, the carrier (19) loses the limit of the cross rod (14), and will slide down along the guide rail on the outer wall of the hollow column (10) until the cross plate (28) ) is limited by the blocking ring (32), at this time the meat product (40) is in the area enclosed by the shielding baffle plate (36), so as to avoid the meat product (40) from being dehydrated excessively, when the cross plate (28) When blocked and limited, the carrier (19) descends under the action of its gravity until the top surface of the horizontal plate (28) is attached to the bottom surface of the carrier (19). At this time, the horizontal plate (28) drives the The hook (27) is pushed up slightly, so that it no longer presses the weight on the load cell (26), thereby preventing the elastic element inside the load cell (26) from being damaged and failing due to being pressed for a long time. (28) When it is in close contact with the bottom surface of the carrier (19), the raised block (29) will trigger the vacuum pump frequency reduction switch (31), and the number of the vacuum pump frequency reduction switches (31) is multiple, each After each meat product (40) is dehydrated, a vacuum pump frequency reduction switch (31) is triggered, so that the working frequency of the vacuum pump (6) is reduced by one stage, thereby reducing the working frequency of the vacuum pump (6).2.根据权利要求1所述的一种用于肉类真空微波低温脱水设备,其特征在于:所述进气管(5)上设置有进气阀(7)。2 . The vacuum microwave low-temperature dehydration equipment for meat according to claim 1 , wherein an air inlet valve ( 7 ) is arranged on the air inlet pipe ( 5 ). 3 .3.根据权利要求1所述的一种用于肉类真空微波低温脱水设备,其特征在于:所述空心柱(10)的外壁上设置有导向轨,使得承载件(19)可以沿着导向轨上下移动。3. A vacuum microwave low-temperature dehydration device for meat according to claim 1, characterized in that: the outer wall of the hollow column (10) is provided with a guide rail, so that the bearing member (19) can be guided along the guide rail. The rail moves up and down.4.根据权利要求1所述的一种用于肉类真空微波低温脱水设备,其特征在于:所述阻挡环(32)上设置有减震垫(33)。4 . The vacuum microwave low-temperature dehydration equipment for meat according to claim 1 , wherein a shock-absorbing pad ( 33 ) is provided on the blocking ring ( 32 ). 5 .5.根据权利要求1所述的一种用于肉类真空微波低温脱水设备,其特征在于:所述承载件(19)、阻挡环(32)和微波发生面板(35)的数量相等。5 . The vacuum microwave low-temperature dehydration equipment for meat according to claim 1 , wherein the number of the carrier ( 19 ), the blocking ring ( 32 ) and the microwave generating panel ( 35 ) is equal. 6 .6.根据权利要求1所述的一种用于肉类真空微波低温脱水设备,其特征在于:所述箱体(1)的内腔中固定设置有隔板(37),所述空心柱(10)固定设置在隔板(37)上,所述隔板(37)上设置有多个凹陷部,且凹陷部连通设置有排水管(38),所述排水管(38)连通于蓄水盒(39),所述蓄水盒(39)设置在箱体(1)的内腔底部。6. A vacuum microwave low-temperature dehydration device for meat according to claim 1, characterized in that: a partition plate (37) is fixedly arranged in the inner cavity of the box body (1), and the hollow column ( 10) It is fixedly arranged on the partition plate (37), the partition plate (37) is provided with a plurality of concave parts, and the concave parts are connected with a drainage pipe (38), and the drainage pipe (38) is communicated with the water storage A box (39), the water storage box (39) is arranged at the bottom of the inner cavity of the box body (1).
CN202110604156.0A2021-05-312021-05-31Vacuum microwave low-temperature dehydration equipment for meatActiveCN113280581B (en)

Priority Applications (1)

Application NumberPriority DateFiling DateTitle
CN202110604156.0ACN113280581B (en)2021-05-312021-05-31Vacuum microwave low-temperature dehydration equipment for meat

Applications Claiming Priority (1)

Application NumberPriority DateFiling DateTitle
CN202110604156.0ACN113280581B (en)2021-05-312021-05-31Vacuum microwave low-temperature dehydration equipment for meat

Publications (2)

Publication NumberPublication Date
CN113280581A CN113280581A (en)2021-08-20
CN113280581Btrue CN113280581B (en)2022-01-25

Family

ID=77282730

Family Applications (1)

Application NumberTitlePriority DateFiling Date
CN202110604156.0AActiveCN113280581B (en)2021-05-312021-05-31Vacuum microwave low-temperature dehydration equipment for meat

Country Status (1)

CountryLink
CN (1)CN113280581B (en)

Citations (6)

* Cited by examiner, † Cited by third party
Publication numberPriority datePublication dateAssigneeTitle
EP2200458A1 (en)*2007-10-152010-06-30Enwave CorporationApparatus and method for microwave vacuum-drying of organic materials
CN205233406U (en)*2015-09-012016-05-18江苏省农业科学院Automatic wet type vacuum of accuse control by temperature change microwave drying device
CN205747730U (en)*2016-05-192016-11-30青海可可西里食品有限公司A kind of Carnis Bovis grunniens processing vacuum drying oven
CN206291677U (en)*2016-12-152017-06-30四川农业大学A kind of microwave drier of material moisture automatic detection
CN209326198U (en)*2018-10-102019-08-30盱眙艺欣宠物用品有限公司Vacuum microwave drying device with the quick loading and unloading weighed
CN111322843A (en)*2020-02-192020-06-23中国农业大学Multi-layer vacuum radio frequency-hot air combined drying method and equipment for rhizome traditional Chinese medicinal materials

Patent Citations (6)

* Cited by examiner, † Cited by third party
Publication numberPriority datePublication dateAssigneeTitle
EP2200458A1 (en)*2007-10-152010-06-30Enwave CorporationApparatus and method for microwave vacuum-drying of organic materials
CN205233406U (en)*2015-09-012016-05-18江苏省农业科学院Automatic wet type vacuum of accuse control by temperature change microwave drying device
CN205747730U (en)*2016-05-192016-11-30青海可可西里食品有限公司A kind of Carnis Bovis grunniens processing vacuum drying oven
CN206291677U (en)*2016-12-152017-06-30四川农业大学A kind of microwave drier of material moisture automatic detection
CN209326198U (en)*2018-10-102019-08-30盱眙艺欣宠物用品有限公司Vacuum microwave drying device with the quick loading and unloading weighed
CN111322843A (en)*2020-02-192020-06-23中国农业大学Multi-layer vacuum radio frequency-hot air combined drying method and equipment for rhizome traditional Chinese medicinal materials

Also Published As

Publication numberPublication date
CN113280581A (en)2021-08-20

Similar Documents

PublicationPublication DateTitle
CN204071824U (en)Integral intelligent kitchen system
CN209436874U (en)Cooking apparatus
CN113280581B (en)Vacuum microwave low-temperature dehydration equipment for meat
CN206803644U (en)A kind of automatic intelligent tea drier
CN211582634U (en)Dry-wet double-steaming efficient sugar-reducing commercial rice steaming cooker
CN109631551A (en)A kind of wig drying device
CN201108003Y (en)Multifunctional potato roasting machine
CN208957806U (en)Rotation grill is used in sliced meat baking
CN2424724Y (en)Multifunctional electric-heating box
CN213939562U (en)Solid-liquid separation device for vegetable fixation
CN212035804U (en)Drying equipment is used in production of tangerine preserved fruit
CN104222183A (en)Multi-connected vertical type vacuum frying machine
CN208524617U (en)A kind of novel commercial oven
CN110786750A (en)Outdoor food heating machine
CN208017362U (en)Cooking apparatus
CN211066265U (en)Automatic rotatory even energy-conserving barbecue machine of heatable
CN217817798U (en)Meat product drying device
CN218238092U (en)Little blue or green mandarin orange drying device
CN211593909U (en)Full-automatic noodle boiling machine
CN221077163U (en)Drying device is used in processing of prickly ash spices
CN221044171U (en)Mutton air-dries save set
CN222357190U (en)Evaporate and press device convenient to six fort tea fermentation
CN216308454U (en)Cake fragrant powder rapid cycle drying device
CN222460113U (en)Drying device is used in jerky production and processing
CN215373313U (en)Scented tea dewatering device

Legal Events

DateCodeTitleDescription
PB01Publication
PB01Publication
SE01Entry into force of request for substantive examination
SE01Entry into force of request for substantive examination
GR01Patent grant
GR01Patent grant

[8]ページ先頭

©2009-2025 Movatter.jp