

技术领域technical field
本发明涉及服务器技术领域,尤其涉及一种服务器背板硬盘点灯装置、方法及服务器。The present invention relates to the technical field of servers, in particular to a hard disk lighting device and method on a backplane of a server, and a server.
背景技术Background technique
在服务器很多系统中会使用到具体两个口SATA(Serial Advanced TechnologyAttachment,是基于行业标准的串行硬件驱动器接口))背板,即在背板上设置两个硬盘接口以连接硬盘,每个盘位的定位灯与错误指示灯需要通过背板上CPLD去解析SGPIO(SerialGeneral Purpose Input/Output,串行通用输入/输出)去点亮,而SGPIO每次传输的信息包含8个端口(port),因此,对于两口背板CPLD,判断上行接到哪两个端口(port)是关键。In many server systems, specific two-port SATA (Serial Advanced Technology Attachment, based on industry-standard serial hardware drive interface)) backplanes are used, that is, two hard disk interfaces are set on the backplane to connect hard disks. The positioning light and error indicator light of the bit need to analyze the SGPIO (Serial General Purpose Input/Output, serial general purpose input/output) through the CPLD on the backboard to light up, and the information transmitted by the SGPIO includes 8 ports (ports) each time. Therefore, for a two-port backplane CPLD, it is key to determine which two ports (ports) are connected to the uplink.
目前,传统的确定硬盘接口所连接的端口的方式是在背板上增加拨码开关去区分每个硬盘接口所连接的端口的情况,背板上CPLD通过拨码开关的值判断上行接的哪个端口;例如,主板上的八个端口记作port0-port7,预先定义拨码开关01对应连接到port0,10连接到port3,从而使得CPLD在得到SGPIO信号时只需要解析到port0和port3的对应的传输信息即可实现对相应指示灯的控制操作。但此种方式存在如下缺陷:一方面,拨码是人为动作,在大量的人为机械性的操作后,容易造成拨码错误;另一方面,点灯操作较为频繁,需要耗费大量的人力成本,因此亟需改进。At present, the traditional way to determine the port connected to the hard disk interface is to add a dial switch on the backplane to distinguish the port connected to each hard disk interface. Port; for example, the eight ports on the motherboard are recorded as port0-port7, and the pre-defined DIP switch 01 is correspondingly connected to port0, and 10 is connected to port3, so that the CPLD only needs to resolve to the corresponding ports of port0 and port3 when obtaining the SGPIO signal The control operation of the corresponding indicator light can be realized by transmitting the information. However, this method has the following defects: on the one hand, dialing is a human action, and it is easy to cause dialing errors after a large number of human-mechanical operations; Needs improvement.
发明内容Contents of the invention
有鉴于此,有必要针以上技术问题,提供一种服务器背板硬盘点灯装置、方法及服务器。In view of this, it is necessary to provide a server backplane hard disk lighting device, method and server for the above technical problems.
根据本发明的第一方面,提供了一种服务器背板硬盘点灯装置,所述装置包括:According to the first aspect of the present invention, there is provided a server backplane hard disk lighting device, the device comprising:
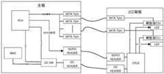
主板,所述主板上设置有控制部件和八个端口,八个端口通过SATA信号线连接至所述控制部件,所述控制部件配置为依次对八个端口进行读写操作;A main board, the main board is provided with a control component and eight ports, and the eight ports are connected to the control component through SATA signal lines, and the control component is configured to perform read and write operations on the eight ports in turn;
背板,所述背板上设置有CPLD、多个硬盘接口以及与每一硬盘接口对应的指示灯,每一硬盘接口以及对应的指示灯分别与所述CPLD连接,所述控制部件通过I2C总线和SGPIO信号线分别与所述CPLD连接,多个硬盘接口分别连接至八个端口中的任意多个端口,其中,所述硬盘接口的数量小于八;Backplane, the backplane is provided with CPLD, a plurality of hard disk interfaces and the indicator light corresponding to each hard disk interface, each hard disk interface and the corresponding indicator light are connected with the CPLD respectively, and the control parts are connected through the I2C bus and SGPIO signal lines are respectively connected to the CPLD, and a plurality of hard disk interfaces are respectively connected to any number of ports in the eight ports, wherein the number of the hard disk interfaces is less than eight;
其中,所述CPLD配置为:记录多个硬盘接口上的硬盘的读写状态,并与所述控制部件通过I2C总线通信以得到硬盘接口与端口对应关系,以及响应于接收到控制部件通过SGPIO信号线发送的点灯命令,则基于硬盘接口与端口对应关系解析所述点灯命令以得到多硬盘接口对应的子命令,以分别对每个硬盘接口对应的指示灯进行点灯操作,其中,所述点灯命令包括与八个端口一一对应的八个点灯子命令。Wherein, the CPLD is configured to: record the read and write states of the hard disks on the multiple hard disk interfaces, and communicate with the control component through the I2C bus to obtain the corresponding relationship between the hard disk interface and the port, and respond to receiving the control component through the SGPIO signal The lighting command sent by the line, then analyze the lighting command based on the corresponding relationship between the hard disk interface and the port to obtain the subcommand corresponding to the multi-hard disk interface, so as to perform lighting operation on the indicator light corresponding to each hard disk interface, wherein the lighting command It includes eight lighting subcommands corresponding to the eight ports one by one.
在其中一个实施例中,所述控制部件为集成南桥,所述主板还包括基板管理控制器和I2C Switch芯片;In one of the embodiments, the control component is an integrated south bridge, and the main board also includes a baseboard management controller and an I2C Switch chip;
所述集成南桥和所述基板管理控制器通过I2C总线分别与所述I2CSwitch芯片的两个输入端连接,所述CPLD通过I2C总线与所述I2C Switch芯片的输出端连接;The integrated south bridge and the baseboard management controller are respectively connected to the two input ends of the I2CSwitch chip through the I2C bus, and the CPLD is connected to the output end of the I2C Switch chip through the I2C bus;
所述集成南桥配置为响应于开机自检开始,则切换所述I2C Switch芯片以使所述集成南桥和所述CPLD通过I2C总线连通。The integrated south bridge is configured to switch the I2C Switch chip to communicate with the integrated south bridge and the CPLD through the I2C bus in response to the start of the power-on self-check.
在其中一个实施例中,所述集成南桥配置为响应于开机自检结束,则切换所述I2CSwitch芯片以使所述基板管理控制器和所述CPLD通过I2C总线连通。In one of the embodiments, the integrated south bridge is configured to switch the I2CSwitch chip so that the baseboard management controller and the CPLD communicate through the I2C bus in response to the end of the power-on self-test.
在其中一个实施例中,八个端口具有预设排序;In one of the embodiments, eight ports have a preset order;
所述集成南桥配置为根据所述预设排序依次对每一端口进行读写操作;The integrated south bridge is configured to sequentially perform read and write operations on each port according to the preset order;
所述CPLD配置为获取硬盘接口上的硬盘的active信息并写入寄存器;以及The CPLD is configured to obtain the active information of the hard disk on the hard disk interface and write it into the register; and
所述集成南桥配置为通过I2C总线读取CPLD的寄存器以确定与当前读取的端口是否具有对应的硬盘接口,以及响应于每完成一个硬盘读写操作,则将端口信息和对应的硬盘接口信息发送至所述CPLD。The integrated South Bridge is configured to read the register of the CPLD through the I2C bus to determine whether the currently read port has a corresponding hard disk interface, and in response to each completion of a hard disk read and write operation, the port information and the corresponding hard disk interface information is sent to the CPLD.
在其中一个实施例中,所述CPLD配置为接收端口信息和对应的硬盘接口信息,以及根据所有接收到的端口信息和对应的硬盘接口信息得到所述硬盘接口与端口对应关系并写入寄存器,并将全部连接至硬盘的端口均作为目标端口。In one of the embodiments, the CPLD is configured to receive port information and corresponding hard disk interface information, and obtain the corresponding relationship between the hard disk interface and the port according to all received port information and corresponding hard disk interface information and write it into the register, And all the ports connected to the hard disk are used as target ports.
在其中一个实施例中,所述CPLD配置为响应于接收到所述集成南桥通过SGPIO信号线发送的点灯命令,则将所述硬盘接口与端口对应关系与所述点灯命令进行匹配以确定与目标端口对应的目标硬盘接口,以及基于目标硬盘接口对应点灯子命令得到目标点灯信息,以及基于所述目标点灯信息控制对应的目标指示灯进行点亮操作。In one of the embodiments, the CPLD is configured to match the corresponding relationship between the hard disk interface and the port with the lighting command in response to receiving the lighting command sent by the integrated south bridge through the SGPIO signal line to determine the corresponding The target hard disk interface corresponding to the target port, and the target lighting information are obtained based on the lighting subcommand corresponding to the target hard disk interface, and the corresponding target indicator light is controlled to turn on based on the target lighting information.
在其中一个实施例中,目标点灯信息包括对指示灯进行定位指示或错误灯指示。In one of the embodiments, the target lighting information includes positioning indicator light or error light indicator.
在其中一个实施例中,背板上硬盘接口数量为两个。In one of the embodiments, there are two hard disk interfaces on the backboard.
根据本发明的第二方面,提供了一种服务器背板硬盘点灯方法,所述服务器背板硬盘点灯方法包括通过以上所述的服务器背板硬盘点灯装置执行以下步骤:According to a second aspect of the present invention, a method for lighting a hard disk on a server backplane is provided, and the method for lighting a hard disk on a server backplane includes performing the following steps through the above-mentioned device for lighting a hard disk on a server backplane:
通过CPLD记录多个硬盘接口上的硬盘的读写状态,并与控制部件通过I2C总线通信以得到硬盘接口与端口对应关系;Record the reading and writing status of the hard disks on multiple hard disk interfaces through CPLD, and communicate with the control part through the I2C bus to obtain the corresponding relationship between the hard disk interface and the port;
响应于CPLD接收到控制部件通过SGPIO信号线发送的点灯命令,则基于硬盘接口与端口对应关系解析所述点灯命令以得到多硬盘接口对应的子命令,以分别对每个硬盘接口对应的指示灯进行点灯操作。Responsive to the CPLD receiving the lighting command sent by the control component through the SGPIO signal line, the lighting command is analyzed based on the correspondence between the hard disk interface and the port to obtain the subcommand corresponding to the multi-hard disk interface, so as to respectively control the corresponding indicator light of each hard disk interface Perform lighting operation.
根据本发明的第三方面,还提供了一种服务器,所述服务包括以上所述的服务器背板硬盘点灯装置。According to a third aspect of the present invention, there is also provided a server, the service includes the above-mentioned device for lighting a hard disk on a backplane of a server.
上述一种服务器背板硬盘点灯装置,利用主板上的控制部件依次对八个端口进行读写操作,采用CPLD记录多个硬盘接口上的硬盘的读写状态,并与所述控制部件通过I2C总线通信以得到硬盘接口与端口对应关系;以及响应于CPLD接收到控制部件通过SGPIO信号线发送的点灯命令,则基于硬盘接口与端口对应关系解析点灯命令以得到多硬盘接口对应的子命令以分别对每个硬盘接口对应的指示灯进行点灯操作,从而实现从包含八个子命令的点灯命令中提取有效子命令,实现了自动识别服务器其中硬盘接口与主板连接的SATA端口,去掉背板上的拨码开关,减少人为操作,极大的降低了点灯错误率。The above-mentioned server backplane hard disk lighting device uses the control components on the main board to sequentially perform read and write operations on eight ports, uses CPLD to record the read and write states of the hard disks on multiple hard disk interfaces, and communicates with the control components through the I2C bus Communication to obtain the corresponding relationship between the hard disk interface and the port; and in response to the CPLD receiving the lighting command sent by the control component through the SGPIO signal line, the lighting command is analyzed based on the corresponding relationship between the hard disk interface and the port to obtain subcommands corresponding to the multi-hard disk interface. The indicator light corresponding to each hard disk interface is turned on, so as to realize the extraction of effective subcommands from the lighting command containing eight subcommands, realize the automatic identification of the SATA port where the hard disk interface of the server is connected to the main board, and remove the dial code on the back panel switch, reducing human operation, greatly reducing the error rate of lighting.
此外,本发明还提供了一种服务器背板硬盘点灯方法、一种服务器,同样能实现上述技术效果,这里不再赘述。In addition, the present invention also provides a method for lighting the hard disk on the backplane of the server and a server, which can also achieve the above-mentioned technical effects, and will not be repeated here.
附图说明Description of drawings
为了更清楚地说明本发明实施例或现有技术中的技术方案,下面将对实施例或现有技术描述中所需要使用的附图作简单地介绍,显而易见地,下面描述中的附图仅仅是本发明的一些实施例,对于本领域普通技术人员来讲,在不付出创造性劳动的前提下,还可以根据这些附图获得其他的实施例。In order to more clearly illustrate the technical solutions in the embodiments of the present invention or the prior art, the following will briefly introduce the drawings that need to be used in the description of the embodiments or the prior art. Obviously, the accompanying drawings in the following description are only These are some embodiments of the present invention, and those skilled in the art can obtain other embodiments according to these drawings without any creative effort.
图1为本发明一个实施例提供的一种服务器背板硬盘点灯装置的结构示意图;Fig. 1 is a schematic structural diagram of a server backplane hard disk lighting device provided by an embodiment of the present invention;
图2为本发明一个实施例提供的基于图1所示装置的实施流程图。Fig. 2 is an implementation flowchart based on the device shown in Fig. 1 provided by an embodiment of the present invention.
具体实施方式Detailed ways
为使本发明的目的、技术方案和优点更加清楚明白,以下结合具体实施例,并参照附图,对本发明实施例进一步详细说明。In order to make the object, technical solution and advantages of the present invention clearer, the embodiments of the present invention will be further described in detail below in conjunction with specific embodiments and with reference to the accompanying drawings.
需要说明的是,本发明实施例中所有使用“第一”和“第二”的表述均是为了区分两个相同名称非相同的实体或者非相同的参量,可见“第一”“第二”仅为了表述的方便,不应理解为对本发明实施例的限定,后续实施例对此不再一一说明。It should be noted that all expressions using "first" and "second" in the embodiments of the present invention are to distinguish two entities with the same name but different parameters or parameters that are not the same, see "first" and "second" It is only for the convenience of expression, and should not be construed as a limitation on the embodiments of the present invention, which will not be described one by one in the subsequent embodiments.
在一个实施例中,请参照图1所示,本发明提供了一种服务器背板硬盘点灯装置,所述装置包括:In one embodiment, please refer to Fig. 1, the present invention provides a server backplane hard disk lighting device, the device includes:
主板,所述主板上设置有控制部件和八个端口,八个端口通过SATA信号线连接至所述控制部件,所述八个端口均为SATA端口A mainboard, the mainboard is provided with a control part and eight ports, and the eight ports are connected to the control part through SATA signal lines, and the eight ports are all SATA ports
背板,所述背板上设置有CPLD、多个硬盘接口以及与每一硬盘接口对应的指示灯,每一硬盘接口以及对应的指示灯分别与所述CPLD连接,所述控制部件通过I2C总线和SGPIO信号线分别与所述CPLD连接,多个硬盘接口分别连接至八个端口中的任意多个端口,其中,所述硬盘接口的数量小于八;Backplane, the backplane is provided with CPLD, a plurality of hard disk interfaces and the indicator light corresponding to each hard disk interface, each hard disk interface and the corresponding indicator light are connected with the CPLD respectively, and the control parts are connected through the I2C bus and SGPIO signal lines are respectively connected to the CPLD, and a plurality of hard disk interfaces are respectively connected to any number of ports in the eight ports, wherein the number of the hard disk interfaces is less than eight;
所述控制部件配置为依次对八个端口进行读写操作;The control unit is configured to sequentially perform read and write operations on the eight ports;
其中,所述CPLD配置为:记录多个硬盘接口上的硬盘的读写状态,并与所述控制部件通过I2C总线通信以得到硬盘接口与端口对应关系;以及响应于CPLD接收到控制部件通过SGPIO信号线发送的点灯命令,则基于硬盘接口与端口对应关系解析所述点灯命令以得到多硬盘接口对应的子命令以分别对每个硬盘接口对应的指示灯进行点灯操作,其中,所述点灯命令包括与八个端口一一对应的八个点灯子命令。Wherein, the CPLD is configured to: record the read and write states of the hard disks on a plurality of hard disk interfaces, and communicate with the control component through the I2C bus to obtain the corresponding relationship between the hard disk interface and the port; The lighting command sent by the signal line is analyzed based on the corresponding relationship between the hard disk interface and the port to obtain the subcommand corresponding to the multi-hard disk interface to perform lighting operations on the indicator lights corresponding to each hard disk interface, wherein the lighting command It includes eight lighting subcommands corresponding to the eight ports one by one.
上述一种服务器背板硬盘点灯装置,利用主板上的控制部件依次对八个端口进行读写操作,采用CPLD记录多个硬盘接口上的硬盘的读写状态,并与所述控制部件通过I2C总线通信以得到硬盘接口与端口对应关系;以及响应于CPLD接收到控制部件通过SGPIO信号线发送的点灯命令,则基于硬盘接口与端口对应关系解析点灯命令以得到多硬盘接口对应的子命令以分别对每个硬盘接口对应的指示灯进行点灯操作,从而实现从包含八个子命令的点灯命令中提取有效子命令,实现了自动识别服务器其中硬盘接口与主板连接的SATA端口,去掉背板上的拨码开关,减少人为操作,极大的降低了点灯错误率。The above-mentioned server backplane hard disk lighting device uses the control components on the main board to sequentially perform read and write operations on eight ports, uses CPLD to record the read and write states of the hard disks on multiple hard disk interfaces, and communicates with the control components through the I2C bus Communication to obtain the corresponding relationship between the hard disk interface and the port; and in response to the CPLD receiving the lighting command sent by the control component through the SGPIO signal line, the lighting command is analyzed based on the corresponding relationship between the hard disk interface and the port to obtain subcommands corresponding to the multi-hard disk interface. The indicator light corresponding to each hard disk interface is turned on, so as to realize the extraction of effective subcommands from the lighting command containing eight subcommands, realize the automatic identification of the SATA port where the hard disk interface of the server is connected to the main board, and remove the dial code on the back panel switch, reducing human operation, greatly reducing the error rate of lighting.
在又一个实施了例中,请再次结合图1所示,所述控制部件为集成南桥(PlatformController Hub,简称PCH),所述主板还包括基板管理控制器(Baseboard ManagementController,简称BMC)和I2C Switch芯片(简称I2C SW);In yet another implementation example, please refer to FIG. 1 again, the control component is an integrated south bridge (PlatformController Hub, PCH for short), and the motherboard also includes a Baseboard Management Controller (BMC for short) and an I2C Switch chip (referred to as I2C SW);
所述集成南桥和所述基板管理控制器通过I2C总线分别与所述I2CSwitch芯片的两个输入端连接,所述CPLD通过I2C总线与所述I2C Switch芯片的输出端连接;The integrated south bridge and the baseboard management controller are respectively connected to the two input ends of the I2CSwitch chip through the I2C bus, and the CPLD is connected to the output end of the I2C Switch chip through the I2C bus;
所述集成南桥配置为响应于开机自检开始,则切换所述I2C Switch芯片以使所述集成南桥和所述CPLD通过I2C总线连通。The integrated south bridge is configured to switch the I2C Switch chip to communicate with the integrated south bridge and the CPLD through the I2C bus in response to the start of the power-on self-check.
在又一个实施例中,所述集成南桥配置为:响应于开机自检结束,则切换所述I2CSwitch芯片以使所述基板管理控制器和所述CPLD通过I2C总线连通。In yet another embodiment, the integrated south bridge is configured to switch the I2CSwitch chip so that the baseboard management controller and the CPLD communicate through the I2C bus in response to the end of the power-on self-test.
在又一个实施例中,八个端口具有预设排序;In yet another embodiment, the eight ports have a preset order;
所述集成南桥配置为根据所述预设排序依次对每一端口进行读写操作;The integrated south bridge is configured to sequentially perform read and write operations on each port according to the preset order;
所述CPLD配置为获取硬盘接口上的硬盘的active信息并写入寄存器;以及The CPLD is configured to obtain the active information of the hard disk on the hard disk interface and write it into the register; and
所述集成南桥配置为通过I2C总线读取CPLD的寄存器以确定与当前读取的端口是否具有对应的硬盘接口;The integrated south bridge is configured to read the register of the CPLD through the I2C bus to determine whether the port currently read has a corresponding hard disk interface;
所述集成南桥配置为响应于每完成一个硬盘读写操作,则将端口信息和对应的硬盘接口信息发送至所述CPLD。The integrated south bridge is configured to send port information and corresponding hard disk interface information to the CPLD in response to each completion of a hard disk read and write operation.
在又一个实施例中,所述CPLD配置为接收端口信息和对应的硬盘接口信息;以及In yet another embodiment, the CPLD is configured to receive port information and corresponding hard disk interface information; and
根据所有接收到的端口信息和对应的硬盘接口信息得到所述硬盘接口与端口对应关系并写入寄存器,并将全部连接至硬盘的端口均作为目标端口。According to all received port information and corresponding hard disk interface information, the corresponding relationship between the hard disk interface and the port is obtained and written into the register, and all ports connected to the hard disk are used as target ports.
在又一个实施例中,所述CPLD配置为响应于接收到所述集成南桥通过SGPIO信号线发送的点灯命令,则将所述硬盘接口与端口对应关系与所述点灯命令进行匹配以确定与目标端口对应的目标硬盘接口,以及基于目标硬盘接口对应点灯子命令得到目标点灯信息;以及In yet another embodiment, the CPLD is configured to, in response to receiving the lighting command sent by the integrated south bridge through the SGPIO signal line, match the corresponding relationship between the hard disk interface and the port with the lighting command to determine the The target hard disk interface corresponding to the target port, and the target lighting information based on the corresponding lighting subcommand of the target hard disk interface; and
基于所述目标点灯信息控制对应的目标指示灯进行点亮操作。The corresponding target indicator light is controlled to perform a lighting operation based on the target lighting information.
在又一个实施例中,目标点灯信息包括对指示灯进行定位指示或错误灯指示。In yet another embodiment, the target lighting information includes positioning indicator light or error light indicator.
在又一个实施例中,背板上硬盘接口数量为两个。In yet another embodiment, the number of hard disk interfaces on the backboard is two.
在另一个实施例中,结合图2所示,为了便于理解本发明的技术方案,下面以图1示出的服务器背板上两个硬盘背板接口(分别记作硬盘接口0和硬盘接口1)为例进行说明,具体的对该背板硬盘的点灯步骤具体实施步骤如下:In another embodiment, as shown in FIG. 2, in order to facilitate the understanding of the technical solution of the present invention, two hard disk backplane interfaces on the server backplane shown in FIG. 1 (denoted as hard disk interface 0 and hard disk interface 1 respectively) ) as an example, the specific implementation steps of lighting up the hard disk on the backplane are as follows:
步骤一,服务器开机自检(Power On Self Test,加电自检简称POST),PCH切换I2CSW使PCH与背板CPLD连接;Step 1, server power on self test (Power On Self Test, POST for short), PCH switches I2CSW to connect PCH to backplane CPLD;
步骤二,当POST到硬盘初始化时候,按照port0到port7顺序读写硬盘;Step 2, when POST to hard disk initialization, read and write the hard disk in the order of port0 to port7;
步骤三,背板CPLD记录硬盘的active信息到相关寄存器;Step 3, the backplane CPLD records the active information of the hard disk to the relevant register;
步骤四,PCH每读写完成一个盘,通过I2C读取CPLD相关寄存器值;Step 4, PCH reads and writes a disk every time, and reads the relevant register value of CPLD through I2C;
步骤五,当读写完成之后,PCH将相应的连接信息传回给背板CPLD。Step five, when the reading and writing are completed, the PCH sends back the corresponding connection information to the backplane CPLD.
步骤六,背板CPLD记录上行连接Port信息到寄存器,并且通过此信息解析SGPIO的点灯命令去点相应硬盘的LED;Step 6, the backplane CPLD records the uplink Port information to the register, and uses this information to analyze the SGPIO lighting command to light the LED of the corresponding hard disk;
举例来说,假设八个端口依次记作port0-port7,硬盘接口0和硬盘接口1接到port0-port7中任意两个端口上,PCH的作用是在post过程中控制I2CSW,将I2C信号切换到PCH与CPLD连接,并且通过SATA信号port0到port7按照顺序读硬盘相关信息,背板CPLD将背板Active信号通过I2C传给PCH,并判断PCH回传的上行接的哪两个端口,期间每读到一个盘信息之后就要读取I2C信息看相应I2C地址是否有Active信号传回,当读完相关端口之后将对应端口与硬盘接口连接关系回传给相关地址的背板CPLD,假如读取port2和port3时PCH接收到Active信号回传,那么此时确认port2和port3为目标端口;For example, assuming that eight ports are recorded as port0-port7 in turn, hard disk interface 0 and hard disk interface 1 are connected to any two ports in port0-port7, the function of PCH is to control I2CSW in the post process, and switch the I2C signal to The PCH is connected to the CPLD, and reads the relevant information of the hard disk in sequence through the SATA signal port0 to port7. The backplane CPLD transmits the backplane Active signal to the PCH through I2C, and determines which two ports are connected to the uplink of the PCH return. During each read After receiving a disk information, it is necessary to read the I2C information to see if there is an Active signal sent back to the corresponding I2C address. After reading the relevant port, the connection relationship between the corresponding port and the hard disk interface is sent back to the backplane CPLD of the relevant address. If port2 is read When the PCH receives the Active signal back to port3, then confirm that port2 and port3 are the target ports at this time;
进一步地,当CPLD接收到PCH发送的SGPIO的点灯命令时,只需解析port2和port3端口对应的子命令即可,假如根据子命令解析到对port2所连接的硬盘进行定位操,以及对port2所连接的硬盘进行错误指示操作,此时CPLD控制与硬盘接口对应的指示灯进行现有显示即可。Furthermore, when the CPLD receives the SGPIO lighting command sent by the PCH, it only needs to analyze the subcommands corresponding to the ports of port2 and port3. The connected hard disk performs an error indication operation, and at this time, the CPLD controls the indicator light corresponding to the hard disk interface to perform the current display.
根据本发明的又一方面,还提供了一种服务器背板硬盘点灯方法,所述服务器背板硬盘点灯方法包括通过以上所述的服务器背板硬盘点灯装置执行以下步骤:According to yet another aspect of the present invention, there is also provided a method for lighting a hard disk on a server backplane. The method for lighting a hard disk on a server backplane includes performing the following steps through the above-mentioned device for lighting a hard disk on a server backplane:
通过CPLD记录多个硬盘接口上的硬盘的读写状态,并与控制部件通过I2C总线通信以得到硬盘接口与端口对应关系;Record the reading and writing status of the hard disks on multiple hard disk interfaces through CPLD, and communicate with the control part through the I2C bus to obtain the corresponding relationship between the hard disk interface and the port;
响应于CPLD接收到控制部件通过SGPIO信号线发送的点灯命令,则基于硬盘接口与端口对应关系解析所述点灯命令以得到多硬盘接口对应的子命令,以分别对每个硬盘接口对应的指示灯进行点灯操作。Responsive to the CPLD receiving the lighting command sent by the control component through the SGPIO signal line, the lighting command is analyzed based on the correspondence between the hard disk interface and the port to obtain the subcommand corresponding to the multi-hard disk interface, so as to respectively control the corresponding indicator light of each hard disk interface Perform lighting operation.
根据本发明的另一方面,还提供了一种服务器,所述服务器包括以上所述的服务器背板硬盘点灯装置。According to another aspect of the present invention, a server is also provided, and the server includes the above-mentioned device for lighting the hard disk on the backplane of the server.
以上是本发明公开的示例性实施例,但是应当注意,在不背离权利要求限定的本发明实施例公开的范围的前提下,可以进行多种改变和修改。此外,尽管本发明实施例公开的元素可以以个体形式描述或要求,但除非明确限制为单数,也可以理解为多个。The above are the exemplary embodiments disclosed in the present invention, but it should be noted that various changes and modifications can be made without departing from the scope of the disclosed embodiments of the present invention defined in the claims. In addition, although the elements disclosed in the embodiments of the present invention may be described or required in an individual form, they may also be understood as a plurality unless explicitly limited to a singular number.
应当理解的是,在本文中使用的,除非上下文清楚地支持例外情况,单数形式“一个”旨在也包括复数形式。还应当理解的是,在本文中使用的“和/或”是指包括一个或者一个以上相关联地列出的项目的任意和所有可能组合。It should be understood that as used herein, the singular form "a" and "an" are intended to include the plural forms as well, unless the context clearly supports an exception. It should also be understood that "and/or" as used herein is meant to include any and all possible combinations of one or more of the associated listed items.
上述本发明实施例公开实施例序号仅仅为了描述,不代表实施例的优劣。The serial numbers of the embodiments disclosed in the above-mentioned embodiments of the present invention are only for description, and do not represent the advantages and disadvantages of the embodiments.
所属领域的普通技术人员应当理解:以上任何实施例的讨论仅为示例性的,并非旨在暗示本发明实施例公开的范围(包括权利要求)被限于这些例子;在本发明实施例的思路下,以上实施例或者不同实施例中的技术特征之间也可以进行组合,并存在如上的本发明实施例的不同方面的许多其它变化,为了简明它们没有在细节中提供。因此,凡在本发明实施例的精神和原则之内,所做的任何省略、修改、等同替换、改进等,均应包含在本发明实施例的保护范围之内。Those of ordinary skill in the art should understand that: the discussion of any of the above embodiments is exemplary only, and is not intended to imply that the scope (including claims) disclosed by the embodiments of the present invention is limited to these examples; under the idea of the embodiments of the present invention , the technical features in the above embodiments or different embodiments can also be combined, and there are many other changes in different aspects of the above embodiments of the present invention, which are not provided in details for the sake of brevity. Therefore, within the spirit and principle of the embodiments of the present invention, any omissions, modifications, equivalent replacements, improvements, etc., shall be included in the protection scope of the embodiments of the present invention.
| Application Number | Priority Date | Filing Date | Title |
|---|---|---|---|
| CN202110500633.9ACN113204475B (en) | 2021-05-08 | 2021-05-08 | Lighting device and method for hard disk of server backboard and server |
| Application Number | Priority Date | Filing Date | Title |
|---|---|---|---|
| CN202110500633.9ACN113204475B (en) | 2021-05-08 | 2021-05-08 | Lighting device and method for hard disk of server backboard and server |
| Publication Number | Publication Date |
|---|---|
| CN113204475A CN113204475A (en) | 2021-08-03 |
| CN113204475Btrue CN113204475B (en) | 2023-01-24 |
| Application Number | Title | Priority Date | Filing Date |
|---|---|---|---|
| CN202110500633.9AActiveCN113204475B (en) | 2021-05-08 | 2021-05-08 | Lighting device and method for hard disk of server backboard and server |
| Country | Link |
|---|---|
| CN (1) | CN113204475B (en) |
| Publication number | Priority date | Publication date | Assignee | Title |
|---|---|---|---|---|
| CN113835629B (en)* | 2021-09-13 | 2024-06-25 | 新华三技术有限公司 | Hard disk management method and server |
| CN115129559A (en)* | 2022-06-29 | 2022-09-30 | 苏州浪潮智能科技有限公司 | Cable insertion detection method, device, device and storage medium |
| CN115061884B (en)* | 2022-06-30 | 2025-08-22 | 中国长城科技集团股份有限公司 | Lighting method and lighting system for NVMe hard disk based on Feiteng server |
| Publication number | Priority date | Publication date | Assignee | Title |
|---|---|---|---|---|
| CN110543404A (en)* | 2019-07-19 | 2019-12-06 | 广东浪潮大数据研究有限公司 | Server, hard disk lighting method and system and computer readable storage medium |
| CN112527575A (en)* | 2020-11-26 | 2021-03-19 | 浪潮电子信息产业股份有限公司 | Hard disk lighting test method, device and equipment and readable storage medium |
| CN112732617A (en)* | 2021-01-08 | 2021-04-30 | 苏州浪潮智能科技有限公司 | Control method, device and equipment for NVME hard disk LED lamp and readable medium |
| Publication number | Priority date | Publication date | Assignee | Title |
|---|---|---|---|---|
| CN104794043B (en)* | 2015-03-18 | 2017-11-10 | 深圳市杰和科技发展有限公司 | A kind of control method for realizing server hard disc state lighting instruction |
| CN109144812A (en)* | 2018-07-12 | 2019-01-04 | 郑州云海信息技术有限公司 | A kind of device and method solving PCH lighting exception under AHCI mode |
| CN109271300B (en)* | 2018-09-26 | 2022-10-28 | 郑州云海信息技术有限公司 | A SATA hard disk lighting method, system and related components |
| CN109614683A (en)* | 2018-12-04 | 2019-04-12 | 英业达科技有限公司 | Hard disk backboard and control panel |
| CN110162446A (en)* | 2019-04-13 | 2019-08-23 | 深圳市同泰怡信息技术有限公司 | A kind of backboard hard disk ignition method based on BMC |
| CN110377553B (en)* | 2019-06-26 | 2021-02-09 | 苏州浪潮智能科技有限公司 | Method and device for detecting corresponding relation between hard disk backplane and mainboard port |
| CN110377142A (en)* | 2019-06-27 | 2019-10-25 | 苏州浪潮智能科技有限公司 | A kind of system and method for supporting server hard disc independence power-on and power-off |
| CN110489367B (en)* | 2019-07-29 | 2020-10-02 | 苏州浪潮智能科技有限公司 | Method and system for flexibly allocating and easily managing backplane by CPLD (complex programmable logic device) |
| CN110806964B (en)* | 2019-10-31 | 2023-01-06 | 苏州浪潮智能科技有限公司 | Method and equipment for lighting hard disk and storage medium |
| CN111090568A (en)* | 2019-10-31 | 2020-05-01 | 苏州浪潮智能科技有限公司 | Method and device for lighting a backplane CPLD |
| Publication number | Priority date | Publication date | Assignee | Title |
|---|---|---|---|---|
| CN110543404A (en)* | 2019-07-19 | 2019-12-06 | 广东浪潮大数据研究有限公司 | Server, hard disk lighting method and system and computer readable storage medium |
| CN112527575A (en)* | 2020-11-26 | 2021-03-19 | 浪潮电子信息产业股份有限公司 | Hard disk lighting test method, device and equipment and readable storage medium |
| CN112732617A (en)* | 2021-01-08 | 2021-04-30 | 苏州浪潮智能科技有限公司 | Control method, device and equipment for NVME hard disk LED lamp and readable medium |
| Publication number | Publication date |
|---|---|
| CN113204475A (en) | 2021-08-03 |
| Publication | Publication Date | Title |
|---|---|---|
| CN113204475B (en) | Lighting device and method for hard disk of server backboard and server | |
| CN107832199A (en) | Hard disk monitoring system based on CPLD | |
| CN105955898A (en) | Hard disk backboard compatible with SAS hard disk and NVMe hard disk | |
| TWI754183B (en) | Hdd backplane management device | |
| US10346340B1 (en) | Hot swap control circuit and related storage server system | |
| CN110502462B (en) | OCP adapter card and server | |
| CN110377956A (en) | A kind of more hard disk management backboards and method of U.2 interface | |
| CN112034947B (en) | Backplane Design System and Parameter Tuning Method for Enhancing Server Hard Disk Compatibility | |
| WO2020134340A1 (en) | Hard drive extension system and electronic device | |
| CN102467431A (en) | SATA interface testing device and method | |
| CN113835505B (en) | Control system and method for batch powering-on and powering-off of server hard disk | |
| CN108563549A (en) | A kind of interface hard disk state instruction control system and method based on CPLD-FPGA | |
| CN113742182A (en) | Hard disk lighting method, device, storage medium and computer program product | |
| CN111966615A (en) | Hard disk address allocation system and method | |
| JP2007066126A (en) | Data storage device test method and data storage device manufacturing method | |
| CN107480017A (en) | The batch-testing device and method of PCIE outer plug-in cards | |
| TWI742461B (en) | System for detecting installation state of hard disk | |
| CN115509977A (en) | Connection relation determining method and device and computer readable storage medium | |
| CN111752785B (en) | A system and method for testing SATA signals | |
| CN118093031A (en) | A wiring inspection method, device, equipment and machine-readable storage medium | |
| CN102147739A (en) | Multi-motherboard server system and network driving method thereof | |
| US7065661B2 (en) | Using request and grant signals to read revision information from an adapter board that interfaces a disk drive | |
| CN117194123A (en) | RAID card testing method, testing device and testing jig board | |
| CN117608952A (en) | Detection device and detection method | |
| CN117667818A (en) | Signal transmission structure, server and signal transmission method |
| Date | Code | Title | Description |
|---|---|---|---|
| PB01 | Publication | ||
| PB01 | Publication | ||
| SE01 | Entry into force of request for substantive examination | ||
| SE01 | Entry into force of request for substantive examination | ||
| GR01 | Patent grant | ||
| GR01 | Patent grant |