Movatterモバイル変換


[0]ホーム

URL:


CN113148424A - A double-ended needle large-capacity injection container that can be quickly dispensed - Google Patents

A double-ended needle large-capacity injection container that can be quickly dispensed
Download PDF

Info

Publication number
CN113148424A
CN113148424ACN202010073346.XACN202010073346ACN113148424ACN 113148424 ACN113148424 ACN 113148424ACN 202010073346 ACN202010073346 ACN 202010073346ACN 113148424 ACN113148424 ACN 113148424A
Authority
CN
China
Prior art keywords
double
ended needle
liquid dispensing
circular base
injection container
Prior art date
Legal status (The legal status is an assumption and is not a legal conclusion. Google has not performed a legal analysis and makes no representation as to the accuracy of the status listed.)
Pending
Application number
CN202010073346.XA
Other languages
Chinese (zh)
Inventor
王振刚
Current Assignee (The listed assignees may be inaccurate. Google has not performed a legal analysis and makes no representation or warranty as to the accuracy of the list.)
Hebei Tiancheng Pharmaceutical Co ltd
Original Assignee
Hebei Tiancheng Pharmaceutical Co ltd
Priority date (The priority date is an assumption and is not a legal conclusion. Google has not performed a legal analysis and makes no representation as to the accuracy of the date listed.)
Filing date
Publication date
Application filed by Hebei Tiancheng Pharmaceutical Co ltdfiledCriticalHebei Tiancheng Pharmaceutical Co ltd
Priority to CN202010073346.XApriorityCriticalpatent/CN113148424A/en
Publication of CN113148424ApublicationCriticalpatent/CN113148424A/en
Pendinglegal-statusCriticalCurrent

Links

Images

Classifications

Landscapes

Abstract

Translated fromChinese

本发明提供了一种可快速配液的双头针大容量注射剂容器,包括配液密封盖和瓶体,所述配液密封盖与瓶体上口密封连接,所述瓶体下部设有出液口,所述出液口处设有开启装置;所述配液密封盖包括支撑筒和双头针引导件、所述双头针引导件位于支撑筒内部,所述双头针引导件包括圆形底座、双头针、3个长卡块和3个短卡块,3个所述长卡块和3个短卡块交叉均布于圆形底座上表面。本发明操作便捷、结构简单、成本低,可有效防止操作过程中污染药品的现象发生,同时易于大批量推广。本发明双头针引导件的长卡块与短卡块的上端有一定的张力,可适用于多种型号大小的待配药瓶的瓶口,使用灵活方便。

Figure 202010073346

The invention provides a double-ended needle large-capacity injection container capable of rapid liquid dispensing, comprising a liquid dispensing sealing cap and a bottle body, wherein the liquid dispensing sealing cap is sealedly connected with the upper opening of the bottle body, and the lower part of the bottle body is provided with an outlet The liquid outlet is provided with an opening device; the liquid dispensing sealing cover includes a support cylinder and a double-ended needle guide, the double-ended needle guide is located inside the support cylinder, and the double-ended needle guide includes A circular base, a double-ended needle, 3 long clamping blocks and 3 short clamping blocks, and the 3 long clamping blocks and the three short clamping blocks are evenly distributed on the upper surface of the circular base. The invention has the advantages of convenient operation, simple structure and low cost, can effectively prevent the phenomenon of contaminating medicines during the operation, and is easy to popularize in large quantities. The upper ends of the long clamping block and the short clamping block of the double-ended needle guide of the invention have certain tension, can be applied to the bottle mouths of various sizes of medicine bottles to be dispensed, and are flexible and convenient to use.

Figure 202010073346

Description

Double-ended needle large-capacity injection container capable of quickly preparing liquid
Technical Field
The invention belongs to the field of medicine packaging containers, and particularly relates to a double-ended needle high-capacity injection container capable of quickly preparing liquid.
Background
In clinical medicine, it is often necessary to mix a sterile powder injection for injection or a small-volume injection or other powders with a large-volume injection, a rinsing fluid or a peritoneal dialysis solution for use. When the preparation is sterile powder for injection and other powder, the conventional method comprises injecting a certain amount of liquid into a powder injection bottle by an injector, dissolving and diluting, extracting the mixed liquid from the powder injection bottle by the injector, and finally injecting into large-volume injection, washing liquid or peritoneal dialysis solution; when the preparation agent is the medicine injection contained in a plastic ampoule bottle, the medicine injection in the preparation agent needs to be extracted by a syringe and injected into a large-volume injection agent, a washing liquid or peritoneal dialysis solution. Therefore, when the sterile powder injection or plastic ampoule bottle and other traditional methods are used for preparing the liquid, the operation steps are complex, cross infection or environmental pollution is easily caused in the complex operation process, the workload of nurses is increased, the risk of sterile operation is increased, and great hidden danger is brought to the medication safety.
The double-ended needle liquid-dispensing sealing cover designed at present is complex in structure, large in production process difficulty and high in cost, medicine-taking cost of patients is increased invisibly, large-scale popularization and use are difficult, and each double-ended needle liquid-dispensing sealing cover can only correspond to a bottle mouth of a medicine-to-be-dispensed bottle with one type size.
Disclosure of Invention
The invention provides a double-ended needle high-capacity injection container which is simple in structure, free of pollution, low in cost and easy to popularize and can be used for quickly preparing liquid, and solves the problems in the prior art.
The invention adopts the technical effects that: a double-ended needle large-capacity injection container capable of rapidly preparing liquid comprises a liquid preparation sealing cover and a bottle body, wherein the liquid preparation sealing cover is connected with an upper opening of the bottle body in a sealing manner, a liquid outlet is formed in the lower portion of the bottle body, and an opening device is arranged at the liquid outlet; the liquid preparation sealing cover comprises a supporting cylinder and a double-ended needle guide piece, the double-ended needle guide piece is positioned in the supporting cylinder, the double-ended needle guide piece comprises a circular base, a double-ended needle, 3 long clamping blocks and 3 short clamping blocks, the 3 long clamping blocks and the 3 short clamping blocks are uniformly distributed on the upper surface of the circular base in a crossed mode, clamping heads are arranged at the upper end of the short clamping blocks, and the double-ended needle penetrates through the central portion of the circular base; the supporting cylinder comprises an upper silo and a lower silo, the diameter of the upper silo is larger than that of the lower silo, the circular base of the double-ended needle guide piece is located on the upper edge of the lower silo and is in sliding fit with the lower silo, a through hole is formed in the bottom of the lower silo, and the needle point below the double-ended needle is located right above the through hole.
Furthermore, the round base is provided with a sliding block at the edge, and the inner wall of the supporting cylinder is provided with a slideway matched with the sliding block.
Furthermore, a slide way is arranged at the edge of the round base, and a slide block matched with the slide way is arranged on the inner wall of the supporting cylinder.
Furthermore, the edge of the circular base is also provided with a convex block, the upper edge of the lower silo is provided with a convex edge, and the convex block is positioned under the convex edge.
Furthermore, the upper opening of the bottle body is welded or integrally connected with the liquid preparation sealing cover.
Furthermore, an upper opening of the liquid preparation sealing cover is provided with an upper sealing cover, the upper sealing cover is covered on the upper opening of the liquid preparation sealing cover by means of viscose or welding, and the liquid preparation sealing cover is provided with a handle.
Further, the opening device is one of an easily tearable film, a pull ring or a toggle buckle.
The beneficial effects obtained by the invention are as follows: the invention has the advantages of convenient operation, simple structure and low cost, can effectively prevent the phenomenon of medicine pollution in the operation process, and is easy to popularize in large scale. The high-capacity injection container utilizes the up-and-down movement of the double-head needle guide piece in the supporting cylinder to construct the double-needle liquid channel of the to-be-prepared medicine and the high-capacity injection, can quickly realize the dissolving and mixing of the medicine powder or the liquid medicine in the powder injection bottle or the plastic ampoule bottle and the high-capacity injection, the flushing liquid or the peritoneal dialysis solution, and greatly improves the working efficiency and the liquid preparation safety of nurses. The upper ends of the long clamping block and the short clamping block of the double-ended needle guide piece have certain tension, so that the double-ended needle guide piece is suitable for bottle mouths of bottles to be dispensed in various models and sizes, and is flexible and convenient to use.
The large-dose injection container can also be a washing container and a peritoneal dialysis solution container.
Drawings
FIG. 1 is a cross-sectional view of a liquid dispensing closure of the present invention;
FIG. 2 is a sectional view showing a sealing cap according to the present invention;
FIG. 3 is a schematic view of the double-ended needle guide of the present invention;
FIG. 4 is a top view of the double-ended needle guide of the present invention;
FIG. 5 is a schematic cross-sectional view of a support cylinder according to the present invention;
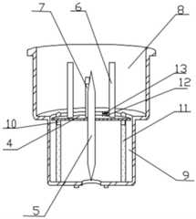
FIG. 6 is a schematic view of the overall structure of the present invention;
wherein 1 represents a bottle body, 2 represents a liquid outlet, 3 represents a supporting cylinder, 4 represents a circular base, 5 represents a double-ended needle, 6 represents a long clamping block, 7 represents a short clamping block, 8 represents an upper silo, 9 represents a lower silo, 10 represents a sliding block, 11 represents a slide way, 12 represents a convex block, 13 represents a convex edge, and 14 represents a handle.
Detailed Description
The technical solutions in the embodiments of the present invention will be clearly and completely described below with reference to the drawings in the embodiments of the present invention, and it is obvious that the described embodiments are only a part of the embodiments of the present invention, and not all of the embodiments.
As shown in fig. 1-2, a double-ended needle large-capacity injection container capable of rapidly preparing a liquid comprises a liquid preparation sealing cover and a bottle body 1, wherein the liquid preparation sealing cover is connected with the upper opening of the bottle body 1 in a sealing manner, aliquid outlet 2 is arranged at the lower part of the bottle body 1, and an opening device is arranged at theliquid outlet 2; the liquid preparation sealing cover comprises a supporting cylinder 3 and a double-ended needle guide piece, the double-ended needle guide piece is positioned inside the supporting cylinder 3, the double-ended needle guide piece comprises acircular base 4, a double-ended needle 5, 3long fixture blocks 6 and 3short fixture blocks 7, the 3long fixture blocks 6 and the 3short fixture blocks 7 are uniformly distributed on the upper surface of thecircular base 4 in a crossed mode, a clamp head is arranged at the upper end of eachshort fixture block 7, and the double-ended needle 5 penetrates through the center of thecircular base 4; the supporting cylinder 3 comprises anupper silo 8 and alower silo 9, the diameter of theupper silo 8 is larger than that of thelower silo 9, thecircular base 4 of the double-ended needle guide piece is positioned on the upper edge of thelower silo 9 and forms sliding fit with thelower silo 9, a through hole is formed in the bottom of thelower silo 9, and the needle point below the double-ended needle 5 is positioned right above the through hole.
Theround base 4 is provided with aslide block 10 at the edge, and the inner wall of the support cylinder 3 is provided with aslide way 11 matched with theslide block 10. Theround base 4 is provided with a slide way at the edge, and the inner wall of the supporting cylinder 3 is provided with a slide block matched with the slide way. The edge of thecircular base 4 is also provided with aconvex block 12, the upper edge of thelower silo 9 is provided with aconvex edge 13, and the convexblock 12 is positioned under theconvex edge 13. The upper opening of the bottle body 1 is welded or integrally connected with the liquid preparation sealing cover. The upper opening of the liquid preparation sealing cover is provided with an upper sealing cover, the upper sealing cover is covered on the upper opening of the liquid preparation sealing cover by means of viscose or welding, and the liquid preparation sealing cover is provided with alifting handle 14. The opening device is one of an easily torn film, a pull ring or a pull buckle.
When the large-capacity injection container is not used, thecircular base 4 of the double-ended needle guide piece is positioned at the upper edge of thelower silo 9 of the support cylinder 3, the needle point at the bottom of the double-ended needle 5 is positioned above the through hole at the bottom of thelower silo 9 of the support cylinder 3, and the liquid inlet at the upper end of the bottle body 1 is in a sealed state. When liquid is required to be dispensed, an upper sealing cover at the upper opening of a liquid dispensing sealing cover is torn off, the bottle opening of a medicine bottle to be dispensed is inserted into an upper needle head of a double-ended needle 5, then the medicine bottle is pushed downwards, the double-ended needle guide is driven to move downwards by a slidingblock 10 of the double-ended needle guide under the cooperation of a slidingway 11 of a supporting cylinder 3, meanwhile, the upper opening of the bottle body 1 is punctured by the needle head at the bottom of the double-ended needle 5, when the bottom of the slidingblock 10 contacts the bottom surface of asilo 9 below the supporting cylinder 3, the medicine bottle to be dispensed and the double-ended needle guide stop moving downwards, at the moment, the needle point is exposed in the large-capacity injection bottle body 1, the solution in the large-capacity injection bottle is made to flow into the medicine bottle by overturning, and the medicine powder or the solution in the medicine bottle is made to be completely dissolved and mixed by repeatedly overturning and finally flows into the large-capacity injection bottle. When the double-ended needle guide is lifted upwards, theconvex edge 13 can clamp theconvex block 12, the double-ended needle guide cannot be separated from the supporting barrel, and finally the medicine bottle is separated from the double-ended needle guide. Theround base 4 can be provided with a slide way at the edge, and the inner wall of the support cylinder 3 is provided with a slide block matched with the slide way, so that the double-ended needle guide part is matched with the support cylinder 3 in a sliding way. The large-capacity injection container can be hung by using thelifting handle 14 during transfusion.

Claims (7)

Translated fromChinese
1.一种可快速配液的双头针大容量注射剂容器,其特征在于:包括配液密封盖和瓶体(1),所述配液密封盖与瓶体(1)上口密封连接,所述瓶体(1)下部设有出液口(2),所述出液口(2)处设有开启装置;所述配液密封盖包括支撑筒(3)和双头针引导件、所述双头针引导件位于支撑筒(3)内部,所述双头针引导件包括圆形底座(4)、双头针(5)、3个长卡块(6)和3个短卡块(7),3个所述长卡块(6)和3个短卡块(7)交叉均布于圆形底座(4)上表面,所述短卡块(7)上端设有卡头,所述双头针(5)穿置于圆形底座(4)中心部位;所述支撑筒(3)包括上筒仓(8)和下筒仓(9),所述上筒仓(8)直径大于下筒仓(9)直径,所述双头针引导件的圆形底座(4)位于下筒仓(9)上沿且与下筒仓(9)构成滑动配合,所述下筒仓(9)底部设有通孔,所述双头针(5)下方的针尖位于通孔正上方。1. A double-ended needle large-capacity injection container that can be quickly dispensed is characterized in that: comprising a liquid dispensing sealing cap and a bottle body (1), the liquid dispensing sealing cap and the bottle body (1) upper mouth sealing connection, The lower part of the bottle body (1) is provided with a liquid outlet (2), and an opening device is arranged at the liquid outlet (2); the liquid dispensing sealing cover comprises a support cylinder (3) and a double-ended needle guide, The double-ended needle guide is located inside the support cylinder (3), and the double-ended needle guide includes a circular base (4), a double-ended needle (5), three long clips (6) and three short clips A block (7), three of the long blocking blocks (6) and three short blocking blocks (7) are evenly distributed on the upper surface of the circular base (4), and the upper end of the short blocking blocks (7) is provided with a clamping head , the double-ended needle (5) is inserted into the center of the circular base (4); the support cylinder (3) includes an upper silo (8) and a lower silo (9), the upper silo (8) ) diameter is larger than the diameter of the lower silo (9), the circular base (4) of the double-ended needle guide is located on the upper edge of the lower silo (9) and forms a sliding fit with the lower silo (9). The bottom of the bin (9) is provided with a through hole, and the needle tip under the double-ended needle (5) is located just above the through hole.2.根据权利要求1所述一种可快速配液的双头针大容量注射剂容器,其特征在于:所述圆形底座(4)边沿处设有滑块(10),所述支撑筒(3)内壁设有与滑块(10)相配合的滑道(11)。2. The double-ended needle large-capacity injection container that can be quickly dispensed according to claim 1, wherein the edge of the circular base (4) is provided with a slider (10), and the support cylinder ( 3) The inner wall is provided with a slideway (11) matched with the slider (10).3.根据权利要求1所述一种可快速配液的双头针大容量注射剂容器,其特征在于:所述圆形底座(4)边沿处设有滑道,所述支撑筒(3)内壁设有与滑道相配合的滑块。3. The double-ended needle large-capacity injection container that can be quickly dispensed according to claim 1, characterized in that: a slideway is provided at the edge of the circular base (4), and the inner wall of the support cylinder (3) is provided with a slideway. There is a slider matched with the slideway.4.根据权利要求1所述一种可快速配液的双头针大容量注射剂容器,其特征在于:所述圆形底座(4)的边沿处还设有凸块(12),所述下筒仓(9)上沿处设有凸沿(13),所述凸块(12)位于凸沿(13)正下方。4. The double-ended needle large-capacity injection container that can be quickly dispensed according to claim 1, characterized in that: the edge of the circular base (4) is further provided with a bump (12), and the lower The upper edge of the silo (9) is provided with a convex edge (13), and the convex block (12) is located directly below the convex edge (13).5.根据权利要求1所述一种可快速配液的双头针大容量注射剂容器,其特征在于:所述瓶体(1)上口与配液密封盖为焊接、或一体化连接。5. The double-ended needle large-capacity injection container capable of rapid liquid dispensing according to claim 1, characterized in that: the upper mouth of the bottle body (1) and the liquid dispensing sealing cover are welded or integrally connected.6.根据权利要求1所述一种可快速配液的双头针大容量注射剂容器,其特征在于:所述配液密封盖上口设有上封盖,所述上封盖借助黏胶或焊接盖合在配液密封盖上口,所述配液密封盖上设有提手(14)。6. The double-ended needle large-capacity injection container that can be quickly dispensed according to claim 1, characterized in that: the upper opening of the liquid dispensing sealing cover is provided with an upper cover, and the upper cover is provided with glue or glue. The welding cover is closed on the upper opening of the liquid dispensing sealing cover, and the liquid dispensing sealing cover is provided with a handle (14).7.根据权利要求1所述一种可快速配液的双头针大容量注射剂容器,其特征在于:所述开启装置为易撕膜、拉环或扳折扣中的一种。7 . The double-ended needle large-capacity injection container capable of quick dispensing according to claim 1 , wherein the opening device is one of an easy-tear film, a pull ring, or a pull button. 8 .
CN202010073346.XA2020-01-222020-01-22 A double-ended needle large-capacity injection container that can be quickly dispensedPendingCN113148424A (en)

Priority Applications (1)

Application NumberPriority DateFiling DateTitle
CN202010073346.XACN113148424A (en)2020-01-222020-01-22 A double-ended needle large-capacity injection container that can be quickly dispensed

Applications Claiming Priority (1)

Application NumberPriority DateFiling DateTitle
CN202010073346.XACN113148424A (en)2020-01-222020-01-22 A double-ended needle large-capacity injection container that can be quickly dispensed

Publications (1)

Publication NumberPublication Date
CN113148424Atrue CN113148424A (en)2021-07-23

Family

ID=76881890

Family Applications (1)

Application NumberTitlePriority DateFiling Date
CN202010073346.XAPendingCN113148424A (en)2020-01-222020-01-22 A double-ended needle large-capacity injection container that can be quickly dispensed

Country Status (1)

CountryLink
CN (1)CN113148424A (en)

Citations (7)

* Cited by examiner, † Cited by third party
Publication numberPriority datePublication dateAssigneeTitle
US4936841A (en)*1988-03-311990-06-26Fujisawa Pharmaceutical Co., Ltd.Fluid container
CN1081360A (en)*1992-05-011994-02-02株式会社大制药工场 medicine container
WO1995000101A1 (en)*1993-06-281995-01-05Roussel Morishita Co., Ltd.Medical container
JP2003102807A (en)*2001-09-282003-04-08Showa Denko Plastic Products Co Ltd Vial guide, needle case and infusion container
US20030153895A1 (en)*2002-02-082003-08-14Leinsing Karl R.Vial adapter having a needle-free valve for use with vial closures of different sizes
CN105748289A (en)*2016-05-142016-07-13哈尔滨三联药业股份有限公司Anti-pollution plastic ampoule dispensing appliance
CN211767519U (en)*2020-01-222020-10-27河北天成药业股份有限公司Double-ended needle large-capacity injection container capable of quickly preparing liquid

Patent Citations (7)

* Cited by examiner, † Cited by third party
Publication numberPriority datePublication dateAssigneeTitle
US4936841A (en)*1988-03-311990-06-26Fujisawa Pharmaceutical Co., Ltd.Fluid container
CN1081360A (en)*1992-05-011994-02-02株式会社大制药工场 medicine container
WO1995000101A1 (en)*1993-06-281995-01-05Roussel Morishita Co., Ltd.Medical container
JP2003102807A (en)*2001-09-282003-04-08Showa Denko Plastic Products Co Ltd Vial guide, needle case and infusion container
US20030153895A1 (en)*2002-02-082003-08-14Leinsing Karl R.Vial adapter having a needle-free valve for use with vial closures of different sizes
CN105748289A (en)*2016-05-142016-07-13哈尔滨三联药业股份有限公司Anti-pollution plastic ampoule dispensing appliance
CN211767519U (en)*2020-01-222020-10-27河北天成药业股份有限公司Double-ended needle large-capacity injection container capable of quickly preparing liquid

Similar Documents

PublicationPublication DateTitle
CN106983667A (en)Porous needle, dispensation apparatus and dosage
CN205948045U (en)XiLin bottle dispensing device
CN105496780B (en)Sterile dispensing transfusion device and the infusion method that makes up a prescription
CN211767519U (en)Double-ended needle large-capacity injection container capable of quickly preparing liquid
CN205041778U (en)Disposable medicine dispenser
CN111135080B (en) A ready-to-use double-ended needle large-capacity injection bottle
CN202314366U (en)Double-valve cover with double needle and medicine-mixing nozzle
CN113148424A (en) A double-ended needle large-capacity injection container that can be quickly dispensed
CN212913877U (en)Easy-to-prepare instant-preparation type large-capacity injection container
CN201814857U (en)Liquor dispensing device
CN213723573U (en)Instant-mixing type double-head needle cover for large-capacity injection container
CN212593056U (en)Welded double-head injection agent container
CN212282178U (en)Instant double-head needle high-capacity injection bottle
CN202113338U (en)Medicine mixing nozzle
CN205867115U (en)Drug dispensing device
CN212973543U (en)Safe and convenient dispensing large-capacity injection container
CN205698518U (en)Powder pin bottle integral type dispensation apparatus
CN111568760A (en) An easy-to-prepare ready-to-mix large-capacity injection container
CN111514022B (en) A safe, convenient and residue-free large-capacity injection container
CN209734540U (en) A pharmaceutical dispensing device
CN214049752U (en)Automatic medicine dispensing device
CN111686006A (en)Instant-mixing type double-head needle cover for large-capacity injection container
CN213130812U (en)Safe, convenient and fast liquid preparation and residue-free large-capacity injection container
CN202236340U (en)Clamping type double-needle medicine mixing nozzle double-valve cover
CN212282182U (en)Double-ended needle high-capacity injection liquid preparation device

Legal Events

DateCodeTitleDescription
PB01Publication
PB01Publication
SE01Entry into force of request for substantive examination
SE01Entry into force of request for substantive examination

[8]ページ先頭

©2009-2025 Movatter.jp