Movatterモバイル変換


[0]ホーム

URL:


CN113081393A - Mitral valve implant for treating valvular regurgitation - Google Patents

Mitral valve implant for treating valvular regurgitation
Download PDF

Info

Publication number
CN113081393A
CN113081393ACN202110375324.3ACN202110375324ACN113081393ACN 113081393 ACN113081393 ACN 113081393ACN 202110375324 ACN202110375324 ACN 202110375324ACN 113081393 ACN113081393 ACN 113081393A
Authority
CN
China
Prior art keywords
anchor
assistance device
coaptation assistance
catheter
coaptation
Prior art date
Legal status (The legal status is an assumption and is not a legal conclusion. Google has not performed a legal analysis and makes no representation as to the accuracy of the status listed.)
Pending
Application number
CN202110375324.3A
Other languages
Chinese (zh)
Inventor
亚历山大·K·海尔哈汗
迈克尔·D·莱什
Current Assignee (The listed assignees may be inaccurate. Google has not performed a legal analysis and makes no representation or warranty as to the accuracy of the list.)
Boraris Medical Co ltd
Polares Medical Inc
Original Assignee
Boraris Medical Co ltd
Priority date (The priority date is an assumption and is not a legal conclusion. Google has not performed a legal analysis and makes no representation as to the accuracy of the date listed.)
Filing date
Publication date
Application filed by Boraris Medical Co ltdfiledCriticalBoraris Medical Co ltd
Publication of CN113081393ApublicationCriticalpatent/CN113081393A/en
Pendinglegal-statusCriticalCurrent

Links

Images

Landscapes

Abstract

Translated fromChinese

本发明在一些方面涉及用于二尖瓣返流的经导管治疗中的装置,所述装置包括可操控引导丝、可植入的对合辅助装置、用于附接可植入对合装置的心室突出物的锚固系统,成套用具,以及使用可植入的对合辅助装置的方法等方法。

Figure 202110375324

The present invention, in some aspects, relates to devices for use in transcatheter treatment of mitral regurgitation, the devices comprising a steerable guide wire, an implantable apposition assist device, a device for attaching an implantable apposition device Anchoring systems for ventricular protrusions, kits, and methods of using implantable coapposition assist devices.

Figure 202110375324

Description

Mitral valve implant for treating valvular regurgitation
The present application is a divisional application filed on date 2015, 6/17, entitled "mitral valve implant for treating valvular regurgitation", international application No. PCT/US2015/036260 and chinese national application No. 201580044329.0.
The present application claims priority from U.S. provisional patent application No. 62/014060 entitled "mitral valve implant for treating valvular regurgitation" filed 6/18 2014. The entire disclosure of the prior priority application is incorporated herein by reference for all purposes.
Background
FIELD
The present invention generally provides improved medical devices, systems and methods typically for treating heart valve disease and/or for altering the characteristics of one or more valves of the body. Embodiments of the invention include an implant for treating mitral regurgitation.
The human heart receives blood from organs and tissues via veins, pumps the blood through the lungs where it becomes oxygen-rich, and pushes the oxygenated blood away from the heart to arteries so that the body's organ system can extract oxygen for proper function. The deoxygenated blood flows back to the heart where it is pumped again to the lungs.
The heart includes four chambers: the Right Atrium (RA), Right Ventricle (RV), Left Atrium (LA) and Left Ventricle (LV). The pumping action on the left and right sides of the heart occurs generally synchronously during the overall cardiac cycle.
The heart has four valves that are typically configured to selectively deliver blood flow in the correct direction during the cardiac cycle. The valve that separates the atrium from the ventricle is called the atrioventricular (or AV) valve. The AV valve between the left atrium and left ventricle is the mitral valve. The AV valve between the right atrium and right ventricle is the tricuspid valve. The pulmonary valve directs blood flow to the pulmonary arteries and thence to the lungs; the blood returns to the left atrium via the pulmonary veins. The aortic valve directs blood flow through the aorta and thence to the periphery. There is usually no direct connection between the ventricles or between the atria.
Mechanical heart beats are triggered by electrical impulses that propagate throughout the heart tissue. The opening and closing of the heart valve may occur primarily due to pressure differences between the chambers, which may result from passive filling or chamber contraction. For example, opening and closing of the mitral valve may occur due to a pressure difference between the left atrium and the left ventricle.
At the beginning of ventricular filling (diastole), the aortic and pulmonary valves close to prevent backflow from the arteries into the ventricle. Immediately thereafter, the AV valve opens to allow unimpeded flow from the atria into the respective ventricles. Immediately after ventricular contraction (i.e., ventricular emptying) begins, the tricuspid and mitral valves typically close, forming a seal that prevents flow from the ventricles back into the respective atria.
Unfortunately, the AV valve may be damaged or may not function properly, resulting in an abnormal closure. AV valves are complex structures that typically include the annulus (annuus), leaflets (leaflets), chordae (chord), and support structures. Each atrium is connected to its valves via the atrial vestibulum. The mitral valve has two leaflets; a similar structure of the tricuspid valve has three leaflets, and the opposition or coaptation of the respective leaflet surfaces toward each other helps provide closure or sealing of the valve to prevent blood flow in the wrong direction. Failure of the leaflets to seal during ventricular systole is known as poor coaptation and may allow blood to flow back through the valve (regurgitation). Heart valve regurgitation can have serious consequences for the patient, often resulting in heart failure, reduced blood flow, low blood pressure, and/or reduced oxygen flow to body tissues. Mitral regurgitation can also cause blood to flow back from the left atrium into the pulmonary veins, causing congestion. Severe valve regurgitation, if left untreated, can result in permanent disability or death.
Description of the related Art
Various therapies have been applied to treat mitral valve regurgitation, and other therapies have still been proposed but have not been practically used to treat patients. While several known therapies have been found to provide benefits to at least some patients, further options are still needed. For example, medicaments (such as diuretics and vasodilators) may be used in patients with mild mitral regurgitation to help reduce the amount of blood that regurgitates into the left atrium. However, medication may lack patient compliance. Many patients may occasionally (or even regularly) fail medication despite the potential severity of chronic and/or increasingly worsening mitral regurgitation. Pharmacological treatment of mitral regurgitation can also be inconvenient, often ineffective (especially as the situation worsens), and may be associated with serious side effects (such as hypotension).
Various surgical options have also been proposed and/or used to treat mitral regurgitation. For example, open-heart surgery (open-heart surgery) may replace or repair a dysfunctional mitral valve. In annuloplasty (annuloplasty) annuloplasty annular repair, the posterior mitral annulus may be reduced in size along its circumference, optionally suturing the annulus with sutures by mechanical surgical annuloplasty to provide coaptation. Open surgery may also seek to reshape the leaflets and/or remodel the support structure. In any event, open mitral valve surgery (open mitral valve surgery) is generally a very invasive treatment that is performed on a cardiopulmonary machine with the patient under general anesthesia and the chest being cut. Complications can be common and given the morbidity (and potential mortality) of open-heart surgery, scheduling becomes a difficult problem-more ill patients may require surgery at best, but are less able to survive surgery. Successful open mitral valve surgery results can also be very dependent on surgical skill and experience.
In view of morbidity and mortality from open-heart surgery, innovators have sought less invasive surgical therapies. Methods performed robotically or by endoscopy are still often quite invasive and can also be time consuming, expensive, and, in at least some cases, highly dependent on the skill of the surgeon. It would be desirable to make even less traumatic to these sometimes infirm patients, and it would also be desirable to provide a therapy that can be successfully administered by a large number of physicians using a widely varying technique. To this end, a variety of techniques and methods have been proposed which are said to be less invasive. These include devices that seek to reshape the mitral annulus from within the coronary sinus; devices that attempt to reshape the annulus by tying the native valve ring from top to bottom; a device to fuse leaflets (mimicking an alfiri suture); devices that reshape the left ventricle, etc.
A variety of perhaps the best known mitral valve replacement implants have been developed that generally replace (or displace) the native leaflets and rely on surgically implanted structures to control the blood flow path between heart chambers. While these various methods and tools meet various levels of certainty, none have been widely recognized as an ideal treatment for most or all patients suffering from mitral regurgitation.
Due to the difficulties and disadvantages of known minimally invasive mitral valve regurgitation therapies and implants, still alternative treatments have been proposed. Some alternative proposals require the implanted structure to remain within the annulus throughout the heart cycle. One group of these proposals includes cylindrical balloons or the like that remain implanted on a cord or rigid rod that extends between the atrium and ventricle through the valve opening. Another group relies on arcuate ring structures or the like, often in combination with structural cross members or buttons extending through the wall of the valve to secure the implant. Unfortunately, sealing between the native leaflets and the entire perimeter of the balloon or other coaxial body can prove challenging, while significant contraction around the native annulus during each heartbeat can lead to significant fatigue failure tissue during long-term implantation if the arch wall or fixator interconnecting cross-members are allowed to flex. Furthermore, significant movement of the valve tissue can make accurate positioning of the implant difficult, regardless of whether the implant is rigid or flexible.
In view of the above, it is desirable to provide improved medical devices, systems and methods. It would be particularly desirable to provide new techniques for treating mitral regurgitation and other heart valve diseases, and/or for altering the characteristics of one or more of the other valves of the body. There remains a need for a device that can directly augment leaflet coaptation via fusion or other means (rather than indirectly via annular or ventricular reshaping) and that does not disrupt leaflet anatomy, but that can be simply and reliably deployed and that does not require excessive cost or procedure time. It would be particularly advantageous if these new techniques could be implemented using less invasive methods, without the need to stop the heart or rely on heart-lung machines for deployment, and without the need to rely on the expertise of the surgeon, thereby providing improved valve and/or heart function.
SUMMARY
In some embodiments, disclosed herein is an implant for treating cardiac valve insufficiency. The implant may include one or more of the following: a shape memory structure, a biocompatible membrane coupled to the structure, a hub (hub) placed on a proximal side of the implant and coupled to the membrane, one, two or more holes or perforations along an edge of the membrane on the proximal side, and a ventricular projection coupled to an anchoring device. The implant may be folded for delivery through a percutaneous catheter. The shape memory structure may comprise a shape memory spine (spine), such as nitinol or, for example, PEEK. A portion of the ventricular projection, such as the distal tip, may be radiopaque. The anchoring means may be active or passive. The ridges may include features such as micro-holes and micro-hooks for attachment to the membrane and tissue.
Also disclosed herein is a steerable catheter comprising one or more of a steerable shaft, a rotatable handle coupled to a pull wire placed within the shaft to adjust a bend radius of a distal tip of the shaft as a function of an amount of torque applied to the handle. In some embodiments, the diameter of the handle of the catheter is equal to the diameter of the steerable shaft, or no greater than the diameter of the steerable shaft. Also disclosed herein is a delivery catheter comprising one or more of the following: a rotatable handle coupled to a pull wire placed within a twistable shaft to adjust a bend radius of a distal tip of the shaft of the catheter, a sheath designed to house the implant when the implant is folded, and a distal tip further comprising a locking component capable of connecting a delivery catheter to a hub (hub) of an implant or to an anchor. In some embodiments, the catheter may further include a tearable disposable funnel to assist in folding of the implant. In some embodiments, the distal tip further comprises a locking tab that is naturally disposed in an unlocked position. The delivery catheter may be coupled to an annular hub (annular hub) of the implant having a feature that receives a locking tab of the delivery catheter. In some embodiments, a guide wire or other catheter may be inserted within the shaft to push a locking tab toward a mating feature on a hub of the implant so that the catheter and hub are locked. The catheter may also include a loop, such as a wire that travels from the proximal handle to the distal tip so that tension in the loop can be controlled via controls on the handle. The delivery catheter may be coupled to an annulus hub of the implant, the annulus hub having a cross pin. A guide wire or other catheter may be inserted within the shaft and the wire loop tightened against the cross pin and guide wire until tension on the loop is maintained, such that the delivery catheter locks to the hub of the implant.
The implant may be operably coupled to a tissue, such as cardiac tissue, via a first coupling of the anchor to the delivery catheter and a second coupling of the anchor to the implant hub, wherein a torque is applied to the delivery catheter to insert the anchor into the hub and the tissue. The first coupling may be uncoupled to withdraw the catheter.
In some embodiments, a commissure anchor may be delivered by one or more of the following steps: coupling an anchor to a shaft of a catheter, advancing the anchor and the catheter to an anchoring site, delivering the anchor such that it engages with an implant and tissue, and decoupling the anchor from the shaft. The shaft may be torqueable, and an engagement mechanism may apply torque to the shaft such that the anchor engages the implant and tissue. The anchor may be made of a shape memory material and may be compressed into a shaft of a catheter for delivery to an anchoring site, wherein a distal tip of the catheter is shaped such that it pierces tissue. The anchor can be advanced after the delivery catheter first pierces the tissue, and the catheter subsequently retracted, leaving the anchor in place.
In some embodiments, an implant for treating cardiac valve insufficiency is disclosed. The implant may include one or more of the following: a removable shape memory structure, a biocompatible membrane coupled to the structure, a hub placed on a proximal side of the implant and coupled to the membrane, one, two or more holes or perforations along an edge of the membrane on the proximal side, and a ventricular projection coupled to an anchoring device. The implant may also include at least one passageway, such as a passageway placed around the edge of the annulus and/or along a ventricular projection. In some embodiments, multiple, such as 2, 3, 4, 5, or more anchors are delivered to couple the implant to the cardiac tissue. The delivery device may have a distal segment comprising 1, 2, or more anchors rotatably coupled to a central rotating shaft. The spring-loaded mechanism may exert a pushing force to cause the anchor to exit the distal end. In some embodiments, the anchor may be housed in a housing with a groove on the inner diameter such that the anchor may exit the distal end as the central rotating shaft rotates. The apparatus may comprise one or more of the following, for example: a hollow shaft, a pointed tip at the end of the hollow shaft, one, two or more hollow barrels placed within the hollow shaft through which the wire passes, and a push rod at the proximal end, such that when force is applied to the push rod, the barrels exit the hollow shaft one after another.
In some embodiments, disclosed herein is a steerable guidewire comprising an elongate flexible body having a longitudinal axis, a proximal end, and a distal deflection zone; a control on the proximal end for controllable deflection of the deflection zone; and a movable deflection element extending from the control member toward the deflection zone. In some embodiments, no portion of the guidewire has an outer diameter greater than about 10 french, 8 french, 6 french, or 4 french. The control member may have an outer diameter that is no greater than an outer diameter of the body. Rotation of the control member about the axis may cause lateral movement of the deflection zone. Rotation of the control member about the shaft in a first direction may cause proximal retraction of the deflecting element.
Also disclosed herein is an implantable coaptation assistance device comprising a flexible body; a first concave surface on the body configured to restrain a posterior leaflet; a second concave surface on the body configured to contact an anterior leaflet; an arcuate peripheral upper edge on the body, the arcuate peripheral upper edge defining an opening facing away from the first surface; and a ventricular projection extending away from the body and configured to be anchored in a ventricle. The device may also include an anchor on the ventricular projection. The anchors may be active or passive. The device may further include a flexible ridge for supporting the arcuate peripheral edge. In some cases the ridges may be removable.
Also disclosed herein is an anchoring system for attaching a ventricular projection of an implantable coaptation device. The system may include: a shoulder having a bore extending therethrough; a helical tissue anchor extending distally from a hub; a first engagement structure on the anchor for releasably engaging a torque shaft; a second engagement structure on the torque shaft for engaging the anchor; and an implant having a hub sized to receive the helical anchor therethrough; wherein the torque shaft is configured to rotate to drive the helical anchor into tissue and secure the implant to tissue. The first engagement structure may be an aperture and the second engagement structure may be a protrusion. The protrusion may be laterally movable into and out of the aperture, such as in response to axial movement of an elongate element within the torque shaft.
In some embodiments, a steerable guidewire is provided. The steerable guidewire may include an elongated flexible body having a longitudinal axis, a proximal end, and a distal deflection zone. The steerable guidewire may include controls on the proximal end for controllable deflection of the deflection zone. The steerable guidewire may include a movable deflection element extending from the control toward the deflection region. In some embodiments, no portion of the guidewire has an outer diameter greater than about 10 french. In some embodiments, no portion of the guidewire has an outer diameter greater than about 6 french. In some embodiments, no portion of the guidewire has an outer diameter greater than about 4 french. In some embodiments, the control member has an outer diameter that is no greater than an outer diameter of the body. In some embodiments, rotation of the control about the axis causes lateral movement of the deflection zone. In some embodiments, rotation of the control in a first direction about the shaft causes proximal retraction of the deflecting element.
In some embodiments, an implantable coaptation assistance device is provided. The implantable coaptation assistance device can include a flexible body. The implantable coaptation assistance device can include a first concave surface on the body configured to restrain a posterior leaflet. The implantable coaptation assistance device can include a second concave surface on the body configured to contact an anterior leaflet. The implantable coaptation assistance device can include an arcuate peripheral superior edge on the body that defines an opening facing away from the first surface. The implantable coaptation assistance device can include a ventricular projection extending away from the body and configured to anchor in the ventricle.
In some embodiments, the implantable coaptation assistance device can include an anchor on the ventricular projection. In some embodiments, the implantable coaptation assistance device can include an active anchor. In some embodiments, the implantable coaptation assistance device can include a passive anchor. In some embodiments, the implantable coaptation assistance device can include a flexible ridge for supporting the arcuate peripheral edge. In some embodiments, the ridge is removable.
In some embodiments, an anchoring system for attaching a ventricular projection of an implantable coaptation device is provided. The anchoring system may include a shoulder having a bore extending therethrough. The anchoring system may include a helical tissue anchor extending distally from a hub. The anchoring system may include a first engagement structure on the anchor for releasably engaging a torque shaft. The anchoring system may include a second engagement structure on the torque shaft for engaging the anchor. The anchoring system may include an implant having a hub sized to receive the helical anchor therethrough. In some embodiments, the torque shaft is configured to rotate to drive the helical anchor into tissue and secure the implant to tissue. In some embodiments, the first engagement structure is a hole and the second engagement structure is a protrusion. In some embodiments, the protrusion is laterally movable into and out of the aperture. In some embodiments, the protrusion is laterally movable into and out of the aperture in response to axial movement of an elongate element within the torque shaft.
In some embodiments, an implantable coaptation assistance device is provided. The implantable coaptation assistance device can include a coaptation assistance body including a first coaptation surface, an opposing second coaptation surface, each surface bounded by a first lateral edge, a second lateral edge, a lower edge, and an upper edge. The implantable coaptation assistance device can include a ventricular projection extending from the inferior edge. The implantable coaptation assistance device can include a first support extending through at least a portion of the coaptation assistance device between the superior edge and the ventricular projection. The implantable coaptation assistance device can include a second support extending through at least a portion of the coaptation assistance body between the first lateral edge and the second lateral edge. The implantable coaptation assistance device can include a passageway extending through at least a portion of the coaptation assistance device, the passageway sized to receive a steerable catheter therethrough. In some embodiments, the first support has a first configuration in which the first support is substantially linear and a second configuration in which the first support is curved. In some embodiments, the first and second supports are configured to allow percutaneous insertion of the implantable coaptation assistance device.
In some embodiments, the passageway extends through at least a portion of the coaptation assistance device between the superior edge and the ventricular projection. In some embodiments, the steerable catheter comprises a distal tip configured to bend. In some embodiments, rotating the handle of the steerable catheter causes the distal tip to bend. In some embodiments, the first support comprises a shape memory material. In some embodiments, the first support is bonded to the coaptation assist body. In some embodiments, the coaptation assistance body includes a lumen sized to receive at least a portion of the first support. In some embodiments, the first support is removable. In some embodiments, the first support extends from the superior edge to the ventricular projection. In some embodiments, the passageway extends through at least a portion of the coaptation assist body between the first lateral edge and the second lateral edge. In some embodiments, the second support comprises a shape memory material. In some embodiments, the second support is bonded to the coaptation assist body. In some embodiments, the coaptation assist body comprises a lumen sized to receive at least a portion of the second buttress. In some embodiments, the second support is removable. In some embodiments, the second support extends from the first lateral edge to the second lateral edge. In some embodiments, the first support is coupled to the second support. In some embodiments, the first support and the second support are coupled to a removable hub that protrudes from a surface of the coaptation assist body.
In some embodiments, a kit is provided. The kit may include an implantable coaptation assistance device. The implantable coaptation assistance device can include a coaptation assistance body including a first coaptation surface, an opposing second coaptation surface, each surface bounded by a first lateral edge, a second lateral edge, a lower edge, and an upper edge. The implantable coaptation assistance device can include a ventricular projection extending from the inferior edge. The implantable coaptation assistance device can include a passageway extending through at least a portion of the coaptation assistance device, the passageway sized to receive a steerable catheter therethrough. The kit may include a steerable catheter. In some embodiments, the steerable catheter is configured to pass through the mitral valve and curve toward ventricular tissue, wherein the implantable coaptation assistance device is configured to be passed through the steerable catheter toward the ventricular tissue.
In some embodiments, the passageway extends through at least a portion of the coaptation assistance device between the superior edge and the ventricular projection. In some embodiments, the steerable catheter comprises a distal tip configured to bend. In some embodiments, rotating the handle of the steerable catheter causes the distal tip to bend. In some embodiments, the passageway extends through at least a portion of the coaptation assist body between the first lateral edge and the second lateral edge.
In some embodiments, methods of using an implantable coaptation assistance device are provided. The method can include the step of inserting a coaptation assist body toward the heart valve. In some embodiments, the coaptation assist body includes a first coaptation surface, an opposing second coaptation surface, each surface bounded by a first lateral edge, a second lateral edge, a lower edge, and an upper edge, a ventricular projection extending from the lower edge. The method can include the step of manipulating the first support to cause the coaptation assist body to assume a curved configuration. In some embodiments, the first support extends through at least a portion of the coaptation assistance device between the superior edge and the ventricular projection. The method can include the step of manipulating a second support to cause the coaptation assist body to assume a curved configuration. In some embodiments, the second support extends through at least a portion of the coaptation assist body between the first lateral edge and the second lateral edge.
In some embodiments, manipulating the first support comprises releasing the coaptation assist body from the delivery catheter. In some embodiments, manipulating the second support comprises releasing the coaptation assist body from the delivery catheter. The method can include the step of guiding the coaptation assist body through a steerable catheter. The method may include the step of passing a steerable catheter from the ventricular projection toward the superior rim prior to inserting the coaptation assist body toward the heart valve. The method can include the step of moving a distal portion of the steerable catheter to curve around the posterior leaflet. The method can include the step of passing the coaptation assistance device through a curve of the steerable catheter. In some embodiments, the steerable catheter is removed after the ventricular projection engages ventricular tissue. In some embodiments, the steerable catheter is held in place while advancing the ventricular projection toward the ventricular tissue. The method may include the step of removing the first support from the coaptation assist body. The method may include the step of removing the second buttress from the coaptation assist body. The method may include the step of engaging the ventricular projection with ventricular tissue. In some embodiments, the method is performed transdermally.
Brief Description of Drawings
Fig. 1A-1F schematically illustrate some tissues of the heart and mitral valve, as described in the background section and below, and which may interact with the implants and systems described herein.
Fig. 2A illustrates a simplified cross-section of a heart, schematically showing mitral valve function during diastole.
Fig. 2B illustrates a simplified cross-section of a heart, schematically showing mitral valve function during systole.
Figures 3A-3B illustrate simplified cross-sections of a heart schematically showing mitral regurgitation during systole in the event of mitral insufficiency.
Fig. 4A illustrates a stylized cross-section of a heart showing mitral insufficiency with functional mitral regurgitation.
Fig. 4B illustrates a stylized cross-section of a heart showing mitral insufficiency in the event of degenerative mitral regurgitation.
Fig. 5A illustrates an embodiment of a coaptation assistance device.
FIG. 5B illustrates various cross-sections that the support structure may have along section A-A of FIG. 5A.
Fig. 5C illustrates various shapes of anchors at the distal end of ventricular projections.
Fig. 5D illustrates a non-limiting embodiment of a range of sizes of coaptation assistance devices.
Fig. 5E illustrates a table of non-limiting embodiments of various variations (materials, dimensional ranges) of the support structure.
Fig. 5F illustrates an embodiment of the distal end of a ventricular projection.
Fig. 5G illustrates that the position of the coaptation assistance device can be maintained by grasping the native valve leaflet with the shape of the coaptation assistance device.
Fig. 5H illustrates an embodiment of how the coaptation assistance device can be secured through the posterior leaflet from the ventricular side.
Fig. 6A illustrates a steerable catheter.
Fig. 6B illustrates the position of the steerable catheter of fig. 6A in the heart.
Fig. 7A illustrates a delivery catheter.
Fig. 7B illustrates an embodiment of a locking mechanism that locks the delivery catheter to the annulus hub.
Fig. 7C illustrates another embodiment of a locking mechanism that locks the delivery catheter to the annulus hub.
Fig. 7D illustrates the coupling of the coaptation assistance device, the delivery catheter, and the guidewire or steerable catheter.
Fig. 8A-8D illustrate how the coaptation assistance device folds and pulls in the implant sheath and is delivered to the heart through the femoral approach.
Fig. 8E-8G illustrate how the delivery catheter and implant sheath are placed so that the ventricular projection of the coaptation assistance device can be anchored.
Fig. 8H illustrates a fully open coaptation assistance device and a delivery catheter positioned over the annulus hub for anchoring the annulus hub to the annulus.
Fig. 8I illustrates an embodiment of an anchor that may be used to anchor the annulus hub.
Fig. 9A illustrates a method of anchoring a coaptation assistance device adjacent to the commissure via a hole in the frame of the coaptation assistance device.
Fig. 9B illustrates a top view of the anchor and cross-bar of fig. 9A.
Fig. 10A illustrates another embodiment of a delivery catheter having multiple lumens and connections to an implant.
Figure 10B illustrates a cross-section of the delivery catheter shown in figure 10A.
Fig. 11A-B illustrate various alternative embodiments of anchors.
Fig. 11C illustrates a delivery tube through which anchors 11A and 11B may be delivered.
Fig. 11D illustrates how the anchor of fig. 11B may look after the anchoring process is over.
Fig. 12 illustrates a no-spine implant design (shown here asstructure 1220, which is later withdrawn from the implant).
Fig. 13A-B illustrate an initial stage of a delivery procedure for a spinal-free implant.
Fig. 14A-B illustrate various types of anchoring methods for a spinal-free implant.
Fig. 15A illustrates an embodiment of an anchoring catheter that enables delivery of multiple anchors. This figure also illustrates a multiple anchor design.
Fig. 15B illustrates another embodiment of an anchoring catheter that enables delivery of multiple anchors.
Fig. 15C-D illustrate how the anchor in 15B can be coupled to tissue.
Fig. 16A illustrates another embodiment of an anchoring catheter that enables delivery of multiple anchors.
Fig. 16B-C illustrate how the tool of fig. 16A can be used to deliver multiple anchors.
Fig. 17A illustrates another embodiment of a spinal-free implant.
Fig. 17B-E illustrate how the embodiment of fig. 17A may be anchored.
Detailed description of the invention
The devices, systems, and methods described within this disclosure are generally used to treat Mitral Regurgitation (MR). Mitral regurgitation occurs when the mitral valve fails to prevent blood from the left ventricle from flowing back into the left atrium during systole. The mitral valve consists of two leaflets, an anterior leaflet and a posterior leaflet, that coapt or meet during systole to prevent regurgitation. There are generally two types of mitral regurgitation, functional regurgitation and degenerative regurgitation. Functional MR is caused by a variety of mechanisms including abnormal or impaired Left Ventricular (LV) wall motion, left ventricular dilation, and papillary muscle disorders. Degenerative MR is caused by structural abnormalities of the valve leaflets and subvalvular tissue, including stretching or rupture of the chordae tendineae. Damaged chordae can lead to prolapse of the leaflets, which means that the leaflets protrude (usually into the atrium), or, if the chordae tear, become flails, leading to backflow of blood. As described below, the devices, systems, and methods of the present disclosure provide a new apposition surface over the native posterior leaflet such that backflow flow of blood is minimized or eliminated.
Referring to fig. 1A-1D, four chambers of the heart are shown, theleft atrium 10, theright atrium 20, theleft ventricle 30, and theright ventricle 40. Themitral valve 60 is disposed between theleft atrium 10 and theleft ventricle 30. Also shown are tricuspid valve 50 (which separatesright atrium 20 from right ventricle 40),aortic valve 80, andpulmonary valve 70. Themitral valve 60 is composed of two leaflets (ananterior leaflet 12 and a posterior leaflet 14). In a healthy heart, the edges of the two leaflets oppose each other at thecoaptation region 16 during systole.
Thefibrous annulus 120, which is part of the heart frame, provides attachment for the two leaflets of the mitral valve, referred to as theanterior leaflet 12 and theposterior leaflet 14. The leaflets are axially supported by attachment tochordae tendineae 32. The cord is in turn attached to one or both of thepapillary muscles 34, 36 of the left ventricle. In a healthy heart, the cable support structure tethers the mitral valve leaflets, allowing the leaflets to open easily during diastole, but tolerates the high pressures that develop during ventricular systole. In addition to the tethering effect of the support structure, the shape and tissue consistency of the leaflets help promote effective sealing or coaptation. The leading edges of the anterior and posterior leaflets meet along thecoaptation region 16, where across-section 160 of the three-dimensional coaptation region (CZ) is schematically shown in fig. 1E.
The anterior and posterior mitral valve leaflets have different shapes. The anterior leaflet is more firmly attached to the annulus overlying the central fibrous body (the heart frame) and is somewhat stiffer than the posterior leaflet, which is attached to the more mobile posterior mitral annulus. About 80% of the occlusion area is the anterior leaflet. Left (lateral) 124 and right (septal) 126 fibrous trigones formed with the mitral annulus fused to the base of the non-coronary cusp (non-coronary cusp) of the aorta are positioned adjacent to thecommissures 110, 114, above or in front of the annulus 120 (fig. 1F). Thefibrous trigones 124, 126 form spaced extensions and lateral extensions of the centralfibrous body 128. In some embodiments, thefibrous trigones 124, 126 may have advantages, such as providing a secure area for stable engagement with one or more annulus anchors (anchors) or atrial anchors. The coaptation region CL between theleaflets 12, 14 is not a simple line, but a curved, funnel-shaped surface interface. The commissures of the first 110 (lateral or left) and second 114 (septal or right) leaflets are where theanterior leaflet 12 meets theposterior leaflet 14 at theannulus 120. As best seen in the axial views of the atrium of fig. 1C, 1D and 1F, the axial cross-section of the coaptation region generally shows a curved line CL that is separated from the centroid of the annulus CA and from the opening through the valve during diastole CO. Furthermore, the leaflet edges have rounded teeth, especially in the posterior leaflet compared to the anterior leaflet. Incompetence may occur between one or more of these a-P (anterior-posterior) segment pairs a1/P1, a2/P2, and A3/P3, such that incompetence characteristics may vary along the curve of the coaptation region CL.
Referring now to fig. 2A, a properly functioningmitral valve 60 of the heart is open during diastole to allow blood to flow along a flow path FP from the left atrium to theleft ventricle 30 and thereby fill the left ventricle. As shown in fig. 2B, by increasing ventricular pressure, first passively then actively, the functioningmitral valve 60 closes during systole and effectively separates theleft ventricle 30 from theleft atrium 10, thereby allowing the heart tissue surrounding the left ventricle to contract to push blood through the vascular system.
Referring to fig. 3A-3B and 4A-4B, there are several conditions or disease states in which the leaflet edges of the mitral valve do not oppose sufficiently and thereby allow blood to flow from the ventricles back into the atria during the systolic phase. Regardless of the specific etiology of a particular patient, the failure of the leaflets to seal during ventricular systole is known as insufficiency and causes mitral regurgitation.
In general, insufficiency may be caused by over-tethering of the support structure of one or both leaflets, or may be caused by over-stretching or tearing of the support structure. Other less common causes include heart valve infections, congenital abnormalities, and trauma. Valve dysfunction can be caused by: the chordae tendineae are stretched (known as mitral valve prolapse), and in some cases, tears of thechordae tendineae 215 or papillary muscles (known as flail leaflets 220), as shown in fig. 3A. Alternatively, if the leaflet tissue itself is redundant, the valve may prolapse such that coaptation occurs at a higher level into the atrium, opening the valve higher in theatrium 230 during ventricular systole. Any of the leaflets may prolapse or become flail. This condition is sometimes referred to as degenerative mitral regurgitation.
In over-tethering as shown in fig. 3B, the leaflets of a properly configured valve may not function properly due to annular enlargement or shape change (so-called annular enlargement 240). This functional mitral regurgitation is usually caused by myocardial failure and concomitant ventricular enlargement. And excessive volume loading caused by functional mitral regurgitation may itself exacerbate heart failure, ventricular and annular dilation, and thereby worsen mitral regurgitation.
Fig. 4A-4B illustrate the regurgitation BF of blood during systole in functional mitral regurgitation (fig. 4A) and degenerative mitral regurgitation (fig. 4B). The increased size of the annulus in fig. 4A, coupled with increased tethering due to hypertrophy of theventricle 320 andpapillary muscles 330, prevents theanterior leaflet 312 andposterior leaflet 314 from opposing, thereby preventing coaptation. In fig. 4B, the tearing of thechordae tendineae 215 causes theposterior leaflet 344 to prolapse upward into the left atrium, which prevents opposition to theanterior leaflet 342. In either case, the result is regurgitation of blood into the atrium, which reduces the effectiveness of left ventricular compression.
Fig. 5A illustrates an embodiment of acoaptation assistance device 500. Thecoaptation assistance device 500 can include acoaptation assistance body 515. Thecoaptation assistance body 515 can include afirst coaptation surface 535. Thefirst coaptation surface 535 can be disposed toward the native leaflets of the insufficiency, in the case of the mitral valve, toward the posterior leaflets when implanted. Thecoaptation assistance body 515 can include asecond coaptation surface 540. Thesecond mating surface 540 may be opposite thefirst mating surface 535, as shown in fig. 5A. Thesecond apposition surface 540 may be disposed toward the native leaflets of the insufficiency, in the case of the mitral valve, toward the anterior leaflets when implanted. The first and second apposition surfaces 535, 540 may be bounded by first and second lateral edges. The first and second apposition surfaces 535, 540 may be bounded by lower andupper edges 545.
The first and second apposition surfaces 535, 540 are two sides of the same implant structure that forms theapposition aid body 515. In some embodiments, the shape of thecoaptation assistance body 515 can be generally characterized by the shape of theupper rim 545, the shape of thefirst coaptation surface 535, and thesecond coaptation surface 540.
Thecoaptation assistance device 500 can include aventricular projection 525, as shown in fig. 5A. Theventricular projection 525 may extend from a lower edge of the coaptation assistbody 515. Theventricular projection 525 may be placed within the left ventricle when implanted. Theventricular projection 525 may provide an anchoring mechanism. Thedistal end 530 of theventricular projection 525 generally provides an anchoring mechanism.
Thedistal end 530 of theventricular projection 525 may have a different shape, as shown in fig. 5C. Fig. 5C shows five embodiments of thedistal end 530. It is noted that many more variations are possible and that these variations are not limited to the five embodiments shown in fig. 5C. Generally, and in other embodiments, there are two types of anchors. Examples of passive anchors are shown in fig. 5C in embodiments 555.1-555.4. Passive anchors rely on capture behind the chordae (entrampment) and/or interference with the chordae. With respect to passive anchors, in some embodiments, the maximum dimension or dimension (typically the width) responsible for winding the chordae tendineae may be 10mm-40mm, such as 25 mm.
The distal end 555.1 includes one or more prongs. The prongs may be elongated rods that extend from a central hub as shown. In the illustrated embodiment, four prongs extend from the central hub. In other embodiments, one or more prongs extend from the central hub. The prongs may extend at an angle to the central hub, thereby increasing the surface area ofdistal end 530. The distal end 555.2 may be generally rectangular, generally square, generally diamond shaped, or diamond shaped. The distal end 555.2 may include one or more cuts (cut out cuts). The incision may increase the ability to grasp tissue. In the illustrated embodiment, four cuts are made in the distal end. In other embodiments, one or more cuts are provided.
The distal end 555.3 includes one or more prongs. The prongs may be elongated rods that extend from a central hub as shown. In the illustrated embodiment, two prongs extend from the central hub. In other embodiments, one or more prongs extend from the central hub. The prongs may extend at right angles to the central hub, thereby increasing the surface area ofdistal end 530.
The distal end 555.4 includes one or more barbs. The barbs may extend from the central hub as shown. The barb may be inverted toward the central hub. In the illustrated embodiment, three or more barbs extend from the central hub. In other embodiments, one or more barbs are provided in one or more directions.
The distal end 555.5 includes one or more prongs and is similar to the configuration shown as distal end 555.1. Distal end 555.5 is an example of an active anchor. The active anchors may have components such as spikes, barbs, or screws that may be coupled to the ventricular tissue. The active anchor may require a driving force, such as torque, to embed into the tissue. The passive or active anchors may be made of implant grade biocompatible materials such as silicone, PEEK, pebax, polyurethane.
The dimensions of thecoaptation assistance device 500 are described in detail in fig. 5D. This figure shows a top view and a front view of thecoaptation assistance body 515 of thecoaptation assistance device 500. The three parameters "x", "y", and "z" shown in the figures characterize thecoaptation assistance device 500. Non-limiting examples of the ranges and sizes of these variables x, y and z are shown in the "size table" in the figures.
Thecoaptation assistance device 500 can include asupport structure 505. Thesupport structure 505 may be referred to as a ridge. Thesupport structure 505 may at least partially define the shape of thecoaptation assistance device 500.
Returning to fig. 5A, thesupport structure 505 is shown by dashed lines. In some embodiments,support structure 505 is made of a shape memory material such as, but not limited to, nitinol (NiTi), Polyetheretherketone (PEEK) or other rigid polymers or fatigue resistant metals. The use of shape memory materials enables the advantages described herein to be achieved. For example, one advantage of the shape memory material is its superelastic properties that help thecoaptation assistance device 500 retain its shape and function as a coaptation assistance device when the heart contracts and expands and applies pressure to thecoaptation assistance device 500. Another example of an advantage is that shape memory materials are suitable for the transdermal delivery methods to be described herein.
Thesupport structure 505 may comprise one or more segments. In some embodiments,support structure 505 comprises one segment. In some embodiments,support structure 505 comprises two segments. In some embodiments,support structure 505 comprises three or more segments. In some embodiments, one or more segments of thesupport structure 505 may comprise one or more subsections. In the embodiment shown in fig. 5A,support structure 505 comprises two segments: a first segment 505.2 and a second segment 505.1.
The first segment 505.2 may extend across at least a portion of thecoaptation assistance device 500 between theupper edge 545 and theventricular projection 525. In some embodiments, the first segment 505.2 may extend the entire length of thecoaptation assistance device 500 between theupper edge 545 and theventricular projection 525. In some embodiments, the first segment 505.2 extends from a location between thesuperior edge 545 and the inferior edge of the coaptation assistbody 515. In some embodiments, the first segment 505.2 extends from a location between a lower edge of the coaptation assistbody 515 and theventricular projection 525. In some embodiments, the first segment 505.2 extends along the coaptation assistbody 515 and continues to support theventricular projection 525.
The second segment 505.1 may extend between the first lateral edge and the second lateral edge over at least a portion of the coaptation assistbody 515. In some embodiments, the second segment 505.1 may extend the entire length between the first and second side edges. In some embodiments, the second segment 505.1 extends from a location between thesuperior edge 545 and the inferior edge of the coaptation assistbody 515. In some embodiments, the second segment 505.1 extends from a position closer to theupper edge 545 than to the lower edge of the coaptation assistbody 515. In some embodiments, the second segment 505.1 extends from the first lateral edge towards the second lateral edge. In some embodiments, the second segment 505.1 extends from the second side edge towards the first side edge. In some embodiments, the second segment 505.1 extends along the segment between the first lateral edge and the second lateral edge. In some embodiments, the second segment 505.1 extends along an edge of thecoaptation assistance device 500.
In some embodiments, the first section 505.2 and the second section 505.1 of thesupport structure 505 may be one integral piece or structure. In some embodiments, the first section 505.2 and the second section 505.1 of thesupport structure 505 are separate components. In some embodiments, the first segment 505.2 and the second segment 505.1 may be two separate segments that are joined together by methods such as, but not limited to, crimping and laser welding.
In some embodiments, the first segment 505.2 is integrated within the coaptation assistbody 515 as described herein. In some embodiments, the first segment 505.2 is integrated within aventricular projection 525 as described herein. In some embodiments, the first segment 505.2 is removable from the coaptation assistbody 515 as described herein. In some embodiments, the first segment 505.2 is removable from theventricular projection 525 as described herein. In some embodiments, the second segment 505.1 is integrated within the coaptation assistbody 515 as described herein. In some embodiments, the second segment 505.1 is removable from the coaptation assistbody 515 as described herein. In some embodiments, first segment 505.2 may have a first region oriented substantially parallel to the longitudinal axis ofbody 515 and a second region oriented substantially perpendicular to the longitudinal axis ofbody 515, as illustrated.
Thesupport structure 505 that supports the shape of theventricular projection 525 can have various cross-sections as shown by section AA in fig. 5A and is illustrated in detail in fig. 5B. In fig. 5B, five embodiments of cross-sections are shown; however, it is noted that the embodiments of the cross-section of thesupport structure 505 are not limited to these five. The cross-section 550.1 is circular or substantially circular. The cross-section 505.2 is circular or substantially circular. Cross-section 550.1 may have a larger cross-sectional area than cross-section 550.2. Cross-section 550.3 includes a plurality of circular or substantially circular cross-sections. In the illustrated embodiment, seven circular or substantially circular cross-sections collectively form cross-section 550.3. In other embodiments, two or more circular or substantially circular cross-sections collectively form cross-section 550.3. Cross section 550.3 may be in the form of a cable. The cross-section 550.4 is rectangular or substantially rectangular. The cross-section 550.5 is rectangular or substantially rectangular. Cross-section 550.4 may have a larger cross-sectional area than cross-section 550.5.
It is further noted that the first section 505.2 and the second section 505.1 may also have different cross-sections. Each cross-section or embodiment shown in fig. 5B may have certain advantages, such as some cross-sections may be easily bendable in one direction and not easily bendable in another direction. Some other cross-sections may have higher reliability characteristics than others. The characteristics of each type of cross-section, as well as the range and non-limiting possible dimensions of the cross-sections in table 2 in fig. 5E, are described for two different materials, nitinol and PEEK. Although a variety of configurations are presented in table 2, in some embodiments, both cross-sections 550.4 and 550.5 may be utilized for both materials.
When thecoaptation assistance device 500 is placed within the heart, in some embodiments, thecoaptation assistance device 500 is such that theventricular projection 525 will be substantially placed within the left ventricle, as shown in fig. 5G. Theventricular projection 525 provides a mechanism for anchoring thecoaptation assistance device 500 using the structure of the ventricle. An example of positioning thecoaptation assistance device 500 over the posterior leaflet is illustrated in fig. 5G.
Keeping in mind that other examples of positioning are possible and discussed elsewhere within this disclosure, in this particular embodiment, acoaptation assistance device 500 is illustrated having a curvilinear shapedventricular projection 525. Theventricular projection 525 and/or the first support 505.2 may be constructed of a shape memory material, in which case the curvilinear shape is maintained after implantation. The curvilinear shape may enable thecoaptation assistance device 500 to remain in place after coaptation with thenative valve leaflets 14.
Fig. 5F shows an embodiment of a passive anchor for aventricular projection 525. In this embodiment, thetube 560 running along the length of theventricular projection 525 terminates at two tubes 565.1 and 565.2 at the distal end of thecoaptation assistance device 500. Thecoaptation assistance device 500 can be delivered to the left side of the heart with the straightened wire such that the two tubes 565.1 and 565.2 are approximately straight, as shown by the dashed lines 565.1 and 565.2 (position a), indicating that the straightened wire is in an advanced state. In some embodiments, the two tubes 565.1 and 565.2 may be made of a shape memory material including, but not limited to, polyurethane, silicone, polyethylene, pebax, and nylon. Without the straightened wire, the two tubes 565.1 and 565.2 may have a default shape that may be coiled or coiled, as shown by solid lines 565.1 and 565.2 in fig. 5F (position B).
After the implant is properly delivered and placed in the heart, the straightened wire can be withdrawn, allowing the two tubes 565.1 and 565.2 to assume their default shape (position B). The two tubes 565.1 and 565.2 may provide anchoring support due to the entanglement with the chordae tendineae. An advantage of this type of anchoring is that if it becomes necessary to reposition thecoaptation assistance device 500 due to unsatisfactory placement, the straightened wire can be advanced back into the two tubes 565.1 and 565.2, aligning the two tubes 565.1 and 565.2 and causing the two tubes 565.1 and 565.2 to disengage from the chordae structure. While the above-described embodiment describes two tubes 565.1 and 565.2, it is understood that one, two, or more tubes may be present.
Yet another embodiment of an anchorcoaptation assistance device 500 is illustrated in fig. 5H. The active anchor may be coupled to the distal end of theventricular projection 525. After delivery of the implant, the active anchors may be driven through the posterior leaflet to couple to thecoaptation assistance device 500 at the annulus (atrial) level as shown. Methods of positioning and driving the anchors will be discussed herein.
In another embodiment, the tip of theventricular projection 525 can be radiopaque or echogenic to aid in the placement and anchoring of thecoaptation assistance device 500 when thecoaptation assistance device 500 is percutaneously placed. In such procedures, a fluorescence or ultrasound imaging modality may be used to visualize the heart and thecoaptation assistance device 500.
Returning to fig. 5A, in another embodiment, thecoaptation assistance device 500 can include a hub (hub) 510. Thehub 510 may have one or more purposes. One purpose may be to act as an anchoring device as discussed herein. Another purpose may be to provide a mechanism for percutaneously delivering thecoaptation assistance device 500 as discussed herein. In some embodiments, a hub (not shown) may be present at the distal end of thecoaptation assistance device 500. The hub may be located at the end of theventricular projection 525. The ventricular hub may be located at the distal-most tip of thedistal end 530 of theventricular projection 525. To distinguish the two hubs, thehub 510 on the proximal side will simply be referred to as the "hub," annulus hub, "or" proximal hub. The hub at the distal tip of the ventricular projection will be particularly referred to as the "ventricular hub".
Referring also to fig. 5A, thecoaptation assistance body 515 of thecoaptation assistance device 500 can be made from a variety of biocompatible materials, such as expanded polytetrafluoroethylene (ePTFE). This material provides a coaptation surface against which the anterior leaflet will close. Thecoaptation assistance body 515 of thecoaptation assistance device 500 can be coupled to thesupport structure 505 such that the shape of thesupport structure 505 imparts the general shape of thecoaptation assistance device 500.
The shape of thecoaptation assistance device 500 can be further supported by one or more ribs 546 (not shown). One, two, ormore ribs 546 may be present. Theribs 546 may be made of a variety of materials such as, but not limited to, sutures, polypropylene, nylon, NiTi cable, NiTi wire, and PEEK. A process of coupling thecoaptation assistance body 515 of thecoaptation assistance device 500 to thesupport structure 505 and/or the ribs 546 (if theribs 546 are present) is described herein.
In some manufacturing methods, the process may begin by sliding a Polyethylene (PE) tube oversupport structure 505 and/or ribs 546 (ifribs 546 are present). The combination is placed between two ePTFE sheets, after which heat and pressure are applied. The ePTFE is bonded to the PE tube due to the small pores in the ePTFE material, and the polyethylene material of the tube can melt into the small pores in the ePTFE material to form a mechanical bond. Similarly, the PE tube material may melt into the micro-holes in thesupport structure 505 and/or theribs 546 when heat and compression are applied. Micro-holes in thesupport structure 505 and/or theribs 546 may be carefully placed to improve adhesion.
In a variation of the above process, a PE sheet may be placed, in which case there may be no PE tube present. In this variation, as described above, a simple process of heating and compressing is applied, and a more uniform composite structure can be produced. In further embodiments, thesupport structure 505 and/or theribs 546 may have features such as micro-holes that couple to the ePTFE membrane. The fine hole diameter may be, for example, in the range of 0.005 '-0.030'.
In variations on the types of materials that may be used to make thecoaptation assistance body 515 of thecoaptation assistance device 500, other materials may be utilized such as, but not limited to, sponge material, polyurethane, silicone, bovine or porcine pericardium. Bonding processes may include, but are not limited to, thermal bonding, sewing, and gluing.
With continued reference to fig. 5A, in some embodiments, thecoaptation assistance device 500 has perforations orslots 520. One or more such perforations orslots 520 may be present. Theseperforations 520 may serve the purpose of providing a site where anchors may be placed, as discussed herein.
One advantage of thecoaptation assistance device 500 is that thecoaptation assistance device 500 can be folded into a smaller configuration. Thecoaptation assistance device 500 can be delivered percutaneously via a delivery catheter. In some embodiments,support structure 505 is made of a shape memory material. When thecoaptation assistance device 500 is deployed within the heart, the desired shape of thecoaptation assistance device 500 is regained. A number of embodiments now describe various methods, devices, and systems for delivering thecoaptation assistance device 500 into the heart.
In some methods of use, the first support has a first configuration in which the first support 505.2 is substantially linear, and a second configuration in which the first support 505.2 is curved. In some methods of use, the first support 505.2 and the second support 505.1 are configured to allow percutaneous insertion of thecoaptation assistance device 500.
The first few steps in the delivery operation may be similar to those known in the art. For example, the patient's body is punctured in the lower torso/upper thigh region (groin) to gain access to the femoral vein. Typically, a trans-septal sheath (trans-septal sheath) and needle are inserted into the inferior vena cava and advanced up to the interatrial septum, at which point a trans-ventricular septal puncture is made, and the trans-septal sheath is advanced into the left atrium. The needle is removed and the transseptal sheath now provides access to the left atrium. More details about the above steps can be found in the public medical literature.
The method may include various steps including those now described. Theventricular projection 525 of thecoaptation assistance device 500 can be placed substantially within the left ventricle. Various guidance techniques may be advantageously used to guide thecoaptation assistance device 500 to this position. For example, a simple guidewire may be placed within the transseptal sheath and guided into the left ventricle by first entering the left atrium and passing through the mitral valve. However, a simple guide wire may not provide sufficient accuracy in placement of theventricular projection 525.
In some embodiments, methods of placing a guide wire within a steerable sheath can be used. The steerable sheath with the guide wire can be advanced across the septal sheath and then through the mitral valve into the left ventricle where the steering capability of the steerable sheath will provide additional support for properly positioning the guide wire. After placement of the guide wire, the steerable sheath needs to be removed prior to delivery of the coaptation assistance device. This method, while providing more accurate positioning of the guide wire, involves an additional step of removing the steerable sheath. To improve this process in terms of reducing the number of steps required to perform the implantation, various embodiments of steerable sheaths are disclosed herein.
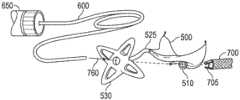
Small diameter steerable catheter
Referring to fig. 6A, a small diametersteerable catheter 600 is illustrated. In some embodiments, thediameter 615 of thehandle 610 of thesteerable catheter 600 can be equal or substantially equal to thediameter 620 of thebody 605 of thesteerable catheter 600. Apull wire 625 may be provided withinsteerable catheter 600. When handle 610 is rotated, for example in the direction ofarrow 632, the distal portion ofsteerable catheter 600 is moved fromstraight position 630 tocurved position 640 alongarrow 635. Thecurved position 640 may be beneficial for positioning theventricular projection 625, as discussed herein. When thehandle 610 is rotated, such as in the opposite direction ofarrow 632, the distal portion of thesteerable catheter 600 moves along thecurved position 640 to thestraight position 630. Thelinear position 630 ofsteerable catheter 600 is shown in phantom, not to be confused withpull wire 625, which is also shown in phantom. Thelinear position 630 may be beneficial for anatomically inserting or withdrawing thesteerable catheter 600.
In some embodiments, the diameter of thehandle 610 may be equal to the diameter of thebody 605. This may be advantageous because thecoaptation assistance device 500 can be slid through thehandle 610 and/or thebody 605 after thesteerable catheter 600 is placed in the ventricle. In some embodiments,steerable catheter 600 can include anextension body 612 at a proximal end extending fromhandle 610. Theextension 612 may be a wire or other elongated structure. The purpose ofextension body 612 is to assist in loading other catheters or devices while allowing a clinician or other operator to maintain control ofsteerable catheter 600. After loading other catheters or devices ontoextension body 612, other catheters or devices are guided usingsteerable catheter 600. The length ofextension body 612 may match or exceed the length of the catheter or device being loaded such that control ofsteerable catheter 600 is maintained during loading and delivery of other catheters or devices.
In some embodiments, theextension 612 may be coupled to thehandle 610 only when necessary. For example, if during operation, a medical team decides that a longer catheter is necessary, anextension body 612 may be coupled to thehandle 610. The coupling mechanism may include, but is not limited to, a threaded connection, a press fit, or other mechanism.
Non-limiting examples of the dimensions of the various sub-components (body 605, handle 615, extension 612) in some embodiments may be as follows: thediameter 620 of thebody 605 may range from 2 to 10Fr, such as 4Fr, from about 2Fr to about 6Fr, from about 3Fr to about 5Fr, or less than 10Fr, 9Fr, 8Fr, 7Fr, 6Fr, 5Fr, 4Fr, 3Fr, or 2 Fr. Thehandle 610 may in some cases be about 1/2 "to about 2", such as about 1 ", in length, and the range of linear handle travel (for activating the pull wire) may in some cases be about 1/8" to about 3 ", such as about 1/4".
During the implantation procedure, some methods involve a guide wire or guide wire and a steerable sheath. In some methods,steerable catheter 600 may be advanced through a femoral approach. Since thehandle 610 is outside of the patient's body, it can be rotated so that the distal portion of thissteerable catheter 600 is placed in position under the posterior leaflet. Anextension 612 may be attached to the proximal end of thehandle 610, allowing for subsequent loading of thecoaptation assistance device 500 and thedelivery catheter 700 prior to insertion into thetransseptal sheath 650, as described herein. Thisdelivery catheter 700 may then be used as a guide for introducing thecoaptation assistance device 500, as will be explained herein.
Fig. 6B illustrates placement ofsteerable catheter 600 in the heart. An embodiment of across-septal sheath 650 is shown. Also shown are leftatrium 655,left ventricle 660,posterior leaflet 665 of the mitral valve, andanterior leaflet 670 of the mitral valve. Thesteerable catheter 600 is shown passing through the mitral valve and positioned under theposterior leaflet 665. It can now be appreciated how having the ability to deflect the distal portion of thesteerable catheter 600 can be advantageous so that a suitable location of thecoaptation assistance device 500 can be obtained. The distal portion of thesteerable catheter 600 can be bent under theposterior leaflet 665 as shown. In some methods, the next general step after placement of thesteerable catheter 600 is to deliver thecoaptation assistance device 500 to the heart. Further embodiments are now described with respect to methods and apparatus for effecting delivery.
Delivery catheter
Referring to fig. 7A, adelivery catheter 700 is now described. The function of thedelivery catheter 700 is to carry thecoaptation assistance device 500 to the heart.Shaft 710 ofdelivery catheter 700 may be torqueable and deflectable. Theshaft 710 is shown cross-hatched. Thedelivery catheter 700 may include ahandle 730. Thehandle 730 may have a rotation mechanism, such as a pull wire or the like. The rotation mechanism may deflect and steer theshaft 710. Distal to thehandle 730 is animplant sheath 725, which may carry thecoaptation assistance device 500 to the heart, as explained herein. In some embodiments, and even more distal of theimplant sheath 725 is a tear away funnel (tear away funnel) 720. The tear-off funnel 720 can facilitate folding of thecoaptation assistance device 500. In some embodiments, the distal-most end of theshaft 710 has features that can lock theshaft 710 to thecoaptation assistance device 500 so that thecoaptation assistance device 500 can be transported to the heart and properly placed. The locking process and components are now described with respect to fig. 7B, 7C, and 7D.
Referring to fig. 7D, thedelivery catheter 700 andcoaptation assistance device 500 can have mating features (matching features) that enable them to be temporarily locked. In some embodiments, thedelivery catheter 700 includes one or moredistal locking tabs 705. Thecoaptation assistance device 500 can include anannulus hub 510 as described herein. Thedistal locking tab 705 of thedelivery catheter 700 may be coupled with a component in theannulus hub 510 of thecoaptation assistance device 500, as will be explained herein.
In some methods, thesteerable catheter 600 or other guide wire or catheter may be advanced through theventricular projection 525 and/or theanchoring mechanism 530. In some embodiments,anchoring mechanism 530 may have a hole or passage in the center to allowsteerable catheter 600 to pass through, as shown in fig. 7D.Steerable catheter 600 may be passed from anchoringmechanism 530 toannulus hub 510. Other paths through thecoaptation assistance device 500 are contemplated. Thesteerable catheter 600 may be passed from theanchoring mechanism 530 to theannulus hub 510 and further to thedelivery catheter 700.
Referring to fig. 7B, the tip of thedelivery catheter 700 is shown in an enlarged view. Theannulus hub 510 of thecoaptation assistance device 500 is also shown. Thedistal locking tab 705 may be made of some shape memory material such as nitinol. The natural position of the lockingtabs 705 is such that they bend inwardly and towards each other as shown in fig. 7A. In some methods, a guide wire or catheter, such assteerable catheter 600, may be inserted into theannulus hub 510 and between thedistal locking tabs 705, and thedistal locking tabs 705 may be pushed out against theannulus hub 510. Theannulus hub 510 is designed withmating slots 740 such that thedistal locking tabs 705 fit into theseslots 740. As long as thesteerable catheter 600 is present to force thedistal locking tab 705 outward into theslot 740, the tip of thedelivery catheter 700 remains locked to theannulus hub 510. Other locking mechanisms are possible and one such alternative is now described in fig. 7C.
Referring to fig. 7C, theannulus hub 510 may include aplug 745. Thepin 745 may be a solid piece that passes through theannulus hub 510 and is held in place by methods known in the art. Thedelivery catheter 700 may include a loop of wire orsuture 750. Thesuture 750 may be looped around an object, such as a guidewire within theannulus hub 510 or thesteerable catheter 600. Thesuture 750 may extend into thehandle 730 of thedelivery catheter 700. Handle 730 may have a mechanism to control the tension ofsuture 750. By controlling the tension, thecoaptation assistance device 500 can be pulled against and can be securely fixed to the distal end of thedelivery catheter 700. Whensteerable catheter 600 is withdrawn past the level of the cross-pin 745,loop 755 ofsuture 750 may slide over the cross-pin 745, thereby releasing the cross-pin 745 andcoaptation assistance device 500.
Delivery procedure
Fig. 8A-8D show the delivery method. In some methods, theimplant sheath 725 and thefunnel 720 are advanced over thecoaptation assistance device 500. Theimplant sheath 725 and thefunnel 720 can be advanced over thecoaptation assistance device 500 after thedelivery catheter 700 is locked with thecoaptation assistance device 500. The shape of thefunnel 720 assists thecoaptation assistance device 500 in closing or folding over on itself. Advancement of theimplant sheath 725 and thefunnel 720 is shown in fig. 8A and 8B.Arrow 760 in fig. 8A indicates how thecoaptation assistance device 500 is pulled into thefunnel 720. Once thecoaptation assistance device 500 is within theimplant sheath 725, thefunnel 720 is removed. In some embodiments, thefunnel 720 is removed by pulling on thetab 715, thereby rupturing thefunnel 720, shown in fig. 8C. Thefunnel 720 andtab 715 may then be discarded. In some methods, animplant sheath 725 containing thecoaptation assistance device 500 can be advanced over a guidewire orsteerable catheter 600. It is reiterated that the advantages of the design of thesteerable catheter 600 become apparent when thecoaptation assistance device 500 can slide smoothly over the steerable catheter without any difficulty due to the different sized diameters of thehandle 610 and thebody 605. Theimplant sheath 725 may be inserted into thetransseptal sheath 650 as shown in fig. 8D.
The system of thecoaptation assistance device 500 and theimplant sheath 725 is advanced until it exits the crossingspacer sheath 650, as shown in fig. 8E. Thedelivery catheter 700 is deflected such that theimplant sheath 725 is positioned between the leaflets of the mitral valve, which is shown in fig. 8E. Theimplant sheath 725 is placed between the chordae tendineae 765 (the "P2" position). Once theimplant sheath 725 reaches this location, thedelivery catheter 700 is held in place and theimplant sheath 725 is slowly withdrawn, causing thecoaptation assistance device 500 to begin to exit theimplant sheath 725, as shown in fig. 8F. Note that thesteerable catheter 600 or equivalent guidewire is still just below the posterior leaflet and can still be actively adjusted or deflected using thecontrol handle 610. In some methods, as thedelivery catheter 700 is advanced, thecoaptation assistance device 500 is advanced out, following the path of thesteerable catheter 600 until thedistal end 530 of theventricular projection 525 couples to the ventricular tissue. This is illustrated in fig. 8G. Theimplant sheath 725 may be withdrawn while thecoaptation assistance device 500 is being advanced. In some methods, rotational adjustment of thedelivery catheter 700 may be made to ensure proper placement.
Anchoring
Once thecoaptation assistance device 500 is opened, the method can include anchoring thecoaptation assistance device 500 in an atrial aspect of the mitral valve, i.e., on the mitral annulus. Several embodiments now describe methods and systems for implementing anchoring.
Asupport structure 505 made of a shape memory material may be advantageous. The shape assumed by thecoaptation assistance device 500 is intended to result from the action of the shape memory material when thecoaptation assistance device 500 is opened. As described herein, the shape of thecoaptation assistance device 500 can be intended to provide a new coaptation surface such that regurgitant flow is reduced or eliminated. Returning to the explanation of the delivery and anchoring process, the delivery catheter 700 (which may still be coupled to theannular hub 510 of the coaptation assistance device 500) can now be manipulated (both rotationally and axially) to properly position thecoaptation assistance device 500 over the posterior leaflet of the native leaflet. In an embodiment, thesupport structure 505 of thecoaptation assistance device 500 can have a component that can be attached to tissue. In some embodiments, the components are passive hooks. In some methods, these components engage the annulus so that thecoaptation assistance device 500 can be held in place while anchoring is initiated. Fig. 8H shows the condition of thedelivery catheter 700 with theimplant sheath 725 withdrawn and theshaft 710 still coupled to theannulus hub 510.
An embodiment of theanchor 800 is illustrated in detail in fig. 8I. Theanchor 800 can be coupled to thedelivery catheter 700 and/or thecoaptation assistance device 500 in a variety of ways. Theannulus hub 510 may have apin 512. Thepin 512 may provide a location around which thehelical structure 815 of theanchor 800 may be wrapped, as shown.Anchor 800 may have ashoulder 805. Theshoulder 805 may fit snugly against theshaft 710 of thedelivery catheter 700. Theshoulder 805 may have features, such aswindows 810, that may lock thedistal locking tabs 705 of thedelivery catheter 700. Thedistal locking tab 705 of thedelivery catheter 700 may lock when a pin, guidewire, or catheter, such as thesteerable catheter 600, is present within theshaft 710 of thedelivery catheter 700. In some methods, theanchor 800 may be pre-loaded onto thecoaptation assistance device 500 and locked in place with thedelivery catheter 700 during the process of installing thecoaptation assistance device 500 onto thedelivery catheter 700. This may occur before thecoaptation assistance device 500 is pulled into theimplant sheath 725 and is ready for insertion into the femoral vein. Returning to fig. 8H, torque can be applied to theshaft 710 such that theanchor 800 is driven into the tissue. To provide feedback as to whether theanchor 800 is properly secured, a fluorescent marker may be present on theanchor 800. The marker may be located at the proximal end. These markings may inform the medical team about how far theanchor 800 may travel toward theannulus hub 510 and may inform about when theanchor 800 is securely fixed in place. In some embodiments, to ensure that the proper torque is applied, the torque level at thehandle 730 may reach a peak (spike) when theanchor 800 bottoms out on theannulus hub 510. This increased torque level may be felt at thehandle 730, providing feedback that the appropriate torque has been applied. The central guide wire orsteerable catheter 600 can be withdrawn. This causes thedistal locking tab 705 to retract from thewindow 810 of theanchor 800, thereby unlocking thedelivery catheter 700 andanchor 800. This may result in the release of thecoaptation assistance device 500.Delivery catheter 700 andsteerable catheter 600 can now be completely withdrawn.
Commissural anchoring
Several embodiments illustrate commissure anchors. One such embodiment is shown in fig. 9A. The delivery catheter 700 (not shown) has been withdrawn and the anchor catheter 900 has been advanced through the femoral approach. The anchor catheter 900 is torqueable. One or more anchoring catheters 900 may be provided. The distal tip of the anchor catheter 900 may have one or more features to lock the anchor in place during delivery of the anchor. In fig. 9A, the distal tip has acut 905 that can receive a portion of thehelical anchor 915. The anchoring catheter 900 may also have acentral pin 920. Thecentral pin 920 may have a pointed tip on the distal tip. In some embodiments, thecentral pin 920 may have the ability to be withdrawn.
Fig. 9A shows aring 910. The end (not shown) of theloop 910 may travel to the handle of the anchoringcatheter 910 or a portion of the length therebetween so that the tension of theloop 910 may be controlled. Theloop 910 is coiled past a cross-bar 917 or other portion that forms the proximal portion of thehelical anchor 915. A top view of thehelical anchor 915 with cross-bar 917 is shown in fig. 9B. When outside the body, thehelical anchor 915 may be placed adjacent thecentral pin 920 prior to entering a trans-septal sheath (not shown). Theloop 910 may be arranged in such a way that when tension is applied to theloop 910, theloop 910 holds thescrew anchor 915, and thecentral pin 920, locked in place. In fig. 9A, this arrangement is collapsed such that thecut 905 receives the proximal portion of thehelical anchor 915. The retainingring 910 is in tension, advancing the entire structure into the transseptal sheath.
Once in the desired location within the body, the anchor catheter 900 is adjusted so that the distal end of the anchor catheter 900 is positioned over the commissure holes 520. Thecentral pin 920 and thehelical anchor 915 are advanced such that thecentral pin 920 first pierces the tissue after passing through theengagement hole 520. Torque is applied to the anchoring catheter 900 and thehelical anchor 915 pierces the tissue. Thehelical anchor 915 anchors thesupport structure 505 or the frame of thecoaptation assistance device 500 to tissue. After thehelical anchor 915 is in place, thecentral pin 920 is withdrawn. Withdrawal of thecentral pin 920 may allow theloop 910 to slide over thecrossbar 917 of thehelical anchor 915, thereby releasing theanchor 915. This process can be used repeatedly with other commissure sites to anchor the two end protrusions of thecoaptation assistance device 500.
Alternative anchoring techniques
Fig. 10A shows an alternative anchoring technique in another embodiment. In this embodiment, thedelivery catheter 1000 may havemultiple lumens 1040. Thedelivery catheter 1000 may have a cross-section as shown in fig. 10B. Theinner lumen 1040 may carry a single distinct twistable drive shaft. Each drive shaft may be locked to an anchor (as in the case ofshafts 1020 and 1030) or to the annulus hub 510 (as shown for shaft 1010). Each of thetwistable shafts 1010, 1020, 1030 may have the design of the anchor catheter 900 illustrated in fig. 9A. Thedelivery catheter 1000 may have acentral lumen 1050, and the guidewire orsteerable catheter 600 may pass through thecentral lumen 1050. The plurality oftwistable drive shafts 1010, 1020, 1030, the guide wire orsteerable catheter 600, and thecoaptation assistance device 500 can all be loaded into and withdrawn from the implant sheath of thedelivery catheter 1000 prior to entering the trans-septal sheath. Such that the entire arrangement can be advanced and the same procedure as explained herein can be followed to place thecoaptation assistance device 500. An advantageous aspect of this arrangement is that the anchoring process can be accomplished without the need to withdraw the anchoring catheter, reload the anchor and re-enter the body multiple times.
Alternative design for anchor
Although a few anchors have been described herein, other alternative embodiments are contemplated. Fig. 11A shows an anchor with a claw hook. Fig. 11B shows an anchor resembling an umbrella. In both embodiments, the anchor may be made of a shape memory material. In both embodiments, the anchor can be loaded into a delivery catheter (such as the delivery catheter illustrated in fig. 11C).
A locking mechanism, such as those described herein, may be used to lock the anchor to the delivery catheter. The delivery catheter may have a pointed tip so that the delivery catheter can be guided to a suitable location and initially pierce tissue. After the delivery catheter is placed in the appropriate location and the initial puncture is made, one or more anchors may be advanced and installed in place. This step is followed by unlocking and withdrawing the delivery catheter.
Fig. 11D is an illustration of how the umbrella anchor of fig. 11B looks after it has been installed into tissue to anchor thecoaptation assistance device 500. Due to the natural unstressed shape of the anchor, when deployed in tissue on thecoaptation assistance device 500, the deformed shape will have an effective spring force against the face of thecoaptation assistance device 500, ensuring a good footing.
Ridge-free implant
Thecoaptation assistance device 500 depicted in fig. 5A-F can include asupport structure 505. The support structure 506 may be made of a shape memory material as described herein. In some embodiments of the coaptation assistance device, another configuration is contemplated. This configuration may be referred to as an invertebrate coaptation assistance device to indicate removal of the support structure after placement of the coaptation assistance device in the heart. Both types of coaptation assistance devices may have certain advantages. The ridgeless coaptation assistance device may be advantageous because of fewer components and materials and the absence of metal fatigue.
Fig. 12 shows an embodiment of an invertebratecoaptation assistance device 1200. The spinal-freecoaptation assistance device 1200 can include a tube orpassageway 1210. Thepassage 1210 may be placed around the edge of the annulus. Thispassage 1210 may be referred to as a valve collar. The spinal-lesscoaptation assistance device 1200 can include a tube orpassageway 1212 along the ventricular projection. Thispassageway 1212 may be referred to as a ventricular tube.
The cross-section of thepassage 1210 can be shown towards the end of the valve collar. Although a circular cross-section is illustrated, the tubes orpassageways 1210, 1212 may have other cross-sections including, but not limited to, oval and flat.
The support structures 1210.1, 1210.2, 1210.3 are shown by dashed lines, except at the edge of the annulus where the support structures 1210.1 and 1210.3 protrude. The support structure 1210.1, 1210.2, 1210.3 may have three different segments, with 1210.1 and 1210.3 placed in the valve annulus tube and 1210.2 placed in the ventricular tube. The support structures 1210.1, 1210.2, 1210.3 may be coupled within a ridgedpivot 1220. In some embodiments, the support structures 1210.1, 1210.2, 1210.3 may be different and separate segments. In some embodiments, the support structures 1210.1, 1210.2, 1210.3 may be joined together using one of a variety of methods, such as, but not limited to, crimping and laser welding. This arrangement of the support structures 1210.1, 1210.2, 1210.3 and thecoaptation assistance device 1200 allows the support structures 1210.1, 1210.2, 1210.3 to be withdrawn from thecoaptation assistance device 1200. In some methods, the support structures 1210.1, 1210.2, 1210.3 are extracted by applying a pulling force to the ridgedpivot 1220. More details regarding thecoaptation assistance device 1200 and the procedures for delivering and anchoring thecoaptation assistance device 1200 will be provided herein.
Ridge-free implant delivery procedure
Fig. 13A and 13B illustrate a delivery procedure of thecoaptation assistance device 1200. Fig. 13A shows thecoaptation assistance device 1200 of fig. 12. Fig. 13A shows an additional component, ananchoring site 1300. This anchoringlocation 1300 will be described in greater detail herein.
Thesteerable catheter 600 can be inserted into thecoaptation assistance device 1200. Thesteerable catheter 600 may be inserted from the distal tip of theventricular projection 1212.Steerable catheter 600 may exit fromexit aperture 1335. Adelivery catheter 1320 may be provided. Thedelivery catheter 1320 may include atorqueable shaft 1310. Thedelivery catheter 1320 can include ahub locking feature 1330 coupled to thehub anchor 1300. In fig. 13A, thehub locking member 1330 is shown as a screw. Other locking mechanisms as explained herein may be utilized.
Fig. 13B illustrates more detail with respect to thedelivery catheter 1320. The distal tip of thedelivery catheter 1320 may include afunnel 1360. Proximal to thefunnel 1360, animplant introducer 1340 may be present. At the proximal-most end, thedelivery catheter 1320 may have ahandle 1370.
Thesteerable catheter 600 can be passed through acoaptation assistance device 1200 as described herein. Thefunnel 1360 may be inserted over the distal tip of thedelivery catheter 1320. Thecoaptation assistance device 1200 can be locked in place using the lockingmember 1330 such that thehub anchor 1300 is connected to thetwistable shaft 1310.
Thesteerable catheter 600 can be passed through anangled side port 1350 on theimplant introducer 1340. Thecoaptation assistance device 1200 and thesteerable catheter 600 can be pulled through thefunnel 1360 by withdrawing thedelivery catheter 1320. With continued withdrawal, thecoaptation assistance device 1200 folds upon itself within theimplant introducer 1340. Once the implant is in theintroducer 1340, thefunnel 1360 is removed and discarded. Thefunnel 1360 may be designed such that it may be easily removed. Designs for the funnel include, but are not limited to, a tear-away design (previously shown in fig. 8A-8C) or a clamshell design (fig. 13B).
Thedelivery catheter 1320, along with theimplant introducer 1340, can be advanced over thesteerable catheter 600 until the implant introducer 1340 couples with the hub of the crossingsheath 650. At this point, theimplant introducer 1340 may not be able to advance further, and thecoaptation assistance device 1200 itself may advance into the transseptal sheath. The next several steps are similar to those shown in fig. 8E-8G, except that in this embodiment, an implant sheath is not used. Thecoaptation assistance device 1200 is placed over the posterior leaflet and theventricular projection 1212 is placed in the left ventricle.Steerable catheter 600 may be withdrawn such thatventricular projection 1212 is crimped or coiled under P2. Once theventricular projection 1212 is anchored, thehub anchor 1300 may be rotated or otherwise actuated. Thehub anchor 1300 may anchor the proximal side of thecoaptation assistance device 1200 to the annulus. Thetwistable shaft 1310 may be withdrawn. After additional anchoring (as will be explained herein), thehub locking member 1330 is withdrawn, pulling the support structure 1210.1, 1210.2, 1210.3 with it. Thecoaptation assistance device 1200 can now be operated in the left heart without the support structures 1210.1, 1210.2, 1210.3.
Anchoring procedure for a spinal-free implant
Fig. 14A shows an embodiment for anchoring acoaptation assistance device 1200. Since rigid structures such as support structures 1210.1, 1210.2, 1210.3 may not be present after implantation, additional anchors may be required for thecoaptation assistance device 1200. In some embodiments, thecoaptation assistance device 1200 can utilize closely packed anchors. In some embodiments, thecoaptation assistance device 1200 can utilize additional closely packed anchors in addition to similar coaptation assistance devices having asupport structure 505 described herein. Fig. 14A shows an embodiment of ananchor 1400 that can be used to couple acoaptation assistance device 1200 to tissue. Fig. 14B shows another embodiment. In fig. 14B, a suture ortape 1410 is used to "suture" thecoaptation assistance device 1200 to tissue. The suture ortape 1410 may be made of one of several materials including, but not limited to, polypropylene or nylon. Several embodiments describing how to place multiple anchors are now explained herein.
Fig. 15A shows an embodiment of ananchor catheter 1500 that delivers multiple anchors. Several anchors 1510 (including anchor 1510.1 and anchor 1510.2) are stacked within theanchor catheter 1500. Although fig. 15A shows two anchors 1510.1 and 1510.2 stacked within theanchor catheter 1500, more or fewer anchors may be stacked. Eachanchor 1510 may include acoiled section 1550. Thecoiled section 1550 may include aprong 1570. Theanchor 1510 can include ananchor head 1560. Theanchor head 1560 may have one of several cross-sections as shown by 1545.1, 1545.2, 1545.3 and 1545.4 in fig. 15A. Other cross-sections are possible.
To initially load theanchor catheter 1500, theanchors 1510 are loaded onto thecentral shaft 1520 of theanchor catheter 1500. Thecentral shaft 1520 and theanchor 1510 may have matching cross-sections such that theanchor 1510 may be rotationally coupled to thecentral shaft 1520. At the proximal end of theanchor catheter 1500, aspring 1540 may be included. Thisspring 1540 provides a pushing force that causes thecentral shaft 1520 to rotate and theanchor 1510 exits the distal end of theanchor catheter 1500 in the direction ofarrow 1550. When theanchors 1510 are withdrawn, theanchors 1510 can engage thecoaptation assistance device 1200 and the tissue to couple thecoaptation assistance device 1200 to the tissue. Rotation of thecentral shaft 1520 may be controlled by an operator, such as a physician. In some embodiments, thecentral shaft 1520 is coupled to a torqueable wire (not shown), which may be coupled at a proximal end to a handle (not shown). In some embodiments, the wire to which torque may be applied may be manually controlled. In some embodiments, the wire to which torque may be applied may be controlled via a motor. Methods for imparting rotational motion to thecentral shaft 1520 are contemplated. A feature not shown in fig. 15A is the ability to steer and position the distal end of theanchor catheter 1500. When delivering oneanchor 1510, the distal tip may need to be repositioned to deliver thenext anchor 1510. A steering mechanism such as a pull wire may be included to steer the distal tip of theanchor catheter 1500.
Fig. 15B shows another embodiment of ananchor catheter 1600 that delivers multiple anchors. Fig. 15B shows only the distal tip of theanchor catheter 1600. Theanchor catheter 1600 may include a plurality of anchors 1610 such as 1610.1 and 1610.2. Although theanchor catheter 1600 shows five anchors. More or fewer anchors 1610 may be loaded at any one time. Theanchor catheter 1600 may have acentral shaft 1630. Theanchor catheter 1600 may include threads, such as 1620 on the interior of thehousing 1605. As shown, thesethreads 1620 can accommodate the coils of the anchor 1610. To initially load theanchor catheter 1600, the anchor 1610 is inserted into thehousing 1605. The anchor 1610 is inserted onto thecentral shaft 1630. As previously described, the cross-section of thecentral shaft 1630 may match the cross-section of the anchors 1610 so that the anchors 1610 may be mounted to thecentral shaft 1630. Rotation of thecentral shaft 1630 may be controlled by a torque-applicable cable (not shown) that may couple thecentral shaft 1630 to the handle (not shown) of theanchor catheter 1600. The operator, such as a doctor, can control the rotation. In some embodiments, the wire to which torque may be applied may be manually controlled.
In some embodiments, the wire to which torque may be applied may be controlled via a motor. As thecentral shaft 1630 is rotated, the threads will force the anchor 1610 out of theanchor catheter 1600 and engage thecoaptation assistance device 1200 and tissue to couple thecoaptation assistance device 1200 and tissue together. Theanchor catheter 1600 can also have a pull wire to steer the distal tip of theanchor catheter 1600 such that when one anchor 1610 is delivered, theanchor catheter 1600 can be positioned to deliver the next anchor 1610.
Fig. 15B illustrates acentral suture 1635. Thecentral suture 1635 may include aball 1640 that is coupled to an end of thecentral suture 1635. Fig. 15C and 15D illustrate how thecentral suture 1635 andball 1640 may be used. Theball 1640 may be seated in a slot in the first anchor 1610.1. Thecentral suture 1635 may connect the first anchor 1610.1 to the second anchor 1610.2 and other anchors 1610 (not shown in the figures). This arrangement can provide the ability to use thecentral suture 1635 as a guide wire to retract the anchor 1610 after the anchor 1610 has been threaded into thetissue 1645. The operator may wish to retract the anchor 1610 to reposition or adjust the anchor 1610. Additionally, if one or more anchors 1610 become loose, thecentral suture 1635 may provide a tether for the loose anchor 1610, thus preventing embolic events.
Fig. 16A-C show another embodiment of ananchoring catheter 1700 that delivers multiple anchors. Theanchor catheter 1700 may have a hollow shaft. The hollow shaft may be tapered at the distal end, which may be used to pierce thecoaptation assistance device 1200 and tissue. A plurality of anchors 1710, such as 1710.1, 1710.2, may be disposed within the hollow shaft of theanchor catheter 1700. Anchor 1710 may be a hollow barrel.
Thesuture 1720 can be threaded through the anchor 1710 as shown. Thesuture 1720 may be secured to the first anchor 1710.1 by arranging thesuture 1720 to exit the second anchor 1710.2 and enter the first anchor 1710.1 through theside hole 1740. Thesuture 1720 may then be secured within the first anchor 1710.1 by way of a knot (depicted in phantom). In addition to the first anchor 1710.1, thesuture 1720 in other anchors 1710 may appear as shown for anchor 1710.2. A portion of the wall of anchor 1710 other than first anchor 1710.1 is cored out as a cutout. The cut-outs may assist in better embedding the anchor within the tissue, similar to a toggle bolt. At the proximal end of theanchoring catheter 1700, there may be a component such as apusher tube 1750 to exit the anchor 1710, such as 1710.1 and 1710.2, out of theanchoring catheter 1700 at the distal end. Thepush rod 1750 may be attached to a handle (not shown) to enable an operator, such as a physician, to position the one or more anchors 1710 as appropriate.Arrow 1760 indicates the direction of the push.
Fig. 16B-C illustrate how theanchor catheter 1700 of fig. 16A may operate. In fig. 16B, theanchor catheter 1700 is advanced through thecoaptation assistance device 1200 through a slot such as described by 520 in fig. 5A. Theanchor catheter 1700 then pierces thetissue 1645. The operator pushes the first anchor 1710.1 out of theanchoring catheter 1700, placing the anchor 1710.1 within the tissue. Once the first anchor 1710.1 is deployed, the remainder of the anchor 1710 is deployed as shown in fig. 16C. In fig. 16C, the anchoringcatheter 1700 is pulled out of the tissue after deployment of the first anchor 1710.1 to a second position. At the second position, the anchoringcatheter 1700 can deploy the second anchor 1710.2. This process continues until it is desired to secure thecoaptation assistance device 1200 to the tissue. After delivery of the last anchor 1710, a cutter (not shown) may be advanced within theanchor catheter 1700 to cut thesuture 1720, leaving the anchor 1710.
In some embodiments, anchors 1710 may be radiopaque or they may be covered by radiopaque markers. During the process of delivering anchor 1710, the radiopaque markers can be seen if fluoroscopy is used. This can help space the anchor 1710 around the annulus of thecoaptation assistance device 1200.
In some embodiments, the MR is evaluated while thecoaptation assistance device 1200 is secured, and the stitch length (pitch) and/or position of the suturing action is determined based on the presence or absence of the MR.
Ridge-free implant with cannula
Fig. 17A illustrates another embodiment of an invertebratecoaptation assistance device 1800. In this embodiment, thesupport structure 1810 may only move down theventricular projection 1820. A tube orpassageway 1830 may be present around the annular edge of thecoaptation assistance device 1800. Instead of utilizing thesupport structure 1810 to maintain the shape of thecoaptation assistance device 1800, theanchor catheter 1850 can be inserted into thetube 1830 as shown in fig. 17B. In fig. 17B, theanchor catheter 1850 may be a deflectable anchor catheter.
Fig. 17B also shows a first site 1860.1 where an anchor such as that described by 1560 in fig. 15A may be delivered. At this point 1860.1 and all of the anchoring points 1860, the tip of theanchor catheter 1850 will be deflected by controls located outside the body. An anchor (not shown) may be delivered to secure thecoaptation assistance device 1800 to the tissue. The tip of theanchor catheter 1850 may be radiopaque, which may then be visualized during the anchor delivery procedure. Visualization of the tip may be utilized to position the anchor around the annulus of thecoaptation assistance device 1800. Fig. 17B illustrates the first anchoring position 1860.1 and fig. 17C illustrates the second anchoring position 1860.2. After the appropriate number of anchors are delivered, theanchor catheter 1850 is completely withdrawn, as shown in fig. 17D. Finally, thesupport structure 1810 may be removed, as shown in fig. 17E.
In variations of the embodiment shown in fig. 17A-17E, thesupport structure 1810 may not be limited to only ventricular projections; it may also be inserted through thecannula 1830 so that the desired shape may be maintained. The support structure may be a shape memory material. Utilizing a support structure around thesleeve 1830 may result in an anchor catheter that has a relatively simple control mechanism compared to theanchor catheter 1850 used for thecoaptation assistance device 1800 described in fig. 17A.
It is contemplated that various combinations or subcombinations of the specific features and aspects of the embodiments disclosed above may be made and still fall within one or more of the inventions. In addition, the disclosure herein of any particular feature, aspect, method, property, characteristic, quality, attribute, element, etc. may be used with an embodiment in all other embodiments presented herein. Thus, it should be understood that various features and aspects of the disclosed embodiments can be combined with or substituted for one another in order to form varying modes of the disclosed inventions. Therefore, it is intended that the scope of the invention herein disclosed should not be limited by the particular disclosed embodiments described above. In addition, while the invention is susceptible to various modifications and alternative forms, specific examples thereof have been shown in the drawings and are herein described in detail. It should be understood, however, that the invention is not to be limited to the particular forms or methods disclosed, but to the contrary, the invention is to cover all modifications, equivalents, and alternatives falling within the spirit and scope of the various embodiments described and the appended claims. Any methods disclosed herein need not be performed in the order recited. The methods disclosed herein include certain actions taken by a practitioner; however, they may also include any third party indication of those behaviors, either explicitly or implicitly. For example, actions such as "insert the coaptation assist body near the mitral valve" include "indicate that the coaptation assist body is inserted near the mitral valve". The ranges disclosed herein also include any or all of the overlaps, sub-ranges, and combinations thereof. Language such as "up to," "at least," "greater than," "less than," "between," and the like includes the recited number. As used herein, numbers preceded by terms such as "about", and "substantially" include the recited number and also indicate amounts which are close to the recited amount yet still perform the desired function or achieve the desired result. For example, the terms "about", and "substantially" can refer to an amount within a range of no more than less than 10% of the amount, no more than less than 5% of the amount, no more than less than 1% of the amount, no more than less than 0.1% of the amount, no more than less than 0.01% of the amount.

Claims (9)

Translated fromChinese
1.一种可操控引导丝,包括:1. A steerable guide wire, comprising:细长的挠性体部,其具有纵轴、近端和远侧偏转区;an elongated flexible body having a longitudinal axis, proximal and distal deflection regions;在所述近端上的控制件,其用于所述偏转区的可控偏转;和a control on the proximal end for controlled deflection of the deflection zone; and从所述控制件向所述偏转区延伸的可移动偏转元件;a movable deflection element extending from the control member toward the deflection region;其中所述引导丝没有任何部分的外径大于约10弗伦奇。wherein no portion of the guide wire has an outer diameter greater than about 10 French.2.一种可植入对合辅助装置,包括:2. An implantable butt-assist device, comprising:挠性体部;flexible body;所述体部上的第一凹表面,所述第一凹表面被构造成限制后瓣叶;a first concave surface on the body, the first concave surface configured to confine the posterior leaflet;所述体部上的第二凹表面,所述第二凹表面被构造成接触前瓣叶;a second concave surface on the body, the second concave surface configured to contact the anterior leaflet;所述体部上的弧形外周上缘,所述弧形外周上缘限定朝向背离所述第一表面的开口;和an arcuate peripheral upper edge on the body portion, the arcuate peripheral upper edge defining an opening facing away from the first surface; and心室突出物,所述心室突出物背离所述体部延伸并且被构造成锚固在心室中。A ventricular protrusion extending away from the body and configured to be anchored in the ventricle.3.如权利要求2中所述的可植入对合辅助装置,进一步包括在所述心室突出物上的锚固件。3. The implantable coaptation assist device of claim 2, further comprising an anchor on the ventricular protrusion.4.如权利要求3中所述的可植入对合辅助装置,包括主动锚固件。4. The implantable cohesion assist device of claim 3, comprising an active anchor.5.如权利要求3中所述的可植入对合辅助装置,包括被动锚固件。5. The implantable coaptation assist device of claim 3, comprising a passive anchor.6.如权利要求2中所述的可植入对合辅助装置,进一步包括用于支撑所述弧形外周边缘的挠性脊。6. The implantable apposition assist device of claim 2, further comprising a flexible ridge for supporting the arcuate peripheral edge.7.如权利要求6中所述的可植入对合辅助装置,其中所述脊是可移除的。7. The implantable apposition assist device of claim 6, wherein the ridge is removable.8.一种可植入对合辅助装置,包括:8. An implantable butt-assist device comprising:对合辅助体部,所述对合辅助体部包括第一对合表面、相反的第二对合表面,每个表面由第一侧缘、第二侧缘、下缘和上缘限定边界;a mating aid body comprising a first mating surface, an opposing second mating surface, each surface being bounded by a first side edge, a second side edge, a lower edge, and an upper edge;从所述下缘延伸的心室突出物;a ventricular protrusion extending from said lower edge;第一支撑体,所述第一支撑体在所述上缘和所述心室突出物之间延伸穿过所述对合辅助装置的至少一部分;a first support extending through at least a portion of the coaptation assist device between the upper edge and the ventricular protrusion;第二支撑体,所述第二支撑体在所述第一侧缘和所述第二侧缘之间延伸穿过所述对合辅助体部的至少一部分;和a second support body extending through at least a portion of the mating assist body portion between the first side edge and the second side edge; and通路,所述通路延伸穿过所述对合辅助装置的至少一部分,所述通路的尺寸被制成为接纳可操控导管穿过所述通路;a passageway extending through at least a portion of the apposition aid, the passageway sized to receive a steerable catheter therethrough;其中所述第一支撑体具有其中所述第一支撑体大体上是直线的第一构型和其中所述第一支撑体是弯曲的第二构型;wherein the first support has a first configuration wherein the first support is substantially rectilinear and a second configuration wherein the first support is curved;其中所述第一和第二支撑体被构造成允许所述可植入对合辅助装置的经皮插入。wherein the first and second supports are configured to allow percutaneous insertion of the implantable coaptation assist device.9.一种成套用具,包括:9. A kit comprising:可植入对合辅助装置,包括:Implantable butt-assist devices, including:对合辅助体部,所述对合辅助体部包括第一对合表面、相反的第二对合表面,每个表面由第一侧缘、第二侧缘、下缘和上缘限定边界;a mating aid body comprising a first mating surface, an opposing second mating surface, each surface being bounded by a first side edge, a second side edge, a lower edge, and an upper edge;从所述下缘延伸的心室突出物;a ventricular protrusion extending from said lower edge;通路,所述通路延伸穿过所述对合辅助装置的至少一部分,所述通路的尺寸被制成为接纳可操控导管穿过所述通路;a passageway extending through at least a portion of the apposition aid, the passageway sized to receive a steerable catheter therethrough;可操控导管,其中所述可操控导管被构造成通过二尖瓣并且朝向心室组织弯曲,其中所述可植入对合辅助装置被构造成被朝向所述心室组织传递经过所述可操控导管。A steerable catheter, wherein the steerable catheter is configured to pass through the mitral valve and to curve toward ventricular tissue, wherein the implantable coaptation assist device is configured to be passed through the steerable catheter toward the ventricular tissue.
CN202110375324.3A2014-06-182015-06-17Mitral valve implant for treating valvular regurgitationPendingCN113081393A (en)

Applications Claiming Priority (3)

Application NumberPriority DateFiling DateTitle
US201461014060P2014-06-182014-06-18
US61/014,0602014-06-18
CN201580044329.0ACN106572910B (en)2014-06-182015-06-17 Mitral valve implants for the treatment of valve regurgitation

Related Parent Applications (1)

Application NumberTitlePriority DateFiling Date
CN201580044329.0ADivisionCN106572910B (en)2014-06-182015-06-17 Mitral valve implants for the treatment of valve regurgitation

Publications (1)

Publication NumberPublication Date
CN113081393Atrue CN113081393A (en)2021-07-09

Family

ID=58518582

Family Applications (2)

Application NumberTitlePriority DateFiling Date
CN202110375324.3APendingCN113081393A (en)2014-06-182015-06-17Mitral valve implant for treating valvular regurgitation
CN201580044329.0AActiveCN106572910B (en)2014-06-182015-06-17 Mitral valve implants for the treatment of valve regurgitation

Family Applications After (1)

Application NumberTitlePriority DateFiling Date
CN201580044329.0AActiveCN106572910B (en)2014-06-182015-06-17 Mitral valve implants for the treatment of valve regurgitation

Country Status (1)

CountryLink
CN (2)CN113081393A (en)

Cited By (2)

* Cited by examiner, † Cited by third party
Publication numberPriority datePublication dateAssigneeTitle
CN118717199A (en)*2023-03-282024-10-01宁波健世科技股份有限公司 An anchoring system
CN118986588A (en)*2023-05-192024-11-22宁波健世科技股份有限公司Anchor system capable of being accurately regulated and controlled

Families Citing this family (2)

* Cited by examiner, † Cited by third party
Publication numberPriority datePublication dateAssigneeTitle
JP2022523456A (en)*2019-01-142022-04-25エムテックス カーディオ アーゲー Heart valve apex coapter
US20200268371A1 (en)*2019-02-272020-08-27Covidien LpPurse string suture device

Citations (5)

* Cited by examiner, † Cited by third party
Publication numberPriority datePublication dateAssigneeTitle
CN102665612A (en)*2009-11-052012-09-12宾夕法尼亚大学理事会Valve prosthesis
CN102933175A (en)*2010-03-252013-02-13辛纳吉奥股份公司 Device and method for controllably assisting mitral valve movement
CN103338726A (en)*2011-01-282013-10-02中峰医疗公司 Coaptation-enhancing implants, systems and methods
CN103338709A (en)*2010-05-052013-10-02血管动力学公司 Blood pressure control device and method
CN103402576A (en)*2011-01-102013-11-20聚光灯技术合伙有限责任公司Apparatus and methods for accessing and treating a body cavity, lumen, or ostium

Family Cites Families (10)

* Cited by examiner, † Cited by third party
Publication numberPriority datePublication dateAssigneeTitle
US5951603A (en)*1997-09-251999-09-14Johnson & Johnson Professional, Inc.Rotatable joint prosthesis with axial securement
US20070118151A1 (en)*2005-11-212007-05-24The Brigham And Women's Hospital, Inc.Percutaneous cardiac valve repair with adjustable artificial chordae
US20070185571A1 (en)*2006-02-062007-08-09The Cleveland Clinic FoundationApparatus and method for treating a regurgitant valve
US8911494B2 (en)*2009-05-042014-12-16Valtech Cardio, Ltd.Deployment techniques for annuloplasty ring
US8940044B2 (en)*2011-06-232015-01-27Valtech Cardio, Ltd.Closure element for use with an annuloplasty structure
US9011530B2 (en)*2008-12-222015-04-21Valtech Cardio, Ltd.Partially-adjustable annuloplasty structure
US20110224785A1 (en)*2010-03-102011-09-15Hacohen GilProsthetic mitral valve with tissue anchors
US8888843B2 (en)*2011-01-282014-11-18Middle Peak Medical, Inc.Device, system, and method for transcatheter treatment of valve regurgitation
RU2578177C2 (en)*2011-05-182016-03-20Ульрих Гмбх Энд Ко. КгArtificial disc replacement
US9474605B2 (en)*2012-05-162016-10-25Edwards Lifesciences CorporationDevices and methods for reducing cardiac valve regurgitation

Patent Citations (5)

* Cited by examiner, † Cited by third party
Publication numberPriority datePublication dateAssigneeTitle
CN102665612A (en)*2009-11-052012-09-12宾夕法尼亚大学理事会Valve prosthesis
CN102933175A (en)*2010-03-252013-02-13辛纳吉奥股份公司 Device and method for controllably assisting mitral valve movement
CN103338709A (en)*2010-05-052013-10-02血管动力学公司 Blood pressure control device and method
CN103402576A (en)*2011-01-102013-11-20聚光灯技术合伙有限责任公司Apparatus and methods for accessing and treating a body cavity, lumen, or ostium
CN103338726A (en)*2011-01-282013-10-02中峰医疗公司 Coaptation-enhancing implants, systems and methods

Cited By (2)

* Cited by examiner, † Cited by third party
Publication numberPriority datePublication dateAssigneeTitle
CN118717199A (en)*2023-03-282024-10-01宁波健世科技股份有限公司 An anchoring system
CN118986588A (en)*2023-05-192024-11-22宁波健世科技股份有限公司Anchor system capable of being accurately regulated and controlled

Also Published As

Publication numberPublication date
CN106572910A (en)2017-04-19
CN106572910B (en)2021-04-27

Similar Documents

PublicationPublication DateTitle
JP7661383B2 (en) Mitral Valve Implants for the Treatment of Valvular Regurgitation
JP7004765B2 (en) Systems and methods for implant fixation
US11000372B2 (en)Systems and methods for transcatheter treatment of valve regurgitation
CN108472138B (en) Devices, systems and methods for transcatheter treatment of valve regurgitation
CN110913801A (en)Devices, systems, and methods for transcatheter treatment of valve regurgitation
CN106572910B (en) Mitral valve implants for the treatment of valve regurgitation

Legal Events

DateCodeTitleDescription
PB01Publication
PB01Publication
SE01Entry into force of request for substantive examination
SE01Entry into force of request for substantive examination

[8]ページ先頭

©2009-2025 Movatter.jp