Movatterモバイル変換


[0]ホーム

URL:


CN113064339B - High-stability atomic clock based on Kalman filtering optimal state estimation and implementation method - Google Patents

High-stability atomic clock based on Kalman filtering optimal state estimation and implementation method
Download PDF

Info

Publication number
CN113064339B
CN113064339BCN202110247273.6ACN202110247273ACN113064339BCN 113064339 BCN113064339 BCN 113064339BCN 202110247273 ACN202110247273 ACN 202110247273ACN 113064339 BCN113064339 BCN 113064339B
Authority
CN
China
Prior art keywords
frequency
kalman filtering
atomic
signal
kalman
Prior art date
Legal status (The legal status is an assumption and is not a legal conclusion. Google has not performed a legal analysis and makes no representation as to the accuracy of the status listed.)
Active
Application number
CN202110247273.6A
Other languages
Chinese (zh)
Other versions
CN113064339A (en
Inventor
陈景标
关笑蕾
Current Assignee (The listed assignees may be inaccurate. Google has not performed a legal analysis and makes no representation or warranty as to the accuracy of the list.)
Wenzhou Laser And Photoelectronics Co Innovation Center
Original Assignee
Wenzhou Laser And Photoelectronics Co Innovation Center
Priority date (The priority date is an assumption and is not a legal conclusion. Google has not performed a legal analysis and makes no representation as to the accuracy of the date listed.)
Filing date
Publication date
Application filed by Wenzhou Laser And Photoelectronics Co Innovation CenterfiledCriticalWenzhou Laser And Photoelectronics Co Innovation Center
Priority to CN202110247273.6ApriorityCriticalpatent/CN113064339B/en
Publication of CN113064339ApublicationCriticalpatent/CN113064339A/en
Application grantedgrantedCritical
Publication of CN113064339BpublicationCriticalpatent/CN113064339B/en
Activelegal-statusCriticalCurrent
Anticipated expirationlegal-statusCritical

Links

Images

Classifications

Landscapes

Abstract

The invention discloses a high-stability atomic clock based on Kalman filtering optimal state estimation and an implementation method thereof, wherein the implementation method comprises the following steps: the system comprises a Kalman filtering module, a controlled oscillator with a Kalman filtering matching function, a frequency multiplication and frequency comprehensive transformation circuit with a Kalman filtering matching function, an atomic frequency discriminator, a high-speed detector and a PID (proportion integration differentiation) controller with a Kalman filtering matching function; the Kalman filter is utilized to effectively filter the signals, the filtered signals are fed back to the PID controller, and the influence of process noise and measurement noise on system control parameters is reduced, so that the optimization of the control parameters is realized, the control system quickly tends to a stable state, and the frequency stability of an atomic clock system is greatly improved; the atomic clock with high requirement on temperature control precision is controlled through the Kalman filtering technology, the influence of temperature on atomic transition frequency is obviously improved, and the drift of the medium-term and long-term frequency stability of the system is restrained, so that the medium-term and long-term stability of the atomic clock system is greatly improved.

Description

High-stability atomic clock based on Kalman filtering optimal state estimation and implementation method
Technical Field
The invention relates to the technical field of microwave and optical frequency atomic clocks and quantum frequency standards, in particular to a high-stability atomic clock based on Kalman filtering optimal state estimation and an implementation method thereof.
Background
The atomic clock is scientific equipment capable of outputting the most accurate and stable frequency signals so far, and the atomic clock with the best performance can achieve 10-19Magnitude of frequency change measurement. Thanks to the development of atomic clocks, many time-frequency related fields, such as: the figure of the atomic clock can be seen by a global satellite navigation positioning system, a high-speed information network time-frequency synchronization and the like, and the high-performance atomic clock is gradually applied to the field which can not be realized by the traditional technical means, so that the application has no doubt highlighted the huge application prospect and potential of the high-performance atomic clock.
The atomic clock can be divided into a microwave atomic clock and a light frequency atomic clock according to the difference of the main frequency of the output signal of the local oscillator; they can be divided into passive atomic clocks and active atomic clocks according to their working principles. The working principle and the output signal characteristics of different types of atomic clocks are different, but the atomic clocks are used as a frequency generation device and finally aim to provide a frequency signal which is accurate and stable in output. At present, the atomic clock generally adopts a PID (proportional, integral, differential) control method to compare the clock signal frequency with the quantum reference standard frequency, and performs feedback regulation control by using the obtained local oscillation signal and atomic transition frequency deviation, so as to realize the clock signal output with high frequency stability. This is also true for high precision temperature control of critical components within atomic clocks, with PID temperature control being most common.
However, the PID control method inevitably has certain drawbacks: a certain residual deviation always exists in the control of the target parameter, so that the output frequency of the atomic clock system and the temperature of a controlled component are related and fluctuate; the atomic clock system has the influence of external environment interference, measurement noise and the like at any moment, and the PID controller cannot automatically adjust control parameters according to the change of the system. The defects not only limit the improvement of the frequency stability index of the atomic clock, but also limit the improvement of the frequency stability index of the atomic clock for some atomic clocks which are extremely sensitive to temperature and have extremely high temperature control precision requirements, such as: in the case of an air-cell atomic clock, temperature directly affects the transition frequency of atoms, resulting in the frequency of the medium-and long-term system drifting with a slope τ as the sampling time accumulates. In addition, the large temperature fluctuation at the atomic gas chamber can cause large atomic density fluctuation, the signal to noise ratio of spectral lines is reduced, meanwhile, the collision frequency shift among thermal atoms is larger, and the further improvement of the frequency stability of the system is also limited. Therefore, it is important to accurately control the temperature and frequency of the atomic clock system. At present, only one example of improving the clock error prediction precision by using a kalman filter algorithm is reported at home and abroad [ patent no: CN201811561770.8], and no application report is found in the literature and patents of applying the kalman filtering technique to the inside of an atomic clock.
Disclosure of Invention
Aiming at the defects and shortcomings of the existing temperature and frequency control technology of the atomic clock, the invention provides a high-stability atomic clock implementation method based on Kalman filtering optimal state estimation for the first time in the world. By combining the Kalman filtering algorithm with the conventional PID control technology and utilizing the good filtering effect of the Kalman filter on the signal, the filtered signal is fed back to the PID controller to reduce the influence of process noise and measurement noise on system control parameters, thereby realizing the optimization of the control parameters, improving the control effect, enabling the control system to quickly tend to a stable state, and greatly improving the frequency stability of the atomic clock system. In addition, for the atomic clock which is extremely sensitive to temperature and has extremely high requirement on temperature control precision, such as: the air chamber type atomic clock can remarkably improve the influence of temperature on atomic transition frequency by combining with Kalman filtering technology to control temperature, and inhibit the drift of the stability of the medium-long frequency of the system, thereby greatly improving the medium-long stability of the atomic clock system. The realization of the invention can well solve the problems that the frequency stability index of the atomic clock is further improved because the control effect is poor due to residual control deviation and the influence of external factors such as process noise, measurement noise and the like in the existing temperature and frequency control technology of the atomic clock cannot be avoided.
The technical scheme of the invention is as follows:
a high-stability atomic clock implementation method based on Kalman filtering optimal state estimation comprises the following steps: the system comprises a Kalman filtering module, a controlled oscillator with a Kalman filtering matching function, a frequency multiplication and frequency comprehensive transformation circuit with the Kalman filtering matching function, an atomic frequency discriminator, a high-speed detector and a PID (proportion integration differentiation) controller with the Kalman filtering matching function.
The high-stability atomic clock implementation method based on Kalman filtering optimal state estimation comprises the following steps:
1) transmitting an electromagnetic oscillation signal sent by a controlled oscillator with a Kalman filtering function to a frequency doubling and frequency comprehensive transformation circuit with the Kalman filtering function to obtain an electromagnetic wave signal with the frequency close to the atomic frequency;
2) the atomic frequency discriminator responds to the electromagnetic wave signal generated in the step 1) when receiving the electromagnetic wave signal, and transmits or absorbs the electromagnetic wave signal with corresponding frequency; the transmitted or absorbed electromagnetic wave signals are received by a high-speed detector;
3) the electric signal output by the high-speed detector is transmitted to a PID controller with a matched Kalman filtering function for resolving, and the electric signal obtained by measuring the electromagnetic wave signal output by the frequency doubling and frequency comprehensive transformation circuit with the matched Kalman filtering function and the electromagnetic wave signal are input into a Kalman filtering module for filtering;
4) the Kalman filtering module calculates the minimum mean square error of the measured value and the predicted value at each moment in a recursion mode, and performs linear correction according to the measured value at the current moment on the basis of the predicted value obtained at the previous moment to obtain the more accurate optimal predicted value estimation of the current moment to the next moment;
5) and (3) feeding the signal filtered by the Kalman filtering module in the step 3) back to a PID controller with a matched Kalman filtering function, performing optimal estimation on PID control parameters, and feeding back the generated Kalman filtering servo signal to adjust the output frequency of a controlled oscillator with the matched Kalman filtering function in the step 1), thereby realizing the signal output with high frequency stability.
In step 2) of the method for implementing the high-stability atomic clock based on the kalman filter optimal state estimation, the electromagnetic wave with the corresponding frequency transmitted or absorbed by the atomic frequency discriminator is also called a resonance signal, when the frequency of the electromagnetic wave signal received by the atomic frequency discriminator is completely the same as the self frequency thereof, the resonance signal is strongest, and when the frequency of the electromagnetic wave signal received by the atomic frequency discriminator deviates, the resonance signal is weakened; according to the magnitude of the resonance signal and the position of the distance peak value, whether the frequency of the external electromagnetic wave signal is consistent with the atomic frequency or not and the degree of deviation of the frequency can be judged.
In the step 3), the kalman filtering module may adopt a prediction method such as bayesian estimation, regression algorithm, exponential smoothing, or the like.
Specifically, kalman filtering is a recursive linear minimum variance estimation method, which performs linear correction according to a measurement value at the current time on the basis of an estimation value obtained at the previous time to obtain an optimal state estimation value at the current time. The state equation and the measurement equation expression of Kalman are as follows:
x(k)=Ax(k-1)+Bu(k-1)+ω(k-1)
yν(k)=Cx(k)+ν(k)
wherein x (k) is a state signal of the atomic clock system, yν(k) Is the measurement signal of the atomic clock system, ω (k) is the process noise signal, and ν (k) is the measurement noise signal.
The Kalman filtering algorithm can be divided into two steps of prediction and updating, wherein in the first step, prediction: assuming that the moment k is the current moment, estimating the state of the system at the moment k according to the predicted value at the moment k-1 to obtain a pre-estimated value of the system at the moment k; and step two, updating: and measuring the current value of the system at the moment k by using the measuring instrument, correcting and updating the pre-estimated value of the system to obtain a predicted value at the moment k, and calculating the pre-estimated value at the next moment (the moment k + 1).
The time update equation for the kalman filter module may be expressed as:
Figure GDA0003477300540000031
Figure GDA0003477300540000032
the state update performance equation of the kalman filter module may be expressed as:
Figure GDA0003477300540000033
Figure GDA0003477300540000034
Figure GDA0003477300540000035
wherein,
Figure GDA0003477300540000036
is a pre-estimated value of the time of the atomic clock system k,
Figure GDA0003477300540000037
and
Figure GDA0003477300540000038
respectively are the predicted values of the atomic clock system at the time k-1 and the time k,
Figure GDA0003477300540000039
is a pre-estimated value covariance, P, of the atomic clock system at time kk-1And PkPredicted value covariance at the time K-1 and K of the atomic clock system, H is a state variable to measurement conversion matrix, A is a state transition matrix, B is a matrix for converting input to state, Q is a process noise covariance, R is a measurement noise covariance, K is a time constant of the atomic clock system, andkis a Kalman filter coefficient, zkIs the filtered input.
In general, kalman filtering is to determine the minimum mean square error for the measured value and the predicted value at each time in a recursive manner, so as to achieve a more accurate estimation of the optimal target value. The key point is to correct the predicted value after solving the Kalman gain weighted measurement value.
The measurement value in the step 4) is the measurement of the electromagnetic wave signal output by the frequency doubling and frequency comprehensive conversion circuit with the matching Kalman filtering function, and is a system actual state value containing measurement noise; and the predicted value is obtained by the optimal estimation of the Kalman filtering module.
In the step 4), the Kalman filtering recursion algorithm for controlling the frequency of the atomic clock can also be suitable for controlling the temperature of some key components in the atomic clock. The temperature control system based on Kalman filtering comprises a Kalman filtering module, a temperature control object, a heating and refrigerating device, a thermistor and a PID controller with a Kalman filtering function. Wherein, the temperature control object can be a laser, an atomic gas chamber, an atomic beam device, an atomic furnace, etc.; the heating function in the heating and refrigerating device can be realized by adopting a heating plate or a heating wire, and the refrigerating function can be realized by adopting a TEC refrigerating plate; the thermistor is tightly attached to the temperature controlled object to play a role in sensing temperature; the Kalman filtering module fuses a temperature value measured by the thermistor and a temperature deviation signal calculated by a PID controller with a Kalman filtering function, the temperature deviation signal is filtered and fed back to the PID controller with the Kalman filtering function to obtain an optimized PID control parameter estimation, a Kalman filtering servo control signal is generated from the optimal PID control parameter estimation and fed back to the heating and refrigerating device, and high-precision temperature control is realized by controlling the on-off of the heating and refrigerating device.
The atomic clocks with high-frequency stability signal output, which are realized by the high-stability atomic clock realization method based on Kalman filtering optimal state estimation, can be all atomic clocks with temperature and frequency control requirements, such as small rubidium atomic microwave clocks, chip atomic clocks, small air chamber type optical clocks, small cesium atomic beam microwave clocks and the like.
In specific implementation, the high-stability atomic clock realized by using the high-stability atomic clock method based on the Kalman filtering optimal state estimation comprises the following steps: the system comprises a Kalman filtering module, a controlled oscillator with a Kalman filtering matching function, a frequency multiplication and frequency comprehensive transformation circuit with the Kalman filtering matching function, an atomic frequency discriminator, a high-speed detector and a PID (proportion integration differentiation) controller with the Kalman filtering matching function. When the high-stability atomic clock works:
electromagnetic oscillation signals sent by a controlled oscillator with a Kalman filtering function are transmitted to a frequency doubling and frequency comprehensive transformation circuit with the Kalman filtering function, and electromagnetic wave signals with the frequency close to the atomic frequency are obtained;
the atomic frequency discriminator responds when receiving the electromagnetic wave signal, emits or absorbs the electromagnetic wave with corresponding frequency, and the electromagnetic wave is received by the high-speed detector, and the electromagnetic wave is also called as a resonance signal;
when the frequency of the electromagnetic wave signal received by the atomic frequency discriminator is completely the same as the self frequency, the resonance signal is strongest, and the resonance signal is weakened when the frequency deviates; judging whether the frequency of the external electromagnetic wave signal is consistent with the atomic frequency or not and the deviation degree of the frequency according to the magnitude of the resonance signal and the position of the resonance signal away from the peak value;
the signal output by the high-speed detector is transmitted to a PID controller with a matched Kalman filtering function for resolving, and is input to a Kalman filtering module together with the measured frequency multiplication of the matched Kalman filtering function and the frequency signal output by the frequency comprehensive transformation circuit;
the signal filtered by the Kalman filtering module is fed back to a PID controller with a matched Kalman filtering function, optimal estimation is carried out on PID control parameters, and the generated Kalman filtering servo signal is used for feedback adjustment of the output frequency of a controlled oscillator with the matched Kalman filtering function, so that signal output with high frequency stability is realized.
Further, the atomic clock uses an oscillation signal of a controlled oscillator as a standard frequency signal, the oscillation signal is strictly controlled by the movement of atoms in the atomic frequency discriminator, and the frequency of the oscillation signal depends on the atomic frequency. Because different electrons in atoms move with different energies and the electronic states of atoms are different, the frequencies (atomic frequencies) of electromagnetic waves absorbed or emitted by atoms are also very different and extend from a radio frequency band to an optical band. For the atomic clocks with different wave band ranges and different working principles, the temperature control and the frequency control are carried out by combining the Kalman filtering technology, and the good effect of improving the frequency stability of an atomic clock system can be achieved.
Compared with the existing temperature and frequency control technology of an atomic clock, the invention has the following novelty and creativity:
the invention provides a high-stability atomic clock implementation method based on Kalman filtering optimal state estimation, which combines a Kalman filtering algorithm with the traditional PID control technology, utilizes the good filtering effect of a Kalman filter on signals, and feeds the filtered signals back to a PID controller, thereby effectively reducing the influence of process noise and measurement noise on system control parameters, realizing the optimization of the control parameters, enabling the control system to quickly approach a stable state, and greatly improving the frequency stability of an atomic clock system. In addition, for the atomic clock which is extremely sensitive to temperature and has extremely high requirement on temperature control precision, such as: the air chamber type atomic clock can remarkably improve the influence of temperature on atomic transition frequency by combining with Kalman filtering technology to control temperature, and inhibit the drift of the stability of the medium-long frequency of the system, thereby greatly improving the medium-long stability of the atomic clock system. The invention well solves the problems that the frequency stability index of the atomic clock is further improved because the control effect is poor due to residual control deviation and the influence of external factors such as process noise, measurement noise and the like in the existing temperature and frequency control technology of the atomic clock cannot be avoided. The application of the Kalman filtering technology to the inside of an atomic clock is not reported in the domestic and foreign literatures and patents.
(II) the Kalman filtering optimal state estimation method for controlling the frequency of the atomic clock, provided by the invention, can also be suitable for controlling the temperature of some key components in the atomic clock, such as: laser, atomic gas cell, atomic beam device, atomic furnace, etc. High precision temperature control of critical components inside an atomic clock is particularly important because temperature is one of the most critical factors affecting the frequency stability of the atomic clock. The traditional PID temperature control method has certain limitation, and the high temperature control precision required by an atomic clock cannot achieve an ideal effect. The invention skillfully combines the Kalman filtering technology and the PID control technology, and realizes the great improvement of the temperature control precision on the basis of PID control.
3. The method for realizing the high-stability atomic clock based on the Kalman filtering optimal state estimation is applicable to all atomic clocks with the requirements of temperature control and frequency control, such as: the miniature rubidium atomic microwave clock, the chip atomic clock, the miniature air chamber type optical clock, the miniature cesium atomic beam microwave clock and the like have wide application prospect in the future.
Drawings
FIG. 1 is a schematic structural diagram of an embodiment of a high-stability atomic clock based on Kalman filtering optimal state estimation according to the present invention;
wherein: the system comprises a 1-Kalman filtering module, a 2-controlled oscillator with a Kalman filtering function, a 3-frequency multiplication and frequency comprehensive transformation circuit with the Kalman filtering function, a 4-atomic frequency discriminator, a 5-high-speed detector and a 6-PID controller with the Kalman filtering function.
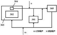
FIG. 2 is a schematic structural diagram of a Kalman filtering based temperature control system in an embodiment of a high-stability atomic clock based on Kalman filtering optimal state estimation according to the present invention;
wherein: 301-Kalman filtering module, 302-temperature control object, 303-heating and refrigerating device, 304-thermistor, 305-PID controller matching with Kalman filtering function.
Detailed Description
The invention will be further elucidated by means of specific embodiments in the following with reference to the drawing.
The invention provides a high-stability atomic clock based on Kalman filtering optimal state estimation, which comprises the following steps: the system comprises a Kalman filtering module, a controlled oscillator with a Kalman filtering matching function, a frequency multiplication and frequency comprehensive transformation circuit with the Kalman filtering matching function, an atomic frequency discriminator, a high-speed detector and a PID (proportion integration differentiation) controller with the Kalman filtering matching function.
Referring to fig. 1, the high-stability atomic clock based on the kalman filter optimal state estimation according to the embodiment includes: the system comprises aKalman filtering module 1, a controlledoscillator 2 with a Kalman filtering matching function, a frequency multiplication and frequencycomprehensive transformation circuit 3 with the Kalman filtering matching function, anatomic frequency discriminator 4, a high-speed detector 5 and aPID controller 6 with the Kalman filtering matching function. Electromagnetic oscillation signals sent by a controlled oscillator 2 with a Kalman filtering function are transmitted to a frequency doubling and frequency comprehensive transformation circuit 3 with the Kalman filtering function, and electromagnetic wave signals with the frequency close to the atomic frequency are obtained; the atomic frequency discriminator 4 responds when receiving the electromagnetic wave signal, transmits or absorbs the electromagnetic wave with corresponding frequency, and the electromagnetic wave is received by the high-speed detector 5; the signal output by the high-speed detector 5 is transmitted to a PID controller 6 with a matched Kalman filtering function for resolving, and is input into the Kalman filtering module 1 together with the measured frequency multiplication of the matched Kalman filtering function and the frequency signal output by the frequency comprehensive transformation circuit 3; the Kalman filtering module 1 calculates the minimum mean square error of the measured value and the predicted value at each moment in a recursion mode, and performs linear correction according to the measured value at the current moment on the basis of the predicted value obtained at the previous moment to obtain the more accurate optimal predicted value estimation of the current moment to the next moment; the signal filtered by the Kalman filtering module 1 is fed back to the PID controller 6 with the matched Kalman filtering function, and the PID control parameters are optimally estimated, so that a Kalman filtering servo signal is generated and used for feedback adjustment of the output frequency of the controlled oscillator 2 with the matched Kalman filtering function, and the signal output with high frequency stability is realized.
As shown in fig. 2, the kalman filter based temperature control system in the high-stability atomic clock based on the kalman filter optimal state estimation according to the present embodiment includes: aKalman filtering module 301, atemperature control object 302, a heating andrefrigerating device 303, athermistor 304 and aPID controller 305 matched with the Kalman filtering function; thekalman filter module 301 fuses the temperature value measured by thethermistor 304 and the temperature deviation signal calculated by thePID controller 305 with the kalman filter function, and feeds back the filtered temperature value to thePID controller 305 with the kalman filter function to obtain an optimized PID control parameter estimation, and then generates a kalman filter servo control signal to feed back the kalman filter servo control signal to the heating andcooling device 303, thereby realizing high-precision temperature control by controlling the on/off of the heating andcooling device 303.
Electromagnetic oscillation signals sent by a controlled oscillator with a Kalman filtering function are transmitted to a frequency doubling and frequency comprehensive transformation circuit with the Kalman filtering function, and electromagnetic wave signals with the frequency close to the atomic frequency are obtained;
the atomic frequency discriminator responds when receiving the electromagnetic wave signal, emits or absorbs the electromagnetic wave with corresponding frequency, and the electromagnetic wave is received by the high-speed detector, and the electromagnetic wave is also called as a resonance signal;
when the frequency of the electromagnetic wave signal received by the atomic frequency discriminator is completely the same as the self frequency, the resonance signal is strongest, and the resonance signal is weakened when the frequency deviates; judging whether the frequency of the external electromagnetic wave signal is consistent with the atomic frequency or not and the deviation degree of the frequency according to the magnitude of the resonance signal and the position of the resonance signal away from the peak value;
the signal output by the high-speed detector is transmitted to a PID controller with a matched Kalman filtering function for resolving, and is input to a Kalman filtering module together with the measured frequency multiplication of the matched Kalman filtering function and the frequency signal output by the frequency comprehensive transformation circuit;
the signal filtered by the Kalman filtering module is fed back to a PID controller with a matched Kalman filtering function, optimal estimation is carried out on PID control parameters, and the generated Kalman filtering servo signal is used for feedback adjustment of the output frequency of a controlled oscillator with the matched Kalman filtering function, so that signal output with high frequency stability is realized.
The Kalman filtering is a recursive linear minimum variance estimation method, and the method is characterized in that on the basis of an estimation value obtained at the previous moment, linear correction is carried out according to a measurement value at the current moment to obtain an optimal state estimation value at the current moment. The state equation and the measurement equation expression of Kalman are as follows:
x(k)=Ax(k-1)+Bu(k-1)+ω(k-1)
yν(k)=Cx(k)+ν(k)
wherein x (k) is a state signal of the atomic clock system, yν(k) Is the measurement signal of the atomic clock system, ω (k) is the process noise signal, and ν (k) is the measurement noise signal.
The Kalman filtering algorithm can be divided into two steps of prediction and updating, wherein in the first step, prediction: assuming that the moment k is the current moment, estimating the state of the system at the moment k according to the predicted value at the moment k-1 to obtain a pre-estimated value of the system at the moment k; and step two, updating: and measuring the current value of the system at the moment k by using the measuring instrument, correcting and updating the pre-estimated value of the system to obtain a predicted value at the moment k, and calculating the pre-estimated value at the next moment (the moment k + 1).
The time update equation for the kalman filter module may be expressed as:
Figure GDA0003477300540000081
Pk=APk-1AT+Q
the state update performance equation of the kalman filter module may be expressed as:
Figure GDA0003477300540000082
Figure GDA0003477300540000083
Figure GDA0003477300540000084
wherein,
Figure GDA0003477300540000085
is a pre-estimated value of the time of the atomic clock system k,
Figure GDA0003477300540000086
and
Figure GDA0003477300540000087
respectively are the predicted values of the atomic clock system at the time k-1 and the time k,
Figure GDA0003477300540000088
is a pre-estimated value covariance, P, of the atomic clock system at time kk-1And PkPredicted value covariance at the time K-1 and K of the atomic clock system, H is a state variable to measurement conversion matrix, A is a state transition matrix, B is a matrix for converting input to state, Q is a process noise covariance, R is a measurement noise covariance, K is a time constant of the atomic clock system, andkis a Kalman filter coefficient, zkIs the filtered input.
In general, kalman filtering is to determine the minimum mean square error for the measured value and the predicted value at each time in a recursive manner, so as to achieve a more accurate estimation of the optimal target value. The key point is to correct the predicted value after solving the Kalman gain weighted measurement value.
Further, the atomic clock uses an oscillation signal of a controlled oscillator as a standard frequency signal, the oscillation signal is strictly controlled by the movement of atoms in the atomic frequency discriminator, and the frequency of the oscillation signal depends on the atomic frequency. Because different electrons in atoms move with different energies and the electronic states of the atoms are different, the frequencies (atomic frequencies) of electromagnetic waves absorbed or emitted by the atoms are also very different and extend from a radio frequency band to an optical band. For the atomic clocks with different wave band ranges and different working principles, the temperature control and the frequency control are carried out by combining the Kalman filtering technology, and the good effect of improving the frequency stability of an atomic clock system can be achieved.
Furthermore, the high-stability atomic clock based on the Kalman filtering optimal state estimation not only combines the Kalman filtering technology in the aspect of frequency control, but also uses the Kalman filtering technology for temperature control of some key components in the clock;
the temperature control system based on Kalman filtering comprises a Kalman filtering module, a temperature control object, a heating and refrigerating device, a thermistor and a PID controller with a Kalman filtering function. Wherein, the temperature control object can be a laser, an atomic gas chamber, an atomic beam device, an atomic furnace, etc.; the heating function in the heating and refrigerating device can be realized by adopting a heating plate or a heating wire, and the refrigerating function can be realized by adopting a TEC refrigerating plate; the thermistor is tightly attached to the temperature controlled object to play a role in sensing temperature;
the Kalman filtering module fuses a temperature value measured by the thermistor and a temperature deviation signal calculated by a PID controller with a Kalman filtering function, the temperature deviation signal is filtered and fed back to the PID controller with the Kalman filtering function to obtain an optimized PID control parameter estimation, a Kalman filtering servo control signal is generated from the optimal PID control parameter estimation and fed back to the heating and refrigerating device, and high-precision temperature control is realized by controlling the on-off of the heating and refrigerating device.
Furthermore, the Kalman filtering module in the high-stability atomic clock based on the Kalman filtering optimal state estimation can adopt prediction methods such as Bayesian estimation, regression algorithm or exponential smoothing and the like.
Further, the method for implementing the atomic clock with high stability based on the Kalman filtering optimal state estimation is applicable to all atomic clocks with the requirements of temperature control and frequency control, such as: small rubidium atomic microwave clocks, chip atomic clocks, small air chamber optical clocks, small cesium atomic beam microwave clocks, and the like.
The invention discloses a method for realizing a high-stability atomic clock based on Kalman filtering optimal state estimation, which specifically comprises the following steps:
1) transmitting an electromagnetic oscillation signal sent by a controlled oscillator with a Kalman filtering function to a frequency doubling and frequency comprehensive transformation circuit with the Kalman filtering function to obtain an electromagnetic wave signal with the frequency close to the atomic frequency;
2) the atomic frequency discriminator responds when receiving the electromagnetic wave signal generated in the step 1), transmits or absorbs the electromagnetic wave signal with corresponding frequency, and the transmitted or absorbed electromagnetic wave signal is received by the high-speed detector;
3) the electric signal output by the high-speed detector is transmitted to a PID controller with a matched Kalman filtering function for resolving, and is input to a Kalman filtering module together with the measured frequency multiplication of the matched Kalman filtering function and the electromagnetic wave signal output by the frequency comprehensive transformation circuit for filtering;
4) the Kalman filtering module in the step 3) utilizes a recursion mode to calculate the minimum mean square error of the measured value and the predicted value at each moment, and carries out linear correction according to the measured value at the current moment on the basis of the predicted value obtained at the previous moment to obtain the more accurate optimal predicted value estimation of the current moment to the next moment;
5) and (3) feeding the signal filtered by the Kalman filtering module in the step 3) back to a PID controller with a matched Kalman filtering function, performing optimal estimation on PID control parameters, and feeding back the generated Kalman filtering servo signal to adjust the output frequency of a controlled oscillator with the matched Kalman filtering function in the step 1), thereby realizing the signal output with high frequency stability.
In the step 2), the electromagnetic wave with the corresponding frequency transmitted or absorbed by the atomic frequency discriminator is also called as a resonance signal, when the frequency of the electromagnetic wave signal received by the atomic frequency discriminator is completely the same as the self frequency, the resonance signal is strongest, and when the frequency of the electromagnetic wave signal received by the atomic frequency discriminator deviates, the resonance signal is weakened; according to the magnitude of the resonance signal and the position of the distance peak value, whether the frequency of the external electromagnetic wave signal is consistent with the atomic frequency or not and the degree of deviation of the frequency can be judged.
In the step 3), the kalman filtering module may adopt a prediction method such as bayesian estimation, regression algorithm, exponential smoothing, or the like.
The measurement value in the step 4) is the measurement of the electromagnetic wave signal output by the frequency doubling and frequency comprehensive conversion circuit with the matching Kalman filtering function, and is a system actual state value containing measurement noise; and the predicted value is obtained by the optimal estimation of the Kalman filtering module.
In the step 4), the Kalman filtering recursion algorithm for controlling the frequency of the atomic clock can also be suitable for controlling the temperature of some key components in the atomic clock. The temperature control system based on Kalman filtering comprises a Kalman filtering module, a temperature control object, a heating and refrigerating device, a thermistor and a PID controller with a Kalman filtering function. Wherein, the temperature control object can be a laser, an atomic gas chamber, an atomic beam device, an atomic furnace, etc.; the heating function in the heating and refrigerating device can be realized by adopting a heating plate or a heating wire, and the refrigerating function can be realized by adopting a TEC refrigerating plate; the thermistor is tightly attached to the temperature controlled object to play a role in sensing temperature;
the Kalman filtering module fuses a temperature value measured by the thermistor and a temperature deviation signal calculated by a PID controller with a Kalman filtering function, the temperature deviation signal is filtered and fed back to the PID controller with the Kalman filtering function to obtain an optimized PID control parameter estimation, a Kalman filtering servo control signal is generated from the optimal PID control parameter estimation and fed back to the heating and refrigerating device, and high-precision temperature control is realized by controlling the on-off of the heating and refrigerating device.
The atomic clocks for outputting the high-frequency stability signals in the step 5) can be all atomic clocks with the requirements of temperature control and frequency control, such as small rubidium atomic microwave clocks, chip atomic clocks, small air chamber type optical clocks, small cesium atomic beam microwave clocks and the like.
Specifically, the high-stability atomic clock based on the Kalman filtering optimal state estimation in the embodiment of the invention combines the Kalman filtering algorithm with the traditional PID control technology, utilizes the good filtering effect of the Kalman filter on the signal, and feeds the filtered signal back to the PID controller, thereby effectively reducing the influence of process noise and measurement noise on system control parameters, realizing the optimization of the control parameters, enabling the control system to quickly approach a stable state, and greatly improving the frequency stability of the atomic clock system. In addition, for the atomic clock which is extremely sensitive to temperature and has extremely high requirement on temperature control precision, such as: the air chamber type atomic clock can remarkably improve the influence of temperature on atomic transition frequency by combining with Kalman filtering technology to control temperature, and inhibit the drift of the stability of the medium-long frequency of the system, thereby greatly improving the medium-long stability of the atomic clock system. In addition, the method for estimating the optimal state of the Kalman filtering for controlling the frequency of the atomic clock can also be suitable for controlling the temperature of some key components in the atomic clock, such as: laser, atomic gas cell, atomic beam device, atomic furnace, etc. By skillfully combining the Kalman filtering technology and the PID control technology, the limitation of the traditional PID temperature control method is effectively broken through, and the temperature control precision is greatly improved on the basis of PID control. Finally, the method provided by the invention is suitable for all atomic clocks with the requirements of temperature control and frequency control, such as: the miniature rubidium atomic microwave clock, the chip atomic clock, the miniature air chamber type optical clock, the miniature cesium atomic beam microwave clock and the like have wide application prospect in the future. The invention has essential difference from the most common PID temperature and frequency control technology of the current atomic clock in the situation that residual control deviation exists and the influence of external factors such as process noise, measurement noise and the like cannot be avoided.
When the method is concretely implemented, the temperature control objects in the Kalman filtering-based temperature control system can be a laser, an atomic gas chamber, an atomic beam device, an atomic furnace and the like; the heating function in the heating and refrigerating device can be realized by adopting a heating plate or a heating wire, and the refrigerating function can be realized by adopting a TEC refrigerating plate; the thermistor is tightly attached to the object to be temperature controlled, and plays a role in sensing temperature.
The kalman filtering module may employ prediction methods such as bayesian estimation, regression algorithms, or exponential smoothing.
Finally, it is noted that the disclosed embodiments are intended to aid in further understanding of the invention, but those skilled in the art will appreciate that: various substitutions and modifications are possible without departing from the spirit and scope of the invention and the appended claims. The replacement includes replacement of different types of atomic clocks, such as a mini rubidium atomic microwave clock, a chip atomic clock, a mini air chamber type optical clock and a mini cesium atomic beam microwave clock, by any other type of atomic clock with the requirements of temperature and frequency control. The replacement includes replacement of different temperature control objects, such as a laser, an atomic gas chamber, an atomic beam device and an atomic furnace, into any other critical part inside an atomic clock which needs high-precision temperature control. Therefore, the invention should not be limited to the embodiments disclosed, but the scope of the invention is defined by the appended claims.

Claims (10)

1. A method for realizing a high-stability atomic clock based on Kalman filtering optimal state estimation is characterized in that,
by adopting a Kalman filtering algorithm and a PID control technology, a Kalman filter is utilized to effectively filter signals, the filtered signals are fed back to a PID controller, and the influence of process noise and measurement noise on system control parameters is reduced, so that the optimization of the control parameters is realized, the control effect is improved, the control system quickly tends to a stable state, and the frequency stability of the atomic clock system is greatly improved;
the atomic clock with high requirement on temperature control precision is controlled by the Kalman filtering technology, so that the influence of temperature on atomic transition frequency is obviously improved, and the drift of the stability of the medium-and-long-term frequency of the system is inhibited, thereby greatly improving the medium-and-long-term stability of the atomic clock system;
the high-stability atomic clock based on Kalman filtering optimal state estimation comprises: the system comprises a Kalman filtering module, a controlled oscillator with a Kalman filtering matching function, a frequency multiplication and frequency comprehensive transformation circuit with a Kalman filtering matching function, an atomic frequency discriminator, a high-speed detector and a PID (proportion integration differentiation) controller with a Kalman filtering matching function;
the high-stability atomic clock implementation method based on Kalman filtering optimal state estimation comprises the following steps:
1) transmitting an electromagnetic oscillation signal sent by a controlled oscillator with a Kalman filtering function to a frequency doubling and frequency comprehensive transformation circuit with the Kalman filtering function to obtain an electromagnetic wave signal with the frequency close to the atomic frequency;
2) the atomic frequency discriminator responds to the electromagnetic wave signal generated in the step 1) when receiving the electromagnetic wave signal, and transmits or absorbs the electromagnetic wave signal with corresponding frequency; the transmitted or absorbed electromagnetic wave signals are received by a high-speed detector;
3) the electric signal output by the high-speed detector is transmitted to a PID controller with a matched Kalman filtering function for resolving, and the electric signal obtained by measuring the electromagnetic wave signal output by the frequency doubling and frequency comprehensive transformation circuit with the matched Kalman filtering function and the electromagnetic wave signal are input into a Kalman filtering module for filtering;
4) the Kalman filtering module specifically uses a recursion mode to calculate the minimum mean square error of the measured value and the predicted value at each moment, and on the basis of obtaining the predicted value at the previous moment, linear correction is carried out according to the measured value at the current moment to obtain the more accurate optimal predicted value estimation of the current moment to the next moment;
5) and (3) feeding the signal filtered by the Kalman filtering module in the step 3) back to a PID controller with a matched Kalman filtering function, performing optimal estimation on PID control parameters, and feeding back the generated Kalman filtering servo signal to adjust the output frequency of a controlled oscillator with the matched Kalman filtering function in the step 1), thereby realizing the signal output with high frequency stability.
2. The method for implementing a highly stable atomic clock based on kalman filter optimal state estimation as claimed in claim 1, wherein in step 2), the electromagnetic wave of the corresponding frequency emitted or absorbed by the atomic frequency discriminator is called as a resonance signal; when the frequency of the electromagnetic wave signal received by the atomic frequency discriminator is completely the same as the self frequency, the resonance signal is strongest; when the frequency of the received electromagnetic wave signal deviates, the resonance signal is weakened; and judging whether the frequency of the external electromagnetic wave signal is consistent with the atomic frequency or not and the deviation degree of the frequency according to the magnitude of the resonance signal and the position of the distance peak value of the resonance signal.
3. The method for implementing a highly stable atomic clock based on kalman filter optimal state estimation according to claim 1, wherein in step 3), the filtering algorithm in the kalman filter module employs a bayesian estimation, a regression algorithm or an exponential smoothing prediction method.
4. The method as claimed in claim 1, wherein the filtering algorithm in the kalman module is a recursive linear minimum variance estimation method, and based on the estimated value obtained at the previous time, the linear correction is performed according to the measured value at the current time to obtain the estimated value of the optimal state at the current time;
the Kalman filtering algorithm is divided into a prediction process and an updating process;
the prediction process specifically comprises the following steps: assuming that the moment k is the current moment, estimating the state of the system at the moment k according to the predicted value at the moment k-1 to obtain a pre-estimated value of the system at the moment k;
the updating process specifically comprises the following steps: and measuring the current value of the system at the moment k by using the measuring instrument, correcting and updating the pre-estimated value of the system to obtain a predicted value at the moment k, and calculating the pre-estimated value at the next moment (the moment k + 1).
5. The method for implementing a high-stability atomic clock based on Kalman filtering optimal state estimation as claimed in claim 4, wherein the Kalman state equation and measurement equation expressions are as follows:
x(k)=Ax(k-1)+Bu(k-1)+ω(k-1)
yν(k)=Cx(k)+ν(k)
wherein x (k) is a state signal of the atomic clock system, yν(k) Is a measurement signal of an atomic clock system, omega (k) is a process noise signal, and nu (k) is a measurement noise signal;
the time update equation for the Kalman filter module is expressed as:
Figure FDA0003477300530000021
Figure FDA0003477300530000022
the state update performance equation of the kalman filter module is expressed as:
Figure FDA0003477300530000023
Figure FDA0003477300530000024
Figure FDA0003477300530000025
wherein,
Figure FDA0003477300530000026
is a pre-estimated value of the time of the atomic clock system k,
Figure FDA0003477300530000027
and
Figure FDA0003477300530000028
respectively are the predicted values of the atomic clock system at the time k-1 and the time k,
Figure FDA0003477300530000029
is a pre-estimated value covariance, P, of the atomic clock system at time kk-1And PkThe covariance of predicted values at the time k-1 and the time k of the atomic clock system, H is a transformation matrix from state variables to measurement, A is a state transition matrix, and B is an inputA matrix of transitions to states, Q being the process noise covariance, R being the measurement noise covariance, KkIs a Kalman filter coefficient, zkIs the filtered input.
6. The method for implementing a highly stable atomic clock based on kalman filter optimal state estimation according to claim 1, wherein, in step 4), the measured value is obtained by measuring the electromagnetic wave signal output by the frequency doubling and frequency synthesis conversion circuit with the kalman filter function; the measured value comprises a system actual state value of the measurement noise; and the predicted value is obtained by the optimal estimation of the Kalman filtering module.
7. The method for implementing a high-stability atomic clock based on Kalman filtering optimal state estimation as claimed in claim 1, wherein in step 4), the Kalman filtering recursion algorithm for controlling the frequency of the atomic clock is suitable for controlling the temperature of key components in the atomic clock; the temperature control system based on Kalman filtering can comprise a Kalman filtering module, a temperature control object, a heating and refrigerating device, a thermistor and a PID controller with a Kalman filtering function; the temperature control object comprises one or more of a laser, an atomic gas chamber, an atomic beam device and an atomic furnace; the thermistor is tightly attached to the temperature control object; and the Kalman filtering module feeds back a temperature deviation signal obtained by the calculation of the temperature value measured by the thermistor and the PID controller with the Kalman filtering function to the PID controller with the Kalman filtering function after filtering to obtain the optimized PID control parameter estimation, generates a Kalman filtering servo control signal and feeds back the Kalman filtering servo control signal to the heating and refrigerating device, and realizes high-precision temperature control by controlling the on-off of the heating and refrigerating device.
8. The method for implementing a highly stable atomic clock based on kalman filter optimal state estimation according to claim 1, wherein the method is suitable for implementing all atomic clocks with temperature and frequency control requirements, including small rubidium atomic microwave clocks, chip atomic clocks, small air chamber optical clocks, and small cesium atomic beam microwave clocks.
9. A high-stability atomic clock based on Kalman filtering optimal state estimation is characterized by comprising the following steps: the system comprises a Kalman filtering module, a controlled oscillator with a Kalman filtering matching function, a frequency multiplication and frequency comprehensive transformation circuit with a Kalman filtering matching function, an atomic frequency discriminator, a high-speed detector and a PID (proportion integration differentiation) controller with a Kalman filtering matching function;
electromagnetic oscillation signals sent by a controlled oscillator with a Kalman filtering function are transmitted to a frequency doubling and frequency comprehensive transformation circuit with the Kalman filtering function, and electromagnetic wave signals with the frequency close to the atomic frequency are obtained;
the atomic frequency discriminator responds when receiving the electromagnetic wave signal, emits or absorbs the electromagnetic wave with corresponding frequency, and the electromagnetic wave is received by the high-speed detector, and the electromagnetic wave is also called as a resonance signal;
when the frequency of the electromagnetic wave signal received by the atomic frequency discriminator is completely the same as the self frequency, the resonance signal is strongest, and the resonance signal is weakened when the frequency deviates; judging whether the frequency of the external electromagnetic wave signal is consistent with the atomic frequency or not and the deviation degree of the frequency according to the magnitude of the resonance signal and the position of the resonance signal away from the peak value;
the signal output by the high-speed detector is transmitted to a PID controller with a matched Kalman filtering function for resolving, and is input to a Kalman filtering module together with the measured frequency multiplication of the matched Kalman filtering function and the frequency signal output by the frequency comprehensive transformation circuit;
the signal filtered by the Kalman filtering module is fed back to a PID controller with a matched Kalman filtering function, optimal estimation is carried out on PID control parameters, and the generated Kalman filtering servo signal is used for feedback adjustment of the output frequency of a controlled oscillator with the matched Kalman filtering function, so that signal output with high frequency stability is realized.
10. The atomic clock with high stability based on the kalman filter optimal state estimation according to claim 9, wherein the kalman filter based temperature control system including the kalman filter module for controlling the frequency of the atomic clock is used for controlling the temperature of key components inside the atomic clock; the temperature control system comprises a Kalman filtering module, a temperature control object, a heating and refrigerating device, a thermistor and a PID controller with a Kalman filtering function; the temperature control object comprises one or more of a laser, an atomic gas chamber, an atomic beam device and an atomic furnace; the heating and refrigerating device adopts a heating plate or a heating wire; the thermistor is tightly attached to the temperature control object and used for sensing the temperature; the Kalman filtering module is used for fusing a temperature value measured by the thermistor with a temperature deviation signal calculated by a PID controller with a Kalman filtering function, feeding the temperature value back to the PID controller with the Kalman filtering function after filtering to obtain an optimized PID control parameter estimation, generating a Kalman filtering servo control signal from the optimal PID control parameter estimation, feeding the Kalman filtering servo control signal back to the heating and refrigerating device, and controlling the on-off of the heating and refrigerating device to realize high-precision temperature control.
CN202110247273.6A2021-03-052021-03-05High-stability atomic clock based on Kalman filtering optimal state estimation and implementation methodActiveCN113064339B (en)

Priority Applications (1)

Application NumberPriority DateFiling DateTitle
CN202110247273.6ACN113064339B (en)2021-03-052021-03-05High-stability atomic clock based on Kalman filtering optimal state estimation and implementation method

Applications Claiming Priority (1)

Application NumberPriority DateFiling DateTitle
CN202110247273.6ACN113064339B (en)2021-03-052021-03-05High-stability atomic clock based on Kalman filtering optimal state estimation and implementation method

Publications (2)

Publication NumberPublication Date
CN113064339A CN113064339A (en)2021-07-02
CN113064339Btrue CN113064339B (en)2022-03-18

Family

ID=76559896

Family Applications (1)

Application NumberTitlePriority DateFiling Date
CN202110247273.6AActiveCN113064339B (en)2021-03-052021-03-05High-stability atomic clock based on Kalman filtering optimal state estimation and implementation method

Country Status (1)

CountryLink
CN (1)CN113064339B (en)

Families Citing this family (2)

* Cited by examiner, † Cited by third party
Publication numberPriority datePublication dateAssigneeTitle
CN114355753B (en)*2021-12-282024-03-29北京无线电计量测试研究所Optical frequency atomic clock closed-loop locking state detection system
CN118259711A (en)*2024-03-262024-06-28浙江工业大学 Atomic gas room temperature control device and method based on Kalman filtering

Citations (7)

* Cited by examiner, † Cited by third party
Publication numberPriority datePublication dateAssigneeTitle
CN102799102A (en)*2012-07-032012-11-28华中科技大学Self-tuning method and device for temperature control parameters of passive CPT (Coherent Population Trapping) atomic clock
CN108199712A (en)*2017-12-012018-06-22北京无线电计量测试研究所A kind of CPT atomic frequencies tame control circuit
CN207650573U (en)*2017-11-292018-07-24山东航天电子技术研究所A kind of precise synchronization system based on multi-source time service
CN108873977A (en)*2018-07-042018-11-23中北大学Miniature low-power consumption active digital temperature control device and method based on chip atomic clock
CN110609462A (en)*2019-09-202019-12-24西安空间无线电技术研究所 A high-stability clock synthesis device and method based on atomic clock group
CN110768666A (en)*2019-10-282020-02-07南京工程学院Kalman filter-based double-synchronous coordinate system decoupling phase-locked loop system and method
CN110869805A (en)*2017-07-072020-03-06伟摩有限责任公司Vehicle sensor synchronization using an external clock source

Family Cites Families (3)

* Cited by examiner, † Cited by third party
Publication numberPriority datePublication dateAssigneeTitle
US8214147B2 (en)*2007-03-212012-07-03Nav-Track, Inc.Navigation unit and base station
CN112055568B (en)*2018-03-302024-08-16爱惜康有限责任公司 Bipolar combined device for automatic pressure regulation based on energy mode
CN110784217A (en)*2019-10-112020-02-11浙江法拉第激光科技有限公司Cesium microwave atomic clock based on microwave-optical frequency modulation transfer technology and implementation method

Patent Citations (7)

* Cited by examiner, † Cited by third party
Publication numberPriority datePublication dateAssigneeTitle
CN102799102A (en)*2012-07-032012-11-28华中科技大学Self-tuning method and device for temperature control parameters of passive CPT (Coherent Population Trapping) atomic clock
CN110869805A (en)*2017-07-072020-03-06伟摩有限责任公司Vehicle sensor synchronization using an external clock source
CN207650573U (en)*2017-11-292018-07-24山东航天电子技术研究所A kind of precise synchronization system based on multi-source time service
CN108199712A (en)*2017-12-012018-06-22北京无线电计量测试研究所A kind of CPT atomic frequencies tame control circuit
CN108873977A (en)*2018-07-042018-11-23中北大学Miniature low-power consumption active digital temperature control device and method based on chip atomic clock
CN110609462A (en)*2019-09-202019-12-24西安空间无线电技术研究所 A high-stability clock synthesis device and method based on atomic clock group
CN110768666A (en)*2019-10-282020-02-07南京工程学院Kalman filter-based double-synchronous coordinate system decoupling phase-locked loop system and method

Non-Patent Citations (2)

* Cited by examiner, † Cited by third party
Title
R. Hardin ; M. Yankowski.Performance of a PID phase lock loop with Kalman filtered input data (GPS data).《 Proceedings of the 1992 IEEE Frequency Control Symposium》.2002,*
面向电力系统的时间同步系统关键技术研究;吴玉锋;《中国优秀硕士学位论文全文数据库 (工程科技Ⅱ辑)》;20200715;全文*

Also Published As

Publication numberPublication date
CN113064339A (en)2021-07-02

Similar Documents

PublicationPublication DateTitle
CN113064339B (en)High-stability atomic clock based on Kalman filtering optimal state estimation and implementation method
US10911054B2 (en)Digital-to-time converter (DTC) assisted all digital phase locked loop (ADPLL) circuit
Hu et al.140-GHz gyrotron experiments based on a confocal cavity
CN113176725A (en)Laser chip atomic clock based on Kalman filtering and/or DFB and implementation method
CN101091316A (en) VCO Center Frequency Tuning and Limiting Gain Variation
US20180013384A1 (en)Temperature-compensated crystal oscillator based on analog circuit
JP2017118192A (en)Timing signal generation device, electronic apparatus and mobile
CN108809420B (en)Laser-based wireless frequency transmission system, and transmission device and transmission method thereof
EP3652818B1 (en)Cavity stabilized laser drift compensation
Wu et al.Semidefinite relaxation for moving target localization in asynchronous MIMO systems
CN113075873B (en)Rubidium atom small optical clock based on Kalman filtering temperature and frequency control and implementation method
CN118472787B (en)Laser-based temperature control system and method
CN114172611A (en)Time synchronization method based on laser frequency deviation locking frequency transmission
US20190245315A1 (en)Atomic oscillator
CN114142925A (en)Optical carrier radio frequency carrier frequency measuring system
CN111224909B (en)Frequency compensation method, device, user terminal and storage medium
CN116961786B (en) A transmission channel delay self-calibration device and method for a long-wave transmitter
CN101488751B (en)Measurement system and method for temperature frequency correcting apparatus
CN113835330B (en)Cesium beam atomic clock based on coherent population trapping technology
CN117954954A (en)Automatic compensation method and compensation system for output power of laser
CN208607357U (en)Based on numerically controlled intelligent auto frequency control apparatus
JP2017011680A (en)Atomic oscillator
CN110989325B (en)Digital servo device and using method
CN116068586B (en)GNSS time service receiver LQG clock controller parameter design method
Kwon et al.Control of the RF system for the Helium RFQ

Legal Events

DateCodeTitleDescription
PB01Publication
PB01Publication
SE01Entry into force of request for substantive examination
SE01Entry into force of request for substantive examination
GR01Patent grant
GR01Patent grant

[8]ページ先頭

©2009-2025 Movatter.jp