Movatterモバイル変換


[0]ホーム

URL:


CN113040891A - Cervical vertebra anterior approach operation distraction reduction device and use method thereof - Google Patents

Cervical vertebra anterior approach operation distraction reduction device and use method thereof
Download PDF

Info

Publication number
CN113040891A
CN113040891ACN202110161586.XACN202110161586ACN113040891ACN 113040891 ACN113040891 ACN 113040891ACN 202110161586 ACN202110161586 ACN 202110161586ACN 113040891 ACN113040891 ACN 113040891A
Authority
CN
China
Prior art keywords
rod
vertebral body
reduction device
anterior cervical
plate
Prior art date
Legal status (The legal status is an assumption and is not a legal conclusion. Google has not performed a legal analysis and makes no representation as to the accuracy of the status listed.)
Pending
Application number
CN202110161586.XA
Other languages
Chinese (zh)
Inventor
肖宝钧
范李
魏玉龙
傅德皓
郭晓东
冯勇
Current Assignee (The listed assignees may be inaccurate. Google has not performed a legal analysis and makes no representation or warranty as to the accuracy of the list.)
Union Hospital Tongji Medical College Huazhong University of Science and Technology
Original Assignee
Union Hospital Tongji Medical College Huazhong University of Science and Technology
Priority date (The priority date is an assumption and is not a legal conclusion. Google has not performed a legal analysis and makes no representation as to the accuracy of the date listed.)
Filing date
Publication date
Application filed by Union Hospital Tongji Medical College Huazhong University of Science and TechnologyfiledCriticalUnion Hospital Tongji Medical College Huazhong University of Science and Technology
Priority to CN202110161586.XApriorityCriticalpatent/CN113040891A/en
Publication of CN113040891ApublicationCriticalpatent/CN113040891A/en
Pendinglegal-statusCriticalCurrent

Links

Images

Classifications

Landscapes

Abstract

Translated fromChinese

本发明公开了一种颈椎前路手术撑开复位装置及其使用方法,包括滑动杆、限位杆和椎体固定器,所述滑动杆和所述限位杆滑动连接,所述滑动杆和所述限位杆通过L型支撑杆与所述椎体固定器连接,所述椎体固定器包括两个并列设置的承托板和连接两个所述承托板一端的连接板,所述承托板的另一端设有固定块,所述承托板、所述连接板和所述固定块组成凹字形结构。本发明用于颈椎前路手术中的颈椎关节绞索撑开复位,可以将椎骨固定并提拉复位,手术创伤小,利于术后恢复。

Figure 202110161586

The invention discloses a distraction and reduction device for anterior cervical vertebra surgery and a method for using the same, comprising a sliding rod, a limiting rod and a vertebral body fixator, wherein the sliding rod and the limiting rod are slidably connected, and the sliding rod and The limiting rod is connected to the vertebral body fixer through an L-shaped support rod, and the vertebral body fixator includes two supporting plates arranged side by side and a connecting plate connecting one end of the two supporting plates, the The other end of the supporting plate is provided with a fixing block, and the supporting plate, the connecting plate and the fixing block form a concave-shaped structure. The invention is used for opening and reducing the noose of the cervical vertebra joint in the anterior operation of the cervical vertebra, which can fix the vertebrae, pull and reset the vertebrae, has less surgical trauma and is beneficial to postoperative recovery.

Figure 202110161586

Description

Cervical vertebra anterior approach operation distraction reduction device and use method thereof
The technical field is as follows:
the invention relates to the technical field of surgical instruments, in particular to a distraction reduction device for anterior cervical spine surgery and a using method thereof.
Background art:
the cervical vertebra degenerative disease, cervical vertebra fracture often will adopt the anterior cervical way operation in the treatment of disease such as cervical vertebra fracture, and the anterior cervical way spreader is used extensively in the anterior cervical way operation, and its effect is to spread soft tissue such as skin, muscle and two centrums at the operation in-process, makes soft tissue such as skin, muscle and intervertebral space enlarge, makes things convenient for the operation to go on. However, since the cervical vertebrae belong to a deeper tissue of a human body and muscles of the human body have good elasticity, the muscles still block the visual field of a doctor after the cervical vertebrae are expanded by the distracter in the minimally invasive surgery. The prior art solves the problems by pulling the skin and muscle around the wound outwards by a plurality of auxiliary pulling hooks, which wastes manpower resources and increases the operation side injury caused by the pulling hooks, such as trachea, esophagus or vascular sheath injury. Patent number is ZL 201510390009.2's patent is through setting up a parallel guiding device interconnect's tubular key seat, and the lower extreme of tubular key seat is equipped with a convex baffle, and at the in-process that struts the vertebra, convex baffle can strut the wound simultaneously, struts the vertebra after, and convex baffle can block the wound muscle all around and kick-back for the operation doctor also can obtain good field of vision under the unmanned supplementary circumstances. However, when the cervical vertebra is propped open, the kirschner wire needs to be driven into the vertebra, the stress of the vertebra is point stress, the vertebra is easy to crack for patients with osteoporosis, and for patients with cervical vertebra joint sling, because the dislocation between two vertebrae occurs, the vertebra can not be reset simply by a stretching mode, the resetting operation is difficult, sometimes even the operation is carried out by reopening an operation path at the posterior of the cervical vertebra, the resetting can be successfully carried out, the operation wound is large, and the postoperative recovery is slow.
The invention content is as follows:
technical problem to be solved
Aiming at the defects of the prior art, the invention provides a distraction reduction device for an anterior cervical vertebra operation and a using method thereof, which are used for distraction reduction of cervical vertebra joint guy cables in the anterior cervical vertebra operation and solve the problems that the cervical vertebra joint guy cables are difficult to reduce in the anterior cervical vertebra operation, the operation is difficult, the reduction needs to be carried out through the posterior cervical vertebra operation, the operation wound is large, and the recovery is slow.
(II) technical scheme
In order to solve the technical problems, the invention provides the following technical scheme: the utility model provides a cervical spine anterior approach operation struts resetting means, includes slide bar, gag lever post and centrum fixer, the slide bar with gag lever post sliding connection, the slide bar with the gag lever post pass through L type bracing piece with the centrum fixer is connected, the centrum fixer includes two bearing board that set up side by side and connects two the connecting plate of bearing board one end, the other end of bearing board is equipped with the fixed block, the bearing board the connecting plate with the character cut in bas-relief structure is constituteed to the fixed block.
The sliding rod can move along the limiting rod, the vertebral body fixator connected with the sliding rod and the limiting rod respectively can adjust the distance so as to be conveniently inserted into the gap between two adjacent vertebrae, the two vertebral body fixators are respectively used for fixing the adjacent vertebrae, the bearing plate is used for being attached to the end face of a vertebra, the fixing block and the connecting block are respectively attached to two side faces of the vertebra to fix and clamp the vertebra, the L-shaped supporting rod has certain elasticity and can be pulled, after the distance between two adjacent vertebrae is expanded by adjusting the sliding rod, the two adjacent vertebrae can be relatively translated by pulling the L-shaped support rod, therefore, the vertebra with the joint sling is reset, the whole operation process does not need to punch holes on the vertebra, the operation steps are simple, the operation wound is small, and the postoperative recovery is facilitated.
Further, the side of slide bar is equipped with the rack, be equipped with the patchhole on the gag lever post, be equipped with the gear in the gag lever post, the slide bar inserts in the gag lever post, the rack with the gear cooperation, the gag lever post outside be equipped with gear connection's knob, the gear with the rack cooperation can pass through knob control the slide bar slides, is convenient for adjust two the interval of centrum fixer, the operation of conveniently strutting the vertebra.
Furthermore, a clamping plate is rotatably connected to the limiting rod, a compression spring is arranged between one side of the clamping plate and the outer wall of the limiting rod, the other side of the clamping plate is inserted into a tooth gap on the rack, and the clamping plate is used for clamping the position of the rack after the position of the sliding rod is adjusted, so that the rack is prevented from freely moving, and the space between the two vertebral body fixing devices is ensured to be fixed.
Further, the bearing plate is a telescopic adjusting plate, so that the whole length of the bearing plate can be adjusted conveniently, the vertebrae can be adjusted according to the width of the vertebrae of different patients, the vertebrae can be guaranteed to be clamped and fastened by the fixing block and the connecting block, and loosening is avoided.
Further, the bearing plate comprises a fixed section and a movable section, the fixed section is provided with a chute, an inserting rod inserted into the sliding groove is arranged on the movable section, an extension spring is arranged between the inserting rod and the inner wall of the sliding groove, the fixed section is provided with an adjusting screw rod, the adjusting screw rod is in threaded connection with the fixed section, the end part of the adjusting screw rod is inserted into the chute and is contacted with the end surface of the insertion rod, the adjusting screw rod is coaxial with the extension spring and penetrates through the extension spring, the inserting rod can slide in the sliding groove, the whole length of the bearing plate is convenient to adjust, the adjusting screw is used for propping against the end part of the inserting rod to push the inserting rod to move, the extension spring is used for pulling the inserting rod to move, and the length adjustment of the bearing plate can be realized by rotating the adjusting screw.
Furthermore, the bearing plate is oval, the outer side surface of the bearing plate has an inclination of 1-3 degrees and is provided with saw-tooth-shaped protrusions, so that the outer side surface of the bearing plate is conveniently attached to and clamped with a vertebral body, and the vertebral body is prevented from sliding relatively when being stretched and reset.
Furthermore, both sides of the connecting plate are provided with positioning screw holes, and the positioning screw holes are used for screwing in positioning screws when large pulling force is needed to strengthen and fix the vertebra so as to prevent the vertebra from slipping when the vertebral body fixator is pulled.
Furthermore, a connecting screw rod is arranged in the middle section of the connecting plate, a threaded sleeve is arranged on the L-shaped supporting rod, the connecting screw rod is connected with the threaded sleeve in a matched mode, the connecting plate is matched with the threaded sleeve through the connecting screw rod, anti-skidding protrusions are arranged on the outer side of the threaded sleeve, the threaded sleeve can pull the vertebral body fixator to move back and forth through rotation, the vertebral body fixator can be conveniently stretched and reset, the vertebral body fixator can be detached from the L-shaped supporting rod, and the L-shaped supporting rod is convenient to clean and store after use is finished.
Furthermore, the length of the bearing plate is 12-18mm, the height of the fixing block is 1-3mm, and the fixing block is matched with the size of the vertebra of an ordinary person, so that the clamping effect is guaranteed.
The invention also discloses a use method of the cervical vertebra anterior surgery distraction reduction device, which comprises the following steps:
when an anterior cervical vertebra operation is performed, the distance between the sliding rod and the two vertebral body fixing devices on the limiting rod is adjusted by moving the sliding rod, so that the distance between the two vertebral body fixing devices is reduced, and one end of the bearing plate with the fixing block is inserted into a gap between two adjacent vertebrae, so that the vertebrae are fixedly clamped between the fixing block and the connecting plate;
moving the sliding rod, adjusting the distance between the sliding rod and the two vertebral body fixators on the limiting rod, increasing the distance between the two vertebral body fixators, and propping open two adjacent vertebrae;
and step three, lifting the L-shaped supporting rod, restoring the two adjacent vertebrae which are vertically adjacent and generate the joint rope, then loosening the L-shaped supporting rod, and adjusting the distance between the sliding rod and the two vertebral body fixing devices on the limiting rod to separate the vertebral body fixing devices from the vertebrae, so that the vertebral body restoration is completed.
(III) the beneficial effects are as follows:
the invention has the beneficial effects that: the sliding rod and the limiting rod which are mutually connected in a sliding way are respectively provided with the vertebral body fixer, the sliding rod and the limiting rod are connected with the vertebral body fixer through the L-shaped supporting rod, the vertebral body fixer comprises two bearing plates which are arranged in parallel and a connecting plate which is connected with one ends of the two bearing plates, the other end of the bearing plate is provided with a fixing block, the bearing plates, the connecting plate and the fixing block form a concave structure, the vertebral body fixer can be inserted into a gap between two adjacent vertebrae during anterior cervical vertebra surgery, the vertebrae are fixedly clamped through the bearing plates, the fixing blocks and the connecting block, after the distance between the two adjacent vertebrae is expanded through adjusting the sliding rod, the L-shaped supporting rod can be lifted, so that the two adjacent vertebrae can be relatively translated, the vertebrae with joint cables are reset without punching on the vertebrae, the vertebrae are stressed in a planar manner, and are not easy to generate bone fracture, and the operation steps are simple, the operation wound is small, and the postoperative recovery is facilitated.
Description of the drawings:
in order to more clearly illustrate the technical solution of the present invention, the drawings required to be used in the embodiments will be briefly described below.
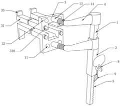
Fig. 1 is a schematic overall structure diagram of a distraction reduction device for anterior cervical spine surgery according to a first embodiment of the invention;
fig. 2 is a schematic structural view of the vertebral body fixator of the distraction reduction device for anterior cervical spine surgery according to the first embodiment of the invention;
fig. 3 is a structural cross-sectional view of the vertebral body fixator of the anterior cervical spine surgical distraction reduction device according to the first embodiment of the invention;
fig. 4 is a partial structural cross-sectional view of the limiting rod of the distraction reduction device for anterior cervical spine surgery according to the first and second embodiments of the invention;
fig. 5 is a schematic side view of a distraction reduction device for anterior cervical spine surgery according to a first embodiment of the invention;
fig. 6 is a schematic front structural view of a distraction reduction device for anterior cervical spine surgery according to a first embodiment of the invention in use;
fig. 7 is a schematic overall structure diagram of a distraction reduction device for anterior cervical spine surgery according to a second embodiment of the invention;
fig. 8 is a schematic structural view of the vertebral body fixator of the distraction reduction device for anterior cervical spine surgery according to the second embodiment of the invention;
fig. 9 is a structural cross-sectional view of the vertebral body fixator of the anterior cervical spine surgical distraction reduction device according to the second embodiment of the invention;
fig. 10 is a schematic side view of a distraction reduction device for anterior cervical spine surgery according to a second embodiment of the invention;
fig. 11 is a schematic front structural view of a distraction reduction device for anterior cervical spine surgery according to a second embodiment of the invention in use;
in the figure: 1. a slide bar; 2. a limiting rod; 3. a vertebral body fixator; 31. a support plate; 311. a fixed section; 312. an active segment; 313. a chute; 314. an insertion rod; 315. an extension spring; 316. adjusting the screw rod; 32. a connecting plate; 33. a fixed block; 4. an L-shaped support bar; 5. a rack; 6. an insertion hole; 7. a gear; 8. a knob; 9. clamping a plate; 10. a compression spring; 11. positioning the screw hole; 12. connecting a screw rod; 13. a threaded bushing; 14. anti-skid projections; 15. a sawtooth-shaped bulge; 16. vertebra of spine
The specific implementation mode is as follows:
the technical solution in the embodiments of the present invention will be clearly and completely described below with reference to the accompanying drawings in the embodiments of the present invention.
Example one
As shown in fig. 1, fig. 2, fig. 3, fig. 4, fig. 5 and fig. 6, the distraction reduction device for anterior cervical spine surgery comprises a slidingrod 1, a limitingrod 2 and avertebral body fixer 3, wherein the slidingrod 1 is connected with the limitingrod 2 in a sliding manner, the slidingrod 1 is connected with thevertebral body fixer 3 through an L-shaped supportingrod 4, thevertebral body fixer 3 comprises two bearingplates 31 arranged in parallel and a connectingplate 32 connected with one ends of the two bearingplates 31, the other end of the bearingplate 31 is provided with a fixingblock 33, and the bearingplates 31, the connectingplate 32 and the fixingblock 33 form a concave structure.
Preferably, the side ofslide bar 1 is equipped withrack 5, is equipped withpatchhole 6 on thegag lever post 2, is equipped withgear 7 in thegag lever post 2, and slidebar 1 inserts ingag lever post 2,rack 5 and the cooperation ofgear 7, andgag lever post 2 outside is equipped with theknob 8 of being connected withgear 7, andgear 7 and the cooperation ofrack 5 can slide throughknob 8control slide bar 1, are convenient for adjust the interval of twocentrum fixer 3, conveniently strut the operation ofvertebra 16.
Preferably, the limitingrod 2 is rotatably connected with a clamping plate 9, acompression spring 10 is arranged between one side of the clamping plate 9 and the outer wall of the limitingrod 2, the other side of the clamping plate 9 is inserted into a tooth gap on therack 5, and the clamping plate 9 is used for clamping the position of therack 5 after the position of the slidingrod 1 is adjusted, so that therack 5 is prevented from freely moving, and the space between the two vertebralbody fixing devices 3 is ensured to be fixed.
Preferably, the supportingplate 31 is a telescopic adjusting plate, which facilitates adjustment of the overall length of the supportingplate 31, so as to adjust the width of the vertebrae of different patients, and ensure that thevertebrae 16 are clamped and fastened by the fixing blocks 33 and the connectingblocks 32, thereby avoiding loosening.
Preferably, the supportingplate 31 includes a fixedsection 311 and amovable section 312, the fixedsection 311 is provided with a slidingslot 313, themovable section 312 is provided with aninsertion rod 314 inserted into the slidingslot 313, anextension spring 315 is arranged between theinsertion rod 314 and an inner wall of the slidingslot 313, the fixedsection 311 is provided with anadjustment screw 316, theadjustment screw 316 is in threaded connection with the fixedsection 311, an end of theadjustment screw 316 is inserted into the slidingslot 313 and contacts with an end surface of theinsertion rod 314, theadjustment screw 316 is coaxial with theextension spring 315 and passes through theextension spring 315, theinsertion rod 314 can slide in the slidingslot 313, so as to adjust the overall length of the supportingplate 31, theadjustment screw 316 is used for propping against an end of theinsertion rod 314 to push theinsertion rod 314 to move, theextension spring 315 is used for pulling theinsertion rod 314 to move, and the length adjustment of the supporting plate.
Preferably, the connectingplate 32 is provided with positioning screw holes 11 on both sides, and the positioning screw holes 11 are used for screwing in positioning screws to strengthen the fixation of thevertebra 16 when a large pulling force is needed, so as to prevent thevertebra 16 from slipping when thevertebral body fixer 3 is pulled.
Preferably, the middle section of connectingplate 32 is equipped with connectingscrew 12, be equipped with threadedsleeve 13 on the Ltype bracing piece 4, connectingscrew 12 is connected with threadedsleeve 13 cooperation, connectingplate 32 passes through connectingscrew 12 and threadedsleeve 13 cooperation, threadedsleeve 13's the outside is equipped with non-slip raised 14, can stimulate 3 back-and-forth movements of centrum fixer through rotatory threadedsleeve 13, conveniently stretch and reset to the centrum, centrumfixer 3 also can be pulled down from Ltype bracing piece 4, the clearance after finishing convenient to use is deposited with accomodating.
Preferably, the length of the supportingplate 31 is 12-18mm, and the height of the fixingblock 33 is 1-3mm, which is matched with the size of the vertebra of the ordinary person to ensure the clamping effect.
The use method of the distraction reduction device for the anterior cervical vertebra operation in the embodiment of the invention is as follows:
step one, when an anterior cervical vertebra operation is performed, pressing down a clamping plate 9 to enable the clamping plate to move out of a tooth gap of arack 5, screwing aknob 8, adjusting the distance between twovertebral body fixtures 3 on a slidingrod 1 and a limitingrod 2 by moving the slidingrod 1 to enable the distance between the twovertebral body fixtures 3 to be reduced, loosening the clamping plate 9, inserting one end of the clamping plate into the tooth gap of therack 5, locking the position of the slidingrod 1, inserting one end of a bearingplate 31 with a fixingblock 33 from the gap between twoadjacent vertebrae 16 to enable the fixingblock 33 and a connectingblock 32 to be respectively attached to the front side and the rear side of thevertebrae 16, and rotating an adjustingscrew 316 to enable thevertebrae 16 to be fixedly clamped between the fixingblock 33 and the connectingblock 32;
secondly, pressing down the clamping plate 9 to move the clamping plate out of the tooth gap of therack 5, screwing theknob 8, adjusting the distance between the twovertebral body fixers 3 on the slidingrod 1 and the limitingrod 2 to increase the distance between the twovertebral body fixers 3, spreading twoadjacent vertebrae 16 with joint ropes, loosening the clamping plate 9, inserting one end of the clamping plate into the tooth gap of therack 5, and locking the position of the slidingrod 1;
and step three, lifting the L-shapedsupport rod 4 or rotating the threadedsleeve 13 to move thevertebral body fixator 3 back and forth, resetting the two adjacent upper andlower vertebrae 16 with the joint cable, loosening the L-shapedsupport rod 4, and rotating the adjustingscrew 316 and theknob 8 to separate thevertebral body fixator 3 from thevertebrae 16 to complete the resetting of thevertebrae 16.
Example two
As shown in fig. 4, 7, 8, 9, 10, 11, the distraction reduction device for anterior cervical spine surgery comprises a slidingrod 1, a limitingrod 2 and avertebral body fixer 3, wherein the slidingrod 1 is connected with the limitingrod 2 in a sliding manner, the slidingrod 1 is connected with thevertebral body fixer 3 through an L-shaped supportingrod 4, thevertebral body fixer 3 comprises two bearingplates 31 arranged in parallel and a connectingplate 32 connected with one ends of the two bearingplates 31, and the other ends of the bearingplates 31 are provided with fixing blocks 33.
Preferably, the side ofslide bar 1 is equipped withrack 5, is equipped withpatchhole 6 on thegag lever post 2, is equipped withgear 7 in thegag lever post 2, and slidebar 1 inserts ingag lever post 2,rack 5 and the cooperation ofgear 7, andgag lever post 2 outside is equipped with theknob 8 of being connected withgear 7, andgear 7 and the cooperation ofrack 5 can slide throughknob 8control slide bar 1, are convenient for adjust the interval of twocentrum fixer 3, conveniently strut the operation ofvertebra 16.
Preferably, the limitingrod 2 is rotatably connected with a clamping plate 9, acompression spring 10 is arranged between one side of the clamping plate 9 and the outer wall of the limitingrod 2, the other side of the clamping plate 9 is inserted into a tooth gap on therack 5, and the clamping plate 9 is used for clamping the position of therack 5 after the position of the slidingrod 1 is adjusted, so that therack 5 is prevented from freely moving, and the space between the two vertebralbody fixing devices 3 is ensured to be fixed.
Preferably, the supportingplate 31 is oval, the outer side surface of the supportingplate 31 has an inclination of 1-3 degrees and is provided with the saw-tooth-shapedprotrusions 15, so that the outer side surface of the supportingplate 31 can be attached to and clamped with the vertebral body conveniently, and the vertebral body is prevented from sliding relatively when being stretched and restored.
Preferably, the middle section of connectingplate 32 is equipped with connectingscrew 12, be equipped with threadedsleeve 13 on the Ltype bracing piece 4, connectingscrew 12 is connected with threadedsleeve 13 cooperation, connectingplate 32 passes through connectingscrew 12 and threadedsleeve 13 cooperation, threadedsleeve 13's the outside is equipped with non-slip raised 14, can stimulate 3 back-and-forth movements of centrum fixer through rotatory threadedsleeve 13, conveniently stretch and reset to the centrum, centrumfixer 3 also can be pulled down from Ltype bracing piece 4, the clearance after finishing convenient to use is deposited with accomodating.
Preferably, the connectingplate 32 is provided with positioning screw holes 11 on both sides, and the positioning screw holes 11 are used for screwing in positioning screws to strengthen the fixation of thevertebra 16 when a large pulling force is needed, so as to prevent thevertebra 16 from slipping when thevertebral body fixer 3 is pulled.
The application method of the distraction reduction device for the anterior cervical vertebra surgery in the embodiment II of the invention is as follows:
step one, when an anterior cervical vertebra operation is performed, pressing down a clamping plate 9 to enable the clamping plate to move out of a tooth gap of arack 5, screwing aknob 8, adjusting the distance between two vertebralbody fixing devices 3 on a slidingrod 1 and a limitingrod 2 by moving the slidingrod 1 to enable the distance between the two vertebralbody fixing devices 3 to be reduced, loosening the clamping plate 9, inserting one end of the clamping plate into the tooth gap of therack 5, locking the position of the slidingrod 1, inserting one end of a bearingplate 31 with a fixingblock 33 from the gap between twoadjacent vertebrae 16 to enable the fixingblock 33 and a connectingblock 32 to be respectively attached to the front side and the rear side of thevertebrae 16, attaching the bottom surface of thevertebrae 16 to a sawtooth-shapedbulge 15, and preventing sliding during lifting;
secondly, pressing down the clamping plate 9 to move the clamping plate out of the tooth gap of therack 5, screwing theknob 8, adjusting the distance between the twovertebral body fixers 3 on the slidingrod 1 and the limitingrod 2 to increase the distance between the twovertebral body fixers 3, spreading twoadjacent vertebrae 16 with joint ropes, loosening the clamping plate 9, inserting one end of the clamping plate into the tooth gap of therack 5, and locking the position of the slidingrod 1;
and step three, lifting the L-shapedsupport rod 4 or rotating the threadedsleeve 13 to move thevertebral body fixator 3 back and forth, resetting the two adjacent upper andlower vertebrae 16 with the joint cable, loosening the L-shapedsupport rod 4, and rotating theknob 8 to separate thevertebral body fixator 3 from thevertebrae 16, so that thevertebra 16 is reset.
In conclusion, the distraction reduction device for the anterior cervical vertebra operation and the use method thereof provided by the invention are used for distraction reduction of the cervical vertebra joint guy cable in the anterior cervical vertebra operation, and solve the problems that the cervical vertebra joint guy cable is difficult to reduce in the anterior cervical vertebra operation, the operation is difficult, the reduction needs to be carried out through the posterior cervical vertebra operation, the operation wound is large, and the recovery is slow.
The present invention has been described above by way of example, but the present invention is not limited to the above-described specific embodiments, and any modification or variation made based on the present invention is within the scope of the present invention as claimed.

Claims (10)

1. The utility model provides a cervical vertebra way of escape operation struts resetting means, includes slide bar, gag lever post and centrum fixer, its characterized in that: the sliding rod with the gag lever post sliding connection, the sliding rod with the gag lever post pass through L type bracing piece with the centrum fixer is connected, the centrum fixer include two bearing board that set up side by side and connect two the connecting plate of bearing board one end, the other end of bearing board is equipped with the fixed block, the bearing board the connecting plate with the concave character shape structure is constituteed to the fixed block.
2. An anterior cervical surgical distraction reduction device according to claim 1, wherein: the side of slide bar is equipped with the rack, be equipped with the patchhole on the gag lever post, be equipped with the gear in the gag lever post, the slide bar inserts in the gag lever post, the rack with the gear cooperation, the gag lever post outside be equipped with gear connection's knob.
3. An anterior cervical surgical distraction reduction device according to claim 2, wherein: the rack is characterized in that a clamping plate is rotatably connected to the limiting rod, a compression spring is arranged between one side of the clamping plate and the outer wall of the limiting rod, and the other side of the clamping plate is inserted into a tooth gap on the rack.
4. An anterior cervical surgical distraction reduction device according to claim 1, wherein: the bearing plate is a telescopic adjusting plate.
5. An anterior cervical surgical distraction reduction device according to claim 4, wherein: the bearing plate comprises a fixed section and a movable section, a sliding groove is formed in the fixed section, an insertion rod inserted into the sliding groove is arranged on the movable section, an extension spring is arranged between the insertion rod and the inner wall of the sliding groove, an adjusting screw rod is arranged on the fixed section and is in threaded connection with the fixed section, the end portion of the adjusting screw rod is inserted into the sliding groove and is in end face contact with the insertion rod, and the adjusting screw rod is coaxial with the extension spring and penetrates through the extension spring.
6. An anterior cervical surgical distraction reduction device according to claim 1, wherein: the bearing plate is oval, the outer side face of the bearing plate is provided with an inclination of 1-3 degrees and is provided with saw-tooth-shaped protrusions.
7. An anterior cervical surgical distraction reduction device according to claim 1, wherein: and positioning screw holes are formed in the two sides of the connecting plate.
8. An anterior cervical surgical distraction reduction device according to claim 1, wherein: the middle section of connecting plate is equipped with connecting screw, be equipped with the thread bush on the L type bracing piece, connecting screw with the thread bush cooperation is connected, the outside of thread bush is equipped with anti-skidding arch.
9. An anterior cervical surgical distraction reduction device according to claim 1, wherein: the length of the bearing plate is 12-18mm, and the height of the fixing block is 1-3 mm.
10. The method of using an anterior cervical surgical distraction reduction device according to any of claims 1-9, comprising the steps of:
when an anterior cervical vertebra operation is performed, the distance between the sliding rod and the two vertebral body fixing devices on the limiting rod is adjusted by moving the sliding rod, so that the distance between the two vertebral body fixing devices is reduced, and one end of the bearing plate with the fixing block is inserted into a gap between two adjacent vertebrae, so that the vertebrae are fixedly clamped between the fixing block and the connecting plate;
moving the sliding rod, adjusting the distance between the sliding rod and the two vertebral body fixators on the limiting rod, increasing the distance between the two vertebral body fixators, and propping open two adjacent vertebrae;
and step three, lifting the L-shaped supporting rod, restoring the two adjacent vertebrae which are vertically adjacent and generate the joint rope, then loosening the L-shaped supporting rod, and adjusting the distance between the sliding rod and the two vertebral body fixing devices on the limiting rod to separate the vertebral body fixing devices from the vertebrae, so that the vertebral body restoration is completed.
CN202110161586.XA2021-02-052021-02-05Cervical vertebra anterior approach operation distraction reduction device and use method thereofPendingCN113040891A (en)

Priority Applications (1)

Application NumberPriority DateFiling DateTitle
CN202110161586.XACN113040891A (en)2021-02-052021-02-05Cervical vertebra anterior approach operation distraction reduction device and use method thereof

Applications Claiming Priority (1)

Application NumberPriority DateFiling DateTitle
CN202110161586.XACN113040891A (en)2021-02-052021-02-05Cervical vertebra anterior approach operation distraction reduction device and use method thereof

Publications (1)

Publication NumberPublication Date
CN113040891Atrue CN113040891A (en)2021-06-29

Family

ID=76508633

Family Applications (1)

Application NumberTitlePriority DateFiling Date
CN202110161586.XAPendingCN113040891A (en)2021-02-052021-02-05Cervical vertebra anterior approach operation distraction reduction device and use method thereof

Country Status (1)

CountryLink
CN (1)CN113040891A (en)

Cited By (2)

* Cited by examiner, † Cited by third party
Publication numberPriority datePublication dateAssigneeTitle
CN113693697A (en)*2021-07-222021-11-26首都医科大学宣武医院Bone block lifting system, bone block lifting auxiliary instrument and vertebral body fixing plate
TWI776602B (en)*2021-07-222022-09-01醫百科技股份有限公司 surgical spreader

Citations (4)

* Cited by examiner, † Cited by third party
Publication numberPriority datePublication dateAssigneeTitle
CN200994798Y (en)*2007-01-192007-12-26魏运动Adjusting cervical front-path supporter
CN104027164A (en)*2014-06-132014-09-10北京大学第三医院Anterior cervical intervertebral distraction repositor
CN204863425U (en)*2015-07-232015-12-16柏刁Long bone reduction of fracture ware
CN111714165A (en)*2020-05-082020-09-29四川大学华西医院 An anterior cervical facet joint twist, distraction and reduction device

Patent Citations (4)

* Cited by examiner, † Cited by third party
Publication numberPriority datePublication dateAssigneeTitle
CN200994798Y (en)*2007-01-192007-12-26魏运动Adjusting cervical front-path supporter
CN104027164A (en)*2014-06-132014-09-10北京大学第三医院Anterior cervical intervertebral distraction repositor
CN204863425U (en)*2015-07-232015-12-16柏刁Long bone reduction of fracture ware
CN111714165A (en)*2020-05-082020-09-29四川大学华西医院 An anterior cervical facet joint twist, distraction and reduction device

Cited By (4)

* Cited by examiner, † Cited by third party
Publication numberPriority datePublication dateAssigneeTitle
CN113693697A (en)*2021-07-222021-11-26首都医科大学宣武医院Bone block lifting system, bone block lifting auxiliary instrument and vertebral body fixing plate
TWI776602B (en)*2021-07-222022-09-01醫百科技股份有限公司 surgical spreader
US11642116B2 (en)2021-07-222023-05-09Eped, Inc.Surgical retractor
CN113693697B (en)*2021-07-222024-04-30首都医科大学宣武医院Bone block lifting system, bone block lifting auxiliary instrument and vertebral body fixing plate

Similar Documents

PublicationPublication DateTitle
US9498268B2 (en)Devices, systems, and methods for acetabulum repair
US4448191A (en)Implantable correctant of a spinal curvature and a method for treatment of a spinal curvature
CN103445838B (en)Long bone fracture repositioning device
CN106073869B (en)A kind of surgical instrument and operating bed of fracture-dislocation of cervical spine
CN113040891A (en)Cervical vertebra anterior approach operation distraction reduction device and use method thereof
RU2661565C1 (en)Method for osteosynthesis of floating fractures of the ribs and the device for its implementation
CN108210032B (en)Bone traction reduction fixing device and method for treating limb fracture
CN110680426A (en)Recyclable achilles tendon minimally-invasive suture instrument and novel suture mode thereof
CN113693697B (en)Bone block lifting system, bone block lifting auxiliary instrument and vertebral body fixing plate
CN103637839B (en)Rapid restorer for treating fracture of long tubular bones of limbs
CN105433998A (en)Spinal posterior adjustable operation retractor
CN111012467A (en) An automatic traction device for tibial fracture osteosynthesis
CN109276303A (en) Bone Cement Fixing Screw and Bone Cement Injection Device
CN113827330A (en) Internal fixation system for anatomical reduction of vertebral body and intravertebral bone grafting for spinal fractures
CN211560322U (en)Automatic traction device for femoral fracture coaptation operation
CN204446071U (en)Atlantoaxial dislocation reduction internal fixation device
CN207012235U (en)A kind of pedicle of vertebral arch fixed system installation tool
CN111449745A (en) A three-column fixation-based intravertebral expansion device, implant sleeve and implant method
CN111839709A (en) A quantifiable distraction-pulling device for lumbar spondylolisthesis reduction
RU177961U1 (en) DEVICE FOR OSTEOSYNTHESIS OF FLOTING Fractures
CN214208464U (en)Spinal nail rod/hook system capable of being propped open/pressurized in reduction process
CN211094595U (en)Two-way draw gear of knee joint
CN212326601U (en)Annular skin stretching and closing device
CN211050824U (en)Rehabilitation department is with sit up rehabilitation device
CN211560321U (en)Automatic traction device for lower limb fracture setting operation

Legal Events

DateCodeTitleDescription
PB01Publication
PB01Publication
SE01Entry into force of request for substantive examination
SE01Entry into force of request for substantive examination
RJ01Rejection of invention patent application after publication

Application publication date:20210629

RJ01Rejection of invention patent application after publication

[8]ページ先頭

©2009-2025 Movatter.jp