Movatterモバイル変換


[0]ホーム

URL:


CN112914595A - SPECT probe position limiting protection device - Google Patents

SPECT probe position limiting protection device
Download PDF

Info

Publication number
CN112914595A
CN112914595ACN202110385700.7ACN202110385700ACN112914595ACN 112914595 ACN112914595 ACN 112914595ACN 202110385700 ACN202110385700 ACN 202110385700ACN 112914595 ACN112914595 ACN 112914595A
Authority
CN
China
Prior art keywords
fixedly connected
probe
protection device
front side
base
Prior art date
Legal status (The legal status is an assumption and is not a legal conclusion. Google has not performed a legal analysis and makes no representation as to the accuracy of the status listed.)
Pending
Application number
CN202110385700.7A
Other languages
Chinese (zh)
Inventor
黄清明
范世雄
李想
姚旭峰
Current Assignee (The listed assignees may be inaccurate. Google has not performed a legal analysis and makes no representation or warranty as to the accuracy of the list.)
Shanghai University of Medicine and Health Sciences
Original Assignee
Shanghai University of Medicine and Health Sciences
Priority date (The priority date is an assumption and is not a legal conclusion. Google has not performed a legal analysis and makes no representation as to the accuracy of the date listed.)
Filing date
Publication date
Application filed by Shanghai University of Medicine and Health SciencesfiledCriticalShanghai University of Medicine and Health Sciences
Priority to CN202110385700.7ApriorityCriticalpatent/CN112914595A/en
Publication of CN112914595ApublicationCriticalpatent/CN112914595A/en
Pendinglegal-statusCriticalCurrent

Links

Images

Classifications

Landscapes

Abstract

Translated fromChinese

本发明涉及医学影像仪器技术领域,且公开了一种SPECT探头位置限位保护装置,包括探测机,所述探测机的前侧开设有移动槽,移动槽的内部滑动套接有移动块,移动块的前侧固定连接有探头,探头的左右两侧均固定连接有限位块,探测机的底部固定连接有基座,基座的前侧固定连接有显示屏,基座的前侧开设有滑道,滑道的内部设置有保护装置。该SPECT探头位置限位保护装置,由于下侧限位板向右移动,转动板转动套接在固定杆的表面,进而上侧限位板不会向右移动,进而上侧限位板向左的力使探头静止,进而实现探头不会出现移动出最大极限的情况,从而避免对机器造成损坏,进而有效提高了探测机的使用寿命,进而极大的减低了经济损失。

Figure 202110385700

The invention relates to the technical field of medical imaging instruments, and discloses a SPECT probe position limit protection device, comprising a detector. The front side of the detector is provided with a moving groove; The front side of the block is fixedly connected with the probe, the left and right sides of the probe are fixedly connected with the limit block, the bottom of the detector is fixedly connected with the base, the front side of the base is fixedly connected with the display screen, and the front side of the base is provided with a slide. The inside of the slideway is provided with a protective device. In the SPECT probe position limit protection device, since the lower limit plate moves to the right, the rotating plate is rotated and sleeved on the surface of the fixed rod, so that the upper limit plate does not move to the right, and the upper limit plate moves to the left. The force of the probe makes the probe static, so that the probe will not move out of the maximum limit, so as to avoid damage to the machine, thereby effectively improving the service life of the probe, thereby greatly reducing economic losses.

Figure 202110385700

Description

SPECT probe position limiting protection device
Technical Field
The invention relates to the technical field of medical imaging instruments, in particular to a SPECT probe position limiting and protecting device.
Background
The SPECT probe is a gamma ray detection device, which consists of a collimator, a scintillation crystal, a photomultiplier and a front-end electronic circuit, wherein the collimator limits the incidence direction of gamma rays, only the gamma rays with the incidence direction meeting certain conditions can enter from the front end face of the scintillation crystal and irradiate on the scintillation crystal, the traditional translation seat movement limiting mode ensures that the movement of the translation seat does not exceed the limit of the maximum stroke through software limiting or hardware limiting in the use process of the conventional SPECT probe, when the detector is used for a long time, faults can occur, such as the software for controlling the probe limiting is out of control and the like, generally most of the conventional SPECT probes do not have the position limiting protection function, and when the soft and hard limiting fails, the equipment is easy to fail, and the probe can move out of the maximum limit, thereby causing damage to the machine, the service life of the machine is reduced, and further, the greater economic loss is increased.
Disclosure of Invention
Technical problem to be solved
Aiming at the defects of the prior art, the invention provides the SPECT probe position limiting protection device which has the advantages that the probe cannot move out of the maximum limit, the damage to a machine is avoided, and the like, and the problem that the probe can move out of the maximum limit to damage the machine is solved.
(II) technical scheme
In order to achieve the purpose, the invention provides the following technical scheme: the utility model provides a SPECT probe position limit protection device, includes the detection machine, the front side of detection machine is opened and is equipped with the shifting chute, and the movable block has been cup jointed in the inside slip of shifting chute, and the front side fixedly connected with probe of movable block, the equal fixedly connected with stopper in the left and right sides of probe, the bottom fixedly connected with base of detection machine, the front side fixedly connected with display screen of base, the front side of base is opened and is equipped with the slide, and the inside of slide is provided with protection device.
Preferably, the number of the moving grooves is two, and the structures on the two moving grooves are arranged in a mirror image mode.
Preferably, the protection device includes the slider, and slider sliding connection is in the inside of slide, the first spring of left side fixedly connected with of slider, and the left end fixed connection of first spring is in the interior left side of slide, the front side fixedly connected with limiting plate of slider, the right side of limiting plate are seted up flutedly, and the inside fixedly connected with dwang of recess, the quantity of slide are two, and two slides are seted up respectively at the upper and lower both ends of base front side, and the structure on two slides is the same, and the left end fixedly connected with second spring of upside limiting plate, the left end fixedly connected with rubber sleeve of second spring, the front end fixedly connected with dead lever of base, the rotor plate has been cup jointed in the surface rotation of dead.
Preferably, the shape of rubber sleeve is the square, and the inside of rubber sleeve is cavity and does not have the right side surface, and the rubber sleeve slides and cup joints the surface at the limiting plate.
Preferably, the front side of rotor plate is opened and is equipped with the passageway, and the quantity of passageway is two, and the dwang on two limiting plates slides respectively to cup joint in the inside of two passageways.
Preferably, the structures on the left and right sides of the base are arranged in mirror image.
(III) advantageous effects
Compared with the prior art, the invention provides a SPECT probe position limiting protection device, which has the following beneficial effects:
1. the SPECT probe position limiting protection device drives the limiting block to move rightwards when the probe moves to detect, the limiting block drives the rotating plate to move rightwards under the action of the force of the limiting block, the upper end of the rotating plate drives the upper limiting plate to move now, the upper end of the rotating plate drives the upper limiting plate to move leftwards when moving leftwards, the rubber sleeve is contacted with the right side of the probe, the left force of the left end of the upper limiting plate brings a barrier to the probe, the rotating plate is rotatably sleeved on the surface of the fixed rod due to the fact that the lower limiting plate moves rightwards, the upper limiting plate cannot move rightwards, the force of the upper limiting plate enables the probe to be static, the situation that the probe moves out of the maximum limit is avoided, and damage to a machine is avoided, thereby effectively prolonging the service life of the detector and greatly reducing the economic loss.
2. This SPECT probe position limit protection device, two limiting plates drive the slider when removing in the inside of slide, and then the first spring of downside receives the pulling force of downside slider and is tensile state, and the first spring of upside receives the pressure of upside slider and is compression state, because the elasticity of first spring is great, and then the elasticity of first spring has played the cushioning effect, receives a resistance when making the probe move to the right, and then effectually plays position limiting displacement to the probe.
3. This SPECT probe position limit protection device, the material of rubber sleeve is soft, and the rubber sleeve is mutual with the probe contact back, and then the second spring receives the extrusion of probe and the spacing board of upside and forms compression state, and then has avoided leaving the vestige on the surface of probe because of the upside limiting plate is great to the resistance of probe to effectual guard action has been played the probe.
4. This SPECT probe position limit protection device because the dwang on two limiting plates slides respectively and cup joints the inside at two passageways, and then the rotor plate has increased the space of the dwang of rotor plate and upper and lower both sides when rotating, and then has avoided the rotor plate to be blocked when rotating to effectual auxiliary device has been played for the device.
Drawings
FIG. 1 is a schematic structural diagram of a SPECT probe position limiting protection device of the present invention;
FIG. 2 is a schematic diagram of a moving block structure according to the present invention;
FIG. 3 is an enlarged view of A of FIG. 2 according to the present invention;
fig. 4 is a schematic view of the internal structure of the rubber boot of the present invention.
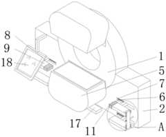
In the figure: the device comprises adetector 1, abase 2, a movinggroove 3, a movingblock 4, a probe 5, aslideway 6, afirst spring 7, asliding block 8, alimiting plate 9, asecond spring 10, arubber sleeve 11, agroove 12, arotating rod 13, afixed rod 14, arotating plate 15, achannel 16, alimiting block 17 and adisplay screen 18.
Detailed Description
The technical solutions in the embodiments of the present invention will be clearly and completely described below with reference to the drawings in the embodiments of the present invention, and it is obvious that the described embodiments are only a part of the embodiments of the present invention, and not all of the embodiments. All other embodiments, which can be derived by a person skilled in the art from the embodiments given herein without making any creative effort, shall fall within the protection scope of the present invention.
Referring to fig. 1-4, the present invention provides a new technical solution: a SPECT probe position limit protection device comprises adetector 1, wherein thedetector 1 is an existing device, too much explanation is not done here, a movinggroove 3 is arranged at the front side of thedetector 1, a movingblock 4 is sleeved in the movinggroove 3 in a sliding mode, a probe 5 is fixedly connected to the front side of the movingblock 4,limit blocks 17 are fixedly connected to the left side and the right side of the probe 5, the two existing devices are probes 5, too much explanation is not done here, the number of the movinggrooves 3 is two, structures on the two movinggrooves 3 are arranged in a mirror image mode, a person lies on a medical bed matched with thedetector 1, a part needing to be checked of the person is moved between the two probes, thedetector 1 can be started for detection, abase 2 is fixedly connected to the bottom of thedetector 1, adisplay screen 18 is fixedly connected to the front side of thebase 2, detected results can be displayed on thedisplay screen 18, when the whole area needing to be detected is more complete, thedetector 1 can control the probe 5 to move left and right;
the front side of thebase 2 is provided with aslideway 6, the interior of theslideway 6 is connected with aslide block 8 in a sliding manner, the left side of theslide block 8 is fixedly connected with afirst spring 7, the left end of thefirst spring 7 is fixedly connected with the inner left side of theslideway 6, the front side of theslide block 8 is fixedly connected with alimit plate 9, the right side of thelimit plate 9 is provided with agroove 12, the interior of thegroove 12 is fixedly connected with arotating rod 13, the number of theslideways 6 is two, the twoslideways 6 are respectively arranged at the upper end and the lower end of the front side of thebase 2, the structures of the twoslideways 6 are the same, the left end of theupper limit plate 9 is fixedly connected with asecond spring 10, the left end of thesecond spring 10 is fixedly connected with arubber sleeve 11, therubber sleeve 11 is square, the interior of therubber sleeve 11 is hollow and has no right side surface, therubber sleeve 11, the front side of therotating plate 15 is provided with twochannels 16, the number of thechannels 16 is two, the rotatingrods 13 on the twolimiting plates 9 are respectively sleeved in the twochannels 16 in a sliding manner, the structures on the left side and the right side of thebase 2 are arranged in a mirror image manner, when the probe 5 is in moving detection, and the equipment is out of control due to out-of-control of the soft and hard limiting position, the probe 5 continues to move without stopping, the limitingblock 17 is driven to move rightwards when the probe 5 moves rightwards, then the right end of the limitingblock 17 is contacted with the lowerlimiting plate 9, further thelimiting plate 9 is driven to move rightwards by the force of thelimiting block 17, further therotating plate 15 rotates through thefixed rod 14, further the upper end of the rotatingplate 15 drives the upperlimiting plate 9 to move now, the twolimiting plates 9 drive thesliding block 8 to slide in the, the upper sidefirst spring 7 is compressed under the pressure of the upperside sliding block 8, the elasticity of thefirst spring 7 is larger, so that the elasticity of thefirst spring 7 plays a role of buffering, the probe 5 is subjected to a resistance force when moving rightwards, and the probe 5 is effectively limited in position, the upper end of therotating plate 15 drives the upperside limiting plate 9 to move leftwards when moving leftwards, so that therubber sleeve 11 is contacted with the right side of the probe 5, the left force of the left end of the upperside limiting plate 9 brings a block to the probe 5, therotating plate 15 rotates and is sleeved on the surface of the fixedrod 14 as the lower side limiting plate moves rightwards, so that the upperside limiting plate 9 cannot move rightwards, the probe 5 is still due to the left force of the upperside limiting plate 9, the situation that the probe 5 cannot move out of the maximum limit is realized, the damage to a machine is avoided, and the service, thereby greatly reducing the economic loss;
therubber sleeve 11 is made of soft materials, after therubber sleeve 11 is contacted with the probe 5, the action of force is mutual, and then thesecond spring 10 is extruded by the probe 5 and the upperlimiting plate 9 to form a compression state, so that the phenomenon that the upperlimiting plate 9 leaves marks on the surface of the probe 5 due to the fact that the upperlimiting plate 9 has large resistance to the probe 5 is avoided, and the probe 5 is effectively protected;
because thedwang 13 on twolimiting plates 9 slides respectively and cup joints in the inside of twopassageways 16, and thenrotor plate 15 when rotating, has increased the space ofrotor plate 15 and thedwang 13 of upper and lower both sides, and then has avoidedrotor plate 15 to be blocked when rotating to effectual auxiliary device that has played for the device.
The working principle is as follows: when the probe 5 is moved for detection, the equipment is out of control due to out of control of the soft and hard limiting, when the probe 5 continues to move and does not stop, thelimiting block 17 is driven to move rightwards when the probe 5 moves rightwards, thelimiting plate 9 is driven to move rightwards by the force of the limitingblock 17, the upper end of therotating plate 15 drives the upperlimiting plate 9 to move now, the upper end of therotating plate 15 drives the upperlimiting plate 9 to move leftwards when moving leftwards, therubber sleeve 11 is contacted with the right side of the probe 5, the left force of the left end of the upperlimiting plate 9 blocks the probe 5, because the lowerlimiting plate 9 moves rightwards, therotating plate 15 is rotatably sleeved on the surface of thefixing rod 14, the upperlimiting plate 9 cannot move rightwards, the probe 5 is made to be static by the left force of the upperlimiting plate 9.
Although embodiments of the present invention have been shown and described, it will be appreciated by those skilled in the art that changes, modifications, substitutions and alterations can be made in these embodiments without departing from the principles and spirit of the invention, the scope of which is defined in the appended claims and their equivalents.

Claims (6)

1. The utility model provides a spacing protection device in SPECT probe position, includes detecting machine (1), its characterized in that: the front side of the detector (1) is provided with a moving groove (3), a moving block (4) is sleeved in the moving groove (3) in a sliding mode, a probe (5) is fixedly connected to the front side of the moving block (4), limiting blocks (17) are fixedly connected to the left side and the right side of the probe (5), a base (2) is fixedly connected to the bottom of the detector (1), a display screen (18) is fixedly connected to the front side of the base (2), a slide (6) is arranged on the front side of the base (2), and a protection device is arranged inside the slide (6).
2. The SPECT probe position limit protection device of claim 1, which is characterized in that: the number of the moving grooves (3) is two, and the structures on the two moving grooves (3) are arranged in a mirror image mode.
3. The SPECT probe position limit protection device of claim 1, which is characterized in that: the protection device comprises a sliding block (8), the sliding block (8) is connected inside the slide way (6) in a sliding way, the left side of the sliding block (8) is fixedly connected with a first spring (7), the left end of the first spring (7) is fixedly connected with the inner left side of the slide way (6), the utility model discloses a slide block, including base (2), the front side fixedly connected with limiting plate (9) of slider (8), the right side of limiting plate (9) is seted up fluted (12), inside fixedly connected with dwang (13) of recess (12), the quantity of slide (6) is two, set up the upper and lower both ends in base (2) front side respectively in two slides (6), the structure on two slides (6) is the same, the left end fixedly connected with second spring (10) of upside limiting plate (9), the left end fixedly connected with rubber sleeve (11) of second spring (10), the front end fixedly connected with dead lever (14) of base (2), rotor plate (15) have been cup jointed in the surface rotation of dead lever (14).
4. The SPECT probe position limit protection device of claim 3, which is characterized in that: the shape of rubber sleeve (11) is the square, and the inside of rubber sleeve (11) is for cavity and do not have the right side surface, and rubber sleeve (11) slip cup joints the surface at limiting plate (9).
5. The SPECT probe position limit protection device of claim 3, which is characterized in that: the front side of rotor plate (15) is opened and is equipped with passageway (16), and the quantity of passageway (16) is two, and dwang (13) on two limiting plate (9) slide respectively to cup joint in the inside of two passageways (16).
6. The SPECT probe position limit protection device of claim 5, which is characterized in that: the structures on the left side and the right side of the base (2) are arranged in a mirror image mode.
CN202110385700.7A2021-04-102021-04-10SPECT probe position limiting protection devicePendingCN112914595A (en)

Priority Applications (1)

Application NumberPriority DateFiling DateTitle
CN202110385700.7ACN112914595A (en)2021-04-102021-04-10SPECT probe position limiting protection device

Applications Claiming Priority (1)

Application NumberPriority DateFiling DateTitle
CN202110385700.7ACN112914595A (en)2021-04-102021-04-10SPECT probe position limiting protection device

Publications (1)

Publication NumberPublication Date
CN112914595Atrue CN112914595A (en)2021-06-08

Family

ID=76174043

Family Applications (1)

Application NumberTitlePriority DateFiling Date
CN202110385700.7APendingCN112914595A (en)2021-04-102021-04-10SPECT probe position limiting protection device

Country Status (1)

CountryLink
CN (1)CN112914595A (en)

Cited By (1)

* Cited by examiner, † Cited by third party
Publication numberPriority datePublication dateAssigneeTitle
CN119199200A (en)*2024-11-262024-12-27珠海欧森斯传感技术有限公司 Combined cable test fixture and test equipment

Citations (10)

* Cited by examiner, † Cited by third party
Publication numberPriority datePublication dateAssigneeTitle
EP0697193A2 (en)*1994-08-181996-02-21Picker International, Inc.Nuclear camera systems
US20080078937A1 (en)*2006-09-292008-04-03Katsutoshi TsuchiyaRadiation imaging system and nuclear medicine diagnosis instrument therefor
WO2012108277A1 (en)*2011-02-102012-08-16株式会社日立製作所Radiation measurement device and nuclear medicine diagnosis device
CN210401679U (en)*2019-08-202020-04-24苏州永新智造医疗科技有限公司SPECT probe rotary positioning system
CN210871640U (en)*2019-08-202020-06-30苏州永新智造医疗科技有限公司SPECT probe position limiting protection system
CN210871652U (en)*2019-08-292020-06-30苏州永新智造医疗科技有限公司SPECT (single photon emission computed tomography) examination bed system
CN211066678U (en)*2019-09-092020-07-24胡伦科Anti-collision device for moving part in medical imaging equipment
CN211094200U (en)*2019-08-282020-07-28苏州永新智造医疗科技有限公司SPECT host
CN211270804U (en)*2019-08-212020-08-18苏州永新智造医疗科技有限公司SPECT main frame reversing and limiting device
CN211560129U (en)*2019-08-212020-09-25苏州永新智造医疗科技有限公司Probe protection system of double-probe SPECT

Patent Citations (10)

* Cited by examiner, † Cited by third party
Publication numberPriority datePublication dateAssigneeTitle
EP0697193A2 (en)*1994-08-181996-02-21Picker International, Inc.Nuclear camera systems
US20080078937A1 (en)*2006-09-292008-04-03Katsutoshi TsuchiyaRadiation imaging system and nuclear medicine diagnosis instrument therefor
WO2012108277A1 (en)*2011-02-102012-08-16株式会社日立製作所Radiation measurement device and nuclear medicine diagnosis device
CN210401679U (en)*2019-08-202020-04-24苏州永新智造医疗科技有限公司SPECT probe rotary positioning system
CN210871640U (en)*2019-08-202020-06-30苏州永新智造医疗科技有限公司SPECT probe position limiting protection system
CN211270804U (en)*2019-08-212020-08-18苏州永新智造医疗科技有限公司SPECT main frame reversing and limiting device
CN211560129U (en)*2019-08-212020-09-25苏州永新智造医疗科技有限公司Probe protection system of double-probe SPECT
CN211094200U (en)*2019-08-282020-07-28苏州永新智造医疗科技有限公司SPECT host
CN210871652U (en)*2019-08-292020-06-30苏州永新智造医疗科技有限公司SPECT (single photon emission computed tomography) examination bed system
CN211066678U (en)*2019-09-092020-07-24胡伦科Anti-collision device for moving part in medical imaging equipment

Cited By (1)

* Cited by examiner, † Cited by third party
Publication numberPriority datePublication dateAssigneeTitle
CN119199200A (en)*2024-11-262024-12-27珠海欧森斯传感技术有限公司 Combined cable test fixture and test equipment

Similar Documents

PublicationPublication DateTitle
WO2021248796A1 (en)Testing device used for shoe upper processing and having good protection
CN112914595A (en)SPECT probe position limiting protection device
CN114857425A (en)Portable measuring instrument is used in real estate survey and drawing
CN211576926U (en)Centering mechanism suitable for different size display screen detects
CN212254908U (en) An automatic strain measurement device for uniaxial test based on computer vision
CN209387432U (en)Penetration resistance testing device based on dense mesh type safety vertical net
CN114152518B (en) A pipe inspection device
CN216082336U (en)Novel material replaces cement and fills high-efficient test device
CN210114620U (en) A kind of rail curtain for shielding of internal medicine outpatient department
TWM542537U (en) Processing head changing mechanism of door type processing machine
CN221199197U (en) A new material compression performance testing device
CN219675699U (en)Early crack resistance concrete performance test device
CN111351914A (en) A water quality detection device for geological exploration
CN219675707U (en)Flexible transmission post detection device convenient to installation
CN217786514U (en)Mechanical fault diagnosis device with built-in contraction structure
CN216284795U (en)Concrete slump check out test set with retrieve structure
CN223400719U (en) A testing machine for high-altitude fall arrester performance testing
CN210953421U (en)Portable energy-saving detector for building external window site
CN212254840U (en)Pressure testing machine for detecting main structure
CN211293456U (en)Radiology department image diagnosis film reading device
CN119757934B (en) A testing machine for touch display screen
CN217238059U (en)Improvement device of survey soil water isotope
CN223400729U (en) Concrete quality testing device for construction
CN220135065U (en)Pipeline inner wall defect detection device with adjustable
CN213813135U (en)Diversified detection type building material detection device

Legal Events

DateCodeTitleDescription
PB01Publication
PB01Publication
SE01Entry into force of request for substantive examination
SE01Entry into force of request for substantive examination
WD01Invention patent application deemed withdrawn after publication
WD01Invention patent application deemed withdrawn after publication

Application publication date:20210608


[8]ページ先頭

©2009-2025 Movatter.jp