






技术领域technical field
本申请涉及云计算技术领域,特别涉及一种虚拟网络功能(Virtual NetworkFunction,VNF)服务实例化的方法及装置。The present application relates to the field of cloud computing technologies, and in particular, to a method and apparatus for instantiating a virtual network function (Virtual Network Function, VNF) service.
背景技术Background technique
网络功能虚拟化(Network Function Virtualization,NFV)技术可以简单地理解为将电信网络中使用的各个网元的功能从目前的专用硬件平台迁移至通用的商用货架产品(COTS,Commercial-off-the-shelf)服务器上。通过NFV技术将电信网络中使用的各个网元转变成为独立的应用,可以灵活部署在基于标准的服务器、存储以及交换机等其他设备构建的统一基础设施平台上,并通过虚拟化技术,对基础设施硬件设备资源池化及虚拟化,对上层应用提供虚拟资源,实现应用、硬件解耦,使得每一个应用能够快速增加虚拟资源以实现快速扩展系统容量的目的,或者能够快速减少虚拟资源以实现收缩系统容量的目的,大大提升网络的弹性。采用通用的COTS服务器组成共享的资源池,新开发的业务,不需要单独部署硬件设备,大大缩短新业务上线时间。Network Function Virtualization (NFV) technology can be simply understood as migrating the functions of each network element used in the telecommunication network from the current dedicated hardware platform to the general commercial shelf products (COTS, Commercial-off-the- shelf) on the server. Through NFV technology, each network element used in the telecommunications network is transformed into an independent application, which can be flexibly deployed on a unified infrastructure platform based on standard servers, storage, switches and other equipment. Hardware device resource pooling and virtualization, providing virtual resources for upper-layer applications, realizing application and hardware decoupling, so that each application can quickly increase virtual resources to achieve the purpose of rapidly expanding system capacity, or can quickly reduce virtual resources to achieve shrinkage The purpose of system capacity is to greatly improve the elasticity of the network. A common COTS server is used to form a shared resource pool. Newly developed services do not need to deploy hardware devices separately, which greatly shortens the launch time of new services.
NFV技术的基础包含云计算技术和虚拟化技术。通用的COTS计算/存储/网络等硬件设备通过虚拟化技术可以分解为多种虚拟资源,以供上层各种应用使用。通过虚拟化技术,实现应用与硬件之间的解耦,使得虚拟资源供给速度大大增加;通过云计算技术,可以实现应用的弹性伸缩,实现虚拟资源与业务负荷相匹配,不仅提升了虚拟资源的利用效率,而且改善了系统的响应速率。The foundation of NFV technology includes cloud computing technology and virtualization technology. General-purpose COTS computing/storage/network hardware devices can be decomposed into multiple virtual resources through virtualization technology for use by various upper-layer applications. Through virtualization technology, the decoupling between applications and hardware is realized, which greatly increases the supply speed of virtual resources; through cloud computing technology, the elastic scaling of applications can be realized, and the matching of virtual resources and business loads can be realized, which not only improves the efficiency of virtual resources The utilization efficiency is improved, and the response rate of the system is improved.
虚拟化的电信网络功能逐渐进行容器化演进,容器即服务(Container as aService,CaaS)是一种特定类型的平台即服务(Platform as a Service,PaaS)服务。容器是一种操作系统级别的虚拟化技术,通过操作系统隔离技术如Linux下的CGroup和NameSpace,将不同的进程隔离开来。容器技术不同于硬件虚拟化(Hypervisor)技术,并没有虚拟硬件,容器内部也没有操作系统,只有进程。正是由于容器技术的这个重要特点,使得容器相比虚拟机更轻量,管理也更方便。在容器的运行态,定义了一组公共的管理操作,例如:启动、停止、暂停和删除等,对容器进行统一的生命周期管理。Virtualized telecom network functions are gradually evolving into containers, and Container as a Service (CaaS) is a specific type of Platform as a Service (PaaS) service. Containers are an operating system-level virtualization technology that isolates different processes through operating system isolation technologies such as CGroup and NameSpace under Linux. Container technology is different from hardware virtualization (Hypervisor) technology. There is no virtual hardware, and there is no operating system inside the container, only processes. It is precisely because of this important feature of container technology that containers are lighter and easier to manage than virtual machines. In the running state of the container, a set of common management operations are defined, such as: start, stop, pause and delete, etc., to carry out unified life cycle management of the container.
但是,现有技术对不同类型的VNF实例是如何实例化且如何调用容器服务这一过程没有进行任何明确描述。However, the prior art does not explicitly describe how different types of VNF instances are instantiated and how the container service is invoked.
发明内容SUMMARY OF THE INVENTION
本发明实施例提供了一种VNF服务实例化的方法、装置和系统,相对于现有技术,对流程和接口进行了明确描述。The embodiments of the present invention provide a method, device and system for instantiating a VNF service, and the process and interface are clearly described with respect to the prior art.
本发明实施例提供了一种虚拟网络功能VNF服务实例化方法,包括:The embodiment of the present invention provides a virtual network function VNF service instantiation method, including:
虚拟网络功能管理器VNFM接收虚拟网络功能VNF实例化请求消息,获取所述VNF实例化需调用的容器服务能力信息;The virtual network function manager VNFM receives the virtual network function VNF instantiation request message, and obtains the container service capability information that needs to be called for the VNF instantiation;
VNFM向容器即服务CaaS管理平台发送容器服务发现请求,在容器服务发现请求消息中携带所述容器服务能力信息;The VNFM sends a container service discovery request to the container-as-a-service CaaS management platform, and the container service discovery request message carries the container service capability information;
VNFM从CaaS管理平台接收容器服务发现应答消息,其中,所述应答消息携带CaaS管理平台根据所述容器服务能力信息发现的容器服务实例的标识信息;The VNFM receives a container service discovery response message from the CaaS management platform, wherein the response message carries the identification information of the container service instance discovered by the CaaS management platform according to the container service capability information;
VNFM创建相应的VNF实例,并向所述VNF实例发送所述容器服务实例的标识信息。The VNFM creates a corresponding VNF instance, and sends the identification information of the container service instance to the VNF instance.
步骤VNFM获取所述VNF实例化需调用的容器服务能力包括:Step VNFM obtains the container service capability that needs to be called for VNF instantiation, including:
VNFM根据所述VNF实例化请求消息,在数据库中获取相应的VNFD,并在所述VNFD中获取相应的容器服务能力信息。The VNFM obtains the corresponding VNFD in the database according to the VNF instantiation request message, and obtains the corresponding container service capability information in the VNFD.
所述CaaS管理平台根据所述容器服务能力信息发现容器服务实例包括:The discovery of the container service instance by the CaaS management platform according to the container service capability information includes:
CaaS管理平台根据所述请求消息中携带的容器服务能力信息确定相应的容器服务描述符文件;The CaaS management platform determines the corresponding container service descriptor file according to the container service capability information carried in the request message;
CaaS管理平台根据该容器服务描述符文件查找或实例化容器服务实例。The CaaS management platform finds or instantiates a container service instance according to the container service descriptor file.
本发明实施例提供了一种虚拟网络功能管理器VNFM装置,包括:An embodiment of the present invention provides a virtual network function manager VNFM device, including:
接收单元,用于接收虚拟网络功能VNF实例化请求消息;a receiving unit, configured to receive a virtual network function VNF instantiation request message;
处理单元,用于获取所述VNF实例化需调用的容器服务能力信息;a processing unit, configured to obtain the container service capability information to be called by the VNF instantiation;
发送单元,用于向CaaS管理平台发送容器服务发现请求,在容器服务发现请求消息中携带所述容器服务能力信息;a sending unit, configured to send a container service discovery request to the CaaS management platform, and carry the container service capability information in the container service discovery request message;
所述接收单元,还用于从CaaS管理平台接收容器服务发现应答消息,其中,所述应答消息携带CaaS管理平台根据所述容器服务能力信息发现的容器服务实例的标识信息。The receiving unit is further configured to receive a container service discovery response message from the CaaS management platform, wherein the response message carries the identification information of the container service instance discovered by the CaaS management platform according to the container service capability information.
所述处理单元,还用于根据所述实例化请求消息创建相应的VNF实例,并向所述VNF实例发送所述容器服务实例的标识信息。The processing unit is further configured to create a corresponding VNF instance according to the instantiation request message, and send the identification information of the container service instance to the VNF instance.
处理单元获取所述VNF实例化需调用的容器服务能力信息具体包括:The processing unit acquires the container service capability information to be invoked for the instantiation of the VNF specifically including:
所述处理单元根据所述VNF实例化请求消息,在数据库中获取相应的VNFD,并在所述VNFD中获取相应的容器服务能力信息。The processing unit obtains the corresponding VNFD in the database according to the VNF instantiation request message, and obtains the corresponding container service capability information in the VNFD.
所述容器服务能力信息包括:容器服务实例弹性伸缩的容量门限、和/或容器服务之间的亲和或反亲和规则、和/或容器服务支持的监控参数。The container service capability information includes: capacity threshold for elastic scaling of container service instances, and/or affinity or anti-affinity rules between container services, and/or monitoring parameters supported by container services.
本发明实施例提供了一种容器即服务CaaS管理平台装置,包括:An embodiment of the present invention provides a container-as-a-service CaaS management platform device, including:
接收单元,用于从VNFM接收容器服务发现请求,在容器服务发现请求消息中携带所述容器服务能力信息;a receiving unit, configured to receive a container service discovery request from the VNFM, and carry the container service capability information in the container service discovery request message;
处理单元,用于根据所述容器服务能力信息发现容器服务实例;a processing unit, configured to discover a container service instance according to the container service capability information;
发送单元,用于向VNFM发送容器服务发现应答消息,其中,所述应答消息携带发现的容器服务实例的标识信息。A sending unit, configured to send a container service discovery response message to the VNFM, wherein the response message carries the identification information of the discovered container service instance.
处理单元根据所述容器服务能力信息发现容器服务实例包括:The processing unit discovering the container service instance according to the container service capability information includes:
处理单元根据所述请求消息中携带的容器服务能力信息确定相应的容器服务描述符文件;并根据该容器服务描述符文件查找或实例化容器服务实例。The processing unit determines a corresponding container service descriptor file according to the container service capability information carried in the request message; and searches or instantiates a container service instance according to the container service descriptor file.
本发明实施例提供了一种虚拟网络功能VNF服务实例化系统,包括虚拟网络功能管理器VNFM和容器即服务CaaS管理平台,VNFM用于接收虚拟网络功能管理器VNFM接收虚拟网络功能VNF实例化请求消息,获取所述VNF实例化需调用的容器服务能力信息;VNFM向CaaS管理平台发送容器服务发现请求,在容器服务发现请求消息中携带所述容器服务能力信息;VNFM从CaaS管理平台接收容器服务发现应答消息,其中,所述应答消息携带CaaS管理平台根据所述容器服务能力信息发现的容器服务实例的标识信息;VNFM创建相应的VNF实例,并向所述VNF实例发送所述容器服务实例的标识信息。The embodiment of the present invention provides a virtual network function VNF service instantiation system, including a virtual network function manager VNFM and a container-as-a-service CaaS management platform, the VNFM is used to receive the virtual network function manager VNFM receives the virtual network function VNF instantiation request message to obtain the container service capability information to be invoked by the VNF instantiation; the VNFM sends a container service discovery request to the CaaS management platform, and the container service discovery request message carries the container service capability information; the VNFM receives the container service from the CaaS management platform Discovery response message, wherein the response message carries the identification information of the container service instance discovered by the CaaS management platform according to the container service capability information; the VNFM creates a corresponding VNF instance, and sends the container service instance to the VNF instance. identification information.
CaaS管理平台用于根据所述容器服务能力信息发现容器服务实例,并向VNFM发送服务发现应答消息。The CaaS management platform is configured to discover container service instances according to the container service capability information, and send a service discovery response message to the VNFM.
所述CaaS管理平台根据所述容器服务能力信息发现容器服务实例包括:The discovery of the container service instance by the CaaS management platform according to the container service capability information includes:
CaaS管理平台根据所述请求消息中携带的容器服务能力信息确定相应的容器服务描述符文件;The CaaS management platform determines the corresponding container service descriptor file according to the container service capability information carried in the request message;
CaaS管理平台根据该容器服务描述符文件查找或实例化容器服务实例。The CaaS management platform finds or instantiates a container service instance according to the container service descriptor file.
所述容器服务能力信息包括:容器服务实例弹性伸缩的容量门限、和/或容器服务之间的亲和或反亲和规则、和/或容器服务支持的监控参数。The container service capability information includes: capacity threshold for elastic scaling of container service instances, and/or affinity or anti-affinity rules between container services, and/or monitoring parameters supported by container services.
本发明实施例还提供了一种虚拟网络功能VNF服务实例化装置,所述装置包括处理器和存储器;所述存储器用于存储执行如上所述方法的程序,以及存储用于上述方法所涉及的数据;所述处理器用于执行所述存储器中存储的程序。The embodiment of the present invention also provides a virtual network function VNF service instantiation device, the device includes a processor and a memory; the memory is used for storing a program for executing the above method, and for storing a program involved in the above method. data; the processor is configured to execute a program stored in the memory.
本发明实施例还提供了一种容器即服务CaaS管理平台装置,所述装置包括处理器和存储器;所述存储器用于存储执行如上所述方法的的程序,以及存储用于实现如上所述方法所涉及的数据;所述处理器用于执行所述存储器中存储的程序。An embodiment of the present invention further provides a container-as-a-service (CaaS) management platform device, the device includes a processor and a memory; the memory is used to store a program for executing the above method, and a storage device for implementing the above method The data involved; the processor is used to execute the program stored in the memory.
本发明实施例还提供了一种计算机可读存储介质,该计算机可读存储介质存储有可执行程序指令,所述可执行程序指令被运行时,用于执行上述方法涉及的步骤。An embodiment of the present invention further provides a computer-readable storage medium, where the computer-readable storage medium stores executable program instructions, and when the executable program instructions are executed, is used to perform the steps involved in the above method.
本发明实施例还提供了一种计算机程序产品,当该计算机产品被执行时,用于执行上面所述的方法步骤。Embodiments of the present invention also provide a computer program product, which is used to perform the above-mentioned method steps when the computer product is executed.
上述实施例提供的方案明确了不同类型的VNF实例是如何实例化且如何调用容器服务这一过程,解决了现有技术不同类型的VNF无法调用容器服务这一技术问题。The solutions provided by the above embodiments clarify the process of how different types of VNF instances are instantiated and how to invoke container services, which solves the technical problem that different types of VNFs cannot invoke container services in the prior art.
附图说明Description of drawings
图1是本发明实施例提供的一种NFV架构示意图;1 is a schematic diagram of an NFV architecture provided by an embodiment of the present invention;
图2是本发明实施例提供的一种部署有CaaS管理平台的NFV架构示意图;2 is a schematic diagram of an NFV architecture deployed with a CaaS management platform provided by an embodiment of the present invention;
图3是本发明实施例提供的一种VNF服务实例化流程示意图;3 is a schematic diagram of a VNF service instantiation process according to an embodiment of the present invention;
图4是本发明实施例提供的一种VNF服务实例化系统架构示意图;4 is a schematic diagram of a VNF service instantiation system architecture provided by an embodiment of the present invention;
图5是本发明实施例提供的一种VNFM装置示意图;FIG. 5 is a schematic diagram of a VNFM device according to an embodiment of the present invention;
图6是本发明实施例提供的一种CaaS管理平台装置示意图;6 is a schematic diagram of a CaaS management platform device provided by an embodiment of the present invention;
图7是本发明实施例提供的一种VNFM/CaaS装置硬件示意图。FIG. 7 is a schematic diagram of hardware of a VNFM/CaaS device provided by an embodiment of the present invention.
具体实施方式Detailed ways
为使本申请的目的、技术方案和优点更加清楚,下面将结合附图对本申请实施方式作进一步地详细描述。In order to make the objectives, technical solutions and advantages of the present application clearer, the embodiments of the present application will be further described in detail below with reference to the accompanying drawings.
在对本申请实施例作进一步地详细描述之前,先对本申请实施例的应用场景进行介绍。Before further detailed description of the embodiments of the present application, the application scenarios of the embodiments of the present application are first introduced.
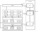
由于本申请实施例的CaaS管理平台部署在NFV架构中,因此,在此先对NFV架构进行介绍。图1是本申请实施例提供的一种NFV架构示意图,该NFV系统架构能够应用于各种类型的网络中,譬如,可以应用于运营商通信网络或局域网络中等。Since the CaaS management platform of the embodiment of the present application is deployed in the NFV architecture, the NFV architecture is first introduced here. FIG. 1 is a schematic diagram of an NFV architecture provided by an embodiment of the present application. The NFV system architecture can be applied to various types of networks, for example, an operator communication network or a local area network.
如图1所示,该NFV架构主要包括有MANO实体110、NFVI 120、多个VNF 130、多个网元管理(Element Management,EM)140以及业务支持管理系统(Operation SupportSystem/Business Support System,OSS/BSS)150等。其中,该MANO实体110还包括有网络功能虚拟化编排器(NFV Orchestrator,NFVO)110a、一个或者多个虚拟网络功能管理器(Virtualised Network Function Manager,VNFM)110b以及虚拟化基础设施管理器(Virtualized Infrastructure Manager,VIM)110c。As shown in FIG. 1 , the NFV architecture mainly includes a
为了后续便于说明,接下来对图1中NFV架构中的各个模块的功能进行介绍。For the convenience of subsequent description, the functions of each module in the NFV architecture in FIG. 1 are introduced next.
NFVO 110a用于实现网络服务描述符(Network Service Descriptors,NSD),以及虚拟网络功能转发图(VNF Forwarding Graph,VNFFG)的管理及处理、网络服务生命周期的管理、与VNFM配合实现VNF的生命周期管理和虚拟资源的全局视图功能。
VNFM110b用于实现VNF的生命周期管理,包括虚拟化网络功能描述符(VNFDescriptor,VNFD)文件的管理、VNF的实例化、VNF实例的弹性伸缩(包括扩容Scaling out/up和缩容Scaling in/down)、VNF实例的治愈(healing)以及VNF实例的终结。VNFM还支持接收NFVO下发的弹性伸缩(scaling)策略,实现自动化的VNF弹性伸缩。VNFM110b is used to realize the life cycle management of VNF, including management of virtualized network function descriptor (VNFDescriptor, VNFD) file, instantiation of VNF, elastic scaling of VNF instance (including scaling out/up and scaling in/down) ), healing of the VNF instance, and termination of the VNF instance. VNFM also supports receiving the elastic scaling (scaling) policy issued by NFVO to realize automatic VNF elastic scaling.
VIM 110b用于负责基础设施层硬件资源、虚拟化资源的管理(包括预留和分配)、虚拟资源状态的监控和故障上报、面向上层应用提供虚拟化资源池。The
OSS/BSS 150是指运营商现有的运行维护系统OSS/BSS。OSS/
EM 140用于针对VNF 130执行传统的故障、配置、用户、性能和安全管理(FaultManagement、Configuration Management、Account Management、PerformanceManagement、Security Management,FCAPS)功能。
VNF 130对应于传统非虚拟化网络中的物理网络功能(Physical NetworkFunction,PNF),如虚拟化的4G核心网络(Evolved Packet Core,EPC)EPC节点,比如移动管理实体(Mobility Management Entity,MME)、服务网关(Serving Gate Way,SGW)、分组数据网关(Packet Data Network Gateway,PGW)等。其中,网络功能的功能性行为和状态与虚拟化与否无关,NFV技术的需求是希望VNF和PNF拥有相同的功能性行为和外部接口。The
另外,VNF 130可以由多个VNF组件(VNF Component,VNFC)来组成,因此,实际应用中,一个VNF 130可以部署在多个虚拟机(Virtual Machine,VM)上,每个VM承载一个VNF组件的功能。当然,一个VNF 130也可以部署在一个VM上。In addition, the
NFVI 120是由硬件资源和虚拟资源以及虚拟化层组成,从VNF 130的角度来说,虚拟化层和硬件资源看起来是一个能够提供所需虚拟资源的完整实体。The
图2是本申请实施例提供的一种部署有CaaS管理平台的NFV架构示意图,如图2所示,相对于图1所示的NFV架构,图2所示的NVF架构中还包括CaaS管理平台,该管理平台主要包括容器管理器160和容器服务170。容器管理器160跟VNFM和VIM通信连接,负责平台管理面的功能,负责实例化或终结各个容器服务170的实例等;所述容器服务170供容器化VNF在实例化完成后进行配置的过程中进行调用。FIG. 2 is a schematic diagram of an NFV architecture with a CaaS management platform deployed according to an embodiment of the present application. As shown in FIG. 2 , compared with the NFV architecture shown in FIG. 1 , the NVF architecture shown in FIG. 2 also includes a CaaS management platform. , the management platform mainly includes a
部署在NFV架构中的CaaS管理平台和NFV架构中的VNFM实体用于执行本申请实施例的方法。如图3所示,所述方法主要包括:The CaaS management platform deployed in the NFV architecture and the VNFM entity in the NFV architecture are used to execute the methods of the embodiments of the present application. As shown in Figure 3, the method mainly includes:
步骤301-302:虚拟网络功能管理器VNFM接收来自NFVO或EM发送的虚拟网络功能VNF实例化请求消息,并在所述请求消息中获取所述VNF实例化需调用的容器服务能力信息。Steps 301-302: The virtual network function manager VNFM receives the virtual network function VNF instantiation request message sent from the NFVO or the EM, and obtains the container service capability information to be invoked for the VNF instantiation in the request message.
具体地,VNFM根据VNF实例化请求消息,该请求消息携带需实例化VNF的具体类型信息,所述具体类型具体是指该实例化的VNF是对应(例如核心网)的哪个网元的功能,如MME,SGW,PGW或PCRF等,所以每个类型的VNF包含的功能是不同的。然后VNFM从数据库中获取实例化该类型的VNF所对应的VNFD,并从所述VNFD中获取该类型VNF需要调用的容器服务的能力信息。所述能力信息具体包括但不限于:容器服务弹性伸缩的容量门限、容器服务之间的亲和(Affinity)或反亲和(Anti-Affinity)规则、容器服务支持的监控参数(Monitoring Parameter)等。Specifically, the VNFM instantiates the request message according to the VNF, and the request message carries the specific type information of the VNF to be instantiated. Such as MME, SGW, PGW or PCRF, etc., so the functions contained in each type of VNF are different. Then the VNFM obtains the VNFD corresponding to instantiating the VNF of this type from the database, and obtains the capability information of the container service that the VNF of this type needs to call from the VNFD. The capability information specifically includes, but is not limited to, the capacity threshold for elastic scaling of container services, the affinity (Affinity) or anti-affinity (Anti-Affinity) rules between container services, the monitoring parameters (Monitoring Parameter) supported by the container service, etc. .
步骤303:VNFM向CaaS管理平台发送容器服务发现请求,在容器服务发现请求消息中携带所述容器服务能力信息。Step 303: The VNFM sends a container service discovery request to the CaaS management platform, and the container service discovery request message carries the container service capability information.
步骤304:CaaS管理平台根据接收的发现请求消息中携带的容器服务的能力信息,在其本地查找匹配该容器服务能力信息的容器服务描述符文件,并根据该容器服务描述符文件在该CaaS管理平台上查找或实例化容器服务实例,向VNFM发送服务发现应答消息。Step 304: The CaaS management platform searches locally for a container service descriptor file matching the container service capability information according to the capability information of the container service carried in the received discovery request message, and manages the container service descriptor file in the CaaS according to the container service descriptor file. Find or instantiate a container service instance on the platform, and send a service discovery response message to the VNFM.
例如,如果容器服务能力的需求信息包括对容器服务弹性伸缩的容量门限的要求,则CaaS管理平台将其映射为容器服务对应的容器服务副本数的规格(包括副本数的上下门限),根据容器服务描述符文件中关于容器服务副本数规格的描述查找确定相应的容器服务描述符文件。For example, if the demand information of container service capability includes the requirement for the capacity threshold of the elastic scaling of the container service, the CaaS management platform maps it to the specification of the number of copies of the container service corresponding to the container service (including the upper and lower thresholds of the number of copies), according to the container service The description about the specification of the number of container service replicas in the service descriptor file is searched to determine the corresponding container service descriptor file.
当CaaS管理平台确定了匹配请求消息中携带的容器服务能力的需求信息的容器服务描述符文件后,CaaS管理平台根据该容器服务描述符文件在该CaaS管理平台上查找或实例化容器服务实例,并向VNFM发送服务发现应答消息,其中,所述应答消息携带容器服务实例的标识信息。具体地:After the CaaS management platform determines the container service descriptor file that matches the demand information of the container service capability carried in the request message, the CaaS management platform searches or instantiates the container service instance on the CaaS management platform according to the container service descriptor file, and send a service discovery response message to the VNFM, wherein the response message carries the identification information of the container service instance. specifically:
1.如果CaaS管理平台确定的匹配请求消息中携带的容器服务能力的需求信息的容器服务描述符文件只有一个,则:1. If the CaaS management platform determines that there is only one container service descriptor file that matches the demand information of the container service capability carried in the request message, then:
a.CaaS管理平台在本地查找是否已经有使用该容器服务描述符文件实例化的容器服务实例;a. The CaaS management platform searches locally whether there is already a container service instance instantiated using the container service descriptor file;
b1.如果存在该容器服务实例,而且该容器服务实例的状态为“可用”(未被其他的VNF实例使用),则容器服务管理平台将该容器服务实例作为发现的容器服务实例,且将该容器服务实例的标识在应答消息中返回给VNFM;b1. If the container service instance exists and the status of the container service instance is "available" (not used by other VNF instances), the container service management platform takes the container service instance as the discovered container service instance, and the container service instance is The identity of the container service instance is returned to the VNFM in the reply message;
b2.如果存在该容器服务实例,但该容器服务实例的状态为“不可用”,或者不存在这样的容器服务实例,则CaaS管理平台使用该容器服务描述符文件实例化新的容器服务实例,并将新实例化的容器服务实例作为发现的容器服务实例,且将该容器服务实例的标识在应答消息中返回给VNFM;b2. If the container service instance exists, but the status of the container service instance is "unavailable", or there is no such container service instance, the CaaS management platform uses the container service descriptor file to instantiate a new container service instance, Take the newly instantiated container service instance as the discovered container service instance, and return the identity of the container service instance to the VNFM in the response message;
2.如果CaaS管理平台确定的匹配请求消息中携带的容器服务能力的需求信息的容器服务描述符文件有多个,则CaaS管理平台根据预先配置的描述符文件选择策略选择其中一个,继续执行上述a,b1/b2的步骤;或者,2. If the CaaS management platform determines that there are multiple container service descriptor files that match the demand information of the container service capability carried in the request message, the CaaS management platform selects one of them according to the pre-configured descriptor file selection strategy, and continues to execute the above. a, steps of b1/b2; or,
CaaS管理平台向VNFM发送所述多个容器服务描述符文件;所述VNFM根据本地预先配置的容器服务描述符文件选择策略从中选择一个符合VNFM要求的容器服务描述符文件,然后发送所述选择的容器服务描述符文件给所述CaaS管理平台。所述CaaS管理平台则继续执行上述a,b1/b2的步骤。The CaaS management platform sends the multiple container service descriptor files to the VNFM; the VNFM selects a container service descriptor file that meets the requirements of the VNFM according to the local pre-configured container service descriptor file selection policy, and then sends the selected container service descriptor file. The container service descriptor file is given to the CaaS management platform. The CaaS management platform continues to perform the above steps a, b1/b2.
上述CaaS管理平台的容器描述符文件选择策略以及VNFM预先配置的容器服务描述符文件选择策略可以为非技术性策略,可根据该容器服务描述符文件创建的容器服务实例的定价范围或商务约束条款来进行选择。例如包括:从不同描述符文件对应的容器服务价格中选择价格较优惠的容器服务对应的描述符文件或者从不同描述符文件对应的容器服务商务约束条款中选择较优惠的约束条款对应的描述符文件等。The container descriptor file selection policy of the CaaS management platform and the container service descriptor file selection policy preconfigured by VNFM can be non-technical policies, which can be determined according to the pricing range or business constraints of the container service instance created by the container service descriptor file. to make a selection. For example, it includes: selecting a descriptor file corresponding to a container service with a relatively favorable price from the container service prices corresponding to different descriptor files, or selecting a descriptor corresponding to a more favorable constraint clause from the container service business constraints corresponding to different descriptor files. documents, etc.
上述容器服务实例的标识包括ID以及容器服务实例接入地址信息等,地址信息可以为IP地址等,实例化的VNF能够根据上述容器服务实例的标识接入相应的容器服务实例。The identifier of the container service instance includes ID and access address information of the container service instance, etc. The address information may be an IP address, etc. The instantiated VNF can access the corresponding container service instance according to the identifier of the container service instance.
步骤305:VNFM从CaaS管理平台接收容器服务发现应答消息,其中,所述应答消息携带CaaS管理平台根据所述容器服务能力信息发现的容器服务实例的标识信息。Step 305: The VNFM receives a container service discovery response message from the CaaS management platform, wherein the response message carries the identification information of the container service instance discovered by the CaaS management platform according to the container service capability information.
VNFM从CaaS管理平台接收容器服务发现应答消息后,从所述消息中获取容器服务实例的标识信息。VNFM面对不同类型的VNF的实例化的场景,VNFM可在本地存储需实例化的不同类型VNF与所需调用的容器服务实例的标识信息之间的对应关系,并进行维护和更新。After receiving the container service discovery response message from the CaaS management platform, the VNFM obtains the identification information of the container service instance from the message. Faced with the instantiation of different types of VNFs, the VNFM can locally store the correspondence between the different types of VNFs to be instantiated and the identification information of the container service instances to be invoked, and maintain and update them.
步骤306-307:VNFM创建相应的VNF实例,并向所述VNF实例发送所述容器服务实例的标识信息。Steps 306-307: The VNFM creates a corresponding VNF instance, and sends the identification information of the container service instance to the VNF instance.
VNFM根据步骤301中的VNF实例化请求消息创建相应的一个或多个VNF实例,这些VNF实例均属于同一个类型;实例化的VNF根据从VNFM收到的容器服务实例标识信息调用CaaS管理平台中相应的容器服务实例。The VNFM creates corresponding one or more VNF instances according to the VNF instantiation request message in step 301, and these VNF instances belong to the same type; the instantiated VNF calls the CaaS management platform according to the container service instance identification information received from the VNFM The corresponding container service instance.
图4是本发明实施例一种VNF服务实例化系统架构示意图,该系统包括虚拟网络功能管理器VNFM和容器即服务CaaS管理平台,其中,4 is a schematic diagram of the architecture of a VNF service instantiation system according to an embodiment of the present invention. The system includes a virtual network function manager VNFM and a container-as-a-service CaaS management platform, wherein,
VNFM用于接收虚拟网络功能管理器VNFM接收虚拟网络功能VNF实例化请求消息,获取所述VNF实例化需调用的容器服务能力;VNFM向CaaS管理平台发送容器服务发现请求,在容器服务发现请求消息中携带所述容器服务能力信息;VNFM从CaaS管理平台接收容器服务发现应答消息,其中,所述应答消息携带CaaS管理平台根据所述容器服务能力信息发现的容器服务实例的标识信息;VNFM创建相应的VNF实例,并向所述VNF实例发送所述容器服务实例的标识信息。The VNFM is used to receive the virtual network function manager VNFM receives the virtual network function VNF instantiation request message, and obtains the container service capability to be invoked for the VNF instantiation; VNFM sends the container service discovery request to the CaaS management platform, and the container service discovery request message carrying the container service capability information; VNFM receives a container service discovery response message from the CaaS management platform, wherein the response message carries the identification information of the container service instance discovered by the CaaS management platform according to the container service capability information; VNFM creates corresponding the VNF instance, and send the identification information of the container service instance to the VNF instance.
CaaS管理平台用于CaaS管理平台根据所述请求消息中携带的容器服务能力信息确定相应的容器服务描述符文件,CaaS管理平台根据该容器服务描述符文件在本地查找或实例化容器服务实例,并向VNFM发送服务发现应答消息。The CaaS management platform is used for the CaaS management platform to determine the corresponding container service descriptor file according to the container service capability information carried in the request message, and the CaaS management platform locally searches or instantiates the container service instance according to the container service descriptor file, and Send a service discovery reply message to the VNFM.
所述VNFM和CaaS管理平台可配置用于执行上述方法步骤中由VNFM执行的各个方法步骤。The VNFM and the CaaS management platform may be configured to perform each method step performed by the VNFM in the above method steps.
图5是一种虚拟网络功能管理器VNFM装置示意图,该装置包括:5 is a schematic diagram of a virtual network function manager VNFM device, the device includes:
接收单元510,用于接收虚拟网络功能VNF实例化请求消息;a receiving
处理单元520,用于获取所述VNF实例化需调用的容器服务能力;a
发送单元530,用于向CaaS管理平台发送容器服务发现请求,在容器服务发现请求消息中携带所述容器服务能力信息;A sending
所述接收单元510继续用于从CaaS管理平台接收容器服务发现应答消息,其中,所述应答消息携带CaaS管理平台根据所述容器服务能力信息发现的容器服务实例的标识信息。The receiving
所述处理单元520继续用于根据所述实例化请求消息创建相应的VNF实例,并向所述VNF实例发送所述容器服务实例的标识信息。The
上述各个单元的具体步骤和功能可以参考上述图3方法步骤的描述,这里不再重复。For the specific steps and functions of the above units, reference may be made to the description of the above method steps in FIG. 3 , which will not be repeated here.
图6是CaaS管理平台的装置示意图,该装置包括:6 is a schematic diagram of an apparatus of a CaaS management platform, the apparatus includes:
接收单元610,用于从VNFM接收容器服务发现请求,在容器服务发现请求消息中携带所述容器服务能力信息;A receiving
处理单元620,根据所述请求消息中携带的容器服务能力信息确定相应的容器服务描述符文件;并根据该容器服务描述符文件在本地查找或实例化容器服务实例;The
发送单元630,用于向VNFM发送容器服务发现应答消息,其中,所述应答消息携带发现的容器服务实例的标识信息。The sending
上述各个单元的具体步骤和功能可以参考上述图3方法步骤的描述,这里不再重复。For the specific steps and functions of the above units, reference may be made to the description of the above method steps in FIG. 3 , which will not be repeated here.
图7是本发明实施例提供的VNFM装置硬件图,所述装置70可以包括:处理器、通信接口以及存储器。FIG. 7 is a hardware diagram of a VNFM apparatus provided by an embodiment of the present invention. The
处理器71可以包括一个或者一个以上处理单元,该处理单元可以是中央处理单元(英文:central processing unit,CPU)或者网络处理器(英文:network processor,NP)等。The
通信接口74用于跟其他通信设备连接和信息交互,包括接收和发送相应的消息;该网络设备70还可以包括存储器73,处理器71可以通过总线与存储器73和通信接口74相连。存储器73可用于存储软件程序,该软件程序可以由处理器71执行,以实现图3中所示实施例中由VNFM执行的方法步骤。此外,该存储器93中还可以存储各类业务数据或者用户数据,包括上述方法步骤中的各种应用实例和服务的状态数据等。The
可选地,该装置70还可以包括输出设备75以及输入设备77。输出设备75和输入设备77与处理器71相连。输出设备75可以是用于显示信息的显示器、播放声音的功放设备或者打印机等,输出设备75还可以包括输出控制器,用以提供输出到显示屏、功放设备或者打印机。输入设备77可以是用于用户输入信息的诸如鼠标、键盘、电子触控笔或者触控面板之类的设备,输入设备77还可以包括输出控制器以用于接收和处理来自鼠标、键盘、电子触控笔或者触控面板等设备的输入Optionally, the
同样地,上述装置硬件图也适用于CaaS管理平台装置,区别是存储器73存储的软件程序由处理器71执行,以实现图3中所示实施例中由CaaS管理平台执行的方法步骤,这里不再重复。Similarly, the above device hardware diagram is also applicable to the CaaS management platform device, the difference is that the software program stored in the
在上述实施例中,可以全部或部分地通过软件、硬件、固件或者其任意结合来实现。当使用软件实现时,可以全部或部分地以计算机程序产品的形式实现。所述计算机程序产品包括一个或多个计算机指令。在计算机上加载和执行所述计算机指令时,全部或部分地产生按照本申请实施例所述的流程或功能。所述计算机可以是通用计算机、专用计算机、计算机网络、或者其他可编程装置。所述计算机指令可以存储在计算机可读存储介质中,或者从一个计算机可读存储介质向另一个计算机可读存储介质传输,例如,所述计算机指令可以从一个网站站点、计算机、服务器或数据中心通过有线(例如:同轴电缆、光纤、数据用户线(Digital Subscriber Line,DSL))或无线(例如:红外、无线、微波等)方式向另一个网站站点、计算机、服务器或数据中心进行传输。所述计算机可读存储介质可以是计算机能够存取的任何可用介质或者是包含一个或多个可用介质集成的服务器、数据中心等数据存储设备。所述可用介质可以是磁性介质(例如:软盘、硬盘、磁带)、光介质(例如:数字通用光盘(Digital Versatile Disc,DVD))、或者半导体介质(例如:固态硬盘(Solid State Disk,SSD))等。In the above embodiments, it may be implemented in whole or in part by software, hardware, firmware or any combination thereof. When implemented in software, it can be implemented in whole or in part in the form of a computer program product. The computer program product includes one or more computer instructions. When the computer instructions are loaded and executed on a computer, all or part of the processes or functions described in the embodiments of the present application are generated. The computer may be a general purpose computer, special purpose computer, computer network, or other programmable device. The computer instructions may be stored in or transmitted from one computer readable storage medium to another computer readable storage medium, for example, the computer instructions may be downloaded from a website site, computer, server or data center Transmission is performed to another website site, computer, server or data center by wire (eg coaxial cable, optical fiber, Digital Subscriber Line, DSL) or wireless (eg infrared, wireless, microwave, etc.). The computer-readable storage medium may be any available medium that can be accessed by a computer or a data storage device such as a server, data center, etc. that includes an integration of one or more available media. The usable media may be magnetic media (eg: floppy disk, hard disk, magnetic tape), optical media (eg: Digital Versatile Disc (DVD)), or semiconductor media (eg: Solid State Disk (SSD)) )Wait.
本领域普通技术人员可以理解实现上述实施例的全部或部分步骤可以通过硬件来完成,也可以通过程序来指令相关的硬件完成,所述的程序可以存储于一种计算机可读存储介质中,上述提到的存储介质可以是只读存储器,磁盘或光盘等。Those of ordinary skill in the art can understand that all or part of the steps of implementing the above embodiments can be completed by hardware, or can be completed by instructing relevant hardware through a program, and the program can be stored in a computer-readable storage medium. The storage medium mentioned may be a read-only memory, a magnetic disk or an optical disk, etc.
以上所述为本申请提供的实施例,并不用以限制本申请,凡在本申请的精神和原则之内,所作的任何修改、等同替换、改进等,均应包含在本申请的保护范围之内。The above-mentioned examples provided for this application are not intended to limit this application. Any modification, equivalent replacement, improvement, etc. made within the spirit and principle of this application shall be included in the protection scope of this application. Inside.
| Application Number | Priority Date | Filing Date | Title |
|---|---|---|---|
| PCT/CN2018/110787WO2020077585A1 (en) | 2018-10-18 | 2018-10-18 | Vnf service instantiation method and apparatus |
| Publication Number | Publication Date |
|---|---|
| CN112889247A CN112889247A (en) | 2021-06-01 |
| CN112889247Btrue CN112889247B (en) | 2022-05-31 |
| Application Number | Title | Priority Date | Filing Date |
|---|---|---|---|
| CN201880098821.XAActiveCN112889247B (en) | 2018-10-18 | 2018-10-18 | VNF service instantiation method and device |
| Country | Link |
|---|---|
| CN (1) | CN112889247B (en) |
| WO (1) | WO2020077585A1 (en) |
| Publication number | Priority date | Publication date | Assignee | Title |
|---|---|---|---|---|
| CN113746802B (en)* | 2021-08-02 | 2022-12-09 | 北京邮电大学 | Method in network function virtualization and VNF device with full storage of local state and remote state |
| Publication number | Priority date | Publication date | Assignee | Title |
|---|---|---|---|---|
| CN104253866A (en)* | 2014-09-20 | 2014-12-31 | 华为技术有限公司 | Software deployment method and system of virtual network function network element and relevant equipment |
| WO2015149600A1 (en)* | 2014-03-31 | 2015-10-08 | 华为技术有限公司 | Virtual network service deployment method and device |
| WO2016029821A1 (en)* | 2014-08-30 | 2016-03-03 | 华为技术有限公司 | Method and device for creating virtual network instance |
| CN105634782A (en)* | 2014-11-06 | 2016-06-01 | 华为技术有限公司 | Method of instancing virtual network function (VNF) and network element management device |
| WO2016095121A1 (en)* | 2014-12-17 | 2016-06-23 | 华为技术有限公司 | Method and system for automatically adjusting network service capability |
| CN106161173A (en)* | 2015-04-15 | 2016-11-23 | 中兴通讯股份有限公司 | A kind of virtual network function that realizes disposes the method and device of specification configuration |
| WO2017041508A1 (en)* | 2015-09-09 | 2017-03-16 | 中兴通讯股份有限公司 | Method and device for re-instantiating virtual network function |
| WO2017107098A1 (en)* | 2015-12-23 | 2017-06-29 | 华为技术有限公司 | Parameter configuration method, device and system for virtualized network function (vnf) |
| WO2017166136A1 (en)* | 2016-03-30 | 2017-10-05 | 华为技术有限公司 | Vnf resource allocation method and device |
| EP3249528A1 (en)* | 2015-01-23 | 2017-11-29 | Nec Corporation | Method, device, and program for management and orchestration of network functions virtualization |
| CN107431637A (en)* | 2015-08-31 | 2017-12-01 | 华为技术有限公司 | The dispositions method and device of a kind of network service |
| EP3253005A1 (en)* | 2015-01-29 | 2017-12-06 | Nec Corporation | Data file registration management system, method, management device, and program |
| CN107533484A (en)* | 2015-05-07 | 2018-01-02 | 华为技术有限公司 | Systems and methods for dynamically managing virtual network function descriptors |
| WO2018000197A1 (en)* | 2016-06-28 | 2018-01-04 | 华为技术有限公司 | Virtual network function resource management method and device |
| CN108011732A (en)* | 2016-11-02 | 2018-05-08 | 中国电信股份有限公司 | Method, controller and the system of configuration service resource |
| CN108282507A (en)* | 2017-01-06 | 2018-07-13 | 阿里巴巴集团控股有限公司 | The method, apparatus and electronic equipment using publication are carried out in CaaS environment |
| Publication number | Priority date | Publication date | Assignee | Title |
|---|---|---|---|---|
| US10225335B2 (en)* | 2011-02-09 | 2019-03-05 | Cisco Technology, Inc. | Apparatus, systems and methods for container based service deployment |
| EP2940968A1 (en)* | 2014-04-30 | 2015-11-04 | Hewlett-Packard Development Company, L.P. | Network infrastructure management |
| US9436443B2 (en)* | 2014-08-28 | 2016-09-06 | At&T Intellectual Property I, L.P. | Software defined network controller |
| CN106301829B (en)* | 2015-05-21 | 2019-08-09 | 华为技术有限公司 | Method and device for network service expansion |
| CN107005426B (en)* | 2015-06-10 | 2020-07-07 | 华为技术有限公司 | A kind of life cycle management method and device of virtual network function |
| EP3332332A4 (en)* | 2015-08-25 | 2018-08-08 | Huawei Technologies Co., Ltd. | System and method for network function virtualization resource management |
| US10048977B2 (en)* | 2015-12-22 | 2018-08-14 | Intel Corporation | Methods and apparatus for multi-stage VM virtual network function and virtual service function chain acceleration for NFV and needs-based hardware acceleration |
| CN107153565B (en)* | 2016-03-03 | 2020-06-16 | 华为技术有限公司 | Method for configuring resources and network device thereof |
| CN105955824B (en)* | 2016-04-21 | 2019-07-19 | 华为技术有限公司 | A virtual resource configuration method and device |
| US10856183B2 (en)* | 2016-11-10 | 2020-12-01 | Huawei Technologies Co., Ltd. | Systems and methods for network slice service provisioning |
| US10716150B2 (en)* | 2016-12-19 | 2020-07-14 | At&T Intellectual Property I, L.P. | Method for mobile service chaining via hybrid network resources switching |
| WO2018174897A1 (en)* | 2017-03-24 | 2018-09-27 | Nokia Technologies Oy | Methods and apparatuses for multi-tiered virtualized network function scaling |
| Publication number | Priority date | Publication date | Assignee | Title |
|---|---|---|---|---|
| WO2015149600A1 (en)* | 2014-03-31 | 2015-10-08 | 华为技术有限公司 | Virtual network service deployment method and device |
| WO2016029821A1 (en)* | 2014-08-30 | 2016-03-03 | 华为技术有限公司 | Method and device for creating virtual network instance |
| CN104253866A (en)* | 2014-09-20 | 2014-12-31 | 华为技术有限公司 | Software deployment method and system of virtual network function network element and relevant equipment |
| CN105634782A (en)* | 2014-11-06 | 2016-06-01 | 华为技术有限公司 | Method of instancing virtual network function (VNF) and network element management device |
| WO2016095121A1 (en)* | 2014-12-17 | 2016-06-23 | 华为技术有限公司 | Method and system for automatically adjusting network service capability |
| EP3249528A1 (en)* | 2015-01-23 | 2017-11-29 | Nec Corporation | Method, device, and program for management and orchestration of network functions virtualization |
| EP3253005A1 (en)* | 2015-01-29 | 2017-12-06 | Nec Corporation | Data file registration management system, method, management device, and program |
| CN106161173A (en)* | 2015-04-15 | 2016-11-23 | 中兴通讯股份有限公司 | A kind of virtual network function that realizes disposes the method and device of specification configuration |
| CN107533484A (en)* | 2015-05-07 | 2018-01-02 | 华为技术有限公司 | Systems and methods for dynamically managing virtual network function descriptors |
| CN107431637A (en)* | 2015-08-31 | 2017-12-01 | 华为技术有限公司 | The dispositions method and device of a kind of network service |
| WO2017041508A1 (en)* | 2015-09-09 | 2017-03-16 | 中兴通讯股份有限公司 | Method and device for re-instantiating virtual network function |
| WO2017107098A1 (en)* | 2015-12-23 | 2017-06-29 | 华为技术有限公司 | Parameter configuration method, device and system for virtualized network function (vnf) |
| WO2017166136A1 (en)* | 2016-03-30 | 2017-10-05 | 华为技术有限公司 | Vnf resource allocation method and device |
| WO2018000197A1 (en)* | 2016-06-28 | 2018-01-04 | 华为技术有限公司 | Virtual network function resource management method and device |
| CN108011732A (en)* | 2016-11-02 | 2018-05-08 | 中国电信股份有限公司 | Method, controller and the system of configuration service resource |
| CN108282507A (en)* | 2017-01-06 | 2018-07-13 | 阿里巴巴集团控股有限公司 | The method, apparatus and electronic equipment using publication are carried out in CaaS environment |
| Title |
|---|
| "S5-165094 - pCR TS 28.525 Add Use Cases for NS update with add VL and VNF".《3GPP tsg_sa\WG5_TM》.2016,* |
| Efficient virtual evolved packet core deployment across multiple cloud domains;Miloud Bagaa;《2018 IEEE Wireless Communications and Networking Conference (WCNC)》;20180611;全文* |
| S5-171844 "R14 CR TS 28.622 Add VNFInfo related attributes in IOC ManagedFunction";ZTE Corporation等;《3GPP tsg_sa\WG5_TM》;20170330;全文* |
| 网络服务功能链拓扑设计及映射研究;吕晨;《中国优秀硕士学位论文全文数据库 (信息科技辑)》;20170228;全文* |
| Publication number | Publication date |
|---|---|
| WO2020077585A1 (en) | 2020-04-23 |
| CN112889247A (en) | 2021-06-01 |
| Publication | Publication Date | Title |
|---|---|---|
| CN111385114B (en) | VNF service instantiation method and device | |
| US10700928B2 (en) | Method and apparatus for deploying service in virtualized network | |
| US10701139B2 (en) | Life cycle management method and apparatus | |
| CN106301829B (en) | Method and device for network service expansion | |
| CN111698112A (en) | Resource management method and device for VNF (virtual network function) | |
| CN116724543B (en) | Container cluster management method and device | |
| CN109995552B (en) | VNF service instantiation method and device | |
| WO2020103925A1 (en) | Method and apparatus for deploying containerization virtualized network function | |
| WO2017185303A1 (en) | Method and device for managing nfv mano policy descriptor | |
| WO2017185251A1 (en) | Vnfm determining method and network function virtualization orchestrator | |
| WO2020108443A1 (en) | Virtualization management method and device | |
| WO2019047835A1 (en) | Instantiation method for virtual network function | |
| CN112087311B (en) | Virtual network function VNF deployment method and device | |
| WO2023066224A1 (en) | Method and apparatus for deploying container service | |
| CN106161603A (en) | A kind of method of networking, equipment and framework | |
| US20220350637A1 (en) | Virtual machine deployment method and related apparatus | |
| CN112889247B (en) | VNF service instantiation method and device | |
| US20230409371A1 (en) | Method for creating network service ns and related apparatus | |
| CN113098705B (en) | Authorization method and device for life cycle management of network service | |
| WO2018120222A1 (en) | Vnffg management method, device and system | |
| CN116055312A (en) | Fusion method, device, equipment and storage medium of virtualization platform | |
| CN116661941A (en) | Virtual Network Function (VNF) instantiation method and device |
| Date | Code | Title | Description |
|---|---|---|---|
| PB01 | Publication | ||
| PB01 | Publication | ||
| SE01 | Entry into force of request for substantive examination | ||
| SE01 | Entry into force of request for substantive examination | ||
| GR01 | Patent grant | ||
| GR01 | Patent grant |