Movatterモバイル変換


[0]ホーム

URL:


CN112804930A - Insufflation retention device with balloon - Google Patents

Insufflation retention device with balloon
Download PDF

Info

Publication number
CN112804930A
CN112804930ACN201980046456.2ACN201980046456ACN112804930ACN 112804930 ACN112804930 ACN 112804930ACN 201980046456 ACN201980046456 ACN 201980046456ACN 112804930 ACN112804930 ACN 112804930A
Authority
CN
China
Prior art keywords
probe
support
insufflation
ird
inner support
Prior art date
Legal status (The legal status is an assumption and is not a legal conclusion. Google has not performed a legal analysis and makes no representation as to the accuracy of the status listed.)
Pending
Application number
CN201980046456.2A
Other languages
Chinese (zh)
Inventor
R·M·霍尔布鲁克
R·汉森
J·芬特雷斯
J·兹格涅戈
P·史密斯
A·沙弗斯
Current Assignee (The listed assignees may be inaccurate. Google has not performed a legal analysis and makes no representation or warranty as to the accuracy of the list.)
Biandou Co ltd
Original Assignee
Biandou Co ltd
Priority date (The priority date is an assumption and is not a legal conclusion. Google has not performed a legal analysis and makes no representation as to the accuracy of the date listed.)
Filing date
Publication date
Priority claimed from US15/976,885external-prioritypatent/US11273269B2/en
Application filed by Biandou Co ltdfiledCriticalBiandou Co ltd
Publication of CN112804930ApublicationCriticalpatent/CN112804930A/en
Pendinglegal-statusCriticalCurrent

Links

Images

Classifications

Landscapes

Abstract

Translated fromChinese

一种探针可被插入到体腔中以执行(一次或多次)诊断干预、(一次或多次)治疗干预或两者。可将探针插入穿过天然存在或者有意或无意地人造的体孔中。体孔可形成环绕探针的密封,使得可将吹入保持材料有效地保持在体腔中,从而使得操作者可以执行(一次或多次)干预。然而,吹入材料可能存在泄漏。吹入保持装置被构造成形成与体孔接触性地相邻的有效密封并提供用于将探针引入到体腔中的通路,使得可执行诊断干预或治疗干预或两者。

Figure 201980046456

A probe can be inserted into a body cavity to perform diagnostic intervention(s), therapeutic intervention(s), or both. Probes can be inserted through naturally occurring or artificial body pores, either intentionally or unintentionally. The body hole may form a seal around the probe such that the insufflation retention material can be effectively retained in the body cavity, thereby allowing the operator to perform the intervention(s). However, there may be leaks in the blown material. The insufflation retention device is configured to form an effective seal in contact with the body bore and to provide access for introduction of the probe into the body lumen so that diagnostic intervention or therapeutic intervention or both can be performed.

Figure 201980046456

Description

Insufflation retention device with balloon
Drawings
Figure 1 illustrates, in partial cross-sectional view, an insufflation retention device through a body orifice and in a body lumen in accordance with various embodiments.
Figure 2 illustrates the insufflation retention device of figure 1 in cross-section in accordance with various embodiments.
Figure 3 illustrates, in cross-section, the insufflation retention device of figure 1 in accordance with various embodiments.
FIG. 4 illustrates, in cross-section, the insufflation retention device of FIG. 1 in accordance with various embodiments.
Figure 5 illustrates, in partial cross-sectional view, a middle portion of an insufflation retention device according to various embodiments extending into an inner buttress portion and an opposing outer buttress portion.
Figure 6 illustrates, in partial cross-sectional view, a middle portion of an insufflation retention device according to various embodiments extending into an inner buttress portion and an opposing outer buttress portion.
Fig. 7 illustrates, in partial cross-sectional view, an internal buttress input valve in fluid communication with a distended material conduit, according to various embodiments.
Fig. 8 illustrates, in partial cross-sectional view, an internal buttress input valve in fluid communication with a distended material conduit, and an external buttress with a separate external buttress input valve, according to various embodiments.
Fig. 9 illustrates, in plan view, a first body member and a second body member in accordance with various embodiments.
Fig. 10 illustrates, in plan view, a first body portion coupled to a second body portion via a hinge or pivot portion, in accordance with various embodiments.
Fig. 11 illustrates, in an end view, an internal support coupled to a body portion in an open state, the internal support biased to a closed state, in accordance with various embodiments.
Fig. 12 illustrates, in an end view, an internal support coupled to a body portion with a fastener on the body portion in an open state, the internal support biased to a closed state, in accordance with various embodiments.
Fig. 13 illustrates, in partial cross-sectional view, a probe through a body orifice according to various embodiments.
Fig. 14 illustrates, in an end view, a probe through a body hole according to various embodiments.
Fig. 15 shows in partial cross-sectional view a probe through a body orifice with an anomaly (abnormality).
Figure 16 shows in end view a probe through a body hole having an anomaly.
Figure 17 illustrates, in partial cross-sectional view, a probe through a body hole having an anomaly and through an insufflation retention device in accordance with various embodiments.
Figure 18 shows, in an end view, a probe through a body hole having an anomaly and through an insufflation retention device according to various embodiments.
FIG. 19 illustrates in perspective view an insufflation retention device in accordance with various embodiments.
FIG. 20 shows the insufflation retention device of FIG. 19 in end view according to various embodiments.
FIG. 21 illustrates the insufflation retention device of FIG. 19 in side view in accordance with various embodiments.
FIG. 22 illustrates, in cross-section, the insufflation retention device of FIG. 22 in accordance with various embodiments.
FIG. 23 shows, in side view, opposite sides of the side of the insufflation apparatus of FIG. 21 in accordance with various embodiments.
FIG. 24 illustrates, in cross-section, the insufflation retention device of FIG. 23 in accordance with various embodiments.
Figure 25 illustrates a perspective view of a passageway structure used in an insufflation retention device in accordance with various embodiments.
FIG. 26 shows a perspective view of an outer compression member in an open state, wherein the outer compression member is used in conjunction with the insufflation retention device of FIG. 25.
FIG. 27 shows a perspective view of an outer compression member in a closed state, as used in conjunction with the insufflation retention device of FIG. 25.
FIG. 28 shows a perspective view of the insufflation retention device of FIG. 25 in accordance with various embodiments.
FIG. 29 shows a perspective view of the insufflation retention device of FIG. 25 with a probe passing through the passageway in accordance with various embodiments.
Figure 30 illustrates, in partial cross-sectional view, an insufflation retention device with a stylet in accordance with various embodiments.
FIG. 31 illustrates, in partial cross-sectional view, an insufflation retention device with a stylet and having an O-ring type configuration in accordance with various embodiments.
FIG. 32 illustrates, in partial cross-sectional view, an insufflation retention device having a stylet and having a plurality of O-ring type structures in accordance with various embodiments.
Figure 33 illustrates a probe that can be used with an insufflation retention device in accordance with various embodiments.
Fig. 34(a) - (C) illustrate a continuous internal support having only a closed state and a discontinuous internal support having both an open state and a closed state, according to various embodiments.
FIG. 35 illustrates in perspective view an insufflation retention device in accordance with various embodiments.
FIG. 36 illustrates, in perspective view, another insufflation retention device in accordance with various embodiments.
Figures 37-38 show isometric views of another insufflation retention device in accordance with various embodiments.
Figure 39 shows an insufflation retention device in cross-section in accordance with various embodiments.
Figure 40 illustrates in cross-section an insufflation retention device in accordance with various embodiments.
Figure 41 shows a blown-in retention device according to various embodiments in cross-section.
Figure 42 illustrates an isometric view of a portion of an insufflation retention device in accordance with various embodiments.
Figure 43 illustrates, in partial cross-section, a portion of an insufflation retention device in accordance with various embodiments.
Figure 44 illustrates an isometric view of a portion of an insufflation retention device in accordance with various embodiments.
Figure 45 illustrates an isometric view of an insufflation retention device in accordance with various embodiments.
Figure 46 illustrates an isometric view of an insufflation retention device in accordance with various embodiments.
Figure 47 illustrates, in partial cross-section, an insufflation retention device in accordance with various embodiments.
Figure 48 illustrates, in partial cross-section, an insufflation retention device in accordance with various embodiments.
49(A) - (B) illustrate, in partial cross-section, one size of insufflation retention device configured to accommodate multiple sizes of probes in accordance with various embodiments.
Figure 50 illustrates, in cross-section, another insufflation retention device in accordance with various embodiments.
FIG. 51 illustrates the insufflation retention device of FIG. 50 in perspective view in accordance with various embodiments.
Figures 52(a) - (B) show another insufflation retention device in cross section in accordance with various embodiments.
FIG. 53 illustrates in cross-section an insufflation retention device in accordance with various embodiments.
FIG. 54 illustrates the insufflation retention device of FIG. 53 in perspective view in accordance with various embodiments.
Figure 55 shows a blown-in retention device according to various embodiments in cross-section.
FIG. 56 illustrates the insufflation retention device of FIG. 55 in perspective view in accordance with various embodiments.
Figure 57 illustrates, in cross-section, another insufflation retention device in accordance with various embodiments.
Figure 58 illustrates in cross-section an insufflation retention device in accordance with various embodiments.
FIG. 59 shows a portion of the insufflation retention device of FIG. 58 in plan view in accordance with various embodiments.
Fig. 60(a) illustrates, in plan view, a pressure cuff pump, a valve, and an inflation material line, in accordance with various embodiments.
Fig. 60(B) illustrates the valve of fig. 60(a) in close-up, in accordance with various embodiments.
Figure 61(a) shows an isometric view of another insufflation retention device in accordance with various embodiments.
Figure 61(B) shows the insufflation retention device of figure 60(a) in cross-section in accordance with various embodiments.
Detailed Description
There are techniques that allow an operator to introduce a probe (e.g., a medical scope) into a body cavity for diagnostic or therapeutic intervention or both. When introducing the probe, it may be necessary to dilate the body cavity for the operator to perform the intervention(s). Using insufflation techniques, the operator can introduce insufflation material to dilate the body cavity, so the operator can have more working space and better visibility in the body cavity to perform the intervention(s). For example, please refer to "technical status assessment report" in gastrointestinal endoscopy "2013, 4 th, 77 th, 519-525: methods of luminal dilation for colonoscopy (Methods of luminal dilation) "which are incorporated herein by reference in their entirety. The blowing material may be air, carbon dioxide, water, or other suitable material.
The operator may begin with the probe outside the body, and the operator may advance the probe through the tissue of the body to introduce the probe into a cavity (i.e., a body cavity) of the body. The probe may be advanced through tissue via a hole of the body (i.e., a body orifice, which is a naturally occurring orifice (e.g., the anus) or a wound (e.g., a surgical incision or trauma)). The body orifice may have an elasticity that allows the body orifice to recover its size and shape after any deformation due to advancement of the probe through the body orifice into the body cavity to effectively seal the exterior of the body from the body cavity. Thereafter, insufflation material introduced into the body cavity may be retained in the body cavity to help facilitate expansion of the body cavity while effectively sealing the exterior of the body from the body cavity to allow an operator to perform the intervention(s).
However, in some cases, the insufflation material may not be effectively retained in the body cavity. For example, the body orifice or nearby structures may have congenital malformations or may have suffered structural damage, such as scar tissue formed after abscess formation, surgical trauma, childbirth-related injuries, and the like, which inhibits the body orifice from forming an effective seal with the probe.
If the insufflation material is not effectively retained, the operator will not have visibility of the time and space or operation of work in the body cavity. For example, a probe (such as an endoscope) may be introduced into a body cavity (such as the rectum and large intestine) through a body orifice (such as the anus), and the elasticity of the body orifice may not be effective to form a seal contactingly adjacent the probe to facilitate retention of insufflation material in the body cavity. As will be described in further detail, the present disclosure describes an insufflation retention device that facilitates retention of insufflation material in a body cavity.
Fig. 1 shows the apparatus as an insufflation retention device (also referred to herein as IRD 100) that has been advanced from outside ofbody 102 through body orifice 106 (also referred to as an orifice) intobody cavity 104.IRD 100 may generally include aninner support 108, amiddle portion 110 and anouter support 112. Theinner support 108 is at afirst end 114 of theIRD 100 and theouter support 112 is at an oppositesecond end 116 of theIRD 100 with theintermediate portion 110 therebetween. In other words, theintermediate portion 110 is disposed between theinner support 108 and theouter support 112.
As shown in fig. 1, thewidth 111 of theinner support 108 may be substantially greater than thewidth 113 of theouter support 112. Alternatively, as shown in later figures, thewidth 111 of theinner support 108 may be substantially equal to thewidth 113 of theouter support 112. Furthermore, as shown in later figures, thewidth 111 of theinner support 108 may also be substantially less than thewidth 113 of theouter support 112. Thewidth 111 of theinner support 108 may be substantially parallel to thewidth 113 of theouter support 112. The width of themiddle portion 110 may be substantially less than thewidth 111 of theinner support 108. The width of themiddle portion 110 may be substantially less than thewidth 113 of theouter support 112. The width of themiddle portion 110 may be substantially parallel to thewidth 111 of theinner support 108. The width of themiddle portion 110 may be substantially parallel to thewidth 113 of theouter support 112.
Theinternal support 108 may be configured to have an unexpanded configuration such that an operator may introduce theIRD 100 into thebody lumen 104 through thebody orifice 106. The unexpanded configuration of theinternal struts 108 may be smaller than the expanded configuration of theinternal struts 108 shown in fig. 1. The unexpanded configuration of theinner support 108 is configured to facilitate entry of theIRD 100 from anexterior 118 of thebody 102. In other words, in the collapsed state, theinternal support 108 can be configured for insertion into thebody cavity 104 of thebody 102 through thebody orifice 106 of thebody 102.
The expanded configuration of the internal buttress 108 is configured to prevent removal of theIRD 100 from thebody lumen 104. If theIRD 100 is moved toward theexterior 118 of thebody 102, the expanded configuration of theinternal support 108 will contactingly engage thebody lumen 104 or thebody orifice 106 or both to prevent removal of theIRD 100 from thebody lumen 104. In other words, in the expanded state, the internal buttress 108 may be configured to inhibit removal of the internal buttress 108 from thebody lumen 104 through thebody orifice 106.
Theinner support 108, in an unexpanded or contracted state, can be increased in size to an expanded configuration or state by introducing an expandable material into the lumen of theinner support 108 supplied by a source. The expandable material may be broadly considered as a fluid. By way of example and not limitation, examples of the expandable material may be a liquid (e.g., water) and a gas (e.g., oxygen, air, compressed air, carbon dioxide).
Theinternal support 108 can be configured to form a bodyinternal support seal 105 between thebody lumen 104 and theinternal support 108. When thebody cavity 104 is part of the lower alimentary system, the bodyinternal support seal 105 may or may not include the wall of the rectum between thebody cavity 104 and theinternal support 108. The bodyinternal support seal 105 may or may not include all walls of the rectum between thebody cavity 104 and theinternal support 108. Theinner support 108 is shown generally in the shape of a doughnut; however, other shapes are contemplated depending on the needs of the operator in view of the patient'sbody 102. The shape of theinner support 108 can be selected to be a predetermined shape to effectively form a bodyinner support seal 105 between thebody 102 and theinner support 108. The effectiveness of the body internal buttressseal 105 occurs when insufflating material is held in thebody cavity 104 so that the operator can perform the intervention(s) and the operator will have visibility of the time and space or operation of work in thebody cavity 104.
Theouter support 112 can also be considered to have an unexpanded configuration or a contracted state. However, the unexpanded configuration of theouter support 112 is not required. The reason that the unexpanded configuration of theouter support 112 is not required is that theouter support 112 is configured to prevent theIRD 100 from being introduced into thebody lumen 104. For example, theouter support 112 may have an unexpanded configuration that is not configured to prevent introduction of theIRD 100 into thebody lumen 104. In this example, the user or operator may then transform or transition the unexpanded configuration of theouter support 112 to the expanded configuration of theouter support 112 to prevent theIRD 100 from being introduced into thebody lumen 104. In other words, theouter support 112 can be configured to inhibit advancement of theouter support 112 through thebody orifice 106 into thebody lumen 104.
As with theinner support 108, theouter support 112 in the unexpanded configuration can be increased in size to an expanded configuration or state by introducing an expandable material into the lumen of theouter support 112 supplied by the source. The expandable material may again be broadly considered as a fluid. The expansion material used to expand the inner 108 and outer 112 struts may be the same or different in any given situation.
However, theouter support 112 need not have a smaller or unexpanded configuration, as theouter support 112 need not be introduced through thebody aperture 106. Thus, the external buttress 112 may have substantially the same size and configuration before and after theIRD 100 is introduced into thebody 102, and the external buttress 112 may have substantially the same size and configuration before, during, and after use of theIRD 100 in thebody 102. However, for other practical considerations, it may be convenient for theouter support 112 to have a smaller unexpanded configuration. For example, theouter support 112 in an unexpanded configuration may be more easily assembled in a medical kit or package.
Theouter support 112 can be configured to form a bodyouter support seal 107 between thebody 102 and theouter support 112. Theouter support 112 is shown generally as being conical in shape; however, other shapes are contemplated depending on the needs of the operator in view of the patient'sbody 102. The shape of theouter support 112 can be selected to be a predetermined shape to effectively form a bodyouter support seal 107 between thebody 102 and theouter support 112. The effectiveness of the body external buttressseal 107 occurs when insufflating material is held in thebody cavity 104 so that the operator may perform the intervention(s) and the operator will have visibility of the time and space or operation of work in thebody cavity 104.
Themiddle portion 110 is configured to couple theinner support 108 to theouter support 112. Theintermediate portion 110 is configured to contactingly engage awall 120 of thebody aperture 106.
The middle portion can be configured to form a bodymiddle portion seal 109 between thebody aperture 106 and themiddle portion 110. Themiddle portion 110 is shown generally as a cylinder; however, other shapes are contemplated depending on the needs of the operator in view of the patient'sbody 102. The shape of theintermediate portion 110 may be selected to be a predetermined shape to effectively form a bodyintermediate portion seal 109 between thebody 102 and theintermediate portion 110. The effectiveness of themid-body seal 109 occurs when the insufflation material is held in thebody cavity 104 so that the operator can perform the intervention(s) and the operator will have visibility of the time and space or operation of work in thebody cavity 104.
Fig. 2 shows in cross-section the internal support of theIRD 100 of the embodiment shown in fig. 1. Theouter perimeter 130 of theinner support 108 can be configured to be expandable from an unexpanded configuration to the expanded configuration shown. Theinner perimeter 132 of theinner support 108 may be configured to be relatively rigid compared to theouter perimeter 130. This relative rigidity of theinner perimeter 132 of theinner support 108 may help theIRD 100 maintain its configuration and size as the probe is introduced into theIRD 100 and the probe moves back and forth and rotates within theIRD 100 as the operator performs the intervention(s).
Fig. 3 shows in cross-section a middle portion of theIRD 100 of the embodiment shown in fig. 1. Within thebody 140 of theintermediate portion 110, there may be adistention material conduit 142 that an operator may use to introduce distention material into the lumen of theinternal support 108. As can be seen, theouter surface 144 of theintermediate portion 110 may be substantially circular such that when an operator inserts theIRD 100 into the body bore 106, performs an intervention(s), or removes theIRD 100 from the body bore 106, theIRD 100 may rotate relatively freely clockwise or counterclockwise within the body bore 106. Likewise, theinterior surface 146 of theintermediate portion 110 may be substantially circular such that when an operator inserts a stylet into theIRD 100, performs an intervention(s), removes a stylet from theIRD 100, or attaches theIRD 100 to a stylet, theIRD 100 may be relatively free to rotate clockwise or counterclockwise about the stylet. Theouter surface 144 of the middle portion may be substantially parallel to theinner surface 146 of the middle portion. In other words, themiddle portion 110 may be a cylinder. As shown in fig. 1, themiddle portion 110 may be a right circular hollow cylinder or a cylindrical shell.
Theinterior surface 146 of themiddle portion 110 can be considered a sleeve that surrounds the probe when themiddle portion 110 is in use. As shown, the sleeve may be substantially circular and symmetrically disposed within thebody 140 of theintermediate portion 110. Alternatively, the sleeve may be asymmetrically disposed within thebody 140 of theintermediate portion 110.
Fig. 4 shows in cross-section theouter support 112 of theIRD 100 of the embodiment shown in fig. 1. Theouter perimeter 150 of theouter support 112 can be configured to be expandable from an unexpanded configuration to an expanded configuration. Theinner surface 152 of theouter support 112 can be configured to be relatively rigid compared to theouter perimeter 150. This relative rigidity of theinterior surface 152 of the external support may help theIRD 100 maintain its configuration such that when the operator performs an intervention(s), the stylet may be introduced into theIRD 100 and the stylet moved back and forth and rotated within theIRD 100.
IRD 100 may be made of one or more biologically compatible materials. The biocompatible material may be a polymer, such as silicone or latex. The same polymer may be used for theinner support 108 and theouter support 112, or different polymers may be used for theinner support 108 and theouter support 112. The same polymer as theinner support 108 and theouter support 112 may be used for themiddle portion 110, or a different polymer may be used for themiddle portion 110, theinner support 108, and theouter support 112. Themiddle portion 110 and the inner andouter supports 108, 112 may be formed from one piece, or themiddle portion 110 and the inner andouter supports 108, 112 may be formed from different pieces. Theinner support 108 and theouter support 112 may also be formed from different pieces. If different parts are used to formIRD 100, laser welding or the like may be used to join the parts together.
Fig. 5 illustrates an embodiment ofIRD 100 in cross-section wherein theinner lumen 160 ofinner buttress 108 is in fluid communication with theinner lumen 162 of outer buttress 112 via theexpansile material conduit 142 ofintermediate portion 110. The expanded state is shown. Aninput valve 164 of distending material is shown coupled to theouter support 112. The operator introduces the distending material into theinner lumen 162 of theouter support 112, the distendingmaterial conduits 142 of theintermediate portion 110, and theinner lumen 160 of theinner support 108 through theinput valve 164 using a gas line, syringe, or other suitable source of distending material.
Fig. 6 illustrates another embodiment ofIRD 100 in cross-section, wherein theinner lumen 160 ofinner buttress 108 is in fluid communication with theinner lumen 162 of outer buttress 112 via theexpansile material conduit 142 ofintermediate portion 110. The expanded state is shown. The expandablematerial input valve 164 is shown coupled to theouter support 112 via anexpandable material conduit 166 coupled to theouter support 112. Theinflation material conduit 166 may be rigid, flexible, or some combination of flexible and rigid. When flexible, theinflation material conduit 166 may assume any suitable orientation and configuration during use. When rigid, the expansile material conduits may maintain a predetermined orientation and configuration before, during, and after use. The operator introduces the expandable material through theinput valve 164 into theexpandable material conduit 166, thelumen 162 of theouter support 112, theexpandable material conduit 142 of theintermediate portion 110, and thelumen 160 of theinner support 108.
Fig. 5 and 6 showintermediate portion 110 extending into aninner support portion 168 and an opposingouter support portion 172.Inner support 108 is part ofinner support portion 168 andouter support 112 is part of opposingouter support portion 172.Inner support 108 may extend substantially shorter than, approximately flush with, or substantially beyondfirst end 174 ofinner support portion 168.Inner support 108 is shown approximately flush withfirst end 174 ofinner support section 168.Outer support 112 extends substantially short of, approximately flush with, or substantially beyond asecond end 176 ofouter support portion 172.Outer support 112 is shown approximately flush withsecond end 176 ofouter support section 172.
Theexpandable material conduit 142 of theintermediate section 110 may take any shape.
Fig. 5 shows the distendingmaterial conduits 142 beginning at a substantially right angle to theinner support 108 and theouter support 112, while fig. 6 shows the distendingmaterial conduits 142 beginning at a substantially curved orientation relative to theinner support 108 and theouter support 112. Further, one or more pressure relief valves inIRDs 100 may be configured to control when expansion ofouter support 112 andinner support 108 occurs relative to the introduction of expandable material. The pressure relief valve may have any suitable configuration and is not shown.
Fig. 7 illustrates, in cross-section, another embodiment of theIRD 100 wherein the inner buttressinput valve 180 is in fluid communication with theexpansile material conduit 142 of theintermediate portion 110 to the inner buttress 108, while the outer buttress 112 is not in fluid communication with the inner buttressinput valve 180. Theinner support 108 is shown in an unexpanded state.Inner support 108 can expand outwardly or away from inner support portion 168 (see fig. 5-6). Of course, the internal buttressinput valve 180 may be in direct fluid communication with the internal buttress 108 without intervening the distendingmaterial conduit 142, which is not shown.
FIG. 8 illustrates another embodiment of theIRD 100 in cross-section, wherein an internal buttressinput valve 180 is in fluid communication with ascaffolding conduit 142 via ascaffolding conduit 166 to augment the internal buttress 108 via the introduction of a scaffolding. Further, an external buttressinput valve 182 is in fluid communication with the external buttress 112 to expand the external buttress 112 via introduction of an expansion material. In this embodiment of theIRD 100, the internal buttressinput valve 180 and the external buttressinput valve 182 are independently operable by an operator or user to expand and contract the internal buttress 108 and to expand and contract the external buttress 112 by introducing and removing an expandable material via the internal buttressinput valve 180 and the external buttressinput valve 182. Theinner support 108 is shown expanded by an expanding material supplied by an expandingmaterial source 184.
Theouter support 112 is shown as having a rectangular shape, as opposed to other support shapes previously shown in the shape of a doughnut, a cone, etc. Any suitable shape may be used for theinner support 108 or theouter support 112.
Additionally, theintermediate portion 110 may have a substantially non-planarouter surface 190. In other embodiments, theouter surface 190 of themiddle portion 110 may be substantially flat. In the embodiment shown in fig. 8, theouter surface 190 of theintermediate portion 110 is contoured, which is substantially non-planar. The contour may be selected by the operator based on the anatomy and other features of the body bore 106 (see fig. 1). The profile may help theIRD 100 achieve and maintain an effective seal for holding insufflation material. The profile shape and size may be responsive to the presence or absence of the distending material. As shown in fig. 8, the profile may have an expandable material introduced through anexpandable material conduit 166 that supplies the expandable material to theinner support 108. Of course, the profile may have the expandable material introduced through some expandable material conduit that is different and independent from theexpandable material conduit 166 supplying the expandable material to theinner support 108. As a non-limiting specific example, theintermediate portion 110 may be generally and contoured to be substantially rigid, except for changing from a contracted or unexpanded state with less expanded material to an expanded state with more expanded material. In embodiments having a substantially rigid profile,intermediate portion 110 is substantially undeformed from its orientation and configuration relative toIRD 100 prior to or after use ofIRD 100 during use ofIRD 100.
Fig. 9 shows another embodiment ofIRD 100. In this embodiment, theIRD 100 has afirst body member 200 and asecond body member 202. Thefirst body member 200 is configured to be coupled to thesecond body member 202 to form theIRD 100 in operable use. An operator may wish to use such a two-body component system when the probe is already in thebody orifice 106 or in both thebody orifice 106 and the body cavity 104 (see fig. 1). When the probe is in this position in thebody orifice 106 orbody cavity 104, the operator may not be able to insert the probe into theIRD 100 and pass through theIRD 100 or slide theIRD 100 over the probe. On the other hand, the operator will be able to couple thefirst body member 200 to thesecond body member 202 around a probe held in place in the body bore 106 or in place in both the body bore 106 and thebody cavity 104. Thefirst body member 200 may be coupled to thesecond body member 202 via one or more pairs offasteners 204 of any suitable type, such as, but not limited to, snaps, clips, and the like. Of course, this embodiment may also be used before the probe is located in thebody orifice 106 or thebody cavity 104 or both.
As shown in this embodiment, the first andsecond body members 200, 202 may have substantially parallel walls configured to effectively form a sleeve that provides a passageway for the probe when thefirst body member 200 may be coupled to thesecond body member 202. In this embodiment, the first and secondinner support members 207, 209 may be supplied with the expandable material via different introductions of the expandable material.
In other words, the firstinner support member 207 and the secondinner support member 209 may not be in fluid communication. Similarly, the first and secondouter support members 211, 213 can be supplied with the expansion material via different introductions of the expansion material, as the first and secondouter support members 211, 213 may not be in fluid communication.
In this embodiment having afirst body member 200 and asecond body member 202, it may be inconvenient to place the buttress members in fluid communication.
Of course, one or more of the various buttress components may be in fluid communication, which is not shown.
Fig. 10 shows another embodiment ofIRD 100. In this embodiment, thefirst body portion 220 is coupled to thesecond body portion 222 via ahinge portion 224 or flexible member at a first hingedside 226 of thefirst body portion 220 and a second hingedside 228 of thesecond body portion 222.Hinge portion 224 may be configured to allow an operator to bringIRD 100 from the open configuration shown in fig. 10 to a closed configuration not shown by a one-handed operation. One or more pairs offasteners 204 may couple afirst opening edge 230 of thefirst body portion 220 to asecond opening edge 232 of thesecond body portion 222. Thefastener 204 may extend beyond the first andsecond body portions 220, 222, as shown in fig. 10, or within the perimeter of the first andsecond body members 200, 202, as shown in fig. 9.
In the configuration shown in fig. 10, it may be convenient for an internal support, not shown, to be in fluid communication around the first andsecond body portions 220, 222 (in other words, substantially the entire body portion), as is present in some other embodiments. Further, it may be convenient for an external support, not shown, to be in fluid communication substantially around thefirst body portion 220 and thesecond body portion 222, as is present in some other embodiments. For simplicity, theinner support 108 andouter support 112 are not shown in fig. 10 and will be understood to be located on the surface of theIRD 100 in the rear of the view shown.
Fig. 11-12 show cross-sections through theinternal support 108 in another embodiment of theIRD 100. In these embodiments, theinner support 108 may be coupled to the innersupport body portion 240 via laser welding, adhesives, or other suitable means. Alternatively, theinner support 108 may be one material with the innersupport body portion 240. The innersupport body portion 240 can have a bias to a closed state to form a sleeve sized and dimensioned to fit around a probe to be used by an operator. The innersupport body portion 240 is shown in an open state in fig. 11. When the internal buttressbody portion 240 is in an open state, when theIRD 100 is in thebody cavity 104,body aperture 106 or both, or when theIRD 100 is not in thebody cavity 104,body aperture 106 or both, the operator may position the IRD 100 (see fig. 1) around the probe. Further, fig. 12 shows an innersupport body portion 240 having afirst fastener 242 and asecond fastener 244. Thefirst fastener 242 is configured to couple to thesecond fastener 244 to form a sleeve sized and dimensioned to fit around the probe.
Additionally, as shown, theinner support 108 may overlap thebody portion 240 to help form an effective seal for retaining the insufflation material.
Alternatively, as not shown, theinner support 108 may not overlap the innersupport body portion 240 and still achieve an effective seal for retaining the insufflation material.
Similarly, the outer support may or may not partially overlap with a similar outer support body to form an effective seal for retaining insufflation material, which is not shown.
Fig. 13 shows theprobe 250 through thebody hole 106 in a cross-sectional side view and fig. 14 in an end view. Thebody aperture 106 and theprobe 250 that has been inserted through thebody aperture 106 effectively form abody probe seal 252. In addition, alubricant layer 254 is typically bubbled through theprobe 250 prior to entering through thebody aperture 106. Alubricant layer 254 disposed between thebody aperture 106 and theprobe 250 further assists in forming abody probe seal 252 between thebody aperture 106 and theprobe 250. Thelubricant layer 254 may be of any suitable type to reduce friction between the body bore 106 and theprobe 250.
Fig. 15 shows aprobe 250 in cross-sectional side view and fig. 16 shows in end view through abody hole 106 having ananomaly 256. Thebody aperture 106 cannot effectively form abody probe seal 252 with aprobe 250 that has been inserted through thebody aperture 106 having ananomaly 256. For any reason, such as congenital malformations, abscesses, previous abscesses, muscle relaxation, etc., thebody orifice 106 does not effectively form abody probe seal 252 with theprobe 250 passing through thebody orifice 106.
Fig. 17 shows astylet 250 through thebody orifice 106 with theanomaly 256 and thestylet 250 through theIRD 100 in cross-sectional side view and fig. 18 in end view, in accordance with various embodiments. Similar to framing windows in a house, theIRD 100 may effectively form a seal with thebody 102 to facilitate retention of insufflation material in thebody cavity 104.
Additionally, theIRD 100 may provide a sleeve having a predetermined configuration and size in response to the stylet to effectively form another seal with the stylet to further facilitate retention of the insufflation material in thebody lumen 104.
Of course, theIRD 100 may be used with theprobe 250 in abody hole 106 where theanomaly 256 is not present. However, when theIRD 100 is used with theprobe 250 in the body bore 106 having theanomaly 256, theIRD 100 is configured to facilitate retention of the insufflating material inserted into thebody lumen 104 for a time effective for the operator to perform the diagnostic intervention, the therapeutic intervention, or both, which is better than the retention of the insufflating material achievable using theprobe 250 without theIRD 100. Theprobe access seal 260,mid-body portion seal 109, external-body buttressseal 107, and internal-body buttressseal 105 may be configured to cooperate with theprobe 250 to facilitate retention of insufflating material inserted into thebody cavity 104 for a time effective for an operator to perform diagnostic intervention, therapeutic intervention, or both. On the other hand, thepassageway 264 may be open without theprobe 250 in thepassageway 264, such that insufflation material may not be retained in thebody cavity 104. Fig. 17 shows that even when theinner support 108 is expanded and theouter support 112 is expanded, thepassageway 264 may be open without theprobe 250 in thepassageway 264.
TheIRD 100 can effectively form a seal: abody mid-section seal 109 is formed between the mid-section 110 and thewall 120 of thebody orifice 106, a bodyouter support seal 107 is formed between theouter support 112 and thewall 120 of thebody orifice 106 and the exterior of thebody orifice 106, and a bodyinner support seal 105 is formed between theinner support 108 and thebody cavity 104 orbody 102 even in the presence of theanomaly 256. As shown in FIG. 17, theintermediate portion 110 may be cooperatively or operatively associated with theouter support 112 to both function to inhibit advancement of theIRD 100 into thebody lumen 104 during operation.
Further, whenprobe 250 is inserted intoIRD 100,IRD 100 may effectively form aprobe access seal 260. Thepassageway 264 through theintermediate portion 110 of theIRD 100 may be configured to form astylet passageway seal 260 between thestylet 250 and thepassageway 264.Passageway 264 extends beyondfirst end 174 and beyondsecond end 176 of IRD 100 (see fig. 5 and 6) such thatstylet 250 extends all the way throughIRD 100. Those skilled in the art will appreciate that forprobe 250,passageway 264 has a corresponding first opening nearfirst end 174 and a second opening nearsecond end 176.
Additionally, theouter surface 190 of theintermediate portion 110 may be configured to provide acontour feature 266 to engage theanomaly 256 to provide an effective seal. Of course, theprofile feature 266 may be a protrusion, a depression, or a combination of both to engage theanomaly 256 to provide an effective seal.
Further, thecontour feature 266 may be formed by theouter support 112 or by both theintermediate portion 110 and theouter support 112. Additionally, theinner support 108 may have contoured features as the previously discussed shapes are contemplated depending on the needs of the operator in view of the patient'sbody 102.
Fig. 19-24 show various views ofIRD 100 according to another embodiment. TheIRD 100 may have aninner support 108 and anouter support 112 with amiddle portion 110 therebetween.IRD 100 may be formed withseam 292 extending along the length (as shown) ofIRD 100 or a portion thereof.Seam 292 may be substantially a gap or break between surfaces of material that is folded upon itself to makeIRD 100.Seam 292 may not be present if the surfaces of the material folded upon itself to makeIRD 100 abut each other. Theouter support 112 has a taperedsurface 294 that is substantially conical to facilitate an effective seal with the body 102 (see fig. 1).
Aninternal biasing member 290 having a biasing tension cooperates with the biasing tension of the remainder of theIRD 100 to keep theIRD 100 closed during operation. Theinternal biasing member 290 may be substantially flush with the interior of theIRD 100 or theinternal biasing member 290 may be substantially non-flush with the interior of theIRD 100. On the other hand, when thestylet 250 is in thebody orifice 106, thebody lumen 104, or both, theIRD 100 shown may be opened to wrap around thestylet 250 and then inserted into thebody orifice 106 and through thebody orifice 106. Theinner biasing member 290 is configured for one-handed or two-handed operation.
Theaccess port 298 in theouter support 112 may be configured to have a diameter that is wider than the diameter of thepassageway 264, wherein the diameters are substantially parallel to each other. By making the diameter ofentry port 298 wider than the diameter ofpassageway 264, the operator will have a larger target for insertingprobe 250 intopassageway 264, then if the diameter ofentry port 298 is substantially the same size as the diameter ofpassageway 264. The diameter of thepassageway 264 may be configured and sized to fit closely around the diameter of theprobe 250 so that the probe passageway seal between the passageway and the probe may be more easily achieved, and wherein the diameters are again substantially parallel to each other. Aninternal taper 296 may be present in theouter support 112 such that the diameter of theaccess port 298 may taper to the smaller diameter of thepassageway 264. While theinternal taper 296 is shown as being substantially linear, resulting in the conical configuration of FIG. 22, any suitable shape is contemplated to facilitate manipulation of theprobe 250 into thepassageway 264 by an operator.
This embodiment is shown as a solid structure that theIRD 100 may be if the internal buttress 108 is a compressible material (e.g., foam, by way of example and limitation), such that the internal buttress 108 may be pushed through thebody aperture 106 in a collapsed state, and then the internal buttress 108 may expand to an expanded state once inside thebody lumen 104. Of course, such similar structures (e.g., anaccess port 298 having an internal taper 296) may exist in combination with features from other embodiments that include an internal buttress 108 that is expandable by a expandable material.
Fig. 25-29 show various views ofIRD 100 according to another embodiment. Theinner support 108 and theouter support 112 may be in fluid communication through theintermediate portion 110, not shown, via an effectively rectangular balloon (also referred to herein as a channel structure 300). Theintermediate portion 110 may be compressed by anouter compression member 302 that substantially biases fluid within thepathway structure 300 toward theinner support 108 and theouter support 112. Theouter compression member 302 may be contactingly adjacent an outer surface of thepathway structure 300. Theouter compression member 302 in the closed position may or may not push substantially all of the fluid (i.e., distending material) from theintermediate portion 110 in theIRD 100 that the operator is ready to use.
While theaccess structure 300 is indeed shown and contemplated as being rectangular and symmetrical in operation, other suitable sizes and dimensions are contemplated based on the needs of the user in view of the patient'sbody 102.
Theouter compression member 302 may have aninner biasing member 304 that is inside anouter biasing member 306 of theouter compression member 302 in a coiled configuration in the closed position shown in fig. 27-29.
Further, whileouter compression member 302 is shown overlapping outer biasingmember 306 overlappinginner biasing member 304,outer compression member 302 may not overlap itself asinner biasing member 304 may not overlap itself. Theouter compression member 302 is configured for one-handed or two-handed operation from an open position, wherein theIRD 100 can be positioned around thestylet 250 with theouter compression member 302 in the open position, and can be maintained around thestylet 250 with theouter compression member 302 in the closed position.
While theouter compression member 302 is shown outside of the balloon forming theinner support 108, theouter support 112, and a portion of theintermediate portion 110, it is fully contemplated that theouter compression member 302 may be inside theaccess structure 300.
Fig. 30-32 show cut-away side views ofIRDs 100 having an O-ring type structure 280 or a plurality of O-ring type structures 280 according to various embodiments.IRD 100 may cooperate withprobe 250 to form aprobe access seal 260, which is an effective seal betweenIRD 100 andprobe 250. Further, alubricant layer 254 betweenIRD 100 and probe 250 may assist or promote the effectiveness of probe path seal 260 betweenIRD 100 andprobe 250.
Further, an O-ring type structure 280 along the sleeve may further assist in facilitating a seal between the IRD 100 (e.g., middle portion 110) and theprobe 250. The O-ring type structure 280 may be fixed to the sleeve at a first O-ring end 282 and movable at an opposite second O-ring end 284. The O-ring type structure 280 may be one of a variety of O-ring type structures 280. While the O-ring type structure 280 may be rigid, it may be beneficial to: the O-ring type structure 280 is made flexible such that when theprobe 250 is advanced, the opposing second O-ring end 284 is drawn inwardly toward thebody cavity 104, and when theprobe 250 is retracted, the opposing second O-ring end 284 is drawn outwardly away from thebody cavity 104.
As discussed in various embodiments, the operator may not be able to insert a probe into theIRD 100 and through theIRD 100 or slide theIRD 100 over the probe while the probe is in thebody orifice 106 orbody cavity 104. On the other hand, in other embodiments, the operator may be able to couple theIRD 100 around a stylet held in place in the body bore 106 or in place in both the body bore 106 and thebody lumen 104.
Those skilled in the art will appreciate that the probes are by way of example and not limitationMay be an endoscope. Commercially available endoscopes will have a light source configured to provide light in a lumen of the colon (such as body lumen 104), and an integrated air pump configured to provide air in the lumen of the colon for luminal dilation during colonoscopy. Further, those skilled in the art will appreciate that the endoscope may be configured to use CO2Water or other suitable material for insufflation into the lumen of the colon.
For colonoscopy, one skilled in the art will appreciate that the quality of bowel preparation may affect the success of the colonoscopy. Many bowel preparations are available to achieve adequate bowel cleanliness. For example, optimizing bowel preparation for colonoscopy: a guide to improve visualization quality, Ann Gastroenterol 2016; 29 (2): 137-146, which is incorporated herein by reference in its entirety.
Additionally, fig. 33 shows a commerciallyavailable endoscope 350 as understood by those skilled in the art. Commerciallyavailable endoscope 350 has three main parts: aconnector section 352, acontrol section 354, and aninsertion tube 356. Theconnector section 352 attaches theendoscope 350 tosystems 358, which may include a display, an image processor, a light source and power source, and water, air, CO2Or other suitable material. Thecontrol section 354 is attached to theconnector section 352. Thecontrol section 354 is held by the operator to control dials that may deflect the tip (tip) 360 of the instrument tip of theinsertion tube 356 up/down and left/right. Thecontrol section 354 may have separate buttons for suction, insufflation and imaging. Finally, thecontrol section 354 may have an access port for inserting the accessory through the passage of theinsertion tube 356 into thebody cavity 104. Many endoscopes also have additional controls. Theinsertion tube 356 is a flexible shaft that is attached to thecontrol section 354. Theinsertion tube 356 may include one of a plurality of channels for accessories, flush water, insufflation, and the like. Theinsertion tube 356 may include a goniometric actuator for deflecting thetip 360 of theinsertion tube 356. Thetip 360 of theinsertion tube 356 may contain an image generating device, an illumination system, an opening for insufflation, an objective lens, and a water jet to clean the objective lens.
The length, diameter, and flexibility of theinsertion tube 356 vary among endoscope types and manufacturers, with a diameter in the range of about 4.9 mm to about 12.9 mm. For example, please refer to "gastrointestinal endoscopy" 2011, vol.1, vol.74, pages 1-6, "new technical reports: GI endoscope ", which is incorporated herein by reference in its entirety.
Thus, it will be understood that while theprobe 250 may be inserted into theIRD 100 of all embodiments when theIRD 100 is outside of thebody cavity 104 orbody orifice 106, theprobe 250 may be inserted into theIRD 100 in only some embodiments when theIRD 100 is in thebody cavity 104 orbody orifice 106.
See, for example, fig. 1, where theinner support 108 is configured to be continuous around theprobe 250 such that theinner support 108 is configured to have only a closed state. When theIRD 100 is outside of thebody cavity 104 orbody orifice 106, thestylet 250 may simply be inserted into the continuousinner support 108. On the other hand, see example fig. 11, where theinner support 108 is configured to be discontinuous around theprobe 250 such that theinner support 108 is configured to have a closed state and an open state. When the internal buttressbody portion 108 is discontinuous, the operator may position theIRD 100 around the stylet when the internal buttress 108 is in an open state, when theIRD 100 is in thebody lumen 104, thebody orifice 106, or both, or when theIRD 100 is not in thebody lumen 104, thebody orifice 106, or both.
Fig. 34 illustrates, in an end view, the relationship between embodiments that show the relationship between embodiments of a continuous structure of theinner support 108 around the probe and discontinuous structures of theinner support 108 around theprobe 250 as would be understood by one skilled in the art. Although theprobe 250 is shown as being substantially cylindrical and theinner support 108 is shown as a ring, other shapes (e.g., oval, etc.) are contemplated and disclosed throughout this specification.
Fig. 34(a) shows theprobe 250 outside the continuous structure of theinner support 108. In a continuous structure of theinner support 108, as shown in the top right drawing, the only way to position theinner support 108 around theprobe 250 is to slide theinner support 108 relative to theprobe 250 so that theprobe 250 is located within theinner support 108 and surrounded by theinner support 108.
In this case, theprobe 250 will pass through thepassage 264. When theinner support 108 has a continuous structure, theinner support 108 may not slide onto theprobe 250 when theprobe 250 is in thebody orifice 106 or thebody cavity 104. For example, the probe may have only one end that can be slid into theinner support 108, such as when the probe is a colonoscope. In such an example, thecolonoscope 350 has aninsertion tube 356 that can be configured to slide onto theprobe 250. However, at the first end of theinsertion tube 356, there may be acontrol section 354, aconnector section 352, and asystem 358 that will prevent theinsertion tube 356 from sliding onto theinner support 108 at the first end. Thecolonoscope 350 has apointed end 360 at the second end of theinsertion tube 356 that is configured to slide into theinner support 108.
However, when thetip 360 is in thebody orifice 106 or thebody lumen 104, thetip 360 cannot slide into theinner support 108.
Fig. 34(B) shows the following from left to right: aprobe 250 external to the one-piece construction of theinner support 108, the inner support biased to a closed position; aprobe 250 within theinner support 108, the inner support being in an open state; and aprobe 250 positioned within theinner support 108 and surrounded by theinner support 108, the inner support being in a closed state. There may be challenges in manufacturing theIRD 100 as one semi-rigid piece with aseam 292 along the length of the sides of theIRD 100 to facilitate sliding of theIRD 100 over the stylet after it is positioned in the body bore 106,body cavity 104, or both. For this reason, it may be necessary to havebrackets 656 or other fasteners to more closely approximate the edges of theseam 292 so that theIRD 100 may facilitate retention of blown-in retention material, as discussed elsewhere.
Fig. 34(C) shows the following from left to right: a two-piece construction of theouter probe 250 at theinner support 108; aprobe 250 within theinner support 108, the inner support being in an open state; and aprobe 250 positioned within theinner support 108 and surrounded by theinner support 108, the inner support being in a closed state.
Fig. 35 shows a perspective view of another embodiment ofIRD 100. As shown, theouter support 112, theintermediate portion 110, and theinner support portion 168 may be formed from one piece. Alternatively, as shown in other embodiments, theouter support 112, theintermediate portion 110, and theinner support portion 168 may be formed of two or more pieces. The combinedouter support 112,intermediate portion 110, andinner support portion 168 may be referred to herein as a handle orbase member 400.
Theinner support 108 may be affixed to thebase member 400 by heat staking/welding, laser welding, induction bonding, RF welding, impulse sealing, adhesives, or other suitable methods. The balloon may also be formed using various methods: dip molding, thermoforming, welding extruded films, or other suitable methods. Thebase member 400 may be formed via injection molding, compression molding, transfer molding, liquid silicone rubber molding, or other suitable methods. All materials are biocompatible.
Thebase member 400 may be semi-rigid, with a rigidity greater than the internal support in the expanded state. The internal support may be a balloon having an unexpanded state and an expanded state as shown. The balloon may be configured to interlock and snap closed upon itself in the expanded state. The balloon may be thermoformed in this manner as follows: when the balloon is inflated from the unexpanded state to the expanded state, thefirst end 402 of theinner support 108 and thesecond end 404 of theinner support 108 lock together to create a seal between the two ends of the balloon portion of theinner support 108. In doing so, the balloon in the expanded state forms aninternal support 108 that creates an effective seal for retaining the insufflation material.
In the unexpanded state, the internal support has an open state. In the expanded state, theinner support 108 has a closed state. In the unexpanded state of theinternal support 108, thebase member 400 may have an open state with theseam 292 along the entire length of thebase member 400. In the expanded state of theinternal support 108, thebase member 400 may have a closed state. In the open state of theinternal support 108 andbase member 400, theIRD 100 may be placed around the probe when the probe is in a body cavity, body orifice, or both, because theseam 292 is substantially open. In the closed state of theinner support 108 and thebase member 400, theIRD 100 may not be placed around the probe when the probe is in the body cavity, the body orifice, or both the body cavity and the body orifice because theseam 292 is substantially closed. However, in the closed state of theinternal support 108 andbase member 400, when the probe is not in the body cavity, body orifice, or both the body cavity and body orifice, theIRD 100 can slide theIRD 100 past the probe because thepassageway 264 for the probe is open so that insufflation material is not retained when the probe is not present.
As shown, theinternal support 108 is not configured to engage the stylet, and thus the inflated balloon of theinternal support 108 may not contribute to the seal between theIRD 100 and the stylet. Alternatively, theinternal support 108 may be configured to engage the stylet to facilitate a seal between theIRD 100 and the stylet.
Fig. 36 shows a perspective view of another embodiment ofIRD 100. As shown, theouter support 112, theintermediate portion 110, and theinner support portion 168 may be formed from one piece. Theinternal support 108 may be a balloon having an unexpanded state, not shown. Theinternal support 108 may be a balloon having an expanded state as shown. Theinner support 108 may be affixed to thebase member 400. Thebase member 400 may be semi-rigid, with a rigidity greater than theinternal support 108 in the expanded state. When theinner support 108 is in the unexpanded state, the user may coil theinner support 108 around thebase member 400 into a coil (coil). The user then inserts theIRD 100 into the patient and inflates theinternal support 108 from the unexpanded state to the expanded state.
Again, in the unexpanded state, theinternal support 108 has an open state. In the expanded state, theinner support 108 has a closed state. In the unexpanded state of theinternal support 108, the base member may have an open state with aseam 292 along the entire length of thebase member 400, which seam is not shown. In the expanded state of the internal support, thebase member 400 may have a closed state. In the open state of theinternal support 108 andbase member 400, theIRD 100 may be placed around the probe when the probe is in a body cavity, body orifice, or both, because theseam 292 is substantially open. In the closed state of the internal support andbase member 400, theIRD 100 may not be placed around the probe when the probe is in the body cavity, body orifice, or both the body cavity andbody orifice 106, because theseam 292 is substantially closed. However, in the closed state of theinternal support 108 andbase member 400, when the probe is not in the body cavity, body orifice, or both the body cavity and the body orifice, theIRD 100 may slide theIRD 100 past the probe because the access for the probe is open.
As shown, the balloon portion of theinternal support 108 is configured to not engage the stylet when present, and thus the expandedinternal support 108 does not facilitate a seal between theIRD 100 and the stylet.
As shown, the inner buttress portion may have an end portion with achamfer 406 or beveled edge, which may facilitate passage of theIRD 100 through a body orifice into a body cavity. Alternatively, as shown in other embodiments, theinner support 108 may have an end portion with a blunt edge.
Fig. 37-38 show isometric views of other embodiments ofIRD 100.Outer support 112,intermediate portion 110, andinner support portion 168 are referred to asbase member 400 and may be formed of two or more pieces or components. For example, the outer buttress 112, theintermediate portion 110, and the inner buttressportion 168 may be formed by bringing the first andsecond body members 200, 202 together. The first body member may have a first bodyouter support 112, a first bodyintermediate portion 110, and a first bodyinner support portion 168. The second body member may have a second bodyouter support 112, a second bodyintermediate portion 110, and a second bodyinner support portion 168. When the first and second body components are combined, the first and second body components may form the outer buttress 112, theintermediate portion 110, and the inner buttressportion 168 of theIRD 100. Theinner support 108 may be affixed to thebase member 400 by welding, adhesive, or other suitable method. The first and second body members may be semi-rigid, with a rigidity greater than theinner struts 108 in the expanded state. Theinternal support 108 may be a balloon having an unexpanded state and an expanded state as shown. The balloon of thefirst body member 200 may be separate and isolated from the balloon of the second body member. Thefirst body member 200 may have ainflation material conduit 166 in fluid communication with a first inflation material conduit in fluid communication with the first lumen of the first balloon. Thesecond body member 202 may have a secondinflation material conduit 466 in fluid communication with a second inflation material conduit in fluid communication with the second lumen of the second balloon. Although the first and second balloons may be inflated independently in a sequential manner by one source or simultaneously by 2 sources, the first and second inflation material lines may be connected by a Y-valve so that the user can still use a single source to inflate both the first and second balloons simultaneously.
By way of example and not limitation, the first and second body members may have fasteners, such assnaps 205 andsnap receptacles 206. Further, by way of example and not limitation, the first andsecond body members 200, 202 may have guides, such as locatingpins 208 and locatingholes 210. The fasteners on thefirst body member 200 may be positioned to engage the fasteners on thesecond body member 202. The guide on thefirst body member 200 may be positioned to engage the guide on thesecond body member 202. For any configuration ofIRD 100, because the first and second body members are opposite mirror images of each other, the actual components that are the first and second body members may be used interchangeably after manufacture.
As shown in fig. 38, the first andsecond body members 200 and 202 may be connected by ahinge 225 between the first bodyouter support 112 of thefirst body member 200 and the second bodyouter support 112 of thesecond body member 202. As shown, the flared portion of theinner support 108 may be configured to not engage thestylet 250, and thus the flared portion of theinner support 108 does not facilitate a seal between theIRD 100 and the stylet. Theinternal struts 108 are configured to extend peripherally from theIRD 100 as theinternal struts 108 expand.
Fig. 39, 40 and 41 show further embodiments ofIRD 100 in cross-section. Theouter buttress 112, theintermediate portion 110, and the inner buttressportion 168 may be formed of two or more pieces or body members. For example, the outer buttress 112, theintermediate portion 110, and the inner buttressportion 168 may be formed by bringing together a first body member and a second body member. The first body component may have a first body outer support, a first body intermediate portion, and a first body inner support portion. The second body member may have a second body outer support, a second body intermediate portion and a second body inner support portion. When the first and second body components are combined, the first and second body components may form the body components of the outer buttress, the middle portion, and the inner buttress portion, which are also referred to herein as base components.
The body member shown in fig. 39 is complementary to the body member shown in fig. 40 or 41. In other words,outer support 112,intermediate portion 110, andinner support portion 168 may be complementary. As shown, theouter support 112, theintermediate portion 110, and theinner support portion 168 may be formed from one piece. Thepassageway 264 extends along the entire length of one side of theIRD 100 from theinner support 108 through theintermediate portion 110 to theouter support 112. Thepassageway 264 may be defined by a passageway structure extending from theinner support 108 to theouter support 112.
The complementary features of the body member may be reversed as desired. As shown, thedilation material conduit 166 for theIRD 100 may be present on only one of the first or second body members. As shown in phantom, theinflation material conduit 142 may extend through the body member from theinflation material conduit 166 to the lumen of the existing balloon such that the inflation material conduit is in fluid communication with the lumen. The first body member may be in fluid communication with the second body member through avalve 600, such as, by way of example and not limitation, a male valve/snap as shown in fig. 39 that mates with a female valve/snap in fig. 40 or 41. In other words, the 2 components snap together to create a continuous air path to allow inflation from oneinflation material line 166 and source. Thus, while the balloons are isolated in the sense that one balloon is formed and attached to the first body member and the other balloon is formed and attached to the second body member, the balloons may be in fluid communication with theinflation material conduit 166 and a source that is the same for both balloons.
Additionally, as shown in the inner buttress portion, the body members may have fasteners or position guides, such as male/female locating features (214 and 216, respectively), to facilitate alignment of the first and second body members and assembly of theIRD 100.
As with other embodiments, theinner surface 344 of thepassageway 264 may support one or more O-ring type structures (also referred to herein as a gasket or sphincter). One passageway may have O-ring type structures 280 of different diameters so that probes of different diameters may be positioned in the interior of the passageway to form a probe O-ring type structure seal. If there is more than one O-ring structure 280, the larger diameter may be toward theouter support 112 and the smaller diameter may be toward theinner support 108, but the opposite is contemplated.
As shown, theinternal support 108 may be a balloon. The balloon may have avariable thickness 610 to facilitate inflation for expansion with insertion of a dilatation material. The balloon may be thinner towardfirst end 174 ofinner support portion 168 to facilitate expansion of the balloon towardinner support portion 168.
Different balloon arrangements are shown and contemplated. Fig. 39 shows the balloon extending from the outer periphery of the inner support portion to thefirst end 174 of theinner support portion 168. The balloon in the expanded state may be configured to engage the probe (when present) through thepassageway 264 to form a seal between the balloon and the probe. The balloon may be configured not to engage the stylet through the passage 264 (when a stylet is present) so that no seal is formed between the balloon and stylet, in which case other features would form a seal between theIRD 100 and the stylet in thepassage 264. In either case of certain embodiments, the balloon in the expanded state is not closed, and thus theIRD 100 cannot hold insufflation material without a probe in theIRD 100.
Fig. 40 shows the balloon extending from the outer periphery ofinner support portion 168 around and over (over)first end 174 ofinner support portion 168 intopassageway 264. Although the depth of the balloon into thepassageway 264 is shown to be substantially similar to the depth of the balloon along the outer perimeter of theinner support 108, the depth of the balloon into thepassageway 264 may be substantially greater or less than the depth of the balloon along the outer perimeter of theinner support 108. Inflation of the balloon in thepassageway 264 can create a probe balloon seal that accommodates probes of different diameters, shown as having alarger diameter 700 as will be shown in fig. 49(a), and asmaller diameter 702 as will be shown in fig. 49 (B). With the probe positioned within the passageway, a predetermined volume of an expandable material may be inserted into the lumen of the balloon. The user may feel resistance to further insertion of the expandable material using a syringe, pressure cuff pump, or other suitable source of expandable material. In certain embodiments, the balloon in the expanded state is not closed, and thus theIRD 100 cannot hold insufflation material without a probe in thepassageway 264.
Fig. 41 shows the balloons as aninner balloon 632 within thepassageway 264 and an outer balloon 634 outside thepassageway 264 and surrounding thepassageway 264. As shown, theinner balloon 632 and the outer balloon 634 may be in fluid communication such that a single source of inflation material may be used to inflate both balloons simultaneously, or the inner balloon and the outer balloon may not be in fluid communication such that a single source of inflation material will need to be used to inflate the balloons at different times, or different sources of inflation material will need to be used to inflate the balloons at the same time.
These embodiments are considered discontinuous with respect to the internal support because these embodiments have an open state in which the internal support may be placed around the probe when theIRD 100 is in the open state, when the probe is in the body orifice, body cavity, or both. Further, the inner support in embodiments has a closed state, wherein the inner support is closable around the probe when the probe is in the body orifice, the body cavity, or both.
In these various embodiments, the balloon may be manufactured separately from the base member and then attached to the base member at appropriate contact points 650 by heat welding or other suitable methods.
Fig. 42-49 illustrate another embodiment ofIRD 100. Unlike the two-piece construction as the first and second body members shown in fig. 39, 40, and 41, theIRD 100 illustrates a one-piece construction of thebase member 400 as the outer buttress 112, theintermediate portion 110, and the inner buttressportion 168. As with these other embodiments, theinternal support 108 may be a balloon that extends peripherally from thebase member 400 when expanded.
As shown in fig. 42-49, the balloon extends a distance along the exterior surface of the base member that is greater than the distance the balloon extends along the interior of the base member in the passageway, or vice versa. The length of the balloon extending along the exterior surface of the base member may also be substantially the same as the length of the balloon extending along the interior of the base member in the passageway. A balloon in the interior of the base member in the passageway may engage the probe to form a probe balloon seal to assist in retention of the insufflation material. The balloon on the exterior of the base member may form a body interior support seal to assist in retention of the insufflation material.
IRD 100 hasseam 292 that extends all the way along the length of the base member from the outer support to the inner support portion.Seams 292 are also present in the balloon of the inner support. TheIRD 100 shown in fig. 42-49 may have an open state and a closed state due to theseam 292. When theIRD 100 is in an open state, theIRD 100 may be placed around a probe when the probe is in a body orifice, a body cavity, or both. Further, the inner support has a closed state, wherein the inner support is closable around the probe when the probe is in the body orifice, the body cavity, or both.
Theouter support 112 may have anouter surface 670 and aninner surface 672. Theinner support 112 can have one or more support posts 674 on theinner surface 672. Fig. 50 illustrates, in cross-section and fig. 51 in perspective, another embodiment of theIRD 100 wherein thelumen 160 of the inner buttress 108 may extend circumferentially when expanded from the inner buttressportion 168 of the base member further including theintermediate portion 110 and theouter buttress 112. Thepassageway 264 configured for passage of a probe (when present) is shown as having two O-ring type structures 280, but it will be understood that it may have one or more O-ring type structures 280. An O-ring type structure 280 on the inner diameter of the base member allows a seal to be formed between theIRD 100 and the probe (when present). As shown, the O-ring type structure 280 may be surrounded by theouter support 112. One or more of the O-ring type structures 280 may also be surrounded by some combination of theintermediate portion 110 and theinner support portion 168. The O-ring type structure 280 may be used as a sphincter to allow sealing on probes of various diameters.IRD 100 hasseam 292 along its length fromfirst opening 420 tosecond opening 422. Because the internal support is discontinuous,IRD 100 has an open state and a closed state.
As shown in fig. 51, whenIRD 100 is in the closed state,IRD 100 may haveseam 292 which is not present through abutment of adjacent surfaces.
However, in a closed state whereseam 292 is not absent, the stylet cannot slide throughseam 292 intopassageway 264 fromoutside IRD 100.
As shown, theinner support 108 in the expanded state is configured to not engage the stylet (when the stylet is present) to form a seal between the expandedinner support 108 and the stylet.
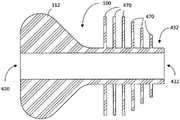
Fig. 52(a) and 52(B) show cross-sectional views of another embodiment ofIRD 100. As in other embodiments,passageway 264 extends along a length frominner support 108 throughmiddle portion 110 toouter support 112. Thepassageway 264 may be defined by apassageway structure 265 that extends from theinner support 108 to theouter support 112. Theinner support 108 may surround and lay in contacting proximity to anouter surface 430 of theaccess structure 265 toward an insertion end 432 (otherwise referred to as a first end) of theaccess structure 265. Theouter support 112 may surround and lay in contacting proximity with anouter surface 430 of theaccess structure 265 toward a handle 434 (otherwise referred to as a second end) of theaccess structure 265.
Theinner support 108 may be made of an elastomeric material, such as a polymer or natural rubber. Theouter support 112 may be made of a semi-rigid material that is more rigid than the elastomeric material of theinner support 108. Themiddle portion 110 may be made of a semi-rigid material and may also include an elastomeric material.
The first orinsertion end 432 of theaccess structure 265 may include an internalsupport retention member 436.Inner support 108 may be positioned betweenintermediate portion 110 and innersupport retention member 436.
An opposite second end or handle 434 of theaccess structure 265 may include an external buttressretention member 438.Outer support 112 may be positioned betweenintermediate portion 110 and outersupport retaining member 438.
Inner support 108 may be fixed relative to innersupport retaining member 436 at afirst end 450 ofinner support 108, andinner support 108 may be movable relative to innersupport retaining member 436 at an oppositesecond end 452 ofinner support 108. Theinner support 108 may be biased toward the extension of the oppositesecond end 452 of theinner support 108 toward theouter support 112. Such biasing of theinner support 108 toward theouter support 112 may bias theouter support 112 toward the outersupport retention member 438. Outersupport retention member 438 may be configured to preventouter support 112 from extending beyondhandle 434 and out ofaccess structure 265.
This embodiment may be considered to function in a manner similar to a well nut. TheIRD 100 may have an inserted state and a held state. In the insertion position, the user may insert theIRD 100 into thebody lumen 104 through thebody orifice 106. The user may slide theouter support 112 relative to theouter surface 430 of theaccess structure 265 toward theinner support 108 while the inner support is in thebody lumen 104. When theouter support 112 slides toward theinner support 108, theinner support 108 extends peripherally away from theaccess structure 265 when theIRD 100 is in the hold state. Theinternal buttress 108 may now prevent theIRD 100 from exiting thebody lumen 104 and may facilitate retention of the insufflation material.
Further,IRD 100 may includelatch 460 to maintain this retention state. In the inserted state, thelatch 460 may be surrounded by theouter support 112. As theouter support 112 slides toward theinner support 108, theouter support 112 may no longer enclose thelatch 460. Thelatch 460 may be biased to extend circumferentially from theaccess structure 265. When theouter support 112 no longer surrounds thelatch 460, thelatch 460 may extend peripherally from theaccess structure 265. Thelatch 460 may hold theouter support 112 and theinner support 108 in a retained state when thelatch 460 extends peripherally from theaccess structure 265. The user may push thelatch 460 centrally toward theaccess structure 265 such that the bias of theouter support 112 toward the outersupport retention member 438 is no longer counteracted by thelatch 460. Thus, theouter support 112 will slide towards the outersupport retaining member 438 and theinner support 108 can move centrally towards theaccess structure 265 such that theinner support 108 can no longer prevent theIRD 100 from exiting thebody cavity 104 and can no longer facilitate retention of the insufflation material. TheIRD 100 has transitioned from the retention state back to the insertion state such that theIRD 100 may be removed from thebody aperture 106 and thebody cavity 104.
Fig. 53 shows another embodiment ofIRD 100 in cross-section and fig. 54 in perspective view. Previously, embodiments have been shown having an O-ring type structure or sphincter inside the passageway. In this embodiment, the O-ring type structure is shown external to the access structure. This embodiment appears somewhat like a fir tree with one ormore branches 470.Branches 470 of the tree may be shorter towardinsertion end 432 ofIRD 100 to act as a chamfered edge, and longer towardexternal support 112.Branches 470 may be made of an elastic material that may flex asIRD 100 is inserted and removed from the body lumen. For example, and not by way of limitation,branch 470 may be a soft rubber disk. One or more ofbranches 470 may extend into the body lumen during use ofIRD 100, and one or more ofbranches 470 may remain in the body bore during use ofIRD 100. As with other embodiments, lubricant may be applied toIRD 100, such as alongbranch 470.
Extending throughIRD 100 is apassageway 264 having afirst opening 420 configured for entry of a stylet intoIRD 100 and asecond opening 422 configured for exit of a stylet fromIRD 100. As shown, this embodiment of theIRD 100 may only have a closed state for sliding the stylet into theIRD 100 when the stylet is not in the body orifice or cavity.
Fig. 55 shows another embodiment ofIRD 100 in cross-section and fig. 56 in perspective view. This embodiment shows an O-ring type structure 280 external to theaccess structure 265. The O-ring type structures 280 may be substantially the same length. The O-ring type structure 280 may be provided by aninner holder portion 168 that is externally affixed to theaccess structure 265. This embodiment may appear somewhat like a long "fur" collar, which in combination with a lubricant may form an effective seal. While the O-ring type structures 280 may extend substantially parallel to each other and substantially perpendicular to the viastructures 265, the O-ring type structures 280 may extend diagonally and substantially non-perpendicular to the viastructures 265. The orientation of the O-ring type structure 280 may facilitate retention of the blown-in retaining material. Of course, the O-ring type structure 280 may be flexible and change orientation when inserted and retracted from a body orifice or cavity.
Fig. 57 shows a cross-section of another embodiment ofIRD 100. The winding path of theseam 292 between the first andsecond body members 200, 202 may help align the first andsecond body members 200, 202 when the user transitions the first andsecond body members 200, 202 from the open state to the closed state. Thepassageway 264 extends through the combination of the first andsecond body members 200, 202. Thefirst body member 200 may have theinner lumen 160 of theinner strut 108 so that theinner strut 108 of thefirst body member 200 may expand from a contracted or unexpanded state upon introduction of an expansion material. Thesecond body member 202 may have theinner lumen 160 of theinner strut 108 so that theinner strut 108 of thesecond body member 202 may expand from a contracted or unexpanded state upon introduction of an expanding material. In this embodiment, thelumen 160 of theinner strut 108 of thefirst body member 200 may not be in fluid communication with thelumen 160 of theinner strut 108 of thesecond body member 202.
Fig. 58 shows a cross-section of another embodiment ofIRD 100. Any suitable material may be applied around theprobe 250 and adhesive 490, such as an elastomeric material 488 (such as a thermoplastic elastomer or other elastomeric material), as shown in fig. 59, where anadhesive edge 492 may be used around theIRD 100 to place theIRD 100 in a closed state.
Fig. 60(a) shows an isometric view of apressure cuff pump 500 that can serve as a source of inflation material throughinflation material tubing 166 for inflating the inner or outer buttress lumens. Thepressure cuff pump 500 is squeezed for inflation. One can pinch to open the one-way valve for deflation. A one-way duckbill valve 502 may be included as shown in figure 60 (B). The syringe may be used for inflation along with other sources contemplated by those skilled in the art. As previously shown,IRD 100 may require a valve to retain the expanded material after inflation of the inner buttress, outer buttress or intermediate portion.
Fig. 61(a) shows an isometric view of another embodiment ofIRD 100. The softthermoplastic elastomer 508 may be overmolded onto therigid core 510. Therigid core 510 is more rigid than the softthermoplastic elastomer 508. Therigid core 510 may be made of polypropylene or other suitable material. The softthermoplastic elastomer 508 may have a rating of about 50A hardness or other suitable rating.
Fig. 61(B) showsIRD 100 in cross-section withprobe 250 withinrigid core 510. During use, whenIRD 100 is inserted into a body orifice, body cavity, or both, theseam 292 seen between the surfaces may not be present. TheIRD 100 may include an internal support, such as a balloon.
As shown in various embodiments throughout the present disclosure, in some embodiments, theinner support 108 and theouter support 112 are not configured to engage thestylet 250, and thus theinner support 108 and theouter support 112 may not contribute to the seal between theIRD 100 and thestylet 250. In other embodiments, theinner support 108 and theouter support 112 are configured to engage thestylet 250, and thus theinner support 108 and theouter support 112 may facilitate a seal between theIRD 100 and thestylet 250. Whether or not theinner support 108 and theouter support 112 engage thestylet 250, theinner support 108 and theouter support 112 may facilitate a seal between theIRD 100 and the body 102 (such as thebody cavity 104, the body bore 106, and thewall 120 of the body bore 106).
Of course, care is taken to optimize the contact of theinternal supports 108,external supports 112, and other parts of theIRD 100 with thebody 102,body cavity 104, andbody orifice 106, as well as other aspects of the patient, to minimize the risk of pressure necrosis (pressure necrosis) or other adverse side effects caused by use of theIRD 100. This may be accomplished by having a predetermined volume for the expandable material, which in turn will establish a predetermined pressure that theinternal supports 108,external supports 112, etc. of theIRD 100 exert on thebody 102,body cavity 104,body orifice 106, etc.
A method of usingIRD 100 may include the following steps. At a first step, theIRD 100 is inserted into abody cavity 104 of thebody 102 through abody orifice 106 of thebody 102. At a second step, insufflation material is injected into thebody cavity 104. At a third step, the user performs a diagnostic intervention, a therapeutic intervention, or both a diagnostic intervention and a therapeutic intervention using the probe. Additional steps are contemplated. For example, but not limited to, a probe may be inserted through thebody orifice 106 before, after, or in conjunction with inserting an IRD through thebody orifice 106.
It is to be understood that even though numerous characteristics and advantages of various embodiments of the present disclosure have been set forth in the foregoing description, together with details of the structure and function of various embodiments of the disclosure, this detailed description is illustrative only, and changes may be made in detail, especially in matters of structure and arrangement of parts within the principles of the present disclosure to the full extent indicated by the broad general meaning of the terms used in the appended claims. And changes may be made in detail, especially in matters of structure and arrangement of parts within the principles of the present disclosure to the full extent indicated by the broad general meaning of the terms in which the appended claims are expressed.

Claims (15)

Translated fromChinese
1.一种吹入保持装置,其包括:1. An insufflation holding device comprising:内部支撑物,其被构造成抑制穿过身体的体孔从体腔移除所述内部支撑物,其中,所述内部支撑物具有未扩张状态和在引入扩张材料之后的扩张状态,并且处于扩张状态的所述内部支撑物围绕所述吹入保持装置的端部延伸;An inner buttress configured to inhibit removal of the inner buttress from a body cavity through a body aperture of the body, wherein the inner buttress has an unexpanded state and an expanded state after introduction of an expansion material, and is in an expanded state the inner support extends around the end of the insufflation holder;联接到所述内部支撑物的外部支撑物,所述外部支撑物被构造成抑制所述外部支撑物穿过所述体孔进入到所述体腔中,其中,所述外部支撑物仅具有扩张状态而不具有未扩张状态;an outer strut coupled to the inner strut, the outer strut configured to inhibit passage of the outer strut through the body aperture into the body lumen, wherein the outer strut has only an expanded state without having an unexpanded state;延伸穿过所述内部支撑物和所述外部支撑物的通路,所述通路被构造成用于使探针穿过从而与所述体腔接触性接合,其中,所述通路被构造成在所述通路中不存在所述探针的情况下为打开的,使得被引入到所述体腔中的吹入材料未被保持在所述体腔中;a passageway extending through the inner support and the outer support, the passageway configured for passage of a probe into contact engagement with the body cavity, wherein the passageway is configured to be in contact with the body cavity the passage is open in the absence of the probe such that insufflation material introduced into the body cavity is not retained in the body cavity;接缝,其从所述通路的外部表面延伸到所述通路的内部表面,其中,所述接缝从所述内部支撑物一直延伸到所述外部支撑物。a seam extending from the outer surface of the passage to the inner surface of the passage, wherein the seam extends from the inner support to the outer support.2.根据权利要求1所述的吹入保持装置,其中,处于所述扩张状态的所述内部支撑物被构造成与所述探针接触性地相邻。2. The insufflation retention device of claim 1, wherein the inner buttress in the expanded state is configured to be contactingly adjacent to the probe.3.根据权利要求1所述的吹入保持装置,其中,处于所述扩张状态的所述内部支撑物被构造成不与所述探针接触性地相邻。3. The insufflation retention device of claim 1, wherein the inner support in the expanded state is configured not to be in contact adjacency with the probe.4.根据权利要求1所述的吹入保持装置,其中,所述通路被构造成用于使探针穿过而从所述外部支撑物中的第一开口到达所述内部支撑物中的第二开口。4. The insufflation retention device of claim 1, wherein the passageway is configured for passage of a probe from a first opening in the outer support to a second opening in the inner support Two open.5.根据权利要求1所述的吹入保持装置,其中,所述接缝被构造成从所述外部支撑物中的第一开口延伸到所述内部支撑物中的第二开口,使得所述通路具有当所述探针不存在时不保持吹入材料的开放状态以及当所述探针在所述通路中时确实保持所述吹入材料的闭合状态。5. The insufflation retention device of claim 1, wherein the seam is configured to extend from a first opening in the outer support to a second opening in the inner support such that the The passage has an open state that does not hold the insufflation material when the probe is not present and a closed state that does hold the insufflation material when the probe is in the passage.6.一种吹入保持装置,其包括:6. An insufflation retention device comprising:内部支撑物,其被构造成抑制穿过身体的体孔从体腔移除所述内部支撑物,其中,所述内部支撑物具有未扩张状态和在引入扩张材料之后的扩张状态,并且处于扩张状态的所述内部支撑物围绕所述吹入保持装置的端部延伸;An inner buttress configured to inhibit removal of the inner buttress from a body cavity through a body aperture of the body, wherein the inner buttress has an unexpanded state and an expanded state after introduction of an expansion material, and is in an expanded state the inner support extends around the end of the insufflation holder;联接到所述内部支撑物的外部支撑物,所述外部支撑物被构造成抑制所述外部支撑物穿过所述体孔进入到所述体腔中,其中,所述外部支撑物仅具有扩张状态而不具有未扩张状态;an outer strut coupled to the inner strut, the outer strut configured to inhibit passage of the outer strut through the body aperture into the body lumen, wherein the outer strut has only an expanded state without having an unexpanded state;延伸穿过所述内部支撑物和所述外部支撑物的通路,所述通路被构造成用于使探针穿过从而与所述体腔接触性接合,其中,所述通路被构造成在所述通路中不存在所述探针的情况下为打开的,使得被引入到所述体腔中的吹入材料未被保持在所述体腔中,其中,处于所述扩张状态的所述内部支撑物延伸到所述通路中以用于与所述探针接触性接合;a passageway extending through the inner support and the outer support, the passageway configured for passage of a probe into contact engagement with the body cavity, wherein the passageway is configured to be in contact with the body cavity The passage is open in the absence of the probe such that insufflation material introduced into the body cavity is not retained in the body cavity, wherein the inner support in the expanded state extends into the passageway for contact engagement with the probe;接缝,其从所述通路的外部表面延伸到所述通路的内部表面,其中,所述接缝从所述内部支撑物一直延伸到所述外部支撑物。a seam extending from the outer surface of the passage to the inner surface of the passage, wherein the seam extends from the inner support to the outer support.7.根据权利要求6所述的吹入保持装置,其中,处于所述扩张状态的所述内部支撑物被构造成与所述探针接触性地相邻。7. The insufflation retention device of claim 6, wherein the inner buttress in the expanded state is configured to be contactingly adjacent to the probe.8.根据权利要求6所述的吹入保持装置,其中,处于所述扩张状态的所述内部支撑物被构造成不与所述探针接触性地相邻。8. The insufflation retention device of claim 6, wherein the inner buttress in the expanded state is configured not to be in contact with the probe.9.根据权利要求6所述的吹入保持装置,其中,所述通路被构造成用于使探针穿过而从所述外部支撑物中的第一开口到达所述内部支撑物中的第二开口。9. The insufflation holder of claim 6, wherein the passageway is configured for passage of a probe from a first opening in the outer support to a second opening in the inner support Two open.10.根据权利要求6所述的吹入保持装置,其中,所述接缝被构造成从所述外部支撑物中的第一开口延伸到所述内部支撑物中的第二开口,使得所述通路具有当所述探针不存在时不保持吹入材料的开放状态以及当所述探针在所述通路中时确实保持所述吹入材料的闭合状态。10. The insufflation retention device of claim 6, wherein the seam is configured to extend from a first opening in the outer support to a second opening in the inner support such that the The passage has an open state that does not hold the insufflation material when the probe is not present and a closed state that does hold the insufflation material when the probe is in the passage.11.一种吹入保持装置,其包括:11. An insufflation retention device comprising:内部支撑物,其被构造成抑制穿过身体的体孔从体腔移除所述内部支撑物,其中,所述内部支撑物具有未扩张状态和在引入扩张材料之后的扩张状态;an inner buttress configured to inhibit removal of the inner buttress from a body lumen through a body aperture of the body, wherein the inner buttress has an unexpanded state and an expanded state after introduction of an expansion material;联接到所述内部支撑物的外部支撑物,所述外部支撑物被构造成抑制所述外部支撑物穿过所述体孔进入到所述体腔中,其中,所述外部支撑物仅具有扩张状态而不具有未扩张状态;an outer strut coupled to the inner strut, the outer strut configured to inhibit passage of the outer strut through the body aperture into the body lumen, wherein the outer strut has only an expanded state without having an unexpanded state;延伸穿过所述内部支撑物和所述外部支撑物的通路,所述通路被构造成用于使探针穿过从而与所述体腔接触性接合,其中,所述通路被构造成在所述通路中不存在所述探针的情况下为打开的,使得被引入到所述体腔中的吹入材料未被保持在所述体腔中;a passageway extending through the inner support and the outer support, the passageway configured for passage of a probe into contact engagement with the body cavity, wherein the passageway is configured to be in contact with the body cavity the passage is open in the absence of the probe such that insufflation material introduced into the body cavity is not retained in the body cavity;接缝,其从所述通路的外部表面延伸到所述通路的内部表面,其中,所述接缝从所述内部支撑物一直延伸到所述外部支撑物,其中,所述内部支撑物具有在所述通路内部的第一球囊以及在所述通路外部的独立的第二球囊,并且所述第一球囊和所述第二球囊流体连通,但所述第一球囊和所述第二球囊不从所述内部支撑物的端部四处走动。a seam extending from the outer surface of the passageway to the inner surface of the passageway, wherein the seam extends from the inner support to the outer support, wherein the inner support has an A first balloon inside the passageway and a separate second balloon outside the passageway, and the first and second balloons are in fluid communication, but the first balloon and the The second balloon does not walk around from the end of the inner support.12.根据权利要求11所述的吹入保持装置,其中,处于所述扩张状态的所述内部支撑物被构造成与所述探针接触性地相邻。12. The insufflation retention device of claim 11, wherein the inner buttress in the expanded state is configured to be contactingly adjacent to the probe.13.根据权利要求11所述的吹入保持装置,其中,处于所述扩张状态的所述内部支撑物被构造成不与所述探针接触性地相邻。13. The insufflation retention device of claim 11, wherein the inner buttress in the expanded state is configured not to be in contact with the probe.14.根据权利要求11所述的吹入保持装置,其中,所述通路被构造成用于使探针穿过而从所述外部支撑物中的第一开口到达所述内部支撑物中的第二开口。14. The insufflation holder of claim 11, wherein the passageway is configured for passage of a probe from a first opening in the outer support to a second opening in the inner support. Two open.15.根据权利要求11所述的吹入保持装置,其中,所述接缝被构造成从所述外部支撑物中的第一开口延伸到所述内部支撑物中的第二开口,使得所述通路具有当所述探针不存在时不保持吹入材料的开放状态以及当所述探针在所述通路中时确实保持所述吹入材料的闭合状态。15. The insufflation retention device of claim 11, wherein the seam is configured to extend from a first opening in the outer support to a second opening in the inner support such that the The passage has an open state that does not hold the insufflation material when the probe is not present and a closed state that does hold the insufflation material when the probe is in the passage.
CN201980046456.2A2018-05-112019-05-13Insufflation retention device with balloonPendingCN112804930A (en)

Applications Claiming Priority (5)

Application NumberPriority DateFiling DateTitle
US15/976,885US11273269B2 (en)2017-05-112018-05-11Insufflation retention device
US15/9768852018-05-11
US201962920037P2019-04-092019-04-09
US62/9200372019-04-09
PCT/US2019/000024WO2019216960A1 (en)2018-05-112019-05-13Insufflation retention device with balloon

Publications (1)

Publication NumberPublication Date
CN112804930Atrue CN112804930A (en)2021-05-14

Family

ID=68468503

Family Applications (1)

Application NumberTitlePriority DateFiling Date
CN201980046456.2APendingCN112804930A (en)2018-05-112019-05-13Insufflation retention device with balloon

Country Status (6)

CountryLink
EP (1)EP3773133A4 (en)
JP (2)JP2021522928A (en)
KR (1)KR102572599B1 (en)
CN (1)CN112804930A (en)
CA (1)CA3099666A1 (en)
WO (1)WO2019216960A1 (en)

Citations (10)

* Cited by examiner, † Cited by third party
Publication numberPriority datePublication dateAssigneeTitle
JPH0923560A (en)*1995-07-071997-01-21Shiyoudenshiya:KkCable introduction part sealing member
US5964781A (en)*1995-05-191999-10-12General Surgical Innovations, Inc.Skin seal with inflatable membrane
US20070005086A1 (en)*2005-06-212007-01-04Gresham Richard DAdjustable trocar washer
US20070213661A1 (en)*2006-03-102007-09-13Fred GobelClosure system for managing rectal or anal incontinence
US20100261962A1 (en)*2007-03-212010-10-14Friedberg Joseph SNatural orifice transluminal endoscopic surgery overtube and method of introducing multiple endoscopes
US20110218389A1 (en)*2004-07-232011-09-08Goebel FredDevice for sealing and drainage of a natural or artificial intestinal outlet
US20120157780A1 (en)*2010-12-202012-06-21Greg OkoniewskiAccess assembly with translating lumens
JP2015062441A (en)*2013-09-242015-04-09テルモ株式会社Guiding catheter
US20160045220A1 (en)*2014-08-152016-02-18Applied Medical Resources CorporationNatural orifice surgery system
CN106073687A (en)*2016-08-162016-11-09江苏瑞上医疗器械有限公司 anorectal intubation

Family Cites Families (12)

* Cited by examiner, † Cited by third party
Publication numberPriority datePublication dateAssigneeTitle
US5147316A (en)*1990-11-191992-09-15Castillenti Thomas ALaparoscopic trocar with self-locking port sleeve
US5267970A (en)*1991-11-011993-12-07Origin Medsystems, Inc.Device for anchoring trocar sleeve
US5836048A (en)*1996-08-091998-11-17Mcdonnell Douglas CorporationUniversal fire barrier grommet
AU2003239407B2 (en)*2002-05-092008-10-30Covidien LpAdjustable balloon anchoring trocar
US6768058B2 (en)2002-09-262004-07-27Kirkhill-Ta Co.Self-sealing grommet assembly
US8419695B2 (en)*2005-05-242013-04-16Boston Scientific Scimed, Inc.Apparatus and method of maintaining insufflation
KR20070000044U (en)2006-11-222007-01-09양병원 Aquatic solar system
AU2009222028A1 (en)*2008-03-032009-09-11Applied Medical Resources CorporationBalloon trocar advanced fixation
US8795161B2 (en)*2008-06-252014-08-05Covidien LpButton port
US9339365B2 (en)*2011-07-072016-05-17David D. ParkDevice and method for delivering grafts
KR20130056081A (en)2011-11-212013-05-29삼성전기주식회사Device and method for sensing touch input
CN111132594A (en)*2017-05-112020-05-08碧安多有限责任公司 Blow into the holding device

Patent Citations (10)

* Cited by examiner, † Cited by third party
Publication numberPriority datePublication dateAssigneeTitle
US5964781A (en)*1995-05-191999-10-12General Surgical Innovations, Inc.Skin seal with inflatable membrane
JPH0923560A (en)*1995-07-071997-01-21Shiyoudenshiya:KkCable introduction part sealing member
US20110218389A1 (en)*2004-07-232011-09-08Goebel FredDevice for sealing and drainage of a natural or artificial intestinal outlet
US20070005086A1 (en)*2005-06-212007-01-04Gresham Richard DAdjustable trocar washer
US20070213661A1 (en)*2006-03-102007-09-13Fred GobelClosure system for managing rectal or anal incontinence
US20100261962A1 (en)*2007-03-212010-10-14Friedberg Joseph SNatural orifice transluminal endoscopic surgery overtube and method of introducing multiple endoscopes
US20120157780A1 (en)*2010-12-202012-06-21Greg OkoniewskiAccess assembly with translating lumens
JP2015062441A (en)*2013-09-242015-04-09テルモ株式会社Guiding catheter
US20160045220A1 (en)*2014-08-152016-02-18Applied Medical Resources CorporationNatural orifice surgery system
CN106073687A (en)*2016-08-162016-11-09江苏瑞上医疗器械有限公司 anorectal intubation

Also Published As

Publication numberPublication date
JP2025081325A (en)2025-05-27
JP2021522928A (en)2021-09-02
CA3099666A1 (en)2019-11-14
EP3773133A4 (en)2022-01-05
EP3773133A1 (en)2021-02-17
WO2019216960A1 (en)2019-11-14
KR20210008388A (en)2021-01-21
KR102572599B1 (en)2023-08-30

Similar Documents

PublicationPublication DateTitle
US12121651B2 (en)Insufflation retention device with balloon
US8403827B2 (en)Endoscopic insertion aid, endoscopic system, and method of inserting insertion portion of endoscope into body cavity by use of endoscopic insertion aid
CN103781394B (en) Balloon-like access device for endoscopy
US9833126B2 (en)Balloon access device with features for engaging an endoscope
US8968191B2 (en)Expandable access assembly including an internal thread mechanism
US9144422B2 (en)Surgical access assembly and method of use therefor
US11779196B2 (en)Gastrointestinal endoscopy with attachable intestine pleating structures
US9055907B2 (en)Surgical access port
US20210378493A1 (en)Systems, methods and devices for performing endoscopic procedures
JP2009504229A (en) Balloon guided endoscopy
US20080091080A1 (en)Device and Method for Use in Surgery
JP2012110673A (en)Access device including expandable distal flange
JP7212388B2 (en) pneumoperitoneum holding device
CN112804930A (en)Insufflation retention device with balloon
JP2003126105A (en)Device for securing cavity for surgical operation
US20130131446A1 (en)Endoscopic overtube assembly
JP2002291754A (en)Stripper
CN222605201U (en)Disposable intestinal tract cleaning saccule
JP6023755B2 (en) Endoscope assembly, endoscope tool, device that interacts medically with tubular body parts
EP3079558A1 (en)Balloon access device with features for engaging an endoscope
JP2013046769A (en)Endoscope assembly
JP2010187744A (en)Endoscopic accessory and endoscope
JP2018008088A (en) Endoscopy tools
TWM571723U (en) Surgical dilator
JP2016165499A (en)Endoscopic tool

Legal Events

DateCodeTitleDescription
PB01Publication
PB01Publication
SE01Entry into force of request for substantive examination
SE01Entry into force of request for substantive examination
WD01Invention patent application deemed withdrawn after publication
WD01Invention patent application deemed withdrawn after publication

Application publication date:20210514


[8]ページ先頭

©2009-2025 Movatter.jp