





技术领域technical field
本发明涉及医疗器械技术领域,尤其涉及一种流体输注系统。The invention relates to the technical field of medical devices, in particular to a fluid infusion system.
背景技术Background technique
静脉输注是一种用注射器将少量或单一种类药品通过静脉注射给药的方法。然而,对于特定的药物,输注的时间和速度需要根据患者的病情情况来确定。然而人工输注的缺陷在于:(1)速度不稳定;(2)不能够在需要的时间内完成注射。相关的临床案例如下所示。Intravenous infusion is a method of administering a small amount or a single type of drug through an intravenous injection using a syringe. However, for a specific drug, the timing and rate of infusion need to be determined based on the patient's condition. However, the disadvantages of manual infusion are: (1) the speed is unstable; (2) the injection cannot be completed in the required time. The relevant clinical cases are shown below.
案例一:一位68岁患者,临床表现为精神行为异常:症状为24h不睡觉,见门就开,见屋就进不认识家人!为明确疾病诊断,排除相关疾病需要预行PET检查!检查前需要给予地西泮10mg静脉输注,时间大于5分钟!预约三次PET检查均未成功。原因在于:镇静剂不敢多注入,担心引发副作用;而且在药物起效后PET显影剂又超过时限!即现有技术无法精确测算安全用药量以及输注时间。Case 1: A 68-year-old patient with clinical manifestations of abnormal mental behavior: the symptoms are that he does not sleep for 24 hours, opens the door when he sees it, enters the house when he sees it, and does not know his family! In order to confirm the diagnosis of the disease and exclude related diseases, PET examination is required in advance! Before the examination, diazepam 10mg needs to be given intravenously for more than 5 minutes! Three appointments for PET examinations were unsuccessful. The reason is: the sedative is not dared to be injected too much, for fear of causing side effects; and the PET contrast agent exceeds the time limit after the drug takes effect! That is, the prior art cannot accurately measure the safe dosage and infusion time.
案例二:男患儿,在入院第二日需要进行腰穿术检查,及其不配合。医生在预检查前小剂量给予地西泮5mg,时间大于5分钟静脉输注。2.5ml的药液平均在5分钟内完成手工操作难以达到匀速精准。而且,地西泮又不可加入溶酶,会产生变色。该案例中,同样无法精确计算输注速度且实现匀速输注。Case 2: A male child who needed a lumbar puncture examination on the second day of admission was uncooperative. The doctor gave diazepam 5 mg in small doses, intravenous infusion over 5 minutes, before the pre-examination. 2.5ml of liquid medicine can be completed manually within 5 minutes on average, and it is difficult to achieve uniform speed and accuracy. Moreover, diazepam cannot be added with lysozyme, which will cause discoloration. In this case, it is also impossible to accurately calculate the infusion rate and achieve a uniform infusion.
案例三:73岁的患者,以脑梗死收入神经内科,既往冠心病,入院时肺部感染。入院第二天患者心率快呼吸急促咳粉红色泡沫痰发生急性左心衰伴呼吸衰竭,行气管插管术!患者牙关紧闭烦躁不安!遵医嘱给予力月西5mg静推,在输注2.5mg时患者安静!成功插管!即当前的自动输注装置无法基于患者病情变化来自动停止输注。Case 3: A 73-year-old patient was admitted to the Department of Neurology with cerebral infarction. He had a history of coronary heart disease and had a pulmonary infection on admission. On the second day of admission, the patient developed acute left heart failure with respiratory failure with rapid heart rate, shortness of breath, coughing pink foamy sputum, and underwent tracheal intubation! The patient is irritable with trismus! Give Liyuexi 5mg intravenously as prescribed by the doctor, and the patient will be quiet when 2.5mg is infused! Successful intubation! That is, the current automatic infusion device cannot automatically stop the infusion based on changes in the patient's condition.
基于以上的实际案例,当前的现有技术虽然存在部分自动输注的装置,但是现有自动输注装置都很庞大,也提升了操作复杂性,需要就其使用方式额外培训医护人员,无法在紧急状况下允许医护人员单手进行输注或停止,而且还能顾及观察患者状态变化。不仅如此,输注速度与患者的状态相关、隐私病症相关。在患者病情变化时无法通过科学的计算分析输注速度并且及时停止输注。因此,需要一种能够允许医护人员单手操作且能够便携的输注装置,该输注装置的输注方案需要是经过科学分析的,能医护人员提供辅助参考。Based on the above actual cases, although there are some automatic infusion devices in the current technology, the existing automatic infusion devices are very large, which also increases the complexity of the operation. In an emergency, the medical staff is allowed to perform infusion or stop with one hand, and it can also take into account the changes in the patient's status. Not only that, the infusion rate is related to the patient's state, privacy condition. When the patient's condition changes, it is impossible to analyze the infusion rate through scientific calculation and stop the infusion in time. Therefore, there is a need for an infusion device that can be operated by medical staff with one hand and can be portable. The infusion scheme of the infusion device needs to be scientifically analyzed and can provide auxiliary reference for medical staff.
专利文献CN107456625B公开了一种流体输注装置及其驱动系统。其中,所述驱动系统包括:主动构件;驱动机构,所述驱动机构用于驱动所述主动构件转动;从动构件,所述从动构件配置成与所述主动构件配合以使二者能够在相对转动的同时产生相对位移,其中,所述主动构件和从动构件中的一者被配置为:能够响应所述主动构件和从动构件中的另一者沿推动所述流体输注装置的活塞的第一方向的移动的受阻,产生沿第二方向的移动,所述第二方向与所述第一方向反向;和检测机构,用于检测所述主动构件和所述从动构件中的一者沿所述第二方向的移动是否满足设定条件。采用本发明的相关实施例,有利于准确、及时地确定流体输注装置的状态。虽然该类输注装置能够针对某种药物进行自动输注。但是,该流体输注装置不便于从自动输注迅速转变为手动输注。对于情绪状态、精神不稳定的患者,在注射精神类药物时注射过程不稳定,容易出现注射情况改变的现象,此时需要医护人员紧急改为手动输注以完成药剂的输注。因此,如何将自动输注与手动输注实现即时转换是处理应急情况中还未解决的问题。Patent document CN107456625B discloses a fluid infusion device and its driving system. Wherein, the driving system includes: an active member; a driving mechanism for driving the active member to rotate; a driven member configured to cooperate with the active member so that the two can be in Relative rotation occurs while generating relative displacement, wherein one of the active member and the driven member is configured to be responsive to the other of the active member and the driven member to push the fluid infusion device along a a blockage of movement in a first direction of the piston, resulting in movement in a second direction, the second direction being opposite to the first direction; and a detection mechanism for detecting in the driving member and the driven member Whether the movement of one of , in the second direction satisfies the set condition. The use of the relevant embodiments of the present invention facilitates accurate and timely determination of the status of the fluid infusion device. Although this type of infusion device can automatically infuse a certain drug. However, this fluid infusion device does not facilitate rapid transition from automatic to manual infusion. For patients with emotional state and mental instability, the injection process is unstable when injecting psychotropic drugs, and the injection situation is prone to change. At this time, medical staff need to urgently change to manual infusion to complete the infusion of the drug. Therefore, how to realize instant conversion between automatic infusion and manual infusion is an unsolved problem in dealing with emergency situations.
专利CN 110038190 A公开了一种自动静脉推注设备,该设备提供了一种可行的小型机电设备,其利用步进电机来保证匀速推注,同时公开了利用电阻调速的方式来设定注射速度以及注射量。该专利设计之时并未考虑有一定危险性药物的问题,特别是注射精神控制类药物,而且临床上静脉推注往往用于这类危险药物或者急诊需求,所以其使用范围极为有限。Patent CN 110038190 A discloses an automatic intravenous injection device, which provides a feasible small electromechanical device, which uses a stepping motor to ensure uniform injection, and discloses the use of resistance speed regulation to set injection speed and injection volume. The patent design did not consider the problem of certain dangerous drugs, especially the injection of mental control drugs, and intravenous bolus injection is often used for such dangerous drugs or emergency needs in clinical practice, so its scope of use is extremely limited.
虽然该类输注装置能够针对某种药物进行自动输注以及手动输注,但是不必考虑医护人员操作方便问题,例如根据病人的躯体微移动来调整注射角度,也不适合精神控制类药物输注时,需要根据病人的状态变化来随时调整注射速度。另外,此类设备适用于病人长期使用,且其适用人群较少用于非急性病情发作,不适用于急诊静脉输注的用途。Although this type of infusion device can perform automatic infusion and manual infusion of a certain drug, it does not need to consider the convenience of medical staff, such as adjusting the injection angle according to the patient's body movement, and it is not suitable for mental control drug infusion. At any time, the injection speed needs to be adjusted at any time according to the change of the patient's state. In addition, such devices are suitable for long-term use by patients, and are less suitable for non-acute disease episodes, and are not suitable for emergency intravenous infusion.
现有技术中也已经有利用电动马达来实现静脉输注的外置设备,但当前现有技术的外置设备都借助于电动马达控制方式,控制较为简单,均以开关控制方式来启动输注,单纯依赖医护人员来决定速度和启停。例如现有技术中已经公开了一种加装于传统注射器的外置自动推进设备,其实质就是利用步进马达实现推进。由于将其直接安装于注射器尾部,加装之后的注射器长度、重量和重心都有极大变化,故此导致操作方式显著变化。在医护人员面临紧急状况时,改变了医护人员的常用操作手法,会给精神控制类药物输注带来不确定的风险,故此类自动输注设备迄今都没有用于临床的记录,特别是精神控制类药物。In the prior art, there are also external devices that utilize electric motors to realize intravenous infusion, but the current external devices in the prior art all rely on the electric motor control mode, the control is relatively simple, and the infusion is started by the switch control mode. , relying solely on medical staff to determine the speed and start and stop. For example, the prior art has disclosed an external automatic propulsion device installed on a traditional syringe, which essentially uses a stepping motor to achieve propulsion. Since it is mounted directly on the tail of the syringe, the length, weight and center of gravity of the syringe after the addition are greatly changed, resulting in a significant change in the way of operation. When medical staff are faced with emergency situations, the common operation methods of medical staff are changed, which will bring uncertain risks to the infusion of mental control drugs. Therefore, such automatic infusion equipment has not been used in clinical records so far, especially for mental health. Control drugs.
此外,一方面由于对本领域技术人员的理解存在差异;另一方面由于发明人做出本发明时研究了大量文献和专利,但篇幅所限并未详细罗列所有的细节与内容,然而这绝非本发明不具备这些现有技术的特征,相反本发明已经具备现有技术的所有特征,而且申请人保留在背景技术中增加相关现有技术之权利。In addition, on the one hand, there are differences in the understanding of those skilled in the art; on the other hand, because the inventor has studied a large number of documents and patents when making the present invention, but the space limit does not list all the details and contents in detail, but this is by no means The present invention does not possess the features of the prior art, on the contrary, the present invention already possesses all the features of the prior art, and the applicant reserves the right to add relevant prior art to the background art.
发明内容SUMMARY OF THE INVENTION
针对现有技术之不足,本发明提供一种流体输注系统,所述系统至少包括运算分析单元、控制组件和输注组件,In view of the deficiencies of the prior art, the present invention provides a fluid infusion system, the system at least includes an arithmetic analysis unit, a control component and an infusion component,
所述控制组件基于运算分析单元发送的注射指令来控制输注组件按照预设的注射速度进行自动注射。输注组件加装注射装置时,会导致整个注射装置长度、体积和重量均出现变化,而且其注射方式还需要额外培训,对于医护人员反而构成了学习成本(这也是现有技术中的其他同类设备难以推广使用的原因)。但是,借助于本发明,由于同时关注了“注射方案”与“问诊信息和/或医疗操作信息”使得医护人员在注射精神控制类药物时,明显减轻了操作风险。而且,在出现危险状况时,传统注射器只需要立即拔出即可停止输注,而对于现有技术的其他自动输注设备,医护人员往往会迟疑片刻,不知如何停止,而本发明“允许单手操作的注射方式”能够在不拔针的情况下,立即停止输注,有效避免了特殊情况下的特殊风险。尤其是,因为本发明的技术方案能够将医护人员的个人风险与其他系统性风险区分开来,有助于自动输注设备的全面推广,能够有助于静脉输注药物与病情之间的关联性分析,为医疗、药品与患者病情因果关系分析有着重要意义。这种因果关系分析能够深入到脱敏后的患者数据(患者某些关键信息能够以不可复原的方式纳入到注射方案分析之中),所以这种因果关系与数据库特别有益于今后医疗信息化与智能化建设。The control component controls the infusion component to perform automatic injection according to the preset injection speed based on the injection instruction sent by the arithmetic analysis unit. When the infusion assembly is equipped with an injection device, the length, volume and weight of the entire injection device will change, and the injection method requires additional training, which constitutes a learning cost for medical staff (this is also the case of other similar devices in the prior art). The reason why the device is difficult to promote and use). However, with the aid of the present invention, since the "injection plan" and "inquiry information and/or medical operation information" are simultaneously paid attention to, the medical staff can obviously reduce the operation risk when injecting the mental control drugs. Moreover, when a dangerous situation occurs, the traditional syringe only needs to be pulled out immediately to stop the infusion, while for other automatic infusion equipment in the prior art, medical staff often hesitate for a while, not knowing how to stop, while the present invention "allows single The "hand-operated injection method" can stop the infusion immediately without pulling the needle, which effectively avoids the special risks in special circumstances. In particular, because the technical solution of the present invention can distinguish the personal risk of medical staff from other systemic risks, it is helpful for the comprehensive promotion of automatic infusion equipment, and it can help the relationship between intravenous infusion of drugs and disease conditions. Sexuality analysis is of great significance for the analysis of the causal relationship between medical treatment, drugs and patients' conditions. This causal relationship analysis can penetrate deep into the desensitized patient data (some key patient information can be included in the analysis of the injection plan in an irreversible way), so this causal relationship and database is particularly beneficial for future medical informatization and Intelligent construction.
其中,所述输注组件包括用于锁定注射器的卡固套筒。所述卡固套筒设置有用于将自动输注即时切换为手动输注的至少一个第一开口。在控制组件响应于运算分析单元发送的切换指令的情况下,所述控制组件控制在所述卡固套筒内的用于推动注射器推柄的推进杆与所述推柄以分离一定距离的方式脱离接触,从而推柄由手部通过所述第一开口手动即时控制以进行输注。Wherein, the infusion assembly includes a snap-on sleeve for locking the syringe. The snap-on sleeve is provided with at least one first opening for instant switching from automatic infusion to manual infusion. In the case that the control assembly responds to the switching instruction sent by the arithmetic analysis unit, the control assembly controls the push rod in the clamping sleeve for pushing the push handle of the syringe to be separated from the push handle by a certain distance The contact is disengaged so that the push handle is manually and instantaneously controlled by the hand through the first opening for infusion.
优选的,所述卡固套筒的一端设置有微型电机,与所述微型电机连接的推进杆按照预设的推进槽移动,从而所述推进杆接触所述推柄并按照预设的注射速度移动。Preferably, a micro-motor is provided at one end of the clamping sleeve, and a push rod connected to the micro-motor moves according to a preset push groove, so that the push rod contacts the push handle and follows a preset injection speed move.
优选的,与所述推柄接触的所述推进杆的一端设置有至少一个传感探头,Preferably, at least one sensing probe is provided at one end of the push rod in contact with the push handle,
所述传感探头与所述运算分析单元建立通信连接,所述运算分析单元基于所述传感探头传输的推进杆与推柄之间的压力值的变化确定注射过程中的异常情况。The sensing probe establishes a communication connection with the operation and analysis unit, and the operation and analysis unit determines an abnormal situation during the injection process based on the change of the pressure value between the push rod and the push handle transmitted by the sensing probe.
优选的,所述卡固套筒内设置有以锁定注射器的延伸边的方式来卡固注射器管体的至少一个卡固部,所述卡固部与至少一个第二开口相邻设置,在控制组件响应于运算分析单元发送的切换指令的情况下,卡固部能够在手动输注时为至少一个手指提供受力位置。Preferably, at least one clamping portion for clamping the syringe barrel in a manner of locking the extending edge of the syringe is provided in the clamping sleeve, the clamping portion is disposed adjacent to the at least one second opening, and the clamping portion is disposed adjacent to the at least one second opening. When the component responds to the switching instruction sent by the arithmetic analysis unit, the clamping part can provide a force-bearing position for at least one finger during manual infusion.
优选的,所述运算分析单元分别与至少一个第一信息交互端口和至少一个第二信息交互端口连接,所述运算分析单元基于所述第一信息交互端口接收的个人隐私信息、所述第二信息交互端口接收的注射方案和/或医疗操作信息分析所述注射方案的安全风险和/或操作矛盾。Preferably, the operation analysis unit is respectively connected to at least one first information exchange port and at least one second information exchange port, and the operation analysis unit is based on the personal privacy information received by the first information exchange port, the second information exchange port The injection protocol and/or medical operation information received by the information interaction port analyzes the safety risks and/or operational contradictions of the injection protocol.
优选的,在所述注射方案与患者的个人特征信息、问诊信息和/或医疗操作信息存在矛盾的情况下,所述运算分析单元向连接的信息交互端口反馈至少一个注射方案调整建议。借助于自动输注组件能够客观地根据患者情况(physicalcondition)来确定注射方案是否存在问题,能够最大限度降低注射人员的操作风险。对于急救场合,患者情况与注射方案两者之一出现差错时,往往会引发医疗纠纷,此时具体操作的人员就会作为第一责任人来承受巨大心理压力。因此在使用本设备之前,没有任何自动输注设备会被医护人员所接受,因为现有的自动输注设备除了自动输注之外,不能给予任何支持。而出现风险之后,因为引入了新设备,反而会给操作人员带来不确定的风险。而本发明设备投入使用之后,如果不幸出现意外结果,可以从源自处方的注射方案与源自患者或其家属的患者情况两者去进行归因,能够更为客观地确定责任。正是因为其能够客观复原注射指令与相关数据,所以本发明的技术方案在临床能够应用。Preferably, in the case of conflict between the injection plan and the patient's personal characteristic information, consultation information and/or medical operation information, the operation and analysis unit feeds back at least one injection plan adjustment suggestion to the connected information exchange port. With the help of the automatic infusion assembly, it is possible to objectively determine whether there is a problem with the injection plan according to the physical condition of the patient, which can minimize the operation risk of the injection personnel. For emergency situations, when there is an error in either the patient's condition or the injection plan, it often leads to medical disputes. At this time, the specific operation personnel will bear huge psychological pressure as the first responsible person. Therefore, before the use of this device, no automatic infusion device will be accepted by medical staff, because the existing automatic infusion device cannot give any support other than automatic infusion. And after the risk, because of the introduction of new equipment, it will bring uncertain risks to the operator. After the device of the present invention is put into use, if an unexpected result occurs unfortunately, the attribution can be made from both the injection plan derived from the prescription and the patient's condition derived from the patient or his family, so that the responsibility can be determined more objectively. It is precisely because it can objectively restore injection instructions and related data that the technical solution of the present invention can be applied clinically.
优选的,所述运算分析单元基于医疗操作信息的预设时间向连接的信息交互端口反馈至少一个注射方案的注射速度和/或注射时长。Preferably, the operation analysis unit feeds back the injection speed and/or the injection duration of at least one injection scheme to the connected information exchange port based on the preset time of the medical operation information.
在客观追溯数据时,速度与时长对于责任划分也是极为重要的方面。根据本发明,在显示速度与时长的同时,运算分析单元将记录单次注射的时间点与注射时长,能够形成历史数据,用以自动示教此类设备的使用,为今后全面自动化积累有益数据。此处所说的历史数据是与患者的个人特征信息、问诊信息和/或医疗操作信息相关地存储注射速度与时长的,尤其还关于注射方案地记录个人特征信息、问诊信息和/或医疗操作信息相关地存储注射速度与时长。这些数据累积存储过程是以脱敏方式(即隐藏患者隐私数据的情况下)完成,其所积累的数据可反向用于支持医疗信息化建设,构成电子处方(即本发明所称的注射方案或由其分析得出的注射方案)与患者情况之间的因果关系分析的基础。When objectively tracing data, speed and duration are also extremely important aspects for the division of responsibility. According to the present invention, while displaying the speed and duration, the arithmetic analysis unit will record the time point and duration of a single injection, which can form historical data to automatically teach the use of such equipment, and accumulate useful data for full automation in the future . The historical data referred to here is to store the injection speed and duration in relation to the patient's personal characteristic information, consultation information and/or medical operation information, and especially to record personal characteristic information, consultation information and/or medical treatment information about the injection plan. The operation information is stored in relation to the injection speed and duration. These data accumulation and storage processes are completed in a desensitized way (that is, when the patient's private data is hidden), and the accumulated data can be reversely used to support the construction of medical informatization to form an electronic prescription (that is, the injection scheme referred to in the present invention). or the injection regimen derived from its analysis) and the patient’s condition.
优选的,所述运算分析单元设置有至少一个可编程端口,所述运算分析单元基于由所述可编程端口输入的运算分析算法/运算分析方案来对患者的个人特征信息、问诊信息、医疗操作信息和/或由医护人员拟定的注射方案进行合理指数的分析。可编程接口能够与现有技术已经公开的各种注射方案软件及数据库进行数据交互,为本发明的自动输注设备纳入因果分析体系提供了数据接口。Preferably, the operation analysis unit is provided with at least one programmable port, and the operation analysis unit analyzes the patient's personal characteristic information, consultation information, medical treatment based on the operation analysis algorithm/operation analysis scheme input from the programmable port. Analyses of reasonable indices of procedural information and/or injection regimens prepared by healthcare workers. The programmable interface can perform data interaction with various injection scheme software and databases disclosed in the prior art, and provides a data interface for incorporating the automatic infusion device of the present invention into a causal analysis system.
优选的,所述运算分析单元基于医疗操作信息的预设时间通过至少一个信息交互端口发送注射方案的执行时间范围,和/或所述运算分析单元在临近所述执行时间范围时通过至少一个预警模块发出提示信息。在分析因果关系时,“执行时间范围”与“预警模块发出提示信息”构成了关键的时间参数,特别是如果发生中断情况时,借助于“执行时间范围”仍然能够根据多次启动所形成的执行时间累进来准确分析出自动输注设备的工作时长,进而推导出药量。借助于“预警模块发出提示信息”,能够精确地确定输注结束时间;尤其是,运算分析单元还能响应于预警模块发出提示信息而执行数据关联运算,特别是构成电子处方(即本发明所称的注射方案或由其分析得出的注射方案)与患者情况之间的数据关联运算,从而支持今后的因果分析过程。Preferably, the operation analysis unit sends the execution time range of the injection scheme through at least one information exchange port based on the preset time of the medical operation information, and/or the operation analysis unit sends at least one early warning when the execution time range is approaching The module issues a prompt message. When analyzing the causal relationship, the "execution time range" and the "prompt information issued by the early warning module" constitute key time parameters, especially if an interruption occurs, with the help of the "execution time range", it is still possible to The execution time is accumulated to accurately analyze the working time of the automatic infusion equipment, and then deduce the dose. With the help of "prompt information issued by the early warning module", the infusion end time can be accurately determined; especially, the operation analysis unit can also perform data association operations in response to the prompt information issued by the early warning module, especially to form an electronic prescription (that is, the present invention). The data association operation between the injection schedule (or injection schedule derived from its analysis) and the patient's condition supports the causal analysis process in the future.
本发明提供一种流体输注系统的使用方法,其特征在于,所述系统至少包括运算分析单元、控制组件和输注组件,The present invention provides a method of using a fluid infusion system, characterized in that the system at least includes an arithmetic analysis unit, a control component and an infusion component,
将注射器锁定在卡固套筒中,Lock the syringe in the snap-on sleeve,
在自动输注时,所述控制组件基于运算分析单元发送的注射指令来控制输注组件按照预设的注射速度进行注射,During automatic infusion, the control component controls the infusion component to inject at a preset injection speed based on the injection instruction sent by the arithmetic analysis unit,
将自动输注即时切换为手动输注,控制组件响应于运算分析单元发送的切换指令控制在所述卡固套筒内的用于推动注射器推柄的推进杆与所述推柄以分离一定距离的方式脱离接触,从而手部通过所述第一开口手动即时控制推柄以进行手动输注。The automatic infusion is switched to the manual infusion immediately, and the control component controls the push rod in the clamping sleeve for pushing the push handle of the syringe to be separated from the push handle by a certain distance in response to the switching instruction sent by the arithmetic analysis unit The way of disengagement, so that the hand manually and instantly controls the push handle through the first opening for manual infusion.
优选的,向至少一个第一信息交互端口输入隐私信息,向至少一个第二信息交互端口输入问诊信息、注射方案和/或医疗操作信息,Preferably, privacy information is input to at least one first information interaction port, and consultation information, injection plan and/or medical operation information is input to at least one second information interaction port,
所述运算分析单元基于所述第一信息交互端口接收的个人隐私信息、所述第二信息交互端口接收的注射方案和/或医疗操作信息分析所述注射方案的安全风险和/或操作矛盾,The operation analysis unit analyzes the safety risk and/or operation contradiction of the injection scheme based on the personal privacy information received by the first information interaction port, the injection scheme and/or the medical operation information received by the second information interaction port,
在所述安全风险低于风险阈值或者注射方案与医疗操作信息无矛盾的情况下对注射方案进行确认。The injection protocol is confirmed when the safety risk is below a risk threshold or the injection protocol does not contradict the medical procedure information.
附图说明Description of drawings
图1是本发明的流体输注系统的逻辑模块的示意图;1 is a schematic diagram of the logic modules of the fluid infusion system of the present invention;
图2是本发明的输注组件的第一角度的结构示意图;2 is a schematic structural diagram of the infusion assembly of the present invention from a first angle;
图3是本发明的输注组件的第二角度的结构示意图;。Figure 3 is a schematic structural diagram of the infusion assembly of the present invention from a second angle;
图4是本发明的另一种输注组件的结构示意图;4 is a schematic structural diagram of another infusion assembly of the present invention;
图5是本发明的延伸记忆组件的延伸状态的结构示意图;5 is a schematic structural diagram of the extended memory assembly of the present invention in an extended state;
图6是本发明的延伸记忆组件的压缩—延伸-压缩变化的示意图。FIG. 6 is a schematic diagram of the compression-extension-compression variation of the extended memory assembly of the present invention.
附图标记列表List of reference signs
10:运算分析单元;20:端口;21:可编程端口;22:第一信息交互端口;23:第二信息交互端口;30:输注装置;31:控制组件;32:输注组件;33:提示组件;40:显示组件;321:通信线;322:微型电机;323:推进槽;325:推柄;326:卡固套筒;327:注射器;328:推进杆;329:传感探头;331:卡固部;332:延伸边;333:第一开口;334:第二开口。8:延伸记忆组件;80:开口;81:主体;82:延伸表;83:第一端;84:第二端。10: operation analysis unit; 20: port; 21: programmable port; 22: first information exchange port; 23: second information exchange port; 30: infusion device; 31: control component; 32: infusion component; 33 : Prompt assembly; 40: Display assembly; 321: Communication line; 322: Micro motor; 323: Advance slot; 325: Push handle; 326: Clamping sleeve; 327: Syringe; ; 331: clamping part; 332: extending edge; 333: first opening; 334: second opening. 8: Extended memory assembly; 80: Opening; 81: Main body; 82: Extended table; 83: First end; 84: Second end.
具体实施方式Detailed ways
下面结合附图进行详细说明。The following detailed description is given in conjunction with the accompanying drawings.
现有技术中,自动输注装置长度、体积与重量均较庞大,无法在注射过程中基于患者的状态变化来调节剂量和推进进度,也无法通过手持来控制自动输注的角度以及关闭的情况。In the prior art, the length, volume and weight of the automatic infusion device are relatively large, and it is impossible to adjust the dose and advance progress based on the state change of the patient during the injection process, and it is also impossible to control the angle of the automatic infusion and the situation of closing by hand. .
针对现有技术的不足,本发明提供一种流体输注系统及其使用方法,也提供一种自动模式与手动模式即时转换的流体输注装置。Aiming at the deficiencies of the prior art, the present invention provides a fluid infusion system and a method for using the same, and also provides a fluid infusion device capable of instantly switching between an automatic mode and a manual mode.
实施例1Example 1
如图1所示,本发明的流体输注系统至少包括运算分析单元10、至少一个端口20和至少一个输注装置30。运算分析单元10分别与至少一个端口20和至少一个输注装置30建立通信连接,以进行数据信息的传输和电能的传输。优选的,通信连接可以是有线的,也可以是无线的。As shown in FIG. 1 , the fluid infusion system of the present invention includes at least an
运算分析单元10可以是服务器、专用集成芯片、逻辑计算芯片、处理器中的一种或几种。运算分析单元10用于对输入的问诊信息、个人特征信息、隐私信息、医疗历史信息、医疗操作信息和/或注射方案进行综合计算,计算得到与患者当前病症匹配的流注方案。输注方案内至少包括患者的姓名、性别、年龄、注射剂量、注射速度等信息。注射药物方案例如可以根据地西泮说明书中载明的成人用法与用量来计算,例如:基础麻醉或静脉全麻,10~30mg。镇静、催眠或急性酒精戒断,开始 10 mg,以后按需每隔 3~4 h 加 5~10 mg。24 h 总量以 40~50 mg 为限。癫痫持续状态和严重频发性癫痫,开始静注 10 mg,每隔 10~15min 可按需增加甚至达最大限用量。破伤风可能需要较大剂量。静注宜缓慢,每分钟 2~5mg。The
端口20包括可编程端口21、第一信息交互端口22和第二信息交互端口23。可编程端口21、第一信息交互端口22和第二信息交互端口23分别与运算分析单元10建立通信连接。The
可编程端口21用于对运算分析单元执行的算法、分析方案的程序进行编辑和修改,以便更适应多个科室的诊疗特征的方案的更新,从而提高运算分析单元的准确程度。可编程端口21能够与服务器、计算机等设备连接。The
第一信息交互端口22和第二信息交互端口23可以是机械端口,也可以是虚拟端口。机械端口能够与若干只能终端进行数据连接,从而进行数据信息的传输。虚拟端口可以是程序端口。例如,智能终端通过扫描二维码进入信息交互界面,进行信息的输入和查看。优选的,第一信息交互端口22和第二信息交互端口23包括能够进行信息输入、显示等交互操作的终端设备。The first
第一信息交互端口22用于患者以交互的方式输入个人的隐私信息、病史信息、个人特征信息方式等。病患出于保护个人隐私以及道德等心理原因,大部分情况下可能忘记、或者不愿意向医生如实告知部分隐私信息,例如与艾滋病、性病相关的服药信息、疾病史等等,这为医生的注射方案的确定隐藏了一定的风险。因此,病患或者监护人在知晓医生不可见的情况下,通过第一信息交互端口22输入隐私信息,既能够保护患者的隐私,又能够避免医生的注射方案与患者的隐私信息存在矛盾的医疗风险。The first
第二信息交互端口23用于医护人员输入对患者的问诊信息、病症判断信息等若干信息,并且能够查看注射方案。The second
优选的,运算分析单元10与至少一个显示组件40连接,用于显示与注射方案相关的信息,以便执行注射和被执行注射的对象能够及时了解注射方案。Preferably, the
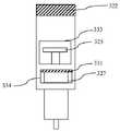
输注装置30用于根据运算分析单元发送的注射指令执行自动输注操作。如图2~图3所示,输注装置30至少包括控制组件31和输注组件32。控制组件31可以是控制器,用于控制输注组件32的输注速度、输注时间、启动、停止、发出提示信息等操作。The
如图2~图3所示,输注组件32至少包括微型电机322和卡固套筒326。微型电机322设置在卡固套筒326的一端,并且与控制组件31建立通信连接。卡固套筒326的壳体可以是一个完整的空心筒体,也可以是开放式的筒体。开放式的筒体,即筒体的径向截面不是一个完整的圆,而是半个圆周,只要能够卡固注射器327即可。优选的,卡固套筒内的腔体的尺寸与医用的注射器的尺寸相适应,能够设置为多种规格。优选的,卡固套筒内的腔体能够容纳注射器本身的部分或者全部体积。优选的,卡固套筒内的腔体能够容纳注射器的全部体积,从而更有利于固定注射器本体,以避免注射器的移动。As shown in FIGS. 2 to 3 , the
优选的,卡固套筒内的腔体设置有与注射器表面接触的弹性层,以便使得卡固套筒的腔体与注射器之间的接触更紧,从而使得卡固套筒与注射器之间不能够相对滑动。Preferably, the cavity in the clamping sleeve is provided with an elastic layer in contact with the surface of the syringe, so as to make the contact between the cavity of the clamping sleeve and the syringe tighter, so that there is no difference between the clamping sleeve and the syringe. able to slide relative to each other.
卡固套筒326内设置有至少一个推进槽323和至少一个卡固部331。推进槽323以与卡固套筒326的中心轴线并行的方向设置,从而允许微型电机322的推进杆328沿推进槽323的方向进行延伸。推进槽与注射器的推柄325所在的轴向位置相对应,从而使得推进杆328能够与推柄325接触并推动推柄按照预设的速度进行注射。The clamping
卡固部331可以设置为夹持组件,也可以设置为卡槽,用于卡固注射器的一端凸出的延伸边332,既能够避免注射器本体的移动,又能够用于为医护人员在手动输注时提供施力的部位。优选的,卡固部331的具体形状能够按照注射器的延伸边的形状设置。The clamping
优选的,推进杆328的与推柄接触的一端设置有传感探头29,用于探测导位Preferably, the end of the
组件的位置,以及判断是否与推柄接触。优选的,传感探头可以是红外探头、位置传感器、压力传感器等等,只要能够感应推进杆与推柄接触即可。The position of the component, and whether it is in contact with the push handle. Preferably, the sensing probe can be an infrared probe, a position sensor, a pressure sensor, etc., as long as it can sense the contact between the push rod and the push handle.
优选的,推进杆328不直接与推柄325直接接触。推进槽的与推柄临近的一端设置导位组件。导位组件以基于注射器的推柄325活动接触的方式在推进槽323内移动。即,导位组件不具有固定的位置,其位置是灵活移动的,其位置取决于推柄325的接触位置。导位组件与推柄325的接触方式为无压力接触。所述导位组件以近似无压力的方式与推柄接触,并且所述导位组件在所述推进杆的推动作用下按照注射方案中的注射速度推动所述推柄以进行输注。导位组件通过可移动的移位组件在推进槽上无阻力移动,从而使得导位组件能够微小阻力甚至无阻力的方式带动导位组件在推进槽的槽壁上。优选的,移位组件可以是设置在推进槽的槽壁上的滑槽或者轨道。导位组件的设置,能够使得推进杆328在对推柄施力时移动方向不会发生偏移,从而使得推柄的手里更均匀,移动速度更稳定。根据本发明的自动输注要考虑注射停止问题,对此将导位组件设于卡固套筒之内构成了最简单的技术方案,这是因为导位组件的长度与卡固套筒的长度都是已知的,在单手操作达成急停的情况下,单纯依靠行程就能够准确给出输注量。对于出现紧急情况时,确定急救方案给予了准确支持。此外,导位组件以近似无压力的方式与推柄接触就等同于浮动安置导位组件,而导位组件浮动安置有助于急停,也为压力测量提供了方便。优选地,运算分析单元将导位组件的行程测量与“执行时间范围”和/或“预警模块发出提示信息”进行关联,并将关联之后的数据用于今后的因果分析。Preferably, the
在推进杆328与导位组件接触时,传感探头329能够将压力值实时传送至控制单元和/或运算分析单元10。运算分析单元10能够基于压力值的变化来分析推柄的移动情况、流体的注射情况,从而根据流体的异常情况进一步分析出患者的肌肉是否僵硬、是否脱针的异常情况。When the
所述运算分析单元基于由所述传感探头探测的所述推进杆与所述导位组件之间的压力数据和/或压力施加时间来确定注射的开始时间,所述运算分析单元基于所述推进杆的移动停止时间确定注射的结束时间;从而所述预算分析单元确定自动输注的时长。有利地,浮动安置的导位组件背对推进杆的一侧受到患者肌肉抖动影响最小,能够提供较为准确的压力数据。优选地,浮动安置的导位组件本身构成一个呈柱状的压力传感部,其整体借助于卡固套筒之内的滑道实现供电与信号传输。直径2到4厘米的柱形压力传感器是本领域常见的传感器,其分辨率能够满足输注压力的范围。此类柱形压力传感器与后置的步进电机一起构成了远比注射器更重的部件,需要医护人员在注射时用单手握持,从而在实际使用中构成整体斜向下方延伸的自动注射机构。The arithmetic analysis unit determines the start time of injection based on the pressure data between the push rod and the guide assembly detected by the sensing probe and/or the pressure application time, the arithmetic analysis unit is based on the The stop time of the movement of the push rod determines the end time of the injection; thus the budget analysis unit determines the duration of the automatic infusion. Advantageously, the side of the floating-positioned guide assembly facing away from the push rod is least affected by the patient's muscle shaking, which can provide more accurate pressure data. Preferably, the floating guide assembly itself constitutes a columnar pressure sensing part, which as a whole realizes power supply and signal transmission by means of the slideway in the clamping sleeve. Cylindrical pressure sensors with a diameter of 2 to 4 cm are common sensors in the art, and their resolution can meet the range of infusion pressure. This type of cylindrical pressure sensor, together with the rear-mounted stepper motor, constitutes a much heavier component than the syringe, and requires medical staff to hold it with one hand during injection, so as to form an automatic injection that extends obliquely downward as a whole in actual use. mechanism.
优选的,卡固套筒326上,与推柄移动范围对应的位置设置有至少一个第一开口333。优选的,第一开口333可以是一个,也可以是两个。在设置有两个第一开口333的情况下,两个第一开口可以对称设置。第一开口333有利于医护人员在自动输注停止时改为即时手动输注,不需要将注射器从卡固套筒拆卸下来就可以实现即时的手动按压推柄。Preferably, at least one
优选的,卡固套筒的壳体外侧表面设置有用于施力的至少一个凸起。优选的,两个凸起对称设置在第一开口333的两端,从而在医护人员按压推柄时,手部的食指或中指能够固定卡固套筒,以完成注射。Preferably, the outer surface of the housing of the clamping sleeve is provided with at least one protrusion for applying force. Preferably, the two protrusions are symmetrically arranged at both ends of the
优选的,卡固套筒326的卡固部331相邻设置有至少一个第二开口334。第二开口334用于在手部推动推柄时固定卡固套筒。例如,医护人员改为单手手动推动注射器时,拇指按压推柄,食指和/或中指通过第二开口334反向按压卡固部331,从而施行手动注射。Preferably, at least one
卡固套筒的壳体外侧表面的凸起与第二开口334可以同时存在,也可以不同时存在。The protrusion on the outer surface of the housing of the clamping sleeve and the
本发明的输注装置30在自动输注和手动输注时,均能够允许医护人员单手操作,从而使得医护人员的另一只手能够在观察患者情绪、状态变化时对自动输注进行暂停、注射速度调节、即时改为手动操作等操作。The
优选的,本发明的卡固套筒上设置有与控制组件连接的至少一个提示组件33,例如LED提示灯。LED提示灯能够显示至少三种颜色如红绿黄,用以分别展示可注射、停止注射以及需要人为干预。Preferably, the clamping sleeve of the present invention is provided with at least one
本发明的运算分析单元对注射方案的生成或分析方法如下所述。The generation or analysis method of the injection protocol by the arithmetic analysis unit of the present invention is as follows.
运算分析单元10按照预设的分析方案,对输入的问诊信息、个人特征信息、隐私信息、医疗历史信息、医疗操作信息和/或注射方案进行综合分析,分析当前医护人员输入的注射方案是否与问诊信息、个人特征信息、隐私信息、医疗历史信息、医疗操作信息存在操作矛盾和/或安全风险。The
优选的,在自动输注的过程中,所述运算分析单元基于注射的开始时间、注射速度预测注射的预测结束时间,在预测结束时间与医疗操作信息有矛盾的情况下,所述运算分析单元通过至少一个信息交互端口向医护人员的终端发送低于安全阈值的注射速度调整建议,在医护人员的终端反馈与注射速度调整建议的确认信息的情况下,所述运算分析单元向所述控制单元发送更新的注射方案。因果分析过程中的时间变量是关键信息,“注射的开始时间”能够基于来自导位组件的传感探头或构成压力传感部的导位组件所提供的压力数据来确定,仅当压力数据达到超过第一阈值时,才确定并记录“注射的开始时间”,仅当压力数据低于第二阈值时,才确定并记录“注射的结束时间”。优选地,运算分析单元将“预测结束时间”与“注射的结束时间”进行比较,用以迭代更新该运算分析单元的初始算法,以优化分析准确性。Preferably, in the process of automatic infusion, the operation analysis unit predicts the predicted end time of the injection based on the start time of the injection and the injection speed, and in the case of a conflict between the predicted end time and the medical operation information, the operation analysis unit Send an injection speed adjustment suggestion lower than the safety threshold to the terminal of the medical staff through at least one information exchange port. In the case that the terminal of the medical staff feeds back the confirmation information of the injection speed adjustment suggestion, the operation and analysis unit sends the information to the control unit. Send an updated injection protocol. The time variable in the causal analysis process is the key information, and the "start time of injection" can be determined based on the pressure data provided by the sensing probe of the pilot assembly or the pilot assembly that constitutes the pressure sensing portion, only when the pressure data reaches The "start time of injection" is determined and recorded only when the first threshold is exceeded, and the "end time of injection" is determined and recorded only when the pressure data is below the second threshold. Preferably, the operation analysis unit compares the "predicted end time" with the "injection end time" to iteratively update the initial algorithm of the operation analysis unit to optimize the analysis accuracy.
第一阈值是指能够反映推端开始移动的启动压力,其实际数值根据出厂时的具体组件种类和测试来确定。第二阈值是指能够反映推端停止移动的压力,其实际数值根据出厂时具体组件种类和测试来确定。在推端停止移动时的瞬间,若推进杆仍处于推动状态,则第二阈值大于第一阈值。The first threshold refers to the starting pressure that can reflect the start of the push end to move, and its actual value is determined according to the specific component types and tests at the factory. The second threshold refers to the pressure that can reflect the stop of the push end, and its actual value is determined according to the specific component types and tests at the factory. At the moment when the push end stops moving, if the push rod is still in the push state, the second threshold value is greater than the first threshold value.
在医疗信息化和智能化的浪潮中,因果分析是一项重要课题,而静脉输注因为其紧迫性以及常见性构成了因果分析极佳的数据对象;利用本发明能够有效地形成大量脱敏数据,为用药与患者状况间的数据建立关联性,形成今后因果分析的关键数据库。In the wave of medical informatization and intelligence, causal analysis is an important topic, and intravenous infusion constitutes an excellent data object for causal analysis because of its urgency and commonality; the invention can effectively form a large number of desensitization data to correlate data between medication use and patient status, forming a key database for future causal analysis.
具体地,在注射方案与问诊信息、个人特征信息、隐私信息、医疗历史信息、医疗操作信息存在操作矛盾和/或安全风险的情况下,运算分析单元10向医护人员的第二信息交互端口反馈注射方案的风险提示与修改建议。医护人员基于接收的风险提示和修改建议通过第二信息交互端口输入修改后的注射方案,直至注射方案的风险值低于预设的风险阈值为止。其中,风险提示中的信息不含有患者的隐私信息,仅提示医护人员存在的风险指数以及修改建议。本发明中,在患者能够通过第一信息交互端口输入隐私信息且确定仅个人可知的情况下,患者更容易输入隐私信息以保证个人的药剂的安全使用。因此,本发明基于患者的心理特征,通过医护不可见的个人特征信息与注射方案的匹配来提醒医护人员修改注射方案,从而既使得患者愿意向运算分析单元输入隐私信息,又提高了注射方案的安全程度。Specifically, in the case where there is operational conflict and/or safety risk between the injection plan and the consultation information, personal characteristic information, privacy information, medical history information, and medical operation information, the operation and
在医护人员对注射方案输入确认指示的基础上,运算分析单元按照确定的注射方案向控制组件发送控制指令,以使得控制组件按照确定的注射方案进行注射。On the basis of the confirmation instruction input by the medical staff to the injection plan, the arithmetic analysis unit sends a control instruction to the control component according to the determined injection plan, so that the control component performs injection according to the determined injection plan.
现有技术中,患者需要预行PET检查!检查前需要给予地西泮10mg静脉输注,时间大于5分钟!预约三次PET检查均未成功。原因在于:镇静累药物不敢多注入,担心引发副作用;而且在药物起效后PET显影剂又超过时限!In the prior art, patients need to undergo PET examination in advance! Before the examination, diazepam 10mg needs to be given intravenously for more than 5 minutes! Three appointments for PET examinations were unsuccessful. The reason is: the sedative and tired drugs do not dare to inject too much, for fear of causing side effects; and the PET contrast agent exceeds the time limit after the drug takes effect!
本发明中,在患者服下PET显影剂后,医护人员输入服下PET显影剂的时间以及PET检查的预约时间,并且输入注射方案。运算分析单元能够基于当前的时间、PET显影剂有效时间、患者的个人特征信息、问诊信息、诊断信息来分析当前注射方案是否与上述因素存在操作矛盾和/或安全风险,并且分析和反馈给医护人员患者能够承受的注射速度、注射剂量、注射执行时间范围等。医护人员在掌握患者能够承受的注射速度、注射剂量、注射执行时间范围等信息后,重新确定的注射方案会方便实施。因此,本发明的流体输注系统,能够为医护人员确定注射方案时提供更多的辅助信息,以减少医护人员确定注射方案以及执行注射方案时的困难。特别对于精神异常、精神不稳定的急诊患者,快速分析出可执行的、有效的、安全风险低的注射方案,能够提高救治患者的效率。In the present invention, after the patient takes the PET contrast agent, the medical staff input the time of taking the PET contrast agent and the appointment time of the PET examination, and input the injection plan. The operation and analysis unit can analyze whether the current injection plan has operational conflicts and/or safety risks with the above factors based on the current time, the effective time of the PET contrast agent, the patient's personal characteristic information, consultation information, and diagnosis information, and analyze and feedback to the patient. The injection speed, injection dose, injection execution time range, etc. that can be tolerated by medical staff and patients. After the medical staff masters the information such as the injection speed, the injection dose, and the injection execution time range that the patient can bear, the re-determined injection plan will be easily implemented. Therefore, the fluid infusion system of the present invention can provide more auxiliary information for the medical staff when determining the injection plan, so as to reduce the difficulty of the medical staff when determining the injection plan and executing the injection plan. Especially for emergency patients with mental disorders and mental instability, rapid analysis of executable, effective and low-risk injection plans can improve the efficiency of treating patients.
本发明中,医护人员操作流体输注系统的方法如下所示。In the present invention, the method by which the medical staff operates the fluid infusion system is as follows.
在医护人员开始对患者执行注射方案时,医护人员用注射器抽取注射药物并调整为预注射状态。医护人员将处于预注射状态的注射器与规格匹配的卡固套筒进行适应新固定,使得注射器以稳定的固定方式嵌入卡固套筒内。如图2所示,注射器的推柄处于可移动的状态。在医护人员单手持卡固套筒向注射部位进行扎针时,导位组件基于重力作用与推柄以不能够使推柄移动的方式与推柄接触。在医护人员的一只手调整注射角度后并且稳定握持卡固套筒。医护人员的另一只手启动卡固套筒上的电机开关。控制单元在接收到电机启动的信号后,按照预设的注射速度控制电机转动,从而控制与微型电机连接的推进杆按照预设的注射速度移动。在推进杆29与推柄接触时,传感探头29强接触信号发送至控制单元,以便控制单元计算注射的开始时间。在注射完成,推进杆无法移动时,控制单元计算注射的结束时间。即在注射完成,医护人员能够单手关闭开关以将微型电机关闭,关闭时间为注射的结束时间。优选的,本发明的微型电机可以是步进电机。When the medical staff starts to perform the injection protocol on the patient, the medical staff uses the syringe to draw the injection drug and adjust it to the pre-injection state. The medical staff adapts the syringe in the pre-injection state to the clamping sleeve with matching specifications, so that the syringe can be embedded in the clamping sleeve in a stable fixing manner. As shown in Figure 2, the push handle of the syringe is in a movable state. When the medical staff uses the clamping sleeve with one hand to puncture the injection site, the guide assembly contacts the push handle in a manner that cannot move the push handle based on the action of gravity. After adjusting the injection angle with one hand of the medical staff and holding the snap sleeve firmly. The paramedic's other hand activates the motor switch on the clamping sleeve. After receiving the signal of starting the motor, the control unit controls the motor to rotate according to the preset injection speed, so as to control the push rod connected with the micro motor to move according to the preset injection speed. When the push rod 29 is in contact with the push handle, a strong contact signal of the sensing probe 29 is sent to the control unit, so that the control unit can calculate the start time of injection. When the injection is completed and the push rod cannot move, the control unit calculates the end time of the injection. That is, after the injection is completed, the medical staff can turn off the switch with one hand to turn off the micro motor, and the closing time is the end time of the injection. Preferably, the micro motor of the present invention may be a stepping motor.
现有技术中,对于紧急输注的精神类药物,可能不需要全部注入就能够使患者达到需要的镇静状态。然而,由于自动输注不能够及时根据患者的精神状态变化进行及时停止输注,而手动输注的速度又太慢。本发明中,由于医护人员单手控制卡固套筒的注射角度并且关注注射过程,能够基于精神类患者的抖动而稳定注射针头,避免针头移位或者脱落,也能够基于患者的精神状态的变化及时停止自动输注并进行拔针,从而避免过多的注入带来的药物副作用。例如,73岁的患者,以脑梗死收入神经内科,既往冠心病,入院时肺部感染。入院第二天患者心率快呼吸急促咳粉红色泡沫痰发生急性左心衰伴呼吸衰竭,行气管插管术!患者牙关紧闭烦躁不安!注射方案为给予力月西5mg静推,在输注2.5mg时患者安静!成功插管!此时,医护人员能够及时关闭开关,将注射器针头拔出,避免过多的力月西的注入。此时,控制组件将注射方案的实际注射时间以及注射速度发送至运算分析单元。如此设置,有助于运算分析单元动态更新逻辑运算关系,从而使得对注射方案的合理判断更准确。In the prior art, for emergency infusion of psychotropic drugs, it may not be necessary to fully infuse the patient to achieve the required sedation state. However, because the automatic infusion cannot timely stop the infusion according to the change of the patient's mental state, and the speed of manual infusion is too slow. In the present invention, because the medical staff controls the injection angle of the clamping sleeve with one hand and pays attention to the injection process, the injection needle can be stabilized based on the jitter of the mental patient, avoiding the needle displacement or falling off, and also based on the change of the patient's mental state. Stop the automatic infusion in time and pull out the needle, so as to avoid drug side effects caused by excessive injection. For example, a 73-year-old patient admitted to the neurology department with a cerebral infarction, a history of coronary heart disease, and a pulmonary infection on admission. On the second day of admission, the patient developed acute left heart failure with respiratory failure with rapid heart rate, shortness of breath, coughing pink foamy sputum, and underwent tracheal intubation! The patient is irritable with trismus! The injection plan is to give Liyuexi 5mg intravenously, and the patient is quiet when 2.5mg is infused! Successful intubation! At this time, the medical staff can turn off the switch in time and pull out the needle of the syringe to avoid excessive injection of Liyuexi. At this time, the control component sends the actual injection time and injection speed of the injection plan to the operation analysis unit. Such setting is helpful for the operation analysis unit to dynamically update the logical operation relationship, thereby making the reasonable judgment of the injection scheme more accurate.
现有技术中,自动输注装置的注射速度是恒定的,这样比较有利于控制整体的注射完成时间。但是,患者能够承受的液压带来的痛感是不一样的。有的患者能够承受较大的痛感,有的患者仅能够承受较小的痛感。特别对于神志不清醒、精神不稳定的成年患者来说,明显的疼痛刺激容易导致患者的挣扎,并且医护人员很难控制成年患者的行为,导致注射的危险发生或者拔针的情况。因此,在时间允许时根据注射情况调节注射速度是有必要的。但是,现实中的困难在于,医护人员调节注射速度后不确定注射完成的时间。尤其在注射药剂的完成时间与后续的医疗操作关联的情况下,医护人员更难确定调节注射速度是否会影响后续的医疗操作,例如影响PET投影剂的失效。优选的,针对现有技术的不足,本发明的显示组件40显示的注射方案内容还包括可调节的注射速度范围。例如,将可调节的注射速度范围显示为“+A,—B”,即当前的注射速度最多还可以增加A或者减少B。优选的,卡固套筒上设置有与控制单元连接的速度控制组件,用于调整注射速度。速度控制组件可以是机械按钮,也可以是触摸按钮。优选的,速度控制组件能够与开关组合设置或者相邻设置,以便医护人员方便操作。In the prior art, the injection speed of the automatic infusion device is constant, which is beneficial to control the overall injection completion time. However, the pain caused by the hydraulic pressure that the patient can withstand is different. Some patients can withstand greater pain, and some patients can only bear less pain. Especially for adult patients who are unconscious and mentally unstable, obvious pain stimuli can easily lead to the patient's struggle, and it is difficult for medical staff to control the behavior of adult patients, resulting in the risk of injection or needle withdrawal. Therefore, it is necessary to adjust the injection speed according to the injection situation when time permits. However, the difficulty in reality is that the medical staff is not sure when the injection will be completed after adjusting the injection speed. Especially in the case where the completion time of injecting the medicine is related to the subsequent medical operation, it is more difficult for the medical staff to determine whether adjusting the injection speed will affect the subsequent medical operation, for example, the failure of the PET projection agent. Preferably, in view of the deficiencies of the prior art, the content of the injection scheme displayed by the
优选的,显示组件40显示的注射方案内容还包括预测的注射完成的剩余时间。医护人员在了解注射速度可调节的速度范围后,能够根据患者的反应进行调节。例如患者出现难以忍受疼痛的现象,能够降低注射速度。例如注射剩余时间与后续的医疗操作的间隔时间较少时,能够在恰当范围且患者不敏感时增加注射速度。Preferably, the content of the injection plan displayed by the
对于流体输注,在传统的医疗操作中,医护人员通过纯手动输注能够基于输注压力较大的现象来感觉肌肉的异常僵硬,会通过聊天的方式来转移注意力,使得患者放松,以有利于注射。自动输注装置不管患者的注射位置的肌肉区域是否紧张,按照预设的注射速度进行注射,导致患者疼痛剧增,也缺少了人性化。而自动输注装置的使用更容易使得医护人员更关注注射进度而减少对患者的心理疏导。因此,如何使得自动输注过程中降低疼痛,照顾患者紧张的情绪也是当前无法解决的问题。For fluid infusion, in traditional medical operations, medical staff can feel the abnormal stiffness of muscles based on the phenomenon of high infusion pressure through pure manual infusion, and will divert attention by chatting to make patients relax, good for injection. Regardless of whether the muscle area of the patient's injection site is tense or not, the automatic infusion device performs the injection according to the preset injection speed, which causes the patient's pain to increase sharply and lacks humanization. The use of automatic infusion devices makes it easier for medical staff to pay more attention to the injection progress and reduce psychological counseling for patients. Therefore, how to reduce pain during automatic infusion and take care of patients' nervousness is also an unsolvable problem at present.
本发明中,运算分析单元基于注射开始的指定时间内的传感探头的压力值变化与压力样本进行对比,以评估注射肌肉是否存在过度僵硬的情况。优选的,指定时间可以是1分钟,也可以是30秒。In the present invention, the arithmetic analysis unit compares the pressure value change of the sensing probe with the pressure sample based on the change of the pressure value of the sensing probe within the specified time from the start of the injection, so as to evaluate whether the injected muscle is excessively stiff. Preferably, the specified time may be 1 minute or 30 seconds.
压力样本是预先输入分析运算单元及其存储单元的,是指普通人群在放松状态、指定注射部位的压力值范围。优选地,初始压力样本被提供用于调节微型电机22的初始转速,根据传感探头的压力值变化曲线来调节后续转速,由此能够在应对紧张情绪的前提下执行“分时”的自适应注射方案。优选地,初始压力样本是按下述方式得以修正的。The pressure sample is input in advance into the analysis computing unit and its storage unit, and refers to the pressure value range of the general population in a relaxed state and a designated injection site. Preferably, the initial pressure sample is provided for adjusting the initial rotational speed of the micro-motor 22, and the subsequent rotational speed is adjusted according to the pressure value change curve of the sensing probe, so that “time-sharing” adaptation can be performed under the premise of coping with nervousness. injection regimen. Preferably, the initial pressure sample is corrected as follows.
通过将基于患者的个人特征信息、问诊信息、医疗操作信息和/或由医护人员拟定的注射方案所分析确定的注射方案的操作矛盾指数和/或安全风险指数与所述初始压力样本相互关联,由此得到对初始压力样本的修正。在注射过程中,通过基于医疗操作信息的预设时间向连接的信息交互端口反馈至少一个注射方案的注射速度和/或注射时长,能够将注射速度和/或注射时长用于调节后续转速,以执行“分时”的自适应注射方案,从而应对紧张情绪以及疼痛不耐受。By correlating with the initial pressure sample an operational conflict index and/or a safety risk index of an injection plan determined based on analysis of the patient's personal characteristic information, consultation information, medical procedure information and/or an injection plan formulated by the medical staff , which results in a correction to the initial pressure sample. During the injection process, by feeding back the injection speed and/or the injection duration of at least one injection scheme to the connected information interaction port based on the preset time of the medical operation information, the injection speed and/or the injection duration can be used to adjust the subsequent rotational speed to Manage stress and pain intolerance by performing a "time-shared" adaptive injection regimen.
例如,运算分析单元通过将30秒内的推柄的压力值变化来分析患者是否可能存在肌肉僵硬,影响药剂注入的情况。在30秒时,若患者的注射装置的推柄的压力值明显异于压力样本时,运算分析单元通过向控制单元发送指令来调节LED指示灯的颜色,提示医护人员对患者进行心理疏导或者关怀,以便患者能够放松肌肉。特别是前文所述的情绪不稳定且疼痛不耐受通常也可表现为压力值变化,因此单纯判断压力值能够使得护理人员在使用本发明自动输注装置时,简单轻松地应对紧张情绪以及疼痛不耐受。压力样本数据可通过初始化学习来采集,例如在初始化阶段由有经验的护理人员多次反复手动驱动推进槽23之内的推进杆28来实现手动输注,此时采集到的压力样本数据可作为本发明自动输注装置的初始压力样本,用以指导后续自动输注工作,特别有助于护士长培训护士的工作。For example, the operation analysis unit analyzes whether the patient may have muscle stiffness by changing the pressure value of the push handle within 30 seconds, which affects the injection of the drug. At 30 seconds, if the pressure value of the push handle of the patient's injection device is significantly different from the pressure sample, the operation and analysis unit sends an instruction to the control unit to adjust the color of the LED indicator, prompting the medical staff to provide psychological counseling or care to the patient , so that the patient can relax the muscles. In particular, the aforementioned emotional instability and pain intolerance can often be manifested as pressure value changes, so simply judging the pressure value can enable the nursing staff to simply and easily deal with tension and pain when using the automatic infusion device of the present invention intolerance. The pressure sample data can be collected through initialization learning. For example, in the initialization stage, experienced nurses repeatedly and repeatedly manually drive the push rod 28 in the
本发明提供一种流体输注系统的使用方法,所述系统至少包括运算分析单元、控制组件和输注组件,将注射器锁定在卡固套筒中,在自动输注时,所述控制组件基于运算分析单元发送的注射指令来控制输注组件按照预设的注射速度进行注射,将自动输注即时切换为手动输注,控制组件响应于运算分析单元发送的切换指令控制在所述卡固套筒内的用于推动注射器推柄的推进杆与所述推柄以分离一定距离的方式脱离接触,从而手部通过所述第一开口手动即时控制推柄以进行手动输注。The present invention provides a method of using a fluid infusion system, the system at least includes an arithmetic analysis unit, a control assembly and an infusion assembly, the syringe is locked in the clamping sleeve, and during automatic infusion, the control assembly is based on The injection instruction sent by the arithmetic analysis unit controls the infusion component to inject at the preset injection speed, and the automatic infusion is switched to the manual infusion immediately. The push rod in the barrel for pushing the push handle of the syringe is out of contact with the push handle in a manner of separating a certain distance, so that the hand can manually and instantly control the push handle through the first opening for manual infusion.
优选的,向至少一个第一信息交互端口输入隐私信息,向至少一个第二信息交互端口输入问诊信息、注射方案和/或医疗操作信息,所述运算分析单元基于所述第一信息交互端口接收的个人隐私信息、所述第二信息交互端口接收的注射方案和/或医疗操作信息分析所述注射方案的安全风险和/或操作矛盾。在所述安全风险低于风险阈值或者注射方案与医疗操作信息无矛盾的情况下对注射方案进行确认。Preferably, privacy information is input to at least one first information interaction port, and consultation information, injection plan and/or medical operation information is input to at least one second information interaction port, and the operation analysis unit is based on the first information interaction port. The received personal privacy information, the injection plan and/or the medical operation information received by the second information interaction port analyze the safety risks and/or operation contradictions of the injection plan. The injection protocol is confirmed when the safety risk is below a risk threshold or the injection protocol does not contradict the medical procedure information.
实施例2Example 2
本实施例是对实施例1的进一步改进,重复的内容不再赘述。This embodiment is a further improvement to Embodiment 1, and repeated content will not be repeated.
由于采用高精度传感器来确定推进压力始终受限于传感器的分辨率,而且后续跟踪过程中因压力变化很小而对传感器精度和分辨率同时提出了很高的要求。因此实施例2致力于提供一种切实可行且成本更低的解决方案。与微型电机322连接的推进杆328不限于机械杆,还可以是延伸记忆组件8。例如,如图4~6所示,延伸记忆组件8的一端与能够传输温度和/或电流的微型电机的机械端连接,延伸记忆组件的另一端设置有传感探头329。Since the use of a high-precision sensor to determine the propulsion pressure is always limited by the resolution of the sensor, and the small pressure change in the subsequent tracking process puts forward high requirements on the accuracy and resolution of the sensor at the same time. Example 2 therefore seeks to provide a practical and lower cost solution. The
由于延伸记忆组件8构成的推进杆328本身能够具备相对线性的伸长特性,此时传感探头只需要判断超过一定阈值的压力之存在即可确定是否已经在推进之中,而且由于延伸记忆组件8伸长特性仅与所施加的输入参数相关,故此无需在推进过程中持续测量行程,而是只需要判断行程终点。行程终点的测量对于本领域技术人员而言能够采用各种形式尤其紧凑机构来实现,而且用于施加输入参数的输入机构可以为外置机构如电源中的PWM单元,故此本解决方案构成轻巧的操作部。对于医护人员而言,手持重量明显减轻,有助于专心关注涉及病患的操作。Since the
延伸记忆组件8内沿轴向设置有可形变的限位装置,例如,限位装置为至少一条金属丝。优选的,金属丝可以使用具有系统功能的其他机械组件替代。金属丝的一端与微型电机的机械端连接,金属丝的另一端与传感探头329连接。微型电机通过控制金属丝的延展速度来调节和控制延伸记忆组件的输注速度。A deformable limiting device is disposed in the
本发明的延伸记忆组件与普通弹簧具有明显区别。如图4所示,本发明的延伸记忆组件是由形状记忆合金形成。形状记忆合金例如是如铜-镍-铝或镍-钛合金,是在施加输入参数(例如热或电流)时形状发生变化的金属材料。形状记忆合金能够在差异的条件下实现差异的形状变化。例如,形状记忆合金具有低温形状和高温形状。对处于低温形状的形状记忆合金施加热火电流会导致形状记忆合金呈现高温形状。通过对不同的记忆形状进行更改,形状记忆合金能够伸长。本发明中,由形状记忆合金形成的记忆弹簧能够通过温度和/或电流的变化使得延伸记忆组件从当前位置沿推进槽纵向延伸或者缩回,从而实现推进注射器的推进前进的目的。The extended memory assembly of the present invention is significantly different from ordinary springs. As shown in FIG. 4 , the extended memory assembly of the present invention is formed of a shape memory alloy. Shape memory alloys such as copper-nickel-aluminum or nickel-titanium alloys, for example, are metallic materials that change shape when an input parameter (eg heat or current) is applied. Shape memory alloys can achieve differential shape changes under differential conditions. For example, shape memory alloys have low temperature shapes and high temperature shapes. Applying a thermal current to a shape memory alloy in a low temperature shape causes the shape memory alloy to assume a high temperature shape. Shape memory alloys are able to stretch by making changes to different memory shapes. In the present invention, the memory spring formed by the shape memory alloy can make the extension memory component extend or retract longitudinally along the advancing groove from the current position through the change of temperature and/or current, so as to achieve the purpose of advancing the advance of the injector.
在初始状态,延伸记忆组件8处于压缩状态。将记忆延伸组件加热或者超过形变的临界温度,延伸记忆组件的形状变化至延伸位置。将处于延伸状态的延伸记忆组件快速冷却,则延伸记忆组件恢复压缩状态。优选的,本发明的延伸记忆组件8是根据选择的条件形成的形状记忆合金,其在延伸时对推柄施加基本恒定的力。这与普通弹簧中的弹力与伸缩长度相关联的性质具有本质区别。In the initial state, the
优选的,在延伸记忆组件8延伸长度超过0.8~0.9mm的情况下,延伸记忆组件8产生的力为恒定,直至其完全延伸。Preferably, when the extension length of the
如图6所示,为各个形状状态下的延伸记忆组件8。a1表示处于压缩状态的延伸记忆组件8的径向视图。a2表示压缩状态的延伸记忆组件8的轴向视图。b1表示处于延伸状态的延伸记忆组件8的径向视图。b2表示延伸状态的延伸记忆组件8的轴向视图。c1表示处于冷却压缩状态的延伸记忆组件8的径向视图。c2表示冷却压缩状态的延伸记忆组件8的轴向视图。As shown in FIG. 6 , it is the
如图6所示,延伸记忆组件8上设置有多个开口80和延伸边82。开口80与延伸边82相互连接,延伸边为开口的边界。优选的,开口的形状按照弧形的方式从延伸记忆组件的主体的外边缘的第一端83开始,沿着非线性路径向内旋转至趋近于主体中心位置的第二端84。优选的,多个开口围绕延伸记忆组件8的主体中心设置。优选的,每个开口80的第一端83相对于延伸记忆组件的主体的外边缘成角度错开。每个开口80的第二端84相对于延伸记忆组件8的主体中心相对地成角度错开。优选的,开口80的宽度沿着其自身长度可以是不变的,也可以是变化的。优选的,开口80的宽度在趋近第一端83或第二端84时逐渐变窄,在开口80的中部区域宽度逐渐变宽。As shown in FIG. 6 , a plurality of
如图6所示,在未通过温度和/或电流激活的状态下,延伸记忆组件8处于压缩状态且表面平坦,厚度为S。As shown in FIG. 6 , in a state not activated by temperature and/or current, the
如图6所示,在通过温度和/或电流激活后,延伸记忆组件8处于延伸状态,延伸边82的形状发生变化使得延伸记忆组件8的整体进行延伸。As shown in FIG. 6 , after being activated by temperature and/or current, the
如图6所示,在迅速冷却的情况下,延伸记忆组件8恢复压缩状态。优选的,对于图中示出的延伸记忆组件8为最基本的主体,实际应用时主体的延伸长度可以更长。在图6的示例中,延伸记忆组件8的直径为9.1毫米,压缩状态的厚度S为0.4毫米。在经过温度和/或电激活后,延伸记忆组件8的长度为6.8毫米。即压缩比为17,这是普通的不锈钢弹簧和螺旋弹簧达不到的。通过设置延伸记忆组件8,本发明的推进槽能够明显缩短,也不需要设置凸出的收缩空间。As shown in Figure 6, in the event of rapid cooling, the
本发明对设置延伸记忆组件8的输注组件进行更详细的说明。The present invention provides a more detailed description of the infusion set provided with the
如图4所示,本发明中的输注组件步进包括微型电机以用于调节限位装置的位置,从而通过卷绕金属丝的方式来对延伸速度进行限制。本发明还设置有与控制组件连接的至少一个激活装置。激活装置可以是加热/冷却装置,也可以是电流施加和控制装置。优选的,处于安全考虑,本发明中的激活装置选为能够控制温度且对延伸记忆组件8施加热量的温控装置。优选的,延伸记忆组件8的激活温度为趋近于人体的温度,例如温度范围为30~38度。即在延伸记忆组件8升温后,使用该装置的医护人员不会感觉手部过热。不会形成烫伤等安全问题。As shown in FIG. 4 , the stepper of the infusion assembly in the present invention includes a micro motor for adjusting the position of the limiting device, so as to limit the extension speed by winding the wire. The present invention is also provided with at least one activation device connected to the control assembly. The activation device can be a heating/cooling device or a current application and control device. Preferably, for safety reasons, the activation device in the present invention is selected as a temperature control device capable of controlling the temperature and applying heat to the
在延伸记忆组件8通过温度激活后,开始延伸。此时微型电机同步启动,按照预设的速度释放金属丝,则延伸记忆组件8的一端基于与金属丝连接的传感探头的速度限制,按照预设的注射速度前进。在接触到推柄后,继续按照预设的速度推动推柄,以使得药剂注入患者体内。After the
在运算分析单元基于传感探头329传输的信号确定延伸记忆组件8停止延伸后,即输注完成或者手动停止。此时,运算分析单元向控制组件发送指令,以控制温控装置对延伸记忆组件8施加极速低温,使得延伸记忆组件8开始回复为压缩状态。与此同时,控制组件控制微型电机以收缩金属丝的方式来辅助延伸记忆组件8压缩为压缩状态。After the arithmetic analysis unit determines based on the signal transmitted by the
本发明的输注组件,通过能够延伸和回复压缩的延伸记忆组件8的设置,能够缩小推进槽占据的空间。即在初始状态,延伸记忆组件8设置在推进槽中仅需要极小的空间,这相对推进杆具有极大的优势。本发明在进行手动推动时,本发明通过限位装置即金属丝对延伸记忆组件8进行辅助的快速压缩,能够避免传统的推进杆对手动空间的阻碍和影响。同事,本发明的输注组件能够明显降低重量,使得医护人员在即时改为手动输注时,能够根据身体姿态来移动和使用,不具有由于体积庞大、重量大而必须设置在桌面使用的弊端。The infusion set of the present invention can reduce the space occupied by the pusher slot through the provision of the
需要注意的是,上述具体实施例是示例性的,本领域技术人员可以在本发明公开内容的启发下想出各种解决方案,而这些解决方案也都属于本发明的公开范围并落入本发明的保护范围之内。本领域技术人员应该明白,本发明说明书及其附图均为说明性而并非构成对权利要求的限制。本发明的保护范围由权利要求及其等同物限定。It should be noted that the above-mentioned specific embodiments are exemplary, and those skilled in the art can come up with various solutions inspired by the disclosure of the present invention, and these solutions also belong to the disclosure scope of the present invention and fall within the scope of the present invention. within the scope of protection of the invention. It should be understood by those skilled in the art that the description of the present invention and the accompanying drawings are illustrative rather than limiting to the claims. The protection scope of the present invention is defined by the claims and their equivalents.
| Application Number | Priority Date | Filing Date | Title |
|---|---|---|---|
| CN202011642639.1ACN112755332B (en) | 2020-12-29 | 2020-12-29 | Fluid infusion system |
| Application Number | Priority Date | Filing Date | Title |
|---|---|---|---|
| CN202011642639.1ACN112755332B (en) | 2020-12-29 | 2020-12-29 | Fluid infusion system |
| Publication Number | Publication Date |
|---|---|
| CN112755332A CN112755332A (en) | 2021-05-07 |
| CN112755332Btrue CN112755332B (en) | 2022-06-03 |
| Application Number | Title | Priority Date | Filing Date |
|---|---|---|---|
| CN202011642639.1AExpired - Fee RelatedCN112755332B (en) | 2020-12-29 | 2020-12-29 | Fluid infusion system |
| Country | Link |
|---|---|
| CN (1) | CN112755332B (en) |
| Publication number | Priority date | Publication date | Assignee | Title |
|---|---|---|---|---|
| CN115671481B (en)* | 2022-10-27 | 2023-06-13 | 深圳市美迪泰克医药有限公司 | Electronic booster capable of increasing injection and method thereof |
| Publication number | Priority date | Publication date | Assignee | Title |
|---|---|---|---|---|
| WO2011139110A2 (en)* | 2010-05-04 | 2011-11-10 | 주식회사 디아메스코 | Pen-type portable insulin injection device |
| CN110694142A (en)* | 2019-10-24 | 2020-01-17 | 艾诺克医美科技(珠海)有限公司 | User-customized subcutaneous electronic injection system and injection customization method |
| Publication number | Priority date | Publication date | Assignee | Title |
|---|---|---|---|---|
| US6936035B2 (en)* | 2002-12-31 | 2005-08-30 | I-Flow Corporation | Patient controlled drug administration device |
| AR042539A1 (en)* | 2003-12-18 | 2005-06-22 | Jose Santiago Rolla | UNIT FOR SUPPLY OF INJECTATIONS IN MANUAL OR AUTOMATIC FORM |
| US20060270997A1 (en)* | 2005-05-19 | 2006-11-30 | Vasogen Ireland Limited | Permission-based material dispenser |
| US20190365363A1 (en)* | 2018-06-05 | 2019-12-05 | Cook Medical Technologies Llc | Sample retrieval kit and system and method of use thereof |
| EP3593838A1 (en)* | 2018-07-13 | 2020-01-15 | Zyno Medical, Llc | High precision syringe with removable pump unit |
| US11311670B2 (en)* | 2018-10-12 | 2022-04-26 | Flex Ltd | Automatic injection device having a passive drive system with a shape memory spring |
| Publication number | Priority date | Publication date | Assignee | Title |
|---|---|---|---|---|
| WO2011139110A2 (en)* | 2010-05-04 | 2011-11-10 | 주식회사 디아메스코 | Pen-type portable insulin injection device |
| CN110694142A (en)* | 2019-10-24 | 2020-01-17 | 艾诺克医美科技(珠海)有限公司 | User-customized subcutaneous electronic injection system and injection customization method |
| Publication number | Publication date |
|---|---|
| CN112755332A (en) | 2021-05-07 |
| Publication | Publication Date | Title |
|---|---|---|
| US10576220B2 (en) | Electromechanical manipulating device for medical needle and syringe with sensory biofeedback and pain suppression capability | |
| CN101732778B (en) | Intelligent system for monitoring infusion | |
| JP4549079B2 (en) | Medical dosing device | |
| US20180140770A1 (en) | Infusate tubing clamp systems for infusion pumps | |
| JP6525879B2 (en) | System and method for detecting an occlusion in a drug injection system using a pulsed pressure signal | |
| US20210350896A1 (en) | Patient monitoring using drug administration devices | |
| BR122016030041B1 (en) | SYRINGE PUMP FOR ADMINISTERING AN AGENT TO A PATIENT | |
| WO2003011358A2 (en) | Apparatuses and methods for titrating drug delivery | |
| EP2451513A1 (en) | Method and apparatus for syringe injection of fluids | |
| WO2013075622A1 (en) | Syringe pump and drive system thereof | |
| CN112755332B (en) | Fluid infusion system | |
| US20210236719A1 (en) | Systems and methods for syringe handling | |
| CN114728134A (en) | Interconnection of drug administration systems | |
| CN101530643A (en) | Infusion speed and temperature controller | |
| CN112712872A (en) | Automatic injection device and using method thereof | |
| CN201768220U (en) | Propofol and remifentanil intravenous anesthesia injection device | |
| CN117504047B (en) | Micropump system | |
| BR122016030038B1 (en) | System and apparatus for attaching a syringe to the syringe pump | |
| CN201399122Y (en) | Infusion speed and temperature double-control device | |
| JP2022547424A (en) | Syringe with dose-capturable disposable body and reusable cap | |
| US20230226272A1 (en) | Apparatus and methods for administration of medicine including monitoring and user feedback | |
| JP2011005280A (en) | Medical dosing device | |
| CN114129825B (en) | Intelligent anesthesia control system | |
| TWI715254B (en) | Smart medicine injection device | |
| TWM590057U (en) | Intelligent drug injection device |
| Date | Code | Title | Description |
|---|---|---|---|
| PB01 | Publication | ||
| PB01 | Publication | ||
| SE01 | Entry into force of request for substantive examination | ||
| SE01 | Entry into force of request for substantive examination | ||
| GR01 | Patent grant | ||
| GR01 | Patent grant | ||
| CF01 | Termination of patent right due to non-payment of annual fee | Granted publication date:20220603 | |
| CF01 | Termination of patent right due to non-payment of annual fee |