Movatterモバイル変換


[0]ホーム

URL:


CN112740827A - Network communication processing method, computer-readable storage medium and electronic device - Google Patents

Network communication processing method, computer-readable storage medium and electronic device
Download PDF

Info

Publication number
CN112740827A
CN112740827ACN201880097944.1ACN201880097944ACN112740827ACN 112740827 ACN112740827 ACN 112740827ACN 201880097944 ACN201880097944 ACN 201880097944ACN 112740827 ACN112740827 ACN 112740827A
Authority
CN
China
Prior art keywords
wireless network
network
electronic device
wireless
measurement
Prior art date
Legal status (The legal status is an assumption and is not a legal conclusion. Google has not performed a legal analysis and makes no representation as to the accuracy of the status listed.)
Granted
Application number
CN201880097944.1A
Other languages
Chinese (zh)
Other versions
CN112740827B (en
Inventor
林进全
Current Assignee (The listed assignees may be inaccurate. Google has not performed a legal analysis and makes no representation or warranty as to the accuracy of the list.)
Guangdong Oppo Mobile Telecommunications Corp Ltd
Shenzhen Huantai Technology Co Ltd
Original Assignee
Guangdong Oppo Mobile Telecommunications Corp Ltd
Shenzhen Huantai Technology Co Ltd
Priority date (The priority date is an assumption and is not a legal conclusion. Google has not performed a legal analysis and makes no representation as to the accuracy of the date listed.)
Filing date
Publication date
Application filed by Guangdong Oppo Mobile Telecommunications Corp Ltd, Shenzhen Huantai Technology Co LtdfiledCriticalGuangdong Oppo Mobile Telecommunications Corp Ltd
Publication of CN112740827ApublicationCriticalpatent/CN112740827A/en
Application grantedgrantedCritical
Publication of CN112740827BpublicationCriticalpatent/CN112740827B/en
Activelegal-statusCriticalCurrent
Anticipated expirationlegal-statusCritical

Links

Images

Classifications

Landscapes

Abstract

Translated fromChinese

一种网络通信处理方法,包括:检测电子设备与第一无线网络之间的连接状态;当所述连接状态为连接建立状态时,获取第二无线网络的网络信号强度;基于所述网络信号强度,调整所述第二无线网络的测量策略。

Figure 201880097944

A network communication processing method, comprising: detecting a connection state between an electronic device and a first wireless network; when the connection state is a connection establishment state, acquiring network signal strength of a second wireless network; based on the network signal strength , and adjust the measurement strategy of the second wireless network.

Figure 201880097944

Description

Network communication processing method, computer-readable storage medium, and electronic deviceTechnical Field
The present application relates to the field of computer communication technologies, and in particular, to a network communication processing method, a computer-readable storage medium, and an electronic device.
Background
With the rapid development of computer communication technology, electronic devices may implement wireless communication functions through a wireless local area network or a mobile communication system. When the electronic device is in the coverage area of the wireless local area network, the wireless local area network is usually adopted to realize the wireless communication function, and at this time, the mobile communication system of the electronic device is still in a working state, which causes a problem of large power consumption.
Disclosure of Invention
According to various embodiments of the present application, a network communication processing method, a computer-readable storage medium, and an electronic device are provided.
A network communication processing method, comprising:
detecting a connection state between the electronic device and the first wireless network;
when the connection state is a connection establishment state, acquiring the network signal intensity of a second wireless network; and
adjusting a measurement policy of the second wireless network based on the network signal strength.
One or more computer-readable storage media embodying computer-executable instructions that, when executed by one or more processors, cause the processors to:
detecting a connection state between the electronic device and the first wireless network;
when the connection state is a connection establishment state, acquiring the network signal intensity of a second wireless network; and
adjusting a measurement policy of the second wireless network based on the network signal strength.
An electronic device comprising a memory and a processor, the memory having stored therein computer-readable instructions that, when executed by the processor, cause the processor to:
detecting a connection state between the electronic device and the first wireless network;
when the connection state is a connection establishment state, acquiring the network signal intensity of a second wireless network; and
adjusting a measurement policy of the second wireless network based on the network signal strength.
According to the network communication processing method, the computer readable storage medium and the electronic device, the connection state between the electronic device and the first wireless network is detected, when the connection state is the connection establishment state, the network signal intensity of the second wireless network is obtained, and the measurement strategy of the second wireless network is adjusted based on the network signal intensity. Because the measurement strategy of the second wireless network can be adjusted according to the network signal strength of the second wireless network when the first wireless network is in the connection establishment state, the measurement strategy of the second wireless network can be adjusted more accurately, and the power consumption consumed by different measurement strategies is different, the power consumption of the electronic equipment can be reduced after the measurement strategy is adjusted according to the network signal strength.
The details of one or more embodiments of the application are set forth in the accompanying drawings and the description below. Other features, objects, and advantages of the application will be apparent from the description and drawings, and from the claims.
Drawings
In order to more clearly illustrate the embodiments of the present application or the technical solutions in the prior art, the drawings used in the description of the embodiments or the prior art will be briefly described below, it is obvious that the drawings in the following description are only some embodiments of the present application, and for those skilled in the art, other drawings can be obtained according to the drawings without creative efforts.
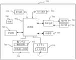
Fig. 1 is a diagram of an application environment of a network communication processing method according to an embodiment.
Fig. 2 is a flow diagram of a network communication processing method in one embodiment.
Fig. 3 is a flow diagram of adjusting a measurement frequency of a second wireless network in one embodiment.
Fig. 4 is a flow diagram of adjusting a measurement frequency of a wireless network in one embodiment.
Fig. 5 is a block diagram of a network communication processing device according to an embodiment.
Fig. 6 is a schematic diagram of an internal structure of an electronic device in one embodiment.
Fig. 7 is a block diagram of a partial structure of a mobile phone related to an electronic device provided in an embodiment of the present application.
Detailed Description
In order to make the objects, technical solutions and advantages of the present application more apparent, the present application is described in further detail below with reference to the accompanying drawings and embodiments. It should be understood that the specific embodiments described herein are merely illustrative of the present application and are not intended to limit the present application.
It will be understood that, as used herein, the terms "first," "second," and the like may be used herein to describe various elements, but these elements are not limited by these terms. These terms are only used to distinguish one element from another. For example, a first wireless network may be referred to as a second wireless network, and similarly, a second wireless network may be referred to as a first wireless network, without departing from the scope of the present application. The first wireless network and the second wireless network are both wireless networks, but are not the same wireless network.
Fig. 1 is a diagram of an application environment of a network communication processing method according to an embodiment. As shown in fig. 1, the application environment includes anelectronic device 110, a firstwireless network 120, and a secondwireless network 130. Specifically, theelectronic device 110 may detect a connection state between theelectronic device 110 and the firstwireless network 120, and when the connection state is a connection establishment state, theelectronic device 110 obtains a network signal strength of the secondwireless network 130, and adjusts a measurement policy of the secondwireless network 130 based on the network signal strength. The firstwireless network 120 may be a wireless local area network formed by wireless access points such as wireless switches, wireless routers, wireless gateways, wireless bridges, and the like. The secondwireless network 130 is a mobile communication network. Specifically, the secondwireless network 130 may be a mobile communication network supporting mobile communication technologies such as 4G (fourth generation mobile communication technology), 3G (third generation mobile communication technology), and 2G (second generation mobile communication technology). Theelectronic device 110 may be a mobile phone, a computer, a wearable device, and the like, which is not limited herein.
Fig. 2 is a flow diagram of a network communication processing method in one embodiment. The network communication processing method in this embodiment is described by taking theelectronic device 110 in fig. 1 as an example. As shown in fig. 2, the network communication processing method includesoperations 202 to 206. Wherein:
inoperation 202, a connection status between an electronic device and a first wireless network is detected.
The connection state refers to a connection situation between the electronic device and the first wireless network. The connection state may include a connection setup state, a connection disconnection state, a roaming state, and the like. The first wireless network may be a wireless local area network formed by wireless access points such as wireless switches, wireless routers, wireless gateways, wireless bridges, and the like. The electronic equipment can be connected with a first wireless network, so that a wireless internet access function is realized. Specifically, the electronic device may listen to a connection state between the electronic device and the first wireless network through an AP (Application Processor).
Inoperation 204, when the connection status is the connection establishment status, the network signal strength of the second wireless network is obtained.
The connection establishment state refers to a state in which the electronic device establishes a connection with the wireless local area network and realizes a wireless communication function through the wireless local area network. The second wireless network may be a mobile communication network supporting 4G, 3G, 2G, etc. mobile communication technologies. The electronic device includes a modem communication module, which can be used to convert baseband signals into radio frequency signals, convert radio frequency signals into baseband signals, and the like. When the electronic equipment starts the function of the second wireless network, the connection of the second wireless network can be realized through the modem communication module. The network Signal strength of the second wireless network may be represented by RSRP (Reference Signal Receiving Power) that identifies a linear average of received Power over resource elements carrying Reference signals over the measurement frequency bandwidth. In some embodiments, the network signal strength of the second wireless network may also be considered by one or more of a network transmission rate, a mobile communication technology, a packet loss rate, and the like, which is not limited herein.
When the electronic device detects that the connection state with the first wireless network is the connection establishment state, the network signal strength of the second wireless network is acquired, and specifically, the electronic device may acquire the network signal strength of a cell in which the second wireless network is established with the electronic device.
Atoperation 206, a measurement policy of the second wireless network is adjusted based on the network signal strength.
The measurement strategy of the second wireless network refers to a strategy for measuring cell signals. Specifically, the electronic device can measure cell signals through the modem communication module. A cell is an area covered by one or a part of a base station (sector antenna) in a mobile communication system, and electronic devices in the area can communicate with the base station through a wireless channel. The power consumption of the electronic device for measurement is higher than the power consumption of the electronic device without measurement, and further, the higher the frequency of measurement performed by the electronic device, the higher the power consumption of the modem communication module. The electronic device adjusts a measurement strategy of the second wireless network, and specifically, the electronic device may determine whether to perform cell signal measurement according to the network signal strength, and may also divide measurement frequencies corresponding to different network signal strengths, so as to adjust the measurement frequency of the modem module to the measurement frequency corresponding to the acquired network signal strength.
The electronic device adjusts a measurement policy of the second wireless network based on the network signal strength. Specifically, the electronic device may preset measurement strategies corresponding to different network signal strengths, so as to adjust the second wireless network according to the measurement strategies corresponding to the acquired network signal strengths.
According to the network communication processing method provided by the embodiment of the application, the connection state between the electronic equipment and the first wireless network is detected, when the connection state is the connection establishment state, the network signal intensity of the second wireless network is obtained, and the measurement strategy of the second wireless network is adjusted based on the network signal intensity. Because the measurement strategy of the second wireless network can be adjusted according to the network signal strength of the second wireless network when the electronic equipment is in a connection establishment state with the first wireless network, and the power consumption consumed by different measurement strategies is different, after the measurement strategy is adjusted according to the network signal strength, the power consumption of the modem communication module and the electronic equipment can be reduced, the problem of overlarge power consumption of the electronic equipment caused by the fact that the second wireless network adopts a unified measurement strategy is solved, and the endurance time of the electronic equipment is prolonged.
In one embodiment, the network communication processing method provided in the embodiment, wherein the process of adjusting the measurement policy of the second wireless network based on the network signal strength comprises: and when the network signal strength exceeds a first strength threshold value, adjusting the measurement frequency of the second wireless network, wherein the measurement frequency is the frequency for carrying out cell signal measurement.
The network signal strength may be represented by RSRP, with a larger RSRP the higher the network signal strength of the second wireless network, and a smaller RSRP the lower the network signal strength of the second wireless network. The first intensity threshold may be set according to actual requirements. Specifically, when the network signal strength of the second wireless network is the same as the first strength threshold, the second wireless network can implement basic mobile communication service. For example, the first intensity threshold may be, but is not limited to, -90dBm (decibel-milliwatts), -80dBm, -75dBm, -70dBm, and so forth. The measurement frequency of the second wireless network is the frequency at which the modem module contained in the electronic device makes cell signal measurements. In the operation process of the second wireless network function in the electronic device, along with the movement of the electronic device or other factors, the signal strength of the cell where the second wireless network is located and other cells can be changed continuously, and the electronic device can measure the network signal strength of other cells at regular time to select a more appropriate cell.
When the network signal strength exceeds a first strength threshold, the electronic device adjusts a measurement frequency of the second wireless network. Specifically, the electronic device may reduce the measurement frequency of the second wireless network, and the specific adjustment range may be set according to actual requirements, which is not limited herein.
When the cell signal measurement is carried out, the higher the measurement frequency is, the higher the power consumption is, but the network quality of the second wireless network can be ensured; the lower the measurement frequency, the less power consumption, but the network quality of the second wireless network cannot be guaranteed. When the first wireless network is in the connection establishment state and the network signal intensity of the second wireless network is detected to exceed the first intensity threshold value, the measurement frequency of the second wireless network is adjusted, so that the network quality of the electronic equipment can be guaranteed, and meanwhile, the power consumption can be reduced.
Fig. 3 is a flow diagram of adjusting a measurement frequency of a second wireless network in one embodiment. As shown in fig. 3, in one embodiment, the process of adjusting the measurement frequency of the second wireless network in the network communication method includes:
atoperation 302, a strength difference between the network signal strength and a first strength threshold is detected.
The electronic device may calculate a strength difference between the network signal strength and the first strength threshold based on the obtained network signal strength and the first strength threshold.
Inoperation 304, a frequency adjustment coefficient corresponding to the intensity difference is obtained.
The frequency adjustment factor is used to adjust the measurement frequency of the second wireless network. Specifically, the frequency adjustment coefficient may be set according to a preset measurement frequency, where the preset measurement frequency is a common default measurement frequency of a second wireless network pre-stored by the electronic device, and in an embodiment, the preset measurement frequency may be a measurement frequency corresponding to the second wireless network when the first wireless network is in a disconnection state. The frequency adjustment coefficient may also be set according to a measurement frequency currently employed by the electronic device.
The electronic device may pre-store frequency adjustment coefficients corresponding to different intensity difference values, so that when an intensity difference value between the network signal intensity and the first intensity threshold is detected, the frequency adjustment coefficient corresponding to the intensity difference value is obtained.
Inoperation 306, the measurement frequency of the second wireless network is adjusted according to the frequency adjustment coefficient.
The electronic device may adjust the measurement frequency of the second wireless network according to the frequency adjustment factor. For example, the preset measurement frequency of the second wireless network is measured every 50 seconds, when the frequency adjustment coefficient is 0.8, the adjusted measurement frequency is measured every 40 seconds, and when the frequency adjustment coefficient is 0.5, the adjusted measurement frequency is measured every 25 seconds. In an embodiment, the electronic device may also preset a measurement frequency corresponding to different network signal strengths, and further directly adjust the measurement frequency of the second wireless network to the measurement frequency corresponding to the acquired network signal strength.
When the network signal intensity exceeds the first intensity threshold, the electronic equipment detects the intensity difference value between the network signal intensity and the first intensity threshold, obtains a frequency adjusting coefficient corresponding to the intensity difference value, adjusts the measuring frequency of the second wireless network, and can improve the accuracy of the adjustment of the measuring strategy.
In one embodiment, the process of adjusting the measurement policy of the second wireless network in the network communication method further includes: and when the network signal strength exceeds a second strength threshold value, prohibiting the second wireless network from performing at least one of measurement operation and reselection operation, wherein the second strength threshold value is larger than the first strength threshold value.
The second intensity threshold may be set according to actual requirements. The second intensity threshold is greater than the first intensity threshold, for example, when the first intensity threshold is-90 dBm, the second intensity threshold may be-80 dBm, -75dBm, -70dBm, etc., but is not limited thereto; when the first intensity threshold is-80 dBm, the second intensity threshold may be-75 dBm, -70dBm, -63dBm, etc., but is not limited thereto. The reselection operation refers to an operation of selecting a more suitable cell for the second wireless network connection by the electronic device according to a cell signal measurement result. The electronic device may disable the second wireless network from at least one of a measurement operation and a reselection operation when the network signal strength exceeds a second strength threshold, i.e., disable the modem communication module from at least one of a cell signal measurement and a cell reselection. In one embodiment, the electronic device sets different intensity thresholds for disabling measurement and reselection operations, respectively, of the second wireless network. For example, when the network signal strength threshold exceeds the measurement threshold, the second wireless network is prohibited from performing measurement operations; and when the network signal strength threshold exceeds a reselection threshold, prohibiting the second wireless network from performing reselection operation, wherein the measurement threshold and the reselection threshold are both higher than the first strength threshold, and the measurement threshold may be equal to or greater than the reselection threshold.
Fig. 4 is a flow diagram of adjusting a measurement frequency of a wireless network in one embodiment. As shown in fig. 4, in one embodiment, a network communication method is provided, in which a process of adjusting a measurement frequency of a wireless network includes:
atoperation 402, it is detected whether the first wireless network is in a wireless talk state.
The first wireless network is in a wireless communication state, which means that the electronic device is in a wireless communication state with other electronic devices through the first wireless network. Specifically, the wireless call may be a voice call or a video call. The electronic device may detect whether the first wireless network is in a wireless communication state when the network signal strength exceeds a first strength threshold. Specifically, the electronic device may directly detect whether the first wireless network is in a wireless communication state, or detect whether the wireless communication state is achieved by using the first wireless network when the electronic device is in the wireless communication state.
Inoperation 404, a measurement frequency of a second wireless network is adjusted when the first wireless network is not in a wireless call state.
When the first wireless network is not in the wireless call state, the electronic device may adjust the measurement frequency of the second wireless network according to the network signal strength of the second wireless network, so as to avoid the influence of the adjustment of the measurement frequency on the wireless call. When the first wireless network is in a wireless communication state, the electronic device may not adjust the measurement frequency of the second wireless network, so as to ensure the communication quality.
In one embodiment, in the network communication method, when the connection status is the connection establishment status, the process of acquiring the network signal strength of the second wireless network includes: and when the connection state of the first wireless network is detected to be switched from the disconnection state to the connection establishment state, acquiring the network signal intensity of the second wireless network.
The disconnection state is a state in which the electronic device is not connected to the wireless lan and cannot realize a wireless communication function through the wireless lan. The electronic device can monitor whether the connection state of the first wireless network changes through the AP, and when the connection state of the first wireless network is switched from a disconnection state to a connection establishment state, the electronic device can acquire the network signal intensity of the second wireless network, so that the measurement strategy of the second wireless network is adjusted based on the network signal intensity. In an embodiment, the electronic device monitors the connection state of the first wireless network through the AP, and when the connection state of the first wireless network changes, the electronic device may send the change of the connection state to the modem communication module, and then when the modem communication module receives that the first wireless network is switched from a disconnection state to a connection establishment state, the electronic device may obtain, through the modem communication module, a network signal strength of the second wireless network, and adjust a measurement policy, by the modem communication module, for performing cell measurement on the second wireless network according to the network signal strength, so that power consumption of the modem communication module may be reduced, thereby reducing power consumption of the electronic device.
In one embodiment, the provided network communication method further comprises: and when the connection state of the first wireless network is detected to be switched from the connection establishment state to the connection disconnection state, adjusting the measurement strategy of the second wireless network to a preset measurement strategy.
When the connection state of the first wireless network is switched from the connection establishment state to the connection disconnection state, the electronic device may adjust the measurement policy of the second wireless network to a preset measurement policy. The preset measurement policy refers to a measurement policy adopted by the electronic device in the second wireless network in the normal operation state, and specifically, may be a default measurement policy of the second wireless network pre-stored by the electronic device. The electronic device can adjust the measurement policy of the second wireless network according to the network signal strength of the second wireless network when the first wireless network is in the connection establishment state, and further adjust the measurement policy of the second wireless network to the preset measurement policy when the connection state of the first wireless network is detected to be switched from the connection establishment state to the disconnection state, so that the power consumption of the electronic device can be reduced, and the stability of the second wireless network can be maintained.
In one embodiment, the provided network communication method further comprises: and when the connection state of the first wireless network is detected to be in a roaming state, maintaining the measurement strategy of the second wireless network.
The roaming state refers to a process in which, when a plurality of wireless access points exist around the electronic device, the electronic device can be handed over from one wireless access point to another wireless access point and maintain network connection when moving in an area covered by the plurality of wireless access points. The electronic device may maintain the measurement policy of the second wireless network while the first wireless network is in the roaming state, i.e., without adjusting the measurement policy of the second wireless network.
In one embodiment, a network communication processing method is provided, and the specific operations for implementing the method are as follows:
first, the electronic device detects a connection state with a first wireless network. The first wireless network may be a wireless local area network formed by wireless access points such as wireless switches, wireless routers, wireless gateways, wireless bridges, and the like. The electronic device can listen to a connection state between the electronic device and the first wireless network through the AP.
Then, when the connection state is the connection establishment state, the electronic device acquires the network signal strength of the second wireless network. The connection establishment state refers to a state in which the electronic device establishes a connection with the wireless local area network and realizes a wireless communication function through the wireless local area network. Specifically, when the electronic device detects that the connection state with the first wireless network is the connection establishment state, the electronic device may acquire the network signal strength of a cell in which the second wireless network connection with the electronic device is established. The second wireless network may be a mobile communication network supporting 4G, 3G, 2G, etc. mobile communication technologies.
Optionally, the electronic device detects whether the first wireless network is in a wireless call state, and adjusts the measurement frequency of the second wireless network when the first wireless network is not in the wireless call state. Thereby avoiding the influence of the adjustment of the measurement frequency on the wireless call. When the first wireless network is in a wireless communication state, the electronic device may not adjust the measurement frequency of the second wireless network, so as to ensure the communication quality.
Optionally, when it is detected that the connection state of the first wireless network is switched from the disconnection state to the connection establishment state, the electronic device acquires the network signal strength of the second wireless network. The electronic device can monitor whether the connection state of the first wireless network changes through the AP, and when the connection state of the first wireless network is switched from a disconnection state to a connection establishment state, the electronic device can acquire the network signal intensity of the second wireless network, so that the measurement strategy of the second wireless network is adjusted based on the network signal intensity.
Optionally, when the electronic device detects that the connection state of the first wireless network is switched from the connection establishment state to the connection disconnection state, the measurement policy of the second wireless network is adjusted to the preset measurement policy. The preset measurement policy refers to a measurement policy adopted by the electronic device in the second wireless network in the normal operation state, and specifically, may be a default measurement policy of the second wireless network pre-stored by the electronic device.
Optionally, when the electronic device detects that the connection state of the first wireless network is in a roaming state, the measurement policy of the second wireless network is maintained. The electronic device may maintain the measurement policy of the second wireless network while the first wireless network is in the roaming state, i.e., without adjusting the measurement policy of the second wireless network.
Then, the electronic device adjusts the measurement strategy of the second wireless network based on the network signal strength. The measurement strategy of the second wireless network refers to a strategy for measuring cell signals. Specifically, the electronic device can measure cell signals through the modem communication module. The electronic device adjusts a measurement policy of the second wireless network based on the network signal strength. Specifically, the electronic device may preset measurement strategies corresponding to different network signal strengths, so as to adjust the second wireless network according to the measurement strategies corresponding to the acquired network signal strengths.
Optionally, the electronic device adjusts a measurement frequency of the second wireless network when the network signal strength exceeds a first strength threshold, wherein the measurement frequency is a frequency at which cell signal measurements are made. In the operation process of the second wireless network function in the electronic device, along with the movement of the electronic device or other factors, the signal strength of the cell where the second wireless network is located and other cells can be changed continuously, and the electronic device can measure the network signal strength of other cells at regular time to select a more appropriate cell. When the first wireless network is in the connection establishment state and the network signal intensity of the second wireless network is detected to exceed the first intensity threshold value, the measurement frequency of the second wireless network is adjusted, so that the network quality of the electronic equipment can be guaranteed, and meanwhile, the power consumption can be reduced.
Optionally, the electronic device detects a strength difference between the network signal strength and the first strength threshold, obtains a frequency adjustment coefficient corresponding to the strength difference, and adjusts the measurement frequency of the second wireless network according to the frequency adjustment coefficient.
Optionally, the electronic device inhibits the second wireless network from at least one of measuring and reselecting when the network signal strength exceeds a second strength threshold, wherein the second strength threshold is greater than the first strength threshold. The reselection operation refers to an operation of selecting a more suitable cell for the second wireless network connection by the electronic device according to a cell signal measurement result. The electronic device may disable the second wireless network from at least one of a measurement operation and a reselection operation when the network signal strength exceeds a second strength threshold, i.e., disable the modem communication module from at least one of a cell signal measurement and a cell reselection.
Fig. 5 is a block diagram of a network communication processing device according to an embodiment. As shown in fig. 5, the network communication processing apparatus includes adetection module 502, an obtainingmodule 504, and anadjusting module 506, where:
the detectingmodule 502 is configured to detect a connection status between the electronic device and the first wireless network.
The obtainingmodule 504 is configured to obtain the network signal strength of the second wireless network when the connection status is the connection establishment status.
Anadjusting module 506, configured to adjust a measurement policy of the second wireless network based on the network signal strength.
The network communication processing apparatus provided in the embodiment of the application may be configured to detect a connection state between the electronic device and the first wireless network, acquire a network signal strength of the second wireless network when the connection state is a connection establishment state, adjust a measurement policy of the second wireless network based on the network signal strength, and adjust the measurement policy of the second wireless network more accurately.
In one embodiment, the adjustingmodule 506 may be further configured to adjust a measurement frequency of the second wireless network when the network signal strength exceeds the first strength threshold, where the measurement frequency is a frequency at which cell signal measurements are made.
In one embodiment, the adjustingmodule 506 may be further configured to detect a strength difference between the network signal strength and the first strength threshold; acquiring a frequency adjustment coefficient corresponding to the intensity difference; and adjusting the measurement frequency of the second wireless network according to the frequency adjustment coefficient.
In one embodiment, the adjustingmodule 506 may be further configured to detect whether the first wireless network is in a wireless call state; and when the first wireless network is not in the wireless call state, adjusting the measurement frequency of the second wireless network.
In one embodiment, the adjustingmodule 506 may be further configured to prohibit the second wireless network from performing at least one of a measurement operation and a reselection operation when the network signal strength exceeds a second strength threshold, wherein the second strength threshold is greater than the first strength threshold.
In one embodiment, the obtainingmodule 504 may be further configured to obtain the network signal strength of the second wireless network when detecting that the connection status of the first wireless network is switched from the disconnection status to the connection establishment status.
In one embodiment, the adjustingmodule 506 may be further configured to adjust the measurement policy of the second wireless network to a preset measurement policy when detecting that the connection status of the first wireless network is switched from the connection establishment status to the connection disconnection status.
The division of the modules in the network communication processing apparatus is only used for illustration, and in other embodiments, the network communication processing apparatus may be divided into different modules as needed to complete all or part of the functions of the network communication processing apparatus.
Fig. 6 is a schematic diagram of an internal structure of an electronic device in one embodiment. As shown in fig. 6, the electronic device includes a processor and a memory connected by a system bus. Wherein, the processor is used for providing calculation and control capability and supporting the operation of the whole electronic equipment. The memory may include a non-volatile storage medium and an internal memory. The non-volatile storage medium stores an operating system and a computer program. The computer program can be executed by a processor to implement a network communication processing method provided in the following embodiments. The internal memory provides a cached execution environment for the operating system computer programs in the non-volatile storage medium. The electronic device may be a mobile phone, a tablet computer, or a personal digital assistant or a wearable device, etc.
The embodiment of the application also provides a computer readable storage medium. On which a computer program is stored, characterized in that the computer program realizes the network communication processing method as described above when executed by a processor.
The embodiment of the application also provides the electronic equipment. As shown in fig. 7, for convenience of explanation, only the parts related to the embodiments of the present application are shown, and details of the technology are not disclosed, please refer to the method part of the embodiments of the present application. The electronic device may be any terminal device including a mobile phone, a tablet computer, a PDA (Personal Digital Assistant), a POS (Point of Sales), a vehicle-mounted computer, a wearable device, and the like, taking the electronic device as the mobile phone as an example:
fig. 7 is a block diagram of a partial structure of a mobile phone related to an electronic device provided in an embodiment of the present application. Referring to fig. 7, the handset includes: radio Frequency (RF)circuit 710,memory 720,input unit 730,display unit 740,sensor 750,audio circuit 760, wireless fidelity (WiFi)module 770,processor 780, andpower supply 790. Those skilled in the art will appreciate that the handset configuration shown in fig. 7 is not intended to be limiting and may include more or fewer components than those shown, or some components may be combined, or a different arrangement of components.
TheRF circuit 710 may be used for receiving and transmitting signals during information transmission or communication, and may receive downlink information of a base station and then process the downlink information to theprocessor 780; the uplink data may also be transmitted to the base station. Typically, the RF circuitry includes, but is not limited to, an antenna, at least one Amplifier, a transceiver, a coupler, a Low Noise Amplifier (LNA), a duplexer, and the like. In addition, theRF circuit 710 may also communicate with networks and other devices via wireless communication. The wireless communication may use any communication standard or protocol, including but not limited to Global System for Mobile communication (GSM), General Packet Radio Service (GPRS), Code Division Multiple Access (CDMA), Wideband Code Division Multiple Access (WCDMA), Long Term Evolution (LTE)), e-mail, Short Messaging Service (SMS), and the like.
Thememory 720 may be used to store software programs and modules, and theprocessor 780 may execute various functional applications and data processing of the cellular phone by operating the software programs and modules stored in thememory 720. Thememory 720 may mainly include a program storage area and a data storage area, wherein the program storage area may store an operating system, an application program required for at least one function (such as an application program for a sound playing function, an application program for an image playing function, and the like), and the like; the data storage area may store data (such as audio data, an address book, etc.) created according to the use of the mobile phone, and the like. Further, thememory 720 may include high speed random access memory, and may also include non-volatile memory, such as at least one magnetic disk storage device, flash memory device, or other volatile solid state storage device.
Theinput unit 730 may be used to receive input numeric or character information and generate key signal inputs related to user settings and function control of thecellular phone 700. Specifically, theinput unit 730 may include atouch panel 731 andother input devices 732. Thetouch panel 731, which may also be referred to as a touch screen, can collect touch operations of a user (e.g., operations of the user on or near thetouch panel 731 by using a finger, a stylus, or any other suitable object or accessory) thereon or nearby, and drive the corresponding connection device according to a preset program. In one embodiment, thetouch panel 731 may include two parts of a touch detection device and a touch controller. The touch detection device detects the touch direction of a user, detects a signal brought by touch operation and transmits the signal to the touch controller; the touch controller receives touch information from the touch sensing device, converts it to touch point coordinates, and sends the touch point coordinates to theprocessor 780, and can receive and execute commands from theprocessor 780. In addition, thetouch panel 731 may be implemented by various types, such as a resistive type, a capacitive type, an infrared ray, and a surface acoustic wave. Theinput unit 730 may includeother input devices 732 in addition to thetouch panel 731. In particular,other input devices 732 may include, but are not limited to, one or more of a physical keyboard, function keys (such as volume control keys, switch keys, etc.), and the like.
Thedisplay unit 740 may be used to display information input by the user or information provided to the user and various menus of the mobile phone. Thedisplay unit 740 may include adisplay panel 741. In one embodiment, theDisplay panel 741 may be configured in the form of a Liquid Crystal Display (LCD), an Organic Light-Emitting Diode (OLED), or the like. In one embodiment, thetouch panel 731 can cover thedisplay panel 741, and when thetouch panel 731 detects a touch operation on or near thetouch panel 731, the touch operation is transmitted to theprocessor 780 to determine the type of the touch event, and then theprocessor 780 provides a corresponding visual output on thedisplay panel 741 according to the type of the touch event. Although thetouch panel 731 and thedisplay panel 741 are two independent components in fig. 7 to implement the input and output functions of the mobile phone, in some embodiments, thetouch panel 731 and thedisplay panel 741 may be integrated to implement the input and output functions of the mobile phone.
Thecell phone 700 may also include at least onesensor 750, such as light sensors, motion sensors, and other sensors. Specifically, the light sensor may include an ambient light sensor that adjusts the brightness of thedisplay panel 741 according to the brightness of ambient light, and a proximity sensor that turns off thedisplay panel 741 and/or a backlight when the mobile phone is moved to the ear. The motion sensor can comprise an acceleration sensor, the acceleration sensor can detect the magnitude of acceleration in each direction, the magnitude and the direction of gravity can be detected when the mobile phone is static, and the motion sensor can be used for identifying the application of the gesture of the mobile phone (such as horizontal and vertical screen switching), the vibration identification related functions (such as pedometer and knocking) and the like; the mobile phone may be provided with other sensors such as a gyroscope, a barometer, a hygrometer, a thermometer, and an infrared sensor.
Audio circuitry 760,speaker 761, andmicrophone 762 may provide an audio interface between a user and a cell phone. Theaudio circuit 760 can transmit the electrical signal converted from the received audio data to thespeaker 761, and the electrical signal is converted into a sound signal by thespeaker 761 and output; on the other hand, themicrophone 762 converts the collected sound signal into an electric signal, converts the electric signal into audio data after being received by theaudio circuit 760, and then outputs the audio data to theprocessor 780 for processing, and then the processed audio data may be transmitted to another mobile phone through theRF circuit 710, or outputs the audio data to thememory 720 for subsequent processing.
WiFi belongs to short-distance wireless transmission technology, and the mobile phone can help a user to receive and send e-mails, browse webpages, access streaming media and the like through theWiFi module 770, and provides wireless broadband Internet access for the user. Although fig. 7 showsWiFi module 770, it is understood that it does not belong to the essential components ofhandset 700 and may be omitted as desired.
Theprocessor 780 is a control center of the mobile phone, connects various parts of the entire mobile phone by using various interfaces and lines, and performs various functions of the mobile phone and processes data by operating or executing software programs and/or modules stored in thememory 720 and calling data stored in thememory 720, thereby integrally monitoring the mobile phone. In one embodiment,processor 780 may include one or more processing units. In one embodiment,processor 780 may integrate an application processor and a modem processor, where the application processor primarily handles operating systems, user interfaces, applications, and the like; the modem processor handles primarily wireless communications. It will be appreciated that the modem processor may not be integrated intoprocessor 780.
Thehandset 700 also includes a power supply 790 (e.g., a battery) for powering the various components, which may preferably be logically coupled to theprocessor 780 via a power management system that may be used to manage charging, discharging, and power consumption.
In one embodiment, thecell phone 700 may also include a camera, a bluetooth module, and the like.
In the embodiment of the present application, theprocessor 780 included in the electronic device implements the network communication processing method as described above when executing the computer program stored in the memory.
Any reference to memory, storage, database, or other medium used herein may include non-volatile and/or volatile memory. Suitable non-volatile memory can include read-only memory (ROM), Programmable ROM (PROM), Electrically Programmable ROM (EPROM), Electrically Erasable Programmable ROM (EEPROM), or flash memory. Volatile memory can include Random Access Memory (RAM), which acts as external cache memory. By way of illustration and not limitation, RAM is available in a variety of forms, such as Static RAM (SRAM), Dynamic RAM (DRAM), Synchronous DRAM (SDRAM), double data rate SDRAM (DDR SDRAM), Enhanced SDRAM (ESDRAM), synchronous Link (Synchlink) DRAM (SLDRAM), Rambus Direct RAM (RDRAM), direct bus dynamic RAM (DRDRAM), and bus dynamic RAM (RDRAM).
The above-mentioned embodiments only express several embodiments of the present application, and the description thereof is more specific and detailed, but not construed as limiting the scope of the present application. It should be noted that, for a person skilled in the art, several variations and modifications can be made without departing from the concept of the present application, which falls within the scope of protection of the present application. Therefore, the protection scope of the present patent shall be subject to the appended claims.

Claims (21)

Translated fromChinese
PCT国内申请,权利要求书已公开。PCT domestic application, the claims have been published.
CN201880097944.1A2018-11-222018-11-22Network communication processing method, computer-readable storage medium, and electronic deviceActiveCN112740827B (en)

Applications Claiming Priority (1)

Application NumberPriority DateFiling DateTitle
PCT/CN2018/116914WO2020103077A1 (en)2018-11-222018-11-22Network communication processing method, computer-readable storage medium and electronic device

Publications (2)

Publication NumberPublication Date
CN112740827Atrue CN112740827A (en)2021-04-30
CN112740827B CN112740827B (en)2023-05-12

Family

ID=70773783

Family Applications (1)

Application NumberTitlePriority DateFiling Date
CN201880097944.1AActiveCN112740827B (en)2018-11-222018-11-22Network communication processing method, computer-readable storage medium, and electronic device

Country Status (2)

CountryLink
CN (1)CN112740827B (en)
WO (1)WO2020103077A1 (en)

Families Citing this family (2)

* Cited by examiner, † Cited by third party
Publication numberPriority datePublication dateAssigneeTitle
CN115314966A (en)*2021-05-062022-11-08Oppo广东移动通信有限公司 Wireless network switching method, device, electronic device and storage medium
TW202410718A (en)*2022-08-162024-03-01睿生光電股份有限公司Operating method for electronic device

Citations (4)

* Cited by examiner, † Cited by third party
Publication numberPriority datePublication dateAssigneeTitle
WO2007001689A1 (en)*2005-06-232007-01-04Motorola Inc.Method and system for adjusting inter-scan period of a mobile station
CN104041139A (en)*2012-09-202014-09-10华为技术有限公司 Receiver and method for accessing access point of wireless local area network
CN106489287A (en)*2014-06-202017-03-08高通股份有限公司Save via for the enhanced scanning of the AP putting altogether and associated STA and the power of beacon
CN107820331A (en)*2017-10-312018-03-20广东欧珀移动通信有限公司Call method, device, computer equipment and readable storage medium storing program for executing

Patent Citations (4)

* Cited by examiner, † Cited by third party
Publication numberPriority datePublication dateAssigneeTitle
WO2007001689A1 (en)*2005-06-232007-01-04Motorola Inc.Method and system for adjusting inter-scan period of a mobile station
CN104041139A (en)*2012-09-202014-09-10华为技术有限公司 Receiver and method for accessing access point of wireless local area network
CN106489287A (en)*2014-06-202017-03-08高通股份有限公司Save via for the enhanced scanning of the AP putting altogether and associated STA and the power of beacon
CN107820331A (en)*2017-10-312018-03-20广东欧珀移动通信有限公司Call method, device, computer equipment and readable storage medium storing program for executing

Also Published As

Publication numberPublication date
CN112740827B (en)2023-05-12
WO2020103077A1 (en)2020-05-28

Similar Documents

PublicationPublication DateTitle
EP3531737B1 (en)Method for setting wifi roaming and terminal device
US10285106B2 (en)User equipment and method for ensuring continuous service reception in wireless network
CN110278574B (en) Measurement method, measurement configuration method, terminal and network equipment
JP7565335B2 (en) COMMUNICATION PROCESSING METHOD, COMMUNICATION PROCESSING DEVICE, TERMINAL EQUIPMENT, AND STORAGE MEDIUM
CN111770529B (en)Method for processing relaxation measurement parameter update, terminal device and storage medium
CN111641963B (en)Cell measurement method and terminal equipment
CN107172702B (en)Mobile terminal and WiFi transmission power adjusting method and device thereof
CN111787567B (en) A method and terminal device for determining relaxation measurement parameters
US11076354B2 (en)Cell handover method and terminal device
CN106714207A (en) An information processing method and terminal device
WO2017076255A1 (en)Method for balancing load of wireless network, network equipment, and terminal equipment
CN106792819B (en) A method and device for reducing power consumption of a mobile terminal
CN106604314A (en) Network access method and terminal equipment for WiFi roaming
CN111050373A (en)Cell reselection method, cell reselection device, electronic equipment and computer-readable storage medium
CN107820303B (en)Mobile terminal wireless local area network scanning method and device and computer equipment
CN107846723B (en)Wireless local area network scanning method and device, computer equipment and storage medium
CN111642007B (en)Method and system for synchronously accessing terminal equipment to network and terminal equipment
CN107896385B (en)Mobile terminal wireless local area network scanning method and device and computer equipment
CN112740827B (en)Network communication processing method, computer-readable storage medium, and electronic device
CN112954755B (en)Optimized network switching method and device and computer readable storage medium
CN106851690A (en) Wireless network scanning method, device and computer equipment
CN112752317B (en) Serving cell selection method, device, terminal equipment and storage medium
WO2021238199A1 (en)Data transmission method, electronic device, and computer readable storage medium
WO2021232814A1 (en)Cell measurement method based on frequency point optimization, and terminal device
CN114245427B (en)Network switching method and device and mobile terminal

Legal Events

DateCodeTitleDescription
PB01Publication
PB01Publication
SE01Entry into force of request for substantive examination
SE01Entry into force of request for substantive examination
GR01Patent grant
GR01Patent grant

[8]ページ先頭

©2009-2025 Movatter.jp