Movatterモバイル変換


[0]ホーム

URL:


CN112731597A - Multi-core optical fiber connector - Google Patents

Multi-core optical fiber connector
Download PDF

Info

Publication number
CN112731597A
CN112731597ACN202011571571.2ACN202011571571ACN112731597ACN 112731597 ACN112731597 ACN 112731597ACN 202011571571 ACN202011571571 ACN 202011571571ACN 112731597 ACN112731597 ACN 112731597A
Authority
CN
China
Prior art keywords
core wire
optical fiber
core
fiber connector
housing
Prior art date
Legal status (The legal status is an assumption and is not a legal conclusion. Google has not performed a legal analysis and makes no representation as to the accuracy of the status listed.)
Pending
Application number
CN202011571571.2A
Other languages
Chinese (zh)
Inventor
张业
韩绍友
Current Assignee (The listed assignees may be inaccurate. Google has not performed a legal analysis and makes no representation or warranty as to the accuracy of the list.)
Shenzhen Xiayu Precision Parts Co ltd
Original Assignee
Shenzhen Xiayu Precision Parts Co ltd
Priority date (The priority date is an assumption and is not a legal conclusion. Google has not performed a legal analysis and makes no representation as to the accuracy of the date listed.)
Filing date
Publication date
Application filed by Shenzhen Xiayu Precision Parts Co ltdfiledCriticalShenzhen Xiayu Precision Parts Co ltd
Priority to CN202011571571.2ApriorityCriticalpatent/CN112731597A/en
Publication of CN112731597ApublicationCriticalpatent/CN112731597A/en
Pendinglegal-statusCriticalCurrent

Links

Images

Classifications

Landscapes

Abstract

Translated fromChinese

本发明实施例涉及一种多芯光纤连接器,包括壳体、装设于壳体内的分线座以及芯线护套,分线座上开设有若干个贯穿分线座设置的布线孔,从壳体后端伸入壳体内且包含多根芯线的线缆以每根芯线分别对应穿过一个芯线护套后再一一对应地插入分线座的布线孔内,分线座与芯线护套通过二次注塑成型工艺成型为一体,每个芯线护套开设有与布线孔对接且与芯线过盈配合的穿线孔。本发明实施例通过将分线座与芯线护套通过二次注塑成型工艺成型为一体,有效避免了水汽经由分线座与芯线护套之间的对接面渗入;此外,芯线护套的穿线孔与芯线过盈配合,芯线护套可很好地裹紧芯线,避免水汽沿芯线表面渗入。由此,大幅提升了多芯光纤连接器的整体防水性能。

Figure 202011571571

The embodiment of the present invention relates to a multi-core optical fiber connector, which includes a housing, a distribution base installed in the housing, and a core wire sheath. The distribution base is provided with a plurality of wiring holes arranged through the distribution base. The rear end of the casing extends into the casing and contains a plurality of core wires. Each core wire passes through a core wire sheath, and then is inserted into the wiring hole of the distribution base one by one. The core wire sheaths are integrally formed by a secondary injection molding process, and each core wire sheath is provided with a wire threading hole that is butted with the wiring hole and that is in interference fit with the core wire. In the embodiment of the present invention, the branch seat and the core wire sheath are integrally formed through a secondary injection molding process, which effectively prevents water vapor from infiltrating through the butting surface between the branch wire seat and the core wire sheath; in addition, the core wire sheath The threading hole and the core wire have an interference fit, and the core wire sheath can tightly wrap the core wire to prevent water vapor from infiltrating along the surface of the core wire. As a result, the overall waterproof performance of the multi-core optical fiber connector is greatly improved.

Figure 202011571571

Description

Multi-core optical fiber connector
Technical Field
The embodiment of the invention relates to the technical field of optical fiber connectors, in particular to a multi-core optical fiber connector.
Background
The conventional multi-core fiber optic connector mainly includes a housing, a wire-separating base and a core wire sheath. The cable distributing seat is characterized in that a plurality of wiring holes penetrating through the cable distributing seat are formed in the cable distributing seat, when the cable distributing seat is actually used, a cable containing a plurality of core wires extends into the shell from the rear end of the shell, and each core wire correspondingly penetrates through one core wire sheath and then is inserted into the wiring holes of the cable distributing seat one by one. The existing multi-core optical fiber connector branching seat and core wire sheath are manufactured and molded respectively, and the existing multi-core optical fiber connector branching seat and the core wire sheath are only mutually abutted when in use, and the waterproof performance of the joint surfaces of the existing multi-core optical fiber connector branching seat and the core wire sheath is poor, so that water vapor enters the interior of the existing multi-core optical fiber connector through the joint surfaces to influence the connection and signal transmission performance of the core part inside the optical fiber.
Disclosure of Invention
The technical problem to be solved by the embodiment of the invention is to provide a multi-core optical fiber connector, which can effectively improve the waterproof performance.
In order to solve the above technical problems, embodiments of the present invention provide the following technical solutions: a multi-core optical fiber connector comprises a shell, a branching seat and core wire sheaths, wherein the branching seat and the core wire sheaths are arranged in the shell, a plurality of wiring holes which are formed in the branching seat and penetrate through the branching seat are formed in the branching seat, a cable which extends into the shell from the rear end of the shell and comprises a plurality of core wires penetrates through one core wire sheath in a corresponding mode through each core wire, the wiring holes of the branching seat are inserted into the wiring holes of the branching seat in a one-to-one correspondence mode, the branching seat and the core wire sheaths are formed into a whole through a secondary injection molding process, and each core wire sheath is provided with a threading hole which is in butt.
Furthermore, a rear waterproof gasket is arranged between the rear end part of the wire distributing seat and the inner wall of the shell.
Furthermore, the rear waterproof gasket comprises a main ring body wrapped on the side face of the tail end of the branching seat and a folding ring folded from one end, close to the tail end face of the branching seat, of the main ring body to extend inwards for a preset distance and attached to the tail end face of the branching seat.
Furthermore, the shell consists of a front shell and a rear shell which is sleeved at the rear end part of the front shell and is in corresponding threaded connection with the front shell, the front shell is sleeved at the front end part of the junction box and is abutted against the rear waterproof gasket, and a rear stopping step which is used for being abutted against the end surface of the rear waterproof gasket is further formed at the position of the rear shell corresponding to the rear waterproof gasket.
Furthermore, the inner part of the front shell is also assembled with a plug socket which is tightly attached to the front end face of the distributing socket, the inner wall of the front shell is also provided with a front stopping step which is used for correspondingly preventing the plug socket from being separated from the front end opening of the front shell, and the side face of the plug socket is correspondingly provided with a convex part which is abutted against the front stopping step.
Further, the multi-core optical fiber connector is a socket connector, a front waterproof gasket is further sleeved on the socket and tightly abutted to the outer side face of the socket and the inner wall of the front shell respectively, an outer embedded groove and an inner embedded groove are formed in the inner wall of the front shell and the outer side face of the socket respectively, and the outer edge and the inner edge of the front waterproof gasket are embedded in the outer embedded groove and the inner embedded groove respectively and are attached to step faces correspondingly arranged on the socket through inner end faces.
Further, the lateral surface of procapsid still is formed with the flange limit in the preceding terminal surface department of being close to back casing, still the cover is equipped with outside waterproof gasket on the procapsid, outside waterproof gasket is still attached the flange limit orientation on the surface of one side of back casing.
Furthermore, the multi-core optical fiber connector is a plug connector, the tail end of the shell is reduced to form an external connection pipe, an outer sheath with a preset length is connected to the external connection pipe in a sealing mode, the cable penetrates through the outer sheath and the surface of the external connection pipe and then extends into the shell, and the inner wall of the outer sheath is in sealing combination with the outer surface of the cable.
Furthermore, the tail part of the external connecting pipe is provided with a compression ring, and the outer sheath and the external connecting pipe clamp the compression ring to realize sealing connection.
Further, the outer sheath is a heat shrinkable tube with glue.
By adopting the technical scheme, the embodiment of the invention at least has the following beneficial effects: the branching seat and the core wire sheath are molded into a whole through a secondary injection molding process, so that the influence of water vapor on the connection and signal transmission performance of the core part of the optical fiber connector due to the permeation of the butt joint surface between the branching seat and the core wire sheath is effectively avoided; in addition, through the through wires hole design with the heart yearn sheath for with heart yearn interference fit, when the heart yearn passed, the heart yearn sheath can wrap up in the heart yearn well, avoids steam to follow the infiltration of heart yearn surface. Therefore, the overall waterproof performance of the multi-core optical fiber connector provided by the embodiment of the invention is greatly improved.
Drawings
Fig. 1 is a perspective view of a multi-fiber optical connector of the present invention in a disassembled state when the multi-fiber optical connector is a receptacle connector in one embodiment.
Fig. 2 is a perspective view of the multi-fiber optical connector of the present invention in a receptacle connector.
Fig. 3 is a cross-sectional view of a multi-fiber connector of the present invention, in one embodiment a receptacle connector, assembled to a mounting plate of a corresponding device.
Fig. 4 is a perspective view of the multi-core optical fiber connector of the present invention in another embodiment of a plug connector.
Fig. 5 is a perspective view of the multi-core optical fiber connector of the present invention in a disassembled state when the multi-core optical fiber connector is a plug connector in another embodiment.
Fig. 6 is a cross-sectional view of the multi-fiber connector of the present invention in an assembled state when the multi-fiber connector is a plug connector in another embodiment.
Detailed Description
The invention is described in further detail below with reference to the figures and specific examples. It is to be understood that the following illustrative embodiments and description are only intended to illustrate the present invention, and are not intended to limit the present invention, and features of the embodiments and examples of the present invention may be combined with each other without conflict.
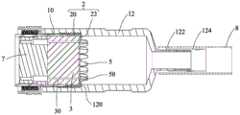
As shown in fig. 1 to 6, an alternative embodiment of the present invention provides a multi-fiber optical connector, which may be a receptacle connector as shown in fig. 1 to 3 or a plug connector as shown in fig. 4 to 6. The multicore optical fiber connector comprises a shell 1, a branchingseat 3 andcore wire sheaths 5, wherein the branchingseat 3 and thecore wire sheaths 5 are arranged in the shell 1, a plurality ofwiring holes 30 are formed in the branchingseat 3 and penetrate through the branchingseat 3, a cable (not shown) which extends into the shell 1 from the rear end of the shell 1 and comprises a plurality of core wires (not shown) penetrates through onecore wire sheath 5 respectively by each core wire and then is inserted into thewiring holes 30 of the branchingseat 3 in a one-to-one correspondence manner, the branchingseat 3 and thecore wire sheaths 5 are formed into a whole through a secondary injection molding process, and eachcore wire sheath 5 is provided with athreading hole 50 which is butted with thewiring hole 30 and is in interference fit with the core wires.
In the embodiment of the invention, the branchingseat 3 and thecore wire sheath 5 are molded into a whole by a secondary injection molding process, so that the influence of water vapor on the connection and signal transmission performance of the core part of the optical fiber connector caused by the permeation of the water vapor through the butt joint surface between the branchingseat 3 and thecore wire sheath 5 is effectively avoided; in addition, through the design of the throughwires hole 50 withheart yearn sheath 5 for with heart yearn interference fit, when the heart yearn passes through,heart yearn sheath 5 can wrap up the heart yearn well, avoids steam to permeate along the heart yearn surface. Therefore, the overall waterproof performance of the multi-core optical fiber connector provided by the embodiment of the invention is greatly improved.
In an alternative embodiment of the present invention, a rearwaterproof gasket 2 is further disposed between the rear end of thewire distributing base 3 and the inner wall of the housing 1. In the embodiment, thewaterproof gasket 2 is further arranged at the rear end part of the branchingseat 3, so that water vapor can be effectively prevented from permeating from the rear end part of the branchingseat 3.
In an alternative embodiment of the present invention, the rearwaterproof gasket 2 includes amain ring body 20 wrapped on the side surface of the tail end of thewire distributing base 3, and ahem ring 22 folded from one end of themain ring body 20 near the tail end of thewire distributing base 3 and extending inward for a predetermined distance and attached to the tail end of thewire distributing base 3. This embodiment sets up to including themajor loop body 20 and hem ring 22 throughwaterproof packing ring 2 in back, and can wrap up the side of the tail end ofseparated time seat 3 well and the position that the terminal surface links up, avoids steam to follow the surface infiltration ofseparated time seat 3 better.
In an alternative embodiment of the present invention, as shown in fig. 1 to 6, the housing 1 is composed of afront housing 10 and arear housing 12 sleeved on a rear end portion of thefront housing 10 and screwed into thefront housing 10, thefront housing 10 is sleeved on a front end portion of thewire distributing base 3 and abuts against the rearwaterproof gasket 2, and therear housing 12 further forms arear stop step 120 for abutting against an end surface of the rearwaterproof gasket 2 correspondingly at a position corresponding to the rearwaterproof gasket 2. In the present embodiment, thefront case 10 and therear case 12 constituting the case 1 are respectively fitted to the rearwaterproof gasket 2, so that the rearwaterproof gasket 2 and the case 1 are more closely abutted to each other, and the waterproof performance is better.
In an alternative embodiment of the present invention, asocket 7 closely attached to the front end surface of thewire distributing base 3 is further assembled in thefront housing 10, afront stopping step 100 for correspondingly preventing thesocket 7 from coming off from the front end opening of thefront housing 10 is further formed on the inner wall of thefront housing 10, and aprotrusion 70 abutting against thefront stopping step 100 is correspondingly provided on the side surface of thesocket 7. In this embodiment, thesocket 7 is assembled in thefront housing 10, thesocket 7 is tightly attached to the front end face of thewire distributing base 3, so as to achieve a good waterproof effect, in addition, the front stoppingstep 100 is arranged inside thefront housing 10, thesocket 7 is correspondingly provided with theconvex portion 70, and thesocket 7 can be effectively prevented from slipping out from the front end opening of thefront housing 10 by the abutting fit of theconvex portion 70 and thefront stopping step 100.
In an alternative embodiment of the present invention, as shown in fig. 1 to 3, the multi-fiber optical connector is a socket connector, thesocket 7 is further sleeved with a frontwaterproof gasket 4 tightly abutting against an outer side surface of thesocket 7 and an inner side surface of thefront housing 10, the inner side surface of thefront housing 10 and the outer side surface of thesocket 7 are respectively provided with anouter embedding groove 102 and aninner embedding groove 72, an outer edge and an inner edge of the frontwaterproof gasket 4 are respectively embedded in theouter embedding groove 102 and theinner embedding groove 72, and inner end surfaces thereof are attached to abuttingsurfaces 74 correspondingly arranged on thesocket 7. This embodiment still overlaps on theplug socket 7 in through the socket connector and establishes preceding waterproof gasket and comebutt socket 7 lateral surface and procapsid inner wall respectively, and can avoid steam to get into and follow from the preceding casing front end opening 7 lateral surface infiltration, moreover when the socket connector docks with corresponding plug connector, the preceding terminal surface of the plug socket of plug connector still with precedingwaterproof gasket 4 looks butt and avoid steam from the butt joint face infiltration of two connectors.
In an alternative embodiment of the present invention, as shown in fig. 1 to 3, aflange 104 is further formed on an outer side surface of thefront case 10 near a front end surface of therear case 12, an outerwaterproof gasket 6 is further sleeved on thefront case 10, and the outerwaterproof gasket 6 is further attached to a side surface of theflange 104 facing therear case 12. In the embodiment, the outer side surface of thefront shell 10 of the socket connector is further provided with theflange 104, and the outerwaterproof gasket 6 which is sleeved on thefront shell 10 and attached to theflange 104 is arranged, when the socket connector is assembled to themounting plate 9 of corresponding equipment, therear shell 12 is arranged on the inner side of themounting plate 9, thefront shell 10 is inserted into a corresponding mounting hole in themounting plate 9 from the outer side of the mounting plate to be correspondingly connected with therear shell 12, and the outerwaterproof gasket 6 on theflange 104 abuts against the outer surface of the corresponding mounting plate of an installation object, so that the external water vapor is well prevented from permeating into a gap at the connecting part of thefront shell 10 and therear shell 12 along the outer surface of themounting plate 9 and further permeating into the socket connector, and the waterproof.
In an alternative embodiment of the present invention, as shown in fig. 4 to 6, the multi-core optical fiber connector is a plug connector, a tail end of the housing 1 is reduced to form anouter connection tube 122, anouter sheath 8 with a predetermined length is sleeved on theouter connection tube 122, the cable passes through theouter sheath 8 and theouter connection tube 122 and then extends into the housing 1, and an inner wall of theouter sheath 8 is in sealing combination with an outer surface of the cable. This embodiment is through theouter takeover 122 that designs the tail end of casing 1 for integrated into one piece and corresponding reduce, and sealed cup joints anoversheath 8 again, and the cable passes inoversheath 8 andouter takeover 122 get into casing 1, can effectively promote waterproof performance.
In an alternative embodiment of the present invention, as shown in fig. 4 and 6, acrimp ring 124 is assembled at the end of theouter connecting tube 122, and theouter sheath 8 and theouter connecting tube 122 clamp thecrimp ring 124 to achieve a sealed connection. By further arranging apressure joint ring 124 between the external connectingpipe 122 and theouter sheath 8, the sealing and waterproof performance between theexternal connecting pipe 122 and theouter sheath 8 can be improved better.
In an alternative embodiment of the present invention, theouter sheath 8 is a heat shrinkable tube with glue. By using the heat shrinkable tube with glue to function as theouter sheath 8, theouter sheath 8 can be reheated after being assembled in place, so that theouter sheath 8 can be correspondingly shrunk to well wrap the cable, the outer connectingtube 122 and thecrimping ring 124, and a sealing effect can be better achieved.
While the present invention has been described with reference to the embodiments shown in the drawings, the present invention is not limited to the embodiments, which are illustrative and not restrictive, and many modifications may be made by one skilled in the art without departing from the spirit and scope of the invention as defined by the appended claims.

Claims (10)

Translated fromChinese
1.一种多芯光纤连接器,包括壳体、装设于所述壳体内的分线座以及芯线护套,所述分线座上开设有若干个贯穿分线座设置的布线孔,从壳体后端伸入所述壳体内且包含多根芯线的线缆以每根芯线分别对应穿过一个芯线护套后再一一对应地插入所述分线座的布线孔内,其特征在于,所述分线座与所述芯线护套通过二次注塑成型工艺成型为一体,每个芯线护套开设有与所述布线孔对接且与所述芯线过盈配合的穿线孔。1. A multi-core fiber optic connector, comprising a housing, a distribution base installed in the housing and a core wire sheath, the distribution base is provided with a number of wiring holes arranged through the distribution base, A cable extending into the casing from the rear end of the casing and containing a plurality of core wires is inserted into the wiring holes of the distribution base one by one correspondingly through a core wire sheath for each core wire. , characterized in that the splitter seat and the core wire sheath are integrally formed by a secondary injection molding process, and each core wire sheath is provided with a connection with the wiring hole and an interference fit with the core wire threading hole.2.如权利要求1所述的多芯光纤连接器,其特征在于,所述分线座的后端部与所述壳体的内壁之间还设有后防水垫圈。2 . The multi-core optical fiber connector according to claim 1 , wherein a rear waterproof gasket is further provided between the rear end of the distribution base and the inner wall of the housing. 3 .3.如权利要求2所述的多芯光纤连接器,其特征在于,所述后防水垫圈包括包裹在分线座的尾端部侧面上的主环体以及自主体部靠所述分线座尾端面的一端转折向内侧延伸预定距离并贴合于所述分线座的尾端面上的折边环。3 . The multi-core optical fiber connector according to claim 2 , wherein the rear waterproof gasket comprises a main ring body wrapped on the side surface of the rear end portion of the distribution base, and a main body that is close to the distribution base from the main body. 4 . One end of the tail end surface is turned to extend inwardly for a predetermined distance and is attached to the hemming ring on the tail end surface of the wire splitter.4.如权利要求2或3所述的多芯光纤连接器,其特征在于,所述壳体由前壳体和套于所述前壳体后端部并与前壳体对应螺合连接的后壳体组成,所述前壳体套设于所述分线座的前端部并抵接所述后防水垫圈,所述后壳体在对应于后防水垫圈的位置还形成用于对应抵接所述后防水垫圈的端面的后挡止台阶。4. The multi-core optical fiber connector according to claim 2 or 3, wherein the housing is composed of a front housing and a rear end of the front housing and correspondingly screwed to the front housing. It consists of a rear casing, the front casing is sleeved on the front end of the distribution base and abuts against the rear waterproof gasket, and the rear casing is also formed for corresponding abutment at a position corresponding to the rear waterproof gasket The rear stop step of the end face of the rear waterproof gasket.5.如权利要求4所述的多芯光纤连接器,其特征在于,所述前壳体内部还组装有与所述分线座的前端面紧密贴合的插接座,所述前壳体内壁还形成有用于对应防止插接座从前壳体的前端开口脱出的前挡止台阶,所述插接座的侧面对应设有与所述前挡止台阶相抵接的凸部。5 . The multi-core optical fiber connector according to claim 4 , wherein a plug socket that closely fits with the front end surface of the distribution socket is assembled inside the front shell, and the front shell The wall is also formed with a front stop step corresponding to preventing the plug socket from coming out of the front end opening of the front housing, and a side surface of the plug socket is correspondingly provided with a convex portion abutting against the front stop step.6.如权利要求5所述的多芯光纤连接器,其特征在于,所述多芯光纤连接器为插座连接器,所述插接座上还套设有与所述插接座外侧面和所述前壳体的内壁分别紧密抵接的前防水垫圈,所述前壳体的内壁和插接座外侧面分别设有外嵌槽和内嵌槽,所述前防水垫圈的外缘和内缘分别嵌设于所述外嵌槽和内嵌槽内且以内端面贴合在所述插接座上对应设置的台阶面。6 . The multi-core optical fiber connector according to claim 5 , wherein the multi-core optical fiber connector is a socket connector, and the socket is further sleeved with an outer surface of the socket and an outer surface of the socket. 7 . The inner wall of the front casing is in close contact with the front waterproof gasket, the inner wall of the front casing and the outer side of the socket are respectively provided with an outer embedding groove and an inner embedding groove, and the outer edge of the front waterproof gasket and the inner The edges are respectively embedded in the outer embedding groove and the inner embedding groove, and the inner end face is attached to the corresponding stepped surface on the socket.7.如权利要求6所述的多芯光纤连接器,其特征在于,所述前壳体的外侧面在靠近后壳体的前端面处还形成有法兰边,所述前壳体上还套设有外部防水垫圈,所述外部防水垫圈还贴附在所述法兰边朝向所述后壳体的一侧表面上。7 . The multi-core optical fiber connector according to claim 6 , wherein a flange is further formed on the outer side of the front housing near the front end of the rear housing, and the front housing is further formed with a flange. 8 . The outer waterproof gasket is sleeved, and the outer waterproof gasket is also attached to the side surface of the flange edge facing the rear casing.8.如权利要求1所述的多芯光纤连接器,其特征在于,所述多芯光纤连接器为插头连接器,所述壳体的尾端部缩小形成外接管,所述外接管上密封套接有一根具有预定长度的外护套,所述线缆穿过所述外护套和所述外接管面后伸入所述壳体内,所述外护套的内壁与所述线缆的外表面密封结合。8 . The multi-core optical fiber connector according to claim 1 , wherein the multi-core optical fiber connector is a plug connector, the tail end of the housing is reduced to form an outer tube, and the outer tube is sealed on the outer tube. 9 . An outer sheath with a predetermined length is sheathed, and the cable extends into the casing after passing through the outer sheath and the outer pipe surface, and the inner wall of the outer sheath is connected to the inner wall of the cable. The outer surfaces are hermetically bonded.9.如权利要求7或8所述的多芯光纤连接器,其特征在于,所述外接管尾部组装有压接环,所述外护套与所述外接管夹紧所述压接环而实现密封连接。9. The multi-core optical fiber connector according to claim 7 or 8, wherein a crimp ring is assembled at the tail of the outer tube, and the outer sheath and the outer tube clamp the crimp ring to form a crimp ring. achieve a sealed connection.10.如权利要求7或8所述的多芯光纤连接器,其特征在于,所述外护套为带胶热缩管。10. The multi-core optical fiber connector according to claim 7 or 8, wherein the outer sheath is a heat-shrinkable tube with glue.
CN202011571571.2A2020-12-272020-12-27Multi-core optical fiber connectorPendingCN112731597A (en)

Priority Applications (1)

Application NumberPriority DateFiling DateTitle
CN202011571571.2ACN112731597A (en)2020-12-272020-12-27Multi-core optical fiber connector

Applications Claiming Priority (1)

Application NumberPriority DateFiling DateTitle
CN202011571571.2ACN112731597A (en)2020-12-272020-12-27Multi-core optical fiber connector

Publications (1)

Publication NumberPublication Date
CN112731597Atrue CN112731597A (en)2021-04-30

Family

ID=75616997

Family Applications (1)

Application NumberTitlePriority DateFiling Date
CN202011571571.2APendingCN112731597A (en)2020-12-272020-12-27Multi-core optical fiber connector

Country Status (1)

CountryLink
CN (1)CN112731597A (en)

Cited By (2)

* Cited by examiner, † Cited by third party
Publication numberPriority datePublication dateAssigneeTitle
CN116752671A (en)*2023-06-292023-09-15中建二局装饰工程有限公司Waterproof structure between beams of curtain wall and construction method thereof
CN119165575A (en)*2024-09-202024-12-20江苏纳光通信科技有限公司 A polarization-maintaining multi-core optical fiber feedthrough component

Citations (11)

* Cited by examiner, † Cited by third party
Publication numberPriority datePublication dateAssigneeTitle
CN201661581U (en)*2010-04-232010-12-01区其安Plastic fastener
CN203932346U (en)*2014-01-272014-11-05奇点新源国际技术开发(北京)有限公司Cable joint connection in site device
CN206249486U (en)*2016-12-192017-06-13张铁骑Intellectual water meter waterproof case with secondary injection molding structure
CN110187443A (en)*2018-02-232019-08-30中航光电科技股份有限公司 Fiber optic connector tail accessories, fiber optic connectors and fiber optic cable assemblies
CN210347994U (en)*2019-09-292020-04-17广东亨通光电科技有限公司Multi-core connecting wire structure
CN111045158A (en)*2019-12-232020-04-21深圳长飞智连技术有限公司Waterproof optical fiber quick-connecting plug with dismounting tool
CN211014722U (en)*2019-10-212020-07-14信维通信(江苏)有限公司AOC connects
CN111430978A (en)*2020-04-202020-07-17沈阳兴华航空电器有限责任公司 A highly reliable optoelectronic hybrid connector
CN111786183A (en)*2020-08-122020-10-16江苏亨鑫科技有限公司Multi-core wire waterproof structure
CN111810515A (en)*2020-07-272020-10-23南通格姆特紧固技术有限公司Spherical combined anti-loose washer
CN214310995U (en)*2020-12-272021-09-28深圳市夏裕精密部件有限公司Multi-core optical fiber connector

Patent Citations (11)

* Cited by examiner, † Cited by third party
Publication numberPriority datePublication dateAssigneeTitle
CN201661581U (en)*2010-04-232010-12-01区其安Plastic fastener
CN203932346U (en)*2014-01-272014-11-05奇点新源国际技术开发(北京)有限公司Cable joint connection in site device
CN206249486U (en)*2016-12-192017-06-13张铁骑Intellectual water meter waterproof case with secondary injection molding structure
CN110187443A (en)*2018-02-232019-08-30中航光电科技股份有限公司 Fiber optic connector tail accessories, fiber optic connectors and fiber optic cable assemblies
CN210347994U (en)*2019-09-292020-04-17广东亨通光电科技有限公司Multi-core connecting wire structure
CN211014722U (en)*2019-10-212020-07-14信维通信(江苏)有限公司AOC connects
CN111045158A (en)*2019-12-232020-04-21深圳长飞智连技术有限公司Waterproof optical fiber quick-connecting plug with dismounting tool
CN111430978A (en)*2020-04-202020-07-17沈阳兴华航空电器有限责任公司 A highly reliable optoelectronic hybrid connector
CN111810515A (en)*2020-07-272020-10-23南通格姆特紧固技术有限公司Spherical combined anti-loose washer
CN111786183A (en)*2020-08-122020-10-16江苏亨鑫科技有限公司Multi-core wire waterproof structure
CN214310995U (en)*2020-12-272021-09-28深圳市夏裕精密部件有限公司Multi-core optical fiber connector

Cited By (2)

* Cited by examiner, † Cited by third party
Publication numberPriority datePublication dateAssigneeTitle
CN116752671A (en)*2023-06-292023-09-15中建二局装饰工程有限公司Waterproof structure between beams of curtain wall and construction method thereof
CN119165575A (en)*2024-09-202024-12-20江苏纳光通信科技有限公司 A polarization-maintaining multi-core optical fiber feedthrough component

Similar Documents

PublicationPublication DateTitle
RU2488858C2 (en)Highly reliable fibre-optic connector
US8746987B2 (en)Field assembled optical connector
US20110188810A1 (en)Hybrid connector
US9645341B2 (en)Cable assembly with connector having twist ability for aligning mating features
KR101184629B1 (en)Field install type optical fiber connector
CN112731597A (en)Multi-core optical fiber connector
WO2021147253A1 (en)Optical fiber connection head, optical fiber adapter, and optical fiber connection assembly
US20160103290A1 (en)Distribution cable with bidirectional breakout locations
CN102272646B (en) Field Assembled Optical Connectors
US10877221B2 (en)Fiber optic connector
WO2013005137A1 (en)Fiber optic connector
CN214310995U (en)Multi-core optical fiber connector
US8132970B2 (en)Optical fiber connector
WO2023179026A1 (en)Y-type copper-aluminum connector for photovoltaic system
CN102385114B (en)For holding the adapter of hybrid connector part and joints of optical fibre part
KR101041953B1 (en)Optical connector for assembling in the field
JP7459246B2 (en) Pre-connector and communication device
CN112292789B (en)Waterproof structure of multi-core wire
KR20140121182A (en)Packing structure for cable service entrance waterproof of that optical terminal box
US20230168458A1 (en)Cable attachment device
CN212695409U (en)Connector with outer waterproof shell structure
US6244752B1 (en)Single-piece optical fibre coupling
CN212160169U (en) Splice structure and optical cable splice box
US20250102741A1 (en)Coupler structurally configured to mechanically couple a fiber cable jacket with a mechanical fiber connector to enhance connection of an optical fiber to the fiber connector
TWM577119U (en)Optical fibre connector

Legal Events

DateCodeTitleDescription
PB01Publication
PB01Publication
SE01Entry into force of request for substantive examination
SE01Entry into force of request for substantive examination

[8]ページ先頭

©2009-2025 Movatter.jp