Movatterモバイル変換


[0]ホーム

URL:


CN112710873A - Wiring device and test device - Google Patents

Wiring device and test device
Download PDF

Info

Publication number
CN112710873A
CN112710873ACN202011337967.0ACN202011337967ACN112710873ACN 112710873 ACN112710873 ACN 112710873ACN 202011337967 ACN202011337967 ACN 202011337967ACN 112710873 ACN112710873 ACN 112710873A
Authority
CN
China
Prior art keywords
conductor
switching roller
wiring
conductor bar
switching
Prior art date
Legal status (The legal status is an assumption and is not a legal conclusion. Google has not performed a legal analysis and makes no representation as to the accuracy of the status listed.)
Granted
Application number
CN202011337967.0A
Other languages
Chinese (zh)
Other versions
CN112710873B (en
Inventor
梁煜
肖利龙
任重
李昂
Current Assignee (The listed assignees may be inaccurate. Google has not performed a legal analysis and makes no representation or warranty as to the accuracy of the list.)
Shenzhen Power Supply Bureau Co Ltd
Original Assignee
Shenzhen Power Supply Bureau Co Ltd
Priority date (The priority date is an assumption and is not a legal conclusion. Google has not performed a legal analysis and makes no representation as to the accuracy of the date listed.)
Filing date
Publication date
Application filed by Shenzhen Power Supply Bureau Co LtdfiledCriticalShenzhen Power Supply Bureau Co Ltd
Priority to CN202011337967.0ApriorityCriticalpatent/CN112710873B/en
Publication of CN112710873ApublicationCriticalpatent/CN112710873A/en
Application grantedgrantedCritical
Publication of CN112710873BpublicationCriticalpatent/CN112710873B/en
Activelegal-statusCriticalCurrent
Anticipated expirationlegal-statusCritical

Links

Images

Classifications

Landscapes

Abstract

Translated fromChinese

本发明涉及一种接线装置及测试装置。接线装置包括:导体棒组件、切换辊、第一导体、安装箱、第一线束、插头以及第二线束。上述的接线装置用于连接电容电压互感器的二次端子箱与测试仪器时,将插头插于二次端子箱,将第二线束与测试仪器的接线端电连接。在需要进行某一种试验项目时,可通过转动切换辊带动多组导体棒组件转动,使得该试验项目对应的导体棒组件与多个第一导体相配合,从而接线装置能够切换至该试验项目对应的接线模式,且电容电压互感器的二次端子箱与测试仪器能够电连接,接线方式迅速方便且能够准确切换至对应的接线模式,不易造成接线错误,且能够节省人力和时间。

Figure 202011337967

The invention relates to a wiring device and a testing device. The wiring device includes: a conductor bar assembly, a switching roller, a first conductor, a mounting box, a first wire harness, a plug, and a second wire harness. When the above-mentioned wiring device is used to connect the secondary terminal box of the capacitor voltage transformer and the testing instrument, the plug is inserted into the secondary terminal box to electrically connect the second wiring harness to the terminal of the testing instrument. When a certain test item needs to be performed, multiple groups of conductor rod assemblies can be rotated by rotating the switching roller, so that the conductor rod assemblies corresponding to the test item are matched with multiple first conductors, so that the wiring device can be switched to the test item. Corresponding wiring mode, and the secondary terminal box of the capacitor voltage transformer and the test instrument can be electrically connected, the wiring method is fast and convenient, and can be accurately switched to the corresponding wiring mode, which is not easy to cause wiring errors, and can save manpower and time.

Figure 202011337967

Description

Wiring device and testing device
Technical Field
The invention relates to the technical field of power equipment testing, in particular to a wiring device and a testing device.
Background
In order to ensure safe and stable operation of the power system, power testers need to perform preventive tests on the complete set of capacitor voltage transformers periodically to evaluate whether the performance of the capacitor voltage transformers is good or not. The testing is carried out in a secondary terminal box of the capacitor voltage transformer, the necessary steps are the operation of disconnecting and connecting wires, and after the testing is finished, the connection wires of a wiring board need to be recovered in time to ensure the reliability of the testing. Aiming at different test items, the wiring of the secondary terminal needs to be replaced so as to meet the test conditions. In the process of replacing the secondary terminal wiring, the problems of wiring errors, poor wiring and the like are easily caused, so that the accuracy of test data is influenced. When the wiring of the secondary terminal is replaced, in order to ensure the normal operation of a tested power device, the recovery condition of the secondary terminal of the capacitor voltage transformer needs to be checked and confirmed in multiple steps, wherein the steps comprise hand-drawing of a wiring diagram, photographing and comparing before and after disconnecting, filling of a disconnecting form item by item and measuring of the on-off problem of the terminal, and the labor cost and the time cost are high.
Disclosure of Invention
Therefore, it is necessary to provide a wiring device and a testing device capable of quickly and accurately wiring and saving labor and time, aiming at the problems that wiring errors are easily caused and the labor and time costs are high when the conventional capacitive voltage transformer is used for different testing items.
The embodiment of the application provides a termination, includes:
a conductor bar assembly;
the switching roller is provided with a plurality of groups of conductor bar assemblies which are arranged along the circumferential direction, and each group of conductor bar assemblies comprises a plurality of conductor bars which are sequentially arranged along the axial direction of the switching roller;
a plurality of first conductors which are arranged opposite to the outer peripheral surface of the switching roller and are sequentially arranged along the axial direction of the switching roller; when the switching roller rotates around the axis of the switching roller, any one of the conductor bar assemblies can be selectively matched with the first conductors; each conductor bar in the conductor bar assembly is electrically connected with the corresponding first conductor when the conductor bar assembly is matched with the first conductor;
the conductor bar, the switching roller and the first conductor are positioned in the installation box;
the first wire harness comprises a plurality of first wires, and one ends of the first wires are electrically connected with the first conductors and correspond to the first conductors one by one;
the plug comprises a plurality of contact pins, and the contact pins are electrically connected with the other end of the first lead and correspond to the other end of the first lead one by one; and
a second wire harness including a plurality of second wires; each conductor bar is electrically connected with the corresponding second lead respectively.
The wiring device is used for connecting the secondary terminal box of the capacitor voltage transformer with a testing instrument and is used for inserting the plug into the secondary terminal box and electrically connecting the second wiring harness with the wiring end of the testing instrument when performing preventive test items on the capacitor voltage transformer. When a certain test item needs to be carried out, the accessible rotates the switching roller and drives the multiunit conductor rod subassembly to rotate for the conductor rod subassembly that this test item corresponds cooperatees with a plurality of first conductors, thereby termination can switch to the mode of connection that this test item corresponds, and capacitance voltage transformer's secondary terminal case can be connected with the test instrument electricity, the mode of connection makes things convenient for rapidly and can accurately switch to the mode of connection that corresponds, be difficult for causing the wiring mistake, and can use manpower sparingly and time.
In one embodiment, the wire connecting device further comprises a driving mechanism for driving the switching roller to rotate.
In one embodiment, the wiring device further includes:
the speed reducing mechanism is driven by the driving mechanism and is used for driving the switching roller to rotate; and/or the presence of a gas in the gas,
and the control device is used for controlling the driving mechanism to drive the switching roller to rotate.
In one embodiment, the wiring device further includes an installation portion installed in the installation box, the installation portion is disposed opposite to the outer circumferential surface of the switching roller, and the plurality of first conductors are installed in the installation portion.
In one embodiment, the mounting portion has an inner surface and an outer surface opposite to the inner surface, and the inner surface is attached to the outer circumferential surface of the switching roller;
the inner surface is provided with a plurality of switching grooves which are sequentially arranged along the axial direction of the switching roller; the extending direction of each switching groove is along the circumferential direction of the switching roller; the first conductors are arranged in the switching grooves and correspond to the switching grooves one by one; the conductor bars are positioned in the corresponding switching grooves and can rotate along the switching grooves.
In an embodiment, the wiring device further comprises elastic clamping components which correspond to the first conductors one by one, and the elastic clamping components are mounted on the mounting portion and used for being clamped with the conductor bars; the conductor bar can be electrically connected with the first conductor when being clamped with the elastic clamping component;
the elastic clamping assembly is provided with a clamping cavity for accommodating the conductor bar; the both ends in joint chamber have the opening respectively, the switching roller drives when the conductor stick rotates, the conductor stick can be followed the one end opening in joint chamber gets into the joint chamber, and can follow the other end opening in joint chamber leaves the joint chamber.
In one embodiment, the elastic card component is made of an elastic material; or;
the elastic card component is made of metal materials, and the first conductor is the elastic card component.
In one embodiment, the wiring device further includes:
the induction contacts are arranged on the switching roller and are sequentially distributed along the circumferential direction of the switching roller, and the induction contacts correspond to the conductor bar assemblies one by one; and
the switching roller drives the plurality of induction contacts to rotate, and any one of the plurality of induction contacts can be matched with the induction contact; when the selected induction contact is matched with the induction contact, the switching roller can be triggered to stop rotating, and when the switching roller stops rotating, the conductor bar assembly corresponding to the selected induction contact can be matched with the first conductors.
In one embodiment, the wiring device further includes: the device comprises a fixed rod and a spring, wherein one end of the spring is connected with the fixed rod, and the other end of the spring is connected with the induction contact; when the induction contact is matched with the induction contact, the restoring force of the spring faces the induction contact.
Another embodiment of the present application further provides a testing apparatus, including any one of the wiring device and the testing apparatus described above; each conductor bar is electrically connected with one end of the corresponding second lead respectively; the other end of the second conducting wire is electrically connected with the test instrument, and the second conducting wire corresponds to the wiring end of the test instrument one to one.
Drawings
FIG. 1 is a schematic structural diagram of a testing apparatus according to an embodiment;
FIG. 2 is a bottom view of the mounting portion of the wiring lug of the test device of FIG. 1;
FIG. 3 is a schematic view of the connection of the spring clip assembly to the conductor bar of the wiring lug of FIG. 2;
fig. 4 is an enlarged view of a in fig. 1.
Detailed Description
In order to make the aforementioned objects, features and advantages of the present invention comprehensible, embodiments accompanied with figures are described in detail below. In the following description, numerous specific details are set forth in order to provide a thorough understanding of the present invention. This invention may, however, be embodied in many different forms and should not be construed as limited to the embodiments set forth herein.
In the description of the present invention, it is to be understood that the terms "central," "longitudinal," "lateral," "length," "width," "thickness," "upper," "lower," "front," "rear," "left," "right," "vertical," "horizontal," "top," "bottom," "inner," "outer," "clockwise," "counterclockwise," "axial," "radial," "circumferential," and the like are used in the orientations and positional relationships indicated in the drawings for convenience in describing the invention and to simplify the description, and are not intended to indicate or imply that the referenced device or element must have a particular orientation, be constructed and operated in a particular orientation, and are not to be considered limiting of the invention.
Furthermore, the terms "first", "second" and "first" are used for descriptive purposes only and are not to be construed as indicating or implying relative importance or implicitly indicating the number of technical features indicated. Thus, a feature defined as "first" or "second" may explicitly or implicitly include at least one such feature. In the description of the present invention, "a plurality" means at least two, e.g., two, three, etc., unless specifically limited otherwise.
In the present invention, unless otherwise expressly stated or limited, the terms "mounted," "connected," "secured," and the like are to be construed broadly and can, for example, be fixedly connected, detachably connected, or integrally formed; can be mechanically or electrically connected; they may be directly connected or indirectly connected through intervening media, or they may be connected internally or in any other suitable relationship, unless expressly stated otherwise. The specific meanings of the above terms in the present invention can be understood by those skilled in the art according to specific situations.
In the present invention, unless otherwise expressly stated or limited, the first feature "on" or "under" the second feature may be directly contacting the first and second features or indirectly contacting the first and second features through an intermediate. Also, a first feature "on," "over," and "above" a second feature may be directly or diagonally above the second feature, or may simply indicate that the first feature is at a higher level than the second feature. A first feature being "under," "below," and "beneath" a second feature may be directly under or obliquely under the first feature, or may simply mean that the first feature is at a lesser elevation than the second feature.
It will be understood that when an element is referred to as being "secured to" or "disposed on" another element, it can be directly on the other element or intervening elements may also be present. When an element is referred to as being "connected" to another element, it can be directly connected to the other element or intervening elements may also be present. The terms "vertical," "horizontal," "upper," "lower," "left," "right," and the like as used herein are for illustrative purposes only and do not denote a unique embodiment.
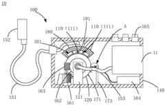
Referring to fig. 1, an embodiment of the present disclosure provides awiring device 100. Thewiring connection device 100 includes: theconductor bar assembly 110, theswitching roller 120, the first conductor (not shown), themounting box 140, thefirst harness 151, theplug 152, and thesecond harness 153. Theconductor bar 111, theswitching roller 120, and the first conductor site are disposed in themounting case 140.
Theswitching roller 120 is provided with a plurality of sets ofconductor bar assemblies 110 arranged in the circumferential direction, and each set ofconductor bar assembly 110 includes a plurality ofconductor bars 111 arranged in sequence in the axial direction of theswitching roller 120.
Specifically, as shown in fig. 1, thewiring connection device 100 further includes amounting bracket 121. Themounting frame 121 is fixed to the bottom wall of themounting case 140. Theswitching roller 120 is installed in theinstallation case 140 through theinstallation frame 121. The switchingroller 120 and the mountingframe 121 may be rotatably coupled by a rotating shaft (not shown), so that the switchingroller 120 can rotate about its axis by the rotating shaft.
The plurality of sets ofconductor bar assemblies 110 are disposed on the outer circumferential surface of the switchingroller 120 and arranged at intervals in the circumferential direction of the switchingroller 120. As shown in fig. 1, theconductor bar assemblies 110 in the present embodiment are three groups, which are, in order, the first group ofconductor bar assemblies 110, the second group ofconductor bar assemblies 110, and the third group ofconductor bar assemblies 110 along the clockwise direction. It is understood that the number ofconductor bar assemblies 110 may be other numbers such as two, four, etc. Each group of theconductor bar assemblies 110 includes a plurality of conductor bars 111, and the plurality of conductor bars 111 are sequentially arranged in the axial direction of the switchingroller 120 so that each group of theconductor bar assemblies 110 is aligned in a row. Different sets ofstub assemblies 110 may include different numbers ofstubs 111 and may include the same number ofstubs 111. For example, in the three groups ofconductor bar assemblies 110 of the present embodiment, the first group ofconductor bar assemblies 110 includes fourconductor bars 111, the second group ofconductor bar assemblies 110 includes threeconductor bars 111, and the third group ofconductor bar assemblies 110 includes five conductor bars 111.
The first conductor is disposed opposite to the outer circumferential surface of the switchingroller 120. The plurality of first conductors are arranged in order in the axial direction of the switchingroller 120. The switchingroller 120, when rotated about its axis, can selectively engage any one of the plurality of sets ofconductor bar assemblies 110 with a plurality of first conductors. When theconductor bar assemblies 110 are mated with the first conductors, eachconductor bar 111 in the set ofconductor bar assemblies 110 is electrically connected with a corresponding first conductor.
In particular, the first conductor may be a conductor block, a conductive contact, or the like. As shown in fig. 1, in the present embodiment, thewiring connection device 100 further includes a mountingportion 180, and the mountingportion 180 is fixedly connected to an inner wall of the mountingbox 140. A plurality of first conductors may be mounted to the mountingportion 180.
When the switchingroller 120 rotates around its axis, the plurality of first conductors are fixed, so that the switchingroller 120 drives the plurality ofconductor bar assemblies 110 to rotate relative to the first conductors. Since the plurality of first conductors are disposed opposite to the outer circumferential surface of the switchingroller 120, different sets ofconductor bar assemblies 110 can be engaged with the plurality of first conductors by rotating the switchingroller 120 by different angles.
The number of the first conductors is greater than or equal to the number of the conductor bars 111 in each group of theconductor bar assemblies 110, so that when each group of theconductor bar assemblies 110 is matched with a plurality of first conductors, eachconductor bar 111 in the group of theconductor bar assemblies 110 can be respectively contacted with the corresponding first conductor, thereby realizing the electrical connection. For example, the number of first conductors may be five. When the first group ofconductor bar assemblies 110 are engaged with a plurality of first conductors, the fourconductor bars 111 in the first group ofconductor bar assemblies 110 are respectively connected with the corresponding first conductors, so that the fourconductor bars 111 are electrically connected with the four first conductors, and the remaining one of the first conductors is not connected with the conductor bars 111. If the third group ofconductor bar assemblies 110 is matched with a plurality of first conductors, fiveconductor bars 111 in the third group ofconductor bar assemblies 110 correspond to five first conductors one by one.
In the present embodiment, thewiring device 100 is used to connect the secondary terminal box of the capacitance voltage transformer with a testing apparatus 11 (such as a dielectric loss meter) so as to perform a preventive test on the capacitance voltage transformer through thetesting apparatus 11.
Specifically, as shown in fig. 1, one end of thefirst wire harness 151 is located inside theinstallation case 140 and connected to the first conductor, and the other end is connected to theplug 152 and located outside theinstallation case 140. Wherein thefirst wire harness 151 includes a plurality of first wires (not shown). Theplug 152 includes a plurality of pins. When one end of thefirst harness 151 is connected to the first conductor, the first harness is electrically connected to the first conductor through one end of a first conductive wire, and the first conductive wire and the first conductor are in one-to-one correspondence. When the other end of thefirst harness 151 is connected to theplug 152, the other end of the first wire is electrically connected to the contact pin, and the first wire corresponds to the contact pin one to one. Theplug 152 is adapted to be inserted into a receptacle of a secondary terminal box of a capacitive voltage transformer. And, the pins of theplug 152 correspond one-to-one with the secondary terminals of the secondary terminal box of the capacitance voltage transformer.
One end of thesecond harness 153 is used for connecting the conductor bars 111, and the other end of thesecond harness 153 is used for connecting thetest instrument 11. Thesecond harness 153 includes a plurality of second conductive lines. When one end of thesecond wire harness 153 is connected to theconductive bars 111, eachconductive bar 111 is electrically connected to a corresponding second conductive wire. The twoconductor bars 111 of theconductor bar assemblies 110 of different groups may correspond to the same second conductive wire or different second conductive wires. When the other end of the second wire is connected to thetest instrument 11, the other end of the second wire corresponds to the terminals of thetest instrument 11 one to one.
Since the first wires are in one-to-one correspondence with the first conductors and electrically connected, and the conductor bars 111 in theconductor bar assemblies 110 are respectively electrically connected with the corresponding second wires, when any one group ofconductor bar assemblies 110 is matched with a plurality of first conductors, thesecond wire harness 153 can be electrically connected with thefirst wire harness 151, so that the secondary terminal box of the capacitance voltage transformer can be electrically connected with thetest instrument 11.
According to the difference of the test items, aiming at the wiring requirements of different test items, various different wiring modes can be set. In the present embodiment, different wiring patterns can be formed in thewiring device 100 by matching different sets of theconductor bar assemblies 110 with a plurality of first conductors, and therefore, each set of theconductor bar assemblies 110 can correspond to one wiring pattern and one test item, respectively. When a certain test item needs to be performed, the switchingroller 120 can be rotated to drive the plurality of groups ofconductor bar assemblies 110 to rotate, so that theconductor bar assemblies 110 corresponding to the test item are matched with the plurality of first conductors, thewiring device 100 can be switched to the wiring mode corresponding to the test item, the secondary terminal box of the capacitor voltage transformer can be electrically connected with thetesting instrument 11, and the wiring mode is rapid, convenient and accurate to the corresponding wiring mode.
Thewiring device 100 is used for connecting the secondary terminal box of the capacitance voltage transformer with thetest instrument 11, and is used for inserting theplug 152 into the secondary terminal box and electrically connecting thesecond wire harness 153 with the terminal of thetest instrument 11 when performing preventive test items on the capacitance voltage transformer. When a certain test item needs to be performed, the switchingroller 120 can be rotated to drive the plurality of groups ofconductor bar assemblies 110 to rotate, so that theconductor bar assemblies 110 corresponding to the test item are matched with the plurality of first conductors, thewiring device 100 can be switched to the wiring mode corresponding to the test item, the secondary terminal box of the capacitor voltage transformer can be electrically connected with thetesting instrument 11, and the wiring mode is rapid, convenient and accurate to the corresponding wiring mode.
Compare the mode of connection when carrying out the test project in traditional capacitance voltage transformer,use termination 100 of this application to carry out the wiring, need not carry out a lot of and tear open the wiring to be difficult for causing the wiring mistake, and can use manpower sparingly and time. And only oneplug 152 is required to be inserted into the secondary terminal box, and excessive plugs do not need to be arranged.
It is understood that thewiring device 100 can also be used for connection between other electrical equipment and a test instrument, and is not limited to the capacitive voltage transformer and thetest instrument 11 in the present embodiment.
Referring to fig. 1, in an embodiment, thewire connection device 100 further includes adriving mechanism 161 and a deceleration mechanism. Thedriving mechanism 161 is used for driving the speed reducing mechanism to move, and the speed reducing mechanism is used for driving the switchingroller 120 to rotate.
Specifically, in the present embodiment, thedriving mechanism 161 is a motor. The speed reducing mechanism is a worm and gear mechanism. As shown in fig. 1, the speed reduction mechanism includes aworm wheel 162 and aworm 163. The switchingroller 120 is controlled at a low speed by the deceleration of the deceleration mechanism.
Referring to fig. 1, in an embodiment, thewire connecting device 100 further includes acontrol device 164 for controlling thedriving mechanism 161 to drive the switchingroller 120 to rotate.
Specifically, thecontrol device 164 may be a single chip, a microprocessor, a controller, or the like. The rotation speed, start, and stop of the motor, and the like can be controlled by thecontrol device 164, so that the rotation speed, start, and stop of the switchingroller 120 can be controlled.
Referring to fig. 1, in an embodiment, thewiring connection device 100 further includes a mountingportion 180 fixed to the mountingbox 140. The mountingportion 180 is provided opposite to the outer circumferential surface of the switchingroller 120, and the plurality of first conductors are mounted to the mountingportion 180.
Specifically, as shown in fig. 1, in the present embodiment, the mountingportion 180 is fixed to the top wall of the mountingcase 140, so that when the first conductor is mounted to the mountingportion 180, the first conductor can be positioned above the switchingroller 120, and the first conductor can be conveniently disposed opposite to the outer circumferential surface of the switchingroller 120.
Referring to fig. 1 in conjunction with fig. 2, in an embodiment, the mountingportion 180 has an inner surface and an outer surface opposite to the inner surface, and the inner surface is attached to the outer circumferential surface of the switchingroller 120. The inner surface is provided with a plurality of switchinggrooves 101 arranged in order in the axial direction of the switchingroller 120. Each switchinggroove 101 extends in the circumferential direction of the switchingroller 120. The first conductors are installed in the switchinggrooves 101 and correspond one-to-one to the switchinggrooves 101. Theconductor bar 111 is located in the switchinggroove 101 and can rotate along the switchinggroove 101.
Specifically, as shown in fig. 1, in the present embodiment, the mountingportion 180 is a housing that extends in an arc shape and has a circumferential direction extending in the same direction as the circumferential direction of the switchingroller 120. The inner surface of the mantle is fitted to the outer circumferential surface of the switchingroller 120 and is attached to the switchingroller 120.
Referring to fig. 2, the plurality of switchinggrooves 101 are sequentially arranged along the axial direction on the inner surface, so that the first conductors can be respectively installed in the respective corresponding switchinggrooves 101, and the conductor bars 111 are respectively located in the respective corresponding switchinggrooves 101, so that the first conductors can be isolated from each other. When the switchingroller 120 rotates the conductor bars 111, the conductor bars 111 rotate along the respective corresponding switchinggrooves 101.
Because the inner surface of the housing is matched with the outer peripheral surface of the switchingroller 120 and is attached to the switchingroller 120, the switchinggrooves 101 are formed in the inner surface of the housing, and the first conductors and the conductor bars 111 are respectively positioned in the corresponding switchinggrooves 101, the first conductors and the conductor bars 111 can be sealed in the switchinggrooves 101, and the first conductors are isolated from each other, so that when the switchingroller 120 drives theconductor bar assembly 110 to rotate to be in contact with the first conductors, the arc can be prevented from overflowing from the housing, and an explosion-proof effect can be achieved.
Referring to fig. 3, in an embodiment, thewiring connection device 100 further includes elastic clip assemblies corresponding to the first conductors one by one, and the elastic clip assemblies are mounted on the mountingportion 180 and are used for being clipped to the conductor bars 111. Theconductor bar 111 can be electrically connected to the first conductor when it is engaged with the spring clip assembly. The spring clip assembly has aclip cavity 102 for receiving astub 111. The clampingcavity 102 has openings at both ends, and when the switchingroller 120 drives theconductor bar 111 to rotate, theconductor bar 111 can enter theclamping cavity 102 from theopening 103 at one end of theclamping cavity 102 and can leave theclamping cavity 102 from theopening 104 at the other end of theclamping cavity 102.
Referring to fig. 3, the elastic card assembly includes a firstelastic latch 191 and a secondelastic latch 192. The first and secondelastic snaps 191 and 192 may be respectively mounted to the mountingpart 180. The firstelastic latch 191 and the secondelastic latch 192 are oppositely arranged so as to enclose theclamping cavity 102.
When theconductor bar 111 rotates along with the switchingroller 120, theconductor bar 111 can enter theclamping cavity 102 from theopening 103 at one end of theclamping cavity 102, and at the moment, the firstelastic clamping piece 191 and the secondelastic clamping piece 192 can clamp theconductor bar 111, so that theconductor bar 111 is clamped with the elastic clamping piece, the position of theconductor bar 111 can be stable, and the conductor bar can be well connected with a first conductor. The switchingroller 120, which carries theconductor bar 111 to rotate, can overcome the clamping force of the firstelastic latch 191 and the secondelastic latch 192, so that theconductor bar 111 can leave theclamping cavity 102 from the other end opening 104 of theclamping cavity 102.
The first conductor may be disposed on the inner wall of theclamping cavity 102, i.e., the inner surfaces of the first and secondresilient latches 191 and 192, so that when theconductor bar 111 is clamped by the first and secondresilient latches 191 and 192, a good electrical connection can be maintained with the first conductor.
The firstelastic jaw 191 and the secondelastic jaw 192 may be made of elastic material to facilitate the clamping force of theconductor bar 111 and to easily overcome the clamping force of the firstelastic jaw 191 and the secondelastic jaw 192 when the switchingroller 120 continues to rotate theconductor bar 111. The first and secondresilient latches 191 and 192 may be made of, for example, a rubber material.
Of course, in other embodiments, thefirst spring catch 191 and thesecond spring catch 192 may be made of metal, in which case the first conductor includes thefirst spring catch 191 and thesecond spring catch 192, respectively. When theconductor bar 111 is clamped by the first and secondresilient latches 191 and 192, good electrical connection can be maintained with the first and secondresilient latches 191 and 192, that is, theconductor bar 111 is kept in good electrical connection with the first conductor.
Referring to fig. 1 and 4, in an embodiment, thewiring connecting device 100 further includes asensing contact 172 and a plurality ofsensing contacts 171. Thesensing contacts 171 are disposed on the switchingroller 120 and sequentially arranged along the circumferential direction of the switchingroller 120, and thesensing contacts 171 correspond to theconductor bar assemblies 110 one to one. When the switchingroller 120 rotates thesensing contact 171, any one of thesensing contacts 171 can be engaged with thesensing feeler 172. When the switchingroller 120 stops rotating, the selectedsensing contact 171 can trigger the switchingroller 120 to stop rotating when thesensing contact 172 is matched with thesensing contact 172, and when the switchingroller 120 stops rotating, theconductor bar assembly 110 corresponding to the selectedsensing contact 171 can be matched with the plurality of first conductors.
Specifically, thesensing contact 172 may be installed in theinstallation case 140 through the fixingbar 173, and thesensing contact 172 is disposed opposite to the outer circumferential surface of the switchingroller 120. As shown in fig. 1, in the present embodiment, the number of thesensing contacts 171 is three, and the first sensing contact, the second sensing contact and the third sensing contact are sequentially arranged in a clockwise direction in fig. 1. The threesensing contacts 171 correspond to the three sets ofconductor bar assemblies 110 one-to-one, the first sensing contact corresponding to the first set of conductor bars 111, the second sensing contact corresponding to the second set of conductor bars 111, and the third sensing contact corresponding to the third set of conductor bars 111. The threeinduction contacts 171 are disposed on the outer circumferential surface of the switchingroller 120 and are sequentially arranged along the circumferential direction of the switchingroller 120, so that theinduction contacts 171 can be driven to rotate when the switchingroller 120 rotates. By rotating the switchingroller 120 by different angles,different sensing contacts 171 can be engaged with thesensing feelers 172.
Specifically, as shown in fig. 1,different function switches 165 may be configured for thecontrol device 164, different wiring patterns may be set in thecontrol device 164, and the function switches 165 may correspond to the wiring patterns one to one. Since the connection pattern corresponds to theconductor bar elements 110 one by one, and theconductor bar elements 110 correspond to thesensing contacts 171 one by one, when acertain function switch 165 is pressed, the connection pattern corresponding to thefunction switch 165 can be selected in thecontrol device 164. When the connection mode corresponding to thefunction switch 165 is selected, theconductor bar assembly 110 corresponding to the connection mode and thesensing contact 171 corresponding to theconductor bar assembly 110 are selected.
For example, a certain wiring pattern of thewiring device 100 corresponds to the third group ofconductor bar assemblies 110 in which the third group ofconductor bar assemblies 110 mate with the plurality of first conductors. If theconnection device 100 needs to be set to the connection mode, thefunction switch 165 corresponding to the connection mode can be pressed. Since the wire connection mode corresponds to the thirdconductor bar assembly 110, and the thirdconductor bar assembly 110 corresponds to the third sensing contact, thecontrol device 164 controls thedriving mechanism 161 to drive the switchingroller 120 to rotate, so that the switchingroller 120 rotates until the third sensing contact is matched with thesensing contact 172. The third trigger signal can be generated when the third sensing contact is mated with thesensing contact 172. When thecontrol device 164 receives the third trigger signal, thecontrol device 161 stops driving the switchingroller 120, and when the switchingroller 120 stops rotating, the third groupconductor bar assembly 110 can cooperate with the plurality of first conductors, so as to accurately switch thewiring device 100 to the wiring mode corresponding to the third groupconductor bar assembly 110.
Similarly, if thewiring device 100 needs to be switched to another wiring mode, thefunction switch 165 corresponding to the other wiring mode is pressed, so that thecontrol device 164 can control the switchingroller 120 to drive thesensing contact 171 corresponding to the other wiring mode to be matched with thesensing contact 172. When thesensing contact 171 corresponding to the other wire connection mode is engaged with thesensing contact 172, thecontrol device 164 can be triggered to control the switchingroller 120 to stop moving. When the switchingroller 120 stops rotating, theconductor bar assembly 110 corresponding to the other connection mode is engaged with the first conductor, and thewiring device 100 can be accurately switched to the other connection mode.
It is understood that in other embodiments, the plurality of function switches 165 may not be provided, and different wiring modes may be selected in other manners, such as by way of display screen input.
In one embodiment, eachsensing contact 171 is connected to an output of thecontrol device 164, and thesensing contact 172 is connected to an input of thecontrol device 164. Different voltages can be output todifferent sensing contacts 171 through the cooperation of the additionally configured circuit and thecontrol device 164, and thesensing contacts 171 correspond to the voltages one by one, so that whendifferent sensing contacts 171 are matched with thesensing contacts 172, different voltage signals can be received by thecontrol device 164.
When afunction switch 165 is pressed, and a connection mode corresponding to thefunction switch 165 is selected, theconductor bar assembly 110 corresponding to the connection mode and thesensing contact 171 corresponding to theconductor bar assembly 110 are selected, that is, a voltage signal corresponding to thesensing contact 171 is selected.
When thecontrol device 164 controls the switchingroller 120 to rotate until thesensing contact 171 is matched with thesensing contact 172, thecontrol device 164 can receive a voltage signal corresponding to thesensing contact 171. When the voltage signal received by thecontrol device 164 matches the selected voltage signal, thecontrol device 164 can determine that the selectedsensing contact 171 is engaged with thesensing contact 172, so that thecontrol device 164 can timely control the switchingroller 120 to stop moving, so that theconductor bar assembly 110 corresponding to thesensing contact 171 can be engaged with the first conductor, and thewiring device 100 can be accurately switched to the wiring mode corresponding to theconductor bar assembly 110.
Referring to fig. 1 and 4, in an embodiment, thewiring connection device 100 further includes aspring 174. One end of thespring 174 is connected to the fixingrod 173, and the other end is connected to thesensing contact 172. When thesensing contact 171 is engaged with thesensing contact 172, the restoring force of thespring 174 is directed toward thesensing contact 171.
Specifically, when thesensing contact 171 is engaged with thesensing contact 172, the restoring force of thespring 174 is directed to thesensing contact 171, so that the restoring force of thespring 174 can make thesensing contact 171 abut against thesensing contact 172, and further make thesensing contact 171 and thesensing contact 172 maintain good electrical connection, which is beneficial to accurately triggering the switchingroller 120 to stop moving.
Referring to fig. 1, another embodiment of the present application further provides atesting apparatus 10. Thetest device 10 includes thewiring device 100 of any of the above embodiments and thetest instrument 11. Each of the conductor bars 111 is electrically connected to one end of a respective one of the second conductive lines. The other end of the second conductive line is electrically connected to thetest instrument 11, and the second conductive line corresponds to the terminals of thetest instrument 11 one by one.
Thetesting device 10 is used for inserting theplug 152 into the secondary terminal box when performing preventive test items on the capacitance-voltage transformer. When a certain test item needs to be performed, the switchingroller 120 can be rotated to drive the plurality of groups ofconductor bar assemblies 110 to rotate, so that theconductor bar assemblies 110 corresponding to the test item are matched with the plurality of first conductors, thewiring device 100 can be switched to the wiring mode corresponding to the test item, the secondary terminal box of the capacitor voltage transformer can be electrically connected with thetesting instrument 11, and the wiring mode is rapid, convenient and accurate to the corresponding wiring mode. Compare the mode of connection when carrying out the test project in traditional capacitance voltage transformer, usetesting arrangement 10 of this application, need not carry out a lot of and tear open the wiring to be difficult for causing the wiring mistake, and can use manpower sparingly and time. And only oneplug 152 is required to be inserted into the secondary terminal box, and excessive plugs do not need to be arranged.
The technical features of the above embodiments can be arbitrarily combined, and for the sake of brevity, all possible combinations of the technical features in the above embodiments are not described, but should be considered as the scope of the present specification as long as there is no contradiction between the combinations of the technical features.
The above-mentioned embodiments only express several embodiments of the present invention, and the description thereof is more specific and detailed, but not construed as limiting the scope of the present invention. It should be noted that, for a person skilled in the art, several variations and modifications can be made without departing from the inventive concept, which falls within the scope of the present invention. Therefore, the protection scope of the present patent shall be subject to the appended claims.

Claims (10)

1. A wiring device, comprising:
a conductor bar assembly;
the switching roller is provided with a plurality of groups of conductor bar assemblies which are arranged along the circumferential direction, and each group of conductor bar assemblies comprises a plurality of conductor bars which are sequentially arranged along the axial direction of the switching roller;
a plurality of first conductors which are arranged opposite to the outer peripheral surface of the switching roller and are sequentially arranged along the axial direction of the switching roller; when the switching roller rotates around the axis of the switching roller, any one of the conductor bar assemblies can be selectively matched with the first conductors; each conductor bar in the conductor bar assembly is electrically connected with the corresponding first conductor when the conductor bar assembly is matched with the first conductor;
the conductor bar, the switching roller and the first conductor are positioned in the installation box;
the first wire harness comprises a plurality of first wires, and one ends of the first wires are electrically connected with the first conductors and correspond to the first conductors one by one;
the plug comprises a plurality of contact pins, and the contact pins are electrically connected with the other end of the first lead and correspond to the other end of the first lead one by one; and
a second wire harness including a plurality of second wires; each conductor bar is electrically connected with the corresponding second lead respectively.
2. The wiring connecting device according to claim 1, further comprising a drive mechanism for driving the switching roller to rotate.
3. The wiring lug of claim 2, further comprising:
the speed reducing mechanism is driven by the driving mechanism and is used for driving the switching roller to rotate; and/or the presence of a gas in the gas,
and the control device is used for controlling the driving mechanism to drive the switching roller to rotate.
4. The wiring device according to claim 1, further comprising a mounting portion mounted to the mounting case, the mounting portion being disposed opposite to an outer peripheral surface of the switching roller, the plurality of first conductors being mounted to the mounting portion.
5. The wiring device according to claim 4, wherein the mounting portion has an inner surface and an outer surface disposed opposite to the inner surface, the inner surface being in contact with an outer peripheral surface of the switching roller;
the inner surface is provided with a plurality of switching grooves which are sequentially arranged along the axial direction of the switching roller; the extending direction of each switching groove is along the circumferential direction of the switching roller; the first conductors are arranged in the switching grooves and correspond to the switching grooves one by one; the conductor bars are positioned in the corresponding switching grooves and can rotate along the switching grooves.
6. The wiring device according to claim 4, further comprising elastic clamping assemblies in one-to-one correspondence with the first conductors, the elastic clamping assemblies being mounted to the mounting portion and adapted to be clamped to the conductor bars; the conductor bar can be electrically connected with the first conductor when being clamped with the elastic clamping component;
the elastic clamping assembly is provided with a clamping cavity for accommodating the conductor bar; the both ends in joint chamber have the opening respectively, the switching roller drives when the conductor stick rotates, the conductor stick can be followed the one end opening in joint chamber gets into the joint chamber, and can follow the other end opening in joint chamber leaves the joint chamber.
7. The wiring lug of claim 6,
the elastic card component is made of elastic materials; or;
the elastic card component is made of metal materials, and the first conductor is the elastic card component.
8. The wiring lug of claim 1, further comprising:
the induction contacts are arranged on the switching roller and are sequentially distributed along the circumferential direction of the switching roller, and the induction contacts correspond to the conductor bar assemblies one by one; and
the switching roller drives the plurality of induction contacts to rotate, and any one of the plurality of induction contacts can be matched with the induction contact; when the selected induction contact is matched with the induction contact, the switching roller can be triggered to stop rotating, and when the switching roller stops rotating, the conductor bar assembly corresponding to the selected induction contact can be matched with the first conductors.
9. The wiring lug of claim 8, further comprising a retaining bar and a spring, the spring having one end connected to the retaining bar and the other end connected to the inductive contact; when the induction contact is matched with the induction contact, the restoring force of the spring faces the induction contact.
10. A test apparatus comprising the wiring device according to any one of claims 1 to 9 and a test instrument; each conductor bar is electrically connected with one end of the corresponding second lead respectively; the other end of the second conducting wire is electrically connected with the test instrument, and the second conducting wire corresponds to the wiring end of the test instrument one to one.
CN202011337967.0A2020-11-252020-11-25Wiring device and testing deviceActiveCN112710873B (en)

Priority Applications (1)

Application NumberPriority DateFiling DateTitle
CN202011337967.0ACN112710873B (en)2020-11-252020-11-25Wiring device and testing device

Applications Claiming Priority (1)

Application NumberPriority DateFiling DateTitle
CN202011337967.0ACN112710873B (en)2020-11-252020-11-25Wiring device and testing device

Publications (2)

Publication NumberPublication Date
CN112710873Atrue CN112710873A (en)2021-04-27
CN112710873B CN112710873B (en)2023-03-03

Family

ID=75542380

Family Applications (1)

Application NumberTitlePriority DateFiling Date
CN202011337967.0AActiveCN112710873B (en)2020-11-252020-11-25Wiring device and testing device

Country Status (1)

CountryLink
CN (1)CN112710873B (en)

Cited By (2)

* Cited by examiner, † Cited by third party
Publication numberPriority datePublication dateAssigneeTitle
CN115173109A (en)*2022-08-232022-10-11北京精仪达盛科技有限公司Wiring device and weak current experiment remote wiring system
CN116908499A (en)*2023-09-112023-10-20山西天禄电力工程有限公司Junction device for electric power intelligent test

Citations (8)

* Cited by examiner, † Cited by third party
Publication numberPriority datePublication dateAssigneeTitle
CN203054011U (en)*2012-12-092013-07-10国家电网公司Wiring switch device for transformer winding deformation test
CN203849316U (en)*2014-05-272014-09-24国家电网公司Multifunctional current signal sampling box used for relative dielectric loss and capacitance ratio measurement
CN106226564A (en)*2016-08-162016-12-14国家电网公司High voltage capacitive-type voltage transformer without disconnecting power lead method routine test interconnecting device
CN106706970A (en)*2017-01-162017-05-24国家电网公司Transformer direct-current resistance test connection switching box
CN206209037U (en)*2016-11-302017-05-31山东久久星新能源车辆科技有限公司Electrical appliance kit detection means
CN111398644A (en)*2020-03-312020-07-10贵州电网有限责任公司Mutual inductor handover test switching device and switching method thereof
CN211505705U (en)*2019-12-182020-09-15中国长江电力股份有限公司CVT (continuously variable transmission) multi-item dielectric loss test system
US20200309840A1 (en)*2019-04-012020-10-01Dake HeError Detection Wiring Circuit and Switching Device for Instrument Transformers in Distribution Power Grid

Patent Citations (8)

* Cited by examiner, † Cited by third party
Publication numberPriority datePublication dateAssigneeTitle
CN203054011U (en)*2012-12-092013-07-10国家电网公司Wiring switch device for transformer winding deformation test
CN203849316U (en)*2014-05-272014-09-24国家电网公司Multifunctional current signal sampling box used for relative dielectric loss and capacitance ratio measurement
CN106226564A (en)*2016-08-162016-12-14国家电网公司High voltage capacitive-type voltage transformer without disconnecting power lead method routine test interconnecting device
CN206209037U (en)*2016-11-302017-05-31山东久久星新能源车辆科技有限公司Electrical appliance kit detection means
CN106706970A (en)*2017-01-162017-05-24国家电网公司Transformer direct-current resistance test connection switching box
US20200309840A1 (en)*2019-04-012020-10-01Dake HeError Detection Wiring Circuit and Switching Device for Instrument Transformers in Distribution Power Grid
CN211505705U (en)*2019-12-182020-09-15中国长江电力股份有限公司CVT (continuously variable transmission) multi-item dielectric loss test system
CN111398644A (en)*2020-03-312020-07-10贵州电网有限责任公司Mutual inductor handover test switching device and switching method thereof

Cited By (3)

* Cited by examiner, † Cited by third party
Publication numberPriority datePublication dateAssigneeTitle
CN115173109A (en)*2022-08-232022-10-11北京精仪达盛科技有限公司Wiring device and weak current experiment remote wiring system
CN116908499A (en)*2023-09-112023-10-20山西天禄电力工程有限公司Junction device for electric power intelligent test
CN116908499B (en)*2023-09-112023-12-05山西天禄电力工程有限公司Junction device for electric power intelligent test

Also Published As

Publication numberPublication date
CN112710873B (en)2023-03-03

Similar Documents

PublicationPublication DateTitle
TWI328684B (en)Differential measurement probe having retractable double cushioned variable spacing probing tips and providing eos/esd protection
US4924179A (en)Method and apparatus for testing electronic devices
CN112710873A (en) Wiring device and test device
US3996514A (en)Circuit board contact resistance probe
US3601699A (en)Lead separator and mounting socket for microminiature devices
US11428754B2 (en)Connector inspection instrument, connector set
JPH0115828B2 (en)
CN211603378U (en)Vehicle insulation resistance detection device
CN113640694A (en) Ripple and noise test probe and test device
CA1098984A (en)Low-profile test clip adapter
CN110907776A (en)Contact detection method for voltage withstand test probe of transformer
US12203969B2 (en)Electrostatic withstand voltage test device and electrostatic withstand voltage test method
CN114487921A (en) A terminal voltage detection device and a terminal fault detection method
CN215542896U (en)Motor torque detection device and motor torque detection machine
CN113495172B (en)Detection device, test seat, circuit structure, test device and terminal
CN207424157U (en)The centralizer internal wiring testing cassete of directional tool
US2233646A (en)Interconnectible portable indicating instruments
CN210155230U (en)Explosion-proof plug safety electricity testing device
CN114325345B (en)Burn-in machine and interface board for burn-in machine
JPH0815384A (en) Board inspection equipment
JP5207828B2 (en) Adapter for measuring device
CN116087601B (en)Accessory removably received by measuring equipment and testing system
CN220797352U (en)Connection adapter for troubleshooting of fire-wire electrical test of cargo hold of fuselage
CN219935917U (en)Testing arrangement of functional test detection tool
CN217954614U (en)Direct-insertion type electrification detection device

Legal Events

DateCodeTitleDescription
PB01Publication
PB01Publication
SE01Entry into force of request for substantive examination
SE01Entry into force of request for substantive examination
GR01Patent grant
GR01Patent grant

[8]ページ先頭

©2009-2025 Movatter.jp