Movatterモバイル変換


[0]ホーム

URL:


CN112693376A - Back and seat comprising flexible and rigid energy absorbing means, and vehicle seat - Google Patents

Back and seat comprising flexible and rigid energy absorbing means, and vehicle seat
Download PDF

Info

Publication number
CN112693376A
CN112693376ACN201911004632.4ACN201911004632ACN112693376ACN 112693376 ACN112693376 ACN 112693376ACN 201911004632 ACN201911004632 ACN 201911004632ACN 112693376 ACN112693376 ACN 112693376A
Authority
CN
China
Prior art keywords
seat
energy
vehicle seat
absorbing
air
Prior art date
Legal status (The legal status is an assumption and is not a legal conclusion. Google has not performed a legal analysis and makes no representation as to the accuracy of the status listed.)
Pending
Application number
CN201911004632.4A
Other languages
Chinese (zh)
Inventor
缪伟民
陆雁
郑安俊
孙福明
Current Assignee (The listed assignees may be inaccurate. Google has not performed a legal analysis and makes no representation or warranty as to the accuracy of the list.)
Shanghai Volvo Automobile Research And Development Co ltd
Original Assignee
Shanghai Volvo Automobile Research And Development Co ltd
Priority date (The priority date is an assumption and is not a legal conclusion. Google has not performed a legal analysis and makes no representation as to the accuracy of the date listed.)
Filing date
Publication date
Application filed by Shanghai Volvo Automobile Research And Development Co ltdfiledCriticalShanghai Volvo Automobile Research And Development Co ltd
Priority to CN201911004632.4ApriorityCriticalpatent/CN112693376A/en
Publication of CN112693376ApublicationCriticalpatent/CN112693376A/en
Pendinglegal-statusCriticalCurrent

Links

Images

Classifications

Landscapes

Abstract

Translated fromChinese

本申请提供了一种车辆座椅的椅背,其具有朝向乘坐在车辆座椅上的乘客的内侧和在纵向方向上与内侧相反的外侧,并且包括:限定出内部空间的外包覆层;被容置于所述内部空间内的至少一个柔性吸能装置;和至少一个刚性吸能装置,所述柔性吸能装置中的至少一个柔性吸能装置位于所述刚性吸能装置与乘客的后背之间,其中,所述柔性吸能装置是填充有气体的气囊,所述刚性吸能装置包括至少两个板件以及设置与相邻的板件之间的弹性元件。本申请还涉及包括上述柔性吸能装置的座部和头枕,以及包括上述椅背的车辆座椅。

Figure 201911004632

The present application provides a seat back of a vehicle seat having an inner side facing a passenger sitting on the vehicle seat and an outer side opposite to the inner side in the longitudinal direction, and comprising: an outer cladding defining an interior space; at least one flexible energy absorbing device accommodated in the interior space; and at least one rigid energy absorbing device, at least one of the flexible energy absorbing devices is located behind the rigid energy absorbing device and the passenger between the backs, wherein the flexible energy-absorbing device is an airbag filled with gas, and the rigid energy-absorbing device comprises at least two plate parts and an elastic element disposed between the adjacent plate parts. The present application also relates to a seat and a headrest comprising the above-mentioned flexible energy absorbing device, and a vehicle seat comprising the above-mentioned seat back.

Figure 201911004632

Description

Back and seat comprising flexible and rigid energy absorbing means, and vehicle seat
Technical Field
The present application relates to the field of vehicles, and in particular to a seat back and seat portion comprising a flexible energy absorbing device, and a vehicle seat comprising such a seat back and seat portion.
Background
Vehicles may experience a variety of collisions that may cause injury to the driver and passengers seated within the vehicle. In order to protect the personal safety of the driver and the passengers under these circumstances, various energy-absorbing buffer structures have been designed, for example, passive safety technologies such as a vehicle airbag, a seat belt on a vehicle seat, an energy-absorbing vehicle body, a collapsible steering column, etc., active safety technologies such as an automatic braking system, an advanced driving assistance system, etc.
None of these techniques is sufficient to adequately protect the driver or passenger in a collision.
Disclosure of Invention
The object of the present application is to provide a new vehicle seat comprising a flexible energy absorbing device and a stiff energy absorbing device. In particular, the seat back, seat part and/or headrest of the vehicle seat may be provided with a gas-filled airbag.
A first aspect of the present application provides a seat back of a vehicle seat, which has an inner side facing a passenger seated on the vehicle seat and an outer side opposite to the inner side in a longitudinal direction, and which includes: an outer cladding defining an interior space; at least one flexible energy absorber housed within the interior space; and at least one energy-absorbing device, wherein at least one of the energy-absorbing devices is positioned between the energy-absorbing device and the back of the passenger, the energy-absorbing device is an air bag filled with gas, and the energy-absorbing device comprises at least two plates and an elastic element arranged between the adjacent plates.
In one embodiment, the gas is nitrogen.
In one embodiment, the balloon body forming the balloon is an elastic or inelastic material.
In one embodiment, the air bladder includes an air inlet.
In one embodiment, the bladder includes a gas valve configured to automatically open to release the internal gas when the bladder internal pressure reaches a predetermined pressure value, or the bladder itself is configured to rupture to release the internal gas when the bladder internal pressure reaches a predetermined pressure value.
In one embodiment, the at least one balloon comprises a single balloon.
In one embodiment, the at least one airbag comprises a plurality of airbags arranged side by side along the longitudinal direction and/or a plurality of airbags arranged along a seat back extension plane perpendicular to the longitudinal direction.
In one embodiment, adjacent air bags are locally adhesively secured.
In one embodiment, at least one of the at least one energy-stiffening device, up to all of the energy-stiffening device, is housed within the interior space.
In one embodiment, the resilient element is at least one of a spring, a block of resilient material, a sponge.
In one embodiment, the resilient element is secured to at least one adjacent panel.
In one embodiment, the elastic member is one, two, three, four or more cylindrical springs uniformly arranged between adjacent plates.
In one embodiment, the outer cover is a layer of fabric material.
In one embodiment, the seat back further comprises an outermost energy-absorbing compliant device outboard of the at least one energy-absorbing compliant device.
A second aspect of the application provides a seat part of a vehicle seat comprising an outer covering defining an interior space, and at least one flexible energy-absorbing device housed within the interior space, wherein the flexible energy-absorbing device is a device comprising an airbag filled with a gas.
In one embodiment, the seat further comprises at least one energy-stiffening device comprising at least two plates and an elastic element arranged between adjacent plates.
A third aspect of the present application provides a headrest for a vehicle seat comprising an outer cover defining an interior space, and at least one energy-compliant device housed within the interior space, wherein the energy-compliant device is a headrest comprising an air bag filled with a gas.
A fourth aspect of the present application provides a vehicle seat comprising a seat back according to the above.
In one embodiment, the vehicle seat further comprises a seat part according to the above.
In one embodiment the vehicle seat further comprises a headrest as described above, said head being removably or non-removably attached to said seat back.
In one embodiment, the inside of the seat back of the vehicle seat faces in a forward direction or an opposite rearward direction of vehicle travel.
According to the vehicle seat, the seat back comprises a flexible energy-absorbing device in the form of an air bag and a rigid energy-absorbing device in the form of an elastic element clamped by a metal material plate, and the metal material plate in the rigid energy-absorbing device provides rigid support for the seat back and a seated passenger (a driver or a passenger); the elastic element and the air bag in the rigid energy absorption device provide at least two functions of buffering and energy absorption when the vehicle is in severe collision, and provide good comfort for passengers in the normal running process or the light bumping process of the vehicle.
Drawings
The above and other features and advantages of the present application will be more fully understood from the following detailed description of the embodiments taken in conjunction with the accompanying drawings.
FIG. 1 is a schematic, diagrammatic illustration of an exemplary embodiment of a vehicle seat according to the present application;
FIG. 2 is a schematic, diagrammatic illustration of another exemplary embodiment of a vehicle seat according to the present application;
FIG. 3 is a schematic, diagrammatic illustration of yet another exemplary embodiment of a vehicle seat according to the present application;
FIG. 4 is a schematic, diagrammatic illustration of yet another exemplary embodiment of a vehicle seat according to the present application.
Detailed Description
The invention will be described in further detail below with reference to exemplary embodiments shown in the drawings. It is to be understood that the specific embodiments described herein are merely illustrative of the principles of the invention and do not limit the scope of the invention. Throughout the various embodiments of the present application, the same or corresponding reference numerals are used to designate components that are identical or similar in structure or function.
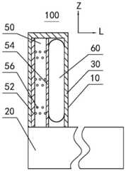
FIG. 1 is a schematic, diagrammatic view of an exemplary embodiment of avehicle seat 100 according to the present application. Theseat 100 generally includes a seat back 10 and aseat portion 20. Alternatively, thevehicle seat 100 of the present application may further include a headrest that is detachably or non-detachably mounted to the seat back 10.
As shown in fig. 1, both theseatback 10 and theseat 20 have a substantially rectangular shape. Thebackrest 10 extends substantially along a vertical plane defined by a vertical direction Z and a transverse direction (a direction perpendicular to the page of the drawing), theseat 20 extends substantially along a horizontal plane defined by a longitudinal direction L and a transverse direction, thebackrest 10 being in a substantially vertical position with respect to theseat 20 and extending substantially perpendicular to theseat 20. In this position, theseat 20 extends in the longitudinal direction from the bottom end of the seat back 10.
Theseatback 10 of theseat 100 is movable between the upright position of fig. 1 and a tilted position in which theseatback 10 is tilted counterclockwise from the upright position of fig. 1 to an obtuse angle with theseat portion 20 so that a passenger may lie diagonally on theseat 100. Likewise, the present application is also applicable to the case where theseat back 10 is non-adjustably connected to theseat portion 20.
Theseat back 10 is constructed to include at least one energy-stiffening device 50 and at least one flexible or resilient energy-absorbingdevice 60, and anouter cover 30 covering the energy-stiffening device 50 and the flexible energy-absorbingdevice 60 therein and in direct contact with the back of the occupant, the flexible energy-absorbingdevice 60 being located between the energy-stiffening device 50 and the back of the occupant (not shown). In this application, inboard refers to the side of the seat component facing the occupant and the side facing away from the occupant is referred to as the outboard side, e.g., in FIG. 1, the energy-compliant device 60 of theseat back 10 is located inboard of the energy-compliant device 50 and the energy-compliant device 50 is located outboard of the energy-compliant device 60.
Theouter cover 30 of theseat back 10 may be made of any suitable material, such as fabric, leather, etc., for covering the covering energy-stiffening and energy-flexing means 50, 60 and providing a fine, soft appearance. Alternatively, theouter cladding 30 may cover only one of the energy-stiffening means 50 and the energy-flexing means 60 for other considerations.
The flexible energy absorbing means of theseat back 10 may be configured as an air bag filled with gas therein. Since the rubber material has good elasticity, aging resistance, abrasion resistance and sealing property, the air bag body of the air bag can be formed using the rubber material. Of course, the balloon body may also be formed from any other suitable elastic or inelastic material. The gas filled in the air bag body can be nitrogen, and the nitrogen can play a role in bursting and flame retarding at higher temperature. Any other suitable gas other than nitrogen may be used to fill the bladder. Except that the vehicle can play the effect of buffering, energy-absorbing to the passenger who takes when bumping, the in-process passenger that normally traveles at the vehicle leans against the gasbag and takes, and comfort level and compliance all obtain promoting.
In one embodiment, the airbag may extend the entire extension of the seat back in the longitudinal direction L and in the transverse direction. The energy-absorbingdevice 60 can then comprise a single airbag (fig. 1 and 2), or a plurality of airbags arranged side by side in the longitudinal direction (fig. 3). The plurality of air cells may simply be stacked in the longitudinal direction without being attached and fixed to each other, only by fixing their positions within theseat back 10 with theouter cover 30 of the seat back. Alternatively, two adjacent air bags of the plurality of air bags arranged in the longitudinal direction may be bonded at one or more point locations or areas where they contact to help secure the position between the air bags.
In one embodiment, the air bag may have a size less than the entire extension of the seat back. In this case, the seat back 10 may include a plurality of airbags arranged side by side in the longitudinal direction L and/or in the lateral direction to provide a sufficient contact area for the back of the passenger. Similarly, the different air bags may be secured to each other by means of a partial adhesive bond, or alternatively, the position of each air bag may be fixed relative to each other by providing a spacer between adjacent air bags. Alternatively, the seat back 10 may include only a single air bag, for example, which is disposed at the weakest portion of the passenger's back, serving to protect the important body portion of the passenger.
The airbag as a flexible energy-absorbing device may be provided with an inlet for filling gas. Optionally, the airbag further comprises a gas valve configured to protect an occupant by automatically opening to discharge gas inside the airbag when the gas pressure inside the airbag rises to a predetermined pressure upon a vehicle collision. For example, the gas inlet and the gas valve may be the same gas port, or alternatively, they may be provided separately. Further alternatively, the airbag may not be provided with the above-described gas valve, and the airbag itself is configured to rupture to discharge the gas inside the airbag when the internal gas pressure of the airbag reaches a predetermined pressure.
During the running of the vehicle, the back of the passenger contacts the inflated air bag, and the air bag filled with the air provides comfort and buffering for the passenger through the flowing of the air and the deformation of the air bag body when the vehicle bumps, swings or lightly impacts. When a vehicle is impacted to a greater extent, the airbag is pressed by the back of a passenger to deform, so that the internal air pressure of the airbag is increased, and the larger the energy is in the process of collision, the larger the deformation of the airbag is, and the larger the air pressure in the airbag is. When the impact energy and strength are not enough to enable the internal air pressure to reach the preset pressure, the air bag can achieve the purpose of absorbing energy by means of self deformation and internal air pressure rise, and the impact force received by passengers is reduced; when the impact energy and strength are enough to make the internal air pressure reach the preset pressure, the air bag is broken or the air valve is opened, thus achieving the purpose of protecting passengers.
On the outer side of the energy-absorbingcompliance device 60 facing away from the occupant, the energy-absorbingstiffness device 50 of thevehicle seat 100 comprises afirst plate 52 and asecond plate 54 and anelastic element 56 arranged between thefirst plate 52 and thesecond plate 54. Theresilient element 56 may comprise at least one of a spring, a block of resilient material, a sponge, or the like. Theplates 52 and 54 are made of a metal material, and thus the energy-stiffeningdevice 50 of the vehicle seat provides a stiffening effect to the seat back 10 and the seated occupant.
For example, in the embodiment of fig. 1, theresilient element 56 is provided as a cylindrical spring. The cylindrical spring may be configured to be sandwiched between the first andsecond plates 52, 54 or fixedly attached to at least one of the first andsecond plates 52, 54 in any manner known in the art, including, but not limited to, welding, bonding, and the like. At least one, for example a plurality of cylindrical springs may be disposed between thefirst plate 52 and thesecond plate 54. One, two, three, four, five or more cylindrical springs are uniformly disposed between thefirst plate 52 and thesecond plate 54 as needed. The spring is not limited to the illustrated cylindrical spring, and a conical spring or the like may be used.
In the embodiment of FIG. 1, energy-stiffeningdevice 50 includes only twoplates 52 and 54 and aresilient member 56 therebetween, but one skilled in the art will appreciate that energy-stiffeningdevice 50 may include any number of plates and aresilient member 56, such as the spring of FIG. 1, may be disposed between any adjacent plates. Fig. 2 shows an exemplary case including three plate members.
In the variant embodiment of fig. 3, a plurality of energy-absorbingcompliant devices 60 in the form of airbags and a plurality of energy-absorbingstiff devices 50 comprising two plates are arranged spaced apart.
The seat back 10 according to the present application, including the above-described energy-absorbingcompliant device 60 in the form of an air bag, provides increased comfort to the occupant's back through the flow of air within the air bag during normal vehicle operation or during minor bumps. The impact energy buffering and absorbing effects are improved to various degrees to protect the safety of the passenger by the flow of gas in the airbag and the deformation of the airbag, the increase of the gas pressure, and the opening of the gas valve when the gas in the airbag reaches a predetermined pressure or by the rupture of the airbag to release the gas in the event of a collision accident of the vehicle.
In the variant embodiment of fig. 4, the energy-stiffening means 50 comprising two plates is arranged between two energy-flexing means 60 in the form of airbags. The seat back 10 further includes the energy-absorbingcompliant device 60 at the outermost side thereof in addition to the innermost energy-absorbingcompliant device 60 providing the technical advantages as described above, and this structure is advantageous in that, when this seat back 10 is used in a front or middle row seat, the outermost energy-absorbingcompliant device 60 can provide sufficient protection to an occupant when the occupant seated in a seat behind this seat back 10 hits the seat back 10 in the event of a severe front-side collision of the vehicle.
According to the principles of the present application, theseat portion 20 of thevehicle seat 100 may also be designed to include the above-described airbag structure, and the flow of air inside the airbag during vehicle travel can improve the comfort of the occupant. Further, alternatively, theseat portion 20 may be designed to include the above-described energy-absorbing rigidity structure, which can reduce the discomfort of the passenger when the vehicle bumps.
Also, in the case where thevehicle seat 100 includes a headrest, the headrest may be designed to include the above-described airbag structure, and the flow of the gas inside the airbag of the headrest can provide comfortable support for the head of the seated occupant.
Thevehicle seat 100 of the present application is particularly suitable for automobiles running on land, and can protect the personal safety of passengers to the maximum extent when a traffic accident occurs in the vehicle. Similarly, other types of vehicles, such as ships or airplanes, may be equipped with this type of seat.
Thevehicle seat 100 may be a conventional forward seat in which the occupant faces forward in the vehicle traveling direction when seated, and this configuration is particularly advantageous in the event of a rear-end collision of the vehicle. The rear-end collision causes the vehicle to fly forward at a high acceleration and the passenger's back to press against the seat back 10. Thevehicle seat 100 may also be a rearward seat facing in the opposite direction, in which case this construction is also particularly advantageous, since a considerable part of a vehicle accident occurs in the head of the vehicle. In the event of a frontal collision of the vehicle, the vehicle has a considerable deceleration, and the design of the rear seat enables the passenger to lean backward, rather than being planted forward so as to collide with and injure critical parts of the front of the passenger including the face, chest, legs, etc., and to bear the deceleration caused by the vehicle collision with a large area of the back, waist and head, even entirely, against or even strike the seat back or headrest including the above-described rigid and flexible energy absorbing devices, more safely than in the case of a conventional frontal seating. The panels of metal material in the seat back 10 provide sufficient rigid support and the gas filled bladders, the spring elements between the panels, provide sufficient cushioning and energy absorption.
The preferred embodiments of the present application are described above with reference to the accompanying drawings. It will be understood by those skilled in the art that various modifications and substitutions can be made to the embodiments disclosed in the present application without departing from the scope of protection defined by the appended claims, and that such modifications and substitutions are to be considered as falling within the scope of protection of the present application.

Claims (21)

1. A seatback of a vehicle seat, having an inner side facing a passenger seated on the vehicle seat and an outer side opposite to the inner side in a longitudinal direction, and comprising: an outer cladding defining an interior space; at least one flexible energy absorber housed within the interior space; and at least one energy-absorbing stiff device, at least one of the energy-absorbing flexible devices being located between the energy-absorbing stiff device and the back of the passenger,
the flexible energy absorbing device is an air bag filled with gas, and the rigid energy absorbing device comprises at least two plates and elastic elements arranged between the adjacent plates.
2. The chair back of claim 1, wherein the gas is nitrogen.
3. The chair back of claim 2, wherein the bladder forming the air bladder is an elastic material or a non-elastic material.
4. The chair back of claim 3, wherein the air bladder includes an air inlet.
5. The seat back of claim 4, wherein the air bag includes a gas valve configured to automatically open to release the internal gas when the air bag internal pressure reaches a predetermined pressure value, or the air bag itself is configured to rupture to release the internal gas when the air bag internal pressure reaches a predetermined pressure value.
6. The chair back of any of claims 1-5, wherein the at least one air bladder comprises a single air bladder.
7. A seat back according to any of claims 1-5, wherein the at least one air bag includes a plurality of air bags arranged side-by-side along the longitudinal direction and/or a plurality of air bags arranged along a seat back extension plane perpendicular to the longitudinal direction.
8. The chair back of claim 7, wherein adjacent air cells are partially adhesively secured therebetween.
9. The seat back of any of claims 1-8, wherein at least one of the at least one energy-stiffening device, up to all of the energy-stiffening device, is housed within the interior space.
10. The chair back of any of claims 1-9, wherein the resilient element is at least one of a spring, a block of resilient material, a sponge.
11. The chair back of any of claims 1-10, wherein the resilient element is secured to at least one adjacent plate.
12. The chair back of any of claims 1-11, wherein the resilient element is one, two, three, four, or more cylindrical springs evenly disposed between adjacent plates.
13. The chair back of any of claims 1-12, wherein the outer cover is a layer of fabric material.
14. The chair back of any of claims 1-13, further comprising an outermost energy-absorbing compliant device located outboard of the at least one energy-absorbing compliant device.
15. A seat portion of a vehicle seat comprising an outer cladding defining an interior space, and at least one compliant energy absorbing device housed within the interior space, wherein the compliant energy absorbing device is a device comprising an air bag filled with a gas.
16. The seat of claim 15, wherein the seat further comprises at least one energy-stiffening device comprising at least two plates and an elastic element disposed between adjacent plates.
17. A headrest for a vehicle seat comprising an outer cover defining an interior space, and at least one energy-compliant device housed within the interior space, wherein the energy-compliant device is a headrest comprising an air-bag filled with a gas.
18. A vehicle seat comprising a seat back according to any one of claims 1 to 14.
19. A vehicle seat according to claim 18, further comprising a seat portion according to claim 15 or 16.
20. A vehicle seat as claimed in claim 18 or 19, further comprising a headrest according to claim 17, the head being removably or non-removably attached to the seat back.
21. A vehicle seat as claimed in any of claims 18 to 20, wherein an inner side of a seat back of the vehicle seat is directed in a forward direction or an opposite rearward direction of vehicle travel.
CN201911004632.4A2019-10-222019-10-22Back and seat comprising flexible and rigid energy absorbing means, and vehicle seatPendingCN112693376A (en)

Priority Applications (1)

Application NumberPriority DateFiling DateTitle
CN201911004632.4ACN112693376A (en)2019-10-222019-10-22Back and seat comprising flexible and rigid energy absorbing means, and vehicle seat

Applications Claiming Priority (1)

Application NumberPriority DateFiling DateTitle
CN201911004632.4ACN112693376A (en)2019-10-222019-10-22Back and seat comprising flexible and rigid energy absorbing means, and vehicle seat

Publications (1)

Publication NumberPublication Date
CN112693376Atrue CN112693376A (en)2021-04-23

Family

ID=75504689

Family Applications (1)

Application NumberTitlePriority DateFiling Date
CN201911004632.4APendingCN112693376A (en)2019-10-222019-10-22Back and seat comprising flexible and rigid energy absorbing means, and vehicle seat

Country Status (1)

CountryLink
CN (1)CN112693376A (en)

Citations (7)

* Cited by examiner, † Cited by third party
Publication numberPriority datePublication dateAssigneeTitle
US5769489A (en)*1997-05-091998-06-23Dellanno; Ronald P.Energy absorbing support for vehicular passengers
GB9815057D0 (en)*1998-07-101998-09-09Res OrganisationImprovements in or relating to a vehicle seat
US20050264052A1 (en)*2004-05-272005-12-01Dellanno Ronald PEnergy absorbing support for vehicular passengers
CN103112425A (en)*2011-11-162013-05-22李尔公司Vehicle seat assembly with inboard side air bag
CN106004602A (en)*2015-03-312016-10-12福特全球技术公司Multilayer seat
CN106864318A (en)*2017-01-122017-06-20江苏百佳斯特汽车制品有限公司A kind of children's seat is buffered with anticollision and rested the head on
CN210760354U (en)*2019-10-222020-06-16上海沃尔沃汽车研发有限公司Seat back, seat and headrest with flexible and rigid energy absorption device, and vehicle seat

Patent Citations (7)

* Cited by examiner, † Cited by third party
Publication numberPriority datePublication dateAssigneeTitle
US5769489A (en)*1997-05-091998-06-23Dellanno; Ronald P.Energy absorbing support for vehicular passengers
GB9815057D0 (en)*1998-07-101998-09-09Res OrganisationImprovements in or relating to a vehicle seat
US20050264052A1 (en)*2004-05-272005-12-01Dellanno Ronald PEnergy absorbing support for vehicular passengers
CN103112425A (en)*2011-11-162013-05-22李尔公司Vehicle seat assembly with inboard side air bag
CN106004602A (en)*2015-03-312016-10-12福特全球技术公司Multilayer seat
CN106864318A (en)*2017-01-122017-06-20江苏百佳斯特汽车制品有限公司A kind of children's seat is buffered with anticollision and rested the head on
CN210760354U (en)*2019-10-222020-06-16上海沃尔沃汽车研发有限公司Seat back, seat and headrest with flexible and rigid energy absorption device, and vehicle seat

Similar Documents

PublicationPublication DateTitle
CN107107792B (en)Airbag module
US8505965B2 (en)Vehicle occupant safety system with energy-absorbing elements, and method of operating same
US9707922B2 (en)Airbag module
US7850234B2 (en)Energy-dissipation system
CN107406052B (en)Airbag device
JP7143684B2 (en) vehicle seat
EP0788933A2 (en)Partitioned multi-cell air bag
US10974681B2 (en)Vehicle occupant restraint system
US7959223B2 (en)Energy-dissipation system
AU2008335137A1 (en)Child restraint apparatus for vehicle
US11192475B2 (en)Rear-facing occupant protection device
CN210760354U (en)Seat back, seat and headrest with flexible and rigid energy absorption device, and vehicle seat
JP2001239872A (en)Occupant crash protection device
CN107985143A (en)A kind of child safety seat
US6824211B2 (en)Head restraint and method of making and using same
US20190106027A1 (en)Device for reduction of vertical peak acceleration
JP2007001362A (en)Airbag device
US11858448B2 (en)Airbag device and vehicle seat
CN208134148U (en)A kind of child safety seat
US20230008770A1 (en)Occupant protection device for a vehicle
CN112693376A (en)Back and seat comprising flexible and rigid energy absorbing means, and vehicle seat
KR20160002102A (en)Airbag of Vehicle
US11472364B2 (en)Vehicle seat
CN115923621A (en)Occupant safety system capable of adapting to different collision directions and preparation method thereof
KR200141716Y1 (en)Headrest of a seat in a car

Legal Events

DateCodeTitleDescription
PB01Publication
PB01Publication
SE01Entry into force of request for substantive examination
SE01Entry into force of request for substantive examination

[8]ページ先頭

©2009-2025 Movatter.jp