Movatterモバイル変換


[0]ホーム

URL:


CN112687171A - Multi-functional lung clamping and supporting equipment - Google Patents

Multi-functional lung clamping and supporting equipment
Download PDF

Info

Publication number
CN112687171A
CN112687171ACN202011503736.2ACN202011503736ACN112687171ACN 112687171 ACN112687171 ACN 112687171ACN 202011503736 ACN202011503736 ACN 202011503736ACN 112687171 ACN112687171 ACN 112687171A
Authority
CN
China
Prior art keywords
lung
clamping
organ
upper shell
lung organ
Prior art date
Legal status (The legal status is an assumption and is not a legal conclusion. Google has not performed a legal analysis and makes no representation as to the accuracy of the status listed.)
Granted
Application number
CN202011503736.2A
Other languages
Chinese (zh)
Other versions
CN112687171B (en
Inventor
江伟
徐宏
Current Assignee (The listed assignees may be inaccurate. Google has not performed a legal analysis and makes no representation or warranty as to the accuracy of the list.)
Hangzhou Kunbo Biotechnology Co Ltd
Original Assignee
Hangzhou Kunbo Biotechnology Co Ltd
Priority date (The priority date is an assumption and is not a legal conclusion. Google has not performed a legal analysis and makes no representation as to the accuracy of the date listed.)
Filing date
Publication date
Application filed by Hangzhou Kunbo Biotechnology Co LtdfiledCriticalHangzhou Kunbo Biotechnology Co Ltd
Priority to CN202011503736.2ApriorityCriticalpatent/CN112687171B/en
Publication of CN112687171ApublicationCriticalpatent/CN112687171A/en
Application grantedgrantedCritical
Publication of CN112687171BpublicationCriticalpatent/CN112687171B/en
Activelegal-statusCriticalCurrent
Anticipated expirationlegal-statusCritical

Links

Images

Landscapes

Abstract

The embodiment of the invention discloses a multifunctional lung clamping and supporting device, which comprises: the support body, the supporting mechanism, the gas transmission device and the heating device form a cavity between the upper shell and the lower shell, and the supporting mechanism is arranged inside the support body. The lung organ is placed on the supporting mechanism, the lung organ is fixed through the mutual approach of the left clamping part and the right clamping part, the lung surface activity is maintained through the heating device, the air delivery device helps the lung organ to expand and contract, and an external component such as an ablation catheter conducts operation experiments on the lung organ inside the cavity through the operation window. The operation experiment of simulation lung is fixed lung organ through lung organ strutting arrangement to make the operation of melting pipe in lung organ go on smoothly, and supporting mechanism has made things convenient for the fixed of lung organ, makes lung organ not squint in operation process, has reduced the operating error, has improved work efficiency, also makes the scene of carrying out lung organ operation diversified, conveniently carries and shifts.

Description

Multi-functional lung clamping and supporting equipment
Technical Field
The embodiment of the invention relates to the field of medical instruments, in particular to multifunctional lung clamping and supporting equipment.
Background
The development of advanced technology and the continuous understanding of respiratory physiology require further understanding of the lung, which can greatly enrich the understanding of the lung. The doctor completes one lung operation and another through skillful operation skills and professional abilities. But before the doctor becomes a professional lung surgeon, a great deal of experimentation and practice is required. The medical students continuously improve the professional operation ability of the students by carrying out practice exercises on the lung models of animals such as pig lungs and the like. However, in the prior art, a storage table for simulating lung surgery is still lacked, so that certain practical difficulty is caused for the simulation of the lung surgery, and the lung model cannot be reasonably placed. In addition, during the lung organ experiment, the contraction and expansion of the lung and how to maintain the physiological activity of the lung still become a problem to be solved.
Disclosure of Invention
The invention aims to provide multifunctional lung clamping and supporting equipment, wherein a supporting mechanism is arranged in a cavity, a lung organ is fixed through the supporting mechanism, the surface activity of the lung is maintained through a heating device, an air delivery device helps the lung organ to expand and contract, an external component penetrates into the lung organ through an operation window, and a simulation experiment is carried out on the lung organ, so that the experiment operation of the lung organ is more stable and orderly carried out, more operation occasions are adapted, and the equipment has flexibility.
The embodiment of the invention provides multifunctional lung clamping and supporting equipment, which comprises: the device comprises a frame body, a supporting mechanism, a gas transmission device and a heating device;
the support body includes: the device comprises an upper shell, a lower shell and a buckle;
the upper shell and the lower shell are covered to form a cavity;
the upper shell is provided with an operation window communicated with the cavity, and the operation window is used for inserting an external component into the cavity;
the upper shell is hinged with one side of the lower shell, and the other side of the upper shell is provided with a buckle which is hinged with the surface of the upper shell;
the support mechanism includes: the clamping device comprises a fixing plate, a left clamping part and a right clamping part;
two ends of the fixing plate are respectively fixedly connected with the side wall of the lower shell;
the left clamping part comprises: a sliding part and a first clamping part;
the sliding part is positioned below the first clamping part, and the first clamping part is arc-shaped;
the sliding part is sleeved on the fixed plate and slides on the fixed plate;
the right clamping portion includes: a fixing portion and a second clamping portion;
the fixing part is fixedly connected with the fixing plate, the fixing part is positioned below the second clamping part, and the second clamping part is arc-shaped;
the first clamping part and the second clamping part are arranged oppositely and used for clamping lung organs;
the gas transmission device is positioned on the upper shell and used for providing gas for lung organs;
the heating device is used for supplying heat to the lung organ.
Establish on the casing down through last casing lid, its inside cavity that forms, place supporting mechanism inside the cavity, through supporting mechanism with the organ of lung fixed in inside, use heating device to maintain the temperature of the organ of lung, make the organ of lung have the activity of dynamic lung always, and the organ of lung more has stability when carrying out the operation experiment, because the device is fixed with the organ of lung, so can safe and orderly experiment, solved in the simulation experiment of lung, the unable problem of settling of the organ of lung, and more have the flexibility.
In one possible aspect, the support mechanism of the multifunctional lung clamping support device further includes: a plurality of first elastic members;
the two ends of the elastic pieces are respectively fixed on the sliding part and the fixing part, and the elastic pieces are used for driving the sliding part to approach the fixing part.
The lung organ is fixed by the resilience force of the elastic member.
In one possible embodiment, the heating device of the multifunctional lung holding and supporting apparatus includes: a plurality of first heating sheets;
it is a plurality of first heating plate is installed first clamping part with on the inner wall of second clamping part, it is a plurality of first heating plate external power source, it is a plurality of first heating plate and lung organ contact for lung organ heating.
The first heating piece is arranged on the inner wall of the clamping part, so that the temperature of the lung organ can be helped, and the lung organ is closer to the characteristics of an active lung when an experiment is carried out.
In one possible embodiment, the heating device of the multifunctional lung holding and supporting apparatus includes: a second heating plate;
the second heating plate is attached to the outer wall of the lower shell and used for heating the lower shell;
the rear end of the upper shell is provided with an external connection hole used for injecting liquid, and the lower shell supplies heat to the lung organs through the liquid.
The lung organ is heated by adopting a second heating sheet and liquid, so that the lung organ is heated more uniformly.
In one possible implementation, the multifunctional lung clamping support device further comprises: a rubber stopper;
the rubber stopper is located in the external connection hole, and the rubber stopper is used for blocking the external connection hole.
The rubber plug is used to plug the outer connecting hole under the condition that the cavity is filled with liquid, so that the liquid is prevented from being spilled.
In one possible implementation, the multifunctional lung clamping support device further comprises: sealing the rubber ring;
a clamping groove is formed in the opening of the lower shell, and the sealing ring is fixed at the opening of the upper shell;
when the upper shell is covered on the lower shell, the sealing ring is positioned in the clamping groove.
Adopt sealed rubber ring can prevent to spill over when inside dress liquid, increase sealed effect.
In one possible implementation, the gas delivery device of the multifunctional lung clamping support apparatus comprises: the air pump, the first conduit, the second conduit, the electromagnetic valve and the controller;
the air pump and the electromagnetic valve are positioned on the surface of the upper shell;
one end of the first conduit is connected with the air pump, the other end of the first conduit penetrates through the operation window to be connected with the lung organ, and the air pump is used for inflating the lung organ;
one end of the second conduit is connected with the lung organ, the other end of the second conduit penetrates through the operation window and is connected with the electromagnetic valve, and the electromagnetic valve is used for exhausting gas in the lung organ;
the electromagnetic valve and the air pump are electrically connected with the controller.
The air pump and the electromagnetic valve are arranged to ventilate and vent the lung, so that the lung movement is simulated.
In one possible embodiment, the gas delivery device of the multifunctional lung holding and supporting apparatus further comprises: a joint;
the joint is provided with an external thread, the operation window is provided with an internal thread, and the joint is in threaded connection with the operation window;
two ends of the connector are respectively positioned at the inner side and the outer side of the cavity, and one end of the connector positioned at the inner side of the cavity is sleeved with an opening of a lung organ;
the connector is internally provided with three through holes, and the external component, the first catheter and the second catheter penetrate through the through holes to enter the lung organs.
The connector is used for better fixing the frame body and the lung organ.
In one possible implementation, the joint of the multifunctional lung clamping support device further comprises: a clamping assembly;
the clamping assembly is arranged at the sleeving joint of the joint and the lung organ, and the clamping assembly is used for fixing the lung organ on the joint.
The opening of the lung organ is closed through the clamping assembly, so that gas inside the lung organ is prevented from flowing out.
In one possible implementation, the clamping assembly of the multi-functional lung clamping support device comprises: a hose clamp;
the hose clamp is arranged at the sleeving joint of the connector and the lung organ and used for fastening the sleeving joint of the connector and the lung organ.
The connector and the lung organ are fixed by the throat hoop, and the lung organ can be tightly connected with the connector according to the size of the contact surface of the connector and the lung organ.
In one possible implementation, the clamping assembly of the multi-functional lung clamping support device comprises: the extrusion device comprises an arc-shaped ring, a plurality of extrusion blocks and a plurality of second elastic pieces;
the plurality of extrusion blocks are positioned inside the arc-shaped ring, one end of each second elastic piece is fixed on the inner wall of the arc-shaped ring, and the other end of each second elastic piece is fixed on the extrusion block;
the arc-shaped ring is provided with an opening, and the joint of the joint and the lung organ is penetrated into the arc-shaped ring through the opening and is propped against the plurality of extrusion blocks.
The extrusion blocks and the arc-shaped rings are connected through the second elastic pieces, when lung organs wrapped with the first catheter and the second catheter enter between the extrusion blocks, the extrusion blocks can be abutted, the second elastic pieces are compressed, and the first catheter and the second catheter are attached to the lung organs more tightly through the elasticity of the second elastic pieces.
In one possible embodiment, the gas delivery device of the multifunctional lung holding and supporting apparatus further comprises: a pressure sensor;
the pressure sensor is fixed on the supporting mechanism and used for detecting the pressure of the lung organ;
the pressure sensor is electrically connected with the controller.
And a pressure sensor is arranged to monitor the gas output and input conditions of the lung organs in real time.
In one possible embodiment, the heating device of the multifunctional lung holding and supporting apparatus further includes: a temperature sensor;
the temperature sensor is positioned on the supporting mechanism and used for sensing the temperature inside the cavity;
the temperature sensor is electrically connected with the controller.
And monitoring the surface temperature of the lung organs in real time by adopting a temperature sensor.
In one possible implementation, the multifunctional lung clamping support device further comprises: a plurality of bolts;
a plurality of threaded holes are formed in the two sides of the upper shell cover and the lower shell, and a plurality of bolts penetrate through the threaded holes;
the upper shell is covered on the lower shell, and the upper shell and the lower shell are fixed through a plurality of bolts.
The upper shell and the lower shell are fixed through bolts, and the upper shell and the lower shell are convenient to detach and fix.
In one possible implementation, the multifunctional lung clamping support device further comprises: buckling;
the upper shell is hinged with one side of the lower shell, and the other side of the upper shell is provided with a buckle which is hinged with the surface of the upper shell;
when the upper shell is covered on the lower shell, the buckle is buckled on the lower shell.
Go up the casing and adopt articulated mode with lower casing, make go up casing and lower casing link together, prevent to open the inconvenient placement in back with last casing.
In one possible embodiment, the upper housing and the lower housing of the multifunctional lung clamping and supporting device are made of acrylic transparent material.
The acrylic transparent material has the advantages of good transparency, chemical stability, weather resistance and the like.
Drawings
In order to more clearly illustrate the embodiments of the present invention or the technical solutions in the prior art, the drawings needed to be used in the description of the embodiments or the prior art will be briefly introduced below, and it is obvious that the drawings in the following description are some embodiments of the present invention, and for those skilled in the art, other drawings can be obtained according to these drawings without creative efforts.
FIG. 1 is a perspective view of a multi-functional lung clamping support device in an embodiment of thepresent invention 1;
FIG. 2 is aperspective view 2 of a multi-functional lung clamping support device in an embodiment of the present invention;
FIG. 3 is a schematic structural diagram of an upper housing according to an embodiment of the present invention;
FIG. 4 is a cross-sectional view of a support mechanism in an embodiment of the present invention;
FIG. 5 is a connection diagram of an upper housing and a joint in an embodiment of the present invention;
FIG. 6 is a connection diagram of a gas delivery device in an embodiment of the invention;
FIG. 7 is a diagram of a controller connection in an embodiment of the present invention;
FIG. 8 is a perspective view of a multi-functional lung clamping support device in an embodiment of the present invention;
FIG. 9 is a schematic view of an arcuate ring in an embodiment of the present invention;
fig. 10 is a rear view of the multi-functional lung holding support device in an embodiment of the present invention.
Reference numbers in the figures:
1. an upper housing; 11. a lower housing; 12. an operating window; 2. a fixing plate; 21. a sliding part; 22. a first clamping portion; 23. a fixed part; 24. a second clamping portion; 25. a first elastic member; 26. a first heating sheet; 3. a second heating plate; 31. a rubber stopper; 32. an outer connecting hole; 33. sealing the rubber ring; 34. a card slot; 4. an air pump; 41. an electromagnetic valve; 42. a controller; 43. a first conduit; 44. a second conduit; 45. a temperature sensor; 5. a pressure sensor; 51. an arc-shaped ring; 52. extruding the block; 53. a second elastic member; 54. a hose clamp; 55. a joint; 56. a through hole; 6. a bolt; 61. buckling; 62. and (4) a support column.
Detailed Description
In order to make the objects, technical solutions and advantages of the embodiments of the present invention clearer, the technical solutions in the embodiments of the present invention will be clearly and completely described below with reference to the drawings in the embodiments of the present invention, and it is obvious that the described embodiments are some, but not all, embodiments of the present invention. All other embodiments, which can be derived by a person skilled in the art from the embodiments given herein without making any creative effort, shall fall within the protection scope of the present invention.
In the description of the present invention, it is to be understood that the terms "central," "longitudinal," "lateral," "upper," "lower," "front," "rear," "left," "right," "vertical," "horizontal," "top," "bottom," "inner," "outer," "axial," "radial," "circumferential," and the like are used in the indicated orientations and positional relationships based on the drawings for convenience in describing and simplifying the description, but do not indicate or imply that the referenced device or element must have a particular orientation, be constructed and operated in a particular orientation, and thus should not be construed as limiting the invention.
In the present invention, unless otherwise specifically stated or limited, the terms "mounted," "connected," "fixed," and the like are to be construed broadly and may, for example, be fixedly connected, detachably connected, or integrally formed; the connection can be mechanical connection, electrical connection or communication connection; either directly or indirectly through intervening media, either internally or in any other suitable relationship, unless expressly stated otherwise. The specific meanings of the above terms in the present invention can be understood by those skilled in the art according to specific situations. The technical solution of the present invention will be described in detail below with specific examples. The following several specific embodiments may be combined with each other, and details of the same or similar concepts or processes may not be repeated in some embodiments.
As described in the technology of the application, no device capable of installing and fixing the lung organ for convenient experimental operation exists in the prior art. The inventor of the application finds that doctors need to do a large amount of exercise operation before being skilled in lung surgery, and the animal lungs can be simulated to be human lungs in reality, but the device for installing and fixing the lung organs is lacked, so that the lung organ simulation experiment is difficult to proceed.
In order to solve the above problems, the inventor of the present application proposes a technical solution of the present application, and specific embodiments are as follows:
example one
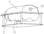
The invention relates to a multifunctional lung clamping and supporting device, which comprises: the device comprises a frame body, a supporting mechanism, a gas transmission device and a heating device. As shown in fig. 2, wherein the shelf body comprises: go upcasing 1 andcasing 11 down, go up the inside hollow structure ofcasing 1, the inside hollow structure that is of casing 11 down equally, go upcasing 1 lid and establish back on casing 11 down, inside vacuole formation. As shown in fig. 1 and 3, theupper case 1 has a kettle-like cross section, and thelower case 11 has a kettle-like cross section. Since theupper casing 1 is a kettle, the right end is larger and the left end is smaller, the left end of theupper casing 1 is defined as the front end of theupper casing 1, the right end of theupper casing 1 is defined as the rear end, and thelower casing 11 is similarly divided. Anoperation window 12 is arranged at the left end of theupper shell 1, theoperation window 12 is used for externally connecting other components, and when other components need to be externally connected, the operation can be carried out only by extending theoperation window 12 into the cavity. Other ablation components are externally connected for operation, and when the ablation tube enters the lung organ in the cavity through theoperation window 12, the operation can be carried out in the lung organ. Foursecond support columns 62 are fixed around the bottom of thelower housing 11 for supporting thelower housing 11, so that thelower housing 11 is stably placed. At the bottom of the foursupport posts 62 there is a base plate for placing the support device on a flat surface.
As shown in fig. 2, the supporting mechanism is located inside the cavity, and the bottom of the supporting mechanism is fixed on the inner wall of thelower housing 11, and the supporting mechanism includes: fixedplate 2, left clamping part and right clamping part. The both ends of fixedplate 2 respectively withshell 11's lateral wall fixed connection down, left clamping part includes: a slidingpart 21 and afirst clamping part 22, wherein the slidingpart 21 is positioned above thefirst clamping part 22. Thefirst clamping portion 22 is arc-shaped, the slidingportion 21 is sleeved on the fixingplate 2, and the slidingportion 21 can slide on the fixingplate 2. The right clamping part comprises: the fixingpart 23 is fixedly connected with the fixingplate 2, and the fixingpart 23 is positioned above thesecond clamping part 24. Thesecond clamping portion 24 is arc-shaped, and thefirst clamping portion 22 and thesecond clamping portion 24 are arranged oppositely and used for clamping the lung organ.
As shown in fig. 1, the gas delivery device is installed on the surface of theupper casing 1, and the gas delivery device is used to supply gas to the pulmonary organ so that the pulmonary organ can contract and expand like a lung in a human body.
As shown in fig. 4, the supporting heating means for the pulmonary organ further comprises a heating means for heating the pulmonary organ mounted on the supporting means to maintain the body temperature and the activity of the pulmonary organ.
As can be seen from the above, the pulmonary organ supporting apparatus of the present invention comprises: support body and supporting mechanism form the cavity betweenlast casing 1 andlower casing 11, and supporting mechanism sets up inside the support body. The lung organ is placed on the supporting mechanism, the lung organ is fixed through the mutual approach of the left and right clamping parts, the lung surface activity is maintained through the heating device, the air delivery device helps the lung organ to expand and contract, and the external component such as an ablation catheter performs operation experiments on the lung organ inside the cavity through theoperation window 12. The operation experiment of simulation lung is fixed lung organ through lung organ strutting arrangement to make the operation of melting pipe in lung organ go on smoothly, and supporting mechanism has made things convenient for the fixed of lung organ, makes lung organ not squint in operation process, has reduced the operating error, has improved work efficiency, also makes the scene of carrying out lung organ operation diversified, conveniently carries and shifts.
Optionally, in this embodiment, as shown in fig. 2 and 4, the method further includes: the two ends of the firstelastic element 25 are respectively fixed on the slidingpart 21 and the fixingpart 23, and the firstelastic element 25 is used for driving the slidingpart 21 to approach the fixingpart 23.
Alternatively, in this embodiment, as shown in fig. 4, the heating device includes: a plurality offirst heat patches 26. Thefirst heating plate 26 is installed on the inner wall of the lower jacket, thefirst heating plate 26 is externally connected with a power supply, and thefirst heating plate 26 heats the lung organ.
Optionally, in this embodiment, as shown in fig. 6, the gas transmission device includes: anair pump 4, afirst conduit 43, asecond conduit 44, asolenoid valve 41, and a controller 42. Theair pump 4 and theelectromagnetic valve 41 are electrically connected with the controller 42. Theair pump 4 and theelectromagnetic valve 41 are installed at the front end of theupper case 1, one end of thefirst guide tube 43 is connected to theair pump 4, the other end is inserted into the pulmonary organ through the operatingwindow 12, and theair pump 4 supplies air to the pulmonary organ through thefirst guide tube 43. One end of thesecond conduit 44 is inserted into the lung organ, and the other end of thesecond conduit 44 is externally connected with theelectromagnetic valve 41 through theoperation window 12, and theelectromagnetic valve 41 controls the outflow of the gas in the lung organ. The controller 42 controls theair pump 4 to generate air, and the air is transmitted to the lung organ through thefirst conduit 43 to expand the lung, when the lung needs to be contracted, the controller 42 controls theelectromagnetic valve 41 to open theelectromagnetic valve 41, and the air in the lung organ is exhausted through thesecond conduit 44 and theelectromagnetic valve 41, so that the contraction and expansion of the lung organ are realized.
Optionally, in this embodiment, as shown in fig. 5, the gas transmission device further includes: and a joint 55. The distal end of the joint 55 is provided with an external thread, the inner wall of theoperation window 12 is provided with an internal thread, and the joint 55 and theoperation window 12 are fixed by thread connection. Theconnector 55 penetrates through theoperation window 12, two ends of theconnector 55 are respectively positioned at the inner side and the outer side of the cavity, and the opening of the lung organ is sleeved at one end of theconnector 55 positioned at the inner side of the cavity. Three throughholes 56 are formed in the joint 55, the three throughholes 56 are respectively externally connected with components, namely an ablation catheter for performing an operation in the lung organ, onefirst catheter 43, and the othersecond catheter 44 in a penetrating mode. The ablation catheter, thefirst catheter 43 and thesecond catheter 44 are inserted through three throughholes 56 into the pulmonary organ.
Alternatively, in this embodiment, as shown in fig. 6 and 7, the lung organ has an opening for the distal end of theconnector 55 to pass through, and thefirst conduit 43 has one end connected to theair pump 4 and the other end inserted into the interior of the lung organ through the opening of the lung organ, so as to ventilate the lung organ with theair pump 4. One end of thesecond conduit 44 is connected to thesolenoid valve 41, and the other end is inserted into the inside of the pulmonary organ through the opening of the pulmonary organ. Theair pump 4 inputs air into the lung organ through thefirst conduit 43, and when the pressure in the lung organ reaches a certain value, the controller 42 controls theelectromagnetic valve 41 to open, and the air in the lung organ is delivered to the outside of the lung organ through thesecond conduit 44 and theelectromagnetic valve 41. The contraction and expansion of the lung organs are realized by the inflation of theair pump 4 and the air outlet of theelectromagnetic valve 41. The first andsecond conduits 43 and 44 are introduced into the pulmonary organ through the throughhole 56, and in order to prevent the gas introduced into the pulmonary organ from escaping, a clamping assembly may be provided at the joint 55, such as: thethroat hoop 54 fixes the joint 55 and the pulmonary organ at the contact overlapping part of the opening of the pulmonary organ and the joint 55 through thethroat hoop 54, and the contraction amount of thethroat hoop 54 is determined by the diameter of the joint 55.
Optionally, in this embodiment, as shown in fig. 7, the gas transmission device further includes: apressure sensor 5. Thepressure sensor 5 is mounted on a fixed mechanism for detecting the pressure of the pulmonary organ. The controller 42 controls theair pump 4 to deliver air into the lung organ, when the pressure reaches a certain standard value, thepressure sensor 5 sends a signal to the controller 42, and at this time, the controller 42 controls theelectromagnetic valve 41 to open, and the air in the lung organ is discharged through theelectromagnetic valve 41.
Optionally, in this embodiment, as shown in fig. 7, the method further includes: a temperature sensor. The temperature sensor is arranged on the supporting mechanism and used for detecting the temperature of the surface of the lung organ. When the temperature of the lung organ reaches a standard value, a signal is sent to the controller 42, and the controller 42 displays the specific temperature in the lung organ, so that the power supply of the resistance wire is cut off from the outside.
Optionally, in this embodiment, as shown in fig. 1, the method further includes: a plurality ofbolts 6, offered a plurality of screw holes aroundlast casing 1 andlower casing 11, and the screw hole of going upcasing 1 and the screw hole butt joint ofcasing 11 down, a plurality ofbolts 6 wear to establish in the screw hole, make and go upcasing 1 lid and close under oncasing 11.
Optionally, in this embodiment, theupper housing 1 and thelower housing 11 are made of acrylic transparent material. Inferior gram force material has advantages such as better transparency, chemical stability and weatherability, goes upcasing 1 andcasing 11 and adopts transparent inferior gram force material can be clear see strutting arrangement's inner structure, convenient operation and the adjustment to the organs of lung.
Example two
The second embodiment is an alternative of the first embodiment, and the difference is that as shown in fig. 8, optionally, in the present embodiment, as shown in the figure, the following steps are included: asecond heat patch 3. Thesecond heating plate 3 is a silica gel heating plate, thesecond heating plate 3 is tightly attached to the outer wall of thelower shell 11 to supply heat to thelower shell 11, so that thelower shell 11 generates a certain temperature. When the lung organ is placed in the cavity, the lower surface of the lung organ is attached to the inner wall of thelower shell 11, and the temperature of thelower shell 11 is transmitted to the lung organ, so that the lung organ has a certain temperature. Anexternal connection hole 32 is provided at the rear end of theupper casing 1, and a catheter is inserted through theexternal connection hole 32 to inject a fluid, such as physiological saline, into the interior of the casing over the pulmonary organs. Normal saline is injected into the cavity, and thesecond heating sheet 3 heats the cavity, so that the normal saline has a certain temperature and then transfers the heat to the lung organ, and the lung organ has a certain temperature.
Optionally, in this embodiment, as shown in fig. 8, the method further includes: arubber stopper 31. Therubber plug 31 is placed in theexternal connection hole 32, and after liquid is injected into the cavity, theexternal connection hole 32 is blocked by therubber plug 31, so that the liquid is prevented from leaking.
Optionally, in this embodiment, as shown in fig. 2 and fig. 3, the method further includes: sealingrubber ring 33, sealingrubber ring 33 install at the opening part oflast casing 1, are equipped with corresponding draw-ingroove 34 at the opening part of casing 11 down, and whenlast casing 1 lid was established on casing 11 down, sealingrubber ring 33 card was in draw-ingroove 34 department, prevented that inside liquid from flowing around the casing.
EXAMPLE III
Embodiment three is an alternative to embodiment one, except that, as shown in fig. 9, the chucking assembly further includes: an arc-shapedring 51, a plurality of pressingblocks 52, and a plurality of secondelastic members 53. The secondelastic member 53 may be a second spring, and the second spring and the plurality of pressingblocks 52 are located inside the arc-shapedring 51. One end of the second spring is fixed on the inner wall of the arc-shapedring 51, and the other end is fixed on the outer wall of theextrusion block 52. The arc-shapedring 51 is provided with an opening, the opening is provided with an inlet channel, the sleeve joint part of the joint 55 fixed with thefirst conduit 43 and thesecond conduit 44 and the lung organ slides into the arc-shapedring 51 through the channel, and the lung organ is propped against the inner wall of theextrusion block 52 because theextrusion block 52 is arranged in the arc-shapedring 51. The amount of expansion and contraction of the second spring is adjusted according to the expanded diameter of the lung organ, so that the clamping assembly is suitable forconnectors 55 with more calibers and lung organs.
Example four
The fourth embodiment is an alternative to the first embodiment, except that as shown in fig. 10, the method further includes: and abuckle 61. One sides of theupper shell 1 and thelower shell 11 are hinged, and the other side of theupper shell 1 is provided with abuckle 61, and thebuckle 61 is hinged with the surface of theupper shell 1. When theupper case 1 is covered on thelower case 11, thelatch 61 is latched to thelower case 11.
In the present invention, unless otherwise explicitly specified or limited, the first feature "on" or "under" the second feature may be directly contacting the first feature and the second feature or indirectly contacting the first feature and the second feature through an intermediate.
Also, a first feature "on," "above," and "over" a second feature may mean that the first feature is directly above or obliquely above the second feature, or that only the first feature is at a higher level than the second feature. A first feature being "under," "below," and "beneath" a second feature may be directly under or obliquely under the first feature, or may simply mean that the first feature is at a lower level than the second feature.
In the description herein, reference to the description of the term "one embodiment," "some embodiments," "an example," "a specific example" or "some examples," or the like, means that a particular feature, structure, material, or characteristic described in connection with the embodiment or example is included in at least one embodiment or example of the invention. In this specification, the schematic representations of the terms used above are not necessarily intended to refer to the same embodiment or example. Furthermore, the particular features, structures, materials, or characteristics described may be combined in any suitable manner in any one or more embodiments or examples. Furthermore, various embodiments or examples and features of different embodiments or examples described in this specification can be combined and combined by one skilled in the art without contradiction.
Finally, it should be noted that: the above embodiments are only used to illustrate the technical solution of the present invention, and not to limit the same; while the invention has been described in detail and with reference to the foregoing embodiments, it will be understood by those skilled in the art that: the technical solutions described in the foregoing embodiments may still be modified, or some or all of the technical features may be equivalently replaced; and the modifications or the substitutions do not make the essence of the corresponding technical solutions depart from the scope of the technical solutions of the embodiments of the present invention.

Claims (16)

CN202011503736.2A2020-12-172020-12-17Multi-functional lung clamping and supporting equipmentActiveCN112687171B (en)

Priority Applications (1)

Application NumberPriority DateFiling DateTitle
CN202011503736.2ACN112687171B (en)2020-12-172020-12-17Multi-functional lung clamping and supporting equipment

Applications Claiming Priority (1)

Application NumberPriority DateFiling DateTitle
CN202011503736.2ACN112687171B (en)2020-12-172020-12-17Multi-functional lung clamping and supporting equipment

Publications (2)

Publication NumberPublication Date
CN112687171Atrue CN112687171A (en)2021-04-20
CN112687171B CN112687171B (en)2022-09-27

Family

ID=75449689

Family Applications (1)

Application NumberTitlePriority DateFiling Date
CN202011503736.2AActiveCN112687171B (en)2020-12-172020-12-17Multi-functional lung clamping and supporting equipment

Country Status (1)

CountryLink
CN (1)CN112687171B (en)

Citations (18)

* Cited by examiner, † Cited by third party
Publication numberPriority datePublication dateAssigneeTitle
EP1062870A2 (en)*1999-06-222000-12-27Jostra AGPerfusion system for human or animal organs or body parts
US20040171138A1 (en)*2002-08-142004-09-02Transmedics, Inc.Heart preservation chamber
CN101977649A (en)*2008-01-312011-02-16特兰斯迈迪茨公司Systems and methods for ex vivo lung care
US8568293B1 (en)*2010-09-232013-10-29Subhakar Patthi RaoSurgical spay and neuter assist platform system
CN203841834U (en)*2014-04-152014-09-24上海市同济医院Multifunctional constant-temperature operation perfusion device
US20140370490A1 (en)*2013-06-122014-12-18Medtronic, Inc.Heart-lung preparation and method of use
US20160113269A1 (en)*2013-06-072016-04-28Perfusion Solutions Pty LtdOrgan perfusion system and device
CN106725903A (en)*2017-01-202017-05-31杭州亚慧生物科技有限公司A kind of surgical operation negative pressure servicing unit
KR20170143040A (en)*2016-06-172017-12-29삼성중공업 주식회사Carrier cargo tank
CN108904005A (en)*2018-05-072018-11-30温州市中心医院A kind of calculus of intrahepatic duct operation folder spoon device
CN208444496U (en)*2017-11-172019-01-29深圳市州宏医疗科技有限公司A kind of integration electro physiology and Hemodynamics simulator
CN110316474A (en)*2019-06-272019-10-11王寅A kind of isolated heart transport box
CN210052400U (en)*2019-01-262020-02-11宁波市奉化区人民医院Pig stomach fixing device for endoscope minimally invasive simulation operation practice
CN110827642A (en)*2019-11-212020-02-21复旦大学附属中山医院Supplementary teaching device of operation is intervene to heart
CN111095436A (en)*2018-11-262020-05-01中广核研究院有限公司 fuel assembly shipping container
CN111356364A (en)*2017-11-202020-06-30体沃索股份有限公司 Equipment for perfusion of isolated organs
CN210920707U (en)*2019-11-212020-07-03十堰市太和医院Artificial liver filter fixing device with adjustable
CN111937860A (en)*2020-08-172020-11-17无锡市人民医院Isolated organ perfusion system

Patent Citations (18)

* Cited by examiner, † Cited by third party
Publication numberPriority datePublication dateAssigneeTitle
EP1062870A2 (en)*1999-06-222000-12-27Jostra AGPerfusion system for human or animal organs or body parts
US20040171138A1 (en)*2002-08-142004-09-02Transmedics, Inc.Heart preservation chamber
CN101977649A (en)*2008-01-312011-02-16特兰斯迈迪茨公司Systems and methods for ex vivo lung care
US8568293B1 (en)*2010-09-232013-10-29Subhakar Patthi RaoSurgical spay and neuter assist platform system
US20160113269A1 (en)*2013-06-072016-04-28Perfusion Solutions Pty LtdOrgan perfusion system and device
US20140370490A1 (en)*2013-06-122014-12-18Medtronic, Inc.Heart-lung preparation and method of use
CN203841834U (en)*2014-04-152014-09-24上海市同济医院Multifunctional constant-temperature operation perfusion device
KR20170143040A (en)*2016-06-172017-12-29삼성중공업 주식회사Carrier cargo tank
CN106725903A (en)*2017-01-202017-05-31杭州亚慧生物科技有限公司A kind of surgical operation negative pressure servicing unit
CN208444496U (en)*2017-11-172019-01-29深圳市州宏医疗科技有限公司A kind of integration electro physiology and Hemodynamics simulator
CN111356364A (en)*2017-11-202020-06-30体沃索股份有限公司 Equipment for perfusion of isolated organs
CN108904005A (en)*2018-05-072018-11-30温州市中心医院A kind of calculus of intrahepatic duct operation folder spoon device
CN111095436A (en)*2018-11-262020-05-01中广核研究院有限公司 fuel assembly shipping container
CN210052400U (en)*2019-01-262020-02-11宁波市奉化区人民医院Pig stomach fixing device for endoscope minimally invasive simulation operation practice
CN110316474A (en)*2019-06-272019-10-11王寅A kind of isolated heart transport box
CN110827642A (en)*2019-11-212020-02-21复旦大学附属中山医院Supplementary teaching device of operation is intervene to heart
CN210920707U (en)*2019-11-212020-07-03十堰市太和医院Artificial liver filter fixing device with adjustable
CN111937860A (en)*2020-08-172020-11-17无锡市人民医院Isolated organ perfusion system

Also Published As

Publication numberPublication date
CN112687171B (en)2022-09-27

Similar Documents

PublicationPublication DateTitle
CN101853600B (en)Blood vessel model and blood circulation simulating device using same
CN87104423A (en)Be used to add the electrolyte heating electrode device of temperature therapy
CN105943356B (en) A closed type fumigation instrument for joints and limbs
CN112687171B (en)Multi-functional lung clamping and supporting equipment
CN214377254U (en)Multi-functional lung clamping and supporting equipment
CN112652217B (en)Lung clamping and supporting equipment for maintaining lung vitality
CN112634722B (en)Multi-functional lung fixing and supporting equipment
CN215376609U (en)Multi-functional lung fixing and supporting equipment
CN112116843B (en) A surgical training simulation device and a surgical training system
CN215868359U (en)Operation simulation device and operation training system
CN215376713U (en)Lung clamping and supporting equipment for maintaining lung vitality
CN112652218B (en)Lung fixing and supporting equipment for realizing lung gas exchange
CN214336096U (en)Multifunctional lung supporting equipment
CN215376709U (en)Lung fixing and supporting equipment for realizing lung gas exchange
CN112687170B (en)Multifunctional lung supporting equipment
CN112687169B (en)Lung fixing and supporting equipment with heating function
CN215376712U (en)Lung fixing and supporting equipment with heating function
CN112687143B (en)Lung clamping and supporting equipment with heat preservation effect
CN113793545A (en) A surgical simulation device and surgical training system
CN214377034U (en)Lung clamping and supporting equipment with heat preservation effect
CN112652219B (en)Lung supporting device with function of maintaining surface activity of lung
CN215376711U (en)Lung supporting device with function of maintaining surface activity of lung
CN212439670U (en)Sacculus pressing device
CN112687144B (en)Lung supporting device for helping lung contraction and expansion
CN215376710U (en)Lung supporting equipment with fixing function

Legal Events

DateCodeTitleDescription
PB01Publication
PB01Publication
SE01Entry into force of request for substantive examination
SE01Entry into force of request for substantive examination
GR01Patent grant
GR01Patent grant

[8]ページ先頭

©2009-2025 Movatter.jp