







技术领域technical field
本发明涉及一种信号处理方法,尤其涉及一种信号测量的校正系统及其校正方法。The present invention relates to a signal processing method, in particular to a signal measurement calibration system and its calibration method.
背景技术Background technique
为了达到双声道平衡的效果,现有技术会分别对每一个频带的中心频率的弦波测量双声道能量状态,再依据音场的特性定义每一个频率适合的目标增益,且分别调整双声道的等化(equalization,EQ)以近似目标增益,进而达到双声道平衡的效果。In order to achieve the effect of binaural balance, the prior art measures the binaural energy state of the sine wave at the center frequency of each frequency band, and then defines the appropriate target gain for each frequency according to the characteristics of the sound field, and adjusts the binaural energy respectively. The equalization (EQ) of the channels is used to approximate the target gain, thereby achieving the effect of two-channel balance.
然而,使用者所处的环境并非在安静的无响室中,对播放信号的测量结果恐会因外在声音而造成干扰。这些干扰将使得测量结果失真,且失真情形会进一步影响到双声道平衡的效果。However, the environment where the user is located is not in a quiet anechoic room, and the measurement result of the playback signal may be disturbed by external sounds. These disturbances will distort the measurement results, and the distortion will further affect the effect of the two-channel balance.
发明内容SUMMARY OF THE INVENTION
有鉴于此,本发明实施例提供一种信号测量的校正系统及其校正方法,基于传送信号的信号特性来校正接收信号,以提升测量精准度。In view of this, embodiments of the present invention provide a signal measurement calibration system and a calibration method thereof, which calibrate the received signal based on the signal characteristics of the transmitted signal, so as to improve the measurement accuracy.
本发明实施例的信号测量的校正方法,其包括但不仅限于下列步骤:分别对传送信号及接收信号依据时间长度分割成数个传送信号群组及数个接收信号群组。此接收信号相关于传送信号发出后所接收的信号,且传送信号是周期性信号。依据这些传送信号群组与这些接收信号群组之间的相关性,自这些接收信号群组中挑选数个评估群组。此相关性对应到传送信号与接收信号之间的延迟。依据这些评估群组的信号能量决定接收信号的信号能量。The method for calibrating signal measurement according to an embodiment of the present invention includes, but is not limited to, the following steps: dividing the transmitted signal and the received signal into several transmitted signal groups and several received signal groups according to time lengths. The received signal is related to the signal received after the transmission signal is sent, and the transmission signal is a periodic signal. According to the correlation between the transmitted signal groups and the received signal groups, several evaluation groups are selected from the received signal groups. This correlation corresponds to the delay between the transmitted signal and the received signal. The signal energy of the received signal is determined according to the signal energy of these evaluation groups.
本发明实施例的信号测量的校正系统,其包括但不仅限于处理装置。处理装置经载入并执行数个模块,且这些模块包括信号分割模块、筛选模块及能量决定模块。分割模块分别对传送信号及接收信号依据时间长度分割成数个传送信号群组及数个接收信号群组。此接收信号相关于传送信号发出后所接收的信号,且传送信号是周期性信号。筛选模块依据这些传送信号群组与这些接收信号群组之间的相关性,自这些接收信号群组中挑选数个评估群组。此相关性对应到传送信号与接收信号之间的延迟。能量决定模块依据这些评估群组的信号能量决定接收信号的信号能量。The calibration system for signal measurement according to the embodiment of the present invention includes, but is not limited to, a processing device. The processing device loads and executes several modules, and these modules include a signal segmentation module, a screening module, and an energy determination module. The dividing module divides the transmit signal and the receive signal into several transmit signal groups and several receive signal groups respectively according to the time length. The received signal is related to the signal received after the transmission signal is sent, and the transmission signal is a periodic signal. The screening module selects several evaluation groups from the received signal groups according to the correlation between the transmitted signal groups and the received signal groups. This correlation corresponds to the delay between the transmitted signal and the received signal. The energy determination module determines the signal energy of the received signal according to the signal energy of the evaluation groups.
基于上述,本发明实施例的信号测量的校正系统及其校正方法,对传送及接收信号分割,并依据分割后的传送信号群组与接收信号群组之间的延迟情形及能量状态筛选出经分类后所占数量较多的接收信号群组,即可将这些接收信号群组的能量作为接收信号的信号能量代表。此外,本发明实施例对接收信号保留传送信号的周期性变化特性,以消除干扰。藉此,可提高测量的精准度,并让使用者不受环境限制而能随处进行双声道平衡的校正。Based on the above, the calibration system for signal measurement and the calibration method thereof according to the embodiments of the present invention divide the transmitted and received signals, and filter out the transmitted and received signals according to the delay situation and the energy state between the divided transmitted signal groups and the received signal groups. For the received signal groups that occupy a larger number after classification, the energy of these received signal groups can be used as the signal energy representative of the received signal. In addition, the embodiment of the present invention preserves the periodic variation characteristics of the transmitted signal for the received signal, so as to eliminate interference. In this way, the measurement accuracy can be improved, and the user can perform binaural balance correction anywhere without being restricted by the environment.
为让本发明的上述特征和优点能更明显易懂,下文特举实施例,并配合附图作详细说明如下。In order to make the above-mentioned features and advantages of the present invention more obvious and easy to understand, the following embodiments are given and described in detail with the accompanying drawings as follows.
附图说明Description of drawings
图1是依据本发明一实施例的信号测量的校正系统的示意图;1 is a schematic diagram of a calibration system for signal measurement according to an embodiment of the present invention;
图2是依据本发明一实施例的信号测量的校正方法的流程图;2 is a flowchart of a calibration method for signal measurement according to an embodiment of the present invention;
图3A及图3B是依据本发明一实施例的信号干扰消除的示意图;3A and 3B are schematic diagrams of signal interference cancellation according to an embodiment of the present invention;
图4A及图4B是依据本发明一实施例的信号分割的示意图;4A and 4B are schematic diagrams of signal segmentation according to an embodiment of the present invention;
图5是依据本发明一实施例的快速交叉相关决定的示意图;5 is a schematic diagram of a fast cross-correlation decision according to an embodiment of the present invention;
图6是一范例说明相关性与取样点的对应图。FIG. 6 is a diagram illustrating an example of correlation and sampling point correspondence.
附图标记说明Description of reference numerals
1:校正系统1: Calibration system
10:扬声装置10: Speaker device
30:收音装置30: Radio device
50:处理装置50: Processing device
51:干扰消除模块51: Interference cancellation module
52:信号分割模块52: Signal segmentation module
53:筛选模块53: Screening Module
54:能量决定模块54: Energy Decision Module
TS:传送信号TS: transmit signal
RS:接收信号RS: receive signal
RS2:输出信号RS2: output signal
TSG、TSG0~TSG6:传送信号群组TSG, TSG0~TSG6: transmit signal group
RSG、RSG0~RSG6:接收信号群组RSG, RSG0~RSG6: receive signal group
TG:评估群组TG: Evaluation Group
W1、W2、W3:权重W1, W2, W3: Weights
e1、e2、e3:误差e1, e2, e3: Error
RSD:延迟信号RSD: Delayed signal
T1、T2:时间长度T1, T2: length of time
S210~S250、S510~S570:步骤S210~S250, S510~S570: steps
CCn:相关系数CCn: correlation coefficient
Sn:取样点Sn: sampling point
具体实施方式Detailed ways
图1是依据本发明一实施例的信号测量的校正系统1的示意图。请参照图1,校正系统1包括但不仅限于扬声装置10、收音装置30及处理装置50。FIG. 1 is a schematic diagram of a
扬声装置10可以是喇叭(扬声器)、扩音器等用以播放声音的装置。The
收音装置30可以是麦克风(例如,动圈式(dynamic)、电容式(Condenser)、驻极体电容(Electret Condenser)等类型)或其他可接收声波而转换为声音信号的电子装置。The
处理装置50可以是台式电脑、笔记本电脑、智能手机、平板电脑、或伺服器。处理装置50至少包括处理器(例如,中央处理单元(Central Processing Unit,CPU),或是其他可程序化的一般用途或特殊用途的微处理器(Microprocessor)、数字信号处理器(DigitalSignal Processor,DSP)、现场可程序化逻辑门阵列(Field Programmable Gate Array,FPGA)、可程序化控制器、特殊应用集成电路(Application-Specific IntegratedCircuit,ASIC)或其他类似元件或上述元件的组合),以执行处理装置50的所有运作。在本发明实施例中,处理装置50可载入并执行软件模块(存储在存储器中),这些软件模块包括干扰消除模块51、信号分割模块52、筛选模块53及能量决定模块54,且其详细运作待后续实施例详述。The
需说明的是,处理装置50可以电性连接扬声装置10及收音装置30。这些装置10,30,50中的一者或更多者亦可能整合成单一电子装置。在一些实施例中,校正系统1也可能只包括处理装置50。It should be noted that, the
为了方便理解本发明实施例的操作流程,以下将举诸多实施例详细说明本发明实施例中校正系统1的运作流程。下文中,将搭配校正系统1中的各装置说明本发明实施例所述的方法。本方法的各个流程可依照实施情形而随之调整,且并不仅限于此。In order to facilitate understanding of the operation process of the embodiment of the present invention, the following will describe in detail the operation process of the
图2是依据本发明一实施例的信号测量的校正方法的流程图。请参照图2,处理装置50的信号分割模块52分别对传送信号TS及接收信号RS依据时间长度分割成数个传送信号群组TSG及数个接收信号群组RSG(步骤S210)。具体而言,此接收信号RS相关于传送信号发出后所接收的信号。在一实施例中,扬声装置10可播放此传送信号(即,声音信号),且收音装置30反应于传送信号的播放而进行收音,以取得收音信号。此收音信号即可作为接收信号。依据不同需求,扬声装置10可分别播放中心频率不同的数个传送信号,且这些传送信号对应的中心频率分别对应于不同的频带。同时,收音装置30依序对不同中心频率的声音信号进行收音,以产生收音信号。在另一实施例中,信号分割模块52也可经由下载或输入资料等方式取得那些收音信号。此外,信号分割模块52可依据特定长度的取样点数(例如,24000(大约0.5秒)、或其他数目)对收音信号取样,以形成离散的接收信号并作为后续信号处理所用。FIG. 2 is a flowchart of a method for calibrating a signal measurement according to an embodiment of the present invention. Referring to FIG. 2 , the
需说明的是,为了方便说明,以下是假设对某一中心频率的接收信号进行处理。It should be noted that, for the convenience of description, it is assumed that the received signal of a certain center frequency is processed below.
为了保留传送信号的信号特性,在一实施例中,干扰消除模块51可依据传送信号的信号特性消除收音信号中的干扰以得出接收信号。值得注意的是,传送信号是周期性信号(例如,弦波信号、周期性的方波信号、或三角波信号等),且信号特性相关于此周期性信号所具有的周期性变化。也就是说,这些信号的振幅都是周期性变化,且相同相位对应的振幅在不同周期中相同。基于生活中没有固定的周期性波形噪音,而这样的信号特性将有助于移除收音信号中的干扰。而本发明实施例将会对接收信号恢复至具有传送信号相同的信号特性。In order to preserve the signal characteristics of the transmitted signal, in one embodiment, the
在一实施例中,干扰消除模块51基于可适性信号处理技术来保留接收信号中的周期性变化特性。图3A及图3B是依据本发明一实施例的信号干扰消除的示意图。请先参照图3A是一阶可适性信号处理,其可将接收信号RS与权重W1的乘积与传送信号TS之间的误差e1最小化,且输出信号RS为传送信号TS和接收信号RS的交集。假设传送信号TS为单一频率的弦波信号,则其输出信号RS很接近此频率的弦波信号(即,具有弦波的周期性变化特性)。In one embodiment, the
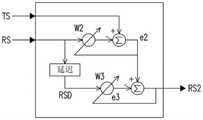
请先参照图3B是二阶可适性信号处理,第0阶的传送信号TS和接收信号RS(经权重W2相乘)之间的误差e2可视为环境干扰,且误差e2可作为第1阶的参考/目标信号。此外,接收信号RS的延迟信号RSD(经权重W3)可作为第1阶的输入信号,且第1阶可适性信号处理的误差e3为消除干扰后的弦波特性输出信号RS2。Please refer to FIG. 3B first for the second-order adaptive signal processing. The error e2 between the 0th-order transmitted signal TS and the received signal RS (multiplied by the weight W2) can be regarded as environmental interference, and the error e2 can be regarded as the first order reference/target signal. In addition, the delayed signal RSD (weighted W3 ) of the received signal RS can be used as the first-order input signal, and the error e3 of the first-order adaptive signal processing is the sinusoidal characteristic output signal RS2 after interference cancellation.
由于已知传送信号的周期性变化,干扰消除模块51可以将接收信号RS恢复成更加接近或等同于传送信号TS,从而将干扰消除。需说明的是,本发明实施例不限于前述自适应信号处理,在其他实施例中也可以采用静态权重或其他算法。此外,在一些实施例中,处理装置50也可能不进行前述干扰消除作业。Due to the known periodic variation of the transmitted signal, the
针对信号分割,信号分割模块52可设定特定时间长度(例如,512、1024、或2048个取样点),并基于此时间长度来对接收信号RS(或是经干扰消除的输出信号RS2)在时域上分割成数个接收信号群组RSG。即,各群组中的取样点数相同,且各群组包括数个取样点对应的振幅。相同地,信号分割模块52也基于相同时间长度来对传送信号TS在时域上分割成数个传送信号群组TSG。信号分割模块52可利用窗化(window)函数(即,给定区间内为常数,且区间外为0)来实现信号分割。For signal division, the
举例而言,图4A及图4B是依据本发明一实施例的信号分割的示意图。请先参照图4A,信号分割模块52设定时间长度T1假设为256个取样点。0至255个取样点对应于传送信号群组TSG0及接收信号群组RSG0,128至383个取样点对应于传送信号群组TSG1及接收信号群组RSG1,256至511个取样点对应于传送信号群组TSG2及接收信号群组RSG2,384至639个取样点对应于传送信号群组TSG3及接收信号群组RSG3,512至767个取样点对应于传送信号群组TSG4及接收信号群组RSG4,640至895个取样点对应于传送信号群组TSG5及接收信号群组RSG5,768至1023个取样点对应于传送信号群组TSG6及接收信号群组RSG6。其中,不同群组对应的取样点可以重复,并藉以改善流泄现象。For example, FIG. 4A and FIG. 4B are schematic diagrams of signal division according to an embodiment of the present invention. Referring first to FIG. 4A , the time length T1 set by the
请参照图4B,信号分割模块52设定时间长度T2假设为128个取样点。0至127个取样点对应于传送信号群组TSG0及接收信号群组RSG0,128至255个取样点对应于传送信号群组TSG1及接收信号群组RSG1,256至383个取样点对应于传送信号群组TSG2及接收信号群组RSG2,384至511个取样点对应于传送信号群组TSG3及接收信号群组RSG3,512至639个取样点对应于传送信号群组TSG4及接收信号群组RSG4,640至767个取样点对应于传送信号群组TSG5及接收信号群组RSG5,768至1279个取样点对应于传送信号群组TSG6及接收信号群组RSG6。其中,不同群组对应的取样点未重复。Referring to FIG. 4B , the time length T2 set by the
需说明的是,对接收信号RS及传送信号TS分割的方式不限于图4A及图4B所示,但两者的分割形式应一致(即,相同分割的时间长度/取样点数,且间隔相同取样点数分割一次)。It should be noted that the method of dividing the received signal RS and the transmitted signal TS is not limited to those shown in FIG. 4A and FIG. 4B , but the division forms of the two should be the same (that is, the same division time length/number of sampling points, and the same sampling interval). points are divided once).
接着,筛选模块53依据传送信号群组TSG及接收信号群组RSG之间的相关性,自那些接收群组中挑选评估群组TG(步骤S230)。具体而言,现有技术会对所有群组的能量取平均值以作为最终测量的信号能量。然而,接收信号可能受外界干扰而不稳定,且将导致其平均值与实际能量之间的差异过大。Next, the
为了避免前述问题,筛选模块53会对接收信号群组筛选。在一实施例中,筛选模块53将那些传送信号群组TSG与接收信号群组RSG之间的相关性相近者归类在一起,以形成数个延迟类别。此处所指相关性对应到传送信号与接收信号之间的延迟。筛选模块53可使用快速互相关(cross correlation)或其他互相关算法,判断各接收信号群组RSG与对应传送信号群组TSG(对应到相同取样点)之间的相似性。In order to avoid the aforementioned problems, the
举例而言,图5是依据本发明一实施例的快速交叉相关决定的示意图。请参照图5,假设第n(大于零的正整数)传送信号群组TSGn与第n接收信号群组RSGn的时间长度为1024个取样点,则筛选模块53对两群组TSGn,RSGn分别补零至2048个取样点(步骤S510),再分别进行傅立叶转换及傅立叶转换后取共轭复数(步骤S530,其中对接收信号群组RSGn的傅立叶转换结果还能作为后续计算信号能量步骤所用),且将步骤S530所得的两结果相乘(步骤550),并对此乘积进行反傅立叶转换(步骤S570),即可得出在两两群组TSGn,RSGn在数个取样点之间的第n相关系数CCn(即,前述相关性)。For example, FIG. 5 is a schematic diagram of fast cross-correlation decision according to an embodiment of the present invention. Referring to FIG. 5 , assuming that the time length of the nth (positive integer greater than zero) transmit signal group TSGn and the nth receive signal group RSGn is 1024 sampling points, the
举例而言,图6是一范例说明相关性与取样点的对应图。请参照图6,由于传送信号与接收信号都具有周期性变化特性,因此相关系数也会随着取样点的序号增加而有周期性变化,且两者的相似性可对应到相位/时间延迟。For example, FIG. 6 is a graph illustrating an example of correlations and sampling points. Referring to FIG. 6 , since both the transmitted signal and the received signal have periodic variation characteristics, the correlation coefficient also varies periodically as the number of sampling points increases, and the similarity between the two can correspond to the phase/time delay.
此外,由于各对应组合(即,一接收信号群组RSG与对应的一传送信号群组TSG)在不同取样点上的相关系数可能不同,因此筛选模块53可挑选一者(或多者经算术平均、或其他公式)作为各对应组合之间的相关性的代表。在一实施例中,筛选模块53是将各接收信号群组RSG与对应的传送信号群组TSG之间数个取样点的相关性中最大者(若仍有多者,则可取最早/前者或其中任一者,并可通过峰值检测(peak-detect)法得出),作为此接收信号群组RSG与对应传送信号群组TSG之间的相关性的代表。以图6为例,取样点Sn对应的相关性最大且为最早者,其相关系数即可作为其代表。此代表将作为后续筛选所用。In addition, since the correlation coefficients of each corresponding combination (ie, a received signal group RSG and a corresponding transmit signal group TSG) at different sampling points may be different, the
接着,筛选模块53将对应到不同接收信号群组RSG的相关性依据大小排序,并利用分类算法将相关性相近者(例如,两相关性之间的差异小于门槛值)归类至相同的延迟类别。例如,相关系数为10、10、10、11、12、15、20,则筛选模块53将10、10、10、11、12归类至第一延迟类别,将15归类至第二延迟类别,且将20归类至第三延迟类别。Next, the
筛选模块53可依据这些延迟类别的数量而自这些延迟类别中选择一者作为评估类别。在一实施例中,筛选模块53是挑选这些延迟类别中数量最多者作为评估类别。以前述三个延迟类别作为范例,第一延迟类别中的对应相关系数的数量最多,即可作为评估类别。在其他实施例中,数量的挑选可依据实际需求而变更。The
在一实施例中,筛选模块53还能再对此评估类别进一步筛选。筛选模块53可将此评估类别对应的那些接收信号群组RSG的信号能量相近者归类在一起,以形成数个能量类别。筛选模块53对接收信号群组RSG分别进行傅立叶转换以将信号自时域转为频域,并进一步计算信号能量(例如,振幅平方的总和)。In one embodiment, the
接着,筛选模块53将对应到不同接收信号群组RSG的信号能量依据大小排序,并利用分类算法将相关性相近者(例如,两信号能量之间的差异小于门槛值)归类至相同的能量类别。例如,信号能量为1000、980、1500、700、1010,则筛选模块53将1000、980、1010归类至第一能量类别,将1500归类至第二能量类别,且将700归类至第三能量类别。Next, the
筛选模块53可依据这些能量类别的数量而自这些能量类别中选择一者作为新的评估类别。在一实施例中,筛选模块53是挑选这些能量类别中数量最多者作为新的评估类别。以前述三个能量类别作为范例,第一能量类别中的对应信号能量的数量最多,即可作为新的评估类别。在其他实施例中,数量的挑选可依据实际需求而变更。此外,筛选模块53也可能省略对信号能量的筛选而直接采用延迟类别的筛选结果作为评估类别。The
接着,筛选模块53可依据评估类别对应的数个接收信号群组RSG决定评估群组TG。在一实施例中,筛选模块53可将评估类别对应的所有或部分的接收信号群组RSG作为评估群组TG。例如,前述第一能量类别对应的所有接收信号群组RSG作为评估群组TG。能量决定模块54即可依据这些评估群组TG的信号能量决定接收信号的信号能量(步骤S250)。在一实施例中,能量决定模块54对各评估群组TG的信号能量取得其算术平均数,并以此算术平均数作为此中心频率最终的测量信号能量(即,接收信号的信号能量)。在其他实施例中,能量决定模块54亦可能自那些评估群组TG的信号能量中取得中位数或众数,以作为最终的测量信号能量。Next, the
综上所述,本发明实施例的信号测量的校正系统及其校正方法,对接收信号进行额外的信号处理,其可分为两个独立的部分:第一部分为利用可适性信号处理保留接收信号中针对此频率的周期性变化特性,且第二部分为基于周期性信号稳定的时间偏移特性及稳定的能量状态对所有群组筛选。藉此,可提升测量信号的精准度,并可使双声道平衡的效果较不受到干扰影响。To sum up, the signal measurement calibration system and the calibration method according to the embodiment of the present invention perform additional signal processing on the received signal, which can be divided into two independent parts: the first part uses adaptive signal processing to reserve the reception The periodic variation characteristic of this frequency in the signal, and the second part is to screen all groups based on the stable time offset characteristic and stable energy state of the periodic signal. In this way, the accuracy of the measurement signal can be improved, and the effect of the two-channel balance can be less affected by interference.
虽然本发明已以实施例揭示如上,然其并非用以限定本发明,任何所属技术领域中技术人员,在不脱离本发明的精神和范围内,当可作些许的更改与润饰,故本发明的保护范围当视权利要求所界定的为准。Although the present invention has been disclosed above with examples, it is not intended to limit the present invention. Any person skilled in the art can make some changes and modifications without departing from the spirit and scope of the present invention. Therefore, the present invention The scope of protection shall be subject to what is defined in the claims.
| Application Number | Priority Date | Filing Date | Title |
|---|---|---|---|
| CN201910926835.2ACN112584298B (en) | 2019-09-27 | 2019-09-27 | Correction system and correction method for signal measurement |
| Application Number | Priority Date | Filing Date | Title |
|---|---|---|---|
| CN201910926835.2ACN112584298B (en) | 2019-09-27 | 2019-09-27 | Correction system and correction method for signal measurement |
| Publication Number | Publication Date |
|---|---|
| CN112584298A CN112584298A (en) | 2021-03-30 |
| CN112584298Btrue CN112584298B (en) | 2022-08-02 |
| Application Number | Title | Priority Date | Filing Date |
|---|---|---|---|
| CN201910926835.2AActiveCN112584298B (en) | 2019-09-27 | 2019-09-27 | Correction system and correction method for signal measurement |
| Country | Link |
|---|---|
| CN (1) | CN112584298B (en) |
| Publication number | Priority date | Publication date | Assignee | Title |
|---|---|---|---|---|
| US7117145B1 (en)* | 2000-10-19 | 2006-10-03 | Lear Corporation | Adaptive filter for speech enhancement in a noisy environment |
| CN101926182A (en)* | 2008-01-31 | 2010-12-22 | 三菱电机株式会社 | Band-split time correction signal processing device |
| Publication number | Priority date | Publication date | Assignee | Title |
|---|---|---|---|---|
| LV14747B (en)* | 2012-04-04 | 2014-03-20 | Sonarworks, Sia | Method and device for correction operating parameters of electro-acoustic radiators |
| US10397039B2 (en)* | 2012-12-05 | 2019-08-27 | Origin Wireless, Inc. | Apparatus, systems and methods for fall-down detection based on a wireless signal |
| Publication number | Priority date | Publication date | Assignee | Title |
|---|---|---|---|---|
| US7117145B1 (en)* | 2000-10-19 | 2006-10-03 | Lear Corporation | Adaptive filter for speech enhancement in a noisy environment |
| CN101926182A (en)* | 2008-01-31 | 2010-12-22 | 三菱电机株式会社 | Band-split time correction signal processing device |
| Publication number | Publication date |
|---|---|
| CN112584298A (en) | 2021-03-30 |
| Publication | Publication Date | Title |
|---|---|---|
| KR101597752B1 (en) | Apparatus and method for noise estimation and noise reduction apparatus employing the same | |
| EP1804549A2 (en) | Signal processing system and method for calibrating channel signals supplied from an array of sensors having different operating characteristics | |
| US7991166B2 (en) | Microphone apparatus | |
| KR101601197B1 (en) | Apparatus for gain calibration of microphone array and method thereof | |
| US20200296534A1 (en) | Sound playback device and output sound adjusting method thereof | |
| US8280062B2 (en) | Sound corrector, sound measurement device, sound reproducer, sound correction method, and sound measurement method | |
| WO2009042385A1 (en) | Method and apparatus for generating an audio signal from multiple microphones | |
| US20230209258A1 (en) | Microphone system | |
| CN115412803A (en) | Audio signal compensation method and device, earphone, storage medium | |
| US7953229B2 (en) | Sound processor, sound reproducer, and sound processing method | |
| CN111968615A (en) | Noise reduction processing method and device, terminal equipment and readable storage medium | |
| CN105103219A (en) | Noise reduction method | |
| CN116782084A (en) | Audio signal processing method and device, earphone and storage medium | |
| TWI683534B (en) | Adjusting system and adjusting method thereof for equalization processing | |
| US10008997B2 (en) | Filter generator, filter generation method, and filter generation program | |
| TWI740206B (en) | Correction system and correction method of signal measurement | |
| CN112584298B (en) | Correction system and correction method for signal measurement | |
| JP2014164190A (en) | Signal processor, signal processing method and program | |
| EP3606092A1 (en) | Sound collection device and sound collection method | |
| CN115691532B (en) | Wind noise pollution range estimation method and suppression method, device, medium, and terminal | |
| CN114287137B (en) | Room calibration based on Gaussian distribution and K nearest neighbor algorithm | |
| TWI757873B (en) | Electronic apparatus and sound field balancing method thereof for dual-channel | |
| CN112584274B (en) | Adjusting system and adjusting method for equalization processing | |
| CN113825086B (en) | Electronic device and dual-track sound field balancing method thereof | |
| JP2012095254A (en) | Volume adjustment device, volume adjustment method, volume adjustment program and acoustic equipment |
| Date | Code | Title | Description |
|---|---|---|---|
| PB01 | Publication | ||
| PB01 | Publication | ||
| SE01 | Entry into force of request for substantive examination | ||
| SE01 | Entry into force of request for substantive examination | ||
| GR01 | Patent grant | ||
| GR01 | Patent grant |