Movatterモバイル変換


[0]ホーム

URL:


CN112415194A - Novel detection card and detection method for coronavirus - Google Patents

Novel detection card and detection method for coronavirus
Download PDF

Info

Publication number
CN112415194A
CN112415194ACN202011300928.3ACN202011300928ACN112415194ACN 112415194 ACN112415194 ACN 112415194ACN 202011300928 ACN202011300928 ACN 202011300928ACN 112415194 ACN112415194 ACN 112415194A
Authority
CN
China
Prior art keywords
layer
swab
sample
detection card
novel coronavirus
Prior art date
Legal status (The legal status is an assumption and is not a legal conclusion. Google has not performed a legal analysis and makes no representation as to the accuracy of the status listed.)
Granted
Application number
CN202011300928.3A
Other languages
Chinese (zh)
Other versions
CN112415194B (en
Inventor
胡飞
李文娜
邱笑违
董飒英
Current Assignee (The listed assignees may be inaccurate. Google has not performed a legal analysis and makes no representation or warranty as to the accuracy of the list.)
Beijing Lepu Diagnostics Technology Co Ltd
Original Assignee
Beijing Lepu Diagnostics Technology Co Ltd
Priority date (The priority date is an assumption and is not a legal conclusion. Google has not performed a legal analysis and makes no representation as to the accuracy of the date listed.)
Filing date
Publication date
Application filed by Beijing Lepu Diagnostics Technology Co LtdfiledCriticalBeijing Lepu Diagnostics Technology Co Ltd
Priority to CN202011300928.3ApriorityCriticalpatent/CN112415194B/en
Publication of CN112415194ApublicationCriticalpatent/CN112415194A/en
Application grantedgrantedCritical
Publication of CN112415194BpublicationCriticalpatent/CN112415194B/en
Activelegal-statusCriticalCurrent
Anticipated expirationlegal-statusCritical

Links

Images

Classifications

Landscapes

Abstract

Translated fromChinese

本发明涉及一种新型冠状病毒的检测卡片及检测方法,属于样本检测技术领域,包括处理层、固定层、传输测试层和显示层,所述处理层、固定层、传输测试层和显示层之间通过连接部自下往上依次堆叠连接,所述固定层上设置用于对样本拭子进行固定的压持机构,所述处理层上设置容纳腔,所述传输测试层上设置贯穿层体的传输部,所述压持机构位于容纳腔和传输部之间,安装在固定层上的样本拭子头部上方与传输部接触,头部下方与处理层的容纳腔接触,所述显示层上设置用于读取传输测试层数据的显示窗,用以解决现有技术中的新型冠状病毒检测效率低且易出现污染的技术问题。

Figure 202011300928

The invention relates to a novel coronavirus detection card and detection method, belonging to the technical field of sample detection, comprising a processing layer, a fixed layer, a transmission test layer and a display layer, wherein the processing layer, the fixed layer, the transmission test layer and the display layer are among the The connecting parts are stacked and connected in sequence from bottom to top, the fixing layer is provided with a pressing mechanism for fixing the sample swab, the processing layer is provided with a accommodating cavity, and the transmission test layer is provided with a through-layer body The transfer part, the pressing mechanism is located between the accommodating cavity and the transfer part, the top of the sample swab head mounted on the fixed layer is in contact with the transfer part, and the lower part of the head is in contact with the accommodating cavity of the treatment layer, and the display layer is in contact with the transfer part. A display window for reading and transmitting the test layer data is provided on the above, so as to solve the technical problems of low detection efficiency of the novel coronavirus in the prior art and easy occurrence of pollution.

Figure 202011300928

Description

Novel detection card and detection method for coronavirus
Technical Field
The invention relates to a novel detection card and a detection method for coronavirus, belonging to the technical field of sample detection.
Background
At present, rapid detection techniques including colloidal gold, fluorescent substances and other markers are widely used in point-of-care testing, field testing and home self-testing due to their advantages of simplicity, rapidness, sensitivity, economy and the like. The selection of the appropriate label plays an important role in the sensitivity of the whole experiment. The traditional markers include colloidal gold, nano-selenium, nano-carbon and the like, and the colloidal gold is the most commonly used. In recent years, the appearance of novel markers such as quantum dots, nanoenzymes and the like has further developed the rapid detection, and the gradual change from qualitative detection to quantitative detection in recent years is realized. And has been widely applied in the fields of medical detection, food quality monitoring, environmental monitoring, agriculture and animal husbandry, entry and exit inspection and quarantine, forensic case determination and the like.
The transmission pathway of the novel coronavirus (COVID-2019) is mainly respiratory droplet transmission and contact transmission, and the transmission pathways of aerosol, feces and mouth and the like are yet to be further defined. Therefore, the selection of a proper mode has significance for inhibiting the transmission and controlling the diffusion of the novel coronavirus detection in the environment, the human body and other infection sources.
The swab sample is widely applied to the detection process of the novel coronavirus 2019-nCOV, but in the prior art, the swab sample needs to be separately processed in the process of the novel coronavirus 2019-nCOV, the operation steps are more, pollution is easy to occur, and the method is contrary to the advantages of a rapid diagnostic reagent. Therefore, a new coronavirus 2019-nCOV detection card is needed to solve the problems encountered in the application of the rapid test field.
Disclosure of Invention
Aiming at the defects in the prior art, the invention provides a novel coronavirus detection card and a detection method, which are used for solving the technical problems that the novel coronavirus detection efficiency is low and pollution is easy to occur in the prior art.
The technical scheme for solving the technical problems is as follows: the utility model provides a novel coronavirus's detection card, includes processing layer, fixed bed, transmission test layer and demonstration layer, it connects to pile up in proper order from bottom to top through connecting portion between layer, fixed bed, transmission test layer and the demonstration layer to handle, set up on the fixed bed and be used for carrying out the pressure of fixing to the sample swab and hold the mechanism, it holds the chamber to handle to set up on the layer, set up the transmission portion that runs through a body on the transmission test layer, pressure is held the mechanism and is located and holds between chamber and the transmission portion, installs sample swab head top on the fixed bed and the contact of transmission portion, and the chamber contact that holds of head below and processing layer, it is used for reading the display window of transmission test layer data to set up on the demonstration layer.
On the basis of the technical scheme, the invention can be further improved as follows.
Further, the pressing and holding mechanism comprises an elastic sleeve buckle for fixing the head of the sample swab, a positioning channel and a head positioning hole, the elastic sleeve buckle is positioned between the head positioning hole and the positioning channel on the fixing layer, and the head positioning hole is superposed with the projections of the transmission part and the accommodating cavity in the vertical direction.
Furthermore, the base part and the fixed layer of the elastic sleeve buckle are integrally formed, the top part of the elastic sleeve buckle is a free end, the top part faces the positioning channel, the positioning channel is provided with a through hole, and the positioning channel extends to the base part of the elastic sleeve buckle.
Furthermore, the positioning channel is a stepped hole, the small hole is a rectangular hole for the sample swab rod to be embedded in, and the large hole is communicated with the small hole and the base of the elastic sleeve buckle.
Furthermore, the test paper is arranged on the front side of the transmission test layer and comprises a transmission part, a test part and a recovery part which are connected in sequence, a through connecting hole is formed in the transmission test layer, and the transmission part penetrates through the connecting hole and is exposed on the back side of the transmission test layer.
Furthermore, the transmission part is made of a material with high water absorption, and can be made of a polyester material, a glass fiber material or a porous material;
further, the testing part adopts a colloidal gold lateral chromatography structure, a fluorescence lateral chromatography structure, a quantum dot lateral chromatography mechanism, an enzymatic reaction longitudinal chromatography mechanism or a micro-channel siphon reaction structure;
further, the connecting part is arranged into a double-sided adhesive structure, a magnetic alignment adsorption structure or a rivet buckle structure;
further, the processing layer, the fixing layer, the transmission test layer and the display layer are made of hard paper, PET, PMMA or PP.
A method for detecting a novel coronavirus detection card comprises the following steps: s1: the processing layer and the fixing layer are assembled and installed through the connecting part to obtain a combined structure a; s2: the transmission test layer and the display layer are assembled and installed through the connecting part to obtain a combined structure b; s3: collecting a sample swab; s4, adding a sample swab processing solution into the accommodating cavity of the processing layer, and inserting the collected sample swab into the fixing layer of the combined structure a to obtain a combined structure c; s5: the bottom of the combined structure b is combined and installed with the combined structure c through the connecting part to obtain a combined structure d; s6: and (5) after the combined structure d is kept still for a set time, reading the detection result through a display window of the display layer.
Further, the specific method for inserting the sample swab into the fixing layer in step S4 is as follows: the head of the sample swab is inserted below the elastic buckle until the bottom of the head of the sample swab is embedded in the accommodating cavity of the processing layer, and the upper part of the head of the sample swab is exposed in the head positioning hole of the fixing layer.
Use of a novel coronavirus detection card for detecting an antigen in a sample swab of a novel coronavirus 2019-nCOV, wherein the sample swab is in the form of a throat swab or a nasal swab or a lower digestive tract swab or a gynecological swab sample, and the antigen is specifically an S protein or an N protein in the sample swab of the novel coronavirus 2019-nCOV.
The invention has the beneficial effects that: compared with the detection technology for the novel coronavirus in the prior art, the detection card has the advantages of low operation cost, high fault-tolerant rate, simplicity and quickness; by arranging the processing layer, the fixing layer, the transmission testing layer and the display layer, the process of rapid reaction is controlled finely and stably based on the structure of the unit layers, and the aim of effectively controlling the testing accuracy is fulfilled; the accommodating cavity is formed in the processing layer, the elastic sleeve buckle is arranged on the fixing layer, the connecting hole is formed in the transmission testing layer, the sample swab is skillfully fixed, a processing liquid supply space is provided for the reaction of the sample swab, and a series of operations of transmission, testing and display are finally realized, so that the novel coronavirus detection device is novel in structure and powerful in function, and the defects that the novel coronavirus detection efficiency is low and pollution is easy to occur in the prior art are overcome; according to the detection method, by respectively combining the layers and integrating the layers after installing the sample swabs, not only can quick detection be realized, but also the detection accuracy can be improved, and the detection method has the advantages of high efficiency and high accuracy; the detection card can meet the requirements of detecting sample swabs at different parts, can detect S protein or N protein of antigens in novel coronavirus, has diversified detection objects, and meets different requirements of users.
Drawings
FIG. 1 is a schematic diagram of an exploded structure of a detection card according to the present invention;
FIG. 2 is a schematic view of a processing layer structure of the detection card according to the present invention;
FIG. 3 is a schematic view of a fixing layer structure of the detection card of the present invention;
FIG. 4 is a schematic view of the reverse side of the transmission test layer of the test card of the present invention;
FIG. 5 is a schematic diagram of a transmission test layer structure of the test card according to the present invention;
FIG. 6 is a schematic diagram of a display layer structure of the detection card according to the present invention;
FIG. 7 is a schematic cross-sectional view of a test card according to the present invention.
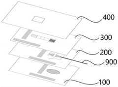
In the figure, 100 is a processing layer, 200 is a fixing layer, 300 is a transmission testing layer, 400 is a display layer, 500 is a recovery part, 600 is a testing part, 700 is a transmission part, 800 is a connecting part, 900 is a sample swab, 102 is a containing cavity, 203 is a positioning channel, 204 is an elastic sleeve fastener, 205 is a head positioning hole, 301 is a connecting hole, 401 is a display window.
Detailed Description
The principles and features of this invention are described below in conjunction with the following drawings, which are set forth by way of illustration only and are not intended to limit the scope of the invention.
A novel coronavirus detection card comprises aprocessing layer 100, afixing layer 200, atransmission test layer 300 and adisplay layer 400, wherein theprocessing layer 100, thefixing layer 200, thetransmission test layer 300 and thedisplay layer 400 are sequentially stacked and connected from bottom to top through a connectingpart 800, and theprocessing layer 100, thefixing layer 200, thetransmission test layer 300 and thedisplay layer 400 are made of hard paper, PET, PMMA or PP; the connectingpart 800 is arranged into a double-sided adhesive structure, a magnetic alignment adsorption structure or a rivet buckle structure; thefixing layer 200 is provided with a pressing and holding mechanism for fixing thesample swab 900, theprocessing layer 100 is provided with a containingcavity 102, the containingcavity 102 is semi-ellipsoidal, thetransmission testing layer 300 is provided with atransmission part 700 penetrating through the layer body, the pressing and holding mechanism is positioned between the containingcavity 102 and thetransmission part 700, thesample swab 900 mounted on thefixing layer 200 is in contact with thetransmission part 700 above the head part and in contact with the containingcavity 102 of theprocessing layer 100 below the head part, thedisplay layer 400 is provided with adisplay window 401 for reading data of thetransmission testing layer 300, and thedisplay window 401 is used for visual observation or machine interpretation.
The holding mechanism comprises anelastic sleeve 204 for fixing the head of thesample swab 900, apositioning channel 203 and ahead positioning hole 205, the position of theelastic sleeve 204 on thefixing layer 200 is between thehead positioning hole 205 and thepositioning channel 203, and thehead positioning hole 205 is coincident with the projection of thetransmission part 700 and the containingcavity 102 in the vertical direction. The base of theelastic buckle 204 is integrally formed with thefixing layer 200, the top of theelastic buckle 204 is a free end, and the top faces thepositioning channel 203, thepositioning channel 203 is a through hole penetrating through thefixing layer 200, and thepositioning channel 203 extends to the base of theelastic buckle 204. Thepositioning channel 203 is a stepped hole, the small hole is a rectangular hole for thesample swab 900 to be embedded in, the width of the rectangular hole is 1-5mm, the rectangular hole is used for limiting thesample swab 900, and the large hole is communicated with the small hole and the base of theelastic sleeve buckle 204.
The test paper is arranged on the front surface of thetransmission test layer 300 and comprises atransmission part 700, atest part 600 and arecovery part 500 which are connected in sequence, therecovery part 500 adopts a water-absorbing substance, athrough connection hole 301 is arranged on thetransmission test layer 300, and thetransmission part 700 is exposed on the back surface of thetransmission test layer 300 through theconnection hole 301. Thetransmission part 700 is made of a material with high water absorption, and can be made of a polyester material, a glass fiber material or a porous material; thetest part 600 adopts a colloidal gold lateral chromatography structure, a fluorescence lateral chromatography structure, a quantum dot lateral chromatography mechanism, an enzymatic reaction longitudinal chromatography mechanism or a micro-channel siphon reaction structure;
compared with the detection technology for the novel coronavirus in the prior art, the detection card has the advantages of low operation cost, high fault-tolerant rate, simplicity and quickness; by arranging theprocessing layer 100, thefixed layer 200, thetransmission test layer 300 and thedisplay layer 400, the process of rapid reaction is finely and stably controlled based on the structure of the unit layers, and the purpose of effectively controlling the test accuracy is achieved; through set up on theprocessing layer 100 and holdchamber 102, set upelasticity cover knot 204 on fixedlayer 200 and set up connectinghole 301 ontransmission test layer 300, ingeniously form and fixsample swab 900 and provide the processing liquid forsample swab 900's reaction and supply the space, finally realize a series of operations of transmission, test and demonstration, novel structure and powerful has solved the defect that the novel coronavirus detection efficiency that exists among the prior art is low and the easy pollution that appears.
The detection method of the novel coronavirus detection card comprises the following specific steps: s1: theprocessing layer 100 and thefixing layer 200 are assembled and installed through the connectingpart 800 to obtain an assembled structure a; s2: thetransmission test layer 300 and thedisplay layer 400 are assembled and mounted through theconnection part 800 to obtain a combined structure b; s3: collecting asample swab 900; s4, adding a sample swab processing solution into theaccommodating cavity 102 of theprocessing layer 100, and inserting the collectedsample swab 900 into thefixing layer 200 of the combined structure a to obtain a combined structure c, wherein the specific method for inserting thesample swab 900 into thefixing layer 200 comprises: the head of thesample swab 900 is inserted under theelastic cuff 204 until the bottom of the head of thesample swab 900 is embedded within thereceiving cavity 102 of thehandling layer 100, and the top of the head of thesample swab 900 is exposed in thehead positioning hole 205 of thesecuring layer 200; s5: the bottom of the combined structure b is combined and installed with the combined structure c through the connectingpart 800 to obtain a combined structure d; s6: after the combined structure d is kept still for a set time, the detection result is read by thedisplay window 401 of thedisplay layer 400, and the specific detection principle is as follows: during testing, 2019-nCOV antigen in thesample swab 900 is contacted with the treatment liquid in the containingcavity 102 and then is combined with anti-2019-nCOV antibody which is marked by colloidal gold on thetesting part 600 in advance through the siphonage of the conveyingpart 700, the combination moves to therecovery part 500 under the capillary effect and is then combined and captured by the antibody fixed on thetesting part 600, so that a mauve strip appears in thetesting part 600, if the sample is a negative sample, the mauve strip does not appear in the testing part 600M/G, and in addition, no matter whether the 2019-nCOV antibody exists in the sample or not, a mauve strip appears in the quality control area (C), and the mauve strip has the functions of judging whether the amount of the sample swab is enough or not and whether the chromatography process is normal or not and also serves as an internal control standard of a reagent.
The application of the detection card for the novel coronavirus 2019-nCOV can be used for detecting the antigen in a sample swab of the novel coronavirus 2019-nCOV, wherein the sample swab is in a form of a throat swab or a nose swab or a lower digestive tract swab or a gynecological swab sample, and the antigen is specifically the S protein or the N protein in the sample swab of the novel coronavirus 2019-nCOV.
Experimental data and analysis
Selecting experimental objects: randomly selecting 10 volunteer patients with novel coronavirus symptoms, wherein the patients are male and female and are aged randomly, and the patients are not subjected to drug treatment intervention and have no other basic diseases.
Control group: carrying out nucleic acid detection on 10 volunteers by adopting the prior art, and recording detection time and detection result data;
experimental group 1: collecting nasal swab samples from 10 volunteers, detecting S protein in the sample swabs by using the detection method of the detection card, and recording detection time and detection result data;
experimental group 2: collecting nasal swab samples from 10 volunteers, detecting N protein in the sample swabs by using the detection method of the detection card, and recording detection time and detection result data;
experimental group 3: collecting throat swab samples from 10 volunteers, detecting S protein in the sample swabs by adopting the detection method of the detection card, and recording detection time and detection result data;
experimental group 4: collecting throat swab samples from 10 volunteers, detecting N protein in the sample swabs by adopting the detection method of the detection card, and recording detection time and detection result data;
the detection results of the control group and the experimental groups 1 to 4 are collated to obtain the following table:
Figure BDA0002786882340000071
Figure BDA0002786882340000081
the total test times for each of the control and experimental groups 1-4 were collated to give the following table:
group nameControl groupExperimental group 1Experimental group 2Experimental group 3Experimental group 4
Total time of detection (minutes)12015151515
From the above data, the accuracy of the detection card and the detection method for detecting S protein or N protein of nasal swab or pharyngeal swab in the present invention is substantially consistent with that of the conventional nucleic acid detection technology, but the detection time is far beyond the efficiency of nucleic acid detection.
The above description is only for the purpose of illustrating the preferred embodiments of the present invention and is not to be construed as limiting the invention, and any modifications, equivalents, improvements and the like that fall within the spirit and principle of the present invention are intended to be included therein.

Claims (10)

Translated fromChinese
1.一种新型冠状病毒的检测卡片,其特征在于:包括处理层、固定层、传输测试层和显示层,所述处理层、固定层、传输测试层和显示层之间通过连接部自下往上依次堆叠连接,所述固定层上设置用于对样本拭子进行固定的压持机构,所述处理层上设置容纳腔,所述传输测试层上设置贯穿层体的传输部,所述压持机构位于容纳腔和传输部之间,安装在固定层上的样本拭子头部上方与传输部接触,头部下方与处理层的容纳腔接触。1. the detection card of a novel coronavirus, is characterized in that: comprise processing layer, fixed layer, transmission test layer and display layer, between described processing layer, fixed layer, transmission test layer and display layer, through connecting part from bottom The layers are stacked and connected in order, the fixing layer is provided with a pressing mechanism for fixing the sample swab, the processing layer is provided with a accommodating cavity, the transmission test layer is provided with a transmission part penetrating the layer body, the The pressing mechanism is located between the accommodating cavity and the transmission part, the top of the head of the sample swab mounted on the fixed layer is in contact with the transmission part, and the lower part of the head is in contact with the accommodating cavity of the treatment layer.2.根据权利要求1所述的一种新型冠状病毒的检测卡片,其特征在于:所述压持机构包括用于固定样本拭子头部的弹性套扣、定位通道和头部定位孔,所述弹性套扣在固定层上的位置处于头部定位孔和定位通道之间,所述头部定位孔与传输部和容纳腔在竖直方向的投影重合。2. The detection card of a new type of coronavirus according to claim 1, wherein the pressing mechanism comprises an elastic buckle for fixing the head of the sample swab, a positioning channel and a head positioning hole, so The position of the elastic sleeve buckle on the fixed layer is between the head positioning hole and the positioning channel, and the head positioning hole coincides with the vertical projection of the transmission part and the accommodating cavity.3.根据权利要求2所述的一种新型冠状病毒的检测卡片,其特征在于:所述弹性套扣的基部与固定层一体成型,该弹性套扣的顶部为自由端,且顶部朝向定位通道,所述定位通道设置为通孔,且该定位通道延伸至弹性套扣的基部。3. The detection card of a novel coronavirus according to claim 2, wherein the base of the elastic sleeve is integrally formed with the fixing layer, the top of the elastic sleeve is a free end, and the top faces the positioning channel , the positioning channel is set as a through hole, and the positioning channel extends to the base of the elastic sleeve buckle.4.根据权利要求3所述的一种新型冠状病毒的检测卡片,其特征在于:所述定位通道设置为阶梯孔,小孔设置为供样本拭子棒嵌入的矩形孔,大孔连通小孔与弹性套扣的基部。4. The detection card of a novel coronavirus according to claim 3, wherein the positioning channel is set as a stepped hole, the small hole is set as a rectangular hole for the sample swab stick to be embedded in, and the large hole communicates with the small hole Base with elastic snap closure.5.根据权利要求1-4任一所述的一种新型冠状病毒的检测卡片,其特征在于:,所述显示层上设置用于读取传输测试层数据的显示窗,所述传输测试层的正面安装试纸,所述试纸包括顺次连接的传输部、测试部和回收部,所述传输测试层上设置贯穿的连接孔,传输部穿过连接孔暴露于传输测试层的反面。5. The detection card of a novel coronavirus according to any one of claims 1-4, wherein the display layer is provided with a display window for reading transmission test layer data, and the transmission test layer is The test paper is installed on the front side of the test paper, the test paper includes a transmission part, a test part and a recovery part connected in sequence, a connecting hole is arranged on the transmission test layer, and the transmission part is exposed to the reverse side of the transmission test layer through the connection hole.6.根据权利要求5所述的一种新型冠状病毒的检测卡片,其特征在于:所述传输部采用吸水性高的材质,可以为聚酯材料、玻纤材料或多孔材料。6 . The novel coronavirus detection card according to claim 5 , wherein the transmission part is made of a material with high water absorption, which can be polyester material, glass fiber material or porous material. 7 .7.根据权利要求5所述的一种新型冠状病毒的检测卡片,其特征在于:所述测试部采用胶体金侧向层析结构、荧光侧向层析结构、量子点侧向层析机构、酶促反应纵向层析机构或微流道虹吸反应结构,所述连接部设置为双面胶粘结构、磁对位吸附结构或铆钉卡扣结构。7. the detection card of a kind of novel coronavirus according to claim 5, is characterized in that: described testing part adopts colloidal gold lateral chromatography structure, fluorescence lateral chromatography structure, quantum dot lateral chromatography mechanism, In the enzymatic reaction longitudinal chromatography mechanism or the micro-channel siphon reaction structure, the connecting part is set as a double-sided adhesive structure, a magnetic alignment adsorption structure or a rivet buckle structure.8.一种新型冠状病毒的检测卡片的检测方法,该检测卡片采用上述权利要求1-7任一所述的一种新型冠状病毒的检测卡片,其特征在于:该方法包括以下步骤:S1:将处理层和固定层通过连接部进行组合安装得到组合结构a;S2:将传输测试层和显示层通过连接部进行组合安装得到组合结构b;S3:采集样本拭子;S4:在处理层的容纳腔内加入样本拭子处理液,将采集的样本拭子插入得到组合结构a的固定层中得到组合结构c;S5:将组合结构b底部通过连接部与组合结构c进行组合安装得到组合结构d;S6:将组合结构d静置设定时间后,由显示层的显示窗读取检测结果。8. the detection method of the detection card of a novel coronavirus, this detection card adopts the detection card of a kind of novel coronavirus described in any one of the above claims 1-7, it is characterized in that: the method comprises the following steps: S1: Combining and installing the treatment layer and the fixed layer through the connecting part to obtain the combined structure a; S2: combining and installing the transmission test layer and the display layer through the connecting part to obtain the combined structure b; S3: collecting sample swabs; S4: in the processing layer Add the sample swab treatment solution into the accommodating cavity, insert the collected sample swab into the fixed layer of the combined structure a to obtain the combined structure c; S5: Assemble the bottom of the combined structure b through the connecting part and the combined structure c to obtain the combined structure d; S6: After the combined structure d is left for a set time, the detection result is read from the display window of the display layer.9.根据权利要求8所述的一种新型冠状病毒的检测卡片的检测方法,其特征在于:所述步骤S4中样本拭子插入固定层的具体方法为:样本拭子的头部插入弹性套扣下方至样本拭子头部的底部嵌入处理层的容纳腔内,样本拭子的头部上方暴露于固定层的头部定位孔中。9 . The method for detecting a novel coronavirus detection card according to claim 8 , wherein the specific method for inserting the sample swab into the fixed layer in the step S4 is: inserting the elastic sleeve into the head of the sample swab. 10 . The bottom of the head of the sample swab is embedded in the accommodating cavity of the treatment layer from the bottom of the buckle to the bottom of the head of the sample swab, and the upper part of the head of the sample swab is exposed in the head positioning hole of the fixing layer.10.一种新型冠状病毒的检测卡片的用途,该检测卡片采用上述权利要求1-7任一所述的一种新型冠状病毒的检测卡片,其特征在于,用于检测新型冠状病毒2019-nCOV的样本拭子中的抗原,该样本拭子形式为咽拭子或鼻拭子或下消化道拭子或妇科拭子样本,该抗原具体为新型冠状病毒2019-nCOV的样本拭子中的S蛋白或N蛋白。10. Use of a novel coronavirus detection card, the detection card adopts a novel coronavirus detection card according to any one of claims 1-7, characterized in that it is used to detect novel coronavirus 2019-nCOV The antigen in the sample swab of the sample, the sample swab is in the form of a throat swab or nasal swab or a lower gastrointestinal swab or a gynecological swab sample, and the antigen is specifically S in the sample swab of the new coronavirus 2019-nCOV protein or N protein.
CN202011300928.3A2020-11-192020-11-19Novel coronavirus detection card and detection methodActiveCN112415194B (en)

Priority Applications (1)

Application NumberPriority DateFiling DateTitle
CN202011300928.3ACN112415194B (en)2020-11-192020-11-19Novel coronavirus detection card and detection method

Applications Claiming Priority (1)

Application NumberPriority DateFiling DateTitle
CN202011300928.3ACN112415194B (en)2020-11-192020-11-19Novel coronavirus detection card and detection method

Publications (2)

Publication NumberPublication Date
CN112415194Atrue CN112415194A (en)2021-02-26
CN112415194B CN112415194B (en)2024-08-13

Family

ID=74773573

Family Applications (1)

Application NumberTitlePriority DateFiling Date
CN202011300928.3AActiveCN112415194B (en)2020-11-192020-11-19Novel coronavirus detection card and detection method

Country Status (1)

CountryLink
CN (1)CN112415194B (en)

Citations (7)

* Cited by examiner, † Cited by third party
Publication numberPriority datePublication dateAssigneeTitle
EP0712495A1 (en)*1993-08-021996-05-22Quidel CorporationLateral flow medical diagnostic assay device with sample extraction means
US5766962A (en)*1995-12-221998-06-16Universal Healthwatch, Inc.Device for collecting and testing samples
US20020085958A1 (en)*1999-05-242002-07-04Nemcek Thomas A.Apparatus for pretreating a sample containing an analyte
US20030129767A1 (en)*2001-05-182003-07-10Lorraine BautistaIn line test device and methods of use
US20140227796A1 (en)*2007-09-112014-08-14University Of Florida Research Foundation, Inc.Devices and methods for the collection and detection of substances
US20180339292A1 (en)*2015-11-262018-11-29Novamed Ltd.Assay device
US20200241020A1 (en)*2019-01-282020-07-30Becton, Dickinson And CompanyHazardous contaminant collection device with integrated swab and test device

Patent Citations (7)

* Cited by examiner, † Cited by third party
Publication numberPriority datePublication dateAssigneeTitle
EP0712495A1 (en)*1993-08-021996-05-22Quidel CorporationLateral flow medical diagnostic assay device with sample extraction means
US5766962A (en)*1995-12-221998-06-16Universal Healthwatch, Inc.Device for collecting and testing samples
US20020085958A1 (en)*1999-05-242002-07-04Nemcek Thomas A.Apparatus for pretreating a sample containing an analyte
US20030129767A1 (en)*2001-05-182003-07-10Lorraine BautistaIn line test device and methods of use
US20140227796A1 (en)*2007-09-112014-08-14University Of Florida Research Foundation, Inc.Devices and methods for the collection and detection of substances
US20180339292A1 (en)*2015-11-262018-11-29Novamed Ltd.Assay device
US20200241020A1 (en)*2019-01-282020-07-30Becton, Dickinson And CompanyHazardous contaminant collection device with integrated swab and test device

Also Published As

Publication numberPublication date
CN112415194B (en)2024-08-13

Similar Documents

PublicationPublication DateTitle
Ates et al.Integrated devices for non‐invasive diagnostics
US10156579B2 (en)Methods for the detection of analytes in small-volume blood samples
US20080286831A1 (en)Sample collector and tester
US7794656B2 (en)Device for handling and analysis of a biological sample
JP5033791B2 (en) Two-stage sidestream analysis method and equipment
JP6722699B2 (en) Biological sample collection and analysis device and method of using the same
JP2021047187A (en) Equipment and systems for collecting and analyzing vapor condensates, especially exhaled condensates, and how to use them.
US20090215159A1 (en)Device for handling and analysis of a biological sample
EP2874545B1 (en)Disposable test device
TW201903408A (en) Novel universal test system for quantitative analysis
CN102483399A (en) Handheld scanner system and method for reading point-of-care test results
CN103645314A (en)Test strip card capable of automatically filtering sample
CN113848323A (en)Column pushing type sampling detection integrated rapid detection structure and application thereof
US11493509B2 (en)Lateral flow assay for detecting multiple proteins of a pathogen
CN113740527A (en)Sampling and detection integrated rapid detection structure and application thereof
WO2021099677A1 (en)Device and method for detecting of brain injury in a subject
CN118858611A (en) A device for detecting an analyte in a liquid sample
CN216117640U (en)Sampling and detection integrated rapid detection structure
TWI223071B (en)Diagnostic device
CN112415194A (en)Novel detection card and detection method for coronavirus
CN206960361U (en) A sample detection device
US20230084255A1 (en)Test strip for detecting analyte in sample
US20220371015A1 (en)Sandwich immunoassay devices using antibodies specific to the exosomes containing target analytes
CN216209194U (en)Quick detection structure of integration is detected in sampling of post pushing-type
US20180355402A1 (en)Diagnostic strip for determining the amount of sarcosine, creatinine and hydrogen peroxide in a biological or environmental sample

Legal Events

DateCodeTitleDescription
PB01Publication
PB01Publication
SE01Entry into force of request for substantive examination
SE01Entry into force of request for substantive examination
GR01Patent grant
GR01Patent grant

[8]ページ先頭

©2009-2025 Movatter.jp