Movatterモバイル変換


[0]ホーム

URL:


CN112397167A - Mobile doctor workstation - Google Patents

Mobile doctor workstation
Download PDF

Info

Publication number
CN112397167A
CN112397167ACN202011361856.3ACN202011361856ACN112397167ACN 112397167 ACN112397167 ACN 112397167ACN 202011361856 ACN202011361856 ACN 202011361856ACN 112397167 ACN112397167 ACN 112397167A
Authority
CN
China
Prior art keywords
information
application front
hospital
data
medical
Prior art date
Legal status (The legal status is an assumption and is not a legal conclusion. Google has not performed a legal analysis and makes no representation as to the accuracy of the status listed.)
Withdrawn
Application number
CN202011361856.3A
Other languages
Chinese (zh)
Inventor
尹立志
姜锋
曹朝轮
杨毓伟
李佳
陈阳
Current Assignee (The listed assignees may be inaccurate. Google has not performed a legal analysis and makes no representation or warranty as to the accuracy of the list.)
WONDERS INFORMATION CO Ltd
Shanghai Fugao Computer Technology Co ltd
Original Assignee
WONDERS INFORMATION CO Ltd
Shanghai Fugao Computer Technology Co ltd
Priority date (The priority date is an assumption and is not a legal conclusion. Google has not performed a legal analysis and makes no representation as to the accuracy of the date listed.)
Filing date
Publication date
Application filed by WONDERS INFORMATION CO Ltd, Shanghai Fugao Computer Technology Co ltdfiledCriticalWONDERS INFORMATION CO Ltd
Priority to CN202011361856.3ApriorityCriticalpatent/CN112397167A/en
Publication of CN112397167ApublicationCriticalpatent/CN112397167A/en
Withdrawnlegal-statusCriticalCurrent

Links

Images

Classifications

Landscapes

Abstract

The invention provides a mobile doctor workstation which is characterized by comprising a system application front end, a network transmission platform and a data exchange platform, wherein the system application front end exchanges data with a hospital information system HIS established in a hospital through the network transmission platform and the data exchange platform. The invention effectively solves the problem that doctors are difficult to read and write medical records in different places, and simultaneously combines medical advice and reasonable medication when writing the medical advice to solve the problems of incomplete and inaccurate medical advice in the past, thereby ensuring the scientificity of medication. When making a ward round, the invention can record the point details of the patient's condition, and can record where the patient goes, thereby realizing zero omission of the patient's condition record and greatly improving the working efficiency of medical staff.

Description

Mobile doctor workstation
Technical Field
The invention relates to a mobile ward round system, and belongs to the technical field of medical and health information systems.
Background
Under traditional mode of seeking medical advice, when the doctor wants to look over patient's medical history, need a page of page carefully to browse the paper case history, both the time-wasting appears careless again easily. With the rapid development of hospitals and the continuous increase of business volume, doctors 'workstations and nurses' workstations are also on line in sequence in all hospitals. However, as the workload and complexity of ward management are increased, the response time to the patient's condition is higher than the original requirements, and these requirements make the original system and system structure unable to ensure smooth and delay-free ward management.
How to reduce the waiting time of patients without increasing medical staff is a very urgent problem, and the modernization process of hospitals is accelerated at present, so that each hospital can feel unprecedented pressure.
Disclosure of Invention
The purpose of the invention is: the working efficiency of medical staff is improved, and the time of patients waiting for treatment is reduced.
In order to achieve the above object, the technical solution of the present invention is to provide a mobile doctor workstation, which is characterized by comprising a system application front end, a network transmission platform and a data exchange platform, wherein the system application front end exchanges data with a hospital information system HIS established in a hospital through the network transmission platform via the data exchange platform, wherein:
the system application front end comprises a mobile equipment application front end, a fixed point application front end in a hospital and an external network application front end; the external network application front end, the mobile equipment application front end and the fixed point application front end in the hospital exchange data with a hospital information system HIS established in the hospital through a data exchange platform;
medical care personnel collect and record various physiological index data of patients in real time beside the patient bed through the application front end of the mobile equipment and then transmit the data to the application server and the database server in real time for processing; medical staff check, check and execute medical advice through the mobile equipment application front end, and check whether to take medicines and medicine execution conditions according to the classification of medical advice execution ways; when the medical advice is executed, the medical staff records the execution information of the medical advice through the mobile equipment application front end and stores the execution information in the database server, so that the medical staff can inquire the execution record of the medical advice through the mobile equipment application front end; medical care personnel scan wrist strap information of a patient through the mobile device application front end to obtain relevant patient information and corresponding medical advice information, identify two-dimensional codes on input liquid medicines or oral medicines through the mobile device application front end to obtain relevant medicine information, and check the patient information, the corresponding medical advice information and the corresponding medicine information through the mobile device application front end to prevent the occurrence of wrong medicine use; medical care personnel scan the wrist strap information of a patient through the application front end of the mobile equipment, then acquire the corresponding LIS specimen collection letter, and use the wrist strap and the test tube in cooperation with the related processing functions of medical advice execution and operation, confirm the patient information and the required test information through scanning the wrist strap and the test tube, prevent the occurrence of error extraction and omission, and simultaneously record the specimen collection time through the application front end of the mobile equipment; medical personnel carry out assessment work on admitted patients at the bedside through the application front end of the mobile equipment, implement basic nursing and recording on the admitted patients and the hospitalization period, automatically record and count the workload through the application server and the database server, process data in real time through the application server and the database server, and check examination application conditions, examination results and sample collection, execution states and examination results of examination items of the patients through the application front end of the mobile equipment; for a single sign inspection result, performing trend analysis by the application server; through calculation and statistical analysis, the application front end of the mobile equipment and the application front end of fixed points in a hospital provide various reports for medical personnel as diagnosis references;
the personal information, the medicine order information and the doctor order information of the patient are stored in a database on the application front end of the mobile equipment so as to achieve the purpose of data storage, and when relevant data are stored, different synchronization conditions are configured for different requirements, and the required data are stored on the application front end of the mobile equipment from a database server through a synchronization function;
the mobile device application front end and the fixed point application front end in the hospital read the personal information, the medicine order information and the doctor order information of the patient from the database server to the application program through the database query command, so that the medical staff can retrieve the data;
the data exchange platform performs data interaction with the application server and the database server, and the application server and the database server can expand the application front ends of any number of mobile devices and fixed point application front ends in a hospital.
Preferably, the mobile device application front end comprises a PDA or PAD held by a medical staff;
the front application end of the fixed point in the hospital comprises a doctor workstation, a nurse workstation, workstations of all examination laboratories, workstations of all pharmacies, workstations of all toll booths and workstations of all hospital and courtyard rooms;
the extranet application front end comprises a medical insurance application front end and a health management agency application front end.
Preferably, the data exchange platform uses an open interface protocol to access each subsystem established in the hospital.
Preferably, the application server and the database server adopt and inherit a user security mechanism and an authorization mechanism of the established hospital information system HIS, and authorize the user through an authorization program of the established hospital information system HIS without setting a new user name and password for the user.
Preferably, the network transmission platform includes an internal hospital local area network, a wide area network and a wireless local area network, wherein the application front end of the mobile device accesses the internal hospital local area network via the wireless local area network, the application front end of the fixed point in the hospital directly accesses the internal hospital local area network, and the application front end of the external network accesses the internal hospital local area network via the wide area network.
Preferably, when the medical staff searches the data, the medical staff can search the patient information, and the searched data comprises the hospitalization number, the name, the surname, the ward area and the hospitalization time of the patient; retrieving the medical advice information of the medicine, wherein the retrieved data comprises the name of the medicine, the opening time, the stopping time, the state, the specification, the unit, the frequency and the dosage; and retrieving doctor advice information, wherein the retrieved data comprises item names, opening time, execution time, stop time, states, lengths, types and urgency.
Preferably, the application front end of the mobile device can be used for realizing quick viewing of data, and the method comprises the following steps:
displaying all information through a data list box displayed at the bottom of the mobile equipment, and retrieving different data through a vertical scroll bar or retrieving detailed information of each piece of data through a horizontal scroll bar by medical personnel; and the detailed content of each piece of information is displayed through a display panel on the upper side of the data list box, and the medical staff clicks the piece of information to be checked, so that the detailed information appears on the display panel.
After the technical scheme provided by the invention is adopted, in any place covered by the wireless local area network of the hospital, medical staff can check and check the basic information of the patient in real time through the handheld PDA or PAD, and can mark the nursing grade of the patient, record the ward-round process and write medical advice in a remarkable way, and can display relevant information such as the state of illness, whether the patient is arrearage or not, whether the patient is operated or not on line, and the medical staff can also utilize the invention to browse medical records, check examination reports and the like on line. The invention effectively solves the problem that doctors are difficult to read and write medical records in different places, and simultaneously combines medical advice and reasonable medication when writing the medical advice to solve the problems of incomplete and inaccurate medical advice in the past, thereby ensuring the scientificity of medication. When making a ward round, the invention can record the point details of the patient's condition, and can record where the patient goes, thereby realizing zero omission of the patient's condition record and greatly improving the working efficiency of medical staff.
Drawings
FIG. 1 is a process of a doctor entering orders through a mobile device;
FIG. 2 is an intelligent entity architecture;
FIG. 3 is a mobile workstation system hierarchy.
Detailed Description
The invention will be further illustrated with reference to the following specific examples. It should be understood that these examples are for illustrative purposes only and are not intended to limit the scope of the present invention. Further, it should be understood that various changes or modifications of the present invention may be made by those skilled in the art after reading the teaching of the present invention, and such equivalents may fall within the scope of the present invention as defined in the appended claims.
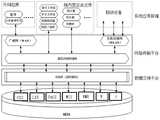
As shown in fig. 3, the mobile doctor workstation provided by the present invention includes a system application front end, a network transmission platform and a data exchange platform. The system application front end exchanges data with a hospital information system HIS established in a hospital through a data exchange platform via a network transmission platform, wherein:
the data exchange platform is used for providing the following services:
data interaction service among all sub databases of a hospital information system HIS established by a hospital;
data interaction service between a hospital information system HIS established by a hospital and clinical and mobile applications in a system application front end;
data interaction service between a hospital information system HIS established by a hospital and an in-hospital fixed point application in a system application front end;
data interaction service between a hospital information system HIS established by a hospital and an extranet application in a system application front end;
a hospital information system HIS established in a hospital is subjected to data interaction service with a front-end application after database service is added in the future.
The data exchange platform adopts an open interface protocol to perform seamless integration and connection on other subsequent systems of the hospital, such as HIS, LIS, PACS and EMR, and performs software staging implementation and maintenance and exhibition according to the needs of the hospital. The system provided by the invention adopts and inherits the user security mechanism and the authorization mechanism of the hospital information system HIS, authorizes the user through the authorization program of the hospital information system HIS, and does not need to set a new user name and a new password for the user.
The system provided by the invention adopts independent application servers and database servers, and can be expanded by any number of foreground workstations and mobile terminals. Desktop workstations and business servers need to access the existing network of the hospital and be able to interact with the existing HIS in real time.
The system application front end comprises a mobile equipment application front end, a fixed point application front end in a hospital and an external network application front end. The extranet application front end, the mobile equipment application front end and the fixed point application front end in the hospital exchange data with the hospital information system HIS established in the hospital through the data exchange platform. In this embodiment, the application front end of the mobile device is a PDA or PAD held by a medical staff.
Medical care personnel collect and record various indexes of the patient such as body temperature, pulse, respiration, blood pressure, input and output amount and the like in real time at the bedside of the patient through the PDA or PAD, and transmit the indexes to the application server and the database server in real time for processing (see figure 1).
Medical personnel can also check, examine and execute the relevant operations such as doctor's advice through handheld PDA or PAD to whether receive medicine, the medicine execution situation are checked according to doctor's advice execution route classification. When the medical orders are executed, information such as execution time of the medical orders and execution nurses is recorded, and effective data is provided for inquiry of the later medical order execution records (see fig. 1).
The identification two-dimensional code is attached to the liquid medicine input into the patient such as an infusion bag or the oral medicine input into the patient, medical staff can automatically check the patient, medical advice and the medicine by scanning the wrist strap information of the patient and the two-dimensional code information of the medicine bag through handheld PDA or PAD, and the condition of wrong medicine use is prevented. Wear in the wrist strap information of inpatient wrist through the discernment, combine LIS sample to adopt letter, the cooperation of the relevant processing function of medical advice execution, operation is used, through scanning wrist strap and inspection test tube, confirms patient's information and required inspection information, prevents to take out the mistake, misses the appearance and takes place, records sample acquisition time simultaneously.
The importance of bar code and RFID technology in hospital information systems is mainly reflected in: a large amount of patient diagnosis and treatment information, medicine information, specimen information and the like of a hospital need to be retrieved, input and identified every day in the diagnosis and treatment process; each patient will be involved with various medical, drug and cost information, and if the data processing results are finished only by manually judging the corresponding data, the efficiency is low and a large number of wrong judgments occur.
In order to avoid the occurrence of manual judgment errors and improve the working efficiency of hospitals, the wireless clinical information system constructs a main index of information through a one-dimensional bar code, a two-dimensional bar code and an FID (field fix) technology. The bar code scanning technology can not only quickly confirm the corresponding relation of the information, but also effectively put an end to the generation of errors caused by manual judgment.
As shown in fig. 3, the medical staff can carry out the evaluation work of the admitted patient at the bedside by holding the PDA or the PAD, the basic care is carried out and recorded during the admission and the hospitalization of the patient, and the system automatically records and counts the workload. Through the real-time processing to data, medical personnel can look over patient's inspection application condition, inspection result and the sample collection, execution state, inspection result etc. of inspection project. Trend analysis can be carried out on a single sign inspection result. The system is used for calculating and carrying out statistical analysis, and providing various reports such as a body temperature list, a nursing record list, a vital sign list and the like for medical personnel as diagnosis references.
The invention saves the personal information, the medicine order information and the doctor order (non-medicine order) information of the patient into the database on the PDA or the PAD so as to achieve the aim of data storage. Because it is not possible to store all the data on the PC on the mobile device due to the limited storage space on the PDA or PAD, different synchronization conditions can be configured for different needs, the required data being stored on the mobile device by the synchronization function. For example: the medical staff wants to make a visit to the fifth ward, the relevant conditions can be configured, and then the data meeting the conditions is transmitted through the synchronous server, so that the personal information, the medicine order information and the doctor order (non-medicine order) information of the fifth ward patient are stored on the PDA or the PAD.
The medical staff can also realize the information retrieval function through the PDA or the PAD. Reading the patient's personal information, medication order information and physician order information from the database into the application via a database query command to enable the user to retrieve data, including
Retrieving patient information:
the retrieved Mongolian data comprises the hospitalization number, name, surname, ward area and admission time of the patient.
Retrieving medication order information:
the retrieved data includes the name of the drug, the opening time, the stop time, the status, the specification, the unit, the frequency and the dosage.
Physician order information (non-medication order information) is queried:
the retrieved data includes project name, opening time, execution time, stop time, status, length, type and urgency.
Medical personnel can also look over the data fast through PDA or PAD, show all information through the data list box of equipment bottom, and medical personnel can retrieve different data through the vertical scroll bar, also can retrieve the detailed information of every data through the horizontal scroll bar. Because the size of the PDA or PAD is limited, each piece of data cannot be displayed completely, and thus a horizontal scroll bar needs to be dragged frequently to influence the speed of retrieving the data, the detailed content of each piece of information is displayed through the display panel on the upper side of the data list frame, so that a user only needs to click the piece of information to be checked, and the detailed information can appear on the display panel.
The invention authorizes medical and health personnel to carry out real-time inpatient information retrieval through mobile equipment/non-mobile equipment under certain environment, and marks the inpatient condition, the operation condition and whether the patient is in arrearage in a remarkable way, and checks the inspection report. During the ward round process, the invention can also carry out quick oral record on the inquiry notes, and can carry out image record on the traumatic illness state of the patient and the recovery process for the surgeon.
The mobile doctor workstation provided by the invention has the advantages of two aspects of application and technology:
first, application advantages
(1) Electronic medical record mobilization
Under traditional mode of seeking medical advice, when the doctor wants to look over patient's medical history, need a page of page carefully to browse the paper case history, both the time-wasting appears careless again easily. Through the mobile workstation provided by the invention, doctors can conveniently and quickly look up the patient information at any time and any place only by carrying the mobile tool, so that the workload of the doctors is reduced, and the occurrence of errors is avoided to the maximum extent.
All doctors using the mobile workstation do not need to be limited by medical data, and can quickly check the information of patients to carry out diagnosis and treatment activities by clicking the registered patients after logging in. Meanwhile, the problems of incomplete and inaccurate memory of past medical advice are effectively solved, the medical advice is combined with reasonable medicine application, and the scientificity of the medicine application is guaranteed.
Medical care personnel can visit the electronic medical record at any time and any place, timely record the relevant information of the patient and obtain complete diagnosis and treatment information.
(2) Efficiency and dynamics of hospital management are strengthened
The wireless clinical information system records medical information, medical treatment and charging processes of all links of a hospital in real time by using an efficient, real-time and mobile information processing mode, and a hospital manager can conveniently and accurately master all information of the hospital in time, so that a management layer can make decision judgment in real time according to conditions, an examination system of the hospital is perfected, and the hospital management efficiency and management strength are improved.
(3) Reducing medical errors and accidents
The method utilizes the one-dimensional bar code, the two-dimensional bar code and the RFID technology to mark and identify the medicine, the biochemical specimen, the equipment, the medical staff, the patient identity and other information, and the bar code scanning is carried out by utilizing the mobile equipment, so that the information corresponding relation can be rapidly confirmed, and the generation of manual judgment errors can be effectively avoided.
(4) The medical staff's working strength has been alleviateed, medical staff's work efficiency mobile device's application has been improved, makes medical staff can obtain and handle patient and diagnose information anytime and anywhere, has alleviateed medical staff's working strength and operating pressure greatly, has also comprehensively improved medical staff's each item work efficiency simultaneously.
Second, technical advantages
The invention is not limited by time and space, doctors can hold mobile tools to shuttle to each ward (ward) and can inquire information such as basic information, medical advice, medical record, examination/inspection report, clinical path, memo setting and the like of relevant patients in time, the doctors do not need manual operation as before, after mobile clinic is used, the doctors can conveniently search files, and the mobile clinic is only required to search the files in corresponding types, so that the working efficiency is improved and the errors are reduced.
The mobile ward round system is directly oriented to the front-line medical care personnel in the hospital information system, so that the factors of the advancement, the practicability, the reliability, the safety and the like of the selected technology must be ensured. The overall construction of the system provided by the invention mainly meets the actual requirements through the following 3 advanced technologies.
(1) Mobile computing technology
The mobile computing technology adopts intelligent computing terminal equipment to solve seamless access of different networks in a wireless environment, realizes mobile computing, data transmission and resource sharing, and provides timely and accurate information for any user at any time and any place.
(2) Intelligent pin
In order to meet the requirements of mobility and portability of practical application (as shown in fig. 1), technologies such as mobile computing, two-dimensional code and RFID scanning and imaging are combined, so that the mobile computing device not only has the functions of the traditional mobile computing device, but also supports the functions of one-dimensional bar code and RFID tag information acquisition, flexible voice and data communication, convenient wireless local area network synchronization and the like. In structural design, the novel multifunctional umbrella is small and light, has the characteristics of water resistance, dust resistance, falling resistance and the like, and can bear strict examination of daily use in various environments.
(3) Plug-in module technology
All the service support modules use open interfaces (as shown in fig. 3), so that access of various platforms can be realized, and any splicing can be performed.
Database services such as CIS, LIS, PACS, EMR and the like are contained in an HIS data center of a hospital, and in order to ensure modularization, compatibility and expansibility of a hospital information system, the difference of a hardware platform, the heterogeneity of an operating system, a network protocol and each system interface are shielded by adopting a plug-in technology, so that application software can run on different platforms relatively smoothly.
The system provided by the invention creates a good medical environment for academies and patients through a mobile computing technology, an intelligent recognition technology and a data fusion technology, reduces the labor intensity of medical care personnel, greatly promotes the digitization and informatization process of the whole hospital, and improves the overall service level and the economic and social benefits of the hospital.

Claims (7)

medical care personnel collect and record various physiological index data of patients in real time beside the patient bed through the application front end of the mobile equipment and then transmit the data to the application server and the database server in real time for processing; medical staff check, check and execute medical advice through the mobile equipment application front end, and check whether to take medicines and medicine execution conditions according to the classification of medical advice execution ways; when the medical advice is executed, the medical staff records the execution information of the medical advice through the mobile equipment application front end and stores the execution information in the database server, so that the medical staff can inquire the execution record of the medical advice through the mobile equipment application front end; medical care personnel scan wrist strap information of a patient through the mobile device application front end to obtain relevant patient information and corresponding medical advice information, identify two-dimensional codes on input liquid medicines or oral medicines through the mobile device application front end to obtain relevant medicine information, and check the patient information, the corresponding medical advice information and the corresponding medicine information through the mobile device application front end to prevent the occurrence of wrong medicine use; medical care personnel scan the wrist strap information of a patient through the application front end of the mobile equipment, then acquire the corresponding LIS specimen collection letter, and use the wrist strap and the test tube in cooperation with the related processing functions of medical advice execution and operation, confirm the patient information and the required test information through scanning the wrist strap and the test tube, prevent the occurrence of error extraction and omission, and simultaneously record the specimen collection time through the application front end of the mobile equipment; medical personnel carry out assessment work on admitted patients at the bedside through the application front end of the mobile equipment, implement basic nursing and recording on the admitted patients and the hospitalization period, automatically record and count the workload through the application server and the database server, process data in real time through the application server and the database server, and check examination application conditions, examination results and sample collection, execution states and examination results of examination items of the patients through the application front end of the mobile equipment; for a single sign inspection result, performing trend analysis by the application server; through calculation and statistical analysis, the application front end of the mobile equipment and the application front end of fixed points in a hospital provide various reports for medical personnel as diagnosis references;
CN202011361856.3A2020-11-272020-11-27Mobile doctor workstationWithdrawnCN112397167A (en)

Priority Applications (1)

Application NumberPriority DateFiling DateTitle
CN202011361856.3ACN112397167A (en)2020-11-272020-11-27Mobile doctor workstation

Applications Claiming Priority (1)

Application NumberPriority DateFiling DateTitle
CN202011361856.3ACN112397167A (en)2020-11-272020-11-27Mobile doctor workstation

Publications (1)

Publication NumberPublication Date
CN112397167Atrue CN112397167A (en)2021-02-23

Family

ID=74605486

Family Applications (1)

Application NumberTitlePriority DateFiling Date
CN202011361856.3AWithdrawnCN112397167A (en)2020-11-272020-11-27Mobile doctor workstation

Country Status (1)

CountryLink
CN (1)CN112397167A (en)

Cited By (1)

* Cited by examiner, † Cited by third party
Publication numberPriority datePublication dateAssigneeTitle
CN119763745A (en)*2024-12-182025-04-04黄锡川 A method for generating medical data based on OID

Cited By (1)

* Cited by examiner, † Cited by third party
Publication numberPriority datePublication dateAssigneeTitle
CN119763745A (en)*2024-12-182025-04-04黄锡川 A method for generating medical data based on OID

Similar Documents

PublicationPublication DateTitle
US5924074A (en)Electronic medical records system
US9639662B2 (en)Systems and methods for event stream platforms which enable applications
US8086468B2 (en)Method for computerising and standardizing medical information
US20130066655A1 (en)Method for Generating and Using a Portable Patient File
Choi et al.MobileMed: a PDA-based mobile clinical information system
US20040078236A1 (en)Storage and access of aggregate patient data for analysis
CN112802571A (en)Emergency treatment method and system based on RFID technology
US20240387027A1 (en)Tracking and quality assurance of pathology, radiology and other medical or surgical procedures
WO2015009550A1 (en)System and method for optimizing clinical flow and operational efficiencies in a network environment
NGUYEN et al.A web-based electronic medical records and hospital information system for developing countries
Mersini et al.APPification of hospital healthcare and data management using QRcodes
CN103839125A (en)Hospital information integration management platform system
CA2698937C (en)Software system for aiding medical practitioners and their patients
CN112397167A (en)Mobile doctor workstation
Mandell et al.Development of a visualization tool for healthcare decision-making using electronic medical records: a systems approach to viewing a patient record
US20240331845A1 (en)System and Method for Mapping a Patient Interaction/Information into a Visual Representation and Review Interface
US20090012819A1 (en)Systems and methods for electronic hospital form completion
Traina et al.Integrating images to patient electronic medical records through content-based retrieval techniques
ClassenInformation management in infectious diseases: survival of the fittest
CN112599228A (en)Intelligent shift switching method and system for medical institution
Wang et al.Architecture Design and Application Analysis of Mobile Nursing System Based on Mobile Terminale
Brady et al.Testing the Nation's Healthcare Information Infrastructure: NIST Perspective
AmanClinical information systems in private hospitals
Anju et al.Business process reengineering of the workflows in intensive care unit supported with a tablet pc based automation system
CN117912618A (en)Intelligent individual case management method based on big data

Legal Events

DateCodeTitleDescription
PB01Publication
PB01Publication
SE01Entry into force of request for substantive examination
SE01Entry into force of request for substantive examination
WW01Invention patent application withdrawn after publication
WW01Invention patent application withdrawn after publication

Application publication date:20210223


[8]ページ先頭

©2009-2025 Movatter.jp