Movatterモバイル変換


[0]ホーム

URL:


CN112376224A - Dispensing assembly, dispensing device, washing machine and washing agent dispensing method - Google Patents

Dispensing assembly, dispensing device, washing machine and washing agent dispensing method
Download PDF

Info

Publication number
CN112376224A
CN112376224ACN202010254730.XACN202010254730ACN112376224ACN 112376224 ACN112376224 ACN 112376224ACN 202010254730 ACN202010254730 ACN 202010254730ACN 112376224 ACN112376224 ACN 112376224A
Authority
CN
China
Prior art keywords
lotion
section
pipe
main
pipe section
Prior art date
Legal status (The legal status is an assumption and is not a legal conclusion. Google has not performed a legal analysis and makes no representation as to the accuracy of the status listed.)
Pending
Application number
CN202010254730.XA
Other languages
Chinese (zh)
Inventor
巫志远
王桑龙
戴文娟
Current Assignee (The listed assignees may be inaccurate. Google has not performed a legal analysis and makes no representation or warranty as to the accuracy of the list.)
Wuxi Little Swan Electric Co Ltd
Original Assignee
Wuxi Little Swan Electric Co Ltd
Priority date (The priority date is an assumption and is not a legal conclusion. Google has not performed a legal analysis and makes no representation as to the accuracy of the date listed.)
Filing date
Publication date
Application filed by Wuxi Little Swan Electric Co LtdfiledCriticalWuxi Little Swan Electric Co Ltd
Priority to CN202010254730.XApriorityCriticalpatent/CN112376224A/en
Priority to EP20928276.3Aprioritypatent/EP4092177B1/en
Priority to PCT/CN2020/097237prioritypatent/WO2021196417A1/en
Publication of CN112376224ApublicationCriticalpatent/CN112376224A/en
Pendinglegal-statusCriticalCurrent

Links

Images

Classifications

Landscapes

Abstract

Translated fromChinese

本发明公开了一种投放组件、投放装置、洗衣机及洗剂投放方法,投放组件包括:主管壳。主管壳具有进液端和出液端,水适于通过进液端流入主管壳内并从出液端流出,主管壳的侧壁上形成有进气口和一个吸入口,吸入口和进气口均位于进液端和出液端之间,洗剂适于通过吸入口流入主管壳内,气体适于通过进气口流入主管壳内。根据本发明实施例的用于投放洗剂的投放组件,可以使得洗剂在水流中充分溶解,可以提高洗剂的发泡效果,提高洗净效果,也可以减少残留洗剂的结块风险,从而可以降低管路的堵塞风险。并且,洗剂和气体分别由各自独立的通道进入主管壳内,降低气路的堵塞风险。

Figure 202010254730

The invention discloses an injecting component, an injecting device, a washing machine and a lotion injecting method. The injecting component comprises: a main tube shell. The main tube shell has a liquid inlet end and a liquid outlet end. Water is suitable for flowing into the main tube shell through the liquid inlet end and flowing out from the liquid outlet end. An air inlet and a suction port are formed on the side wall of the main tube shell. The ports are located between the liquid inlet end and the liquid outlet end, the lotion is suitable for flowing into the main pipe casing through the suction port, and the gas is suitable for flowing into the main pipe casing through the air inlet port. According to the feeding component for feeding lotion according to the embodiment of the present invention, the lotion can be fully dissolved in the water flow, the foaming effect of the lotion can be improved, the cleaning effect can be improved, and the agglomeration risk of the residual lotion can be reduced, Thereby, the risk of blockage of the pipeline can be reduced. In addition, the lotion and the gas enter into the main casing through their independent channels, reducing the risk of blockage of the gas path.

Figure 202010254730

Description

Dispensing assembly, dispensing device, washing machine and washing agent dispensing method
Technical Field
The invention relates to the technical field of washing electric appliances, in particular to a putting component, a putting device, a washing machine and a washing agent putting method.
Background
The washing machine puts in the lotion through adopting the device of putting in for the input of lotion is more convenient. However, the related art dispensing device has a problem that it cannot be dissolved quickly, resulting in poor cleaning. In addition, because the dissolving effect is poor, a large amount of residual caking of the lotion can exist, and the risk of pipeline blockage is caused.
Disclosure of Invention
The present invention is directed to solving at least one of the problems of the prior art. Therefore, one objective of the present invention is to provide a dispensing assembly for dispensing a lotion, which can make the lotion sufficiently dissolved in water flow, improve the cleaning effect, reduce the risk of caking of the residual lotion, reduce the risk of blocking the pipeline, and make the lotion and the gas respectively enter the main pipe shell through independent channels, thereby reducing the risk of blocking the air passage.
The invention further provides a throwing device with the throwing assembly.
The invention also provides a washing machine with the feeding device.
The invention also provides a washing agent feeding method of the washing machine.
A dispensing assembly for dispensing a lotion according to an embodiment of the first aspect of the present invention comprises: the main pipe shell is provided with a liquid inlet end and a liquid outlet end, water is suitable for flowing into the main pipe shell through the liquid inlet end and flowing out of the liquid outlet end, an air inlet and a suction inlet are formed in the side wall of the main pipe shell, the suction inlet and the air inlet are located between the liquid inlet end and the liquid outlet end, lotion is suitable for flowing into the main pipe shell through the suction inlet, and gas is suitable for flowing into the main pipe shell through the air inlet.
According to the dispensing assembly for dispensing the lotion, the air inlet is formed, so that air is introduced into the main pipe shell through the air inlet in the process that the lotion flows into the main pipe shell through the suction inlet, the lotion can be fully dissolved in water flow through the disturbance effect of the air, the foaming effect of the lotion can be improved, the cleaning effect can be improved, the caking risk of the residual lotion can be reduced, and the blocking risk of a pipeline can be reduced. And lotion and gas enter into the main pipe shell through independent passageways respectively for the letting in of lotion and gas does not influence each other, makes under the condition that does not wash, can not influence gaseous letting in because of the caking of lotion under the influence of air condenses, reduces the jam risk of gas circuit.
According to some embodiments of the present invention, the main pipe shell is a venturi pipe, the main pipe shell comprises a first pipe section, a second pipe section and a third pipe section which are connected in sequence, a flow area of the second pipe section is smaller than a flow area of the first pipe section and smaller than a flow area of the third pipe section, the liquid inlet end is located in the first pipe section, the liquid outlet end is located in the third pipe section, the suction inlet is formed in the first pipe section or the second pipe section, and the gas inlet is formed in the first pipe section or the second pipe section.
According to some embodiments of the invention, the air inlet and the suction inlet are spaced apart.
According to some embodiments of the invention, the air inlet and the suction inlet are disposed adjacent.
According to some alternative embodiments of the invention, the suction inlet and the gas inlet are both formed in the first tube section.
According to some alternative embodiments of the invention, the suction inlet is formed in the first tube section and the gas inlet is formed in the second tube section.
According to some embodiments of the invention, an inner tube is disposed within the main tube shell, the inner tube having an inlet and an outlet, the inlet being adjacent the inlet end, water being adapted to flow into the inner tube through the inlet and out of the outlet into the main tube shell.
According to some alternative embodiments of the invention, a flow space is defined between an outer sidewall of the inner tube and an inner sidewall of the main shell, the suction port is formed on an outer sidewall of the flow space, and the intake port is formed on an outer sidewall of the flow space or downstream of the flow space.
Optionally, the cross-section of the flow space is annular extending around the inner tube.
In some alternative embodiments of the invention, the inner tube comprises a main body section and a compression section connected to each other, the inlet is formed in the main body section, the outlet is formed in the compression section, and the flow area of the compression section is smaller than that of the main body section.
Optionally, the suction inlet and the gas inlet are both located upstream of the compression section.
In some optional embodiments of the invention, the inner tube comprises a connecting section connecting the main body section and the compression section, an outer side wall of the connecting section extends obliquely towards a direction adjacent to a central axis of the main tube shell in a direction from the main body section to the compression section, a minimum flow area of the connecting section is not smaller than a flow area of the compression section, and the suction port and the air inlet are both located upstream of the connecting section.
According to some optional embodiments of the present invention, the main pipe shell is a venturi tube, the main pipe shell comprises a first pipe section, a second pipe section and a third pipe section which are connected in sequence, a flow area of the second pipe section is smaller than a flow area of the first pipe section and smaller than a flow area of the third pipe section, the liquid inlet end is located in the first pipe section, the liquid outlet end is located in the third pipe section, the inner pipe is arranged in the first pipe section, the flow space is defined between an outer side wall of the inner pipe and an inner side wall of the first pipe section, the outlet is adjacent to the second pipe section, and the gas inlet is formed on an outer side wall of the flow space or the gas inlet is formed on the second pipe section.
According to some embodiments of the invention, a control valve for opening and closing the air inlet is provided at the air inlet.
According to some optional embodiments of the present invention, the main pipe shell is a venturi tube, the main pipe shell includes a first pipe section, a second pipe section and a third pipe section which are connected in sequence, a flow area of the second pipe section is smaller than a flow area of the first pipe section and smaller than a flow area of the third pipe section, the liquid inlet end is located in the first pipe section, the liquid outlet end is located in the third pipe section, the suction inlet is formed in the first pipe section or the second pipe section, the air inlet is formed in the first pipe section or the second pipe section, the control valve is a check valve, and the check valve is in one-way communication in a direction from the air inlet to an inner cavity of the main pipe shell.
A dispensing device for dispensing a lotion according to an embodiment of a second aspect of the present invention comprises: a launch assembly according to the embodiment of the first aspect of the present invention; the lotion storage box is arranged on the outer side of the main pipe shell and connected with the main pipe shell, the inner cavity of the lotion storage box is communicated with the suction inlet, and lotion in the lotion storage box is suitable for flowing into the main pipe shell through the suction inlet.
According to the dispensing device for dispensing the lotion, the dispensing component is arranged, so that the lotion can be fully dissolved in water flow, the foaming effect of the lotion can be improved, the cleaning effect can be improved, the caking risk of the residual lotion can be reduced, and the blocking risk of a pipeline can be reduced. And lotion and gas enter into main pipe shell through independent passageway respectively for under the condition that does not wash, can not influence gaseous the letting in because of the caking of lotion under the influence of air condenses, reduce the jam risk of gas circuit.
A washing machine according to an embodiment of a third aspect of the present invention includes: a washing tub; the dispensing device is the dispensing device according to the embodiment of the second aspect of the invention, and is suitable for dispensing the washing agent into the washing barrel, and the liquid outlet end is communicated with the washing barrel.
According to the washing machine provided by the embodiment of the invention, by arranging the feeding device, the lotion can be fully dissolved in water flow, the foaming effect of the lotion can be improved, the cleaning effect can be improved, and the caking risk of the residual lotion can be reduced, so that the blocking risk of a pipeline can be reduced, and the lotion and gas respectively enter the main pipe shell through independent channels, so that the blocking risk of an air path is reduced.
The lotion dispensing method for a washing machine according to the fourth aspect of the present invention is characterized in that the washing machine includes a dispensing device for dispensing lotion into a washing tub of the washing machine, the dispensing device includes a dispensing module and a lotion storage box, the dispensing module includes a main pipe shell, the main pipe shell has a liquid inlet end and a liquid outlet end, the liquid outlet end is communicated with the washing tub, water is adapted to flow into the main pipe shell through the liquid inlet end and flow out from the liquid outlet end, a side wall of the main pipe shell is formed with an air inlet and a suction inlet, the suction inlet and the air inlet are both located between the liquid inlet end and the liquid outlet end, gas is adapted to flow into the main pipe shell through the air inlet, the lotion storage box is disposed outside the main pipe shell and is connected with the main pipe shell, and an inner cavity of the lotion storage box is communicated with the suction inlet, the lotion in the lotion storage box is suitable for flowing into the main pipe shell through the suction inlet, and the lotion delivery method comprises the following steps: firstly, controlling water to flow into the main pipe shell through the liquid inlet end; and then the lotion is controlled to flow into the main pipe shell from the suction inlet and the gas flows into the main pipe shell from the gas inlet respectively.
According to the washing agent feeding method of the washing machine, in the process that the washing agent flows into the main pipe shell through the suction inlet, the air is introduced into the main pipe shell through the air inlet, so that the washing agent can be fully dissolved in water flow, the foaming effect of the washing agent can be improved, the washing effect can be improved, the caking risk of the residual washing agent can be reduced, and the blocking risk of a pipeline can be reduced. And through control, the lotion and the gas enter the main pipe shell after the water flow enters the main pipe shell, so that the lotion and the gas can contact the water flow from the beginning, the lotion is not excessively accumulated in the pipeline, the lotion dissolving effect can be further improved, and the risk of caking of the lotion residue and the risk of pipeline blockage are further reduced.
Additional aspects and advantages of the invention will be set forth in part in the description which follows and, in part, will be obvious from the description, or may be learned by practice of the invention.
Drawings
The above and/or additional aspects and advantages of the present invention will become apparent and readily appreciated from the following description of the embodiments, taken in conjunction with the accompanying drawings of which:
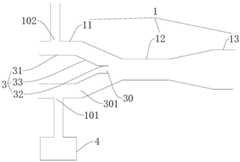
FIG. 1 is a partially schematic illustration of a dispensing device according to some embodiments of the invention;
figure 2 is a partially schematic illustration of a dispensing device according to further embodiments of the present invention.
Reference numerals:
amain pipe shell 1; asuction port 101; anair inlet 102; afirst pipe section 11; asecond tube section 12; athird tube section 13;
an inner tube 3; anoutlet 30; amain body section 31; acompression section 32; a connecting section 33; aflow space 301;
alotion storage box 4.
Detailed Description
Reference will now be made in detail to embodiments of the present invention, examples of which are illustrated in the accompanying drawings, wherein like or similar reference numerals refer to the same or similar elements or elements having the same or similar function throughout. The embodiments described below with reference to the accompanying drawings are illustrative only for the purpose of explaining the present invention, and are not to be construed as limiting the present invention.
A dispensing assembly for dispensing lotion according to an embodiment of the present invention is described below with reference to fig. 1-2.
As shown in fig. 1 and 2, a dispensing assembly for dispensing a lotion according to an embodiment of the first aspect of the present invention comprises: amain housing 1. Themain pipe shell 1 is provided with a liquid inlet end and a liquid outlet end, water is suitable for flowing into themain pipe shell 1 through the liquid inlet end and flowing out of the liquid outlet end, the side wall of themain pipe shell 1 is provided with anair inlet 102 and asuction inlet 101, theair inlet 102 and thesuction inlet 101 can be arranged at intervals, thesuction inlet 101 and theair inlet 102 are both positioned between the liquid inlet end and the liquid outlet end, lotion is suitable for flowing into themain pipe shell 1 through thesuction inlet 101, gas is suitable for flowing into themain pipe shell 1 through theair inlet 102, and the gas entering from theair inlet 102 can be air.
The negative pressure generated by the flow of water in themain pipe case 1 can be used as a driving force to suck lotion into themain pipe case 1 through thesuction port 101, for example, themain pipe case 1 can be a venturi tube. The lotion can be sucked into themain pipe casing 1 through thesuction port 101 by the pumping action of the pump using the pump or the like as power. Alternatively, when themain tube housing 1 is a venturi tube, the lotion is sucked into themain tube housing 1 through thesuction port 101 by the negative pressure generated by the flow of the water flow in themain tube housing 1 and the suction action of the pump.
The negative pressure created by the flow of water in themain vessel shell 1 can be used as a driving force to cause gas to be drawn into themain vessel shell 1 through thegas inlet 102, for example themain vessel shell 1 can be a venturi tube. It is also possible to use a pump, a fan, or the like as power, and to cause gas to be sucked into the maintubular housing 1 through thegas inlet 102 by the suction action of the pump or the fan. Alternatively, when themain tube housing 1 is a venturi tube, the gas is sucked into themain tube housing 1 through thegas inlet 102 by using both the negative pressure generated by the flow of the water flow in themain tube housing 1 and the suction action of the pump or the blower.
Therefore, when the putting assembly is used for the putting device of the washing machine, the putting device can put the washing agent into the washing barrel of the washing machine. In the process of putting the lotion by using the putting component, water enters themain pipe shell 1 through the liquid inlet end of themain pipe shell 1, the lotion sucked by thesuction inlet 101 and the gas sucked by thegas inlet 102 also enter themain pipe shell 1, and the gas, the water and the lotion are mixed in themain pipe shell 1, so that the lotion is fully dissolved, and the fully dissolved lotion flows into a washing barrel of the washing machine through the liquid outlet end. Therefore, after the lotion enters themain pipe shell 1, the lotion is dissolved in the water flow in themain pipe shell 1, and at the same time, because the air enters themain pipe shell 1, the dissolution of the lotion can be promoted through the sufficient mixing of the air, the water and the lotion, for example, when the lotion is a detergent, the foaming effect of the lotion can be improved, the foam after foaming is more fine, and the cleaning effect is improved.
In the process of using the dosing assembly to dose the lotion, the lotion can be supplied first and then the gas can be supplied, the gas can be supplied first and then the lotion can be supplied, or the lotion and the gas can be alternately supplied. The water flow in themain pipe casing 1 may be opened before, after, or during the administration of the gas and the detergent, or the water flow in themain pipe casing 1 may be alternated with the administration of the gas and the detergent. Wherein, the rivers in being responsible forshell 1 are opened before the input of gas and lotion, and lotion and gas can just contact rivers from the beginning like this, and make lotion not too much accumulation in the pipeline for lotion dissolves abundant, even, reduces and remains the caking risk, thereby reduces the pipeline and blocks up the risk.
The lotion comprises detergent, softener, disinfectant and the like, namely the lotion generally refers to additives for putting in a laundry process. When the washing machine is in a washing stage, the detergent can enter themain pipe shell 1 through thesuction inlet 101, and the gas can enter themain pipe shell 1 through thegas inlet 102, so that the detergent can be fully dissolved, the foaming effect of the detergent is improved, and the cleaning effect is improved; when the washing machine is in a rinsing stage, the softener and the disinfectant can enter themain pipe shell 1 through thesuction inlet 101, and the gas can enter themain pipe shell 1 through thegas inlet 102, so that the softener and the disinfectant can be fully dissolved, the hand feeling is improved, and the disinfection rate is improved. After the washing and rinsing phases of the washing machine, a water flow may be sucked through thesuction port 101 to flush thesuction port 101 after the corresponding detergent is put in.
Because the dispensing assembly can fully dissolve the lotion in water, the lotion can play a more sufficient role in the washing process, for example, the cleaning effect can be improved, the hand feeling can be improved, and the disinfection rate can be improved.
Alternatively, theair inlet 102 and thesuction port 101 are disposed adjacently, and by disposing theair inlet 102 and thesuction port 101 adjacently, the lotion and the air can be contacted and sufficiently mixed in a short time after entering themain casing 1, so that the dissolving effect and the foaming effect of the lotion can be further improved.
In addition, because gas enters themain pipe shell 1 through thegas inlet 102, the lotion enters themain pipe shell 1 through thesuction inlet 101, thegas inlet 102 and thesuction inlet 101 are independent of each other, and the lotion and the gas enter themain pipe shell 1 through independent channels respectively, so that the introduction of the lotion and the gas is not influenced by each other, the introduction of the gas cannot be influenced due to the agglomeration and the condensation of the lotion under the influence of the air under the condition of no flushing, and the risk of gas path blockage is reduced.
According to the dispensing assembly for dispensing the lotion, theair inlet 102 is arranged, so that air is introduced into themain pipe shell 1 through theair inlet 102 in the process that the lotion flows into themain pipe shell 1 through thesuction inlet 101, the lotion can be fully dissolved in water flow through the disturbance effect of the air, the foaming effect of the lotion can be improved, the cleaning effect can be improved, the caking risk of the residual lotion can be reduced, and the blocking risk of a pipeline can be reduced. And, lotion and gas are respectively by independent passageway enteringmain tube shell 1 for the letting in of lotion and gas does not influence each other, makes under the condition that does not wash, can not influence gaseous letting in because of the caking of lotion under the influence of air condenses, reduces the jam risk of gas circuit.
According to some embodiments of the present invention, referring to fig. 1 and 2, themain pipe shell 1 is a venturi tube, themain pipe shell 1 includes afirst pipe segment 11, asecond pipe segment 12 and athird pipe segment 13 which are connected in sequence, the flow area of thesecond pipe segment 12 is smaller than the flow area of thefirst pipe segment 11 and smaller than the flow area of thethird pipe segment 13, the liquid inlet end is located in thefirst pipe segment 11, the liquid outlet end is located in thethird pipe segment 13, thesuction inlet 101 is formed in thefirst pipe segment 11 or thesecond pipe segment 12, and thegas inlet 102 is formed in thefirst pipe segment 11 or thesecond pipe segment 12. By arranging themain pipe shell 1 as a venturi tube, water flows into thefirst pipe section 11 through the liquid inlet end and then flows through thesecond pipe section 12 and thethird pipe section 13 in sequence, and as the flow area of thesecond pipe section 12 is small, large negative pressure can be generated in the process that water flows through thesecond pipe section 12.
When thesuction port 101 is formed in thefirst pipe segment 11 or thesecond pipe segment 12, the above-described negative pressure effect can be utilized to suck the lotion into themain pipe housing 1 through thesuction port 101. When thegas inlet 102 is formed in thefirst pipe segment 11 or thesecond pipe segment 12, the above-described negative pressure effect can be utilized, so that gas is sucked into themain pipe casing 1 through thegas inlet 102. Wherein, both the lotion and the gas can enter themain pipe shell 1 only through the negative pressure; alternatively, the gas enters themain casing 1 by the above-mentioned negative pressure, and the lotion enters themain casing 1 mainly by the pumping action of the pump.
In addition, in the process of mixing the detergent, the gas and the water flow in thesecond pipe section 12, since the flow area of thesecond pipe section 12 is small, the water flow speed is increased, and the turbulent motion effect is good, the mixing effect is good, the dissolving effect and the foaming effect of the detergent can be further improved, and the cleaning effect can be improved.
According to some alternative embodiments of the present invention, referring to fig. 1, thesuction inlet 101 and thegas inlet 102 are both formed in thefirst pipe section 11. Therefore, the lotion enters thefirst pipe section 11 through thesuction inlet 101 and the gas enters thefirst pipe section 11 through thegas inlet 102, the gas and the lotion can be preliminarily mixed with water flow in thefirst pipe section 11, then the lotion and the gas flow to thesecond pipe section 12 along with the water flow, so that before the gas and the lotion flow to thesecond pipe section 12, the gas and the lotion can be premixed with the water flow in thefirst pipe section 11, when the lotion and the gas flow to thesecond pipe section 12 along with the water flow, the flow area of thesecond pipe section 12 is reduced, the water flow speed is increased, the turbulent flow effect is good, the mixing effect is enhanced, more fine foams are generated, the Reynolds number can reach more than 10000, the dissolving effect and the foaming effect of the lotion can be better improved, the cleaning effect is better improved, and more than 10% of the lotion can be saved under the same cleaning and decontamination requirements.
According to some alternative embodiments of the invention, referring to fig. 2, asuction opening 101 is formed in thefirst pipe section 11, and lotion is sucked into thefirst pipe section 11 through thesuction opening 101 and then flows into thesecond pipe section 12 with the water flow, and the lotion can be premixed with the water flow before flowing into thesecond pipe section 12. Theair inlet 102 is formed in thesecond pipe section 12, and the air enters thesecond pipe section 12 from theair inlet 102, and the lotion flowing into thesecond pipe section 12 along with the water flow is mixed with the air in thesecond pipe section 12, and meanwhile, because the flow area of thesecond pipe section 12 is reduced, the water flow speed is increased, the turbulent motion effect is good, so that the mixing effect is enhanced, more fine foams are generated, the dissolving effect and the foaming effect of the lotion can be better improved, and the cleaning effect is better improved.
According to some embodiments of the invention, referring to fig. 1 and 2, an inner tube 3 is provided within themain vessel shell 1, the inner tube 3 having an inlet adjacent the inlet end and anoutlet 30, water being adapted to flow into the inner tube 3 through the inlet and out of theoutlet 30 into themain vessel shell 1. Wherein, water can directly flow into the inner tube 3 through the inlet, and water also can flow into the liquid inlet end firstly and then flows into the inner tube 3 through the inlet of the inner tube 3. From this, through being equipped with inner tube 3 in being responsible forshell 1, and make rivers flow in inner tube 3, because the cross-sectional area of inner tube 3 can be less thanmain pipe shell 1's cross-sectional area, thereby can increase the velocity of flow of rivers, the velocity of flow can increase after the inner tube 3 is flowed through to the rivers, rivers can be with higher velocity of flow blowout from theexport 30 of inner tube 3, strengthen the impact effect of rivers, make water, lotion and gas three intensive mixing, the foaming, and then can further improve the dissolution effect and the foaming effect of lotion, improve the washing effect.
According to some alternative embodiments of the present invention, referring to fig. 1 and 2, aflow space 301 is defined between an outer side wall of the inner pipe 3 and an inner side wall of themain pipe casing 1, thesuction port 101 is formed on an outer side wall of theflow space 301, and thegas inlet 102 is formed on an outer side wall of theflow space 301 or thegas inlet 102 is located downstream of the flow space 301 (the term "thegas inlet 102 is located downstream of theflow space 301" means that thegas inlet 102 is located downstream outside theentire flow space 301, with respect to the flow direction of the water flow). Therefore, when thesuction port 101 and thegas inlet 102 are both formed on the outer side wall of theflow space 301, the lotion can firstly enter theflow space 301 through thesuction port 101 and thegas inlet 102, so that the lotion and the gas are fully mixed before contacting with the water flow, and the lotion and the gas are fully mixed in theflow space 301 and then contact with the water flow, thereby further improving the dissolution effect and the foaming efficiency of the lotion and further improving the cleaning effect; when thesuction port 101 is formed on the outer side wall of theflow space 301 and theair inlet 102 is located at the downstream of theflow space 301, the lotion enters theflow space 301 from thesuction port 101 and flows to the downstream part of themain casing 1 located in theflow space 301, and is mixed with the water flow and the air entering from theair inlet 102, so that the water, the lotion and the air are mixed and foamed, and further, the dissolving effect and the foaming effect of the lotion can be improved, and the cleaning effect is improved.
Optionally, the cross-section of theflow space 301 is annular extending around the inner tube 3. Thereby, theflow space 301 is made large, so that the lotion and the gas can be sufficiently mixed in theflow space 301.
In some alternative embodiments of the present invention, referring to fig. 1 and 2, the inner tube 3 comprises amain body section 31 and acompression section 32 connected together, thecompression section 32 may be a tube section with a uniform inner diameter, the inlet is formed in themain body section 31, theoutlet 30 is formed in thecompression section 32, and the flow area of thecompression section 32 is smaller than that of themain body section 31. From this, at the in-process of rivers flow through inner tube 3, rivers pass through the in-process ofcompression section 32, and rivers can further be accelerated to make rivers can be fromexport 30 blowout with higher speed, further increase the impact force of rivers, further make water, lotion and gas intensive mixing, foaming, and then can further improve the dissolving effect and the foaming effect of lotion, improve the washing effect.
Alternatively, referring to fig. 1, thesuction port 101 and theintake port 102 are both located upstream of the compression section 32 (the phrase "thesuction port 101 and theintake port 102 are both located upstream of thecompression section 32" means that thesuction port 101 and theintake port 102 are both located upstream of theentire compression section 32, with respect to the flow direction of the water flow). Thereby, a certain distance is provided between thesuction port 101 and thegas inlet 102 and theoutlet 30 of the inner tube 3, so that the lotion and the gas can be mixed with sufficient space and time before the lotion and the gas contact the water flow after the lotion and the gas enter theflow space 301 through thesuction port 101 and thegas inlet 102, respectively.
In some alternative embodiments of the present invention, referring to fig. 1, the inner tube 3 includes a connecting section 33, the connecting section 33 connects themain body section 31 and thecompression section 32, an outer side wall of the connecting section 33 extends obliquely toward a direction adjacent to a central axis of themain tube shell 1 in a direction from themain body section 31 to thecompression section 32, a minimum flow area of the connecting section 33 is not smaller than a flow area of thecompression section 32, and thesuction port 101 and theintake port 102 are both located upstream of the connecting section 33 (the "suction port 101 and theintake port 102 are both located upstream of the connecting section 33" means that thesuction port 101 and theintake port 102 are both located upstream outside the entire connecting section 33, the upstream being with respect to a flow direction of the water flow). Thus, the change in the flow area between themain body segment 31 and thecompression segment 32 is alleviated by the provided connection segment 33, and the flow loss can be reduced. Also, since thesuction inlet 101 and thegas inlet 102 are both located upstream of the connection section 33, the distance between thesuction inlet 101 and thegas inlet 102 and theoutlet 30 of the inner tube 3 can be further increased, so that the lotion and the gas can be more sufficiently mixed in space and time before the lotion and the gas contact the water flow. In addition, after the lotion sucked by thesuction port 101 and the gas sucked by thegas inlet 102 enter theflow space 301, the lotion and the gas can more smoothly flow forward to contact with the water flow by the guiding action of the outer side wall of the connecting section 33.
According to some alternative embodiments of the present invention, referring to fig. 1 and 2, themain pipe shell 1 is a venturi tube, themain pipe shell 1 includes afirst pipe segment 11, asecond pipe segment 12 and athird pipe segment 13 which are connected in sequence, the flow area of thesecond pipe segment 12 is smaller than that of thefirst pipe segment 11 and smaller than that of thethird pipe segment 13, the liquid inlet end is located in thefirst pipe segment 11, the liquid outlet end is located in thethird pipe segment 13, the inner pipe 3 is arranged in thefirst pipe segment 11, aflow space 301 is defined between the outer side wall of the inner pipe 3 and the inner side wall of thefirst pipe segment 11, theoutlet 30 is adjacent to thesecond pipe segment 12, and thegas inlet 102 is formed on the outer side wall of theflow space 301 or thegas inlet 102 is formed. Through setting upmain pipe shell 1 as venturi, rivers pass through the inlet end and get intofirst pipeline section 11, then flow throughsecond pipeline section 12 andthird pipeline section 13 in proper order, because the flow area ofsecond pipeline section 12 reduces, in rivers throughsecond pipeline section 12 in-process, can produce great negative pressure, can utilize foretell negative pressure effect for lotion and gas are inhaled inmain pipe shell 1 throughsunction inlet 101 andair inlet 102 respectively under the effect of negative pressure. Wherein, both the lotion and the gas can enter themain pipe shell 1 only through the negative pressure; alternatively, the gas enters themain casing 1 by the above-mentioned negative pressure, and the lotion enters themain casing 1 mainly by the pumping action of the pump.
Referring to fig. 2, when theair inlet 102 is formed in thesecond pipe section 12, the negative pressure acting force generated due to the reduction of the flow area of thesecond pipe section 12 is larger, so that the amount of air entering theair inlet 102 is larger, the air flow speed is faster, and the dissolving and foaming effects of the lotion can be further improved.
In addition, in the process of mixing the detergent, the gas and the water flow in thesecond pipe section 12, since the flow area of thesecond pipe section 12 is small, the water flow speed is increased, and the turbulent motion effect is good, the mixing effect is good, the dissolving effect and the foaming effect of the detergent can be further improved, and the cleaning effect can be improved.
Further, by arranging the inner pipe 3 in thefirst pipe section 11, the cross-sectional area of the inner pipe 3 can be smaller than that of themain pipe shell 1, so that the flow velocity of the water flow can be increased, the flow velocity of the water flow can be increased after the water flow flows through the inner pipe 3, the water flow can be sprayed out of theoutlet 30 of the inner pipe 3 into thesecond pipe section 12 at a higher flow velocity, and the impact effect of the water flow is enhanced. Further, referring to fig. 1, when both theair inlet 102 and theair inlet 101 are formed on the outer sidewall of theflow space 301, the detergent and the air are sufficiently mixed in theflow space 301 and then flow into thesecond pipe segment 12 to contact the water flow, so that the water, the detergent and the air are sufficiently mixed and foamed in themain pipe housing 1, and thus the dissolving effect and the foaming effect of the detergent can be further improved, and the washing effect can be further improved.
According to some embodiments of the present invention, a control valve for opening and closing theair inlet 102 is provided at theair inlet 102. Thereby, the control of the gas into themain vessel shell 1 is facilitated. For example, when the control valve is open, gas may enter from thegas inlet 102 and flow into the maintubular housing 1 from thesuction inlet 101; when the control valve is closed, the supply of gas into themain pipe casing 1 is stopped.
According to some alternative embodiments of the present invention, themain pipe shell 1 is a venturi tube, themain pipe shell 1 includes afirst pipe segment 11, asecond pipe segment 12 and athird pipe segment 13 which are connected in sequence, a flow area of thesecond pipe segment 12 is smaller than a flow area of thefirst pipe segment 11 and smaller than a flow area of thethird pipe segment 13, a liquid inlet end is located in thefirst pipe segment 11, a liquid outlet end is located in thethird pipe segment 13, asuction inlet 101 is formed in thefirst pipe segment 11 or thesecond pipe segment 12, anair inlet 102 is formed in thefirst pipe segment 11 or thesecond pipe segment 12, the control valve is a check valve, and the check valve is in one-way conduction in a direction from theair inlet 102 to an inner cavity of the main pipe. Thus, by providing themain housing 1 as a venturi and providing theinlet 102 in the first orsecond pipe section 11, 12, the negative pressure effect created by the water flow can be utilized during the water flow through themain housing 1, at which time the one-way valve opens under the effect of the pressure differential, thereby allowing gas, such as air, to enter from theinlet 102; when the water supply flow in themain pipe case 1 is stopped, the check valve is closed. Therefore, the control of the control valve is convenient and reliable.
Referring to fig. 1 and 2, a dispensing device for dispensing a lotion according to an embodiment of the second aspect of the present invention comprises: a dispensing assembly according to the above-described embodiment of the first aspect of the present invention, and alotion storage case 4.
Thelotion storage box 4 is arranged at the outer side of themain pipe shell 1, thelotion storage box 4 is connected with themain pipe shell 1, the inner cavity of thelotion storage box 4 is communicated with thesuction port 101, and lotion in thelotion storage box 4 is suitable for flowing into themain pipe shell 1 through thesuction port 101.
Wherein, thelotion storage box 4 can be used for storing detergent, and thelotion storage box 4 can also be used for storing various types of lotions such as detergent, softener, disinfectant and the like. When the washing machine is in a washing stage, the detergent in thedetergent storage box 4 can enter themain pipe shell 1 through thesuction port 101; when the washing machine is in the rinsing stage, the softener and the disinfectant in thelotion storage box 4 can enter themain pipe shell 1 through thesuction port 101. After the washing and rinsing phases of the washing machine, a water flow may be sucked through thesuction port 101 to flush thesuction port 101 after the corresponding detergent is put in.
According to the dispensing device for dispensing the lotion, the dispensing component is arranged, so that the lotion can be fully dissolved in water flow, the foaming effect of the lotion can be improved, the cleaning effect can be improved, the caking risk of the residual lotion can be reduced, and the blocking risk of a pipeline can be reduced. And, lotion and gas are respectively by independent passageway enteringmain pipe shell 1 for under the condition that does not wash, can not influence gaseous the letting in because of the caking of lotion under the influence of air condenses, reduce the jam risk of gas circuit.
A washing machine according to an embodiment of a third aspect of the present invention includes: a washing tub and a dispensing device according to the embodiment of the second aspect of the present invention. The throwing device is suitable for throwing the washing agent into the washing barrel, and the liquid outlet end is communicated with the washing barrel. In the working process of the washing machine, when lotion needs to be put into a washing barrel of the washing machine, water flow can enter themain pipe shell 1 through the liquid inlet end, the lotion enters themain pipe shell 1 through thesuction inlet 101, air enters themain pipe shell 1 through theair inlet 102, the lotion, the air and the water flow are fully mixed in themain pipe shell 1, and the mixed lotion, the air and the water flow out of the liquid outlet end into the washing barrel.
According to the washing machine provided by the embodiment of the invention, by arranging the feeding device, the lotion can be fully dissolved in water flow, the foaming effect of the lotion can be improved, the cleaning effect can be improved, and the caking risk of the residual lotion can be reduced, so that the blocking risk of a pipeline can be reduced, and the lotion and gas respectively enter themain pipe shell 1 through independent channels, so that the blocking risk of an air path is reduced.
According to the lotion feeding method of the washing machine of the fourth aspect of the invention, the washing machine comprises a feeding device for feeding lotion into a washing barrel of the washing machine, the feeding device comprises a feeding assembly and alotion storage box 4, the feeding assembly comprises amain pipe shell 1, themain pipe shell 1 is provided with a liquid inlet end and a liquid outlet end, the liquid outlet end is communicated with the washing barrel, water is suitable for flowing into themain pipe shell 1 through the liquid inlet end and flowing out from the liquid outlet end, the side wall of themain pipe shell 1 is provided with anair inlet 102 and asuction inlet 101, theair inlet 102 and thesuction inlet 101 can be arranged at intervals, thesuction inlet 101 and theair inlet 102 are both positioned between the liquid inlet end and the liquid outlet end, air is suitable for flowing into theshell 1 through theair inlet 102, thelotion storage box 4 is arranged at the outer side of themain pipe shell 1, thelotion storage box 4 is connected with themain pipe shell 1, the inner cavity of thelotion storage box 4 is communicated, the lotion feeding method comprises the following steps:
firstly, controlling water to flow into themain pipe shell 1 through a liquid inlet end;
then, the lotion is controlled to flow into themain casing 1 through thesuction port 101 and thegas inlet 102, respectively.
From this for the rivers in being responsible forshell 1 are opened before the input of gas and lotion, and lotion and gas can just contact rivers from the beginning like this, and make lotion not too much accumulation in the pipeline for lotion dissolves abundant, even, reduces and remains the caking risk, thereby reduces the pipeline and blocks up the risk.
In the process of controlling the flowing of the lotion and the gas into themain pipe shell 1, the lotion can be supplied first and then the gas can be supplied, the gas can be supplied first and then the lotion can be supplied, or the lotion and the gas can be alternately supplied.
In addition, for the dispensing device used in the agent dispensing method in this embodiment, specific structures and descriptions can be referred to above, and are not described here again. Moreover, the dispensing device of the second aspect of the embodiment can be used in the washing machine of the embodiment, and the lotion is dispensed by using the lotion dispensing method.
According to the washing agent feeding method of the washing machine, in the process that the washing agent flows into themain pipe shell 1 through thesuction port 101, the air is introduced into themain pipe shell 1 through theair inlet 102, so that the washing agent can be fully dissolved in water flow, the foaming effect of the washing agent can be improved, the washing effect can be improved, the caking risk of the residual washing agent can be reduced, and the blocking risk of a pipeline can be reduced. And, make lotion and gas reentrant in being responsible for theshell 1 after the rivers enter being responsible forshell 1 through control, so lotion and gas can contact the rivers from the beginning, and make lotion not too much accumulation in the pipeline to can further promote lotion dissolving effect, further reduce lotion residual caking risk and pipeline jam risk.
In the description herein, references to the description of the term "one embodiment," "some embodiments," "an illustrative embodiment," "an example," "a specific example," or "some examples" or the like mean that a particular feature, structure, material, or characteristic described in connection with the embodiment or example is included in at least one embodiment or example of the invention. In this specification, the schematic representations of the terms used above do not necessarily refer to the same embodiment or example. Furthermore, the particular features, structures, materials, or characteristics described may be combined in any suitable manner in any one or more embodiments or examples.
While embodiments of the invention have been shown and described, it will be understood by those of ordinary skill in the art that: various changes, modifications, substitutions and alterations can be made to the embodiments without departing from the principles and spirit of the invention, the scope of which is defined by the claims and their equivalents.

Claims (16)

Translated fromChinese
1.一种用于投放洗剂的投放组件,其特征在于,包括:1. an injecting component for injecting lotion, is characterized in that, comprising:主管壳,所述主管壳具有进液端和出液端,水适于通过所述进液端流入所述主管壳内并从所述出液端流出,所述主管壳的侧壁上形成有进气口和一个吸入口,所述吸入口和所述进气口均位于所述进液端和所述出液端之间,洗剂适于通过所述吸入口流入所述主管壳内,气体适于通过所述进气口流入所述主管壳内。A main pipe shell, the main pipe shell has a liquid inlet end and a liquid outlet end, water is suitable for flowing into the main pipe shell through the liquid inlet end and flowing out from the liquid outlet end, and a side wall of the main pipe shell is formed with an air inlet and a suction port, the suction port and the air inlet are both located between the liquid inlet end and the liquid outlet end, and the lotion is suitable for flowing into the main casing through the suction port, Gas is adapted to flow into the main pipe casing through the gas inlet.2.根据权利要求1所述的用于投放洗剂的投放组件,其特征在于,所述主管壳为文丘里管,所述主管壳包括依次连接的第一管段、第二管段和第三管段,所述第二管段的流通面积小于所述第一管段的流通面积且小于所述第三管段的流通面积,所述进液端位于所述第一管段,所述出液端位于所述第三管段,所述吸入口形成在所述第一管段或所述第二管段,所述进气口形成在所述第一管段或所述第二管段。2. The dispensing assembly for dispensing lotion according to claim 1, wherein the main pipe shell is a Venturi tube, and the main pipe shell comprises a first pipe section, a second pipe section and a third pipe section connected in sequence , the flow area of the second pipe section is smaller than the flow area of the first pipe section and smaller than the flow area of the third pipe section, the liquid inlet end is located in the first pipe section, and the liquid outlet end is located in the first pipe section. Three pipe sections, the suction port is formed in the first pipe section or the second pipe section, and the air inlet is formed in the first pipe section or the second pipe section.3.根据权利要求1所述的用于投放洗剂的投放组件,其特征在于,所述进气口和所述吸入口间隔开设置。3 . The dosing assembly for dosing lotion according to claim 1 , wherein the air inlet and the suction inlet are spaced apart from each other. 4 .4.根据权利要求1所述的用于投放洗剂的投放组件,其特征在于,所述进气口和所述吸入口邻近设置。4. The dosing assembly for dosing lotion according to claim 1, wherein the air inlet and the suction inlet are disposed adjacent to each other.5.根据权利要求1所述的用于投放洗剂的投放组件,其特征在于,所述主管壳内设有内管,所述内管具有进口和出口,所述进口邻近所述进液端,水适于通过所述进口流入所述内管内并从所述出口流出至所述主管壳内。5. The dosing assembly for dosing lotion according to claim 1, wherein an inner tube is provided in the main casing, the inner tube has an inlet and an outlet, and the inlet is adjacent to the liquid inlet end , water is adapted to flow into the inner pipe through the inlet and flow out into the main pipe shell from the outlet.6.根据权利要求5所述的用于投放洗剂的投放组件,其特征在于,所述内管的外侧壁与所述主管壳的内侧壁之间限定出流动空间,所述吸入口形成在所述流动空间的外侧壁上,所述进气口形成在所述流动空间的外侧壁上或所述进气口位于所述流动空间的下游。6. The dispensing assembly for dispensing lotion according to claim 5, wherein a flow space is defined between the outer side wall of the inner pipe and the inner side wall of the main pipe shell, and the suction port is formed in the On the outer side wall of the flow space, the air inlet is formed on the outer side wall of the flow space or the air inlet is located downstream of the flow space.7.根据权利要求6所述的用于投放洗剂的投放组件,其特征在于,所述流动空间的横截面为围绕所述内管延伸的环形。7 . The dispensing assembly for dispensing lotion according to claim 6 , wherein the cross section of the flow space is an annular shape extending around the inner tube. 8 .8.根据权利要求6所述的用于投放洗剂的投放组件,其特征在于,所述内管包括相连的主体段和压缩段,所述进口形成在所述主体段,所述出口形成在所述压缩段,所述压缩段的流通面积小于所述主体段的流通面积。8. The dosing assembly for dosing lotion according to claim 6, wherein the inner tube comprises a main body section and a compression section that are connected, the inlet is formed in the main body section, and the outlet is formed in the In the compression section, the flow area of the compression section is smaller than the flow area of the main body section.9.根据权利要求8所述的用于投放洗剂的投放组件,其特征在于,所述吸入口和所述进气口均位于所述压缩段的上游。9 . The dosing assembly for dosing lotion according to claim 8 , wherein the suction port and the air inlet are both located upstream of the compression section. 10 .10.根据权利要求8所述的用于投放洗剂的投放组件,其特征在于,所述内管包括连接段,所述连接段连接所述主体段和所述压缩段,在由所述主体段至所述压缩段的方向上,所述连接段的外侧壁朝向邻近所述主管壳的中心轴线方向倾斜延伸,所述连接段的最小流通面积不小于所述压缩段的流通面积,所述吸入口和所述进气口均位于所述连接段的上游。10. The dosing assembly for dosing lotion according to claim 8, wherein the inner tube comprises a connecting section, and the connecting section connects the main body section and the compression section, and the main body is connected by the main body. In the direction from the compression section to the compression section, the outer sidewall of the connection section extends obliquely toward the direction adjacent to the central axis of the main pipe shell, and the minimum flow area of the connection section is not less than the flow area of the compression section. Both the suction port and the air inlet are located upstream of the connecting section.11.根据权利要求6所述的用于投放洗剂的投放组件,其特征在于,所述主管壳为文丘里管,所述主管壳包括依次连接的第一管段、第二管段和第三管段,所述第二管段的流通面积小于所述第一管段的流通面积且小于所述第三管段的流通面积,所述进液端位于所述第一管段,所述出液端位于所述第三管段,所述内管设在所述第一管段内,所述内管的外侧壁与所述第一管段的内侧壁之间限定出所述流动空间,所述出口邻近所述第二管段,所述进气口形成在所述流动空间的外侧壁上或所述进气口形成在所述第二管段。11. The dispensing assembly for dispensing lotion according to claim 6, wherein the main pipe shell is a venturi tube, and the main pipe shell comprises a first pipe section, a second pipe section and a third pipe section connected in sequence , the flow area of the second pipe section is smaller than the flow area of the first pipe section and smaller than the flow area of the third pipe section, the liquid inlet end is located in the first pipe section, and the liquid outlet end is located in the first pipe section. Three pipe sections, the inner pipe is arranged in the first pipe section, the flow space is defined between the outer side wall of the inner pipe and the inner side wall of the first pipe section, and the outlet is adjacent to the second pipe section , the air inlet is formed on the outer side wall of the flow space or the air inlet is formed on the second pipe section.12.根据权利要求1所述的用于投放洗剂的投放组件,其特征在于,所述进气口处设有用于打开和关闭所述进气口的控制阀。12 . The dosing assembly for dosing lotion according to claim 1 , wherein a control valve for opening and closing the air inlet is provided at the air inlet. 13 .13.根据权利要求12所述的用于投放洗剂的投放组件,其特征在于,所述主管壳为文丘里管,所述主管壳包括依次连接的第一管段、第二管段和第三管段,所述第二管段的流通面积小于所述第一管段的流通面积且小于所述第三管段的流通面积,所述进液端位于所述第一管段,所述出液端位于所述第三管段,所述吸入口形成在所述第一管段或所述第二管段,所述进气口形成在所述第一管段或所述第二管段,所述控制阀为单向阀,所述单向阀在由所述进气口至所述主管壳的内腔的方向上单向导通。13. The dispensing assembly for dispensing lotion according to claim 12, wherein the main pipe shell is a Venturi tube, and the main pipe shell comprises a first pipe section, a second pipe section and a third pipe section connected in sequence , the flow area of the second pipe section is smaller than the flow area of the first pipe section and smaller than the flow area of the third pipe section, the liquid inlet end is located in the first pipe section, and the liquid outlet end is located in the first pipe section. Three pipe sections, the suction port is formed in the first pipe section or the second pipe section, the air inlet is formed in the first pipe section or the second pipe section, the control valve is a one-way valve, so The one-way valve conducts one-way conduction in a direction from the air inlet to the inner cavity of the main pipe casing.14.一种用于投放洗剂的投放装置,其特征在于,包括:14. An injecting device for injecting lotion, characterized in that, comprising:投放组件,所述投放组件为根据权利要求1-13中任一项所述的投放组件;a delivery component, the delivery component is the delivery component according to any one of claims 1-13;洗剂存放盒,所述洗剂存放盒设在所述主管壳的外侧且与所述主管壳相连,所述洗剂存放盒的内腔与所述吸入口连通,所述洗剂存放盒内的洗剂适于通过所述吸入口流入所述主管壳内。A lotion storage box, the lotion storage box is arranged on the outer side of the main pipe shell and connected with the main pipe shell, the inner cavity of the lotion storage box is communicated with the suction port, and the lotion storage box is inside The lotion is adapted to flow into the main casing through the suction port.15.一种洗衣机,其特征在于,包括:15. A washing machine, characterized in that, comprising:洗涤桶;washing tub;投放装置,所述投放装置为根据权利要求14所述的投放装置,所述投放装置适于向所述洗涤桶投放洗剂,所述出液端与所述洗涤桶连通。The putting device is the putting device according to claim 14, the putting device is suitable for putting lotion into the washing tub, and the liquid outlet is communicated with the washing tub.16.一种洗衣机的洗剂投放方法,其特征在于,所述洗衣机包括向所述洗衣机的洗涤桶投放洗剂的投放装置,所述投放装置包括投放组件和洗剂存放盒,所述投放组件包括主管壳,所述主管壳具有进液端和出液端,所述出液端与所述洗涤桶连通,水适于通过所述进液端流入所述主管壳内并从所述出液端流出,所述主管壳的侧壁上形成有进气口和一个吸入口,所述吸入口和所述进气口均位于所述进液端和所述出液端之间,气体适于通过所述进气口流入所述主管壳内,所述洗剂存放盒设在所述主管壳的外侧且与所述主管壳相连,所述洗剂存放盒的内腔与所述吸入口连通,所述洗剂存放盒内的洗剂适于通过所述吸入口流入所述主管壳内,所述洗剂投放方法包括如下步骤:16. A method for adding lotion to a washing machine, characterized in that the washing machine comprises a device for adding lotion to a washing tub of the washing machine, the device for adding a lotion comprises a dosing component and a lotion storage box, and the component for dosing is Including a main pipe shell, the main pipe shell has a liquid inlet end and a liquid outlet end, the liquid outlet end is communicated with the washing tub, and water is suitable for flowing into the main pipe shell through the liquid inlet end and from the liquid outlet. An air inlet and a suction port are formed on the side wall of the main pipe shell, the suction port and the air inlet are both located between the liquid inlet end and the liquid outlet end, and the gas is suitable for It flows into the main pipe casing through the air inlet, the lotion storage box is provided on the outside of the main pipe casing and is connected with the main pipe casing, and the inner cavity of the lotion storage box is communicated with the suction port , the lotion in the lotion storage box is suitable for flowing into the main pipe shell through the suction port, and the lotion injection method includes the following steps:先控制水通过所述进液端流入所述主管壳内;First control the water to flow into the main shell through the liquid inlet end;再控制洗剂从所述吸入口、气体从所述进气口分别流入所述主管壳内。Then, the lotion is controlled to flow into the main pipe casing from the suction port and the gas from the air inlet respectively.
CN202010254730.XA2020-04-022020-04-02Dispensing assembly, dispensing device, washing machine and washing agent dispensing methodPendingCN112376224A (en)

Priority Applications (3)

Application NumberPriority DateFiling DateTitle
CN202010254730.XACN112376224A (en)2020-04-022020-04-02Dispensing assembly, dispensing device, washing machine and washing agent dispensing method
EP20928276.3AEP4092177B1 (en)2020-04-022020-06-19Dispensing assembly, dispensing device, washing machine, and detergent dispensing method
PCT/CN2020/097237WO2021196417A1 (en)2020-04-022020-06-19Dispensing assembly, dispensing device, washing machine, and detergent dispensing method

Applications Claiming Priority (1)

Application NumberPriority DateFiling DateTitle
CN202010254730.XACN112376224A (en)2020-04-022020-04-02Dispensing assembly, dispensing device, washing machine and washing agent dispensing method

Publications (1)

Publication NumberPublication Date
CN112376224Atrue CN112376224A (en)2021-02-19

Family

ID=74586296

Family Applications (1)

Application NumberTitlePriority DateFiling Date
CN202010254730.XAPendingCN112376224A (en)2020-04-022020-04-02Dispensing assembly, dispensing device, washing machine and washing agent dispensing method

Country Status (3)

CountryLink
EP (1)EP4092177B1 (en)
CN (1)CN112376224A (en)
WO (1)WO2021196417A1 (en)

Cited By (2)

* Cited by examiner, † Cited by third party
Publication numberPriority datePublication dateAssigneeTitle
CN113441023A (en)*2021-07-262021-09-28北京北方华创微电子装备有限公司Gas mixing mechanism, air inlet pipeline structure and semiconductor process equipment
CN120042041A (en)*2023-11-242025-05-27无锡美芝电器有限公司Lotion dispensing device and clothes treatment equipment

Citations (7)

* Cited by examiner, † Cited by third party
Publication numberPriority datePublication dateAssigneeTitle
DE2419042B1 (en)*1974-04-201975-06-26Fink-Chemie Hans-Kurt Fink, 4701 RhynernJet mixing lance for foam spraying - esp. for butchery premises having two mixing nozzles for additive and air
FR2475079A1 (en)*1980-02-011981-08-07Thomson Brandt LIQUID PRODUCT DISPENSER, AND WASHING MACHINE HAVING SUCH A DISPENSER.
CN201258409Y (en)*2008-08-152009-06-17无锡小天鹅股份有限公司Washing machine detergent feeding device utilizing Venturi effect
CN102471984A (en)*2009-08-122012-05-23Bsh博世和西门子家用电器有限公司Device for mixing media or for producing foam
CN102677758A (en)*2012-03-282012-09-19甄艳Foam generating device
CN103409976A (en)*2013-07-112013-11-27林伟明Laundry detergent mixing device with foam generator
CN203334042U (en)*2013-05-222013-12-11海尔集团公司Washing machine with automatically-added additive

Family Cites Families (11)

* Cited by examiner, † Cited by third party
Publication numberPriority datePublication dateAssigneeTitle
JP2001300355A (en)*2000-04-242001-10-30Takeo MorishimaDetergent mixing jet nozzle
US6347645B2 (en)*2000-05-242002-02-19Whirlpool CorporationFluid dynamic diverter valve for an appliance
JP2005007224A (en)*2003-06-172005-01-13Kameya Kogyosho:Kk Foam generating device and washing machine with foam generating function
US8850856B2 (en)*2010-12-162014-10-07General Electric CompanyApparatus and method for using a dispensing system utilizing a Venturi component
AU2015304807B2 (en)*2014-08-182018-03-15Panasonic Intellectual Property Management Co., Ltd.Washing machine
CN205224186U (en)*2015-08-272016-05-11史春龙Foam shower
JP6290334B2 (en)*2016-08-182018-03-07東芝ライフスタイル株式会社 Washing machine
DE112018006074T5 (en)*2017-11-292020-09-03Toshiba Lifestyle Products & Services Corporation Microbubble generator, washing machine and home appliance
CN208579369U (en)*2018-07-042019-03-05宁波方太厨具有限公司A kind of range hood with self-cleaning function
CN108660695B (en)*2018-08-082024-02-27宁国聚隆减速器有限公司Automatic detergent feeding device and method
CN209958090U (en)*2019-03-012020-01-17无锡小天鹅电器有限公司Feeding device and clothes treatment equipment

Patent Citations (7)

* Cited by examiner, † Cited by third party
Publication numberPriority datePublication dateAssigneeTitle
DE2419042B1 (en)*1974-04-201975-06-26Fink-Chemie Hans-Kurt Fink, 4701 RhynernJet mixing lance for foam spraying - esp. for butchery premises having two mixing nozzles for additive and air
FR2475079A1 (en)*1980-02-011981-08-07Thomson Brandt LIQUID PRODUCT DISPENSER, AND WASHING MACHINE HAVING SUCH A DISPENSER.
CN201258409Y (en)*2008-08-152009-06-17无锡小天鹅股份有限公司Washing machine detergent feeding device utilizing Venturi effect
CN102471984A (en)*2009-08-122012-05-23Bsh博世和西门子家用电器有限公司Device for mixing media or for producing foam
CN102677758A (en)*2012-03-282012-09-19甄艳Foam generating device
CN203334042U (en)*2013-05-222013-12-11海尔集团公司Washing machine with automatically-added additive
CN103409976A (en)*2013-07-112013-11-27林伟明Laundry detergent mixing device with foam generator

Cited By (3)

* Cited by examiner, † Cited by third party
Publication numberPriority datePublication dateAssigneeTitle
CN113441023A (en)*2021-07-262021-09-28北京北方华创微电子装备有限公司Gas mixing mechanism, air inlet pipeline structure and semiconductor process equipment
CN120042041A (en)*2023-11-242025-05-27无锡美芝电器有限公司Lotion dispensing device and clothes treatment equipment
WO2025108183A1 (en)*2023-11-242025-05-30无锡美芝电器有限公司Detergent dispensing device and laundry treatment apparatus

Also Published As

Publication numberPublication date
EP4092177A1 (en)2022-11-23
EP4092177B1 (en)2025-08-06
EP4092177A4 (en)2023-07-12
WO2021196417A1 (en)2021-10-07

Similar Documents

PublicationPublication DateTitle
JP7150853B2 (en) clothing processing equipment
CN112376220A (en)Dispensing assembly, dispensing device, washing machine and washing agent dispensing method
CN112376224A (en)Dispensing assembly, dispensing device, washing machine and washing agent dispensing method
CN112376222A (en)A put in subassembly, put in device and washing machine for putting in lotion
CN107653638A (en)Detergent mixing device and washing machine with same
CN116065353A (en)Clothes treating apparatus
CN209958090U (en)Feeding device and clothes treatment equipment
CN211571119U (en)Additive feeding device and washing machine
CN112239938A (en)Additive feeding device and washing machine
WO2021023113A1 (en)Additive dispensing device and washing machine
CN221071952U (en)Lotion box assembly, lotion dispensing device and clothes treatment equipment
CN112376221B (en)A mix conveyer, put in device and washing machine for putting in lotion
CN112239936A (en)Additive feeding device and washing machine
CN212337611U (en)Pump cover, pump, throwing device for throwing lotion and washing machine
CN112376219B (en)A mix conveyer, put in device and washing machine for putting in lotion
CN112376225A (en)Put in subassembly, put in device and washing machine
CN111636176B (en) Dispensing device and clothing processing equipment
CN112239937A (en)Additive feeding device and washing machine
CN222594364U (en)Detergent throwing device and clothes treatment equipment
CN223214326U (en) Additive dosing system for clothing cleaning equipment and clothing cleaning equipment
CN222412306U (en)Washing machine
CN223281071U (en) Detergent dispensing device and clothing processing equipment
CN223144967U (en)Spray head body assembly for clothes treatment equipment and clothes treatment equipment
CN119900156A (en) Detergent dispensing device and clothing processing equipment
CN112376223B (en)A put in device and washing machine for putting in lotion

Legal Events

DateCodeTitleDescription
PB01Publication
PB01Publication
SE01Entry into force of request for substantive examination
SE01Entry into force of request for substantive examination

[8]ページ先頭

©2009-2025 Movatter.jp