Movatterモバイル変換


[0]ホーム

URL:


CN112350693A - Pulse equipment, pulse output device and high-voltage electric pulse tumor therapeutic apparatus - Google Patents

Pulse equipment, pulse output device and high-voltage electric pulse tumor therapeutic apparatus
Download PDF

Info

Publication number
CN112350693A
CN112350693ACN201910720705.3ACN201910720705ACN112350693ACN 112350693 ACN112350693 ACN 112350693ACN 201910720705 ACN201910720705 ACN 201910720705ACN 112350693 ACN112350693 ACN 112350693A
Authority
CN
China
Prior art keywords
pulse
circuit
control circuit
charging
discharge
Prior art date
Legal status (The legal status is an assumption and is not a legal conclusion. Google has not performed a legal analysis and makes no representation as to the accuracy of the status listed.)
Pending
Application number
CN201910720705.3A
Other languages
Chinese (zh)
Inventor
赖燊
Current Assignee (The listed assignees may be inaccurate. Google has not performed a legal analysis and makes no representation or warranty as to the accuracy of the list.)
Shenzhen Niumai Technology Co ltd
Original Assignee
Shenzhen Niumai Technology Co ltd
Priority date (The priority date is an assumption and is not a legal conclusion. Google has not performed a legal analysis and makes no representation as to the accuracy of the date listed.)
Filing date
Publication date
Application filed by Shenzhen Niumai Technology Co ltdfiledCriticalShenzhen Niumai Technology Co ltd
Priority to CN201910720705.3ApriorityCriticalpatent/CN112350693A/en
Publication of CN112350693ApublicationCriticalpatent/CN112350693A/en
Pendinglegal-statusCriticalCurrent

Links

Images

Classifications

Landscapes

Abstract

Translated fromChinese

本申请涉及一种脉冲设备、脉冲输出装置以及高压电脉冲肿瘤治疗仪,所述脉冲设备包括充电板、脉冲产生板和放电板;充电板上包括相互隔离设置的充电电路和充电测控电路;充电电路电连接充电测控电路;脉冲产生板上包括相互隔离设置的脉冲产生电路和脉冲测控电路;脉冲产生电路电连接脉冲测控电路;放电板上包括相互隔离设置的放电电路和放电测控电路;放电电路电连接放电测控电路;其中,充电电路、脉冲产生电路、放电电路依次电连接;放电电路用于电连接高压电脉冲肿瘤治疗仪的针道面板,本申请增加了脉冲设备的电气隔离效果,提高了输出的脉冲质量。

Figure 201910720705

The present application relates to a pulse device, a pulse output device, and a high-voltage electric pulse tumor treatment instrument, wherein the pulse device includes a charging board, a pulse generating board and a discharging board; the charging board includes a charging circuit and a charging measurement and control circuit that are isolated from each other; The charging circuit is electrically connected to the charging measurement and control circuit; the pulse generation board includes a pulse generation circuit and a pulse measurement and control circuit that are isolated from each other; the pulse generation circuit is electrically connected to the pulse measurement and control circuit; the discharge board includes a mutually isolated discharge circuit and a discharge measurement and control circuit; The circuit is electrically connected to the discharge measurement and control circuit; wherein, the charging circuit, the pulse generation circuit, and the discharge circuit are electrically connected in sequence; the discharge circuit is used to electrically connect the needle track panel of the high-voltage electric pulse tumor treatment instrument, and the present application increases the electrical isolation effect of the pulse device , which improves the output pulse quality.

Figure 201910720705

Description

Pulse equipment, pulse output device and high-voltage electric pulse tumor therapeutic apparatus
Technical Field
The application relates to the technical field of medical equipment, in particular to pulse equipment, a pulse output device and a high-voltage electric pulse tumor therapeutic apparatus.
Background
The high-voltage electric pulse tumor therapeutic equipment is a new type equipment for curing malignant tumor, and combines several techniques of biological medical engineering, high-voltage new technology, modern power electronic technology, computer technology and microelectronic technology, etc. The working process of the high-voltage electric pulse tumor therapeutic apparatus is generally as follows: the instantaneous electric field intensity of the electric field pulse applied to the cell is higher than 1kV/cm (kilovolt per centimeter), the molecular permeability of the cell is greatly improved, and then the electroporation phenomenon is generated, and irreversible electric breakdown occurs along with the continuous increase of the pulse electric field intensity, so that the mechanical rupture of the cell membrane is caused until the cell dies.
At present, the quality of the high-voltage electric pulse tumor therapeutic apparatus needs to be continuously improved, and in the implementation process, the inventor finds that at least the following problems exist in the traditional technology: the traditional high-voltage electric pulse tumor therapeutic apparatus has poor electric isolation effect, resulting in poor output pulse quality.
Disclosure of Invention
Therefore, it is necessary to provide a pulse device, a pulse output device and a high-voltage electric pulse tumor therapeutic apparatus, aiming at the problem that the traditional high-voltage electric pulse tumor therapeutic apparatus has poor electrical isolation effect and poor output pulse quality.
In order to achieve the above object, in one aspect, the embodiments of the present application provide a pulse device, which is applied to a high-voltage electric pulse oncology therapeutic apparatus; comprises a charging plate, a pulse generating plate and a discharging plate;
the charging panel comprises a charging circuit and a charging measurement and control circuit which are arranged in an isolated way; the charging circuit is electrically connected with the charging measurement and control circuit;
the pulse generating board comprises a pulse generating circuit and a pulse measuring and controlling circuit which are arranged in an isolated way; the pulse generating circuit is electrically connected with the pulse measurement and control circuit;
the discharge board comprises a discharge circuit and a discharge measurement and control circuit which are arranged in an isolated manner; the discharge circuit is electrically connected with the discharge measurement and control circuit;
the charging circuit, the pulse generating circuit and the discharging circuit are electrically connected in sequence; the discharge circuit is used for electrically connecting the needle passage panel of the high-voltage electric pulse tumor therapeutic apparatus.
In one embodiment, the charging panel further comprises a first substrate, the charging circuit is arranged in a first area on the first substrate, the charging measurement and control circuit is arranged in a second area on the first substrate, and a first isolation groove penetrating through the first substrate is formed between the first area and the second area;
the pulse generating board further comprises a second substrate, the pulse generating circuit is arranged in a third area on the second substrate, the pulse measuring and controlling circuit is arranged in a fourth area on the second substrate, and a second isolation groove penetrating through the second substrate is formed between the third area and the fourth area;
the discharge board further comprises a third substrate, the discharge circuit is arranged in a fifth area on the third substrate, the discharge measurement and control circuit is arranged in a sixth area on the third substrate, and a third isolation groove penetrating through the third substrate is formed between the fifth area and the sixth area.
In one embodiment, the charging panel further comprises a first substrate and a first adapter plate mechanically connected with the first substrate, the charging circuit is arranged on the first substrate, and the charging measurement and control circuit is arranged on the first adapter plate;
the pulse generating board further comprises a second substrate and a second adapter board mechanically connected with the second substrate, the pulse generating circuit is arranged on the second substrate, and the pulse measuring and controlling circuit is arranged on the second adapter board;
the discharge board further comprises a third substrate and a third adapter plate mechanically connected with the third substrate, the discharge circuit is arranged on the third substrate, and the discharge measurement and control circuit is arranged on the third adapter plate.
In one embodiment, the charging circuit comprises a charging path control circuit, a charging capacitor bank and a discharging path control circuit which are electrically connected in sequence; the discharge path control circuit is electrically connected with the pulse generating circuit;
the charging measurement and control circuit comprises a charging control circuit and a charging signal detection circuit;
the charging control circuit is connected with the charging path control circuit; the charging signal detection circuit is electrically connected with the discharging path control circuit or the charging capacitor bank.
In one embodiment, the pulse generating circuit comprises a pulse generator, a protection circuit, a pulse detection circuit and an output path control circuit which are electrically connected in sequence; the output path control circuit is electrically connected with the discharge circuit;
the pulse measurement and control circuit comprises a pulse control circuit and a pulse signal detection circuit;
the pulse control circuit is electrically connected with the pulse generator; the pulse signal detection circuit is electrically connected with the output channel control circuit.
In one embodiment, the discharge circuit includes a pin lane select circuit; the needle channel circuit selection circuit is used for electrically connecting a needle channel panel of the high-voltage electric pulse tumor therapeutic apparatus;
the discharge measurement and control circuit comprises a discharge control circuit and a discharge signal detection circuit;
the discharge control circuit and the discharge signal detection circuit are respectively connected with the needle channel selection circuit.
On the other hand, the embodiment of the application also provides a pulse output device, which comprises the pulse equipment; also includes a control circuit;
the control circuit comprises a controller, a signal output circuit and a photoelectric isolation circuit;
the signal output circuit is respectively and electrically connected with the controller and the photoelectric isolation circuit; the photoelectric isolation circuit is respectively and electrically connected with the controller, the charging measurement and control circuit, the pulse measurement and control circuit and the discharging measurement and control circuit.
In one embodiment, the control circuit further comprises a Buffer module;
the Buffer module is respectively and electrically connected with the controller, the signal output circuit and the photoelectric isolation circuit.
In one embodiment, the optoelectronic isolation circuit comprises:
the first linear optical coupler isolator is used for carrying out photoelectric isolation processing on the PWM wave control signal sent by the controller, and transmitting the PWM wave control signal after the photoelectric isolation processing to a power supply system of the high-voltage electric pulse tumor therapeutic apparatus;
the linear optical coupler isolator string is used for carrying out photoelectric isolation processing on an analog signal sent by the pulse equipment and transmitting the analog signal subjected to the photoelectric isolation processing to the controller so that the controller can identify the running state of the pulse equipment according to the analog signal; the linear optocoupler isolator string comprises a second linear optocoupler isolator and a third linear optocoupler isolator connected with the second linear optocoupler isolator;
the optical fiber isolator is used for carrying out photoelectric isolation processing on the pulse signal sent by the signal output circuit and transmitting the pulse signal after the photoelectric isolation processing to the pulse measurement and control circuit; the charging control circuit is also used for carrying out photoelectric isolation processing on the charging control signal sent by the controller and transmitting the charging control signal subjected to the photoelectric isolation processing to the charging measurement and control circuit; the controller is also used for carrying out photoelectric isolation processing on the discharge control signal sent by the controller and transmitting the discharge control signal subjected to the photoelectric isolation processing to the discharge measurement and control circuit;
the optical coupler isolator is used for realizing the photoelectric isolation transmission of signals between the controller and external computer equipment; and the controller is also used for carrying out photoelectric isolation processing on the level signal sent by the external equipment and transmitting the level signal after the photoelectric isolation processing to the controller.
In another aspect, the present application further provides a high-voltage electric pulse tumor therapeutic apparatus, which includes the pulse output device; the RFID detection module is connected with the needle track panel;
the needle channel panel is connected with the discharge circuit; the RFID detection module is connected with the photoelectric isolation circuit.
One of the above technical solutions has the following advantages and beneficial effects:
the pulse device provided by each embodiment of the application comprises a charging plate, a pulse generating plate and a discharging plate; the charging panel comprises a charging circuit and a charging measurement and control circuit which are arranged in an isolated way; the charging circuit is electrically connected with the charging measurement and control circuit; the pulse generating board comprises a pulse generating circuit and a pulse measuring and controlling circuit which are arranged in an isolated way; the pulse generating circuit is electrically connected with the pulse measurement and control circuit; the discharge board comprises a discharge circuit and a discharge measurement and control circuit which are arranged in an isolated manner; the discharge circuit is electrically connected with the discharge measurement and control circuit; the charging circuit, the pulse generating circuit and the discharging circuit are electrically connected in sequence; the discharge circuit is used for electrically connecting the needle channel panel of the high-voltage electric pulse tumor therapeutic apparatus, and the electric isolation circuit electrically isolates all parts of circuits, thereby increasing the electric isolation effect of the pulse apparatus and improving the output pulse quality.
Drawings
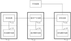
FIG. 1 is a schematic diagram of a pulse device in one embodiment;
FIG. 2 is a schematic structural diagram of a pulse device in another embodiment;
FIG. 3 is a schematic structural diagram of a pulse output apparatus in one embodiment;
fig. 4 is a schematic structural view of a pulse output device in another embodiment;
FIG. 5 is a schematic structural diagram of a high-voltage electric pulse tumor therapy apparatus according to an embodiment;
FIG. 6 is a schematic structural diagram of another embodiment of the high-voltage electric pulse tumor therapy apparatus;
FIG. 7 is a schematic structural diagram of a high-voltage electric pulse tumor therapy apparatus according to still another embodiment.
Detailed Description
To facilitate an understanding of the present application, the present application will now be described more fully with reference to the accompanying drawings. Preferred embodiments of the present application are shown in the drawings. This application may, however, be embodied in many different forms and should not be construed as limited to the embodiments set forth herein. Rather, these embodiments are provided so that this disclosure will be thorough and complete.
It will be understood that when an element is referred to as being "electrically" or "mechanically" connected to another element, it can be directly connected to the other element or intervening elements may also be present. The terms "disposed," "one end," "the other end," and the like as used herein are for illustrative purposes only.
Unless defined otherwise, all technical and scientific terms used herein have the same meaning as commonly understood by one of ordinary skill in the art to which this application belongs. The terminology used herein in the description of the present application is for the purpose of describing particular embodiments only and is not intended to be limiting of the application. As used herein, the term "and/or" includes any and all combinations of one or more of the associated listed items.
In order to solve the problem of poor electrical isolation effect of the conventional high-voltage electric pulse tumor therapeutic apparatus, which results in poor quality of output pulses, referring to fig. 1, in one embodiment, a pulse device is provided, which is applied to the high-voltage electric pulse tumor therapeutic apparatus; comprises acharging plate 11, apulse generating plate 13 and adischarging plate 15;
thecharging panel 11 comprises acharging circuit 111 and a charging measurement andcontrol circuit 113 which are arranged in an isolated manner; thecharging circuit 111 is electrically connected with the charging measurement andcontrol circuit 113;
thepulse generating board 13 comprises a pulse generatingcircuit 131 and a pulse measuring and controllingcircuit 133 which are arranged in an isolated manner; thepulse generating circuit 131 is electrically connected with the pulse measuring and controllingcircuit 133;
thedischarge plate 15 comprises adischarge circuit 151 and a discharge measurement andcontrol circuit 153 which are arranged in an isolated manner; thedischarge circuit 151 is electrically connected with the discharge measurement andcontrol circuit 153;
wherein, the chargingcircuit 111, thepulse generating circuit 131 and the dischargingcircuit 151 are electrically connected in sequence; thedischarge circuit 151 is used for electrically connecting the needle passage panel of the high-voltage electric pulse tumor therapeutic apparatus.
It should be noted that the charging board is used to connect an external power supply or a power supply system of the high-voltage electric pulse tumor therapeutic apparatus for charging, so as to provide a sufficient and stable high-voltage signal for the pulse generating board to generate the high-voltage pulse. The charging panel comprises a charging circuit and a charging measurement and control circuit, wherein the charging circuit is mainly used for storing electric energy, the charging measurement and control circuit is used for controlling the charging and discharging of the charging circuit and detecting signals or states generated by the charging circuit in the operation process, such as whether the charging panel is fully charged, charging voltage/current, discharging voltage/current, whether a discharging channel is opened, whether the charging channel is opened and the like. Specifically, the charging panel is not in direct contact with the pulse generating panel, when the pulse generating panel of the control box outputs a high-voltage signal, the charging panel needs to open a discharging channel on the charging panel, and the charging measurement and control circuit detects whether the discharging channel is opened or not in the process. The charging panel consumes electric quantity in the process of discharging to the pulse generating circuit, the voltage or current at two ends of a capacitor bank of the charging panel can be reduced, the charging measurement and control circuit detects the discharging voltage/current in real time, and when the discharging voltage/current is detected to be smaller than an initial set value, the charging panel is controlled to be charged again. In the charging process of the charging panel, the charging measurement and control circuit detects whether a charging channel is opened or not and detects charging voltage/current, the charging panel is prevented from being damaged due to overlarge charging voltage/current, and when the charging measurement and control circuit detects that the charging panel reaches the electric capacity of the charging panel, the charging is controlled to stop, and the charging panel is prevented from being overcharged.
In one example, referring to fig. 2, the chargingcircuit 111 includes a chargingpath control circuit 211, a chargingcapacitor bank 213, and a dischargingpath control circuit 215, which are electrically connected in sequence; the discharge path controlcircuit 215 is electrically connected to thepulse generation circuit 131; the charging measurement andcontrol circuit 113 comprises a chargingcontrol circuit 217 and a chargingsignal detection circuit 219; the chargingcontrol circuit 217 is connected with the chargingpath control circuit 211; the chargesignal detection circuit 219 is electrically connected to the discharge path controlcircuit 215 or thecharge capacitor bank 213.
The pulse generating plate is used for receiving the high-voltage signal output by the charging plate and converting the high-voltage signal into a high-voltage pulse. The pulse generating board comprises a pulse generating circuit and a pulse measuring and controlling circuit, wherein the pulse generating circuit is used for converting a high-voltage signal into a high-voltage pulse, the pulse measuring and controlling circuit is used for controlling the pulse generating circuit to generate the high-voltage pulse and detecting signals or states generated by the pulse generating circuit in the operation process, for example, parameters (pulse width, pulse period and pulse number) of the high-voltage pulse output by the pulse generating circuit are judged, whether the output high-voltage pulse meets the initial setting requirement or not, whether an output channel of the pulse generating circuit is opened or not and the like according to the detected parameters.
In one example, referring to fig. 2, thepulse generation circuit 131 includes apulse generator 221, aprotection circuit 223, apulse detection circuit 225, and an output path controlcircuit 227 electrically connected in this order; the output path controlcircuit 227 is electrically connected to thedischarge circuit 151; the pulse measurement andcontrol circuit 133 comprises apulse control circuit 229 and a pulsesignal detection circuit 231; thepulse control circuit 229 is electrically connected to thepulse generator 221; the pulsesignal detection circuit 231 is electrically connected to the output path controlcircuit 227.
The discharge plate is used for receiving the high-voltage pulse output by the pulse generating plate and outputting the high-voltage pulse through a needle channel selected on a needle channel panel of the high-voltage electric pulse tumor therapeutic apparatus. The discharge board comprises a discharge circuit and a discharge measurement and control circuit, wherein the discharge circuit is used for selecting a needle channel on a needle channel panel to output high-voltage pulses, the discharge measurement and control circuit is used for controlling the discharge circuit to output the high-voltage pulses and outputting signals or states generated by discharge current in the operation process, for example, the discharge measurement and control circuit detects parameters of the high-voltage pulses output by the discharge circuit, detects the needle channel selected on the needle channel panel, detects discharge voltage/current of the discharge circuit, detects whether a discharge channel of the discharge circuit is opened or not, and the like.
In one example, referring to fig. 2,discharge circuit 151 includes a pin laneselect circuit 233; the needle channelpath selection circuit 233 is used for electrically connecting a needle channel panel of the high-voltage electric pulse tumor therapeutic apparatus; the discharge measurement andcontrol circuit 153 comprises adischarge control circuit 235 and a dischargesignal detection circuit 237; thedischarge control circuit 235 and the dischargesignal detection circuit 237 are connected to the needlepassage selection circuit 233.
In order to enhance the electrical isolation between circuits, it is necessary to isolate the high-voltage circuit (charging circuit, pulse generating circuit, discharging circuit) from the low-voltage circuit (charging measurement and control circuit, pulse measurement and control circuit, discharging measurement and control circuit), and two isolation methods are provided below, but not limited to these two isolation methods:
in one example, the charging panel further comprises a first substrate, the charging circuit is arranged in a first area on the first substrate, the charging measurement and control circuit is arranged in a second area on the first substrate, and a first isolation groove penetrating through the first substrate is formed between the first area and the second area;
the pulse generating board further comprises a second substrate, the pulse generating circuit is arranged in a third area on the second substrate, the pulse measuring and controlling circuit is arranged in a fourth area on the second substrate, and a second isolation groove penetrating through the second substrate is formed between the third area and the fourth area;
the discharge board further comprises a third substrate, the discharge circuit is arranged in a fifth area on the third substrate, the discharge measurement and control circuit is arranged in a sixth area on the third substrate, and a third isolation groove penetrating through the third substrate is formed between the fifth area and the sixth area.
In another example, the charging panel further comprises a first substrate and a first adapter plate mechanically connected with the first substrate, the charging circuit is arranged on the first substrate, and the charging measurement and control circuit is arranged on the first adapter plate;
the pulse generating board further comprises a second substrate and a second adapter board mechanically connected with the second substrate, the pulse generating circuit is arranged on the second substrate, and the pulse measuring and controlling circuit is arranged on the second adapter board;
the discharge board further comprises a third substrate and a third adapter plate mechanically connected with the third substrate, the discharge circuit is arranged on the third substrate, and the discharge measurement and control circuit is arranged on the third adapter plate.
In the embodiments of the pulse device, the pulse device comprises a charging plate, a pulse generating plate and a discharging plate; the charging panel comprises a charging circuit and a charging measurement and control circuit which are arranged in an isolated way; the charging circuit is electrically connected with the charging measurement and control circuit; the pulse generating board comprises a pulse generating circuit and a pulse measuring and controlling circuit which are arranged in an isolated way; the pulse generating circuit is electrically connected with the pulse measurement and control circuit; the discharge board comprises a discharge circuit and a discharge measurement and control circuit which are arranged in an isolated manner; the discharge circuit is electrically connected with the discharge measurement and control circuit; the charging circuit, the pulse generating circuit and the discharging circuit are electrically connected in sequence; the discharge circuit is used for electrically connecting the needle way panel of the high-voltage electric pulse tumor therapeutic apparatus, the charging part, the pulse generating part and the discharging part are independently arranged into plates, and the charging plate, the pulse generating plate and the relevant circuits on the discharge plate are arranged in an isolated mode, so that the electrical isolation effect of pulse equipment is improved, and the output pulse quality is improved.
In one embodiment, referring to fig. 3, there is provided a pulse output apparatus comprising a pulse device according to the various embodiments of the pulse device of the present application; further comprises acontrol circuit 31;
thecontrol circuit 31 includes acontroller 311, asignal output circuit 313 and aphotoelectric isolation circuit 315;
thesignal output circuit 313 is electrically connected with thecontroller 311 and the photoelectric isolation circuit 314 respectively; thephotoelectric isolation circuit 315 is electrically connected to thecontroller 311, the charging measurement andcontrol circuit 113, the pulse measurement andcontrol circuit 133 and the discharging measurement andcontrol circuit 153, respectively.
It should be noted that, in a control scenario, the controller is configured to generate pulse parameters (including pulse period, pulse width, and number of pulses) and output a signal output circuit; the signal output circuit is used for generating and outputting a pulse signal according to the pulse parameter when the pulse parameter is smaller than a preset safety threshold value; the photoelectric isolation circuit is used for carrying out photoelectric isolation processing on the pulse signals and transmitting the pulse signals subjected to the photoelectric isolation processing to the pulse measurement and control circuit, and the pulse measurement and control circuit controls the pulse generation circuit to generate high-voltage pulses according to the pulse signals.
The above control scenario is specifically described as follows: and a user inputs an instruction to the controller according to actual requirements, and the controller generates corresponding pulse parameters according to the instruction. The controller generates pulse parameters and writes the pulse parameters into the signal output circuit. The pulse parameters are used to characterize the pulse signal, which includes the pulse period, pulse width, and number of pulses. In one example, the controller includes a Central Processing Unit (CPU) module, which is connected to the signal output circuit.
The signal output circuit is internally provided with a preset safety threshold in advance, after the pulse parameter is written in by the controller, the signal output circuit judges whether the pulse parameter is smaller than the preset safety threshold, and if the pulse parameter is smaller than the preset safety threshold, the signal output circuit generates a pulse signal according to the pulse parameter, so that the safety of pulse signal output is improved, and the safety of the controller for generating and outputting the pulse signal is improved. In one example, the signal output circuit may be a programmable logic or a processor, or other device for generating a pulse signal. Before generating the pulse signal, the signal output circuit needs to judge whether the pulse period of the pulse parameter is smaller than the preset pulse period, whether the pulse width of the pulse parameter is smaller than the preset pulse width and whether the pulse number of the pulse parameter is smaller than the preset pulse number, and if the pulse period of the pulse parameter is smaller than the preset pulse period, the pulse width of the pulse parameter is smaller than the preset pulse width and the pulse number of the pulse parameter is smaller than the preset pulse number, the signal output circuit generates the pulse signal according to the pulse parameter. In one example, a preset safety threshold may be configured in the controller, and the controller determines whether the pulse parameter is smaller than the preset safety threshold after generating the pulse parameter according to an instruction input by a user, and writes the pulse parameter into the signal output circuit if the pulse parameter is smaller than the preset safety threshold. In one example, the signal output circuit is a digital signal output circuit.
To further enhance the immunity to interference of the pulse signal and the accuracy of outputting the pulse signal, in one example, the signal output circuit is configured to output a high level when no pulse signal is output.
In another control scenario, the control circuit interacts with the charging and discharging panel presence signals in the pulse device, and also interacts with the external device presence signal, as described in detail below:
in one example, the controller is used for transmitting a control signal sent by the controller to a charging plate, a discharging plate or a high-voltage electric pulse tumor therapeutic apparatus after photoelectric isolation processing; wherein, the control signal is used for indicating the charging plate, the discharging plate or the high-voltage electric pulse tumor therapeutic apparatus to execute corresponding actions; the control signal includes a charge control signal, a PWM (Pulse Width Modulation) wave control signal, and/or a discharge control signal. Specifically, the charging control signal is transmitted to the charging measurement and control circuit to instruct the charging measurement and control circuit to control the charging circuit to start or stop charging; transmitting the PWM wave control signal to a power supply system to indicate the power supply system to output corresponding voltage; and the discharge control signal is transmitted to the discharge measurement and control circuit so as to indicate the discharge measurement and control circuit to control the discharge circuit to start or stop discharging.
In one example, the photoelectric isolation circuit is further used for performing photoelectric isolation processing on the analog signal sent by the charging plate, the pulse generating plate or the discharging plate, and transmitting the analog signal after the photoelectric isolation processing to the controller;
and the controller is also used for identifying the running state of the charging plate, the pulse generating plate or the discharging plate according to the corresponding analog signals.
It should be noted that, the controller is to control each of the charging panel, the pulse generating panel and the discharging panel, and also to monitor the operating states of the charging panel, the pulse generating panel and the discharging panel, so as to ensure the safe and stable operation of the charging panel, the pulse generating panel and the discharging panel, specifically, the charging measurement and control circuit collects the analog signal of the charging circuit and feeds back the analog signal to the controller through the photoelectric isolation circuit, and the controller can identify whether the charging circuit is fully charged, whether the charging circuit is currently in the charging state, and the like according to the analog signal; the pulse measurement and control circuit collects an analog signal of the pulse generation circuit and feeds back the analog signal to the controller through the photoelectric isolation circuit, and the controller identifies whether the pulse generation circuit can normally generate a pulse signal, parameters of the pulse signal and the like according to the analog signal; the discharge measurement and control circuit collects analog signals of the discharge circuit and feeds back the analog signals to the controller through the photoelectric isolation circuit, and the controller identifies discharge voltage, discharge needle channels and the like of the discharge circuit according to the analog signals.
In one example, the optoelectronic isolation circuit is further configured to perform optoelectronic isolation processing on a level signal sent by the external device, and transmit the level signal after the optoelectronic isolation processing to the controller;
and the controller is also used for identifying the running state of the external equipment according to the level signal.
The controller further includes an expansion interface, which is capable of expanding and connecting external devices, for example, the external devices include a foot switch, an electrocardiograph monitor, and the like, so that the controller realizes unified monitoring of the devices in the expansion connection. For example, the foot switch feeds back a level signal to the controller through the photoelectric isolation circuit, the controller identifies the open state, the closed state and the like of the foot switch according to the level signal, and if the open state is identified, the power supply system is controlled to supply power to the high-voltage electric pulse tumor therapeutic apparatus and start to work; if the high-voltage electric pulse tumor therapeutic apparatus is in the off state, the power supply system is controlled to stop supplying power to the high-voltage electric pulse tumor therapeutic apparatus, and the high-voltage electric pulse tumor therapeutic apparatus stops working.
In one example, the optoelectronic isolation circuit is further configured to perform optoelectronic isolation processing on a signal sent by the controller, and transmit the signal after the optoelectronic isolation processing to the external computer device.
It should be noted that the external computer device may be an input end through which a user inputs an instruction to the controller, and may also receive a signal transmitted by the controller, so that there is signal interaction between the external computer device and the controller.
In order to improve the interference immunity of various types of signal transmission, referring to fig. 4, thecontrol circuit 31 further includes aBuffer module 317; theBuffer module 317 is electrically connected to thecontroller 311, thesignal output circuit 313 and theoptoelectronic isolation circuit 315, respectively. It should be noted that, signals of interaction between the controller and the optoelectronic isolation circuit, and signals of the signal output circuit and the optoelectronic isolation circuit all need to be amplified by the Buffer module, so that the anti-interference performance of signal transmission is improved.
In order to isolate various types of signals and realize parallel transmission, in one embodiment, the photoelectric isolation circuit comprises:
the first linear optical coupler isolator is used for carrying out photoelectric isolation processing on the PWM wave control signal sent by the controller, and transmitting the PWM wave control signal after the photoelectric isolation processing to a power supply system of the high-voltage electric pulse tumor therapeutic apparatus;
the linear optical coupler isolator string is used for carrying out photoelectric isolation processing on an analog signal sent by the pulse equipment and transmitting the analog signal subjected to the photoelectric isolation processing to the controller so that the controller can identify the running state of the pulse equipment according to the analog signal; the linear optocoupler isolator string comprises a second linear optocoupler isolator and a third linear optocoupler isolator connected with the second linear optocoupler isolator;
the optical fiber isolator is used for carrying out photoelectric isolation processing on the pulse signal sent by the signal output circuit and transmitting the pulse signal after the photoelectric isolation processing to the pulse measurement and control circuit; the charging control circuit is also used for carrying out photoelectric isolation processing on the charging control signal sent by the controller and transmitting the charging control signal subjected to the photoelectric isolation processing to the charging measurement and control circuit; the controller is also used for carrying out photoelectric isolation processing on the discharge control signal sent by the controller and transmitting the discharge control signal subjected to the photoelectric isolation processing to the discharge measurement and control circuit;
the optical coupler isolator is used for realizing the photoelectric isolation transmission of signals between the controller and external computer equipment; and the controller is also used for carrying out photoelectric isolation processing on the level signal sent by the external equipment and transmitting the level signal after the photoelectric isolation processing to the controller.
In each embodiment of the pulse output device, the charging part, the pulse generating part and the discharging part are independently arranged into plates, and related circuits on the charging plate, the pulse generating plate and the discharging plate are arranged in an isolated mode, so that the electrical isolation effect of pulse equipment is increased, the output pulse quality is improved, an interference propagation path of a signal is isolated, the anti-interference performance of the signal is enhanced, the accuracy of signal transmission is improved, and the output pulse quality is improved.
In one embodiment, referring to fig. 5, there is provided a high voltage electric pulse tumor therapeutic apparatus comprising the pulse output device; the RFID card reader also comprises aneedle track panel 51 and anRFID detection module 53 connected with theneedle track panel 51;
theneedle track panel 51 is connected with thedischarge circuit 151; theRFID detection module 53 is connected to theoptoelectronic isolation circuit 315.
It should be noted that the needle track panel includes a plurality of pairs of discharge needles, and the discharge needles can be selected by the control board according to actual requirements.
In one example, referring to fig. 6, the high voltage electric pulse oncology therapy apparatus further comprises anexternal computer device 61, afoot switch 63, and anelectrocardiograph 65; theexternal computer device 61, thefoot switch 63 and theelectrocardiograph 65 are respectively connected with thephotoelectric isolation circuit 315. Specifically, the external computer equipment, the foot switch and the electrocardioscanner are respectively connected with the controller through the photoelectric isolation circuit and the Buffer module. It should be noted that, the functions of the external computer device, the foot switch, and the electrocardiograph monitor, and the signal transmission modes between the external computer device, the foot switch, the electrocardiograph monitor, and the control circuit, etc. please refer to the description in each embodiment of the control circuit of this application, and the description is omitted here.
In another example, referring to fig. 7, the high voltage electric pulse tumor treatment apparatus further comprises apower control circuit 71, apower system 73; the powersupply control circuit 71 is connected to theexternal computer device 61 and thepower supply system 73, respectively; thepower supply system 73 is connected to thephotoelectric isolation circuit 315 and the chargingcircuit 111, respectively. Specifically, the power supply system is connected with the controller through the photoelectric isolation circuit.
In another example, the high-voltage electric pulse tumor therapeutic apparatus further comprises a temperature detection device, wherein the temperature detection device is connected with the photoelectric isolation circuit and used for monitoring the temperature of the discharge area of the needle track panel and feeding back the temperature to the controller through the photoelectric isolation circuit, and the controller controls the discharge circuit to stop discharging when the temperature exceeds a preset threshold value. Specifically, the temperature detection device is connected with the controller through the photoelectric isolation circuit and the Buffer module.
The technical features of the embodiments described above may be arbitrarily combined, and for the sake of brevity, all possible combinations of the technical features in the embodiments described above are not described, but should be considered as being within the scope of the present specification as long as there is no contradiction between the combinations of the technical features.
The above-mentioned embodiments only express several embodiments of the present application, and the description thereof is more specific and detailed, but not construed as limiting the claims. It should be noted that, for a person skilled in the art, several variations and modifications can be made without departing from the concept of the present application, which falls within the scope of protection of the present application. Therefore, the protection scope of the present patent shall be subject to the appended claims.

Claims (10)

Translated fromChinese
1.一种脉冲设备,其特征在于,所述脉冲设备应用于高压电脉冲肿瘤治疗仪;包括充电板、脉冲产生板和放电板;1. A pulse device, characterized in that, the pulse device is applied to a high-voltage electric pulse tumor therapeutic apparatus; comprising a charging plate, a pulse generating plate and a discharging plate;所述充电板上包括相互隔离设置的充电电路和充电测控电路;所述充电电路电连接所述充电测控电路;The charging board includes a charging circuit and a charging measurement and control circuit that are isolated from each other; the charging circuit is electrically connected to the charging measurement and control circuit;所述脉冲产生板上包括相互隔离设置的脉冲产生电路和脉冲测控电路;所述脉冲产生电路电连接所述脉冲测控电路;The pulse generation board includes a pulse generation circuit and a pulse measurement and control circuit that are isolated from each other; the pulse generation circuit is electrically connected to the pulse measurement and control circuit;所述放电板上包括相互隔离设置的放电电路和放电测控电路;所述放电电路电连接所述放电测控电路;The discharge board includes a discharge circuit and a discharge measurement and control circuit that are isolated from each other; the discharge circuit is electrically connected to the discharge measurement and control circuit;其中,所述充电电路、所述脉冲产生电路、所述放电电路依次电连接;所述放电电路用于电连接所述高压电脉冲肿瘤治疗仪的针道面板。Wherein, the charging circuit, the pulse generating circuit, and the discharging circuit are electrically connected in sequence; the discharging circuit is used to electrically connect the needle track panel of the high-voltage electric pulse tumor treatment apparatus.2.根据权利要求1所述的脉冲设备,其特征在于,2. The pulse device according to claim 1, characterized in that,所述充电板还包括第一基板,所述充电电路设置在所述第一基板上的第一区域内,所述充电测控电路设置在所述第一基板上的第二区域内,所述第一区域与所述第二区域之间开设有贯穿所述第一基板的第一隔离槽;The charging board further includes a first substrate, the charging circuit is arranged in a first area on the first substrate, the charging measurement and control circuit is arranged in a second area on the first substrate, and the first A first isolation groove penetrating the first substrate is opened between a region and the second region;所述脉冲产生板还包括第二基板,所述脉冲产生电路设置在所述第二基板上的第三区域内,所述脉冲测控电路设置在所述第二基板上的第四区域内,所述第三区域与所述第四区域之间开设有贯穿所述第二基板的第二隔离槽;The pulse generating board further includes a second substrate, the pulse generating circuit is arranged in a third area on the second substrate, and the pulse monitoring and control circuit is arranged in a fourth area on the second substrate, so A second isolation groove penetrating the second substrate is opened between the third region and the fourth region;所述放电板还包括第三基板,所述放电电路设置在所述第三基板上的第五区域内,所述放电测控电路设置在所述第三基板上的第六区域内,所述第五区域与所述第六区域之间开设有贯穿所述第三基板的第三隔离槽。The discharge board further includes a third substrate, the discharge circuit is arranged in a fifth area on the third substrate, the discharge measurement and control circuit is arranged in a sixth area on the third substrate, and the first A third isolation trench penetrating the third substrate is opened between the fifth region and the sixth region.3.根据权利要求1所述的脉冲设备,其特征在于,3. The pulse device according to claim 1, characterized in that,所述充电板还包括第一基板和机械连接所述第一基板的第一转接板,所述充电电路设置在所述第一基板上,所述充电测控电路设置在所述第一转接板;The charging board further includes a first substrate and a first adapter plate mechanically connected to the first substrate, the charging circuit is arranged on the first substrate, and the charging measurement and control circuit is arranged on the first adapter plate;所述脉冲产生板还包括第二基板和机械连接所述第二基板的第二转接板,所述脉冲产生电路设置在所述第二基板上,所述脉冲测控电路设置在所述第二转接板;The pulse generation board further includes a second substrate and a second adapter board mechanically connected to the second substrate, the pulse generation circuit is arranged on the second substrate, and the pulse measurement and control circuit is arranged on the second substrate. transfer board;所述放电板还包括第三基板和机械连接所述第三基板的第三转接板,所述放电电路设置在所述第三基板上,所述放电测控电路设置在所述第三转接板。The discharge board further includes a third substrate and a third adapter plate mechanically connected to the third substrate, the discharge circuit is arranged on the third substrate, and the discharge measurement and control circuit is arranged on the third adapter plate.4.根据权利要求1至3任一项所述的脉冲设备,其特征在于,所述充电电路包括依次电连接的充电通路控制电路、充电电容组和放电通路控制电路;所述放电通路控制电路电连接所述脉冲产生电路;4. The pulse device according to any one of claims 1 to 3, wherein the charging circuit comprises a charging path control circuit, a charging capacitor bank and a discharge path control circuit that are electrically connected in sequence; the discharge path control circuit electrically connecting the pulse generating circuit;所述充电测控电路包括充电控制电路、充电信号检测电路;The charging measurement and control circuit includes a charging control circuit and a charging signal detection circuit;所述充电控制电路连接所述充电通路控制电路;所述充电信号检测电路电连接所述放电通路控制电路或所述充电电容组。The charging control circuit is connected to the charging path control circuit; the charging signal detection circuit is electrically connected to the discharge path control circuit or the charging capacitor group.5.根据权利要求1至3任一项所述的脉冲设备,其特征在于,所述脉冲产生电路包括依次电连接的脉冲发生器、保护电路、脉冲检测电路和输出通路控制电路;所述输出通路控制电路电连接所述放电电路;5. The pulse device according to any one of claims 1 to 3, wherein the pulse generating circuit comprises a pulse generator, a protection circuit, a pulse detection circuit and an output path control circuit that are electrically connected in sequence; the output a path control circuit is electrically connected to the discharge circuit;所述脉冲测控电路包括脉冲控制电路、脉冲信号检测电路;The pulse measurement and control circuit includes a pulse control circuit and a pulse signal detection circuit;所述脉冲控制电路电连接所述脉冲发生器;所述脉冲信号检测电路电连接所述输出通路控制电路。The pulse control circuit is electrically connected to the pulse generator; the pulse signal detection circuit is electrically connected to the output channel control circuit.6.根据权利要求1至3任一项所述的脉冲设备,其特征在于,所述放电电路包括针道通路选择电路;所述针道通路选择电路用于电连接所述高压电脉冲肿瘤治疗仪的针道面板;6. The pulse device according to any one of claims 1 to 3, wherein the discharge circuit comprises a needle path selection circuit; the needle path selection circuit is used to electrically connect the high-voltage electrical pulse tumor The needle track panel of the therapy device;所述放电测控电路包括放电控制电路、放电信号检测电路;The discharge measurement and control circuit includes a discharge control circuit and a discharge signal detection circuit;所述放电控制电路、所述放电信号检测电路分别连接所述针道通路选择电路。The discharge control circuit and the discharge signal detection circuit are respectively connected to the needle path selection circuit.7.一种脉冲输出装置,其特征在于,包括权利要求1至6任一项所述的脉冲设备;还包括控制电路;7. A pulse output device, characterized in that, comprising the pulse device according to any one of claims 1 to 6; further comprising a control circuit;所述控制电路包括控制器、信号输出电路和光电隔离电路;The control circuit includes a controller, a signal output circuit and a photoelectric isolation circuit;所述信号输出电路分别电连接所述控制器、所述光电隔离电路;所述光电隔离电路分别电连接所述控制器、所述充电测控电路、所述脉冲测控电路和所述放电测控电路。The signal output circuit is respectively electrically connected to the controller and the optoelectronic isolation circuit; the optoelectronic isolation circuit is electrically connected to the controller, the charging measurement and control circuit, the pulse measurement and control circuit and the discharge measurement and control circuit, respectively.8.根据权利要求7所述的脉冲输出装置,其特征在于,所述控制电路还包括Buffer模块;8. The pulse output device according to claim 7, wherein the control circuit further comprises a Buffer module;所述Buffer模块分别电连接所述控制器、所述信号输出电路和所述光电隔离电路。The Buffer module is respectively electrically connected to the controller, the signal output circuit and the photoelectric isolation circuit.9.根据权利要求7或8所述的脉冲输出装置,其特征在于,所述光电隔离电路包括:9. The pulse output device according to claim 7 or 8, wherein the optoelectronic isolation circuit comprises:第一线性光耦隔离器,用于对所述控制器发送的PWM波控制信号进行光电隔离处理,并所述光电隔离处理后的PWM波控制信号传输给所述高压电脉冲肿瘤治疗仪的电源系统;The first linear optocoupler isolator is used to perform optoelectronic isolation processing on the PWM wave control signal sent by the controller, and the PWM wave control signal after the optoelectronic isolation processing is transmitted to the high-voltage electrical pulse tumor therapeutic apparatus. Power Systems;线性光耦隔离器串,用于对所述脉冲设备发送的模拟信号进行光电隔离处理,并将所述光电隔离处理后的模拟信号传输所述控制器,以使所述控制器根据所述模拟信号识别所述脉冲设备的运行状态;所述线性光耦隔离器串包括第二线性光耦隔离器和连接所述第二线性光耦隔离器的第三线性光耦隔离器;A linear optocoupler isolator string is used to perform optoelectronic isolation processing on the analog signal sent by the pulse device, and transmit the optoelectronically isolated analog signal to the controller, so that the controller can perform optoelectronic isolation processing according to the analog signal. The signal identifies the operating state of the pulse device; the linear optocoupler isolator string includes a second linear optocoupler isolator and a third linear optocoupler isolator connected to the second linear optocoupler isolator;光纤隔离器,用于对所述信号输出电路发送的脉冲信号进行光电隔离处理,并将所述光电隔离处理后的脉冲信号传输给所述脉冲测控电路;还用于将所述控制器发送的充电控制信号进行光电隔离处理,并将所述光电隔离处理后的充电控制信号传输给所述充电测控电路;还用于将所述控制器发送的放电控制信号进行光电隔离处理,并将所述光电隔离处理后的放电控制信号传输给所述放电测控电路;The optical fiber isolator is used to perform photoelectric isolation processing on the pulse signal sent by the signal output circuit, and transmit the pulse signal after the photoelectric isolation treatment to the pulse measurement and control circuit; The charging control signal is subjected to photoelectric isolation processing, and the photoelectrically isolated charging control signal is transmitted to the charging measurement and control circuit; it is also used to perform photoelectric isolation processing on the discharge control signal sent by the controller, and the The discharge control signal after photoelectric isolation treatment is transmitted to the discharge measurement and control circuit;光耦隔离器,用于实现所述控制器与外部计算机设备之间的信号的光电隔离传输;还用于对外接设备发送的电平信号进行光电隔离处理,并将所述光电隔离处理后的电平信号传输给所述控制器。The optocoupler isolator is used to realize the photoelectric isolation transmission of the signal between the controller and the external computer equipment; it is also used for photoelectric isolation processing for the level signal sent by the external device, and the photoelectric isolation processing The level signal is transmitted to the controller.10.一种高压电脉冲肿瘤治疗仪,其特征在于,包括权利要求7至9任一项所述的脉冲输出装置;还包括针道面板以及连接所述针道面板的RFID检测模块;10. A high-voltage electric pulse tumor therapy apparatus, characterized in that it comprises the pulse output device according to any one of claims 7 to 9; further comprising a needle track panel and an RFID detection module connected to the needle track panel;所述针道面板连接所述放电电路;所述RFID检测模块连接光电隔离电路。The needle track panel is connected to the discharge circuit; the RFID detection module is connected to the photoelectric isolation circuit.
CN201910720705.3A2019-08-062019-08-06Pulse equipment, pulse output device and high-voltage electric pulse tumor therapeutic apparatusPendingCN112350693A (en)

Priority Applications (1)

Application NumberPriority DateFiling DateTitle
CN201910720705.3ACN112350693A (en)2019-08-062019-08-06Pulse equipment, pulse output device and high-voltage electric pulse tumor therapeutic apparatus

Applications Claiming Priority (1)

Application NumberPriority DateFiling DateTitle
CN201910720705.3ACN112350693A (en)2019-08-062019-08-06Pulse equipment, pulse output device and high-voltage electric pulse tumor therapeutic apparatus

Publications (1)

Publication NumberPublication Date
CN112350693Atrue CN112350693A (en)2021-02-09

Family

ID=74366321

Family Applications (1)

Application NumberTitlePriority DateFiling Date
CN201910720705.3APendingCN112350693A (en)2019-08-062019-08-06Pulse equipment, pulse output device and high-voltage electric pulse tumor therapeutic apparatus

Country Status (1)

CountryLink
CN (1)CN112350693A (en)

Citations (8)

* Cited by examiner, † Cited by third party
Publication numberPriority datePublication dateAssigneeTitle
US5223780A (en)*1992-07-141993-06-29Stephen HuMobile telephone battery power supply unit with power detection and discharge circuit
US20100315038A1 (en)*2009-06-162010-12-16Kyozo TeraoBattery charging pad employing magnetic induction
CN108055023A (en)*2017-12-192018-05-18乐普医学电子仪器股份有限公司A kind of boost pulse for Implantable Pulse Generator generates and control circuit
CN207652298U (en)*2017-12-282018-07-24广州健明希医疗仪器有限公司A kind of multifunctional high pressure conversion equipment for potential therapeutic instrument
CN109120162A (en)*2018-10-252019-01-01广州健明希医疗仪器有限公司A kind of device for generating voltage for potential therapeutic instrument
CN109350223A (en)*2018-10-262019-02-19南开大学 A high-voltage electrical pulse tumor therapy instrument controller based on DSP+CPLD architecture
CN209088904U (en)*2018-11-142019-07-09深圳钮迈科技有限公司High pressure steep-sided pulse generator
CN210444240U (en)*2019-08-062020-05-01深圳钮迈科技有限公司Pulse equipment, pulse output device and high-voltage electric pulse tumor therapeutic apparatus

Patent Citations (8)

* Cited by examiner, † Cited by third party
Publication numberPriority datePublication dateAssigneeTitle
US5223780A (en)*1992-07-141993-06-29Stephen HuMobile telephone battery power supply unit with power detection and discharge circuit
US20100315038A1 (en)*2009-06-162010-12-16Kyozo TeraoBattery charging pad employing magnetic induction
CN108055023A (en)*2017-12-192018-05-18乐普医学电子仪器股份有限公司A kind of boost pulse for Implantable Pulse Generator generates and control circuit
CN207652298U (en)*2017-12-282018-07-24广州健明希医疗仪器有限公司A kind of multifunctional high pressure conversion equipment for potential therapeutic instrument
CN109120162A (en)*2018-10-252019-01-01广州健明希医疗仪器有限公司A kind of device for generating voltage for potential therapeutic instrument
CN109350223A (en)*2018-10-262019-02-19南开大学 A high-voltage electrical pulse tumor therapy instrument controller based on DSP+CPLD architecture
CN209088904U (en)*2018-11-142019-07-09深圳钮迈科技有限公司High pressure steep-sided pulse generator
CN210444240U (en)*2019-08-062020-05-01深圳钮迈科技有限公司Pulse equipment, pulse output device and high-voltage electric pulse tumor therapeutic apparatus

Non-Patent Citations (6)

* Cited by examiner, † Cited by third party
Title
丁春志: "直流电机开关模式控制器电路研制", 微处理机, no. 03, 30 June 2005 (2005-06-30)*
姜久春: "《电动汽车动力电池应用技术》", 30 June 2016, 北京交通大学出版社, pages: 183*
邵建设;马颖杰;聂合文;胡梓明;殷爽;吴璐;: "蓄电池储能双向DC/DC变换器的设计", 黄冈师范学院学报, no. 03, 15 June 2016 (2016-06-15)*
郝传国: "《肿瘤放射治疗设备学》", 30 April 2015, 山东科学技术出版社, pages: 98 - 100*
陈穗等: "高压陡脉冲发生器的设计与实现", 《专题研究与综述》, no. 11, 28 February 2019 (2019-02-28), pages 5 - 10*
靳俊: "《铁路信号集中监测系统》", 31 August 2016, 中国铁道出版社, pages: 26 - 27*

Similar Documents

PublicationPublication DateTitle
TWI404296B (en) Multi-series multi-parallel battery pack
CN205787014U (en)A kind of D.C. contactor main contacts testing circuit
CN111374750B (en)Pulse real-time monitoring circuit and tumor therapeutic instrument
KR20200038244A (en) Charging device test board, test system and test method
CN108776313A (en)Dynamic characteristic test circuit and IPM test devices
CN210444240U (en)Pulse equipment, pulse output device and high-voltage electric pulse tumor therapeutic apparatus
CN105404199A (en)Self-detection circuit for implementing digital input circuit based on pulse injection method
CN205450144U (en)Test auxiliary circuit discharges
CN112350693A (en)Pulse equipment, pulse output device and high-voltage electric pulse tumor therapeutic apparatus
EP3998522A1 (en)Electric energy control module, apparatus and device
CN103490390A (en)Battery management system and method with double protective functions
KR20210007254A (en)Battery system and battery balancing method
CN109435769A (en)Battery equalization system, vehicle, battery equalization method and storage medium
CN104967170B (en)Mobile power
KR100895419B1 (en) Fast battery charging device and method
CN111384928A (en)Control circuit, control panel and high-voltage electric pulse tumor therapeutic apparatus
CN112336984A (en)Tumor therapeutic apparatus for high-voltage electric pulse and control method thereof
CN210444241U (en)Pulse generating circuit and high-voltage electric pulse tumor therapeutic apparatus
CN101860017A (en) A control device for a high-voltage high-power power electronic converter system
CN111384930A (en) Pulse generating circuit and high-voltage electric pulse tumor therapy device
EP4012880B1 (en)Charging and discharging monitoring circuit and tumor therapy instrument
CN211327779U (en)Tumor therapeutic apparatus for high-voltage electric pulse
CN210895063U (en)Central controller
CN107253509A (en)A kind of power assist vehicle method of supplying power to of use multi-unit battery module
EP4364679A1 (en)Cooperative pulse generation apparatus, device and generation method

Legal Events

DateCodeTitleDescription
PB01Publication
PB01Publication
SE01Entry into force of request for substantive examination
SE01Entry into force of request for substantive examination

[8]ページ先頭

©2009-2025 Movatter.jp