Movatterモバイル変換


[0]ホーム

URL:


CN112336448B - Irreversible electroporation circuit and irreversible electroporation apparatus for heart - Google Patents

Irreversible electroporation circuit and irreversible electroporation apparatus for heart
Download PDF

Info

Publication number
CN112336448B
CN112336448BCN202011220825.6ACN202011220825ACN112336448BCN 112336448 BCN112336448 BCN 112336448BCN 202011220825 ACN202011220825 ACN 202011220825ACN 112336448 BCN112336448 BCN 112336448B
Authority
CN
China
Prior art keywords
circuit
pulse
direct current
alternating current
irreversible electroporation
Prior art date
Legal status (The legal status is an assumption and is not a legal conclusion. Google has not performed a legal analysis and makes no representation as to the accuracy of the status listed.)
Active
Application number
CN202011220825.6A
Other languages
Chinese (zh)
Other versions
CN112336448A (en
Inventor
单纯玉
李萍
张杏芳
崔玉
李小莲
仲贝贝
郭珊印
Current Assignee (The listed assignees may be inaccurate. Google has not performed a legal analysis and makes no representation or warranty as to the accuracy of the list.)
Shanghai Bekada Medical Technology Co.,Ltd.
Original Assignee
Shanghai Bekada Medical Technology Co ltd
Priority date (The priority date is an assumption and is not a legal conclusion. Google has not performed a legal analysis and makes no representation as to the accuracy of the date listed.)
Filing date
Publication date
Application filed by Shanghai Bekada Medical Technology Co ltdfiledCriticalShanghai Bekada Medical Technology Co ltd
Priority to CN202011220825.6ApriorityCriticalpatent/CN112336448B/en
Publication of CN112336448ApublicationCriticalpatent/CN112336448A/en
Application grantedgrantedCritical
Publication of CN112336448BpublicationCriticalpatent/CN112336448B/en
Activelegal-statusCriticalCurrent
Anticipated expirationlegal-statusCritical

Links

Images

Classifications

Landscapes

Abstract

The application relates to an irreversible electroporation circuit and a heart irreversible electroporation device, wherein the irreversible electroporation circuit comprises an energy storage circuit, a first direct current and alternating current conversion circuit, an isolation transformation circuit, an alternating current and direct current conversion circuit, an amplitude stability setting circuit and a second direct current and alternating current conversion circuit which are sequentially connected; the energy storage circuit is used for storing electric energy and outputting direct current; the first direct current and alternating current conversion circuit is used for converting direct current into square wave pulses; the isolation voltage transformation circuit converts the square wave pulse into an alternating current pulse, and the alternating current and direct current conversion circuit converts the alternating current pulse into a direct current pulse; the amplitude stability setting circuit is used for adjusting the amplitude of the direct current pulse under the control of external input so as to output a stable single-phase pulse; and the second direct current-alternating current conversion circuit is used for converting the single-phase pulse into a target modulation pulse and outputting the target modulation pulse. The problem of treatment pulse waveform singleness is solved, patient's leakage current value can be less than 10uA under having guaranteed the low level state, has improved the degree of accuracy and the security of ablation treatment.

Description

Irreversible electroporation circuit and irreversible electroporation apparatus for heart
Technical Field
The application relates to the technical field of medical instruments, in particular to an irreversible electroporation circuit and a heart irreversible electroporation device.
Background
The electroporation effect refers to the phenomenon that cell membranes of cell tissues generate micropores under the action of a high-voltage pulse electric field, the permeability of the membranes is increased, the exchange capacity of molecules inside and outside the cells is enhanced, and macromolecules which cannot pass originally are allowed to pass through the cell membranes. After the high-voltage pulse is removed, the liquid channel is gradually closed, the cell permeability is slowly restored to the original level, but after the cell generates the electroporation effect, the cell membrane can generate irreversible electric breakdown along with the increase of the pulse intensity and the increase of the pulse action time, so that the lipid bilayer structure of the cell membrane and the internal environment of the cell are stabilized, the cell is gradually apoptotic and phagocytized and cleared by immune cells in vivo, and the normal tissue starts to regenerate. By utilizing the characteristic, high-voltage pulse with the pulse width of mu s-ms grade and the field intensity of kV/cm grade can be independently used to act on cancer tissues, so that irreversible electric breakdown is generated on cancer cells, the survival condition of the cancer is destroyed, and the aim of killing the cancer cells is fulfilled.
Irreversible electroporation ablation has three major clinical advantages: first, important tissue structures within the ablation zone are protected; secondly, the treatment is thorough and the boundary is clear; third, there is no heat sink effect, and the ablation effect is not affected by blood flow. These clinical advantages make irreversible electroporation ablation more suitable for cardiac ablation, including atrial fibrillation, ventricular fibrillation, septal ablation, and the like. However, due to the particularity of the heart organs, no special equipment is available for cardiology irreversible electroporation studies and clinical applications. According to the regulations of GB 9706.1-2020 general requirements for medical and electrical safety, the electrical equipment for heart should satisfy the CF type equipment, i.e. the application part must be an isolated floating ground output, and the protection degree of electric shock, especially the allowable leakage current value, should be less than 10 uA.
In the related technology, the amplitude of high-voltage electric pulses released by the existing irreversible electroporation ablation technology is mostly 500-5000V, the current is 20-50A, and irreversible electroporation products are also mostly in an energy storage capacitor direct discharge type, which is not output in a floating manner, and the leakage current value is difficult to ensure to be less than 10uA in a low level state, and the treatment pulse waveform is single, so that the technical requirement of the irreversible electroporation ablation of the heart can not be met.
Disclosure of Invention
In view of the above, it is an object of the present invention to overcome the disadvantages of the prior art and to provide a non-reversible electroporation circuit and a non-reversible electroporation apparatus for heart.
In order to achieve the purpose, the following technical scheme is adopted in the application:
the application provides an irreversible electroporation circuit which is applied to an irreversible electroporation device of a heart and comprises an energy storage circuit, a first direct current and alternating current conversion circuit, an isolation transformation circuit, an alternating current and direct current conversion circuit, an amplitude stability setting circuit and a second direct current and alternating current conversion circuit which are sequentially connected; the energy storage circuit is also used for connecting an external power supply;
the energy storage circuit is used for storing electric energy provided by the external power supply and outputting direct current to the first direct current-alternating current conversion circuit;
the first direct current and alternating current conversion circuit is used for converting the received direct current into square wave pulses and outputting the square wave pulses to the isolation transformation circuit;
the isolation transformation circuit is used for converting the received square wave pulse into an alternating current pulse and outputting the alternating current pulse to the alternating current and direct current conversion circuit;
the alternating current-direct current conversion circuit is used for converting the received alternating current pulse into a direct current pulse and outputting the direct current pulse to the amplitude stability setting circuit;
the amplitude stability setting circuit is used for adjusting the amplitude of the received direct current pulse under the control of external input so as to output a stable single-phase pulse to the second direct current-alternating current conversion circuit;
and the second direct current-alternating current conversion circuit is used for converting the received single-phase pulse into a target modulation pulse and outputting the target modulation pulse.
Optionally, the tank circuit comprises a plurality of capacitors connected in parallel.
Optionally, the capacitor comprises one or more of: super capacitor, electrolytic capacitor, multilayer ceramic capacitor, monolithic capacitor, thin film capacitor.
Optionally, the first dc-ac conversion circuit includes a first full-bridge rectification circuit.
Optionally, the first full-bridge rectification circuit includes: the high-speed pulse width modulation controller comprises a high-speed pulse width modulation controller, a first half-bridge circuit and a second half-bridge circuit; the high-speed pulse width modulation controller is respectively connected with the first half-bridge circuit and the second half-bridge circuit, and the first half-bridge circuit and the second half-bridge circuit are respectively connected with the isolation transformation circuit.
Optionally, the isolation transformer circuit includes an isolation step-up transformer.
Optionally, the ac-dc conversion circuit includes a filter circuit and a full-wave rectification circuit connected in parallel with the filter circuit.
Optionally, the amplitude stabilizing setting circuit includes: the circuit comprises a first capacitor, a first resistor, a second resistor, a first transistor, a second transistor, a first diode and a second diode; the collector of the first transistor is connected with the input end of the amplitude stability setting circuit, the collector of the first transistor is also connected with the anode of the first diode, the cathode of the second diode, the base of the first transistor and the collector of the second transistor through the first resistor, and the emitter is connected with the anode of the second diode, the base of the second transistor and the first end of the second resistor; an emitter of the second transistor is respectively connected with a second end of the second resistor and a positive output end of the amplitude stability setting circuit; the cathode of the first diode is respectively connected with the first end of the first capacitor and the anode of the external input; and the second end of the first capacitor, the negative electrode of the external input and the reverse output end of the amplitude stable setting circuit are grounded.
Optionally, the second dc-ac conversion circuit includes a second full-bridge rectification circuit.
The present application also provides a cardiac irreversible electroporation device comprising at least one irreversible electroporation circuit as described above.
The technical scheme provided by the application can comprise the following beneficial effects:
in the scheme of the application, the irreversible electroporation circuit comprises an energy storage circuit, a first direct current-alternating current conversion circuit, an isolation transformation circuit, an alternating current-direct current conversion circuit, an amplitude stability setting circuit and a second direct current-alternating current conversion circuit which are sequentially connected; the energy storage circuit can be used for quantitatively storing the electric energy provided by the external power supply, and the extremely low leakage current of a patient is ensured while the direct current is provided for the first direct current-alternating current conversion circuit; the first direct current-alternating current conversion circuit can convert the received direct current into square wave pulses and output the square wave pulses to the isolation transformation circuit, and the isolation transformation circuit carries out isolation and boosting treatment on the received square wave pulses, so that the leakage current value in a low level state is reduced, and the leakage current value can be ensured to be less than 10 uA; the received square wave pulse can be converted into a direct current pulse by using an alternating current direct current conversion circuit, so that the amplitude stability setting circuit can process the pulse; the amplitude stabilizing setting circuit is used for carrying out amplitude adjustment and voltage stabilization treatment on the direct current pulse output by the isolation voltage transformation circuit, so that the pulse amplitude is clamped at a set value, and finally, a stable single-phase pulse is output to the second direct current-alternating current conversion circuit, the accuracy of the output pulse is improved, and the ablation range is ensured; the second direct current-alternating current conversion circuit is used for carrying out frequency conversion processing on the received stable single-phase pulse, so that the single-phase pulse can be finally converted into a target modulation pulse and output, the problem of single treatment pulse waveform is solved, the leakage current value of a patient in a low level state can be ensured to be smaller than 10uA, the accuracy and safety of ablation treatment are improved, and the method can be used for irreversible electroporation ablation treatment of atrial fibrillation, ventricular fibrillation, atrial septal and ventricular septal and is also suitable for structures around the heart.
Drawings
In order to more clearly illustrate the embodiments of the present application or the technical solutions in the prior art, the drawings used in the description of the embodiments or the prior art will be briefly described below, it is obvious that the drawings in the following description are only some embodiments of the present application, and for those skilled in the art, other drawings can be obtained according to the drawings without creative efforts.
Fig. 1 is a schematic structural diagram of an irreversible electroporation circuit according to an embodiment of the present disclosure.
Fig. 2 is a schematic diagram illustrating waveform variations of circuit blocks in an irreversible electroporation circuit according to another embodiment of the present disclosure.
Fig. 3 is a schematic structural diagram of a first full-bridge rectifier circuit according to another embodiment of the present application.
Fig. 4 is a circuit diagram of a first full-bridge rectifier circuit according to another embodiment of the present application.
Fig. 5 is a circuit diagram of an ac-dc converter circuit according to another embodiment of the present application.
Fig. 6 is a circuit diagram of an amplitude stabilization setting circuit according to another embodiment of the present application.
Fig. 7 is a circuit diagram of a second full-bridge rectifier circuit according to another embodiment of the present application.
Detailed Description
In order to make the objects, technical solutions and advantages of the present application more apparent, the technical solutions of the present application will be described in detail below. It is to be understood that the embodiments described are only a few embodiments of the present application and not all embodiments. All other embodiments, which can be derived by a person skilled in the art from the examples given herein without making any creative effort, shall fall within the protection scope of the present application.
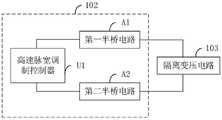
Fig. 1 is a schematic structural diagram of an irreversible electroporation circuit according to an embodiment of the present application. The embodiment of the present application provides an irreversible electroporation circuit, which is applied to a cardiac irreversible electroporation device, and as shown in the figure, the irreversible electroporation circuit includes anenergy storage circuit 101, a first dc/ac conversion circuit 102, anisolation transformation circuit 103, an ac/dc conversion circuit 104, an amplitudestabilization setting circuit 105, and a second dc/ac conversion circuit 106, which are connected in sequence; thetank circuit 101 is also used for connecting an external power supply.
Theenergy storage circuit 101 is configured to store electric energy provided by an external power source and output a direct current to the first dc-ac conversion circuit 102; the first dc-ac conversion circuit 102 is configured to convert the received dc power into square wave pulses and output the square wave pulses to theisolation transformer circuit 103; theisolation transformation circuit 103 is used for converting the received square wave pulse into an alternating current pulse and outputting the alternating current pulse to the alternating current/directcurrent conversion circuit 104, and the alternating current/directcurrent conversion circuit 104 is used for converting the received alternating current pulse into a direct current pulse and outputting the direct current pulse to the amplitudestabilization setting circuit 105; the amplitudestabilization setting circuit 105 is configured to perform amplitude adjustment on the received dc pulse under control of an external input, so as to output a stable single-phase pulse to the second dc-ac conversion circuit 106; the second dc/ac conversion circuit 106 is configured to convert the received single-phase pulse into a target modulation pulse and output the target modulation pulse.
In this embodiment, the irreversible electroporation circuit includes an energy storage circuit, a first dc/ac conversion circuit, an isolation transformer circuit, an ac/dc conversion circuit, an amplitude stabilization setting circuit, and a second dc/ac conversion circuit, which are connected in sequence; the energy storage circuit can be used for quantitatively storing the electric energy provided by the external power supply, and the extremely low leakage current of a patient is ensured while the direct current is provided for the first direct current-alternating current conversion circuit; the first direct current-alternating current conversion circuit can convert the received direct current into square wave pulses and output the square wave pulses to the isolation transformation circuit, and the isolation transformation circuit carries out isolation and boosting treatment on the received square wave pulses, so that the leakage current value of a patient in a low-level state is reduced, and the leakage current value can be ensured to be less than 10 uA; the received square wave pulse can be converted into a direct current pulse by using an alternating current direct current conversion circuit, so that the amplitude stability setting circuit can process the pulse; the amplitude stabilizing setting circuit is used for carrying out amplitude adjustment and voltage stabilization treatment on the direct current pulse output by the isolation voltage transformation circuit, so that the pulse amplitude is clamped at a set value, and finally, a stable single-phase pulse is output to the second direct current-alternating current conversion circuit, the accuracy of the output pulse is improved, and the ablation range is ensured; the second direct current-alternating current conversion circuit is used for carrying out frequency conversion processing on the received stable single-phase pulse, so that the single-phase pulse can be finally converted into a target modulation pulse and output, the problem of single treatment pulse waveform is solved, the leakage current value in a low level state can be ensured to be less than 10uA, the accuracy and safety of ablation treatment are improved, and the method can be used for irreversible electroporation ablation treatment of atrial fibrillation, ventricular fibrillation, atrial septa and ventricular septa and is also suitable for structures around the heart.
In specific implementation, after the irreversible electroporation circuit is electrified, the energy storage circuit can be charged to 30-60V through an external power supply, and meanwhile, extremely low leakage current of a patient is ensured. When the irreversible electroporation circuit works, the first direct current-alternating current conversion circuit can convert direct current voltage output by the energy storage circuit into square wave pulse of 100kHz-800kHz and apply the square wave pulse to the input end of the isolation transformation circuit, the output end of the isolation transformation circuit obtains the square wave pulse which has the same waveform as the input end and the amplitude of 900 plus 1200V, the alternating current-direct current conversion circuit converts the received square wave pulse and outputs the direct current pulse with the amplitude of 900 plus 1200V, the amplitude stability setting circuit controls the clamping amplitude value of the received direct current pulse with the amplitude of 900 plus 1200V to be at a set value under the external input control and finally outputs stable single-phase pulse, and the second direct current-alternating current conversion circuit converts the received single-phase pulse into finally required target modulation pulse. As shown in fig. 2, a waveform a is a dc voltage output by the energy storage circuit, and is converted by the first dc-ac conversion circuit to obtain a square wave pulse shown as b, the square wave pulse b is subjected to isolation transformation processing by the isolation transformation circuit to obtain a square wave pulse c having the same waveform but different amplitudes, the square wave pulse c is subjected to processing by the ac-dc conversion circuit to obtain a dc pulse d having the same amplitude as the square wave pulse c, the dc pulse d is subjected to voltage and amplitude stabilization by the amplitude stabilization setting circuit to obtain a single-phase pulse e having a stable amplitude, and the single-phase pulse e is converted by the second dc-ac conversion circuit to obtain a target modulation pulse f.
Wherein the magnitude of the amplitude of the target modulation pulse is controlled by an external input.
In some embodiments, the energy storage circuit may be an ultra-low voltage energy storage capacitor, and the ultra-low voltage energy storage capacitor can provide 5000A current instantly when working at 30-60V. To reduce the equivalent series resistance of the total capacitance, the ultra low voltage energy storage capacitor may comprise a plurality of capacitors connected in parallel.
In practice, the capacitor may include one or more of the following: super capacitor, electrolytic capacitor, multilayer ceramic capacitor, monolithic capacitor, thin film capacitor. After the power is switched on, the energy storage circuit stores electric energy for the first direct current alternating current conversion circuit to use.
In some embodiments, the first dc-ac conversion circuit comprises a first full-bridge rectification circuit.
When the first full-bridge rectifying circuit works, the direct-current voltage on the energy storage circuit can be converted into square-wave pulses with the amplitude of 30-60V and the frequency of 100kHz-800kHz by the H-bridge circuit, and the square-wave pulses are applied to the input end of the isolation transformation circuit.
In some embodiments, as shown in fig. 3, the first full-bridge rectifier circuit may include: a high-speed pulse width modulation controller U1, a first half-bridge circuit A1 and a second half-bridge circuit A2; the high-speed pulse width modulation controller U1 is respectively connected with the first half-bridge circuit A1 and the second half-bridge circuit A2, and the first half-bridge circuit A1 and the second half-bridge circuit A2 are respectively connected with theisolated transformer circuit 103.
In practical application, as shown in fig. 4, the isolation transformer circuit may include an isolation step-up transformer T, the model of the high-speed pwm controller U1 may be UC3825, the operating frequency thereof is up to 1000kHz, and the starting current is 100 μ a; the first half bridge circuit a1 may include a first driver U2, a second capacitor C2, a third transistor Q3, and a fourth transistor Q4; the second half-bridge circuit a2 may include a second driver U3, a third capacitor C3, a fifth transistor Q5, and a sixth transistor Q6; the models of the first driver U2 and the second driver U3 may be L6491D.
In implementation, the first full-bridge rectifier circuit may further include a timing resistor RT and a timing capacitor CT, the pin INV of the high-speed pwm controller U1 is connected to the pin EAOUT, the pin RT is grounded through the timing resistor RT, the pin CT and the pin RAMP are grounded through the timing capacitor CT, the pin VCC and the pin VC are connected to 15V operating voltage, and the pin OUTB is connected to thepin 2 of the first driver U2
Figure BDA0002761964000000081
Connected with pin HINPin PGND, pin GND and pin ILIM are grounded, respectively, and pin OUTA is grounded to pin U3 of the second driver
Figure BDA0002761964000000082
And pin HIN. A pin VCC of the first driver U2 is connected to a 15V operating voltage, a pin SGND and a pin PGND are grounded, a pin BOOT is connected to a pin OUT through a second capacitor C2, a pin HVG is connected to a gate of the third transistor Q3, the pin OUT is connected to a source of the third transistor Q3 and the first input terminal 1 of the isolation step-up transformer T, respectively, and a pin LVG is connected to a gate of the fourth transistor Q4. A pin VCC of the second driver U3 is connected to a 15V operating voltage, a pin SGND and a pin PGND are grounded, a pin BOOT is connected to a pin OUT through a third capacitor C3, a pin HVG is connected to a gate of the fifth transistor Q5, the pin OUT is connected to a source of the fifth transistor Q5 and thesecond input terminal 2 of the isolation step-up transformer T, respectively, and a pin LVG is connected to a gate of the sixth transistor Q6. The third transistor Q3 has a drain connected to the input terminal J of the first dc/ac conversion circuit, and a source connected to the drain of the fourth transistor Q4. The source of the fourth transistor Q4 is connected to ground. The fifth transistor Q5 has a drain connected to the input terminal J of the first dc-ac conversion circuit and a source connected to the drain of the sixth transistor Q6. The source of the sixth transistor Q6 is connected to ground. The input terminal J of the first DC-AC conversion circuit is grounded with the ultra-low voltage energy storage capacitor C of the energy storage circuit.
Wherein, the working frequency of the high-speed pulse width modulation controller U1 is up to 1000kHz, and the starting current is 100 muA; the timing resistor RT and the timing capacitor CT are respectively used for setting the working frequency of the U1 and the time of output pulse; RT and CT values can be set according to requirements, and the operating frequency of U1 is set to be 100kHz-800 kHz.
During work, the output ports OUTA and OUTB of the U1 send two paths of PWM signals with phase difference of 180 degrees to input end pins LIN of U2 and U3 respectively; the first driver U2 and the second driver U3 can be half-bridge FET driver L6491D, the peak value source current of which is 4A, the peak value sink current of which is 4A, the driving speed is up to 800kHz, the quiescent current is 540 muA, and a high-speed comparator is arranged in the L6491D and can be used for detecting the magnetic saturation of the transformer. The first driver U2, the third transistor Q3 and the fourth transistor Q4 form one half-bridge arm, and the second driver U3, the fifth transistor Q5 and the sixth transistor Q6 form the other half-bridge arm. The two bridge arms are respectively connected with a first input end 1 and asecond input end 2 of an isolation boosting transformer T to form a full-bridge converter. The transistors Q1, Q2, Q3 and Q4 can be selected from NTBLS1D5N08MC power MOSFETs, can provide high-current high-speed switching, the switching time is less than 50ns, the on-resistance is 1.53m omega, the drain-source breakdown voltage is 80V, the pulse current reaches 4487A, and the pin-free chip package can reduce the electromagnetic interference to the minimum; the energy storage circuit C is an ultra-low voltage energy storage capacitor; the capacitors C2 and C3 are filter capacitors for supplying power to the drivers U2 and U3.
In actual control, pin NI of U1 is used to control the output of the pulse. When the pin NI is at a high level, the output port (pins OUTA, OUTB) of the U1 sends a PWM signal, and the first dc-ac conversion circuit outputs a pulse; when the pin NI is at a low level, the output port (pins OUTA, OUTB) of the U1 is at a low level, no PWM signal is generated, and no pulse is output from the first dc-ac converting circuit. Thus, the duty cycle of the first dc-ac converting circuit (i.e., the high time at pin NI of U1) is the pulse width output by the cardiac irreversible electroporation device.
In some embodiments, the isolation transformer circuit may include an isolation step-up transformer for energy transfer, voltage boosting, and electrical isolation, wherein the energy transfer is accomplished by a high frequency alternating magnetic field. The isolation step-up transformer may have only one set of primary windings and one set of secondary windings so that the effective volume of the magnetic core can be fully utilized. The number of turns of the primary coil can be 1-6 turns, and the number of turns of the secondary coil can be 20-100 turns.
In the implementation, the output pulse amplitude of the secondary coil of the isolation boosting transformer is 1200V, and the frequency is square wave pulse of 100kHz-800kHz, wherein, in order to reduce leakage inductance and distributed capacitance, a ferrite magnetic core with a larger aspect ratio can be adopted; in order to reduce electromagnetic interference, a grounded shielding tape may be disposed on the outer layer of the isolation step-up transformer.
Since the pulse amplitude of the biphasic pulse output by the isolation step-up transformer changes with the change of load impedance, the output amplitude must be stabilized in order to improve accuracy, and since the amplitude stabilization setting circuit can only process the direct current pulse, the alternating current pulse output by the isolation transformation circuit needs to be converted by the alternating current-direct current conversion circuit.
As shown in fig. 5, the ac-dc conversion circuit may include a filter circuit B1 and a full-wave rectification circuit B2 connected in parallel with the filter circuit B1. The full-wave rectification circuit B2 includes a third diode D3, a fourth diode D4, a fifth diode D5, and a sixth diode D6; the filter circuit B1 includes a third resistor R3 and a fourth capacitor C4 connected in parallel.
The anode of the third diode D3 is connected to the cathode of the fourth diode D4, and is further used for connecting to the second output terminal 4 of the isolation step-up transformer T in the isolation transformer circuit, the cathodes of the third diode D3 are respectively connected to the cathode of the fifth diode D5, and are grounded through the third resistor R3 and the fourth capacitor C4 which are connected in parallel, and the cathode of the third diode D3 is further connected to the output terminal of the ac-dc converter circuit, and is used for outputting dc pulses; the cathode of the fourth diode D4 is grounded; the anode of the fifth diode D5 is connected to the cathode of the sixth diode D6, and is further used for connecting the first output end 3 of the isolation step-up transformer T; the cathode of the sixth diode D6 is connected to ground.
In the working process, when the isolation boosting transformer T has no pulse output, no voltage exists on the fourth capacitor C4, and the third resistor R3 is used for discharging the fourth capacitor C4 so as to prevent the voltage on the fourth capacitor C4 from being overhigh due to transformer leakage inductance in the no-load state; the discharge time constant is less than 0.2 ms; when the isolation transformer circuit T has a pulse output, the ac-dc conversion circuit may convert the ac pulse output by the isolation step-up transformer T into a dc pulse with an amplitude of 1200V.
In irreversible electroporation circuits, the amplitude stabilization setting circuit is responsible for two tasks: the first is amplitude setting, the irreversible electroporation threshold of human tissues is directly related to the electric field intensity, when the electrode spacing is fixed, the electric field intensity is in direct proportion to the pulse amplitude, the pulse amplitude determines the single ablation range, and in addition, different tissues have different thresholds and need different pulse amplitudes; secondly, the amplitude is stabilized, the load impedance is closely related to the square wave pulse waveform, especially when the load impedance is small, the risk of distortion of the output waveform is increased, the biological impedance is different due to different tissue components, and when the square wave pulse acts on the biological tissue to cause the tissue cells to generate the electroporation effect, the biological tissue impedance also changes, so that the biological impedance cannot be expected in the process of the electroporation effect of the tissue, therefore, in order to ensure that the output square wave pulse is not distorted, a voltage stabilizing circuit is required to be arranged for stabilizing the voltage value of the output pulse so as to avoid the distortion of the square wave pulse waveform.
In this embodiment, as shown in fig. 6, the amplitude stabilization setting circuit may include: a first capacitor C1, a first resistor R1, a second resistor R2, a first transistor Q1, a second transistor Q2, a first diode D1, and a second diode D2; the collector of the first transistor Q1 is connected to the input end of the amplitude stabilizing setting circuit, the collector of the first transistor Q1 is also connected to the anode of the first diode D1, the cathode of the second diode D2, the base of the first transistor Q1 and the collector of the second transistor Q2 through a first resistor R1, and the emitter is connected to the anode of the second diode D2, the base of the second transistor Q2 and the first end of a second resistor R2; the emitter of the second transistor Q2 is respectively connected with the second end of the second resistor R2 and the positive output end V of the amplitude stabilizing setting circuitOutput toConnecting; the cathode of the first diode is respectively connected with the first end of the first capacitor C1 and the anode V of the external inputSet upConnecting; the second end of the first capacitor C1 and the negative pole V of the external inputInstallation-Negative output end V of sum amplitude stable setting circuitOutput-Grounding; positive output end V of amplitude stable setting circuitOutput toThe input end of the second DC/AC conversion circuit is connected with the input end of the second DC/AC conversion circuit.
The first transistor Q1 is an IGBT, and the first resistor R1 and the first transistor Q1 form an emitter follower; the second diode D2 is a protection diode, the second transistor is a triode, the model of the triode can be S8050, and the second resistor R2 and the second transistor Q2 form an output end overcurrent protection circuit; the voltage on the first capacitor C1 is the external input VSet up. Emitter follower when pulse arrivesOperation starts, clamping the emitter voltage of the first transistor Q1 at VSet upThe first diode D1 allows the emitter follower input pulse amplitude to be less than VSet upTherefore, the amplitude stability setting circuit can adjust the DC pulse with the amplitude of 1200V output by the AC-DC conversion circuit into the single-phase pulse with the amplitude of 0-1000V. Further, since the irreversible electroporation circuit is an isolated output, the amplitude setting (external input) VSet upIt should be given in isolation.
In some embodiments, the second dc-ac conversion circuit may include a second full-bridge rectification circuit. As shown in fig. 7, the second full-bridge rectification circuit may include a third driver U4, a seventh transistor Q7, an eighth transistor Q8, a ninth transistor Q9, a tenth transistor Q10, and a fourth driver U5.
In particular, third driver U4 and fourth driver U5 may employ isolated fet driver UCC 21521. As shown in fig. 7, the pin INA of the third driver U4 is connected to the pin INB of the fourth driver U5, the pin INB is connected to the pin INA of the fourth driver U5, the pin VDDA is connected to the +15V operating voltage, the pin OUTA is connected to the gate of the seventh transistor Q7, the pin VSSA is connected to the-5V operating voltage, the pin VDDB is connected to the +15V operating voltage, the pin OUTB is connected to the gate of the eighth transistor Q8, and the pin VSSB is connected to the-5V operating voltage. The fourth driver U5 has a pin VDDA connected to the +15V operating voltage, a pin OUTA connected to the gate of the ninth transistor Q9, a pin VSSA connected to the-5V operating voltage, a pin VDDB connected to the +15V operating voltage, a pin OUTB connected to the gate of the tenth transistor Q10, and a pin VSSB connected to the-5V operating voltage. The drain of the seventh transistor Q7 and the drain of the ninth transistor Q9 are connected to the input terminal of the amplitude stabilization setting circuit, and the source of the seventh transistor Q7 and the drain of the eighth transistor Q8 are connected to thefirst output terminal 5 of the second dc-ac conversion circuit, respectively. The source of the eighth transistor Q8 is connected to ground. The source of the ninth transistor Q9 and the drain of the tenth transistor Q10 are connected to thesecond output terminal 6 of the second dc/ac conversion circuit, respectively. The source of the tenth transistor Q10 is grounded; thefirst output terminal 5 and thesecond output terminal 6 of the second dc-ac conversion circuit are used to output the target modulation pulse to the load R. In this way, the second direct current-alternating current conversion circuit can convert the single-phase pulse with the amplitude of 0-1000V output by the amplitude stability setting circuit into the target modulation pulse with the amplitude of 0-1000V.
The isolated field effect transistor driver UCC21521 is a dual-input and dual-channel grid driver, the peak source current of the isolated field effect transistor driver UCC is 4A, the peak sink current of the isolated field effect transistor driver UCC is 6A, the isolated current of the isolated field effect transistor UCC is used for driving a power silicon carbide field effect transistor with the frequency of up to 5MHz, the isolation voltage of an input side and an output side is 5.7kVRMS, the minimum value of common mode transient immunity (CMIT) is 100V/ns, and the surge suppression voltage is 12.8 kV. In the present embodiment, the third driver U4, the seventh transistor Q7 and the eighth transistor Q8 form a left half-bridge arm, and the fourth driver U5, the ninth transistor Q9 and the tenth transistor Q10 form a right half-bridge arm; the seventh transistor Q7, the eighth transistor Q8, the ninth transistor Q9 and the tenth transistor Q10 may be NTBG020N120SC1 silicon carbide field effect transistors, which may increase the switching speed to the nanosecond level; two paths of PWM signals with the phase difference of 180 degrees can be applied to an input terminal pin INA of the third driver U4 and an input terminal pin INB of the fourth driver U5, when the input terminal pin INA of the third driver U4 is at a high level, a positive pulse is output, and when the input terminal pin INB of the third driver U4 is at a high level, a negative pulse is output, so that a target modulation pulse is obtained, and high-frequency irreversible electroporation is realized.
Embodiments of the present application provide a cardiac irreversible electroporation device comprising at least one irreversible electroporation circuit as described in any of the above embodiments. When the number of the irreversible electroporation circuits in the heart irreversible electroporation device is n, and n is more than or equal to 2, the connection relationship of the n irreversible electroporation circuits is that the input is connected in parallel and the output is connected in series, thus the output amplitude can be improved by n times. For example, a single irreversible electroporation circuit can output square wave pulses with the amplitude of +/-1000V, 5 irreversible electroporation circuits in a cardiac irreversible electroporation device are connected in parallel and output in series, and the amplitude of the finally output target modulation pulse can be increased to +/-5000V.
It is understood that the same or similar parts in the above embodiments may be mutually referred to, and the same or similar parts in other embodiments may be referred to for the content which is not described in detail in some embodiments.
It should be noted that, in the description of the present application, the terms "first", "second", etc. are used for descriptive purposes only and are not to be construed as indicating or implying relative importance. Further, in the description of the present application, the meaning of "a plurality" means at least two unless otherwise specified.
Any process or method descriptions in flow charts or otherwise described herein may be understood as representing modules, segments, or portions of code which include one or more executable instructions for implementing specific logical functions or steps of the process, and the scope of the preferred embodiments of the present application includes other implementations in which functions may be executed out of order from that shown or discussed, including substantially concurrently or in reverse order, depending on the functionality involved, as would be understood by those reasonably skilled in the art of the present application.
In the description herein, reference to the description of the term "one embodiment," "some embodiments," "an example," "a specific example," or "some examples," etc., means that a particular feature, structure, material, or characteristic described in connection with the embodiment or example is included in at least one embodiment or example of the application. In this specification, the schematic representations of the terms used above do not necessarily refer to the same embodiment or example. Furthermore, the particular features, structures, materials, or characteristics described may be combined in any suitable manner in any one or more embodiments or examples.
Although embodiments of the present application have been shown and described above, it is understood that the above embodiments are exemplary and should not be construed as limiting the present application, and that variations, modifications, substitutions and alterations may be made to the above embodiments by those of ordinary skill in the art within the scope of the present application.

Claims (9)

1. The irreversible electroporation circuit is characterized by being applied to a heart irreversible electroporation device and comprising an energy storage circuit, a first direct current and alternating current conversion circuit, an isolation transformation circuit, an alternating current and direct current conversion circuit, an amplitude stability setting circuit and a second direct current and alternating current conversion circuit which are sequentially connected; the energy storage circuit is also used for connecting an external power supply;
the energy storage circuit is used for storing electric energy provided by the external power supply and outputting direct current to the first direct current-alternating current conversion circuit;
the first direct current and alternating current conversion circuit is used for converting the received direct current into square wave pulses and outputting the square wave pulses to the isolation transformation circuit;
the isolation transformation circuit is used for converting the received square wave pulse into an alternating current pulse and outputting the alternating current pulse to the alternating current and direct current conversion circuit;
the alternating current-direct current conversion circuit is used for converting the received alternating current pulse into a direct current pulse and outputting the direct current pulse to the amplitude stability setting circuit;
the amplitude stability setting circuit is used for adjusting the amplitude of the received direct current pulse under the control of external input so as to output a stable single-phase pulse to the second direct current-alternating current conversion circuit; the amplitude stabilization setting circuit includes: the circuit comprises a first capacitor, a first resistor, a second resistor, a first transistor, a second transistor, a first diode and a second diode; the collector of the first transistor is connected with the input end of the amplitude stability setting circuit, the collector of the first transistor is also connected with the anode of the first diode, the cathode of the second diode, the base of the first transistor and the collector of the second transistor through the first resistor, and the emitter is connected with the anode of the second diode, the base of the second transistor and the first end of the second resistor; an emitter of the second transistor is respectively connected with a second end of the second resistor and a positive output end of the amplitude stability setting circuit; the cathode of the first diode is respectively connected with the first end of the first capacitor and the anode of the external input; the second end of the first capacitor, the negative electrode of the external input and the reverse output end of the amplitude stability setting circuit are grounded;
and the second direct current-alternating current conversion circuit is used for converting the received single-phase pulse into a target modulation pulse and outputting the target modulation pulse.
2. The irreversible electroporation circuit of claim 1, wherein the tank circuit comprises a plurality of capacitors connected in parallel.
3. The irreversible electroporation circuit of claim 2, wherein the capacitor comprises one or more of: super capacitor, electrolytic capacitor, multilayer ceramic capacitor, monolithic capacitor, thin film capacitor.
4. The irreversible electroporation circuit of claim 1, wherein the first dc-to-ac conversion circuit comprises a first full-bridge rectification circuit.
5. The irreversible electroporation circuit of claim 4, wherein the first full-bridge rectification circuit comprises: the high-speed pulse width modulation controller comprises a high-speed pulse width modulation controller, a first half-bridge circuit and a second half-bridge circuit; the high-speed pulse width modulation controller is respectively connected with the first half-bridge circuit and the second half-bridge circuit, and the first half-bridge circuit and the second half-bridge circuit are respectively connected with the isolation transformation circuit.
6. The irreversible electroporation circuit of claim 1, wherein the isolation transformer circuit comprises an isolation step-up transformer.
7. The irreversible electroporation circuit of claim 1, wherein the ac-dc conversion circuit comprises a filter circuit and a full-wave rectifier circuit connected in parallel to the filter circuit.
8. The irreversible electroporation circuit of claim 1, wherein the second dc-ac conversion circuit comprises a second full-bridge rectification circuit.
9. A cardiac irreversible electroporation device comprising at least one irreversible electroporation circuit as claimed in any one of claims 1 to 8.
CN202011220825.6A2020-11-052020-11-05Irreversible electroporation circuit and irreversible electroporation apparatus for heartActiveCN112336448B (en)

Priority Applications (1)

Application NumberPriority DateFiling DateTitle
CN202011220825.6ACN112336448B (en)2020-11-052020-11-05Irreversible electroporation circuit and irreversible electroporation apparatus for heart

Applications Claiming Priority (1)

Application NumberPriority DateFiling DateTitle
CN202011220825.6ACN112336448B (en)2020-11-052020-11-05Irreversible electroporation circuit and irreversible electroporation apparatus for heart

Publications (2)

Publication NumberPublication Date
CN112336448A CN112336448A (en)2021-02-09
CN112336448Btrue CN112336448B (en)2021-12-28

Family

ID=74429702

Family Applications (1)

Application NumberTitlePriority DateFiling Date
CN202011220825.6AActiveCN112336448B (en)2020-11-052020-11-05Irreversible electroporation circuit and irreversible electroporation apparatus for heart

Country Status (1)

CountryLink
CN (1)CN112336448B (en)

Families Citing this family (6)

* Cited by examiner, † Cited by third party
Publication numberPriority datePublication dateAssigneeTitle
US12076071B2 (en)2020-08-142024-09-03Kardium Inc.Systems and methods for treating tissue with pulsed field ablation
CN112776743B (en)*2021-03-082024-05-17数源科技股份有限公司Vehicle-mounted control system using Fabry-Perot capacitor battery
CN114081614B (en)*2021-07-262024-05-28上海健康医学院 Pulsed electric field tissue ablation device
IL303372A (en)2022-06-162024-01-01Biosense Webster Israel Ltd Multiplexer for high power with components for low power
CN115005961B (en)*2022-07-072023-05-12上海普实医疗器械股份有限公司Cardiac pulse electric field ablation system
CN115454185B (en)*2022-09-022023-11-28南京伟思医疗科技股份有限公司Amplitude-adjustable power supply control method and control system of pulse magnetic stimulator

Citations (12)

* Cited by examiner, † Cited by third party
Publication numberPriority datePublication dateAssigneeTitle
CN101428164A (en)*2008-08-192009-05-13李隆Internet human body information wave, music information wave current and high-voltage electric field synchronous therapeutic equipment
CN101997499A (en)*2010-12-152011-03-30烽火通信科技股份有限公司AGC (Automatic Gain Control) circuit for transimpedance amplifier
CN102347697A (en)*2010-07-292012-02-08上海儒竞电子科技有限公司Direct DC-AC (direct current-alternating current) converting circuit for low-voltage input full bridge inverter
CN102882398A (en)*2011-07-132013-01-16台达电子工业股份有限公司 DC to AC Converter
CN103563252A (en)*2011-06-302014-02-05日本电信电话株式会社 Automatic Gain Control Circuit
CN105445620A (en)*2015-11-272016-03-30云南电网有限责任公司电力科学研究院High voltage output device and method for feed line automation test
CN106264723A (en)*2016-10-142017-01-04上海健康医学院A kind of tandem type square wave irreversibility electroporation apparatus
CN106529344A (en)*2016-12-122017-03-22郑州天舜电子技术有限公司Control circuit for reducing DC gain of internal module of computer
CN107635496A (en)*2015-05-122018-01-26圣犹达医疗用品电生理部门有限公司 Asymmetric Balanced Waveforms for Irreversible Electroporation of the AC Heart
CN111248994A (en)*2019-12-112020-06-09韦伯斯特生物官能(以色列)有限公司Modulating delivery of irreversible electroporation pulses based on transferred energy
CN111437031A (en)*2020-04-302020-07-24湖南菁益医疗科技有限公司Electrosurgical system and surgical electrode
CN111839719A (en)*2020-08-312020-10-30赛诺微医疗科技(浙江)有限公司Electrocardio synchronous output device and method for irreversible electroporation ablation

Family Cites Families (6)

* Cited by examiner, † Cited by third party
Publication numberPriority datePublication dateAssigneeTitle
CN1428936A (en)*2001-12-262003-07-09侯耀存Digital basic unit circuit for adapting voltage wide-amplitude fluctuation
CN100530925C (en)*2006-09-222009-08-19群康科技(深圳)有限公司Multi-channel DC voltage stabilization output circuit
EP2262078A1 (en)*2009-06-102010-12-15Braun GmbHVorrichtung and method for inductive energy transfer
CN101972168B (en)*2010-11-162012-05-02重庆大学 Device for Irreversible Electroporation to Treat Tumors
GB2513872A (en)*2013-05-082014-11-12Creo Medical LtdElectrosurgical apparatus
GB2572400A (en)*2018-03-292019-10-02Creo Medical LtdElectrosurgical generator

Patent Citations (12)

* Cited by examiner, † Cited by third party
Publication numberPriority datePublication dateAssigneeTitle
CN101428164A (en)*2008-08-192009-05-13李隆Internet human body information wave, music information wave current and high-voltage electric field synchronous therapeutic equipment
CN102347697A (en)*2010-07-292012-02-08上海儒竞电子科技有限公司Direct DC-AC (direct current-alternating current) converting circuit for low-voltage input full bridge inverter
CN101997499A (en)*2010-12-152011-03-30烽火通信科技股份有限公司AGC (Automatic Gain Control) circuit for transimpedance amplifier
CN103563252A (en)*2011-06-302014-02-05日本电信电话株式会社 Automatic Gain Control Circuit
CN102882398A (en)*2011-07-132013-01-16台达电子工业股份有限公司 DC to AC Converter
CN107635496A (en)*2015-05-122018-01-26圣犹达医疗用品电生理部门有限公司 Asymmetric Balanced Waveforms for Irreversible Electroporation of the AC Heart
CN105445620A (en)*2015-11-272016-03-30云南电网有限责任公司电力科学研究院High voltage output device and method for feed line automation test
CN106264723A (en)*2016-10-142017-01-04上海健康医学院A kind of tandem type square wave irreversibility electroporation apparatus
CN106529344A (en)*2016-12-122017-03-22郑州天舜电子技术有限公司Control circuit for reducing DC gain of internal module of computer
CN111248994A (en)*2019-12-112020-06-09韦伯斯特生物官能(以色列)有限公司Modulating delivery of irreversible electroporation pulses based on transferred energy
CN111437031A (en)*2020-04-302020-07-24湖南菁益医疗科技有限公司Electrosurgical system and surgical electrode
CN111839719A (en)*2020-08-312020-10-30赛诺微医疗科技(浙江)有限公司Electrocardio synchronous output device and method for irreversible electroporation ablation

Non-Patent Citations (2)

* Cited by examiner, † Cited by third party
Title
Measurement and Analysis of Input-Signal Dependent Flicker Noise Modulation in Chopper Stabilized Instrumentation Amplifier;Hyunsoo Ha 等;《IEEE Solid-State Circuits Letters》;20180430;全文*
MSC1210在动态心电信号采集中的应用;单纯玉 等;《电子产品世界》;20030510;全文*

Also Published As

Publication numberPublication date
CN112336448A (en)2021-02-09

Similar Documents

PublicationPublication DateTitle
CN112336448B (en)Irreversible electroporation circuit and irreversible electroporation apparatus for heart
CN106264723B (en)Cascade square wave irreversible electroporation instrument
CN106388929B (en)Isolated square wave irreversible electroporation instrument
US10105173B2 (en)Radio frequency generator and a method of generating radio frequency energy utilizing the radio frequency generator
CN108551163B (en) Energy storage element energy discharge and recovery circuit, high voltage power supply, energy generator and method
CN106877729A (en) A high-frequency irreversible electroporation instrument
CN206992984U (en) A high-frequency irreversible electroporation instrument
CN108095820B (en)Nanometer knife tumor ablation control device and control method thereof
CN106877635B (en)The low damage driving circuit of isolated form high frequency
CN206355132U (en)A kind of tandem type square wave irreversibility electroporation circuit
CN106357246A (en)Pulse generator for cell electroporation
CN113521536B (en) Defibrillation current control method and defibrillator
CN215528977U (en) A novel high-voltage pulse generator combining wide and narrow pulses for cell electroporation
CN206548596U (en)A kind of irreversible electroporation apparatus of isolated square wave
CN113346876A (en)Pulse generating device and pulse control method
CN209269860U (en) A nanoknife tumor ablation control device
US20250072947A1 (en)High-voltage transmitting circuit for catheter, and ablation tool
CN112426627B (en)Biphase constant-current type heart defibrillator
CN111262468B (en)High-frequency electrosurgical inverter and dual-mode smooth switching and soft switching control method thereof
CN114081614A (en) Pulsed electric field tissue ablation device
CN110492749A (en)A kind of full-bridge soft handover nano-knife pulse generating circuit
CN218793573U (en)External defibrillator
CN113437951B (en)Novel wide-narrow pulse combined high-voltage pulse generator for cell electroporation
CN110289832A (en)A kind of solid-state modulator
CN116158838A (en) A pulse generating system for irreversible electroporation

Legal Events

DateCodeTitleDescription
PB01Publication
PB01Publication
SE01Entry into force of request for substantive examination
SE01Entry into force of request for substantive examination
TA01Transfer of patent application right
TA01Transfer of patent application right

Effective date of registration:20211206

Address after:201600 3rd floor, building 12, No.1, Lane 618, Zhongde Road, Xiaokunshan Town, Songjiang District, Shanghai

Applicant after:Shanghai Bekada Medical Technology Co.,Ltd.

Address before:Room 1401, No.1, Lane 788, xiupu Road, Kangqiao Town, Pudong New Area, Shanghai, 200120

Applicant before:Shan Chunyu

GR01Patent grant
GR01Patent grant

[8]ページ先頭

©2009-2025 Movatter.jp