Movatterモバイル変換


[0]ホーム

URL:


CN112244950B - Interventional instrument - Google Patents

Interventional instrument
Download PDF

Info

Publication number
CN112244950B
CN112244950BCN202010947369.9ACN202010947369ACN112244950BCN 112244950 BCN112244950 BCN 112244950BCN 202010947369 ACN202010947369 ACN 202010947369ACN 112244950 BCN112244950 BCN 112244950B
Authority
CN
China
Prior art keywords
handle
sheath
tube
driving
adsorption
Prior art date
Legal status (The legal status is an assumption and is not a legal conclusion. Google has not performed a legal analysis and makes no representation as to the accuracy of the status listed.)
Active
Application number
CN202010947369.9A
Other languages
Chinese (zh)
Other versions
CN112244950A (en
Inventor
王云兵
吴智明
叶正宇
余越盛
邵南
訾振军
Current Assignee (The listed assignees may be inaccurate. Google has not performed a legal analysis and makes no representation or warranty as to the accuracy of the list.)
Deke Medtech (hangzhou) Inc
Original Assignee
Deke Medtech (hangzhou) Inc
Priority date (The priority date is an assumption and is not a legal conclusion. Google has not performed a legal analysis and makes no representation as to the accuracy of the date listed.)
Filing date
Publication date
Application filed by Deke Medtech (hangzhou) IncfiledCriticalDeke Medtech (hangzhou) Inc
Priority to CN202010947369.9ApriorityCriticalpatent/CN112244950B/en
Publication of CN112244950ApublicationCriticalpatent/CN112244950A/en
Application grantedgrantedCritical
Publication of CN112244950BpublicationCriticalpatent/CN112244950B/en
Activelegal-statusCriticalCurrent
Anticipated expirationlegal-statusCritical

Links

Images

Classifications

Landscapes

Abstract

The application discloses an interventional instrument, which comprises a sheath tube, a handle connected to the near end of the sheath tube and an adsorption head connected to the far end of the sheath tube; the adsorption head is provided with a working cavity, an adsorption port which is communicated with the working cavity and is used for acting with an adsorbed object, and an adsorption channel and an operation channel which are respectively communicated with the working cavity; slidable mounting has the interior needle tubing that can stretch out or withdraw the absorption mouth via operation passageway in the sheath pipe, be equipped with many haulage wires in the sheath pipe, each haulage wire one end is fixed to the distal end position of sheath pipe, the other end of each haulage wire extends to the handle, each haulage wire can be driven to the handle, wherein at least one haulage wire pulls the absorption head under the drive of handle and moves towards one side at absorption mouth place, this scheme is for prior art, the vacuum adsorption power that produces by the absorption passageway directly transmits to operation passageway, can keep puncture point peripheral tissue position when puncturing, skew or drop for the absorption head, ensure the accuracy of puncture position.

Description

Interventional instrument
Technical Field
The application relates to the field of medical equipment, in particular to an interventional instrument.
Background
In many surgeries requiring precise manipulation, how to keep medical instruments in a stable state with respect to a living body has been a medical problem. For example, in cardiac surgery, the difficulty of the operation is greatly increased because the heart cannot be suspended during the operation and the operation is always performed on the moving heart.
In practice, this presents a difficult problem for the physician to perform cardiac puncture and post-puncture infusion of compounds, since the heart is in a beating state. Because the heart is in a beating state, the puncture needle is easy to slip when puncturing due to the fluctuation of the heart, and further deviates from a target point, so that the difficulty of more stably operating the heart by operation instruments such as the puncture needle, an endoscope and the like is solved.
Despite the prior art disclosures of solutions, such as remote use of suction devices and the like, there is still a need for improved positioning.
Disclosure of Invention
In order to solve the above technical problem, the present application provides an interventional device, including a sheath, a handle connected to a proximal end of the sheath, and an absorption head connected to a distal end of the sheath;
the adsorption head is provided with a working cavity, an adsorption port which is communicated with the working cavity and is used for acting with an adsorbed object, and an adsorption channel and an operation channel which are respectively communicated with the working cavity; sliding mounting has the via in the sheath pipe operating channel stretches out or retracts the interior needle tubing of absorption mouth, be equipped with many haulage wires in the sheath pipe, each haulage wire one end is fixed extremely the distal end position of sheath pipe, the other end of each haulage wire extends to the handle, each haulage wire can be driven to the handle, wherein at least one haulage wire is in pull under the drive of handle the absorption head court the one side motion at absorption mouth place.
The adsorption channel and the operation channel are communicated with each other in the adsorption head through the working cavity, the vacuum adsorption force generated by the adsorption channel is directly transmitted to the operation channel, the tissue position around the puncture point can be kept when puncture is carried out, and the puncture position is deviated or falls off relative to the adsorption head, so that the accuracy of the puncture position is ensured.
The distal end of sheath pipe is transferred through each traction wire and is bent, and each traction wire is different to the direction of transferring of sheath pipe to make the distal end bending range of sheath pipe wider, adsorb the head and rely on one of them traction wire to accomplish the action of transferring the turn to adsorbing a mouthful one side, make things convenient for the adsorption head to adsorb at tissue organ, and puncture through interior needle tubing.
Several alternatives are provided below, but not as an additional limitation to the above general solution, but merely as a further addition or preference, each alternative being combinable individually for the above general solution or among several alternatives without technical or logical contradictions.
Optionally, the arrangement of the working chamber is as follows:
a body cavity, or
Include a plurality of sub-chambeies at the inside mutual intercommunication of adsorption head, adsorb passageway and operation passageway respectively with the sub-chamber intercommunication that corresponds, the absorption mouth communicates at least the sub-chamber at operation passageway place.
The working cavity is a body cavity, namely enough space is provided for arranging the auxiliary components, and the blockage problem caused by the narrow communication part can be avoided.
The working chamber is a plurality of sub-chambers, and a plurality of sub-chambers are inside to communicate with each other for all sub-chambers in the working chamber all can reach vacuum state through suction device with the adsorption channel intercommunication, rely on inside and outside pressure difference to form the adsorption affinity and adsorb in the adsorbate, avoid moving because of the top of pjncture needle and lead to the adsorption head to break away from the adsorbate.
Optionally, the working chamber is a body cavity, the operation channel with the communication position of working chamber is first intercommunication mouth, adsorb the passageway with the communication position of working chamber is second intercommunication mouth, first intercommunication mouth and second intercommunication mouth all are in the near-end side of working intracavity wall, the second intercommunication mouth for first intercommunication mouth is closer to adsorb the mouth.
The first communication port is a channel port of the puncture needle entering the working cavity, the puncture needle needs to bend and tilt towards the adsorption port after entering the working cavity, and in order to ensure a better puncture angle, enough bending and tilting space needs to be reserved, so that the position of the first communication port is far away from one side of the adsorption port as far as possible.
Optionally, an endoscope channel and a cleaning channel which are respectively communicated with the working cavity are further arranged on the proximal end side of the adsorption head;
in the adsorption channel, the operation channel, the endoscope channel and the cleaning channel, the channels are mutually independent or at least the two channels are closed and communicated, and the channels are respectively formed in the following modes:
a channel is formed by opening a hole on the adsorption head, the far end of the hole is communicated with the working cavity, and the near end of the hole is opened to be in butt joint with an external pipeline;
or a pipeline is arranged in the opening in a penetrating way, the far end of the pipeline is communicated with the working cavity, and the near end of the pipeline extends out of the adsorption head.
The endoscope channel is provided with the endoscope for observing the condition in the working cavity, the endoscope channel is divided into a front section and a rear section, the rear section is arranged along the axial extension of the adsorption head, the front section inclines or bends towards one side of the adsorption port and is communicated with the working cavity, and the lens of the endoscope can be aligned to the adsorption port after being arranged along the endoscope channel, so that the target spot can be conveniently found and the condition in the working cavity can be observed.
The cleaning channel is used for conveying cleaning liquid for cleaning the working cavity and the endoscope and keeping the working cavity and the endoscope clean. In the operation process, blood or other impurities pollute the lens of the endoscope and cannot observe the condition in the working cavity, so as to effectively keep the lens of the endoscope clean.
Optionally, a sealing lip for abutting against an adsorbate is convexly arranged on the periphery of the adsorption port.
The seal lip is mainly used for better isolating the outside air and the liquid from entering the working cavity when the adsorption port is attached to the surface of the adsorbate, and preventing the adsorption head from being separated from the adsorbate after the outside air enters.
Optionally, the sealing lip is annular and has a flange.
This further increases the contact area with the adsorbate.
Optionally, the opening part of the adsorption port is a communication area or is divided into a plurality of unit areas; the plurality of unit regions are formed in a regularly distributed grid structure or a random porous structure.
The adsorption port of each unit area can generate adsorption force, and the phenomenon that the adsorption head falls off due to the fact that the puncture is pushed is avoided, and operation is affected. The height of the adsorbate protrusion extending into the adsorption port is reduced, the surface of the adsorbate is protected from being scratched, and meanwhile, the control of the puncture depth is more accurate.
Optionally, a rotating member is installed in the handle, wherein the bending directions of the two pulling wires are opposite, and the two pulling wires are connected to the rotating member in opposite winding directions.
The rotating part drives the two traction wires to synchronously and reversely move when rotating, so that the two traction wires are prevented from reversely stretching when the sheath tube is bent, the sheath tube is prevented from bending resistance and potential safety hazards exist, and more bending adjusting angles are provided for bending adjustment of the sheath tube.
Optionally, the rotating part is disc-shaped, and the rotation axis is perpendicular to the plane of the adsorption port.
Optionally, a first bending adjusting chamber and a second bending adjusting chamber are arranged in the handle, and the pull wire comprises a first pull wire, a second pull wire and a third pull wire;
and a driving disc is rotatably arranged in the first bending adjusting chamber, the near ends of the first traction wire and the second traction wire are connected with the driving disc, and the driving disc drives the first traction wire and the second traction wire to synchronously and reversely move when rotating.
The distal end of the sheath tube is bent through the first traction wire, the second traction wire and the third traction wire, the bending directions of the traction wires to the sheath tube are different, so that the bending range of the distal end of the sheath tube is wider, and the first traction wire and the second traction wire are locked through the locking mechanism when adjusted to preset positions; meanwhile, each traction wire can respectively bend the distal end of the sheath tube, so that an operator can more flexibly adjust the bending direction of the sheath tube.
Optionally, at least a part of the first traction wire and the second traction wire is wound around the periphery of the driving disc, or wound in a wire groove on the axial disc surface of the driving disc.
Optionally, the first traction wire and the second traction wire are arranged oppositely along the radial direction of the sheath, the third traction wire is located between the first traction wire and the second traction wire in the circumferential direction of the sheath, and the orientation of the adsorption port is consistent with the circumferential position of the third traction wire relative to the sheath.
The third traction wire pulls the adsorption head court during the one side motion at absorption mouth place, the adsorption head of being convenient for adsorbs at the tissue organ, and the accent of third traction wire is bent the direction and is perpendicular setting with the accent of first traction wire and second traction wire, and the accent of sheath pipe distal end combination each traction wire is bent the direction to the distal end bending range that makes the sheath pipe is wider.
Optionally, the handle is provided with an operation slot communicated with the first bending adjusting chamber; the periphery of the driving disc is provided with a driving handle, and the driving handle extends out of the first bending adjusting chamber from the operating slot.
The operator holds the part of the driving handle positioned outside the first bending chamber, and then stirs the driving disc to rotate through the driving handle, so that the operator can conveniently control the driving disc to rotate.
Optionally, the handle includes the supporter and rotates the rotatory handle of installing in the supporter periphery the supporter with enclose into the second between the rotatory handle and transfer the curved room, slidable mounting has the linkage on the supporter, the near-end of third traction wire with the linkage links to each other and is used for pulling the adsorption head court the one side motion at absorption mouth place.
The operator is through rotating rotatory handle, and rotatory handle drives the linkage and slides on the supporter to it is crooked to drive the distal end that the traction wire pull the sheath pipe, and it is crooked towards fixed direction to drive the adsorption head at last, so that the adsorption head avoids the tissue organ, reduces the damage to the tissue organ.
Optionally, the outer periphery of the linkage member is provided with an external thread, and the inner wall of the rotary handle is provided with an internal thread matched with the external thread.
The rotation of the rotary handle can be converted into the sliding of the linkage piece on the supporting body by the threaded connection mode of the rotary handle and the linkage piece, so that the movement of the linkage piece is more stable. Meanwhile, the linkage piece can realize the self-locking phenomenon, and the reset force of the sheath tube is prevented from driving the linkage piece to move.
Optionally, the handle further comprises a locking mechanism for locking or releasing the driving disc, and the locking mechanism continuously defines the rotation angle of the driving disc or gradually defines the rotation angle of the driving disc.
The operator drives corresponding traction wire when controlling the driving-disc, driving-disc rotation, and the distal end position of traction wire drive sheath pipe is crooked, when the distal end position of sheath pipe is crooked to preset position, through locking mechanical system with the driving-disc locking to avoid outside effort mistake to touch the driving-disc, cause the driving-disc to rotate, can influence the distal end of sheath pipe and transfer the angle of bending.
Optionally, the locking mechanism comprises:
and the knob is in threaded fit with the handle, at least one part of the knob is exposed outside the handle, and in the rotating process of the knob, the knob is far away from or presses against the driving disc, and the driving disc is locked in a pressed state.
When the distal end position of sheath pipe is crooked to preset position, through the knob butt with the driving-disc locking to avoid outside effort mistake to touch the driving-disc, cause the driving-disc to rotate, can influence the distal end accent angle of sheath pipe.
Optionally, the locking mechanism comprises:
a plurality of locking grooves arranged on the driving disc along the circumferential direction of the driving disc;
the positioning piece is movably installed in the first bending adjusting chamber, and in the rotating process of the driving disc, the positioning piece is clamped with the corresponding locking groove.
When the distal end position of sheath pipe is crooked to preset position, the setting element carries out the block with corresponding locking groove to with the driving-disc locking, touch the driving-disc with avoiding outside effort mistake, cause the driving-disc to rotate, can influence the distal end bending angle of sheath pipe.
Optionally, the elastic driving element is abutted against the positioning element to drive the positioning element to be clamped with the corresponding locking groove.
When the distal end part of the sheath tube is bent to a preset position, the positioning piece is clamped with the corresponding locking groove under the action of the elastic driving piece.
Optionally, the interventional instrument further comprises an outer needle tube located in the sheath, a distal end of the outer needle tube is fixedly butted with or fixedly extended in the operation channel, and a proximal end of the outer needle tube is extended and fixed to the handle;
the handle is movably provided with a driving piece, the inner needle tube is arranged in the outer needle tube in a penetrating mode in a sliding mode, the near end of the inner needle tube extends out of the outer needle tube and is linked with the driving piece, and the inner needle tube and the outer needle tube are arranged in a sealing mode in the radial gap.
The gap between the outer needle tube and the inner needle tube is blocked, and the medium is prevented from permeating.
Optionally, the handle is further provided with an installation chamber at a proximal end of the second bending adjustment chamber, a threading sleeve is fixed in the installation chamber, a proximal end of the outer needle tube extends into the threading sleeve and is in fixed sealing fit with an inner wall of the threading sleeve, a proximal end of the inner needle tube sequentially extends out of the outer needle tube and the threading sleeve and then is connected to the driving member, and the inner needle tube is in sliding sealing fit with the inner wall of the threading sleeve.
The threading sleeve with the sealing structure is arranged between the outer needle tube and the inner needle tube, so that the blood is prevented from flowing backwards into the handle, the use of internal parts is prevented from being influenced, and the puncture operation is not influenced.
Optionally, the inner needle tube comprises a first delivery tube and a second delivery tube nested inside and outside, wherein:
the first conveying pipe is positioned at the inner side, the far end of the first conveying pipe is of a spine structure, and a perfusion opening is formed in the pipe wall of the first conveying pipe, which is adjacent to the far end;
the second delivery pipe is positioned at the outer side, and the distal end of the second delivery pipe hermetically surrounds the perfusion opening;
the inside of the first conveying pipe is used as a first injection channel, the radial gap between the second conveying pipe and the first conveying pipe is used as a second injection channel, and the second injection channel is communicated with the first injection channel through the perfusion opening.
In this embodiment, through the mode of inside and outside nested with first conveyer pipe and second conveyer pipe integration, avoid the parallel arrangement of many pipelines, different injection purposes can be realized to same puncture action, and on this basis, corresponding improvement has also been made to the mode of setting up and the concrete position of pouring into mouthful, can reduce the operation residue of last time
Optionally, interior needle tubing penetrates in the handle and wears out from the handle near-end by the handle distal end, the near-end butt joint of interior needle tubing has the tee bend that is in the handle outside, first conveyer pipe with the second conveyer pipe passes through the tee bend divides into two independent ways separately.
The first delivery pipe and the second delivery pipe are branched after extending out of the proximal end of the handle, and are connected with respective auxiliary equipment, and the three-way structure can be pre-formed, so that the assembly is convenient, and the pipeline butt joint is relatively simplified.
This application intervenes apparatus and improves positioning effect through the improvement of absorption mode, and further still combine the improvement of adjusting curved, the positioning process's that adjusts curved, efficiency.
Drawings
FIG. 1 is a schematic structural view of an interventional instrument according to an embodiment provided herein;
FIG. 2 is a partial schematic structural view of the interventional instrument of FIG. 1;
FIG. 3 is an exploded view of the handle structure of FIG. 2;
FIG. 4 is a schematic view of the structure of FIG. 2 with the rotating handle partially omitted;
FIG. 5 is a schematic view of the mounting ring installed within the sheath;
FIG. 5a is a schematic view of the liner, retaining ring and sheath arrangement of the present application;
FIG. 5b is a schematic view of the mounting ring installed within the sheath;
FIG. 6 is a schematic view of the mounting ring installed within the sheath;
FIG. 7 is an enlarged view of the portion B of FIG. 6;
FIG. 8 is a schematic view of the movement of the distal end of the sheath tube of FIG. 1;
FIG. 9 is a schematic view of the movement of the distal end of the sheath tube of FIG. 1;
FIG. 10 is a schematic structural view of the drive plate of FIG. 3;
FIG. 11 is a schematic structural view of the drive plate of FIG. 3;
FIG. 12 is a schematic view of the structure of the drive plate and the traction wire;
FIG. 13 is an enlarged view of the portion A of FIG. 4;
FIG. 14 is a schematic view of the handle of FIG. 2 with a portion of the handle omitted;
FIG. 15 is an enlarged view of the portion C of FIG. 14;
FIG. 16 is a schematic structural view of the support body of FIG. 14;
FIG. 17 is an exploded view of the handle structure according to the first embodiment;
FIG. 18 is a schematic structural view of the second housing shown in FIG. 17 according to an embodiment;
FIG. 19 is a schematic structural diagram of the drive disc of FIG. 17 in accordance with one embodiment;
FIG. 20 is a schematic view of the knob of FIG. 17 according to an embodiment;
FIG. 21 is an exploded view showing the structure of the handle according to the second embodiment;
FIG. 22 is a schematic structural view of the second embodiment of the drive disk of FIG. 21;
FIG. 23 is a schematic view illustrating the assembly of the positioning member according to the second embodiment;
fig. 24 is a schematic view of the puncture needle of the present application in a puncture configuration;
FIG. 25 is a schematic view of the structure of the puncture needle of the present application when it is withdrawn;
fig. 26 is a perspective view of an adsorption head of the present application;
FIG. 27 is another perspective view of the suction head of the present application;
fig. 28 is a perspective view of the structure of the suction head of the present application in use;
FIG. 29 is a radial cross-sectional view of a working chamber of an adsorption head of the present application;
FIG. 29a is an enlarged view of the portion D in FIG. 29;
FIG. 30 is a rear view of the suction head of the present application;
FIG. 31 is an axial cross-sectional view of the suction head of the present application;
FIG. 32 is a schematic view of a piercing process of the suction head of the present application;
FIG. 33 is a schematic view of a piercing process of an adsorption head according to another embodiment of the present application;
FIG. 34 is an enlarged, fragmentary view of the handle of FIG. 1;
FIG. 35 is an enlarged schematic view of the handle of FIG. 1 with a portion removed;
FIG. 36 is an exploded view of the handle of FIG. 1;
FIG. 37 is an enlarged schematic view of another embodiment of the handle portion of FIG. 1;
FIG. 38 is a schematic structural view of a positioning member of the present application;
FIG. 39 is a schematic view of the arrangement of the scale markings of the present application;
FIG. 40 is a schematic view of the structure of the observation window of the present application;
FIG. 41 is a schematic structural view of the driving member of the present application;
FIG. 42 is a schematic view of the positioning member of the present application abutting the indicator;
FIG. 43 is a schematic view of the inner needle cannula of the present application;
FIG. 44 is a schematic view of another embodiment of an inner needle cannula of the present application;
FIG. 45 is a schematic view of the internal structure of the handle of the interventional instrument of the present application;
FIG. 46 is an enlarged view of portion D of FIG. 45;
FIG. 47 is an enlarged view of section E of FIG. 46;
FIG. 48 is a perspective view of a pull-through sleeve construction of the present application;
FIG. 49 is a cross-sectional view of a lead-through sheath construction of the present application;
FIG. 50 is a cross-sectional structural view of another embodiment of the passing sleeve of the present application;
FIG. 51 is a schematic view of a second retaining groove according to the present application;
FIG. 52 is a schematic view of the inner needle cannula of the injection device of the present application;
FIG. 53 is a schematic view of a tee in an injection device of the present application;
FIG. 54 is a schematic view of the connection of the inner needle cannula and the tee in the injection device of the present application;
FIG. 55 is a schematic view of the connection of the inner needle cannula, the tee and the transition tube of the injection device of the present application;
FIG. 56 is a schematic view of the configuration of a transition tube in an injection device of the present application;
FIG. 57 is a schematic view of a three-way junction and a transfer tube in an injection device of the present application;
FIG. 58 is a perspective view of a tee in the injection device of the present application;
FIG. 59 is a schematic perspective view of a three-way junction with a transfer tube of the injection device of the present application;
FIG. 60 is a schematic view of another embodiment of an inner needle cannula of an injection device of the present application.
The reference numerals in the figures are illustrated as follows:
100. an interventional instrument; 101. an endoscope; 102. cleaning the tube; 105. a locking mechanism;
10. a handle; 11. a support body; 111. a guide groove; 112. a through hole; 113. a guide plate; 114. a support shoulder; 115. a limiting shoulder; 12. rotating the handle; 13. a second bend adjusting chamber; 14. a linkage member; 142. threading holes; 15. drawing wires; 151. a first pull wire; 152. a second pull wire; 153. a third traction wire; 16. a mounting ring; 161. a rotating groove; 18. a first housing; 181. a second housing; 182. a first bend adjusting chamber; 183. an operation slot; 184. a rotation stopping groove; 185. an observation window; 19. a rotating member;
20. a sheath tube; 21. a first section of sheath; 22. a second section of sheath tube; 23. a third section of sheath tube; 24. a fixing ring; 241. positioning a groove; 25. an isolation sleeve; 26. a liner tube;
30. an adsorption head; 31. a working chamber; 32. a vacuum tube; 321. an adsorption channel; 33. an operation channel; 34. an endoscope channel; 35. cleaning the channel; 36. a guide section; 361. a guide groove; 362. a curved groove; 37. a first communication port; 371. a second communication port; 372. a third communication port; 373. a fourth communication port; 38. an adsorption port;
40. puncturing needle; 41. a guide tube; 42. a needle head; 43. an inner needle tube; 44. an outer needle tube; 45. a sliding section; 46. a curved section; 410. a first delivery pipe; 420. a second delivery pipe; 430. a needle tip; 440. a needle opening; 450. a first conveyance path; 460. a second conveyance path;
50. a drive disc; 51. a drive handle; 52. a wire slot; 521. an arc-shaped section; 522. a turning section; 523. a wire inlet; 53. a positioning area; 54. a mounting member; 55. a locking groove; 56. a rotating shaft; 57. a groove;
60. a first locking mechanism; 61. a knob; 611. a housing; 612. an action part; 613. a convex strip; 62. an elastic pad; 621. a rotation stop section; 63. a spacer; 631. an end plate; 64. connecting sleeves; 641. a drive slot;
70. a second locking mechanism; 71. a positioning member; 72. an elastic driving member; 73. mounting a column; 731. an anti-drop step;
500. a transfer tube; 510. a boss; 520. a through hole; 530. an annular step;
600. a joint; 610. a connecting pipe;
800. a tee joint; 810. a first joint; 820. a second joint; 830. a third joint; 840. an opening portion; 850. an open end face; 860. an adaptation structure;
901. a first handle shell; 902. a second handle shell;
910. a drive member; 911. a first operation section; 912. an extension portion; 913. an indicator;
920. threading a sleeve; 930. a seal member; 940. a positioning member; 941. a second operation section; 942. a fastening part; 943. a blocking portion; 944. the head is prevented from falling off; 950. a card slot; 960. scale marks; 970. a guide groove; 980. a hollow-out area; 990. an observation window;
9001. a first guide groove; 9002. a second limit groove; 9003. an inner edge surface; 9004. a plane; 9005. a first planar zone; 9006. a second planar region; 9103. a boss; 9104. anti-skid lines; 9121. avoiding holes;
9201. a fixing hole; 9202. a guide section; 9203. an installation port; 9204. a limiting groove; 9301. avoiding holes; 9411. an annular portion.
Detailed Description
The technical solutions in the embodiments of the present application will be clearly and completely described below with reference to the drawings in the embodiments of the present application, and it is obvious that the described embodiments are only a part of the embodiments of the present application, and not all of the embodiments. All other embodiments, which can be derived by a person skilled in the art from the embodiments given herein without making any creative effort, shall fall within the protection scope of the present application.
It will be understood that when an element is referred to as being "connected" to another element, it can be directly connected to the other element or intervening elements may also be present. When a component is referred to as being "disposed on" another component, it can be directly on the other component or intervening components may also be present.
Unless defined otherwise, all technical and scientific terms used herein have the same meaning as commonly understood by one of ordinary skill in the art to which this application belongs. The terminology used in the description of the present application herein is for the purpose of describing particular embodiments only and is not intended to be limiting of the application. As used herein, the term "and/or" includes any and all combinations of one or more of the associated listed items.
As shown in fig. 1, the present application provides ahandle 10 for use with an interventional device 100, the interventional device 100 being used for medical puncturing or injection of drugs, biological materials or aspiration of bodily fluids, the interventional device 100 comprising asheath 20, thehandle 10, thesheath 20 having opposite distal (the end proximal to the patient) and proximal (the end proximal to the operator).
The interventional device 100 of the present application is used to puncture the heart (not shown) and inject a non-contractile substance (not shown) such as a self-coagulating, biocompatible hydrogel into the ventricular wall of the heart.
The interventional device 100 sends the distal end of thesheath 20 into the human body and moves to the vicinity of the tissue organ, and controls the components at the distal end of the sheath 20 (such as thesuction head 30, thepuncture needle 40 and the endoscope 101) through thehandle 10 to complete a series of treatment operations including target point searching, suction, puncture injection and the like.
The inventors found that when the puncture operation is performed on a beating heart, thesuction head 30 is detached from the adsorbate by the pushing movement of the puncture, and it is difficult to continuously and effectively suck the adsorbate to the heart. If the adsorption force is increased, the surface of the heart is easily damaged, the volume of theadsorption head 30 is increased, and the adsorption area is increased, but the movement in a narrow inner space is influenced.
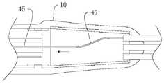
In one embodiment, as shown in fig. 1, 24-33, an interventional instrument 100 includes asheath 20, ahandle 10 coupled to a proximal end of thesheath 20, and asuction head 30 coupled to a distal end of thesheath 20;
theadsorption head 30 is provided with a workingcavity 31, anadsorption port 38 communicated with the workingcavity 31 and used for interacting with an adsorbed object, and anadsorption channel 321 and anoperation channel 33 respectively communicated with the workingcavity 31;
aninner needle tube 43 capable of extending out of or retracting into theadsorption port 38 through theoperation channel 33 is slidably mounted in thesheath tube 20, a plurality oftraction wires 15 are arranged in thesheath tube 20, one end of eachtraction wire 15 is fixed to the distal end portion of thesheath tube 20, the other end of eachtraction wire 15 extends to thehandle 10, thehandle 10 can drive eachtraction wire 15, and at least onetraction wire 15 pulls theadsorption head 30 to move towards the side where theadsorption port 38 is located under the driving of thehandle 10.
Thesuction channel 321 and theoperation channel 33 are communicated with each other inside thesuction head 30 through the workingcavity 31, and the vacuum suction force generated by thesuction channel 321 is directly transmitted to theoperation channel 33, so that the tissue position around the puncture point can be maintained during puncture, the shift or falling off of the tissue position relative to thesuction head 30 is avoided, and the accuracy of the puncture position is ensured.
If the vacuum adsorption part is positioned in two mutually isolated areas relative to the puncture point, the adsorption effect is difficult to ensure, the deformation of tissues around the puncture point can influence the prejudgment of the puncture depth, the due treatment effect cannot be achieved, and even the operation failure is caused.
The workingchamber 31 is an operation space for the internal device of thesuction head 30, and is disposed at the distal end of thesuction head 30 to provide a sufficient installation space for the arrangement of other components.
The distal end of thesheath tube 20 is bent through thetraction wires 15, the bending directions of thesheath tube 20 by thetraction wires 15 are different, so that the bending range of the distal end of thesheath tube 20 is wider, theadsorption head 30 finishes the bending action towards one side of theadsorption port 38 by means of onetraction wire 15, theadsorption head 30 is conveniently adsorbed on a tissue organ, and puncture is carried out through thepuncture needle 40.
As shown in fig. 2 to 4, thehandle 10 has a firstbending adjusting chamber 182 and a secondbending adjusting chamber 13 therein, thedriving disk 50 is rotatably mounted in the firstbending adjusting chamber 182, and thelink 14 is slidably mounted in the secondbending adjusting chamber 13;
thepull wires 15 comprise afirst pull wire 151, asecond pull wire 152 and athird pull wire 153, proximal ends of thefirst pull wire 151 and thesecond pull wire 152 are connected with thedriving disc 50, and proximal ends of thethird pull wire 153 are connected with thelinkage member 14;
thedriving disc 50 drives thefirst traction wire 151 and thesecond traction wire 152 to move in a synchronous and reverse direction when rotating, so that the situation that thefirst traction wire 151 and thesecond traction wire 152 are reversely stretched when bending thesheath tube 20 to cause bending resistance of thesheath tube 20 and potential safety hazards exists is avoided, and more bending adjusting angles are provided for bending adjustment of thesheath tube 20.
In the present application, the distal end of thesheath 20 is bent by thefirst traction wire 151, thesecond traction wire 152 and thethird traction wire 153, and the bending directions of thesheath 20 by thetraction wires 15 are different, so that the bending range of the distal end of thesheath 20 is wider; meanwhile, eachtraction wire 15 can respectively bend the distal end of thesheath tube 20, so that an operator can more flexibly adjust the bending direction of thesheath tube 20.
The distal end of thesheath tube 20 bends and simultaneously drives theadsorption head 30 to bend towards a fixed direction, so that theadsorption head 30 avoids the tissue and the organ, and the damage to the tissue and the organ is reduced.
After the operator releases thehandle 10, the first pullingwire 151, the second pullingwire 152 and the third pullingwire 153 release the restriction on thesheath tube 20, and thesheath tube 20 is automatically reset or reset by the inner shaping piece arranged on thesheath tube 20.
When thedriving disk 50 on thehandle 10 rotates to drive thefirst traction wire 151 and thesecond traction wire 152, the distal end of thesheath tube 20 driven by thefirst traction wire 151 and thesecond traction wire 152 is bent, when the distal end of thesheath tube 20 is bent to a predetermined position, thedriving disk 50 is locked by thelocking mechanism 105, so as to avoid the external acting force from touching thedriving disk 50 by mistake, and thedriving disk 50 rotates, and the bending angle of the distal end of thesheath tube 20 can be influenced.
Thedriving disk 50 is rotatably installed in thefirst bending chamber 182 by a rotating shaft, and the axis of the rotating shaft is perpendicular or oblique to the axis of thesheath tube 20. Preferably, the rotational axis of thedriving disk 50 is disposed perpendicular to the axis of thesheath 20.
In one embodiment, as shown in fig. 1, apuncture needle 40 is further inserted into thesheath 20, thepuncture needle 40 can slide in thesheath 20, and the distal end of thepuncture needle 40 can bend along with the bending of thesheath 20. Thepuncture needle 40 is provided with a puncture end (one end close to a patient) and a connecting end (one end close to an operator) which are arranged in a back direction, the connecting end of thepuncture needle 40 is arranged in thehandle 10, the puncture end of thepuncture needle 40 extends out of thesheath tube 20 for puncture, and the puncture section of thepuncture needle 40 punctures to a preset target point and performs injection or suction, thereby providing a foundation for subsequent treatment.
In one embodiment, as shown in fig. 1, the interventional device 100 further includes anabsorption head 30 located at the distal end of thesheath 20, the interventional device 100 sends theabsorption head 30 and thesheath 20 into the human body and moves to the vicinity of the tissue organ, and thehandle 10 controls the movement of theabsorption head 30 and the operation of internal devices of the absorption head 30 (such as apuncture needle 40 and an endoscope), so as to complete a series of treatment operations including target point finding, absorption, puncture injection, and the like. The external portion of the interventional instrument 100 may also be provided with auxiliary equipment (e.g., suction devices and cleaning devices) that are connected to the interior of thesuction head 30 via tubing or passages and that assist in the operation of the internal devices.
As shown in fig. 1, thesheath 20 is substantially cylindrical. Of course, in other embodiments, thesheath 20 may have other shapes, such as an elliptical shape. Thesheath 20 may be formed by combining a plurality of segments in order to obtain corresponding rigidity at different positions, and each segment may have a single-layer structure or a multi-layer composite structure.
In one embodiment, thesheath 20 includes afirst segment 21, asecond segment 22 and athird segment 23 from the distal end to the proximal end. The first section ofsheath 21 is connected with theadsorption head 30, the hardness of the material is the softest in the three sections ofsheaths 20, for example, Pebax 3533 is adopted, thesheath 20 is bent through the first section ofsheath 21, and meanwhile, the bending radius of the first section ofsheath 21 is adjustable, even if the puncture path of thesheath 20 is adjustable, the operation shape of thesheath 20 is stronger, the capability of thesheath 20 for bypassing blood vessels, bones and nerve tissues is stronger, the risk of organs is reduced, and the organs are punctured to a target point more accurately.
The hardness of the material of thethird sheath 23 is the hardest among the threesheaths 20, and the hardness can be improved by increasing the wall thickness or selecting a material with higher hardness, for example, Pebax7233 is adopted, so that the large-scale quick movement is realized, sufficient axial pushing force is provided, and the operation is convenient.
The hardness of the second-stage sheath 22 is between that of the first-stage sheath 21 and that of the third-stage sheath 23, for example, Pebax4033 is adopted, and the function of transition connection is achieved.
In order to ensure the ductility and strength of thesheath 20, in a preferred embodiment, thesheath 20 is designed with three layers, which are a polyurethane material, a woven mesh structure and a PTFE material in sequence from the outside to the inside.
A plurality of pipelines are arranged in thesheath tube 20 in a penetrating way, one end of the pipeline extends into theadsorption head 30, the other end of the pipeline passes through thehandle 10 and continues to extend out of thehandle 10, and corresponding devices (such as a suction device, a cleaning device, apuncture needle 40 and the like) are connected. Of course, thesheath 20 may be provided with a plurality of channels instead of the connecting function of the pipeline.
In one embodiment, as shown in fig. 5 and 6, thefirst pull wire 151 and thesecond pull wire 152 are disposed radially opposite each other along thesheath 20, and thethird pull wire 153 is disposed between thefirst pull wire 151 and thesecond pull wire 152 circumferentially around thesheath 20.
Thefirst traction wire 151 and thesecond traction wire 152 are in a mutual linkage relationship, and the linkage relationship is that when thefirst traction wire 151 slides towards the near end, thesecond traction wire 152 slides towards the far end, so that thefirst traction wire 151 and thesecond traction wire 152 are prevented from being stretched reversely when bending is adjusted, bending resistance is increased, and potential safety hazards exist.
The bending adjustment in one direction is controlled by thetraction wires 15, and the bending adjustment in three radial directions is realized by the threetraction wires 15. The specific position relationship of the three parts can also be matched with the structure and the use characteristics of theadsorption head 30, theadsorption head 30 can be more finely controlled to change the position in the positioning process or when the treatment position is switched, and the pitching attitude of theadsorption head 30 is further controlled on the basis of conventional bidirectional swinging.
As shown in fig. 8 and 9, the bending direction of the third pullingwire 153 is perpendicular to the bending direction of the first pullingwire 151 and the second pullingwire 152, so that the bending range of the distal end of thesheath 20 is wider. Meanwhile, thesheath tube 20 can be bent between thethird traction wire 153 and thefirst traction wire 151 or thesecond traction wire 152, so that the operator can adjust the bending direction of thesheath tube 20 more flexibly.
In one embodiment, the distal end of thesheath tube 20 is provided with thesuction head 30, thesuction head 30 has asuction port 38 on one side in the radial direction of the suction head, and the extending direction from the distal end to the proximal end is taken as the axial direction of the suction head.
Generally, the insertion path direction and the insertion direction of the puncture have a certain included angle, the curvature radius is larger when the distal end of the insertion device 100 is bent as a whole, the operation space is limited, thepuncture needle 40 is thinner, and the curvature radius is smaller when the distal end is bent, so that it is preferable that thepuncture needle 40 is turned to adapt to the insertion direction, and theadsorption head 30 is arranged at one side in the radial direction, so that thepuncture needle 40 is directly extended out of theadsorption head 30 to perform the puncture after being turned. Of course, the entire distal end of the interventional device 100 can also assist in bending to adapt to the interventional path or fine control to target.
The orientation of thesuction port 38 coincides with the circumferential position of thethird drawing wire 153 with respect to thesheath 20.
Theadsorption head 30 is bent toward the side of theadsorption port 38 by means of thethird traction wire 153, so that theadsorption head 30 can be conveniently adsorbed on the tissue and organ.
In one embodiment, as shown in fig. 5, 6 and 7, thepull wire 15 is connected to the distal end of thesheath 20 by: a fixingring 24 is arranged in thesheath tube 20 and adjacent to the distal end of the sheath tube, the fixingring 24 forms apositioning groove 241 through self deformation and/or local cutting, and the distal end of thetraction wire 15 is placed in and fixed in thepositioning groove 241. Compared with a welding mode, the fixing mode of thetraction wire 15 and thesheath tube 20 through the fixingring 24 is firmer, and meanwhile, welding spots can be prevented from being generated on the inner wall of thesheath tube 20.
Because eachtraction wire 15 circumference interval distribution, consequently pulling one of them time can change the orientation ofsheath pipe 20 distal end, controllable direction is more when looking for the target spot and other operations, can changesheath pipe 20 distal end orientation fast in order to accord with the anticipated gesture, moreover, becausetraction wire 15 is more in quantity, also proposed further requirement to its joint strength withsheath pipe 20, adopt the distal end of alltraction wires 15 of solid fixedring 24's mode disposable connection in this embodiment, gu fixedring 24 rethread hot melt mode is connected withsheath pipe 20 and can guarantee intensity, eliminate the potential safety hazard, more importantly can improve the coordination and the synchronization ofmany traction wires 15 simultaneous operation.
The fixingring 24 is in a circular ring shape, the outer peripheral surface of the fixing ring is matched with the inner wall of thesheath tube 20, thesheath tube 20 is shrunk and clamped on the fixingring 24 through a thermal shrinkage process, and the inner wall of thesheath tube 20 is melted and bonded on the fixingring 24, so that the assembly is convenient.
The quantity ofconstant head tank 241 is the same with the quantity ofhaulage wire 15, is two at least promptly, andconstant head tank 241 is for following solid fixedring 24 axial extension end to end, makes things convenient for wearing to establish and the inlay card ofhaulage wire 15 inconstant head tank 241, plays the positioning action of primaryimportance haulage wire 15. Thepositioning groove 241 and thepull wire 15 are fixed to each other by spot welding. Thepositioning groove 241 may be obtained by machining or may be integrally punched with the fixingring 24.
Of course, in other embodiments, thepull wire 15 is connected to the distal end of the sheath 20 (first segment sheath 21) by: thetraction wire 15 is welded on the inner wall of thesheath tube 20, and the welding mode can reduce the assembly difficulty of thetraction wire 15 and thesheath tube 20.
In one embodiment, the fixingring 24 has a plurality of radially outwardly protruding or inwardly recessed deformation portions distributed at intervals along the circumferential direction, and the deformation portions form positioninggrooves 241 on the outer side of the fixingring 24.
The deformation part is formed by the self deformation of the fixingring 24 protruding outwards or inwards, is attached to part of the outer edge surface of thetraction wire 15 and is used for installing and positioning thetraction wire 15, and the installation is convenient.
In one embodiment, the fixingring 24 has a plurality of radially outwardly protruding or inwardly recessed deformation portions distributed at intervals along the circumferential direction, and the deformation portions form positioninggrooves 241 on the inner side or the outer side of the fixingring 24.
The deformation part is formed by the deformation of the fixingring 24 and protrudes or dents outwards and inwards, and is integrally processed, the number of parts is small, the part does not need to be assembled, the use of raw materials can be saved, and the efficiency can be improved. When the deformation portion protrudes outward, the deformation portion is apositioning groove 241 on the inner side of the fixingring 24, and if the deformation portion is recessed inward, the deformation portion is apositioning groove 241 on the outer side of the fixingring 24. The smooth transition of the deformation portion and other portions of the fixingring 24 improves the structural strength of the fixingring 24, and the smooth transition can prevent thetraction wire 15 or other adjacent components from being scratched.
In one embodiment, thepositioning groove 241 has a U-shaped cross section and a depth corresponding to the diameter of thepull wire 15.
The cross-sectional shape of thepositioning groove 241 is adapted to a part of the outer edge of thetraction wire 15, and an opening is formed in the positioning groove, so that thetraction wire 15 can be directly clamped and embedded from the radial direction of the fixingring 24. In a preferred embodiment, thepositioning groove 241 is recessed, the depth of the groove of thepositioning groove 241 enables the surface of the fixingring 24 to have no convex point after thetraction wire 15 is installed, and the depth of thepositioning groove 241 is the same as the diameter of thetraction wire 15, so that the outer surface of thesheath tube 20 is smooth after thesheath tube 20 is fixed by heat shrinkage.
As shown in fig. 6 and 5a, in one embodiment, anisolation sleeve 25 is sleeved outside thepull wire 15, theisolation sleeve 25 is fixedly arranged relative to thesheath 20, and thepull wire 15 is slidably fitted relative to theisolation sleeve 25.
Theisolation sleeve 25 is a hollow circular tube, the outer peripheral surface of the isolation sleeve is fixed with thesheath tube 20 in an adhesive or hot melting mode, the melting point of theisolation sleeve 25 is larger than that of thesheath tube 20, and when thesheath tube 20 is subjected to hot melting operation, theisolation sleeve 25 still keeps the shape of the isolation sleeve to allow thetraction wire 15 to slide relatively. Thepull wire 15 can slide along the inner hole of theisolation sleeve 25, thereby avoiding the circumferential dislocation of thepull wire 15 and preventing thesheath tube 20 from being cut after thepull wire 15 is tightened.
In one embodiment, theisolation sleeve 25 is attached to the inner wall of thesheath 20, or theliner 26 is thermally fused to the inner wall of thesheath 20, and theisolation sleeve 25 is fixed in the interlayer between thesheath 20 and theliner 26.
Liner tube 26 is hollow pipe, and the hole wears to establish other parts as the passageway, andliner tube 26 periphery is used for supportingbarrier sleeve 25, relies on the fixedsheath pipe 20 of pyrocondensation again forbarrier sleeve 25 is fixed by the centre gripping, can improve joint strength and prevent the unnecessary dislocation. Theliner 26 separates the internal components from theisolation sleeve 25, protecting theisolation sleeve 25, and further protecting thepull wires 15. Through the adapted tooling, theisolation sleeve 25 can be fixed on the periphery of theliner tube 26 in advance through gluing so as to be further fixed with thesheath tube 20 through hot melting.
As shown in fig. 5b, in one embodiment, the outer circumference of the fixingring 24 is attached to the inner wall of thesheath tube 20, or theliner tube 26 is thermally fused on the inner wall of thesheath tube 20, and the fixingring 24 is fixed in the interlayer between thesheath tube 20 and theliner tube 26.
Theliner tube 26 is penetrated through in advance through a tool, the fixingring 24 is sleeved on the outer wall of theliner tube 26, the liner tube and the fixing ring are in clearance fit, the gap is coated with glue and fixed, thesheath tube 20 is sleeved on the outermost layer, thesheath tube 20 is shrunk through a heat shrinkage process to combine theliner tube 26, the fixingring 24 and thesheath tube 20 are clamped and fixed, no matter thetraction wire 15 is positioned on the outer side or the inner side of the fixingring 24, the opening of thepositioning groove 241 can be closed as far as possible, thetraction wire 15 is shielded inside thepositioning groove 241, the clamping and fixing mode can improve the strength, and the phenomenon that the local stress is large and the traction wire is torn during traction is avoided.
In one embodiment, as shown in fig. 3 and 4, thefirst bending chamber 182 is located near the distal end of thehandle 10 relative to thesecond bending chamber 13;
thedriving disc 50 is provided with twowire slots 52 which are communicated or isolated from each other, thefirst traction wire 151 and thesecond traction wire 152 are respectively wound on thedriving disc 50 through thecorresponding wire slots 52, and thetraction wire 15 is arranged in thewire slots 52, so that thetraction wire 15 can be prevented from being separated from thedriving disc 50 when thedriving disc 50 rotates.
Thethird drawing wire 153 passes through the firstbending adjusting chamber 182 on the side of thedriving disc 50 opposite to the twowire slots 52 and extends to the secondbending adjusting chamber 13, the secondbending adjusting chamber 13 is communicated with the firstbending adjusting chamber 182 through a communication hole (not shown), and after passing through the firstbending adjusting chamber 182, thethird drawing wire 153 extends to the secondbending adjusting chamber 13 through the communication hole and is connected with a linkage piece positioned in the secondbending adjusting chamber 13.
During the rotation of thedriving disc 50, the groove wall of thewire groove 52 is prevented from tearing thethird pull wire 153, which affects the bending of the distal end of thesheath tube 20.
In one embodiment, as shown in fig. 10 and 11, thewire slots 52 are distributed around the outer periphery of thedriving disk 50 or are formed on the disk surface of thedriving disk 50.
In one embodiment, at least a portion of the first andsecond traction wires 151 and 152 is wound around the outer periphery of thedriving disk 50 or around thelinear groove 52 on the axial disk surface of thedriving disk 50.
In the present embodiment, each of thewire grooves 52 is opened on the disk surface of thedrive disk 50. The disc surface of thedrive disc 50 may be understood as one of the end surfaces of both axial ends of thedrive disc 50. When thewire groove 52 is opened on the disk surface of thedrive disk 50, the extending path of thewire groove 52 may be a straight line or a curved line (e.g., an arc). Thewire slot 52 has a head end and a tail end along the extending path, and the proximal end of thetraction wire 15 is penetrated through the head end of thewire slot 52 and extends to the tail end of thewire slot 52.
In one embodiment, as shown in fig. 10 and 11, thewire groove 52 includes an arc-shapedsegment 521 and aturning segment 522, the arc-shapedsegment 521 extends around the center of thedriving disc 50, and theturning segment 522 is abutted with the arc-shapedsegment 521 and extends toward the middle of thedriving disc 50.
After entering through the arc-shapedsection 521, thetraction wire 15 extends to theturning section 522 and is fixed. During the rotation of thedriving disc 50, thearc segment 521 changes position with thedriving disc 50 to drive thetraction wire 15 to move. The arc-shapedsection 521 makes the operation of the pullingwire 15 more stable, and the sudden change of the speed of the pullingwire 15 does not occur, which may cause the precision of the bending of the distal end of thesheath tube 20 to be reduced.
The extending directions of the turningsections 522 of the twowire grooves 52 are parallel or oblique, and the two turningsections 522 are close to each other. Meanwhile, since theturning section 522 extends to the middle of thedriving disc 50, the space of thewire slot 52 occupying the disc surface of thedriving disc 50 in the length direction is shortened, so that the structure of thedriving disc 50 is more compact.
In one embodiment, as shown in fig. 10 and 11, the radial position of thearc 521 is located in the middle of thedriving disc 50 or adjacent to the edge of thedriving disc 50, thearc 521 of the twoslots 52 are located at two opposite sides of thedriving disc 50 in the radial direction, and thefirst traction wire 151 and thesecond traction wire 152 are in a linkage relationship with each other, in which when thefirst traction wire 151 moves proximally, thesecond traction wire 152 moves distally, so as to avoid thefirst traction wire 151 and thesecond traction wire 152 from being stretched reversely during bending adjustment, which not only increases the bending resistance, but also has a safety hazard.
In one embodiment, as shown in fig. 10 and 11, the central angle of thearc 521 is 60 to 120 degrees;
the arc-shapedsection 521 is provided with awire inlet 523, and thewire inlet 523 faces to the far end side in the non-bending state.
Twoarc sections 521 communicate each other at the one end that goes into theline mouth 523 dorsad, and the central angle that thearc section 521 corresponds is under this scope, and driving-disc 50 is in initial condition (sheath pipe 20 is in under the non-accent curved state), has certain interval between theincome line mouth 523 of twowire casings 52, and this interval can avoid driving-disc 50 pivoted certain angle after, andfirst pull wire 151 andsecond pull wire 152 syntropy move, can causefirst pull wire 151 andsecond pull wire 152 to take place reverse stretch when transferring the curve.
Preferably, the central angle corresponding to the arc-shapedsection 521 is 80-100 degrees.
Most preferably,arcuate segment 521 subtends an angle of 90 degrees at its center.
In the connection of thepull wire 15 to thedrive disk 50, referring to one embodiment, as shown in fig. 12, the end of theturn 522 is thepositioning region 53, and the proximal end of thepull wire 15 is secured to thepositioning region 53 by the mountingmember 54.
Thetraction wire 15 is firstly connected with the mounting member 54 (for example, thetraction wire 15 is fixed on the mountingmember 54 by bolting), and then the mountingmember 54 is clamped on thepositioning area 53, so that thetraction wire 15 is rapidly fixed on thedriving disc 50, and the difficulty in mounting thetraction wire 15 and thedriving disc 50 can be reduced.
Wherein,location district 53 is the groove structure, andlocation district 53 is linked together with the terminal ofwire casing 52, and the installedpart 54 block is located thislocation district 53. The locatingregion 53 may be machined with thewire chase 52 to reduce the machining process of thedrive disc 50.
Wherein the mountingmember 54 is generally block-shaped. The outer profile of thepositioning region 53 is substantially congruent with the outer profile of the mounting member 54 (preferably an interference fit between the mountingmember 54 and the positioning region 53) to prevent the mountingmember 54 from disengaging from thepositioning region 53 when the mountingmember 54 is subjected to the force of thepull wire 15.
Of course, in other embodiments, thetraction wire 15 may be fixed to thedriving disk 50 by welding, gluing, etc., and will not be described herein.
Preferably, thepositioning area 53 is located on the disc surface of thedrive disc 50.
Thehandle 10 provides support for the various components while also providing room for the operator to grasp. In order to facilitate forming the firstbending adjustment chamber 182 on thehandle 10, referring to an embodiment, as shown in fig. 3, thehandle 10 has afirst housing 18 and asecond housing 181, thefirst housing 18 and thesecond housing 181 are buckled with each other to enclose the firstbending adjustment chamber 182, and thesheath 20 is fixed between thefirst housing 18 and thesecond housing 181.
In order to reduce the difficulty in assembling thefirst casing 18 and thesecond casing 181, thefirst casing 18 and thesecond casing 181 may be fixed by screws or by clamping.
To facilitate the operation of thedriving disc 50, referring to an embodiment, as shown in fig. 2 and 3, thehandle 10 is provided with anoperation slot 183 communicated with thefirst bending chamber 182; thedriving disk 50 has a drivinghandle 51 at its periphery, and the driving handle 51 extends from theoperating slot 183 to thefirst bending chamber 182. The operator holds the portion of the driving handle 51 located outside the firstbending adjusting chamber 182, and then drives thedriving disk 50 to rotate through the drivinghandle 51, so that the operator can control thedriving disk 50 to rotate.
The drivinglever 51 is substantially in the shape of a rod, and the drivinglever 51 and thedriving disk 50 are provided separately or integrally. In the present embodiment, the number of the driving levers 51 is two, the number of theoperation slots 183 is two, and the two drivinglevers 51 are located at opposite sides of thedriving disc 50 and respectively pass through thecorresponding operation slots 183. Of course, in other embodiments, the number of the driving levers 51 may be 1, 3, or 3 or more.
Anoperating slot 183 extends proximally along the distal end ofhandle 10 such that whendrive shaft 51 rotates drivedisc 50,drive shaft 51 is able to move withinoperating slot 183. In order to reduce the processing difficulty of theoperation slot 183, theoperation slot 183 is located at the connection between thefirst housing 18 and thesecond housing 181.
In one embodiment, as shown in fig. 4 and 13 to 16, thehandle 10 includes asupport 11 and arotary handle 12 rotatably mounted on the periphery of thesupport 11, asecond bending chamber 13 is defined between thesupport 11 and therotary handle 12, alinkage 14 is slidably engaged with thesupport 11, and a proximal end of thethird pull wire 153 is connected to thelinkage 14 and is used for pulling thesuction head 30 to move toward the side where thesuction port 38 is located.
In this application, the art person is through rotatingrotatory handle 12, and rotatory handle 12drives linkage 14 and slides onsupporter 11 to it is crooked to drive the distal end that thetraction wire 15 drewsheath pipe 20, and it is crooked towards fixed direction to driveadsorption head 30 at last, so thatadsorption head 30 avoids the tissue organ, reduces the damage to the tissue organ.
The outer circumference of thelink 14 is provided with an external thread, and the inner wall of the swing handle 12 is provided with an internal thread matching the external thread.
The screw connection between therotating handle 12 and thelink 14 can convert the rotation of therotating handle 12 into the sliding of thelink 14 on the supportingbody 11, so as to stabilize the movement of thelink 14. Meanwhile, the self-locking phenomenon of thelinkage part 14 can be realized, and thelinkage part 14 is prevented from being driven to move by the resetting force of thesheath tube 20.
In one embodiment, the supportingbody 11 defines a guidinggroove 111 extending along the axial direction of thesheath 20, thelink 14 is slidably mounted in the guidinggroove 111, and the guidinggroove 111 can define a moving path of thelink 14, so as to move thelink 14 in a fixed direction.
At least part of thelink 14 is located in theguide groove 111 and can slide along theguide groove 111, and the part of thelink 14 extending out of theguide groove 111 is provided with an external thread (the external thread is matched with the internal thread of the rotary handle 12). In order to stabilize the sliding of thelink 14, thelink 14 is attached to both side walls of theguide groove 111 along both axial sides of thesheath 20, so that thelink 14 is prevented from wobbling in theguide groove 111 in the radial direction of thesheath 20, thereby reducing the bending accuracy of thesheath 20.
Thesupport 11 may be made of metal or medical plastic material, thesupport 11 is a cylinder and has an axis which is consistent with the axis of thesheath 20, thesupport 11 is provided with a throughhole 112 penetrating along its own axis, and the throughhole 112 is used for each tube (such as thepuncture needle 40, etc.) to pass through. The outer side wall of the supportingbody 11 has two oppositely disposed guidingplates 113, the guidinggroove 111 is formed between the two guidingplates 113, and the two guidingplates 113 are disposed in parallel or at an included angle.
In one embodiment, the orientation of thesuction port 38 is consistent with the circumferential position of theguide groove 111 relative to thesupport body 11, and when thetraction wire 15 is inserted into thesheath tube 20, thetraction wire 15 is always attached to the inner wall of thesheath tube 20, so that thetraction wire 15 is retracted from each tube in thesheath tube 20.
In terms of the connection manner of thetraction wire 15 and thelinkage member 14, referring to an embodiment, thelinkage member 14 is provided with athreading hole 142 axially penetrating along thesheath 20, and thetraction wire 15 is adhered in thethreading hole 142. The far end of thetraction wire 15 is arranged in or penetrates through thethreading hole 142, and thetraction wire 15 part positioned in thethreading hole 142 is glued on the inner wall of thethreading hole 142 through glue, so that the structure between thetraction wire 15 and thelinkage piece 14 is simplified, and the assembly difficulty between thetraction wire 15 and thelinkage piece 14 is reduced.
Thethreading hole 142 is located at a portion of thelink 14 disposed in theguide groove 111, and the cross-sectional shape of thethreading hole 142 is not strictly limited in the present embodiment, and may be, for example, circular or oval.
Of course, in other embodiments, the connection of both thepull wire 15 and thelinkage 14 is by: the near end of thetraction wire 15 passes through thethreading hole 142 and is tied, the knot is limited by thethreading hole 142, when thetraction wire 15 is acted by the acting force on thesheath tube 20, the knot on thetraction wire 15 cannot pass through thethreading hole 142, and the knot can be fixed on thelinkage piece 14 through the structure of thetraction wire 15, so that the difficulty of assembling thetraction wire 15 and thelinkage piece 14 is further reduced.
Alternatively, the proximal end of thepull wire 15 passes through thethreading hole 142 and is connected to a retaining member (not shown) that is limited to thethreading hole 142. The shape of anticreep piece does not have strict restriction, as long as when thepull wire 15 receives the effort pulling anticreep piece ofsheath pipe 20, the anticreep piece can not pass through threadinghole 142, and the bolt is on the anticreep piece afterpull wire 15passes threading hole 142, and the setting of anticreep piece can increase the joint strength betweenpull wire 15 and thelinkage 14.
In order to limit the relative movement between the anti-slip part and thelinkage part 14, in one embodiment, a groove (not shown) is provided at the proximal end (the end close to the operator) of thelinkage part 14, the groove is located at thethreading hole 142, and the shape of the anti-slip part is substantially consistent with the shape of the groove, so that the anti-slip part is embedded in the groove. To facilitate the connection of thetraction wire 15 to the anti-release member, thetraction wire 15 is bolted to the anti-release member.
In the connection manner of therotating handle 12 and thehandle 10, referring to an embodiment, therotating handle 12 is cylindrical, thehandle 10 is provided with tworotating grooves 161 located at two ends of therotating handle 12, and two axial ends of therotating handle 12 respectively extend into the correspondingrotating grooves 161 and are rotatably mounted on thehandle 10, so as to avoid additional components such as a support frame for supporting therotating handle 12 on thehandle 10, and simplify the structure of thehandle 10.
The axis of therotating handle 12 coincides with the axis of thesheath 20. The outer side wall of therotating handle 12 is higher than, lower than or flush with the outer side wall of thehandle 10, and in order to facilitate the operation of therotating handle 12 by the operator, in the present embodiment, the outer side wall of therotating handle 12 is higher than the outer side wall of thehandle 10.
In the connection manner of therotating handle 12 and thehandle 10, referring to an embodiment, thehandle 10 has two mountingrings 16 at both ends of therotating handle 12, and the supportingbody 11 is mounted in thehandle 10 and forms tworotating grooves 161 with the respective mounting rings 16, thereby further simplifying the assembly structure between therotating handle 12 and thehandle 10.
When the supportingbody 11 is located in therotating handle 12, two ends of the supportingbody 11 respectively extend out of therotating handle 12, so that part of the structure of the supportingbody 11 can extend to the mountingring 16, two ends of the supportingbody 11 are provided with supportingshoulders 114 opposite to the mountingring 16, and the supportingshoulders 114 and the mountingring 16 form arotating groove 161.
In the installation manner of thesupport body 11 and thehandle 10, referring to an embodiment, the outer side wall of thesupport body 11 is provided with a limitingshoulder 115, the inner side wall of thehandle 10 is provided with a limiting groove (not shown) matched with the limitingshoulder 115, and the limitingshoulder 115 not only positions the installation position of thesupport body 11 in thehandle 10, but also pre-installs thesupport body 11 in thehandle 10.
The mountingring 16 and thehandle 10 are integrally or separately arranged. In order to facilitate the assembly of the mountingring 16 and thehandle 10, in the present embodiment, the mountingring 16 and thehandle 10 are provided separately.
One end of the communication hole communicates with the throughhole 112, and the other end communicates with theguide groove 111.
Alternatively, in other embodiments, the mounting gap between the mountingring 16 and thestop shoulder 115 forms a communication aperture.
In order to facilitate thehandle 10 for the operator, referring to an embodiment in which the rotation axis of thedriving disk 50 is perpendicular or oblique to the axis of the rotation handle 12, when the operator adjusts thedriving disk 50 and the rotation handle 12, one hand of the operator holds thehandle 10 and operates the rotation handle 12, and the other hand can separately operate thedriving disk 50 to facilitate the operation of thedriving disk 50 and therotation handle 12.
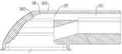
In one embodiment, referring to fig. 26, the workingchamber 31 is arranged as an integral chamber or includes a plurality of sub-chambers communicating with each other inside theadsorption head 30, theadsorption passage 321 and theoperation passage 33 are respectively communicated with the corresponding sub-chambers, and theadsorption port 38 is communicated with at least the sub-chamber where theoperation passage 33 is located.
The inside of a plurality of son cavities communicates with each other for all son cavities in the workingchamber 31 all can be through withadsorb passageway 321 intercommunication, produce the negative pressure in the workingchamber 31 through suction device, rely on inside and outside pressure difference to form the adsorption affinity and adsorb in the adsorbate, avoid leading toadsorption head 30 to break away from the adsorbate because of the top ofpjncture needle 40 is moved. Preferably, the workingchamber 31 may also be a body chamber, i.e. there is sufficient space for arranging auxiliary components, and it is also possible to avoid clogging problems due to narrow communication sites.
Theadsorption passage 321 may be disposed along the axial direction, or may be disposed in a curved manner, and the cross-sectional shape of theadsorption passage 321 may be circular or elliptical. In order to facilitate the processing of theadsorption channel 321 on theadsorption head 30, avacuum tube 32 is arranged on theadsorption head 30, the internal channel of thevacuum tube 32 is theadsorption channel 321, one end of thevacuum tube 32 extends into the workingcavity 31, the other end of the vacuum tube penetrates through thesheath tube 20 and is connected to the suction device, and the medium in the workingcavity 31 is sucked and discharged out of theadsorption head 30 through the suction device.
Theoperation channel 33 is a channel for installing thepuncture needle 40.
In order to better perform the bending puncture operation, referring to an embodiment, as shown in fig. 24 and 25, thepuncture needle 40 used in thesuction head 30 of the present application includes aguide tube 41, aneedle tip 42, aninner needle tube 43, and anouter needle tube 44, wherein theguide tube 41 is a hollow metal tube, theouter needle tube 44 is connected to the proximal end of theguide tube 41, or theouter needle tube 44 and theguide tube 41 are integrally formed.
Theinner needle tube 43 is slidably mounted within theouter needle tube 44 and the distal end of theinner needle tube 43 is connected to theneedle 42, although theneedle 42 may be integral with theinner needle tube 43. When theinner needle tube 43 is moved, theneedle 42 is caused to change along the shape of theguide tube 41, facilitating the curved puncture.
Since the operating space in the human body is limited, thepuncture needle 40 should perform a bending puncture to reduce damage to the tissue organ in order to reduce damage to the tissue organ. In one embodiment, as shown in fig. 29, the connection portion between theoperation channel 33 and the workingchamber 31 is afirst connection port 37, and thefirst connection port 37 is located on the side of the workingchamber 31 away from theadsorption port 38.
Thefirst communication port 37 is a passage port of thepuncture needle 40 into the workingchamber 31, and thepuncture needle 40 needs to be bent and inclined toward thesuction port 38 after entering the workingchamber 31, and in order to secure a preferable puncture angle, a sufficient bending and inclination space must be left, and for this reason, thefirst communication port 37 is positioned as far as possible from thesuction port 38 side.
In a preferred embodiment, one side of thesuction port 38 is defined as the bottom of thesuction head 30, and thefirst communication port 37 is provided at the top of thesuction head 30.
In one embodiment, as shown in fig. 31, the distal end side of the inner wall of the workingchamber 31 is a guidingportion 36, and the guidingportion 36 gradually curves and transitions from thefirst communication port 37 to the distal end side of thesuction port 38.
Theguide portion 36 is an open slot, which opens toward the side of thesuction port 38, and theguide portion 36 is divided into a front section and a rear section, wherein the front section is aguide groove 361 extending along theoperation channel 33, and the rear section is acurved groove 362 smoothly curved toward thesuction port 38 next to theguide groove 361. Theguide tube 41 of thepuncture needle 40 is substantially in contact with theguide portion 36, and has, for example, an arc shape or an elliptical arc shape.
The outlet end of theguide tube 41 can be away from theadsorption port 38 by a certain distance, that is, theneedle 42 is still in the workingcavity 31 after extending out of theguide tube 41 and does not penetrate into the adsorbed object, thereby facilitating observation and confirmation of the puncture point.
In a complicated operation process, when a tissue organ is punctured, the puncturing direction of thepuncture needle 40 forms an included angle with the tangent plane of a target point (i.e. the plane of the adsorption port 38), and in order to protect the tissue organ, the puncturing depth is reduced as much as possible, namely the included angle is as close to 90 degrees as possible. In one embodiment, theguide tube 41 is 1/4 arc or ellipse, i.e., at a 90 ° angle, such that the piercingneedle 40 pierces perpendicular to the surface of the adsorbate. The damage to theneedle 42 is reduced and the length of theneedle 42 penetrating the myocardial tissue is minimized, with minimal damage to the tissue and organs.
Due to the volume limitation of thepuncture needle 40, when theneedle head 42 slides and bends in theguide tube 41, frictional resistance exists between theneedle head 42 and the inner wall of theguide tube 41, and if the included angle is too large, theneedle head 42 is not pushed or pulled, and the puncture operation is affected. As shown in fig. 33, in the preferred embodiment, the included angle is 45 ° to 60 °, so that the frictional resistance is reduced, and the operation by an operator is facilitated.
When the arrangement mode of the workingchamber 31 is a plurality of sub-chambers, in one embodiment, a partition plate is provided between two sub-chambers adjacent to each other, and the two sub-chambers adjacent to each other are communicated with each other through a through hole provided in the partition plate, or the two sub-chambers adjacent to each other are communicated with each other through a pipeline.
The partition plate is arranged perpendicular to theadsorption port 38, and the plurality of sub-chambers are separated to be connected with different channels, for example, the operation chamber is connected with the operation channel, and the adsorption chamber is connected with the adsorption channel. Interference between the chambers is avoided. Each chamber is communicated with each other through a pipeline or an opening, so that after the adsorption cavity is vacuumized, other chambers can be also vacuumized, and all theadsorption ports 38 generate adsorption force. Compared with the prior adsorption head, theadsorption head 30 is prevented from being separated from the adsorbate due to the pushing of thepuncture needle 40 during the puncture operation, thereby avoiding the influence on the operation.
Since the surface of the adsorbate is very easy to be damaged, during the adsorption operation, the adsorbate protrudes and extends into theadsorption port 38, so as to avoid damaging the surface of the adsorbate, in one embodiment, the edges of theadsorption port 38 are on the same plane or on a cambered surface with the middle part depressed towards the inside of the adsorption port.
The position of the cross-sectional shape of theadsorption port 38 close to the inner side of theadsorption port 38 is an arc surface, so that the adsorbed object is protruded into theadsorption port 38 and then attached to the arc surface, and the object is prevented from being scratched.
As shown in fig. 29 and 29a, in one embodiment, the periphery of thesuction port 38 is provided with a sealinglip 39 protruding to abut against the article to be sucked.
Theseal lip 39 may be formed integrally with thesuction port 38, or may be assembled as a separate part, and the cross-sectional shape thereof is a semicircular shape or other shape without a sharp corner, thereby preventing scratching of the object to be sucked. The sealinglip 39 is mainly used to better isolate the outside air and liquid from entering the workingchamber 31 when theadsorption port 38 is attached to the surface of the adsorbate, so as to prevent theadsorption head 30 from separating from the adsorbate after the outside air enters.
In one embodiment, the sealinglip 39 is annular with a flaredrim 391.
The annular structure means that a path which is connected end to end and surrounds the periphery of theadsorption port 38 by a circle exists, the outward extension of the annular structure is provided with theoutward flange 391, and theoutward flange 391 improves the contact area with the adsorbed object and more effectively blocks the outside gas and liquid.
Theoutward flange 391 may be of the same thickness throughout the extension process or of different thicknesses. As shown in fig. 29a, in the preferred embodiment, the thickness gradually decreases from inside to outside, and the thickness tends to decrease rapidly, and a flat attachingsurface 392 with a smaller thickness is formed at the end, so as to improve the deformation capability of the flat attachingsurface 392 and improve the attaching performance with the absorbed object. Theflat surface 392 is transitionally connected with the inner wall of the workingchamber 31 through theinner edge 393 of a smooth cambered surface, so that the absorbed object is prevented from being scratched.
In one embodiment, the opening of theadsorption port 38 is a communication area or is divided into a plurality of unit areas.
When the depth of the partition plate does not extend to the plane of theadsorption port 38 or the workingcavity 31 is an integrated cavity, the opening of theadsorption port 38 is a communication area, and all positions of theadsorption port 38 can generate adsorption force for adsorbing an adsorbate, so that the phenomenon that theadsorption head 30 falls off due to the pushing of puncture and the influence on the operation is avoided.
When the depth of the partition extends to the same plane as theadsorption port 38, theadsorption port 38 is divided into a plurality of unit regions. When the vacuum is generated in the workingchamber 31, the adsorbate will partially bulge into theadsorption port 38, so that the penetration depth is uncertain. Therefore, the partition plates are arranged in a partition mode, the area of theadsorption port 38 of the operation cavity is reduced, and then the bulge of the adsorbed object is reduced, so that the puncture operation is more accurate. And each chamber is communicated with each other, and theadsorption port 38 of each unit area can generate adsorption force, so that the phenomenon that theadsorption head 30 falls off due to the pushing of puncture to influence the operation is avoided.
In one embodiment, the plurality of unit regions are formed in a regularly distributed grid structure or a random porous structure.
The plane of theadsorption port 38 is provided with a flat plate with a grid structure or flexible cloth with a porous structure, and a puncture space is reserved in holes of the porous structure, so that the puncture of thepuncture needle 40 is facilitated. And furtherseparate absorption mouth 38 for the height that the adsorbate arch stretched intoabsorption mouth 38 reduces, protects the adsorbate, and simultaneously, the control of puncture depth is more accurate.
In one embodiment, thesuction port 38 extends a distance proximally along its length (axial direction), and thesuction port 38 is opened at one side of thesuction head 30 in the radial direction.
Generally, the insertion path direction and the insertion direction of the puncture have a certain included angle, the curvature radius is larger when the distal end of the insertion device 100 is bent as a whole, the operation space is limited, thepuncture needle 40 is thinner, and the curvature radius is smaller when the distal end is bent, so that it is preferable that thepuncture needle 40 is turned to adapt to the insertion direction, and theadsorption head 30 is arranged at one side in the radial direction, so that thepuncture needle 40 is directly extended out of theadsorption head 30 to perform the puncture after being turned. Of course, the entire distal end of the interventional device 100 can also assist in bending to adapt to the interventional path or fine control to target.
In one embodiment, theguide portion 36 has a turning angle of 75-100 degrees in a bending transition relative to the axial direction of the suction head.
The angle of rotation is the angle between the line connecting the start point and the end point of the bend of theguide portion 36 and the axis of theoperation channel 33, and the angle of rotation is too small, which easily causes theguide tube 41 to loosen, theouter needle tube 44 is not firmly fixed, and theouter needle tube 44 easily moves synchronously with theinner needle tube 43 during the puncturing process, thereby affecting the puncturing operation. If the rotation angle is too large, the sliding resistance of theneedle 42 is too large, and the operator may feel a sliding pause, which affects the smoothness of the puncture. Therefore, the angle of rotation is designed to be 75 to 100 degrees, the puncture angle of thepuncture needle 40 is ensured to be 45 to 60 degrees, and theguide tube 41 can be firmly fixed in theguide part 36.
In one embodiment, as shown in fig. 29, the workingchamber 31 is a one-piece chamber, the connection portion between thesuction channel 321 and the workingchamber 31 is asecond connection port 371, and thefirst connection port 37 and thesecond connection port 371 are both located on the proximal end side of the inner wall of the workingchamber 31.
Thesecond communication port 371 is designed close to thesuction port 38 so that thevacuum tube 32 is located as close to thesuction port 38 as possible when it is inserted into the workingchamber 31. During the operation, the medium in the workingchamber 31 is sucked from the bottom, and the medium is sucked from the lower position, so that the cleanness of the workingchamber 31 is kept as possible.
As shown in fig. 27 and 28, in one embodiment, the proximal end side of thesuction head 30 is further provided with anendoscope channel 34 and a cleaningchannel 35 which communicate with the workingchamber 31, respectively.
Theendoscope channel 34 is provided with theendoscope 101 for observing the condition in the workingcavity 31, theendoscope channel 34 is divided into a front section and a rear section, the rear section extends along the axial direction of theadsorption head 30, the front section inclines or bends towards one side of theadsorption port 38 and is communicated with the workingcavity 31, and after theendoscope 101 is installed along theendoscope channel 34, the lens of the endoscope can be aligned to theadsorption port 38, so that the target point can be conveniently found and the condition in the workingcavity 31 can be observed.
During the operation, the medium in the workingchamber 31 is sucked from the bottom, and the medium is sucked from the lower position, so that the cleanness of the workingchamber 31 is kept as possible. As shown in fig. 27 and 28, in one embodiment, the proximal end side of thesuction head 30 is further provided with anendoscope channel 34 and a cleaningchannel 35 which communicate with the workingchamber 31, respectively. Theendoscope channel 34 is provided with theendoscope 101 for observing the condition in the workingcavity 31, theendoscope channel 34 is divided into a front section and a rear section, the rear section extends along the axial direction of theadsorption head 30, the front section inclines or bends towards one side of theadsorption port 38 and is communicated with the workingcavity 31, and after theendoscope 101 is installed along theendoscope channel 34, the lens of the endoscope can be aligned to theadsorption port 38, so that the target point can be conveniently found and the condition in the workingcavity 31 can be observed.
The cleaningchannel 35 is used to supply cleaning liquid for cleaning the workingchamber 31 and theendoscope 101, and to keep the workingchamber 31 and theendoscope 101 clean. In order to effectively keep the lens of theendoscope 101 clean, in one embodiment, the portion of theendoscope channel 34 communicating with the workingchamber 31 is afourth communication port 373, the portion of the cleaningchannel 35 communicating with the workingchamber 31 is athird communication port 372, and thethird communication port 372 is arranged at one or more positions near the top along the periphery of thefourth communication port 373, when necessary, the cleaningtube 102 slowly delivers cleaning fluid, and the cleaning fluid cleans theendoscope 101 from top to bottom.
In another embodiment, thethird communication port 372 may be arbitrarily arranged to wash the lens and the workingchamber 31 by filling the workingchamber 31 with the washing liquid through thewashing passage 35 when the lens of theendoscope 101 is contaminated.
In another embodiment, thethird communication port 372 is aligned with the lens of theendoscope 101, and directly outputs the cleaning liquid to clean the lens.
After the cleaning, theendoscope 101 and the workingchamber 31 are kept clean by sucking the cleaning liquid through thesuction passage 321 by the suction device.
Regarding the spatial arrangement of theendoscope channel 34 and the cleaningchannel 35, the radial direction of thesuction head 30 is divided into three parts, namely a bottom part, a middle part and a top part, perpendicular to the direction of thesuction port 38, thesuction channel 321 is located at the bottom part, theoperation channel 33 is located at the top part, and then theendoscope channel 34 is arranged at the middle part, so that theendoscope 101 can observe the operation of thepuncture needle 40 and the visual field covered by thesuction port 38.
As shown in fig. 27 and 32, in one embodiment, thesuction channel 321, theoperation channel 33, theendoscope channel 34, and the cleaningchannel 35 are independent from each other or at least two of them are connected together, and the channels are respectively configured as follows: theadsorption head 30 is provided with a hole to form a channel, the far end of the hole is communicated with the workingcavity 31, the near end of the hole is opened to be butted with an external pipeline, or a pipeline is arranged in the hole in a penetrating way, the far end of the pipeline is communicated with the workingcavity 31, and the near end of the pipeline extends out of theadsorption head 30.
Theadsorption channel 321, theoperation channel 33, theendoscope channel 34 and the cleaningchannel 35 can be selected to be independent or at least two of the channels are connected together according to the actual situation and the connection mode of the near end, so that various channel arrangement schemes are provided.
The gas or liquid flowing through theadsorption channel 321 and the cleaningchannel 35 can be transported by passing through the pipeline or connecting thesheath tube 20 at the proximal channel port.
In one embodiment, when theadsorption channel 321 and the cleaningchannel 35 are provided with pipelines, the channels can be mutually connected and communicated and freely combined, but the cross section of each channel is shaped to ensure that at least three fixing points which play a role in fixing and guiding the installed equipment or pipelines exist. For example, the cleaningchannel 35 is disposed through thecleaning tube 102, the cleaningchannel 35 is disposed in parallel with and communicates with theendoscope channel 34,
in another embodiment, when theadsorption channel 321 and the cleaningchannel 35 directly flow gas or liquid, they must be independently arranged to avoid the flowing medium from mixing into other pipelines and affecting the operation. For example, thecleaning passage 35 has nocleaning pipe 102, and when the cleaning liquid flows directly through the cleaning passage, a separate pipe is required.
In one embodiment, as shown in fig. 3, a rotatingmember 19 is installed in thehandle 10, wherein the two pullingwires 15 are bent in opposite directions, and the two pullingwires 15 are connected to the rotatingmember 19 in opposite winding directions.
Therotating part 19 drives the twotraction wires 15 to synchronously and reversely move when rotating, so that the twotraction wires 15 are prevented from reversely stretching when bending thesheath tube 20, the bending resistance of thesheath tube 20 is prevented, potential safety hazards are avoided, and more bending adjusting angles are provided for the bending adjustment of thesheath tube 20.
In one embodiment, the rotatingmember 19 has a disk shape, and the rotation axis is perpendicular to the plane of thesuction port 38.
In another embodiment, thehandle 10 further comprises alocking mechanism 105 for locking or releasing thedriving disc 50, thelocking mechanism 105 continuously defining the rotation angle of thedriving disc 50 or stepwise defining the rotation angle of thedriving disc 50.
The art person is through controlling driving-disc 50, drivestraction wire 15 when driving-disc 50 rotates, and the distal end position oftraction wire 15drive sheath pipe 20 is crooked, when the distal end position ofsheath pipe 20 is crooked to preset position, locks driving-disc 50 through lockingmechanical system 105 butt to avoid outside effort mistake to touch driving-disc 50, cause driving-disc 50 to rotate, can influence the distal end ofsheath pipe 20 and transfer the angle of bending.
As shown in fig. 17 to 20, thelock mechanism 105 is largely divided into two operation modes, for example, a mode of using thefirst lock mechanism 60, and thefirst lock mechanism 60 includes:
and theknob 61 is in threaded fit with thehandle 10, at least one part of theknob 61 is exposed outside thehandle 10, theknob 61 is far away from or pressed against the drivingdisk 50 during the rotation of theknob 61, and thedriving disk 50 is locked in a pressed state.
When the distal end of thesheath 20 is bent to a predetermined position, theknob 61 is abutted to lock thedriving disk 50, so as to prevent the external acting force from touching thedriving disk 50 by mistake, so that thedriving disk 50 rotates, and the distal end bending angle of thesheath 20 is affected.
In one embodiment, thefirst locking mechanism 60 further includes anelastic pad 62 pressed between theknob 61 and thedriving disc 50, and during the rotation of theknob 61, by pressing theelastic pad 62 to make thedriving disc 50 in a pressed state, theelastic pad 62 can prevent theknob 61 from directly pressing thedriving disc 50, and at the same time, the friction between theknob 61 and thedriving disc 50 is increased to make the locking of theknob 61 more firm.
Theelastic pad 62 may be made of rubber or silicone, and when theknob 61 presses against theelastic pad 62, theelastic pad 62 is deformed by a force. Theelastic pad 62 is substantially circular in shape and is capable of covering the disk surface of the drive disk 50 (one end in the axial direction of the drive disk 50). Of course, in other embodiments, the shape of theelastic pad 62 may also be oval, rectangular, annular, etc., and the shape of theelastic pad 62 is not strictly limited as long as theelastic pad 62 can increase the friction force between theknob 61 and thedriving disk 50.
In one embodiment, therotation stop portion 621 is disposed on the periphery of theelastic pad 62, therotation stop groove 184 is disposed on thehandle 10 and is engaged with therotation stop portion 621, and therotation stop groove 184 and therotation stop portion 621 are engaged with each other to prevent the rotation force of theknob 61 acting on theelastic pad 62, so as to prevent theelastic pad 62 from rotating with theknob 61.
Therotation stopping groove 184 is opened on the inner wall of thesecond housing 181. In order to facilitate observing the state of the elastic pad 62 (whether the elastic pad is pressed by the knob 61), referring to an embodiment, thehandle 10 is provided with anobservation window 185 communicating with therotation stop groove 184, and the position of theelastic pad 62 is observed through theobservation window 185 to deduce the state of theelastic pad 62.
In the embodiment, the number of therotation stopping portions 621 is two, the number of therotation stopping slots 184 is two, and the tworotation stopping portions 621 are oppositely disposed on two opposite sides of theelastic pad 62 and respectively matched with the correspondingrotation stopping slots 184. Of course, in other embodiments, the number of therotation stoppers 621 may be 1, 3, or 3 or more.
In order to further prevent theelastic pad 62 from rotating with theknob 61, in an embodiment, a plurality ofgrooves 57 are formed on a surface of thedriving disc 50 contacting with theelastic pad 62, after theelastic pad 62 is pressed by theknob 61, theelastic pad 62 deforms, and a portion of the deformation of theelastic pad 62 enters thegrooves 57 to increase the friction force between theelastic pad 62 and theknob 61.
When theknob 61 is in the initial state (i.e., when thesheath tube 20 is not bent), the extending direction of eachgroove 57 is substantially aligned with the extending direction of thesheath tube 20, and the extending directions of thegrooves 57 are arranged in parallel.
In one embodiment, thefirst locking mechanism 60 further includes aspacer 63, thespacer 63 is disposed between theelastic pad 62 and theknob 61, theknob 61 presses theelastic pad 62 by driving thespacer 63, and thespacer 63 can transmit the pressing force of theknob 61 to theelastic pad 62. During the rotation of theknob 61, thespacer 63 consumes a part of the rotation force (for example, by means of the gravity of thespacer 63 itself, the friction force between thespacer 63 and thehandle 10, etc.), and only a small part of the rotation force of theknob 61 is transmitted to theelastic pad 62, so as to further reduce the rotation force of theknob 61 on theelastic pad 62.
Thespacer 63 is substantially cylindrical, and thespacer 63 has two axial ends, one of which abuts against theknob 61 and the other of which abuts against theelastic pad 62. In order to increase the contact surface between thespacer 63 and theelastic pad 62, the end of thespacer 63 facing theelastic pad 62 has anend plate 631, the end surface of theend plate 631 facing away from thespacer 63 contacts theelastic pad 62, and the contour of the end surface of theend plate 631 facing theelastic pad 62 substantially matches the outer contour of theelastic pad 62. Wherein the area of the end surface of thespacer 63 contacting theknob 61 is smaller than the area of the end surface of theend plate 631, the rotating force of theknob 61 acting on thespacer 63 can be reduced, so as to further reduce the rotating force of theelastic pad 62 received by theknob 61.
In the matching manner of theknob 61 and thehandle 10, referring to an embodiment, the sidewall of thehandle 10 is provided with a drivinggroove 641 communicated with thefirst bending chamber 182, the inner wall of the drivinggroove 641 is provided with an internal thread, theknob 61 is provided with an external thread matched with the internal thread, thedriving disc 50 is assembled in thefirst bending chamber 182 and can be fixed with thefirst shell 18 or thesecond shell 181, then theelastic pad 62 and the isolatingpiece 63 are installed on thehandle 10 in sequence through the drivinggroove 641, and finally theknob 61 is screwed into the drivinggroove 641. The next step is assembled after the previous component is fixed, so that the problem that the components are required to be matched with each other to assemble when theelastic pad 62, thespacer 63 and theknob 61 are assembled together with thedriving disc 50 is solved, and the assembly difficulty of theelastic pad 62, thespacer 63 and theknob 61 is reduced.
In order to satisfy a certain amount of movement of theknob 61, the drivinggroove 641 needs to have a certain extension length, and at this time, there is a certain requirement for the thickness of the chamber wall of the firstbending adjustment chamber 182, so as to increase the size increase of thehandle 10 and the waste of the material of thehandle 10, in order to solve this problem, referring to an embodiment, thehandle 10 is provided with a connectingsleeve 64, the drivinggroove 641 communicated with the firstbending adjustment chamber 182 is arranged in the connectingsleeve 64, the inner wall of the drivinggroove 641 is provided with an internal thread, theknob 61 is provided with an external thread matched with the internal thread, the connectingsleeve 64 is wholly arranged in thehandle 10 or at least partially arranged outside thehandle 10 in a protruding manner, and the connectingsleeve 64 can satisfy the requirement for the extension length of the drivinggroove 641, so as to avoid the increase of the thickness size of thehandle 10 and the increase of the material of thehandle 10.
Aviewing window 185 is located at the connection of thenipple 64 to thehandle 10. The axis of the connectingsleeve 64 is substantially coincident with or parallel to the axis of thedrive disc 50. The connectingsleeve 64 and thehandle 10 are fixed in a split manner or are integrated, and in order to enhance the connecting strength between the connectingsleeve 64 and thehandle 10, the connectingsleeve 64 and thehandle 10 are integrally arranged.
In one embodiment, theknob 61 includes an actingportion 612 and acover 611, an external thread is disposed on an outer side portion of the actingportion 612, the actingportion 612 is in threaded connection with the drivinggroove 641, one end of the actingportion 612 can press against the drivingdisc 50, and the other end of the acting portion is exposed outside thehandle 10; thecover 611 is connected to the actingportion 612 exposed outside thehandle 10 and shields the connection between the actingportion 612 and the drivinggroove 641.
Theknob 61 can be screwed into and out of the drivinggroove 641, and dust can be prevented from entering the drivinggroove 641.
Theaction portion 612 is substantially rod-shaped, thecover 611 extends from the end of theaction portion 612 in the radial direction and extends toward thehandle 10, and thecover 611 and thehandle 10 are in clearance fit, and the clearance allowance is adapted to the movement stroke of theaction portion 612 in the drivinggroove 641.
In order to facilitate the operator to operate theknob 61, the outer sidewall of theknob 61 is provided with a plurality of protrudingstrips 613, and the protrudingstrips 613 can increase the friction between the operator's hand and theknob 61.
As shown in fig. 21 to 23, thelock mechanism 105 may also be in the form of a second lock mechanism 70, the second lock mechanism 70 including:
a plurality of lockinggrooves 55 provided in thedrive disc 50 along the circumferential direction of thedrive disc 50;
thepositioning piece 71 is movably installed in the firstbending adjusting chamber 182, and thepositioning piece 71 is engaged with the corresponding lockinggroove 55 during the rotation of thedriving disc 50.
When the distal end of thesheath tube 20 is bent to a predetermined position, thepositioning element 71 is engaged with the corresponding lockinggroove 55 to lock thedriving disc 50, so as to prevent thedriving disc 50 from rotating due to the mistaken touch of external acting force on thedriving disc 50, which may affect the distal end bending angle of thesheath tube 20.
In one embodiment, the elastic drivingmember 72 abuts against the positioningmember 71 to drive the positioningmember 71 to keep engaging with thecorresponding locking slot 55, and when the distal end portion of thesheath 20 is bent to a predetermined position, the positioningmember 71 engages with thecorresponding locking slot 55 under the action of the elastic drivingmember 72.
In one embodiment, the lockinggrooves 55 are distributed at intervals around the axis of thedriving disc 50, and the central angle of theadjacent locking grooves 55 relative to the center of thedriving disc 50 is 5 to 20 degrees, so that thepositioning element 71 sequentially passes through the lockinggrooves 55 distributed at intervals around the axis of thedriving disc 50 during the rotation of thedriving disc 50, and the smaller the distance between theadjacent locking grooves 55 is, the higher the bending precision of the distal end of thesheath tube 20 is.
Preferably, the central angle of theadjacent locking slots 55 with respect to the center of thedriving disc 50 is 8 to 20 degrees.
Most preferably, theadjacent locking slots 55 are angled 15 degrees relative to the center of thedrive plate 50.
The angle of the central angle of theadjacent locking grooves 55 with respect to the center of thedriving disc 50 may be determined according to the distance from the lockinggroove 55 to the center of thedriving disc 50. The diameter of thedrive plate 50 limits the distance of the lockingslot 55 to the center of thedrive plate 50.
In the present embodiment, the diameter of thedrive disc 50 is 20mm to 60 mm.
Preferably, the diameter of thedrive disc 50 is between 30mm and 50 mm.
Most preferably, the diameter of thedrive disc 50 is 40 mm.
Of course, in other embodiments, the diameter of thedriving disc 50 and the central angle of theadjacent locking slots 55 relative to the center of thedriving disc 50 can be adjusted according to actual needs, and will not be further described herein.
In one embodiment, at least one of the contact portions of thepositioning element 71 and the lockingslot 55 is an arc surface structure, so that thepositioning element 71 can be separated from the lockingslot 55 when the driver rotates thedriving disc 50, thereby preventing thepositioning element 71 and the lockingslot 55 from being locked to each other.
In one embodiment, the matching portion of thepositioning element 71 and the lockinggroove 55 is in a spherical crown shape, wherein the outer surface of the spherical crown is in a cambered surface structure, so that thepositioning element 71 and the lockinggroove 55 can be separated from each other.
To facilitate the machining of the positioningmember 71, it is preferable that the positioningmember 71 has a spherical shape.
In one embodiment, thepositioning members 71 are distributed in pairs, and the twopositioning members 71 of the same pair are located on two opposite sides of thedriving disc 50 in the radial direction, so that the forces exerted by thepositioning members 71 on thedriving disc 50 are balanced.
In the present embodiment, three pairs of thepositioning members 71 are provided, and thepositioning members 71 are spaced apart from each other around the axis of thedrive plate 50, and each positioningmember 71 engages with the corresponding lockinggroove 55 during the locking of thedrive plate 50. Of course, in other embodiments, thepositioning members 71 are one pair, two pairs, or three or more pairs.
In the assembly relationship between the elastic drivingmember 72 and thehandle 10, referring to an embodiment, the inner wall of the firstbending adjustment chamber 182 is provided with a mountingpost 73, and the elastic drivingmember 72 and the mountingpost 73 are matched in the following manner: the periphery of the mountingpost 73 is sleeved with the elastic drivingmember 72, the mountingpost 73 can limit the movement path of the elastic drivingmember 72, and can support the elastic drivingmember 72, so that the elastic drivingmember 72 is prevented from being twisted when the positioningmember 71 receives the rotating force of thedriving disk 50.
Of course, in other embodiments, the mountingpost 73 is hollow and one end of theresilient actuator 72 extends into the mountingpost 73.
In order to prevent thepositioning member 71 from being separated from the cavity, which may cause the positioningmember 71 to be caught between the mountingpost 73 and thedriving disk 50, referring to an embodiment, the positioningmember 71 is movably mounted in the cavity, and at least a portion of the positioningmember 71 is exposed outside the cavity, and an inner edge of the cavity is provided with ananti-falling step 731 engaged with the positioningmember 71.
In the present embodiment, theelastic drive member 72 is a compression spring.
The indication and control of the travel of theinner needle cannula 43 is an important aid in either puncturing or injecting medication or contrast media, etc., as shown in fig. 1, 34 and 35, wherein some embodiments provide further improvements in the indication and control of the travel of theinner needle cannula 43, such as providing an interventional instrument 100 in one embodiment that includes ahandle 10 and asheath 20, the distal end of thesheath 20 being configured for corresponding configuration and function depending on the interventional objective and treatment protocol. Of course, combinations of the foregoing and embodiments are also possible.
For example, the distal end of thesheath 20 is connected with thesuction head 30, thesheath 20 is slidably fitted with aninner needle tube 43 for puncturing or injection, thehandle 10 is provided with a drivingmember 910 connected to theinner needle tube 43 for driving theinner needle tube 43, and during puncturing operation, the drivingmember 910 drives the puncturing needle to puncture and withdraw from the tissue and organ through thesuction head 30.
In the process of puncturing operation, the drivingmember 910 needs to be pulled back to drive the inner needle tube to retract when switching the treatment position, the conventional device generally needs to unlock the driving member or apply a force to overcome the magnetic attraction, and particularly, the operation is complicated when the treatment position is more.
As shown in fig. 34 to 35, the interventional instrument 100 comprises ahandle 10 and aninner needle tube 43, wherein a drivingmember 910 is slidably mounted on thehandle 10, and a portion of theinner needle tube 43 is movably inserted into thehandle 10 and connected to the drivingmember 910. Thehandle 10 has a distal end and a proximal end opposite to each other, thehandle 10 is provided with ascale mark 960 indicating the relative position of the drivingmember 910, and apositioning member 940 limiting the stroke of the drivingmember 910, the outer wall of thehandle 10 is provided with a plurality ofslots 950 along the moving direction of the drivingmember 910, the positioningmember 940 is detachably engaged with eachslot 950, and the drivingmember 910 abuts against the positioningmember 940 when moving to a predetermined stroke.
Thehandle 10 includes afirst handle case 901 and asecond handle case 902, which are engaged with each other, in a partial region and are held by an operator. Theinner needle tube 43 has a moving path in thehandle 10, and theinner needle tube 43 is driven by the drivingmember 910 to slide along the moving path, thereby completing the puncturing operation. The drivingmember 910 extends partially into thehandle 10 to connect with theinner needle tube 43, and partially exposes out of thehandle 10 for pushing by the operator. The scale marks 960 are engraved near the drivingmember 910 by grooving, laser engraving, or painting, and are arranged along the sliding direction of the drivingmember 910. The operator can conveniently and quickly read the sliding distance of the drivingmember 910, and then the puncture depth can be judged.
The positioningmember 940 is shaped like a column convenient for an operator to pinch, and thepositioning member 940 is provided with a matching portion matched with the clampinggroove 950. The lockinggroove 950 is an open groove formed by integrally machining or locally cutting the handle, and thepositioning member 940 is inserted into the lockinggroove 950 through the matching portion along a certain direction, so that thepositioning member 940 is detachably connected with thehandle 10.
The plurality ofslots 950 are arranged in parallel with the sliding direction of the drivingmember 910 and are located near the sliding path of the drivingmember 910. Thepositioning element 940 inserted into theslot 950 is partially or completely inserted into the sliding area swept by the sliding of the drivingelement 910, and since thepositioning element 940 cannot move in directions other than the plugging direction, the pushing and pulling drivingelement 910 slides until abutting against thepositioning element 940 and stopping sliding, and when theinner needle tube 43 is retracted, the driving element can be directly pulled back by applying a force in a reverse direction.
Compared with other prior art locking mechanisms, the present embodiment omits the unlocking operation when the drivingmember 910 is toggled, and the operation is more convenient. Compared to the prior art of attracting the drivingmember 910, the jerking feeling due to overcoming the attracting force is eliminated, and the whole operation process maintains the same damping feeling. Because theinner needle tube 43 will generate a certain frictional resistance with the mating part when sliding, the drivingmember 910 connected to theinner needle tube 43 will not slide relatively without the action of external force, and only the side of the drivingmember 910 near the distal end is limited. A positioningmember 940 is provided at a distal side of the drivingmember 910 for determining a preset value during puncturing.
As shown in fig. 36, in one embodiment, thehandle 10 is a hollow structure, aguide slot 970 is formed on a side wall of thehandle 10, and the drivingmember 910 includes: afirst operation portion 911 at least a part of which is located outside thehandle 10, and anextension portion 912 which extends from thefirst operation portion 911 into the interior of thehandle 10 via aguide groove 970. Theextension portion 912 has an avoidinghole 9121, and theinner needle tube 43 passes through the avoidinghole 9121 and is fixed relative to the avoidinghole 9121.
Thehandle 10 is hollow to provide space for installing components, to facilitate the insertion of theinner needle tube 43, and the drivingmember 910 extends into thehandle 10 and is fixed to theinner needle tube 43. Thefirst operation portion 911 is a bar or block shape for facilitating the finger to abut against, and has a width larger than that of theguide groove 970, preventing the drivingmember 910 from falling into thehandle 10. Theguide slot 970 is a rectangular slot with a length along the axial direction, and theextension portion 912 passes through and extends into thehandle 10. Therefore, theextension portion 912 is a column-shaped body corresponding to theguide groove 970 and is disposed at the bottom of thefirst operation portion 911, and theextension portion 912 and theguide groove 970 are in surface contact, thereby improving the guiding stability. The avoidinghole 9121 is a through hole for penetrating theinner needle tube 43, and is in clearance fit with theinner needle tube 43, and the two are fixed by gluing at the clearance.Extension 912 is disposed withinhandle 10 in only a connecting relationship withinner needle cannula 43, such thatclearance hole 9121 is disposed as close to the bottom side ofextension 912 as possible, which facilitates reducing the overall length ofextension 912.
The surface of the drivingmember 910 is provided with a protrudingplatform 9103 for the operator to lean against and ananti-slip pattern 9104 for increasing the friction force.
As shown in fig. 36, in one embodiment, thefirst operation portion 911 is a dial button and is slidably attached to an outer wall of thehandle 10.
The lower surface of the dial button is always attached to the outer wall of thehandle 10, when the drivingmember 910 is pushed and pulled by the dial button to slide, the outer wall of thehandle 10 is always attached to the dial button to provide stable support, and the operation hand feeling is smooth.
As shown in fig. 37 and 38, in one embodiment, a hollow-outregion 980 is formed on a sidewall of thehandle 10, and thepositioning member 940 includes: asecond operation portion 941 having at least a portion located at an outer portion of thehandle 10, a lockingportion 942 located at a bottom portion of thesecond operation portion 941 and engaged with the lockinggroove 950, and a blockingportion 943 extending from a bottom side of thesecond operation portion 941 into an inner portion of thehandle 10 through thehollow region 980. The drivingmember 910 abuts against the stoppingportion 943 when moving to a predetermined stroke.
Through setting upfretwork area 980, interference when can avoiding handle casing and settingelement 940 to move,fretwork area 980 is the open slot that sets up infirst plane area 9005, and draw-ingroove 950 sets up in one side of the length direction offretwork area 980, can followfretwork area 980 and slide after settingelement 940 breaks away from draw-ingroove 950, and the different default are adjusted in draw-ingroove 950 to the rethread joint, need not to pull out the handle with settingelement 940 thoroughly, prevent that the part from scattering.
Thesecond operating portion 941 is cylindrical or other column-shaped, and has a top portion with a raisedannular portion 9411 along the periphery thereof, and the raisedannular portion 9411 is convenient for an operator to insert and pull thepositioning member 940. Thesecond operation portion 941 is partially inserted into theslot 950 through the engagingportion 942, so as to achieve engagement. The stoppingportion 943 extends along a bottom surface of the engagingportion 942 until it reaches a sliding area of the drivingmember 910, so as to limit the movement of the drivingmember 910.
As shown in fig. 36 to 38, in one embodiment, thehollow area 980 is bar-shaped and extends in a direction consistent with the moving direction of the drivingmember 910, and the blockingportion 943 has ananti-falling head 944 for limiting thepositioning member 940 to fall out of thehollow area 980.
The hollow-outregion 980 is a strip-shaped open slot extending axially, and the length direction of the slot is the same as the moving direction of the drivingmember 910, so that anyslot 950 of thepositioning member 940 clamped into the hollow-outregion 980 extends into the sliding region of the drivingmember 910, thereby limiting the sliding of the drivingmember 910. Theanti-slip head 944 is a cylindrical structure extending from a portion of the side of the blockingportion 943 to the hollowed-out region 980. The releasing head, the blockingportion 943 and the clampingportion 942 form a C-shaped locking structure, and the thickness of the locking structure is smaller than the width of the hollowed-out area 980, so that thepositioning member 940 and the hollowed-out area 980 are in two states of locking and releasing. The disengaged state is that the C-shaped locking structure does not engage the hollowed-out region 980, and thepositioning member 940 can be pulled out of thehandle 10 and disengaged therefrom. The locking state is that thepositioning member 940 extends into the hollowed-out area 980 and rotates 90 degrees, so that the C-shaped locking structure is clamped into the hollowed-out area 980, and when thepositioning member 940 is pulled out, theanti-disengaging head 944 is interfered to the hollowed-out area 980 and cannot disengage. The distance between theanti-falling head 944 and the hollowed-out area 980 is greater than the grooving depth of the clampinggroove 950, that is, at the moment that thepositioning element 940 completely breaks away from the clampinggroove 950, theanti-falling head 944 still does not contact the hollowed-out area 980, and thepositioning element 940 can move along the hollowed-out area 980 and be installed in other clampinggrooves 950 without being detached, so that thepositioning element 940 can normally adjust the preset value.
As shown in fig. 39, in one embodiment, thescale markings 960 correspond to the position of thecard slot 950.
The positions of the scale marks 960 correspond to the positions of theslots 950 one by one, so that each positioning point of thepositioning member 940 has a scale corresponding to each other, and an operator can read data conveniently.
As shown in fig. 40 and 41, in one embodiment, aviewing window 990 is formed on a side wall of thehandle 10, the drivingmember 910 further has anindicator 913 extending to theviewing window 990, and thescale 960 is adjacent to theviewing window 990.
The side wall of thehandle 10 is provided with a secondplanar region 9006, and theviewing window 990 is strip-shaped and extends axially in the secondplanar region 9006. Thescale markings 960 are provided on the secondplanar region 9006 on one axial side of theviewing window 990. The cross-sectional shape ofindicator 913 is trapezoidal, and its upper base is towards one side ofscale mark 960, and the size of upper base is close to 0 for the cross-sectional shape ofindicator 913 is close to triangle-shaped, and the upper base (close closed angle) aims at the scale, and is corresponding,scale mark 960 is thin strip, combinesobservation window 990, makes the operating personnel reading more accurate on the one hand, and on the other hand, the puncture depth thatscale mark 960 reacted is more accurate.
As shown in fig. 40 to 42, in one embodiment, the indicatingmember 913 is connected to the extendingportion 912, and when the drivingmember 910 moves to the predetermined stroke, the indicatingmember 913 abuts against the positioningmember 940.
After the assembly is completed, theindicator 913 is perpendicular to the side of theextension 912 and extends into theviewing window 990, and when the drivingmember 910 is radially pulled out from the guidinggroove 970, the drivingmember 910 is restricted from being released from thehandle 10 by theindicator 913 abutting against theviewing window 990, so that the drivingmember 910 is prevented from being released from thehandle 10 during normal use. The upper and lower bottoms of theindicator 913 are fitted to the upper and lower planes of theobservation window 990 in the longitudinal direction, thereby guiding the drivingmember 910.
As shown in FIGS. 43 and 44, in one embodiment, theinner needle cannula 43 is provided with abend 46 after passing through thedrive member 910, thebend 46 being located within thehandle 10 and serving to release the sliding traction on both sides of thebend 46.
The proximal end of theinner needle tube 43 is connected to the external device through a tube, and therefore generally needs to be fixed to the proximal end of the handle, the bendingsection 46 is arranged to be circuitous in thehandle 10, and when theinner needle tube 43 slides, the bendingsection 46 is correspondingly deformed to avoid that the fixation to the proximal end of the handle is affected when theinner needle tube 43 slides, namely, the sliding traction on two sides of thebending section 46 is released.
In one embodiment, thecurved section 46 has a lower stiffness relative to the portion of theinner needle cannula 43 distal to thecurved section 46.
The distal end of thebending section 46 is the slidingsection 45, and the slidingsection 45 is made of a material with high hardness or has a thick pipe wall, so that when the drivingmember 910 drives the slidingsection 45 in a sliding manner, sufficient axial pushing force is maintained. The bendingsection 46 has a lower stiffness, i.e. is relatively more flexible, which ensures that the connection between the handle and the strain relief is avoided as far as possible for the purpose of maintaining the desired connection or sealing effect.
The working principle of the application is as follows:
an operator pinches thesecond operating portion 941 of thepositioning member 940, radially pulls out thepositioning member 940 to separate from theslot 950, slides thepositioning member 940 to thecorresponding slot 950 with a preset value along the hollow-outregion 980, and then inserts thepositioning member 940 into thecorresponding slot 950 to complete the setting of the preset value.
The operator inserts thesuction head 30 and thesheath 20 of the interventional instrument 100 into the human body, determines the puncture point of the tissue and organ, and then pushes the drivingmember 910 distally until the driving member abuts against the positioningmember 940. During this period, theextension 912 of the drivingmember 910 pulls theinner needle tube 43 to slide distally and causes theinner needle tube 43 to penetrate the tissue organ, and at the same time, the bendingsection 46 of theinner needle tube 43 gradually straightens to match the sliding of the slidingsection 45. After the puncture is completed, the drivingmember 910 is retracted, and the drivingmember 910 pulls theinner needle tube 43 to slide proximally and to withdraw theinner needle tube 43 from the tissue organ, and at the same time, the bendingsection 46 of theinner needle tube 43 bends to match the sliding of the slidingsection 45.
When thepositioning member 940 of the interventional instrument 100 is loosened or damaged, an operator pinches thesecond operating portion 941, rotates the second operating portion by 90 degrees, pulls out thepositioning member 940, and directly replaces thepositioning member 940.
In the interventional instrument capable of indicating the stroke, thepositioning part 940 which abuts against the drivingpart 910 to limit the sliding of the drivingpart 910 is detachably connected with the clampinggroove 950, so that the installation and the disassembly maintenance are convenient. And the drivingmember 910 does not need to be unlocked or an additional force for overcoming the attraction force is not required to be applied when the drivingmember 910 is pulled back, so that the whole sliding process of the drivingmember 910 is smoother.
Whether puncturing or injecting a medicament or contrast medium, etc., the sealing of the relevant moving parts is also an important aid, as shown in fig. 45-47, in which some embodiments further improve the manner of engagement between theinner needle tube 43 and the proximal portion of theouter needle tube 44, for example, in one embodiment, an interventional instrument 100 is also provided, the interventional instrument 100 further comprising anouter needle tube 44 disposed within thesheath 20, the distal end of the outer needle tube fixedly abutting or extendedly fixed within the operatingchannel 33, and the proximal end of theouter needle tube 44 extending and fixed to thehandle 10; a driving member 921 is movably mounted on thehandle 10, theinner needle tube 43 is slidably disposed in theouter needle tube 44, the proximal end of theinner needle tube 43 extends out of theouter needle tube 44 and is coupled with the driving member 921, and the radial gap between theinner needle tube 43 and theouter needle tube 44 is sealed. Of course, combinations of the foregoing and embodiments are also possible.
The distal and proximal ends of theouter needle cannula 44 are fixed to form a sliding guide path for theinner needle cannula 43 to slide. The driving member 921 is partially exposed from thehandle 10 for operation by an operator. The part of the needle stick extends into thehandle 10 and is fixed with theinner needle tube 43, and the operator pulls theinner needle tube 43 along theouter needle tube 44 by the driving piece 921 outside thehandle 10 to complete the sliding puncture.
And after the vacuum is generated in the workingcavity 31, the medium in the workingcavity 31 is easy to reversely permeate into thehandle 10 from the gap between theinner needle tube 43 and theouter needle tube 44, so that the radial gap between theinner needle tube 43 and theouter needle tube 44 in thehandle 10 is sealed, and the medium is prevented from permeating into thehandle 10. The sealing arrangement may be a direct filling of the gap, or an obstacle may be provided to block the end face of theouter needle tube 44 and to form a clearance fit with theinner needle tube 43 to block the gap and prevent the medium from penetrating.
In one embodiment, thehandle 10 further has a mounting chamber disposed at the proximal end of thesecond bending chamber 13, the mounting chamber has a guidingsleeve 920 fixed therein, the proximal end of theouter needle tube 44 extends into the guidingsleeve 920 and is in sealing engagement with the inner wall of the guidingsleeve 920, a sealingmember 930 for sealing the guidingsleeve 920 is fixed in the guidingsleeve 920, the proximal end of theinner needle tube 43 extends out of theouter needle tube 44 and then passes through the sealingmember 930 and is connected to the drivingmember 910, and theinner needle tube 43 and the sealingmember 930 are in sliding sealing engagement.
The distal and proximal ends of theouter needle cannula 44 are fixed to form a sliding guide path for theinner needle cannula 43 to slide. The driving member 921 is partially exposed from thehandle 10 for operation by an operator. The part of the needle stick extends into thehandle 10 and is fixed with theinner needle tube 43, and the operator pulls theinner needle tube 43 along theouter needle tube 44 by the driving piece 921 outside thehandle 10 to complete the sliding puncture.
And after the vacuum is generated in the workingcavity 31, the medium in the workingcavity 31 is easy to reversely permeate into thehandle 10 from the gap between theinner needle tube 43 and theouter needle tube 44, so that the radial gap between theinner needle tube 43 and theouter needle tube 44 in thehandle 10 is sealed, and the medium is prevented from permeating into thehandle 10. The sealing arrangement may be a direct filling of the gap, or an obstacle may be provided to block the end face of theouter needle tube 44 and to form a clearance fit with theinner needle tube 43 to block the gap and prevent the medium from penetrating.
Interventional instrument 100 in other embodiments further includessuction head 30, andsheath 20 connectingsuction head 30 and handle 10, depending on the operational requirements of the distal end. The interventional device 100 has opposite distal and proximal ends, the distal end being on the side of thesuction head 30 and the proximal end being on the side of thehandle 10, the interventional device 100 further having an axial direction, the perpendicular axial direction being radial.
Thehandle 10 is in the form of a sleeve that can be held in one hand. Thehandle 10 is assembled from afirst handle case 901 and asecond handle case 902, and is convenient for assembling and fixing other parts such as the threadingsleeve 920.
The threadingsleeve 920 is a cylindrical structure for fixing theouter needle tube 44, and thethreading sleeve 920 is disposed parallel to the axial direction of the interventional instrument 100 and fixed in thehandle 10 by other connection methods such as gluing or inserting. The fit relationship between the guidingsleeve 920 and theouter needle tube 44 is a clearance fit.
The sealingmember 930 is fixed inside the threadingsleeve 920 by other connection methods such as gluing or inserting, and radially seals a part of the inner wall of thethreading sleeve 920 to block theouter needle tube 44 from extending out of thethreading sleeve 920. The fit clearance between theinner needle tube 43 and the sealingmember 930 satisfies the dimensional requirements that theinner needle tube 43 can slide smoothly and liquid cannot penetrate. The liquid permeating between theinner needle tube 43 and theouter needle tube 44 is blocked, and the liquid is prevented from permeating into thehandle 10 to influence the work of other parts.
As shown in fig. 45 to 47, the proximal end of theouter needle tube 44 is fixed to theinsertion sheath 920, the distal end of theouter needle tube 44 is fixed to extend into thesuction head 30, and a guide path is formed to urge theinner needle tube 43 to slide along the guide path after both ends are fixed.
As shown in fig. 48 and 49, in one embodiment, the inner diameter of the distal side of the passingsheath 920 gradually tapers to form aguide section 9202. The sealing fit between theouter needle tube 44 and the inner wall of thethreading sleeve 920 is as follows: the outer wall of theouter needle cannula 44 is clearance fit with the inner wall of the mountingbore 9201 and the clearance acts as a glue groove and is adhesively secured and/or the proximal end of theouter needle cannula 44 is sealed against the sealingmember 930.
The threadingsleeve 920 is provided with afixing hole 9201 through which theouter needle tube 44 is threaded along the self axial direction, and the far end of thefixing hole 9201 is provided with aguide section 9202. Theguiding section 9202 is one of the inflection points of theouter needle tube 44, and the flaring design of theguiding section 9202 enables theouter needle tube 44 to be smoothly bent and transited at the inflection point, so that theinner needle tube 43 positioned in theouter needle tube 44 can be favorably slid.
The glue groove further comprises a gap between the inner wall of theguide section 9202 and the outer wall of theouter needle tube 44, and the glue filling amount is increased, so that theouter needle tube 44 used as the sliding guide of theinner needle tube 43 further strengthens the fixation with the threadingsleeve 920.
The proximal side of theouter needle cannula 44 may extend into the interior of the sealingmember 930 or may abut directly against the end surface of the sealingmember 930, and the sealingmember 930 may close the gap between theouter needle cannula 44 and theinner needle cannula 43 to prevent fluid from penetrating into thehandle 10, thereby ensuring proper use of the device.
As shown in fig. 48 to 50, in one embodiment, a mountingopening 9203 is formed on a side wall of thethreading sleeve 920, and the sealingmember 930 is fixedly inserted into the threadingsleeve 920 through the mountingopening 9203.
The sealingelement 930 is radially inserted into the threadingsleeve 920 through the mountingport 9203, the inner wall of the mountingport 9203 is in clearance fit with the outer edge of the sealingelement 930, and the installation is convenient through simple plug fit.
In one embodiment, as shown in fig. 48 and 49, the sealingmember 930 is a strip-shaped elastomer and is adhesively secured to the lead-throughsheath 920.
The sealingmember 930 is a cylindrical or other post-type structure. After the sealingmember 930 is inserted into the threadingsleeve 920, the gap between the sealing member and thethreading sleeve 920 is circumferentially closed by the elasticity of the sealing member. During assembly, the outer circumference of the sealingmember 930 is glued and cured after insertion into the threadingsleeve 920, making the connection more secure. The sealingmember 930 is prevented from moving during use, so that the friction force of the sealing member on theinner needle tube 43 is increased, and the operation damping feeling is increased.
The specific installation mode of thethreading sleeve 920 and the sealingmember 930 is as follows: as shown in fig. 50, in one embodiment, the inner wall of thethreading sleeve 920 is provided with a first limitinggroove 9204 opposite to theinstallation opening 9203, and one end of the sealingelement 930 is fixed in the first limitinggroove 9204, and the other end is fixed in theinstallation opening 9203.
In one embodiment, the sealingmember 930 is provided with an avoiding hole 9301, and theinner needle tube 43 penetrates through the avoiding hole 9301 and is tightly fitted with the inner wall of the avoiding hole 9301.
The axial direction of the avoiding hole 9301 is parallel to thefixing hole 9201 of thethreading sleeve 920, and after assembly, the avoiding hole 9301 is communicated with the fixinghole 9201, so that theinner needle tube 43 can smoothly pass through. The avoiding hole 9301 is tightly matched with theinner needle tube 43, and because the outer diameter of theinner needle tube 43 is smaller than the inner diameter of theouter needle tube 44, the inner diameter of the avoiding hole 9301 is smaller than the inner diameter of thefixing hole 9201, so that the proximal end face of theouter needle tube 44 abuts against the sealingelement 930, the gap between theouter needle tube 44 and theinner needle tube 43 is sealed, and liquid is prevented from permeating into thehandle 10.
Because the sealingelement 930 is installed in the process of threading thesleeve 920, if there is no limit or other calibration method, the fixinghole 9201 and the avoiding hole 9301 will generate a certain eccentricity, and they will not correspond to each other seriously, so that theinner needle tube 43 and theouter needle tube 44 will deviate at the position where the avoiding hole 9301 abuts against theouter needle tube 44, the sliding friction force between theinner needle tube 43 and theouter needle tube 44 is increased, and the operation damping feeling is increased. The limitinggroove 9204 is used for positioning the installation of the sealingelement 930, and when the sealingelement 930 abuts against the limitinggroove 9204 during assembly, the assembly of the sealingelement 930 is completed. Meanwhile, the avoiding hole 9301 corresponds to thefixing hole 9201, so that the eccentric amount of theinner needle tube 43 and theouter needle tube 44 is reduced, and the operation is convenient.
Another installation method of thethreading sleeve 920 and the sealingmember 930 is as follows: as shown in fig. 49, in one embodiment, the mountingopening 9203 is a through hole, and the sealingmember 930 is fixed inside the mountingopening 9203.
The shape of the sealingelement 930 is adapted to the mountingopening 9203, and when the sliding sleeve of the sealingelement 930 is embedded into the mountingopening 9203, the concentricity of the avoiding hole 9301 and thefixing hole 9201 is calibrated by means of the mutual friction force. The mountingopening 9203 is a through hole, which facilitates the mounting and dismounting of the sealingmember 930 from two sides.
In a preferred embodiment, in one embodiment, the lead-throughsleeve 920 and the relief hole 9301 are concentric.
Specifically, the fixinghole 9201 of thethreading sleeve 920 is concentric with the avoiding hole 9301, so that the eccentricity of theinner needle tube 43 and theouter needle tube 44 is reduced, and the sliding friction force of theinner needle tube 43 caused by the excessive eccentricity of the inner needle tube and the outer needle tube at the near end is avoided. Ensuring the smooth sliding of theinner needle tube 43.
In one embodiment, the sealingelement 930 does not protrude beyond the mountingopening 9203 in the radial direction of theinsertion sleeve 920.
When thethreading sleeve 920 is assembled into thehandle 10, interference caused by surface protrusions is avoided, thereby preventing the assembly from being affected.
As shown in fig. 51, in one embodiment, a second limitinggroove 9002 is formed in thehandle 10, and thethreading sleeve 920 is fixed in the second limitinggroove 9002.
Thesecond stopper groove 9002 is provided in one or both of thefirst handle case 901 and thesecond handle case 902.
The inner wall of the second limitinggroove 9002 is provided with aninner edge surface 9003 adapted to the outer peripheral surface of thethreading sleeve 920, and aplane 9004 limiting thethreading sleeve 920 from sliding to a far end in the axial direction. Theinner edge surface 9003 is in clearance fit with the threadingsleeve 920 to limit the radial movement of thethreading sleeve 920, and the gap and/or theplane 9004 are/is coated with glue and embedded into the second limitinggroove 9002 for fixation, so that the assembly is convenient.
As shown in FIG. 1, in one embodiment, the interventional instrument 100 further comprises ahub 600 disposed outside the proximal end of thehandle 10, and theinner needle cannula 43 continues to extend out of thehandle 10 via thedrive member 910 and is connected to thehub 600.
Connector 600 is a medical luer connector, facilitating assembly and replacement. The luer fitting may be attached directly to the proximal end of thehandle 10. Since the proximal end of thehandle 10 is further provided with other pipes for connecting auxiliary devices (such as a washing device and an endoscope), in a preferred embodiment, the luer connector is sleeved and fixed at the proximal end of thehandle 10 through the connectingpipe 610, so as to leave an assembly space for other devices, and theinner needle tube 43 is inserted into the connectingpipe 610, so that theinner needle tube 43 is protected by the connectingpipe 610.
The working principle of the application is as follows:
the interventional device 100 extends theabsorption head 30 and thesheath 20 to the vicinity of a target point of a human body, when theabsorption head 30 is absorbed on the target point, the drivingmember 910 is pushed to the far end, the drivingmember 910 pulls theinner needle tube 43 to slide to the far end along the arrangement path of theouter needle tube 44, the bendingsection 46 of theinner needle tube 43 is gradually straightened, theinner needle tube 43 in theabsorption head 30 penetrates into the target point, and a series of surgical operations such as injection and the like are performed. After the above operations are completed, the drivingmember 910 is pulled back to the proximal end, the drivingmember 910 pulls theinner needle tube 43 to slide along theouter needle tube 44 to the proximal end, and exits the target point, meanwhile, the bendingsection 46 of theinner needle tube 43 is gradually bent, theoperation suction head 30 is separated from the target point, and the operation suction head is moved to the next target point for operation.
In order to facilitate the switching of the injectant, as shown in fig. 52, some embodiments are further modified on theinner needle tube 43, for example, in one embodiment, aninner needle tube 43 applied to the interventional instrument 100 is further provided, theinner needle tube 43 comprises afirst delivery tube 410 and asecond delivery tube 420 nested inside and outside, wherein thefirst delivery tube 410 is located inside, and the distal end is in a spike structure, and thefirst delivery tube 410 is provided with an infusion port on the tube wall adjacent to the distal end. Of course, combinations of the foregoing and embodiments are also possible.
Thesecond delivery tube 420 is outside and the distal seal surrounds the infusion port. The interior of thefirst delivery tube 410 serves as a first injection channel, the radial gap between thesecond delivery tube 420 and thefirst delivery tube 410 serves as a second injection channel, and the second injection channel communicates with the first injection channel via the infusion port.
For convenience of description, the first injection channel is used for inputting the first fluid, and the second injection channel is used for inputting the second fluid.
Thefirst delivery pipe 410 is a hollow pipe member, and the inner wall forms a first injection passage for inputting the first fluid. The distal end of thefirst delivery tube 410 is a single-side V-shaped or double-side V-shaped sharp structure, which facilitates puncturing tissue and organs.Second delivery tube 420first delivery channel 410first delivery channel 450second delivery channel 460 the distal end of thesecond delivery tube 420 is attached to the outer wall of thefirst delivery tube 410 at a connection point that forms a circumferential seal. The connection point is annular and between the tip structure and the infusion port such that the only outlet at the distal end of thesecond delivery channel 460 is the infusion port through which the second fluid input at thesecond delivery channel 460 can only flow into the first injection channel.
In the embodiment, the first conveyingpipe 410 and the second conveyingpipe 420 are integrated in an internal and external nesting mode, so that the parallel arrangement of a plurality of pipelines is avoided, different injection purposes can be realized by the same puncture action, on the basis, the arrangement mode and the specific position of the perfusion opening are correspondingly improved, and the operation residue in the previous time can be reduced.
In a preferred embodiment, the joint between the distal end of thesecond delivery tube 420 and thefirst delivery tube 410 has a smooth outer periphery, and the joint avoids scraping with the peripheral structure, thereby improving the smoothness of operation. As shown in FIGS. 53 and 54, in one embodiment, theinner needle tube 43 passes through thehandle 10 from the distal end of thehandle 10 and out of the proximal end of thehandle 10, the proximal end of theinner needle tube 43 is connected to atee 800 located outside thehandle 10, and thefirst delivery tube 410 and thesecond delivery tube 420 are divided into two independent paths by thetee 800.
Tee 800 includes three connections in communication with each other, afirst connection 810, asecond connection 820, and athird connection 830 that communicates only with the second injection channel. Thefirst delivery tube 410 and thesecond delivery tube 420 extend into thetee 800 via thefirst fitting 810, and the proximal end of thesecond delivery tube 420 is sealingly connected to the inner wall of thefirst fitting 810.First delivery tube 410 extends out of the proximal end ofsecond delivery tube 420 and intosecond fitting 820, andsecond fitting 820 communicates only with the first injection channel.
Thetee 800 provides a space for the delivery channel and tubing to be secured, with thefirst connector 810 opening proximally, thesecond connector 820 and thethird connector 830 opening distally, with the proximal end being connected to the interventional instrument 100 by a thread or tubing, and the opposite distal end facilitating the connection of the tubing to avoid interference with the proximal interventional instrument 100. The channels in thesecond connector 820 and thethird connector 830 are flowed through by the first fluid and the second fluid, respectively. Thefirst connector 810 is coaxial with thethird connector 830 to facilitate the delivery of the second fluid, and thesecond connector 820 is disposed at an acute angle to thethird connector 830 to reduce the bending of thefirst delivery tube 410 to facilitate the delivery of the first fluid. Thesecond delivery tube 420 extends into thefirst connector 810 only and is fixed to the inner wall of thefirst connector 810 by adhesive sealing, so as to close the gap between theinner needle tube 43 and thefirst connector 810 and prevent the second delivery tube from leaking out of thefirst connector 810.Second delivery tube 420first delivery tube 410second delivery tube 420inner needle 43.
The first injection channel and the second injection channel are branched after extending out of the proximal end of the handle, and are connected with respective auxiliary equipment, and the three-way structure can be pre-formed, so that the assembly is convenient, and the pipeline butt joint is relatively simplified.
As shown in fig. 55 and 56, in one embodiment, theopening 840 of thesecond connector 820 is sealingly engaged with an adapter tube, and thefirst delivery tube 410 is sealingly engaged with the adapter tube.
The diameter of thefirst delivery pipe 410 is small, and if the inner wall of thesecond connector 820 is matched with the first delivery pipe, and the two are fixed to each other, the gap between thesecond connector 820 and thefirst delivery pipe 410 is difficult to fill with glue, and the sealing performance is not enough. Thesecond connector 820 may also be used to connect an accessory device (e.g., a medication delivery device) via threads or the like, which may be difficult to manufacture due to the small overall size. Thesecond connector 820 is thus connected to the auxiliary device via an adapter.
The adapter tube is provided withboss 510 withopening position 840 matched with to and the through-hole 520 that suits withfirst conveyer pipe 410, the cooperation ofboss 510 andopening position 840 makes adapter tube and second joint 820 slide each other, during the installation, at through-hole 520 inner wall and the rubber coating offirst conveyer pipe 410 outer wall,first conveyer pipe 410 wears to establish behind through-hole 520, treat the glue solidification, both reciprocal anchorage, the clearance betweenfirst conveyer pipe 410 and the through-hole 520 inner wall is effectively filled up to glue, avoid the fluid to ooze. The far end of the adapter tube is also provided with a thread connected with auxiliary equipment.
As shown in fig. 57 and 58, in one embodiment, the inner cavity of thesecond connector 820 is formed with a rubber groove in theopening portion 840 in a diameter-expanding manner, and one end of the adapter tube is inserted and fixed in the rubber groove by gluing.
The second joint 820 and the adapter tube can be fixed in an adhesive manner, and the second joint 820 forms an adhesive groove in an expanding manner to ensure a sufficient radial gap, so that a sufficient amount of adhesive can be accommodated, and the problem of uneven adhesive distribution due to too small gap is avoided.
As shown in fig. 56 to 58, in one embodiment, the outer circumference of the adapter tube has anannular step 530, and theopen end surface 850 of thesecond connector 820 abuts against theannular step 530 to close the glue groove.
Theannular step 530 may be a hard seal with theopen end surface 850, but may be sealed by an O-ring to prevent the second fluid from leaking out of thesecond connector 820 due to the presence of an undercoating or a missing coating in the glue groove.
The provision of theannular step 530 not only increases the sealing contact area and enhances the adhesive sealing effect, but also allows for adaptability to the outer diameters of both the adapter tube and thesecond connector 820.
As shown in fig. 59, in one embodiment, thesecond connector 820 and thethird connector 830 are directly or indirectly provided with an adaptingstructure 860 for connecting external pipelines.
The joint and the external pipeline can be connected through threads or mutually matched plug and socket structures. For example, the inner unsealed fixed conduit of thethird fitting 830 could be directly externally threaded, and have a sealing surface with a sealing score line. Thesecond fitting 820 adhesively secures thetransition tube 500. thetransition tube 500 is externally threaded and has a sealing surface with a sealing score line. Correspondingly, the external pipeline is provided with matched internal threads and a sealing surface with a sealing reticle, so that the connection between the joint and the external pipeline is completed, and the leakage is effectively prevented.
As shown in FIG. 60, in one embodiment, the distal end of thefirst delivery tube 410 is butted with ametal tubular needlepoint 430, thetubular needlepoint 430 provides a spike structure, and the perfusion opening is opened at the side wall of thetubular needlepoint 430.
Theneedle tip 430 is inserted or sleeved with the distal end of thefirst transmission pipe 410 and fixed in a heat-shrinkable manner. And theneedle tip 430 is made of metal material with certain strength, so that the wear resistance of theneedle tip 430 is improved, and the puncture times are increased. The pouring port is opened as close to theneedle tip 430 as possible but does not communicate with theneedle port 440, and the pouring port is a communication switching port, and the closer to theneedle port 440 the pouring port is, the less the amount of residue remains in the previous operation when switching the injection.
In one embodiment, an injection system employing the above described interventional instrument 100 is disclosed, comprising a hydrogel delivery device in communication with a first injection channel in the interventional instrument 100, and a contrast delivery device in communication with a second injection channel in the interventional instrument 100.
The contrast agent delivery device is connected with thethird connector 830 through a pipeline, and the hydrogel delivery device is connected with thesecond connector 820. After the interventional instrument 100 is punctured into the target, the contrast agent delivery device is started, the contrast agent flows through the perfusion opening through thesecond delivery pipe 420 and enters thefirst delivery pipe 410, the contrast agent is output from theneedle opening 440, the blood vessel distribution and the blood flow condition are enhanced and displayed, after the target is proper, the hydrogel delivery device is opened, and the hydrogel is output into the target through thefirst delivery pipe 410, so that the injection is completed. The positioning and injection operation can be completed without replacing the puncture needle.
The interventional instrument 100 of the present application is provided with afirst delivery tube 410 and asecond delivery tube 420 in parallel, and infusion ports provided in the wall of thefirst delivery tube 410 to accomplish the injection of different drugs or biological materials into the same puncture site. The complicated steps of replacing the puncture needle are omitted.
The technical features of the above embodiments can be arbitrarily combined, and for the sake of brevity, all possible combinations of the technical features in the above embodiments are not described, but should be considered as the scope of the present specification as long as there is no contradiction between the combinations of the technical features. When technical features in different embodiments are represented in the same drawing, it can be seen that the drawing also discloses a combination of the embodiments concerned.
The above examples only express several embodiments of the present application, and the description thereof is more specific and detailed, but not construed as limiting the claims. It should be noted that, for a person skilled in the art, several variations and modifications can be made without departing from the concept of the present application, which falls within the scope of protection of the present application.

Claims (21)

CN202010947369.9A2020-09-102020-09-10Interventional instrumentActiveCN112244950B (en)

Priority Applications (1)

Application NumberPriority DateFiling DateTitle
CN202010947369.9ACN112244950B (en)2020-09-102020-09-10Interventional instrument

Applications Claiming Priority (1)

Application NumberPriority DateFiling DateTitle
CN202010947369.9ACN112244950B (en)2020-09-102020-09-10Interventional instrument

Publications (2)

Publication NumberPublication Date
CN112244950A CN112244950A (en)2021-01-22
CN112244950Btrue CN112244950B (en)2022-04-19

Family

ID=74232085

Family Applications (1)

Application NumberTitlePriority DateFiling Date
CN202010947369.9AActiveCN112244950B (en)2020-09-102020-09-10Interventional instrument

Country Status (1)

CountryLink
CN (1)CN112244950B (en)

Families Citing this family (12)

* Cited by examiner, † Cited by third party
Publication numberPriority datePublication dateAssigneeTitle
CN112790838B (en)*2021-02-262024-10-15复旦大学附属中山医院Reverse puncture system capable of being positioned accurately
CN115120313B (en)*2021-03-292025-03-04深圳市先健呼吸科技有限公司 Piercing system
CN113081198B (en)*2021-04-162025-04-15曾标 A painless slow-expansion puncture needle and use method thereof
CN114145787B (en)*2021-12-012023-11-17上海傲流医疗科技有限公司Multi-stay rope control handle of interventional device
CN114259627B (en)*2021-12-302023-12-08杭州德柯医疗科技有限公司Interventional injection device and interventional injection system
WO2023125400A1 (en)*2021-12-312023-07-06深圳市健心医疗科技有限公司Bending-adjustable sheath
CN114795317B (en)*2022-01-062025-01-28深圳佰特微医疗科技有限公司 Tissue traction devices
CN115998380A (en)*2022-03-032023-04-25江苏畅医达医疗科技有限公司 An electrode implant tool
CN115227183B (en)*2022-08-302023-05-16湖南省华芯医疗器械有限公司 Traction wheel, traction rope adjustment mechanism, operating handle and endoscope
CN115919431B (en)*2023-03-092023-06-09上海微创电生理医疗科技股份有限公司 septal puncture device
CN119655832A (en)*2023-09-212025-03-21先健科技(深圳)有限公司Puncture system
WO2025138119A1 (en)*2023-12-292025-07-03深圳市星辰海医疗科技有限公司Bending adjustment driving apparatus and endoscope

Family Cites Families (9)

* Cited by examiner, † Cited by third party
Publication numberPriority datePublication dateAssigneeTitle
US5984864A (en)*1997-10-071999-11-16Ethicon Endo-Surgery, Inc.Tissue stabilization device for use during surgery
GB0816262D0 (en)*2008-09-052008-10-15Univ CardiffSurgical manipulator
CN101485588B (en)*2009-02-252011-11-09中国人民解放军总医院Puncture needle for minimally invasive treatment
GB2487527A (en)*2011-01-142012-08-01Glyn ThomasNeedle and curved catheter
CN204446041U (en)*2015-01-162015-07-08赵淑梅A kind of puncture positioning guider of convenient operation
CN204931805U (en)*2015-07-022016-01-06周建明Catheter kit is inserted by puncture needle Wicresoft
CN108882980B (en)*2016-03-242020-12-08爱德华兹生命科学公司 Delivery system for prosthetic heart valve
CN210871751U (en)*2019-06-252020-06-30杭州德柯医疗科技有限公司Puncture device
CN210871750U (en)*2019-06-252020-06-30杭州德柯医疗科技有限公司Adsorption head and adsorption device

Also Published As

Publication numberPublication date
CN112244950A (en)2021-01-22

Similar Documents

PublicationPublication DateTitle
CN112244950B (en)Interventional instrument
CN214181412U (en)Interventional instrument
CN112244949A (en) Interventional instruments with multi-directional bending
JP6785355B2 (en) Airway adapter and suction catheter system
CN102905751B (en)Sealed sterile catheter dressing
US20210045723A1 (en)Sheath-dilator system and uses thereof
US5254098A (en)Suction catheter assemblies
US20240342388A1 (en)Interventional injection device and interventional injection system
CN103945785B (en)Guide sheath component with locking dilator
CN102892457B (en)Integrated vascular delivery system with safety needle
EP0732120B1 (en)Control forward/flashback forward one hand introducer needle and catheter assembly
EP1257314B1 (en)Low profile valve
JP3808806B2 (en) Indwelling needle
JP3984160B2 (en) Respiratory management multiple access port assembly and adapter
US20070162066A1 (en)Clear view cannula
US20100056910A1 (en)Guidewire catheter
MX2010013589A (en)Fluid flow control device with retractable cannula.
JP2019534130A (en) Articulated osteotome with cement delivery channel
CN110251806A (en) Sheath assembly for inserting cord-like elements, especially catheters, into a patient
JP2003519508A (en) Multiple lumen access devices
JP2004255195A (en)Fluid flow control valve
CN214181408U (en)Adjustable curved interventional instrument
JP4903603B2 (en) Catheter fixture
CN214181411U (en)Intervention instrument capable of adjusting bending in multiple directions
CN112244948B (en)Interventional instrument

Legal Events

DateCodeTitleDescription
PB01Publication
PB01Publication
SE01Entry into force of request for substantive examination
SE01Entry into force of request for substantive examination
GR01Patent grant
GR01Patent grant

[8]ページ先頭

©2009-2025 Movatter.jp