Movatterモバイル変換


[0]ホーム

URL:


CN112244948B - Interventional instrument - Google Patents

Interventional instrument
Download PDF

Info

Publication number
CN112244948B
CN112244948BCN202010946663.8ACN202010946663ACN112244948BCN 112244948 BCN112244948 BCN 112244948BCN 202010946663 ACN202010946663 ACN 202010946663ACN 112244948 BCN112244948 BCN 112244948B
Authority
CN
China
Prior art keywords
channel
adsorption
handle
sheath
head
Prior art date
Legal status (The legal status is an assumption and is not a legal conclusion. Google has not performed a legal analysis and makes no representation as to the accuracy of the status listed.)
Active
Application number
CN202010946663.8A
Other languages
Chinese (zh)
Other versions
CN112244948A (en
Inventor
王云兵
吴智明
邵南
訾振军
Current Assignee (The listed assignees may be inaccurate. Google has not performed a legal analysis and makes no representation or warranty as to the accuracy of the list.)
Deke Medtech (hangzhou) Inc
Original Assignee
Deke Medtech (hangzhou) Inc
Priority date (The priority date is an assumption and is not a legal conclusion. Google has not performed a legal analysis and makes no representation as to the accuracy of the date listed.)
Filing date
Publication date
Application filed by Deke Medtech (hangzhou) IncfiledCriticalDeke Medtech (hangzhou) Inc
Priority to CN202010946663.8ApriorityCriticalpatent/CN112244948B/en
Publication of CN112244948ApublicationCriticalpatent/CN112244948A/en
Application grantedgrantedCritical
Publication of CN112244948BpublicationCriticalpatent/CN112244948B/en
Activelegal-statusCriticalCurrent
Anticipated expirationlegal-statusCritical

Links

Images

Classifications

Landscapes

Abstract

The application discloses intervene apparatus, including adsorbing head, sheath pipe and handle, wherein the adsorption head has relative distal end and near-end and is equipped with the working chamber in the distal end side, the adsorption head seted up with the working chamber intercommunication is used for the absorption mouth that is used for with adsorbate looks effect, the near-end side of adsorption head seted up with the absorption passageway and the operation passageway of working chamber intercommunication. The application still discloses have the intervention apparatus of adsorption head, all cavities homoenergetic production adsorption affinity in the working chamber prevent to push up because of the puncture and lead to adsorption head and tissue organ separation to the built-in passageway that supplies endoscope and pjncture needle to use has improved the accuracy of operation.

Description

Interventional instrument
Technical Field
The invention relates to the technical field of medical treatment, in particular to an interventional instrument.
Background
In many surgeries requiring precise manipulation, it has been a medical challenge to maintain a medical instrument in a stable state with respect to a living body. For example, in cardiac surgery, the difficulty of the operation is greatly increased because the heart cannot be suspended during the operation and the operation is always performed on the moving heart.
In practice, this presents a difficult problem for the physician to perform cardiac puncture and post-puncture infusion of compounds, since the heart is in a beating state. Because the heart is in a beating state, the puncture needle is easy to slip when puncturing due to the fluctuation of the heart, and further deviates from a target point, so that the difficulty of more stably operating the heart by operation instruments such as the puncture needle, an endoscope and the like is solved.
Despite the prior art disclosures of solutions, such as remote use of suction devices and the like, there is still a need for improved positioning.
Disclosure of Invention
The application provides an intervene instrument's absorption head can improve intervene instrument's positioning accuracy and effect.
The adsorption head of the interventional instrument is provided with a far end and a near end which are opposite, a working cavity is arranged on the far end side, the adsorption head is provided with an adsorption port which is communicated with the working cavity and used for acting with an adsorbed object, and an adsorption channel and an operation channel which are communicated with the working cavity are arranged on the near end side of the adsorption head; the opening part of the adsorption port is a communication area or is divided into a plurality of unit areas.
The adsorption channel and the operation channel are communicated with each other in the adsorption head through the working cavity, the vacuum adsorption force generated by the adsorption channel is directly transmitted to the operation channel, the tissue position around the puncture point can be kept when puncture is carried out, and the puncture position is deviated or falls off relative to the adsorption head, so that the accuracy of the puncture position is ensured.
If the vacuum adsorption part is positioned in two mutually isolated areas relative to the puncture point, the adsorption effect is difficult to ensure, the deformation of tissues around the puncture point can influence the prejudgment of the puncture depth, the due treatment effect cannot be achieved, and even the operation failure is caused.
The working cavity is an operation space for the internal device of the adsorption head, is arranged at the far end of the adsorption head and can provide enough installation space for the arrangement of other components.
Several alternatives are provided below, but not as an additional limitation to the above general solution, but merely as a further addition or preference, each alternative may be combined individually for the above general solution or between several alternatives without technical or logical contradictions.
Optionally, the arrangement of the working chamber is as follows:
a body cavity, or
Include a plurality of sub-chambeies at the inside mutual intercommunication of adsorption head, adsorb passageway and operation passageway respectively with the sub-chamber intercommunication that corresponds, the absorption mouth communicates at least the sub-chamber at operation passageway place.
A plurality of sub-chamber are inside to communicate with each other for all sub-chambers in the working chamber all can be through and adsorb the passageway intercommunication, reach vacuum state through suction device, rely on inside and outside pressure difference to form the adsorption affinity and adsorb in the adsorbate, avoid moving because of the top of pjncture needle and lead to the adsorption head to break away from the adsorbate. Preferably, the working chamber can also be a body cavity, i.e. there is enough space for arranging the auxiliary components, and the problem of blockage caused by the narrow communication part can also be avoided.
Optionally, a partition plate is arranged between the two sub-cavities adjacent to each other, and the two sub-cavities adjacent to each other are communicated with each other through a through hole formed in the partition plate, or the two sub-cavities adjacent to each other are communicated with each other through a pipeline.
All the adsorption ports generate adsorption force. Compared with the existing adsorption head, the adsorption head avoids the influence on the operation caused by the fact that the adsorption head is separated from an adsorbate due to the pushing action of the puncture needle during the puncture operation.
Optionally, the edges of the adsorption port are in the same plane or in an arc surface recessed towards the inside of the adsorption port in the middle.
The adsorbed object protrusion is attached to the cambered surface after extending into the adsorption port, and the object is prevented from being scratched.
Optionally, a sealing lip for abutting against an adsorbed object is convexly arranged on the periphery of the adsorption port; the sealing lip is annular and is provided with an outward flange.
The seal lip is mainly used for better isolating the outside air and the liquid from entering the working cavity when the adsorption port is attached to the surface of the adsorbate, and preventing the adsorption head from being separated from the adsorbate after the outside air enters. The flanging further increases the contact area with the adsorbate.
Optionally, the plurality of unit areas are formed in a regularly distributed grid structure.
Optionally, the plurality of unit regions are configured in a random porous structure.
The height of the adsorbed object protruding into the adsorption port is reduced, the surface of the adsorbed object is protected from being scratched, and meanwhile, the control of the puncture depth is more accurate.
Optionally, a communication part of the operation channel and the working chamber is a first communication port, and the first communication port is located on one side, far away from the adsorption port, of the working chamber.
The first communication port is a channel port of the puncture needle entering the working cavity, the puncture needle needs to bend and tilt towards the adsorption port after entering the working cavity, and in order to ensure a better puncture angle, enough bending and tilting space needs to be reserved, so that the position of the first communication port is far away from one side of the adsorption port as far as possible.
Optionally, a distal end side of the inner wall of the working chamber is a guide portion, and the guide portion is gradually bent and transited from the first communication port to a distal end side of the adsorption port.
Provides bending guide for the puncture needle, reduces the friction resistance of the puncture needle during movement, and is convenient for operators to operate.
Optionally, in the adsorption head, the extending direction from the distal end to the proximal end is used as the axial direction of the adsorption head, and the adsorption port is opened at one side of the radial direction of the adsorption head.
The puncture needle can be conveniently directly extended out of the adsorption head to puncture after turning, and the whole far end of the interventional device can also assist in turning so as to adapt to interventional paths or fine control and find target points.
Optionally, the turning angle of the bending transition of the guide part is 75-100 degrees relative to the axial direction of the adsorption head.
The puncture angle of the puncture needle is ensured, and the guide tube can be firmly fixed in the guide part.
Optionally, the working chamber is a body cavity, the communication portion of the adsorption passage and the working chamber is a second communication port, and the first communication port and the second communication port are both located on the proximal end side of the inner wall of the working chamber.
The second communicating port is close to the design of the adsorption port, so that when the vacuum tube extends into the working cavity, the vacuum tube is close to the adsorption port as much as possible, in the operation process, the medium in the working cavity is sucked from the bottom, and the medium is sucked from a lower position, so that the cleanness of the working cavity is kept as much as possible.
Optionally, an endoscope channel and a cleaning channel respectively communicated with the working cavity are further arranged on the proximal end side of the adsorption head.
The endoscope channel is used for placing an endoscope for observing the condition in the working cavity, is beneficial to the operation of an operator, and is also provided with a cleaning channel for placing a cleaning pipeline for cleaning the endoscope.
Optionally, in the adsorption channel, the operation channel, the endoscope channel and the cleaning channel, the channels are independent from each other or at least two of the channels are closed and communicated, and the channels are formed in the following manners:
a channel is formed by opening a hole on the adsorption head, the far end of the hole is communicated with the working cavity, and the near end of the hole is opened to be in butt joint with an external pipeline;
or a pipeline is arranged in the opening in a penetrating way, the far end of the pipeline is communicated with the working cavity, and the near end of the pipeline extends out of the adsorption head.
The adsorption channel, the operation channel, the endoscope channel and the cleaning channel can be mutually independent or at least two channels are closed and communicated according to the actual situation and the connection mode of the near end, and various channel arrangement schemes are provided.
Optionally, the interventional instrument comprises:
an inner needle tube which is slidably arranged in the operation channel, wherein the distal end of the inner needle tube can extend out of or retract into the adsorption port;
a sheath connected to the adsorption head;
a handle connected to a proximal end of a sheath, the suction channel and the manipulation channel each extending through the sheath to the handle.
The handle can control the position of the adsorption head in the body and operate the sliding puncture of the inner needle tube in vitro, all the controls are arranged in the handle in a penetrating way through the pipeline, and part of the pipeline continuously extends out of the handle to be connected with auxiliary equipment. All pipelines are protected by sheaths, and the sheaths also provide bending transition and support for the adsorption head.
Optionally, the interventional instrument further comprises an outer needle tube located in the sheath, a distal end of the outer needle tube is fixedly butted with or fixedly extended in the operation channel, and a proximal end of the outer needle tube is extended and fixed to the handle;
the handle is movably provided with a driving piece, the inner needle tube is arranged in the outer needle tube in a penetrating mode in a sliding mode, the near end of the inner needle tube extends out of the outer needle tube and is linked with the driving piece, and the inner needle tube and the outer needle tube are arranged in a sealing mode in the radial gap.
The gap between the outer needle tube and the inner needle tube is blocked, and the medium is prevented from permeating.
Optionally, a threading sleeve is fixed in the handle, the proximal end of the outer needle tube extends into the threading sleeve and is in fixed sealing fit with the inner wall of the threading sleeve, the proximal end of the inner needle tube sequentially extends out of the outer needle tube and the threading sleeve and then is connected to the driving member, and the inner needle tube is in sliding sealing fit with the inner wall of the threading sleeve.
The gap between the outer needle tube and the inner needle tube is sealed, so that the medium in the working cavity is prevented from permeating into the handle, and the sliding puncture of the inner needle tube is not influenced.
This application intervenes adsorption head of apparatus, all cavities homoenergetic produce strong adsorption affinity, when the puncture top is moved, the difficult condition that breaks away from the tissue organ that appears takes place.
Specific advantageous technical effects will be further explained in conjunction with specific structures in the detailed description.
Drawings
FIG. 1 is a schematic view of an interventional instrument according to the present application;
FIG. 2 is a schematic view of a needle configuration of the interventional instrument of the present application;
FIG. 3 is a schematic view of a variation of the needle of FIG. 2;
FIG. 4 is a perspective view of a suction head of the interventional instrument of the present application;
FIG. 5 is a perspective view of a suction head of the interventional instrument of the present application;
FIG. 6 is a schematic view of a suction head of the interventional instrument of the present application;
FIG. 7 is a radial cross-sectional view of a suction head of the interventional instrument of the present application;
FIG. 8 is an enlarged view of portion A of FIG. 7;
FIG. 9 is a rear view of the suction head of the interventional instrument of the present application;
FIG. 10 is an axial cross-sectional view of a suction head of the interventional instrument of the present application;
FIG. 11 is a schematic view of a puncturing procedure of an absorption head of the interventional instrument of the present application;
FIG. 12 is a schematic view of another embodiment of FIG. 11;
FIG. 13 is a schematic view of the connection between the sheath and the suction head of the interventional device of the present application;
FIG. 14 is an elevation view of a sheath of an interventional instrument of the present application;
FIG. 15 is an enlarged view of portion B of FIG. 14;
FIG. 16 is a front view of the alternate embodiment of FIG. 14;
FIG. 17 is an enlarged view of portion B of FIG. 16;
FIG. 18 is a schematic view of a sheath of the interventional device of the present application;
FIG. 19 is a schematic view of a retaining ring of the interventional instrument of the present application;
FIG. 20 is an enlarged view of portion A of FIG. 19;
FIG. 21 is a schematic view of the placement of a pull wire in the interventional instrument of the present application;
FIG. 22 is a schematic view of a variation of the fixation ring of the interventional instrument of the present application;
FIG. 23 is a schematic view of a variation of the suction head of the interventional instrument of the present application;
FIG. 24 is a schematic view of another variation of a suction head in the interventional instrument of the present application;
FIG. 25 is a schematic cross-sectional view of a suction head of the interventional instrument of the present application;
FIG. 26 is a schematic view of a suction head of the interventional instrument of the present application;
FIG. 27 is a schematic view of the liner, retaining ring, and sheath arrangement of the interventional instrument of the present application;
fig. 28 is a partial schematic structural view of the interventional instrument of fig. 1;
FIG. 29 is an exploded view of the handle structure of FIG. 17;
FIG. 30 is a view showing the structure of FIG. 17 with a rotary knob omitted;
FIG. 31 is a schematic view of the mounting ring installed within the sheath;
FIG. 32 is a schematic view of the mounting ring installed within the sheath;
FIG. 33 is an enlarged view of the portion B of FIG. 32;
FIG. 34 is a schematic structural view of the drive plate of FIG. 29;
FIG. 35 is a schematic structural view of the drive plate of FIG. 29;
FIG. 36 is a schematic view of the structure of the drive plate and the pull wire;
FIG. 37 is an enlarged view of part A of FIG. 30;
FIG. 38 is a view showing the handle of FIG. 17 with a portion thereof omitted;
FIG. 39 is an enlarged view of the portion C of FIG. 38;
FIG. 40 is a schematic structural view of the support body of FIG. 38;
FIG. 41 is an exploded view of the handle structure in one implementation;
FIG. 42 is a schematic structural view of the second housing of FIG. 41;
FIG. 43 is a schematic structural view of the drive disc of FIG. 41;
FIG. 44 is a schematic view of the knob of FIG. 41;
FIG. 45 is an exploded view of the handle structure in one implementation;
FIG. 46 is a schematic structural view of the drive plate of FIG. 45;
FIG. 47 is an assembled view of the positioning member of the handle of FIG. 45;
FIG. 48 is a schematic view of a handle according to one embodiment;
FIG. 49 is an enlarged view of portion B of FIG. 48;
FIG. 50 is a cross-sectional view of a passing sleeve in an interventional device of the present application.
The reference numerals in the figures are illustrated as follows:
105. a locking mechanism; 11. a support body; 111. a guide groove; 112. a through hole; 113. a guide plate; 114. a support shoulder; 115. a limiting shoulder; 12. rotating the handle; 13. a second bend adjusting chamber; 14. a linkage member; 142. threading holes; 16. a mounting ring; 161. A rotating groove; 18. a first housing; 181. a second housing; 182. a first bend adjusting chamber; 183. an operation slot; 184. a rotation stopping groove; 185. an observation window;
50. a drive disc; 51. a drive handle; 52. a wire slot; 521. an arc-shaped section; 522. a turning section; 523. a wire inlet; 53. a positioning area; 54. a mounting member; 55. a locking groove; 56. a rotating shaft; 57. a deformation groove;
60. a first locking mechanism; 61. a knob; 611. a housing; 612. an action part; 613. a convex strip; 62. an elastic pad; 621. a rotation stop section; 63. a spacer; 631. an end plate; 64. connecting sleeves; 641. a drive slot;
70. a second locking mechanism; 71. a positioning member; 72. an elastic driving member; 73. mounting a column; 731. an anti-drop step;
300. a working chamber; 310. an adsorption port; 311. a sealing lip; 3111. flanging; 3112. flat veneering; 3113. an inner edge; 320. A guide section; 3201. a guide groove; 3202. a curved groove; 330. reinforcing ribs;
400. an adsorption channel; 410. a vacuum tube; 420. a second communication port;
500. an operation channel; 510. a first communication port;
600. puncturing needle; 610. a guide tube; 620. a needle head; 630. an inner needle tube; 640. an outer needle tube;
700. an endoscope channel; 710. an endoscope; 720. a fourth communication port;
800. cleaning the channel; 810. cleaning the tube; 820. a third communication port;
900. an adsorption head; 910. a sheath tube; 9101. a first unit segment; 9102. a second unit segment; 9103. a third unit segment;
920. a handle; 921. a drive member; 922. threading a sleeve; 9221. a first avoidance hole; 9222. a second avoidance hole;
930. drawing wires; 931. a first pull wire; 932. a second pull wire; 933. a third traction wire; 935. an isolation sleeve; 940. A fixing ring; 9401. positioning a groove; 950. a liner tube;
1000. an interventional instrument;
A. an origin; a1, one side of the first traction wire; a2, one side of the second traction wire; a3, on the side of the third traction wire.
Detailed Description
The technical solutions in the embodiments of the present application will be clearly and completely described below with reference to the drawings in the embodiments of the present application, and it is obvious that the described embodiments are only a part of the embodiments of the present application, and not all of the embodiments. All other embodiments obtained by a person of ordinary skill in the art based on the embodiments in the present application without making any creative effort belong to the protection scope of the present application.
It will be understood that when an element is referred to as being "connected" to another element, it can be directly connected to the other element or intervening elements may also be present. When a component is referred to as being "disposed on" another component, it can be directly on the other component or intervening components may also be present.
Unless defined otherwise, all technical and scientific terms used herein have the same meaning as commonly understood by one of ordinary skill in the art to which this application belongs. The terminology used in the description of the present application herein is for the purpose of describing particular embodiments only and is not intended to be limiting of the application. As used herein, the term "and/or" includes any and all combinations of one or more of the associated listed items.
In this application, the terms "first", "second", etc. are used for descriptive purposes only and are not to be construed as indicating or implying relative importance or implying any particular order or number of technical features indicated. Thus, a feature defined as "first" or "second" may explicitly or implicitly include one or more of that feature. In the description of the present invention, "a plurality" means at least two, e.g., two, three, etc., unless specifically limited otherwise.
As shown in fig. 1, thesuction head 900 of the present application belongs to a partial structure of aninterventional device 1000, and theinterventional device 1000 further includes ahandle 920 for controlling thesuction head 900, and asheath 910 for connecting thesuction head 900 and thehandle 920.
Theinterventional device 1000 sends thesuction head 900 and thesheath 910 into the human body and moves to the vicinity of the tissue organ, and the movement of thesuction head 900 and the operation of the internal devices of the suction head 900 (such as thepuncture needle 600 and the endoscope 710) are controlled by thehandle 920, so as to complete a series of treatment operations of searching a target point, absorbing, puncturing, injecting and the like. The external portion of theinterventional instrument 1000 may also be provided with auxiliary devices (such as a suction device and a cleaning device), which are connected to the inside of thesuction head 900 through pipes or channels (not shown in the figures) and assist the operation of the internal devices.
The inventors found that when the puncture operation is performed on a beating heart, thesuction head 900 is detached from the adsorbate by the pushing movement of the puncture, and it is difficult to continuously and effectively suck the adsorbate to the heart. If the adsorption force is increased, the surface of the heart is easily damaged, the volume of theadsorption head 900 is increased, and the adsorption area is increased, but the movement in a narrow inner space is influenced.
For convenience of understanding, the proximal end is defined as the end near thehandle 920 and the distal end is defined as the end far from thehandle 920, and in terms of thesuction head 900 itself, the direction extending from the distal end to the proximal end is the axial direction of thesuction head 900, and the direction perpendicular to the axial direction is the radial direction.
As shown in fig. 4 to fig. 6, theadsorption head 900 of the present application has a distal end and a proximal end opposite to each other, and a workingchamber 300 is disposed at the distal end, theadsorption head 900 is further provided with anadsorption port 310 communicated with the workingchamber 300 for interacting with an adsorbate, anadsorption channel 400 and anoperation channel 500 communicated with the workingchamber 300 are disposed at the proximal end of theadsorption head 900, the workingchamber 300 is in a vacuum state, and theadsorption head 900 is adsorbed on the surface of the adsorbate through theadsorption port 310.
In this embodiment, thesuction channel 400 and theoperation channel 500 are communicated with each other through the workingchamber 300 inside thesuction head 900, and the vacuum suction force generated by thesuction channel 400 is directly transmitted to theoperation channel 500, so that the tissue position around the puncture point can be maintained during puncture, and the tissue position is shifted or dropped relative to the suction head, thereby ensuring the accuracy of the puncture position.
If the vacuum adsorption part is positioned in two mutually isolated areas relative to the puncture point, the adsorption effect is difficult to ensure, the deformation of tissues around the puncture point can influence the prediction of the puncture depth, the due treatment effect cannot be achieved, and even the operation fails.
The workingchamber 300 is an operation space for the internal devices of thesuction head 900, and is provided at the distal end of thesuction head 900 to provide a sufficient installation space for the arrangement of other components.
Theadsorption channel 400 can be arranged along the axial direction and can also be arranged in a bending way, for convenience of processing, the cross section of theadsorption channel 400 is circular, avacuum tube 410 which is matched with theadsorption channel 400 is arranged in theadsorption channel 400 in a penetrating way, one end of thevacuum tube 410 extends into the workingcavity 300, the other end of the vacuum tube is arranged in thesheathing tube 910 in a penetrating way and is connected to a suction device, and a medium in the workingcavity 300 is sucked through the suction device and is discharged out of theadsorption head 900. Theoperation channel 500 is a channel for installing thepuncture needle 600.
As shown in fig. 4, in one embodiment, the workingchamber 300 is arranged as an integral chamber or includes a plurality of sub-chambers communicated with each other inside theadsorption head 900, theadsorption passage 400 and theoperation passage 500 are respectively communicated with the corresponding sub-chambers, and theadsorption port 310 is communicated with at least the sub-chamber where theoperation passage 500 is located.
A plurality of sub-chamber are inside to communicate with each other for all sub-chambers in the workingchamber 300 all can be through withadsorb passageway 400 intercommunication, reach vacuum state through suction device, rely on inside and outside pressure difference to form the adsorption affinity and adsorb in the adsorbate, avoid moving because of the top ofpjncture needle 600 and lead toadsorption head 900 to break away from the adsorbate. Preferably, the workingchamber 300 may also be a body chamber, i.e. there is enough space for arranging auxiliary components, and it is also possible to avoid the problem of blockage due to the narrow communication portion.
The inner wall of the workingchamber 300 is provided with the reinforcingribs 330, the reinforcingribs 330 can extend axially, can also extend radially, and can also be arranged in a staggered manner, and the number of the reinforcingribs 330 can be multiple, so that the deformation of the workingchamber 300 due to pressure difference is prevented.
Theadsorption port 310 is an opening of the workingchamber 300, and has a rectangular or other closed ring shape, and when in operation, theadsorption port 310 is attached to the surface of the adsorbate to isolate the gas and liquid outside theadsorption head 900 from entering the workingchamber 300, so that the working chamber 300 (except for the internal channel) forms a closed chamber.
When the arrangement mode of the workingchamber 300 is a plurality of sub-chambers, in one embodiment, a partition plate is provided between two sub-chambers adjacent to each other, and the two sub-chambers adjacent to each other are communicated with each other through a through hole provided in the partition plate, or the two sub-chambers adjacent to each other are communicated with each other through a pipeline.
The partition board is disposed perpendicular to theabsorption opening 310, and the separated sub-chambers are connected to different channels, for example, the operation chamber is connected to the operation channel, and the absorption chamber is connected to the absorption channel. Interference between the chambers is avoided. Each chamber is communicated with each other through a pipeline or an opening, so that after the adsorption cavity is vacuumized, other chambers can be also vacuumized, and all theadsorption ports 310 generate adsorption force. Compared with the existing adsorption head, theadsorption head 900 is prevented from being separated from the adsorbate due to the pushing action of thepuncture needle 600 during the puncture operation, and the operation is prevented from being influenced.
Since the surface of the object is very easy to be damaged, the object protrudes into theabsorption opening 310 during the absorption operation, and in order to avoid damaging the surface of the object, in one embodiment, the edges of theabsorption opening 310 are located on the same plane or on a cambered surface with a central portion recessed toward the inner portion of the absorption opening.
The position of the cross-sectional shape of theadsorption port 310 close to the inner side of theadsorption port 310 is an arc surface, so that the adsorbed object is protruded into theadsorption port 310 and then attached to the arc surface, and the object is prevented from being scratched.
As shown in fig. 7 and 8, in one embodiment, a sealinglip 311 for abutting against an adsorbate is protruded from the outer periphery of thesuction port 310, and the sealinglip 311 is annular and has aflange 3111.
The sealinglip 311 may be integrally formed with thesuction port 310, or may be assembled as a separate component, and the cross-sectional shape thereof is a semicircular shape or other shape without a sharp corner, thereby preventing scratching of the object to be sucked. The sealinglip 311 is mainly used to better isolate the outside air and liquid from entering the workingchamber 300 when theadsorption port 310 is attached to the surface of the adsorbate, so as to prevent theadsorption head 900 from separating from the adsorbate after the outside air enters.
The ring structure means that a path which is connected end to end and surrounds the periphery of theadsorption port 310 by one circle is formed, the outward extension of the ring structure is provided with theoutward flange 3111, and theoutward flange 3111 improves the contact area with an adsorbed object and more effectively blocks outside gas and liquid.
Theoutward flange 3111 may be of the same thickness or of different thicknesses throughout the extension process. As shown in fig. 8, in the preferred embodiment, the thickness gradually decreases from inside to outside, and the thickness tends to decrease rapidly, so that a thinflat surface 3112 is formed at the end, thereby improving the deformation capability of theflat surface 3112 and the adhesion with the absorbed object. Theflat surface 3112 is transitionally connected with the inner wall of the workingchamber 300 through aninner edge 3113 of a smooth cambered surface, so that the adsorbed object is prevented from being scratched.
In one embodiment, the opening of theadsorption port 310 is a communication area or is divided into a plurality of unit areas.
When the depth of the partition plate does not extend to the plane of theadsorption port 310 or the workingcavity 300 is an integrated cavity, the opening of theadsorption port 310 is a communication area, and all positions of theadsorption port 310 can generate adsorption force for adsorbing an adsorbate, so that the phenomenon that theadsorption head 900 falls off due to the pushing of puncture and the influence on the operation can be avoided.
When the depth of the partition extends to the same plane as theadsorption port 310, theadsorption port 310 is divided into a plurality of unit regions. When the vacuum is generated in the workingchamber 300, the adsorbate will partially bulge into theadsorption port 310, resulting in uncertainty of the penetration depth. Therefore, the partition plates are arranged in a partition mode, the area of theadsorption port 310 of the operation cavity is reduced, and then the protrusion of an adsorbed object is reduced, so that the puncture operation is more accurate. And each chamber is communicated with each other, and theadsorption port 310 of each unit area can generate adsorption force, so that the phenomenon that theadsorption head 900 falls off due to the pushing of puncture to influence the operation is avoided.
In one embodiment, the plurality of unit regions are formed in a regularly distributed grid structure or a random porous structure.
The plane of theadsorption port 310 is provided with a flat plate with a grid structure or flexible cloth with a porous structure, and a puncture space is reserved in holes of the porous structure, so that the puncture of thepuncture needle 600 is facilitated. And furtherseparate absorption opening 310 for the height that the adsorbate arch stretched intoabsorption opening 310 reduces, protects the adsorbate, and simultaneously, the control of the depth of penetration is more accurate.
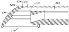
Since the operating space in the human body is limited, thepuncture needle 600 should perform a bending puncture to reduce damage to the tissue organ. As shown in fig. 7, in one embodiment, the connection portion between theoperation channel 500 and the workingchamber 300 is afirst connection port 510, and thefirst connection port 510 is located on a side of the workingchamber 300 away from theadsorption port 310.
Thefirst communication port 510 is a passage port of thepuncture needle 600 into the workingchamber 300, and thepuncture needle 600 needs to be bent and tilted toward thesuction port 310 after entering the workingchamber 300, and in order to secure a preferable puncture angle, a sufficient bending and tilting space must be left, and for this reason, thefirst communication port 510 is located as far away from thesuction port 310 as possible. In a preferred embodiment, one side of thesuction port 310 is defined as the bottom of thesuction head 900, and thefirst communication port 510 is disposed at the top of thesuction head 900.
As shown in fig. 10 and 11, in one embodiment, the distal side of the inner wall of the workingchamber 300 is a guidingportion 320, and the guidingportion 320 gradually bends and transitions from the first communicatingopening 510 to the distal side of thesuction opening 310.
As shown in fig. 2 and 3, in the present embodiment, thepuncture needle 600 used in thesuction head 900 of the present application includes aguide tube 610, aneedle 620, aninner needle tube 630 and anouter needle tube 640, wherein theguide tube 610 is a hollow metal tube, theouter needle tube 640 is connected to the proximal end of theguide tube 610, or theouter needle tube 640 and theguide tube 610 are integrally formed.
Inner needle tube 630 is slidably mounted withinouter needle tube 640 and the distal end ofinner needle tube 630 is connected toneedle 620, althoughneedle 620 may be integral withinner needle tube 630. When theinner needle tube 630 is moved, theneedle 620 is caused to change along the shape of theguide tube 610, facilitating the curved puncture.
Theguide portion 320 is an open slot, which opens toward the side of thesuction port 310, and theguide portion 320 is divided into a front section and a rear section, wherein the front section is aguide groove 3201 extending along theoperation channel 500, and the rear section is acurved groove 3202 smoothly curved to thesuction port 310 in a smooth transition manner, and theguide groove 3201 is closely connected with the rear section. Theguide tube 610 of thepuncture needle 600 is substantially in contact with theguide part 320, and has, for example, an arc shape or an elliptical arc shape.
The outlet end of theguide tube 610 may be spaced apart from theabsorbent opening 310 by a distance, i.e., theneedle 620 still remains in the workingchamber 300 after extending out of theguide tube 610, and does not penetrate into the adsorbate, thereby facilitating observation and confirmation of the puncture point.
In a complicated operation process, when a tissue organ is punctured, an included angle is formed between the puncturing direction of thepuncture needle 600 and a tangent plane (i.e., the plane where theadsorption port 310 is located) where a target point is located, and in order to protect the tissue organ, the puncturing depth is reduced as much as possible, i.e., the included angle is as close to 90 °. In one embodiment, theguide tube 610 is 1/4 arc or ellipse, i.e., at a 90 ° angle, such that theneedle 600 pierces perpendicular to the surface of the adsorbate. The damage to theneedle 620 is reduced and the length of theneedle 620 penetrating the myocardial tissue is minimized, with minimal damage to the tissue and organs.
Due to the volume limitation of thepuncture needle 600, theneedle 620 has frictional resistance with the inner wall of theguide tube 610 in the sliding and bending process of theguide tube 610, and if the included angle is too large, theneedle 620 is not easy to push and pull, and the puncture operation is affected. As shown in FIG. 12, in the preferred embodiment, the included angle is 45-60 degrees, so that the frictional resistance is reduced, and the operation of an operator is facilitated.
In one embodiment, thesuction port 310 extends a distance proximally along its length (axial direction), and thesuction port 310 is opened at one side of thesuction head 900 in the radial direction.
Generally, a certain included angle is formed between the intervention path direction and the puncture direction of puncture, the curvature radius is larger when the distal end of the intervention instrument is integrally bent, the operation space is limited, thepuncture needle 600 is thinner, and the curvature radius is smaller when the interventional instrument is bent, so that thepuncture needle 600 is preferably adopted to turn to adapt to the puncture direction, and theadsorption head 900 is arranged on one radial side, so that thepuncture needle 600 directly extends out of theadsorption head 900 to puncture after turning. Certainly, the whole far end of the interventional device can also assist in bending so as to adapt to an interventional path or fine control to find a target point.
In one embodiment, the turning angle of the bending transition of the guidingportion 320 is 75 to 100 degrees relative to the axial direction of the suction head.
The angle of rotation is the included angle between the line connecting the bending start point to the end point of the guidingpart 320 and the axis of theoperation channel 500, the angle of rotation is too small, the guidingtube 610 is easy to loosen, theouter needle tube 640 is not fixed firmly, and theouter needle tube 640 is easy to move synchronously with theinner needle tube 630 in the puncturing process, so that the puncturing operation is affected. The rotation angle is too large, which causes the sliding resistance of theneedle 620 to be too large, and the operator can feel the sliding pause and the smoothness of the puncture is affected. Therefore, the angle of rotation is designed to be 75 to 100 degrees, the puncture angle of thepuncture needle 600 is ensured to be 45 to 60 degrees, and theguide tube 610 can be firmly fixed in theguide part 320.
As shown in fig. 7, in one embodiment, the workingchamber 300 is a one-body chamber, the connection portion between theadsorption passage 400 and the workingchamber 300 is asecond communication port 420, and thefirst communication port 510 and thesecond communication port 420 are located on the proximal end side of the inner wall of the workingchamber 300.
Thesecond communication port 420 is designed close to thesuction port 310, so that when thevacuum tube 410 extends into the workingchamber 300, the vacuum tube is as close to thesuction port 310 as possible, during the operation, the medium in the workingchamber 300 is sucked from the bottom, and the medium is sucked from a lower position, so that the workingchamber 300 is kept as clean as possible.
As shown in fig. 5 and 6, in one embodiment, the proximal end side of thesuction head 900 is further provided with anendoscope channel 700 and acleaning channel 800 which are respectively communicated with the workingchamber 300.
Theendoscope channel 700 is provided with theendoscope 710 for observing the condition in the workingcavity 300, theendoscope channel 700 is divided into a front section and a rear section, the rear section is arranged along the axial extension of theadsorption head 900, the front section is inclined or bent towards one side of theadsorption port 310 and communicated with the workingcavity 300 compared with the rear section, and after theendoscope 710 is installed along theendoscope channel 700, the lens of the endoscope can be aligned to theadsorption port 310, so that a target point can be conveniently found and the condition in the workingcavity 300 can be observed.
The cleaningchannel 800 is used to deliver cleaning fluid for cleaning the workingchamber 300 and theendoscope 710, and to keep the workingchamber 300 and theendoscope 710 clean. During the operation, blood or other impurities contaminate the lens of theendoscope 710 and cannot observe the inside of the workingchamber 300, so as to effectively keep the lens of theendoscope 710 clean. In one embodiment, theendoscope channel 700 communicates with the workingchamber 300 through afourth communication port 720, the cleaningchannel 800 communicates with the workingchamber 300 through athird communication port 820, and thethird communication port 820 is arranged along one or more positions near the top of the periphery of thefourth communication port 720, and when necessary, the cleaningtube 810 slowly delivers cleaning liquid which cleans theendoscope 710 from top to bottom.
In another embodiment, thethird communication port 820 may be arbitrarily arranged so that when the lens of theendoscope 710 is contaminated, the cleaning liquid fills the workingchamber 300 through the cleaningchannel 800 to clean the lens and the workingchamber 300.
In another embodiment, thethird communication port 820 is aligned with the lens of theendoscope 710, and directly outputs the cleaning solution to clean the lens.
After the cleaning, theendoscope 710 and the workingchamber 300 are kept clean by sucking the liquid through thesuction channel 400 by the suction device.
Regarding the spatial arrangement of theendoscope channel 700 and thecleaning channel 800, the radial direction of thesuction head 900 is divided into three parts, namely a bottom part, a middle part and a top part, perpendicular to the direction of thesuction port 310, thesuction channel 400 is located at the bottom part, theoperation channel 500 is located at the top part, and then theendoscope channel 700 is arranged at the middle part, so that theendoscope 710 can observe the operation of thepuncture needle 600 and the visual field covered by thesuction port 310.
As shown in fig. 5 and 11, in one embodiment, in thesuction channel 400, theoperation channel 500, theendoscope channel 700, and thecleaning channel 800, the channels are independent from each other or at least two of the channels are connected together, and the channels are respectively configured as follows: theadsorption head 900 is provided with a hole to form a channel, the far end of the hole is communicated with the workingcavity 300, the near end of the hole is opened to be abutted with an external pipeline, or a pipeline is arranged in the hole in a penetrating way, the far end of the pipeline is communicated with the workingcavity 300, and the near end of the pipeline extends out of theadsorption head 900.
Theadsorption channel 400, theoperation channel 500, theendoscope channel 700 and thecleaning channel 800 can be selected to be independent or at least two of the channels are connected together according to the actual situation and the connection mode of the near end, so that various channel arrangement schemes are provided.
The gas or liquid flowing through theadsorption channel 400 and thecleaning channel 800 can be transported by passing through a pipeline or connecting asheath 910 at the proximal port thereof.
In one embodiment, when theadsorption channel 400 and thecleaning channel 800 are provided with pipes, the channels can be mutually connected and communicated and freely combined, but the cross section of each channel is shaped to ensure that at least three fixing points which play a role in fixing and guiding the installed equipment or pipes exist. For example, the cleaningchannel 800 passes through thecleaning tube 810, the cleaningchannel 800 is arranged in parallel with theendoscope channel 700 and communicates with each other.
In another embodiment, when theadsorption channel 400 and thepurge channel 800 directly flow gas or liquid, they must be independently arranged to avoid the flowing medium from mixing into other pipes and affecting the operation. For example, the cleaningchannel 800 does not have thecleaning tube 810, and when the cleaning liquid directly flows through the cleaning channel, a separate pipeline is needed.
In one embodiment, theinterventional device 1000 to which the suction head of the present application is applied further includes aninner needle tube 630 slidably mounted in theoperation channel 500, a distal end of theinner needle tube 630 being capable of extending out of or retracting into thesuction port 310, asheath 910 connected to thesuction head 900, and ahandle 920 connected to a proximal end of the sheath. Thesuction channel 400 and theoperation channel 500 each extend to thehandle 920 via thesheath 910.
Thehandle 920 can control the position of theabsorption head 900 in the body and operate the sliding puncture of theinner needle tube 630 outside the body, and all the controls are inserted into thehandle 920 through pipelines, wherein part of the pipelines continue to extend out of thehandle 920 to connect auxiliary equipment. All lines are protected bysheath 910, andsheath 910 also provides the curved transition and support for the suction head.
Thesheath 910 is substantially cylindrical, and may be formed by combining a plurality of sections in order to obtain corresponding rigidity at different positions, and each section may have a single-layer structure or a multi-layer composite structure. In one embodiment, thesheath 910 comprises, in order from the distal end to the proximal end, afirst unit segment 9101, asecond unit segment 9102, and athird unit segment 9103. Thefirst unit section 9101 is connected with theadsorption head 900, and the hardness of the material is the softest in the three sheath tubes, for example, Pebax 3533 is adopted, so that theadsorption head 900 is convenient to move.
The hardness of the material of thethird unit segment 9103 is the hardest in the three sheath tubes, and the hardness can be improved by increasing the wall thickness or selecting a material with higher hardness, for example, Pebax7233 is adopted, so that large-scale quick movement is realized, sufficient axial pushing force is provided, and the operation is convenient.
The hardness of thesecond unit segment 9102 is between that of thefirst unit segment 9101 and that of thethird unit segment 9103, for example, Pebax4033 is adopted, and the function of transition connection is achieved.
In order to ensure the ductility and strength of thesheath 910, in a preferred embodiment, thesheath 910 is designed with three layers, which are polyurethane, woven mesh structure and PTFE material from the outside to the inside.
A plurality of pipelines are arranged in thesheath 910 in a penetrating manner, one end of the pipeline extends into theadsorption head 900, the other end of the pipeline passes through thehandle 920 and continues to extend out of the handle, and the pipeline is connected with corresponding devices (such as a suction device, a cleaning device, a puncture needle and the like). Of course, thesheath 910 may be provided with a plurality of channels to replace the connecting function of the pipeline.
As shown in fig. 48 and 49, in one embodiment, theinterventional instrument 1000 further comprises anouter needle tube 640 disposed within thesheath 910, a distal end of theouter needle tube 640 fixedly abutting or extendedly fixed within theoperation channel 500, and a proximal end of theouter needle tube 640 extending and fixed to thehandle 920;
adriving piece 921 is movably installed on thehandle 920, theinner needle tube 630 is slidably arranged in theouter needle tube 640, the proximal end of theinner needle tube 630 extends out of theouter needle tube 640 and is linked with the drivingpiece 921, and the radial gap between theinner needle tube 630 and theouter needle tube 640 is sealed.
The distal and proximal ends of theouter needle cannula 640 are fixed to form a sliding guide path for theinner needle cannula 630 to slide. The drivingmember 921 is partially exposed from thehandle 920 for operation by an operator. The part of the needle stick extends into thehandle 920 to be bonded and fixed with theinner needle tube 630, and the operator pulls theinner needle tube 630 along theouter needle tube 640 to complete the sliding puncture through the drivingpiece 921 outside thehandle 920.
And after the vacuum is generated in the workingchamber 300, the medium in the workingchamber 300 is easy to reversely permeate into thehandle 920 from the gap between theinner needle tube 630 and theouter needle tube 640, so that the radial gap between theinner needle tube 630 and theouter needle tube 640 in thehandle 920 is sealed, and the medium is prevented from permeating into thehandle 920. The sealing arrangement may be to directly fill the gap, or to provide a stopper to block the end face of theouter needle tube 640, and to be in clearance fit with theinner needle tube 630 to block the gap and prevent the medium from permeating.
As shown in FIG. 50, in one embodiment, athreading sleeve 922 is fixed in thehandle 920, the proximal end of theouter needle tube 640 extends into fixed sealing engagement with the threadingsleeve 922 and with the inner wall of thethreading sleeve 922, the proximal end of theinner needle tube 630 extends out of theouter needle tube 640 and thethreading sleeve 922 in sequence and is connected to the drivingmember 921, and theinner needle tube 630 is in sliding sealing engagement with the inner wall of thethreading sleeve 922.
The threadingsleeve 922 is fixed with thehandle 920 in an adhesive mode, the threadingsleeve 922 is provided with a first avoidinghole 9221 matched with theouter needle tube 640 and a second avoidinghole 9222 matched with theinner needle tube 630, the first avoidinghole 9221 and the second avoidinghole 9222 are concentric, and the second avoidinghole 9222 is located behind the first avoidinghole 9221. The near end of theouter needle tube 640 extends into the first avoidinghole 9221 and is fixed in thethreading sleeve 922 through gluing, the step surface of the second avoidinghole 9222 abuts against the end surface of theouter needle tube 640, the inner wall of the second avoidinghole 9222 is tightly matched with theinner needle tube 630, and then the gap between theinner needle tube 630 and theouter needle tube 640 is sealed. The medium in the workingchamber 300 is prevented from permeating into thehandle 920, and the sliding penetration of theinner needle tube 630 is not affected.
In order to realize that theadsorption head 900 can realize free flexibility and multidirectional bending adjustment in a narrow operation space, the requirements of different operation functions are met. Wherein the bending of theadsorption head 900 relies on thefirst unit segment 9101 fixed at the proximal end of theadsorption head 900 through a thermal shrinkage process.
As shown in fig. 13 to 17, in one embodiment, a fixingring 940 is disposed in thesheath 910 and adjacent to the distal end thereof, the fixingring 940 is deformed and/or partially cut on the inner edge or the outer edge thereof to form a plurality ofpositioning grooves 9401, thepositioning grooves 9401 are circumferentially spaced apart from each other along the fixingring 940, the number of thepull wires 930 is three or more, and the distal end of eachpull wire 930 is inserted into and fixed to thecorresponding positioning groove 9401.
In this embodiment, more than threetraction wires 930 are provided, for example, three or fourtraction wires 930 are provided, and eachtraction wire 930 is circumferentially distributed at intervals, so that the orientation of the distal end of the sheath tube can be changed when one traction wire is pulled, the direction can be controlled more when a target point is found and other operations are performed, and the orientation of the distal end of the sheath tube can be changed rapidly to meet the expected posture, furthermore, because the number of thetraction wires 930 is large, further requirements are provided for the connection strength between thetraction wires 930 and thesheath tube 910, in this embodiment, the distal ends of all thetraction wires 930 are connected at one time by adopting a fixing ring mode, the fixingring 940 is connected with thesheath tube 910 by a hot melting mode, so that the strength can be ensured, potential safety hazards can be eliminated, and more importantly, the coordination and synchronization of simultaneous operations of a plurality of traction wires can be improved.
The fixingring 940 is circular, the outer circumferential surface of the fixing ring is matched with the inner wall of the sheath tube, and thesheath tube 910 is shrunk to tightly wrap the fixingring 940 through a thermal shrinkage process.
The number of thepositioning grooves 9401 is the same as that of thetraction wires 930, namely, at least threepositioning grooves 9401 are formed, thepositioning grooves 9401 axially extend to the bottom along the fixingring 940, thetraction wires 930 are conveniently penetrated and embedded in thepositioning grooves 9401 in a clamping manner, and the positioning effect of primarily installing the traction wires is achieved. Thepositioning groove 9401 and thetraction wire 930 are fixed to each other by spot welding. Thepositioning groove 9401 may be obtained by machining or may be integrally stamped with the fixingring 940.
In one embodiment, the fixingring 940 has a plurality of radially outwardly protruding or inwardly recessed deformation portions distributed at intervals along the circumferential direction, and the deformation portions formpositioning grooves 9401 at the inner side or the outer side of the fixingring 940.
The deformation part is formed by the self deformation of the fixingring 940 protruding or recessing and is integrally processed, the number of parts is small, the assembly is not needed, the use of raw materials can be saved, and the efficiency can be improved. When the deformation portion protrudes outward, the deformation portion is apositioning groove 9401 on the inner side of the fixingring 940, and when the deformation portion is recessed inward, the deformation portion is apositioning groove 9401 on the outer side of the fixingring 940. The smooth transition of the deformation portion and other portions of the fixingring 940 improves the structural strength of the fixingring 940, and the smooth transition can prevent thetraction wire 930 or other adjacent components from being scratched.
In one embodiment, the retaininggroove 9401 has a U-shaped cross-section and a depth corresponding to the diameter of thepull wire 930.
The cross-sectional shape of the retaininggroove 9401 is adapted to a portion of the outer edge of thepull wire 930, and has an opening for facilitating the direct radial insertion of thepull wire 930 from the retainingring 940. In a preferred embodiment, thepositioning groove 9401 is recessed, the depth of the groove of thepositioning groove 9401 enables the surface of the fixingring 940 to have no convex point after thetraction wire 930 is installed, and the depth of thepositioning groove 9401 is the same as the diameter of thetraction wire 930, so that the outer surface of thesheath 910 is smooth after thesheath 910 is fixed by thermal shrinkage.
As shown in fig. 18-20, in one embodiment, thepull wires 930 are externally sleeved with anisolation sleeve 935, theisolation sleeve 935 is fixedly disposed relative to thesheath 910, and thepull wires 930 are slidably fitted relative to theisolation sleeve 935.
Theisolation sleeve 935 is a hollow circular tube, the outer peripheral surface of theisolation sleeve 935 is fixed with thesheath 910 by gluing or hot melting, the melting point of theisolation sleeve 935 is larger than that of thesheath 910, and when thesheath 910 is subjected to hot melting operation, theisolation sleeve 935 still maintains its shape to allow the relative sliding of thetraction wire 930. Thepull wire 930 can slide along the inner hole of theisolation sleeve 935, so that circumferential dislocation of thepull wire 930 is avoided, and thesheath 910 can be prevented from being cut after thepull wire 930 is tightened.
In one embodiment, theisolation sleeve 935 is attached to and fixed to the inner wall of thesheath 910, or theliner 950 is thermally fused to the inner wall of thesheath 910, and theisolation sleeve 935 is fixed in the interlayer between thesheath 910 and theliner 950.
Liner tube 950 is hollow pipe, and the hole wears to establish other parts as the passageway, andliner tube 950 periphery is used for supporting insulatingsleeve 935, relies on fixedsheath pipe 910 of pyrocondensation again for insulatingsleeve 935 is by the centre gripping fixed, can improve joint strength and prevent unnecessary dislocation.Liner 950 separates the other internal components from insulatingsleeve 935, protecting insulatingsleeve 935, and further protectingpull wires 930. Through the adapted tooling, theisolation sleeve 935 can be fixed on the outer periphery of theliner tube 950 by gluing in advance, so as to be further fixed with thesheath 910 by hot melting.
As shown in fig. 27, in one embodiment, the outer circumference of the fixingring 940 is attached to the inner wall of thesheath 910, or theliner 950 is thermally fused on the inner wall of thesheath 910, and the fixingring 940 is fixed in the interlayer between thesheath 910 and theliner 950.
Theliner tube 950 is penetrated through the tool in advance, the fixingring 940 is sleeved on the outer wall of theliner tube 950, the liner tube and the fixing ring are in clearance fit, the gap is coated with glue and fixed, thesheath tube 910 is sleeved on the outermost layer, thesheath tube 910 is shrunk through a heat shrinkage process to combine theliner tube 950, the fixingring 940 is clamped and fixed by theliner tube 950 and thesheath tube 910, the opening of thepositioning groove 9401 can be sealed and thetraction wire 930 is shielded inside thepositioning groove 9401 no matter thetraction wire 930 is positioned on the outer side or the inner side of the fixingring 940, the strength can be improved in a clamping and fixing mode, and the phenomenon that the local stress is large and the traction is torn during traction is avoided.
In one embodiment, as shown in fig. 21, there are threepull wires 930, and eachpull wire 930 extends in the axial direction of thesheath 910.
The distal ends of thepull wires 930 are fixedly installed in thecorresponding positioning grooves 9401, for example, three pullwires 930 are sequentially distributed along the circumferential direction, and the central angle of eachadjacent pull wire 930 is 90 degrees. Because theadsorption head 900 needs to be bent in at least three directions to meet the requirements of surgical operation, the number of thecorresponding traction wires 930 is set to be three, and the traction wires are distributed in the fixingring 940 at 90 degrees, so that the assembly difficulty is increased due to the excessive number of thetraction wires 930.
Of the threetraction wires 930, afirst traction wire 931 and asecond traction wire 932 are disposed diametrically opposite each other along thesheath 910, and athird traction wire 933 is disposed between thefirst traction wire 931 and thesecond traction wire 932 in the circumferential direction of the sheath.
Thefirst traction wire 931 and thesecond traction wire 932 are arranged opposite to each other along the radial direction of thesheath 910, thethird traction wire 933 is located between thefirst traction wire 931 and thesecond traction wire 932 on the circumferential direction of thesheath 910, eachtraction wire 930 controls bending in one direction, and the threetraction wires 930 realize bending in three radial directions. The specific position relationship of the three can also be matched with the structure and the use characteristics of theadsorption head 900, theadsorption head 900 can be more finely controlled to change the position in the positioning process or when the treatment position is switched, and the pitching attitude of theadsorption head 900 is further controlled on the basis of conventional bidirectional swinging.
Thefirst traction wire 931 and thesecond traction wire 932 have a mutual linkage relationship, and the linkage relationship is that when thefirst traction wire 931 slides towards the proximal end, thesecond traction wire 932 slides towards the distal end, so that thefirst traction wire 931 and thesecond traction wire 932 are prevented from being reversely stretched when bending is adjusted, and not only is bending resistance increased, but also potential safety hazards exist.
As shown in fig. 21 to 24, when bending is performed, only the first pullingwire 931 is pulled, and accordingly, the second pullingwire 932 slides distally, so that the fixingring 940 is driven to move from the origin a to the side a1 close to the first pulling wire.
For another example, only the second pullingwire 932 is pulled, and accordingly, the first pullingwire 931 slides distally, driving the fixingring 940 to move from the origin a to the side a2 close to the second pulling wire.
For another example, when only thethird pull wire 933 is pulled, the threepull wires 930 are bent to the point A3, and the fixingring 940 is driven to move from the origin a to the third pull wire side A3.
When the operator releases the restriction of thepull wire 930 by thehandle 920, thesheath 910 is restored by its own elasticity, but a shaping member may be provided in thesheath 910 to help thesheath 910 to be restored.
In one embodiment, the orientation of theabsorption port 310 is consistent with the circumferential position of thethird pull wire 933 relative to thesheath 910.
Theadsorption head 900 depends on thethird traction wire 933 to complete the bending action to one side of theadsorption port 310, and is closer to the adsorbate, so that the subsequent adsorption is conveniently completed, and the adsorption is firmer. Accordingly, the first andsecond traction wires 931 and 932 are responsible for the bilateral bending and can match theendoscope 710 to find the target point.
The bending operation of thepull wire 930 is performed by thehandle 920, and the specific internal structure of thehandle 920 and how to control thepull wire 930 are as follows:
as shown in fig. 29 and 30, thehandle 920 has a firstbending adjustment chamber 182 and a secondbending adjustment chamber 13 therein, thedriving disk 50 is rotatably mounted in the firstbending adjustment chamber 182, and thelink 14 is slidably mounted in the secondbending adjustment chamber 13;
thetraction wire 930 includes afirst traction wire 931, asecond traction wire 932 and athird traction wire 933, the proximal ends of thefirst traction wire 931 and thesecond traction wire 932 are connected to thedriving disc 50, and the proximal end of thethird traction wire 933 is connected to thelink 14;
thedriving disc 50 drives thefirst traction wire 931 and thesecond traction wire 932 to move in opposite directions synchronously when rotating, so that thefirst traction wire 931 and thesecond traction wire 932 are prevented from generating reverse stretching when bending thesheath 910, the bending resistance of thesheath 910 is caused, potential safety hazards exist, and more bending angles are provided for the bending of thesheath 910.
In the present application, the distal end of thesheath 910 is bent by thefirst traction wire 931, thesecond traction wire 932 and thethird traction wire 933, and the bending directions of thesheath 910 by thetraction wires 930 are different, so that the bending range of the distal end of thesheath 910 is wider; meanwhile, eachtraction wire 930 can respectively bend the distal end of thesheath 910, so that the operator can adjust the bending direction of thesheath 910 more flexibly.
The distal end of thesheath 910 bends and simultaneously drives theadsorption head 900 to bend towards a fixed direction, so that theadsorption head 900 avoids the tissue and the organ, and the damage to the tissue and the organ is reduced.
After the operator releases thehandle 920, the first, second and third pullingwires 931, 932 and 933 release the restriction on thesheath 910, and thesheath 910 is automatically reset or reset by the inner shape member provided in thesheath 910.
Thehandle 920 further comprises alocking mechanism 105 for locking or releasing thedriving disc 50, the operator controls thedriving disc 50, thedriving disc 50 rotates to drive thetraction wire 930, thetraction wire 930 drives the distal end of thesheath 910 to bend, when the distal end of thesheath 910 is bent to a preset position, thelocking mechanism 105 is abutted to lock thedriving disc 50, so that thedriving disc 50 is prevented from being touched by external acting force by mistake, thedriving disc 50 rotates, and the bending angle of the distal end of thesheath 910 can be influenced.
When thedriving disc 50 on thehandle 920 rotates to drive thefirst traction wire 931 and thesecond traction wire 932, the distal end of thesheath 910 is bent by thefirst traction wire 931 and thesecond traction wire 932, and when the distal end of thesheath 910 is bent to a predetermined position, thedriving disc 50 is locked by thelocking mechanism 105, so as to avoid the external force from touching thedriving disc 50 by mistake, which causes thedriving disc 50 to rotate, and the distal end of thesheath 910 is affected by the bending angle.
Thedriving disk 50 is rotatably installed in thefirst bending chamber 182 by a rotating shaft, and the axis of the rotating shaft is perpendicular or oblique to the axis of thesheath 910. Preferably, the axis of rotation of thedrive disk 50 is disposed perpendicular to the axis of thesheath 910.
In one embodiment, as shown in fig. 1, apuncture needle 600 is further disposed inside thesheath 910, thepuncture needle 600 can slide inside thesheath 910, and the distal end of thepuncture needle 600 can bend along with the bending of thesheath 910. Thepuncture needle 600 has a back-set puncture end (an end close to the patient) and a connection end (an end close to the operator), the connection end of thepuncture needle 600 is arranged in thehandle 920, the puncture end of thepuncture needle 600 extends out of thesheath 910 for puncture, and the puncture section of thepuncture needle 600 punctures to a predetermined target point and performs injection or suction, thereby providing a foundation for subsequent treatment.
In one embodiment, as shown in fig. 1, theinterventional device 1000 further includes anabsorption head 900 located at the distal end of thesheath 910, theinterventional device 1000 sends theabsorption head 900 and thesheath 910 into the human body and moves to the vicinity of the tissue organ, and the movement of theabsorption head 900 and the operation of the internal devices of the absorption head 900 (such as thepuncture needle 600 and the endoscope) are controlled by thehandle 920 to complete a series of treatment operations including target point finding, absorption, puncture injection, and the like. Theinterventional instrument 1000 may also be provided with auxiliary equipment (e.g., suction devices and cleaning devices) on the exterior thereof, which auxiliary equipment (not shown) is connected to the interior of thesuction head 900 through a pipe or channel and assists the operation of the internal devices.
As shown in fig. 1, thesheath 910 is substantially cylindrical. Of course, in other embodiments, thesheath 910 may have other shapes, such as an elliptical shape. Thesheath 910 may be formed by combining a plurality of sections to obtain corresponding rigidity at different positions, and each section may have a single-layer structure or a multi-layer composite structure.
In one embodiment, thesheath 910 comprises, in order from the distal end to the proximal end, afirst unit segment 9101, asecond unit segment 9102, and athird unit segment 9103. Thefirst unit section 9101 is connected with theadsorption head 900, the hardness of the material of thefirst unit section 9101 is the softest in the three sections of thesheath tubes 910, for example, Pebax 3533 is adopted, thesheath tubes 910 are bent through thefirst unit section 9101, meanwhile, the bending radius of thefirst unit section 9101 is adjustable, even if the puncture path of thesheath tubes 910 is adjustable, so that the operation shape of thesheath tubes 910 is stronger, the capability of thesheath tubes 910 for bypassing blood vessels, bones and nerve tissues is stronger, the risk of puncturing organs is reduced, and the sheath tubes can puncture the target points more accurately.
A plurality of pipelines are arranged in thesheath 910 in a penetrating manner, one end of the pipeline extends into theadsorption head 900, the other end of the pipeline passes through thehandle 920 and continues to extend out of thehandle 920 to be connected with corresponding devices (such as a suction device, a cleaning device, apuncture needle 600 and the like). Of course, thesheath 910 may be provided with a plurality of channels to replace the connecting function of the pipeline.
In one embodiment, as shown in fig. 31 and 32, the first andsecond traction wires 931 and 932 are disposed diametrically opposite each other along thesheath 910, and thethird traction wire 933 is disposed circumferentially between the first andsecond traction wires 931 and 932 about thesheath 910.
Thefirst traction wire 931 and thesecond traction wire 932 have a mutual linkage relationship, and the linkage relationship is that when thefirst traction wire 931 slides towards the proximal end, thesecond traction wire 932 slides towards the distal end, so that thefirst traction wire 931 and thesecond traction wire 932 are prevented from being stretched reversely during bending adjustment, and not only is bending adjustment resistance increased, but also potential safety hazards exist;
as shown in fig. 23 and 24, the bending direction of thethird pull wire 933 is perpendicular to the bending directions of thefirst pull wire 931 and thesecond pull wire 932, so that the bending range of the distal end of thesheath 910 is wider. Meanwhile, thesheath 910 can be bent between thethird traction wire 933 and thefirst traction wire 931 or thesecond traction wire 932, so that the operator can adjust the bending direction of thesheath 910 more flexibly.
In one embodiment, the distal end of thesheath 910 is provided with thesuction head 900, thesuction head 900 has asuction port 310 on one side in the radial direction of the suction head, which is the extending direction from the distal end to the proximal end as the axial direction of the suction head, so as to increase the area of thesuction port 310 as much as possible, so as to increase the suction surface and the operation surface of thesuction head 900, thereby facilitating the bending puncture of thepuncture needle 600;
the orientation of thesuction port 310 coincides with the circumferential position of thethird pull wire 933 with respect to thesheath 910.
Theadsorption head 900 depends on thethird traction wire 933 to complete the bending movement towards one side of theadsorption port 310, so that theadsorption head 900 can be conveniently adsorbed on the tissue and organ.
In one embodiment, as shown in fig. 31, 32 and 33, thepull wire 930 is connected to the distal end of thesheath 910 by: a fixingring 940 is arranged in thesheath 910 and near the distal end of the sheath, the fixingring 940 forms apositioning groove 9401 through self deformation and/or local cutting, and the distal end of thetraction wire 930 is placed in and fixed in thepositioning groove 9401. Compared with a welding mode, the fixing mode of thetraction wire 930 and thesheath tube 910 through the fixingring 940 is firmer in fixing of thetraction wire 930, and meanwhile, welding spots can be prevented from being generated on the inner wall of thesheath tube 910.
The fixingring 940 is circular, the outer circumferential surface of the fixing ring is matched with the inner wall of thesheath tube 910, thesheath tube 910 is shrunk and clamped on the fixingring 940 through a heat shrinkage process, and the inner wall of thesheath tube 910 is melted and bonded on the fixingring 940, so that the assembly is convenient.
Thepositioning groove 9401 is a through groove along the axial direction of the fixingring 940, and thepositioning groove 9401 and thetraction wire 930 are connected and fixed with each other through spot welding. Thepositioning groove 9401 may be obtained by machining or may be integrally stamped with the fixingring 940.
Of course, in other embodiments, the attachment of thepull wire 930 to the distal end of the sheath 910 (the first unit segment 9101) employs: thepull wire 930 is welded to the inner wall of thesheath 910, and the welding manner can reduce the difficulty in assembling thepull wire 930 and thesheath 910.
In one embodiment, the fixingring 940 has a plurality of radially outwardly protruding or inwardly recessed deformation portions distributed at intervals along the circumferential direction, and the deformation portions formpositioning grooves 9401 at the outer side of the fixingring 940.
The deformation part is formed by the self deformation of the fixingring 940 protruding or recessing and is attached to part of the outer edge surface of thetraction wire 930, so that thetraction wire 930 can be installed and positioned conveniently.
In one embodiment, as shown in fig. 1, 29 and 30, the firstbending adjustment chamber 182 is located near the distal end of thehandle 920 relative to the secondbending adjustment chamber 13;
thedriving disc 50 is provided with twowire slots 52 which are communicated or isolated from each other, thefirst traction wire 931 and thesecond traction wire 932 are respectively wound on thedriving disc 50 through thecorresponding wire slots 52, thetraction wire 930 is disposed in thewire slot 52, and thetraction wire 930 can be prevented from being separated from thedriving disc 50 when thedriving disc 50 rotates.
Thethird drawing wire 933 passes through the firstbending adjusting chamber 182 on the side of thedriving disc 50 opposite to the twowire slots 52 and extends to the secondbending adjusting chamber 13, the secondbending adjusting chamber 13 is communicated with the firstbending adjusting chamber 182 through a communication hole (not shown), and after passing through the firstbending adjusting chamber 182, thethird drawing wire 933 extends to the secondbending adjusting chamber 13 through the communication hole and is connected with a linkage piece positioned in the secondbending adjusting chamber 13. For example, one end of the communication hole communicates with the throughhole 112 and the other end communicates with theguide groove 111. Alternatively, in other embodiments, the mounting gap between the mountingring 16 and thestop shoulder 115 forms a communication aperture.
In the process of rotating thedriving disc 50, the groove wall of thewire groove 52 is prevented from tearing thethird pull wire 933, which affects the bending of the distal end of thesheath 910.
In one embodiment, as shown in fig. 34 and 35, thewire slots 52 are distributed around the outer periphery of thedriving disk 50 or are formed on the disk surface of thedriving disk 50.
In the present embodiment, each of thewire grooves 52 is opened on the disk surface of thedrive disk 50. The disc surface of thedrive disc 50 may be understood as one of the end surfaces of both axial ends of thedrive disc 50. When thewire groove 52 is opened on the disk surface of thedrive disk 50, the extending path of thewire groove 52 may be a straight line or a curved line (e.g., an arc). Thewire slot 52 has a head end and a tail end along the extension path, and the proximal end of thepull wire 930 is threaded through the head end of thewire slot 52 and extends to the tail end of thewire slot 52.
In one embodiment, as shown in fig. 34 and 35, thewire groove 52 includes an arc-shapedsegment 521 and abent segment 522, the arc-shapedsegment 521 extends around the center of thedriving disc 50, and thebent segment 522 is abutted against the arc-shapedsegment 521 and extends toward the middle of thedriving disc 50.
Thepull wire 930 is extended to theturning section 522 and fixed after entering through thearc section 521. During the rotation of thedriving disk 50, thearc segment 521 changes position with thedriving disk 50 to drive thetraction wire 930 to move. Thearc 521 makes the operation of the pullingwire 930 more stable, and there is no sudden change in the speed of the pullingwire 930, which may cause the precision of the bending of the distal end of thesheath 910 to decrease.
The extending directions of the turningsections 522 of the twowire grooves 52 are parallel or oblique, and the two turningsections 522 are close to each other. Meanwhile, since theturning section 522 extends to the middle of thedriving disc 50, the space of thewire slot 52 occupying the disc surface of thedriving disc 50 in the length direction is shortened, so that the structure of thedriving disc 50 is more compact.
In one embodiment, as shown in fig. 34 and 35, the radial position of thearc 521 is located in the middle of thedriving disc 50 or adjacent to the edge of thedriving disc 50, thearc 521 of the two-wire groove 52 is located at two opposite sides of thedriving disc 50 in the radial direction, and thefirst traction wire 931 and thesecond traction wire 932 have a linkage relationship with each other, in which when thefirst traction wire 931 moves towards the proximal end, thesecond traction wire 932 moves towards the distal end, so as to avoid thefirst traction wire 931 and thesecond traction wire 932 from being stretched reversely during bending adjustment, which not only increases bending resistance, but also has a safety hazard.
In one embodiment, as shown in fig. 34 and 35, the central angle of thearc 521 is 60 to 120 degrees;
the arc-shapedsection 521 is provided with awire inlet 523, and thewire inlet 523 faces to the far end side in the non-bending state.
Twosegmental arcs 521 communicate each other at the one end of going intoline mouth 523 dorsad, and the central angle that segmental arcs 521 correspond is under this scope, and driving-disc 50 is in initial condition (sheath 910 is in under the non-accent curved state), has certain interval between theincome line mouth 523 of twowire casings 52, and this interval can avoid driving-disc 50 pivoted certain angle after,first pull wire 931 andsecond pull wire 932 concerted motion can causefirst pull wire 931 andsecond pull wire 932 to take place reverse stretch when transferring the curve.
Preferably, the central angle corresponding to the arc-shapedsection 521 is 80-100 degrees.
Most preferably,arcuate segment 521 subtends an angle of 90 degrees at its center.
In one embodiment, referring to fig. 36, the end of theturn 522 is apositioning region 53, and the proximal end of thepull wire 930 is secured to thepositioning region 53 by a mountingmember 54. referring to fig. 36, thepull wire 930 is connected to thedriving disk 50.
Thepull wire 930 is first coupled to the mounting member 54 (e.g., thepull wire 930 is fastened to the mountingmember 54 by bolting), and then the mountingmember 54 is engaged with thepositioning region 53 to quickly fix thepull wire 930 to the drivingplate 50, so that the difficulty in mounting thepull wire 930 to the drivingplate 50 can be reduced.
Wherein,location district 53 is the groove structure, andlocation district 53 is linked together with the terminal ofwire casing 52, and the installedpart 54 block is positioned in thislocation district 53. The locatingregion 53 may be machined with thewire chase 52 to reduce the machining process of thedrive disc 50.
Wherein the mountingmember 54 is generally block-shaped. The outer profile of thepositioning region 53 is substantially coincident with the outer profile of the mounting member 54 (preferably an interference fit between the mountingmember 54 and the positioning region 53) to prevent the mountingmember 54 from disengaging from thepositioning region 53 when the mountingmember 54 is subjected to the force of thepull wire 930.
Of course, in other embodiments, thetraction wire 930 may be fixed to thedriving disk 50 by welding, gluing, etc., and will not be further described herein.
Preferably, thepositioning area 53 is located on the disc surface of thedrive disc 50.
In one embodiment, as shown in fig. 29, thehandle 920 can provide support for the various components while also providing room for the operator to grasp. In order to facilitate forming thefirst bending chamber 182 on thehandle 920, referring to an embodiment, as shown in fig. 29, thehandle 920 has afirst housing 18 and asecond housing 181, thefirst housing 18 and thesecond housing 181 are buckled to each other to enclose thefirst bending chamber 182, and thesheath 910 is fixed between thefirst housing 18 and thesecond housing 181.
In order to reduce the difficulty in assembling thefirst casing 18 and thesecond casing 181, thefirst casing 18 and thesecond casing 181 may be fixed by screws or by clamping.
To facilitate the operation of thedriving disc 50, referring to an embodiment, as shown in fig. 28 and 29, thehandle 920 is provided with anoperation slot 183 communicated with thefirst bending chamber 182; thedriving disk 50 has a drivinghandle 51 at its periphery, and the driving handle 51 extends from theoperating slot 183 to thefirst bending chamber 182. The operator holds the portion of the driving handle 51 located outside thefirst bending chamber 182, and then drives thedriving disk 50 to rotate through the drivinghandle 51, so that the operator can control thedriving disk 50 to rotate.
The drivinglever 51 is substantially in the shape of a rod, and the drivinglever 51 and thedriving disk 50 are provided separately or integrally. In the present embodiment, the number of the driving levers 51 is two, the number of theoperation slots 183 is two, and the two drivinglevers 51 are located at opposite sides of thedriving disc 50 and respectively pass through thecorresponding operation slots 183. Of course, in other embodiments, the number of the driving levers 51 may be 1, 3, or 3 or more.
Theoperating slot 183 extends proximally along the distal end of thehandle 920 so that thedrive shaft 51 can move within theoperating slot 183 when thedrive shaft 51 rotates thedrive disc 50. In order to reduce the processing difficulty of theoperation slot 183, theoperation slot 183 is located at the connection between thefirst housing 18 and thesecond housing 181.
In one embodiment, as shown in fig. 30 and 37 to 40, thehandle 920 includes a supportingbody 11 and arotating handle 12 rotatably mounted on the outer periphery of the supportingbody 11, a secondbending adjustment chamber 13 is defined between the supportingbody 11 and therotating handle 12, alink 14 is slidably engaged with the supportingbody 11, the outer periphery of thelink 14 has an external thread, and the inner wall of therotating handle 12 has an internal thread engaged with the external thread.
The screw connection between therotating handle 12 and thelink 14 can convert the rotation of therotating handle 12 into the sliding of thelink 14 on the supportingbody 11, so as to stabilize the movement of thelink 14. Meanwhile, the self-locking phenomenon of thelinkage part 14 can be realized, and the phenomenon that the resetting force of thesheath tube 910 drives thelinkage part 14 to move is avoided.
In this application, the operator is through rotatingrotatory handle 12, and rotatory handle 12drives linkage 14 and slides onsupporter 11 to it is crooked to drive the distal end thattraction wire 930pull sheath 910, and it is crooked towards fixed direction to driveadsorption head 900 at last, so thatadsorption head 900 avoids the tissue organ, reduces the damage to the tissue organ.
In one embodiment, the supportingbody 11 defines a guidinggroove 111 extending along the axial direction of thesheath 910, thelink 14 is slidably mounted in the guidinggroove 111, and the guidinggroove 111 can define a moving path of thelink 14, so as to move thelink 14 in a fixed direction.
At least part of the structure of thelink 14 is located in theguide groove 111 and can slide along theguide groove 111, and the part of thelink 14 extending out of theguide groove 111 is provided with an external thread (the external thread is matched with the internal thread of the rotating handle 12). In order to stabilize the sliding of thelink 14, thelink 14 is attached to the side walls of theguide groove 111 along both sides of thesheath 910 in the axial direction, so that thelink 14 is prevented from shaking in theguide groove 111 along the radial direction of thesheath 910, and the bending accuracy of thesheath 910 is reduced.
Thesupport 11 may be made of metal or medical plastic material, thesupport 11 is a cylinder and has an axis which is consistent with the axis of thesheath 910, thesupport 11 is provided with a throughhole 112 penetrating along its own axis, and the throughhole 112 is used for each tube (such as thepuncture needle 600, etc.) to pass through. The outer side wall of the supportingbody 11 has two oppositely disposed guidingplates 113, the guidinggroove 111 is formed between the two guidingplates 113, and the two guidingplates 113 are disposed in parallel or at an included angle.
In one embodiment, the direction of theabsorption port 310 is consistent with the circumferential position of theguide groove 111 relative to thesupport body 11, and when thetraction wire 930 is inserted into thesheath 910, thetraction wire 930 is always attached to the inner wall of thesheath 910, so that thetraction wire 930 is moved out of each tube in thesheath 910.
In terms of the connection manner of thetraction wire 930 and thelinkage member 14, referring to an embodiment, thelinkage member 14 is provided with athreading hole 142 axially penetrating along thesheath 910, and thetraction wire 930 is adhered in thethreading hole 142. The distal end of thepull wire 930 is disposed in or passes through thethreading hole 142, and the portion of thepull wire 930 located in thethreading hole 142 is adhered to the inner wall of thethreading hole 142 by gluing, so as to simplify the structure between thepull wire 930 and thelinkage member 14 and reduce the difficulty in assembling thepull wire 930 and thelinkage member 14.
Thethreading hole 142 is located at a portion of thelink 14 disposed in theguide groove 111, and the cross-sectional shape of thethreading hole 142 is not strictly limited in the present embodiment, and may be, for example, circular or oval.
Of course, in other embodiments, the connection of both thepull wire 930 and thelinkage 14 is by: the proximal end of thetraction wire 930 is passed through thethreading hole 142 and tied, the knot is limited by thethreading hole 142, when thetraction wire 930 is acted by thesheath 910, the knot on thetraction wire 930 can not pass through thethreading hole 142, and thetraction wire 930 can be fixed on thelinkage member 14 through the structure of thetraction wire 930 itself, so that the difficulty of assembling thetraction wire 930 and thelinkage member 14 is further reduced.
Alternatively, thepull wire 930 may be threaded proximally through the threading bore 142 and coupled to a retaining member (not shown) that is constrained to the threading bore 142. The shape of the anti-drop part is not strictly limited, as long as thetraction wire 930 is pulled by the acting force of thesheath 910, the anti-drop part cannot pass through thethreading hole 142, thetraction wire 930 is bolted to the anti-drop part after passing through thethreading hole 142, and the anti-drop part can increase the connection strength between thetraction wire 930 and thelinkage part 14.
In order to limit the relative movement between the anti-slip part and thelinkage part 14, in one embodiment, a groove (not shown) is provided at the proximal end (the end close to the operator) of thelinkage part 14, the groove is located at thethreading hole 142, and the shape of the anti-slip part is substantially consistent with the shape of the groove, so that the anti-slip part is embedded in the groove. To facilitate attachment of thepull wire 930 to the release prevention member, thepull wire 930 is bolted to the release prevention member.
In the connection manner of therotating handle 12 and thehandle 920, referring to an embodiment, therotating handle 12 is cylindrical, thehandle 920 is provided with tworotating grooves 161 located at two ends of therotating handle 12, two axial ends of therotating handle 12 respectively extend into the correspondingrotating grooves 161 and are rotatably mounted on thehandle 920, so as to avoid additional arrangement of a support frame and other components for supporting therotating handle 12 on thehandle 920, and simplify the structure of thehandle 920.
The axis of therotating handle 12 coincides with the axis of thesheath 910. The outer side wall of therotating handle 12 is higher than, lower than or flush with the outer side wall of thehandle 920, so that the operator can operate therotating handle 12 conveniently, in the embodiment, the outer side wall of therotating handle 12 is higher than the outer side wall of thehandle 920.
In the connection manner of therotating handle 12 and thehandle 920, referring to an embodiment, thehandle 920 has two mountingrings 16 located at two ends of therotating handle 12, and thesupport 11 is mounted in thehandle 920 and forms tworotating grooves 161 with the respective mounting rings 16, thereby further simplifying the assembly structure between therotating handle 12 and thehandle 920.
When the supportingbody 11 is located in therotating handle 12, two ends of the supportingbody 11 respectively extend out of therotating handle 12, so that part of the structure of the supportingbody 11 can extend to the mountingring 16, two ends of the supportingbody 11 are provided with supportingshoulders 114 opposite to the mountingring 16, and the supportingshoulders 114 and the mountingring 16 form arotating groove 161.
In the installation manner of thesupport body 11 and thehandle 920, referring to an embodiment, the outer side wall of thesupport body 11 is provided with a limitingshoulder 115, the inner side wall of thehandle 920 is provided with a limiting groove (not shown) matched with the limitingshoulder 115, and the limitingshoulder 115 not only positions the installation position of thesupport body 11 in thehandle 920, but also pre-installs thesupport body 11 in thehandle 920.
The mountingring 16 and thehandle 920 are integrally or separately arranged. In order to facilitate the assembly of the mountingring 16 and thehandle 920, in the present embodiment, the mountingring 16 and thehandle 920 are provided separately.
In order to facilitate the operation of thehandle 920 for the operator, referring to an embodiment in which the rotation axis of thedriving disk 50 is perpendicular or oblique to the axis of the rotation handle 12, when the operator adjusts thedriving disk 50 and the rotation handle 12, one hand of the operator holds thehandle 920 and operates the rotation handle 12, and the other hand can separately operate thedriving disk 50 to facilitate the operation of thedriving disk 50 and therotation handle 12.
As shown in fig. 41-44, in some of these embodiments thelocking mechanism 105 comprises afirst locking mechanism 60, thefirst locking mechanism 60 comprising:
and theknob 61 is in threaded fit with thehandle 920, at least one part of theknob 61 is exposed outside thehandle 920, theknob 61 is far away from or pressed against the drivingdisc 50 during the rotation of theknob 61, and thedriving disc 50 is locked in a pressed state.
When the distal end of thesheath 910 is bent to a predetermined position, theknob 61 is abutted to lock thedriving disk 50, so as to prevent thedriving disk 50 from being touched by external force by mistake, which causes the rotation of thedriving disk 50 and affects the bending angle of the distal end of thesheath 910.
In one embodiment, thefirst locking mechanism 60 further includes anelastic pad 62 pressed between theknob 61 and thedriving disc 50, and during the rotation of theknob 61, by pressing theelastic pad 62 to make thedriving disc 50 in a pressed state, theelastic pad 62 can prevent theknob 61 from directly pressing thedriving disc 50, and at the same time, the friction between theknob 61 and thedriving disc 50 is increased to make the locking of theknob 61 more firm.
Theelastic pad 62 may be made of rubber or silicone, and when theknob 61 presses against theelastic pad 62, theelastic pad 62 is deformed by a force. Theelastic pad 62 is substantially circular in shape and is capable of covering the disk surface of the drive disk 50 (one end in the axial direction of the drive disk 50). Of course, in other embodiments, the shape of theelastic pad 62 may also be oval, rectangular, annular, etc., and the shape of theelastic pad 62 is not strictly limited as long as theelastic pad 62 can increase the friction force between theknob 61 and thedriving disk 50.
In one embodiment, therotation stop portion 621 is disposed on the periphery of theelastic pad 62, thehandle 920 is provided with arotation stop groove 184 engaged with therotation stop portion 621, and therotation stop groove 184 and therotation stop portion 621 cooperate with each other to prevent the rotation force of theknob 61 acting on theelastic pad 62, so as to prevent theelastic pad 62 from rotating along with theknob 61.
Therotation stopping groove 184 is opened on the inner wall of thesecond housing 181. In order to facilitate observing the state of the elastic pad 62 (whether the elastic pad is pressed by the knob 61), referring to an embodiment, thehandle 920 is provided with anobservation window 185 communicating with therotation stop groove 184, and the position of theelastic pad 62 is observed through theobservation window 185 to deduce the state of theelastic pad 62.
In the embodiment, therotation stopper 621 is two in number, therotation stopper grooves 184 are two in number, and the tworotation stopper 621 are oppositely disposed on two opposite sides of theelastic pad 62 and respectively fit with the correspondingrotation stopper grooves 184. Of course, in other embodiments, the number of therotation stoppers 621 may be 1, 3, or 3 or more.
In order to further prevent theelastic pad 62 from rotating with theknob 61, in an embodiment, a plurality ofdeformation grooves 57 are formed on a surface of thedriving disc 50 contacting with theelastic pad 62, after theelastic pad 62 is pressed by theknob 61, theelastic pad 62 deforms, and a portion of the deformation of theelastic pad 62 enters thedeformation grooves 57 to increase the friction force between theelastic pad 62 and theknob 61.
When theknob 61 is in the initial state (i.e., when thesheath 910 is not bent), the extending direction of eachdeformation groove 57 is substantially aligned with the extending direction of thesheath 910, and the extending directions of thedeformation grooves 57 are arranged in parallel.
In one embodiment, thefirst locking mechanism 60 further includes aspacer 63, thespacer 63 is disposed between theelastic pad 62 and theknob 61, theknob 61 presses theelastic pad 62 by driving thespacer 63, and thespacer 63 can transmit the pressing force of theknob 61 to theelastic pad 62. During the rotation of theknob 61, thespacer 63 consumes a part of the rotation force (for example, by means of the gravity of thespacer 63 itself, the friction force between thespacer 63 and thehandle 920, etc.), and at this time, only a small part of the rotation force of theknob 61 is transmitted to theelastic pad 62, so as to further reduce the rotation force of theknob 61 on theelastic pad 62.
Thespacer 63 is substantially cylindrical, and thespacer 63 has two axial ends, one of which abuts against theknob 61 and the other of which abuts against theelastic pad 62. In order to increase the contact surface between thespacer 63 and theelastic pad 62, the end of thespacer 63 facing theelastic pad 62 has anend plate 631, the end surface of theend plate 631 facing away from thespacer 63 contacts theelastic pad 62, and the contour of the end surface of theend plate 631 facing theelastic pad 62 substantially matches the outer contour of theelastic pad 62. Wherein the area of the end surface of thespacer 63 contacting theknob 61 is smaller than the area of the end surface of theend plate 631, the rotating force of theknob 61 acting on thespacer 63 can be reduced, so as to further reduce the rotating force of theelastic pad 62 received by theknob 61.
In the matching manner of theknob 61 and thehandle 920, referring to an embodiment, a drivinggroove 641 communicated with thefirst bending chamber 182 is formed in a side wall of thehandle 920, an internal thread is formed in an inner wall of the drivinggroove 641, theknob 61 is provided with an external thread matched with the internal thread, thedriving disc 50 is assembled in thefirst bending chamber 182 and can be fixed with thefirst shell 18 or thesecond shell 181, then theelastic pad 62 and the isolatingpiece 63 are installed on thehandle 920 in sequence through the drivinggroove 641, and finally theknob 61 is screwed into the drivinggroove 641. The next step is assembled after the previous component is fixed, so that the problem that the components are required to be matched with each other to assemble when theelastic pad 62, thespacer 63 and theknob 61 are assembled together with thedriving disc 50 is solved, and the assembly difficulty of theelastic pad 62, thespacer 63 and theknob 61 is reduced.
In order to satisfy a certain amount of movement of theknob 61, the drivinggroove 641 needs to have a certain extension length, and at this time, there is a certain requirement for the thickness of the chamber wall of the firstbending adjustment chamber 182, so as to increase the size increase of thehandle 920 and the waste of the material of thehandle 920, in order to solve this problem, referring to an embodiment, thehandle 920 is provided with a connectingsleeve 64, the drivinggroove 641 communicated with the firstbending adjustment chamber 182 is arranged in the connectingsleeve 64, the inner wall of the drivinggroove 641 is provided with an internal thread, theknob 61 is provided with an external thread matched with the internal thread, the connectingsleeve 64 is wholly arranged in thehandle 920 or at least partially arranged outside thehandle 920, and the connectingsleeve 64 can satisfy the requirement for the extension length of the drivinggroove 641, so as to avoid the increase of the thickness size of thehandle 920 and the increase of the material of thehandle 920.
Theviewing window 185 is located at the connection of theconnection sleeve 64 and thehandle 920. The axis of the connectingsleeve 64 is substantially coincident with or parallel to the axis of thedrive disc 50. The connectingsleeve 64 and thehandle 920 are fixed in a split manner or are of an integral structure, and in order to enhance the connecting strength of the connectingsleeve 64 and thehandle 920, the connectingsleeve 64 and thehandle 920 are integrally arranged.
In one embodiment, theknob 61 includes an actingportion 612 and acover 611, an external thread is disposed on an outer side portion of the actingportion 612, the actingportion 612 is in threaded connection with the drivinggroove 641, one end of the actingportion 612 can press against the drivingdisc 50, and the other end of the acting portion is exposed outside thehandle 920; thecover 611 is connected to the actingportion 612 and exposed outside thehandle 920, and is used for shielding the connection between the actingportion 612 and the drivinggroove 641.
Theknob 61 can be screwed into and out of the drivinggroove 641, and dust can be prevented from entering the drivinggroove 641.
Theaction portion 612 is substantially rod-shaped, thecover 611 extends from the end of theaction portion 612 in the radial direction and extends toward thehandle 920, and thecover 611 and thehandle 920 are in clearance fit, and the clearance allowance is adapted to the movement stroke of theaction portion 612 in the drivinggroove 641.
In order to facilitate the operator to operate theknob 61, the outer sidewall of theknob 61 is provided with a plurality of protrudingstrips 613, and the protrudingstrips 613 can increase the friction between the operator's hand and theknob 61.
As shown in fig. 45 to 47, as an alternative to thelock mechanism 105. In other embodiments, thelocking mechanism 105 further comprises a second locking mechanism 70, the second locking mechanism 70 comprising:
a plurality of lockinggrooves 55 provided in thedrive disc 50 along the circumferential direction of thedrive disc 50;
thepositioning piece 71 is movably arranged in the firstbending adjusting chamber 182, and thepositioning piece 71 is clamped with the corresponding lockinggroove 55 in position in the rotating process of thedriving disc 50;
and anelastic driving member 72 which abuts against the positioningmember 71 to drive the positioningmember 71 to be kept engaged with the corresponding lockinggroove 55.
When the distal end of thesheath 910 is bent to a predetermined position, thepositioning element 71 is engaged with thecorresponding locking slot 55 under the action of theelastic driving element 72 to lock thedriving disc 50, so as to prevent thedriving disc 50 from rotating due to the accidental touch of external force on thedriving disc 50, which may affect the distal end bending angle of thesheath 910.
In one embodiment, the lockingslots 55 are distributed at intervals around the axis of thedriving disc 50, and the central angle between twoadjacent locking slots 55 and the center of thedriving disc 50 is 5 to 20 degrees, so that thepositioning element 71 sequentially passes through the lockingslots 55 distributed at intervals around the axis of thedriving disc 50 during the rotation of thedriving disc 50, and the smaller the distance between twoadjacent locking slots 55, the higher the bending precision of the distal end of thesheath 910.
Preferably, the central angle of theadjacent locking slots 55 with respect to the center of thedriving disc 50 is 8 to 20 degrees.
Most preferably, theadjacent locking slots 55 are angled 15 degrees relative to the center of thedrive plate 50.
The angle of the central angle of theadjacent locking grooves 55 with respect to the center of thedrive plate 50 may be determined according to the distance from the lockinggroove 55 to the center of thedrive plate 50. The diameter of thedrive plate 50 limits the distance of the lockingslot 55 to the center of thedrive plate 50.
In the present embodiment, the diameter of thedrive disc 50 is 20mm to 60 mm. Preferably, the diameter of thedrive disc 50 is between 30mm and 50 mm. Most preferably, the diameter of thedrive disc 50 is 40 mm.
Of course, in other embodiments, the diameter of thedriving disc 50 and the central angle of theadjacent locking slots 55 relative to the center of thedriving disc 50 can be adjusted according to actual needs, and will not be further described herein.
In one embodiment, at least one of the contact portions of thepositioning element 71 and the lockingslot 55 is an arc surface structure, so that thepositioning element 71 can be separated from the lockingslot 55 when the driver rotates thedriving disc 50, thereby preventing thepositioning element 71 and the lockingslot 55 from being locked to each other.
In one embodiment, the matching portion of thepositioning element 71 and the lockinggroove 55 is in a spherical cap shape, wherein the outer surface of the spherical cap is in an arc structure, so that thepositioning element 71 and the lockinggroove 55 can be separated from each other.
To facilitate the machining of the positioningmember 71, it is preferable that the positioningmember 71 has a spherical shape.
In one embodiment, thepositioning members 71 are distributed in pairs, and the twopositioning members 71 of the same pair are located on two opposite sides of thedriving disc 50 in the radial direction, so that the forces exerted by thepositioning members 71 on thedriving disc 50 are balanced.
In the present embodiment, three pairs of thepositioning members 71 are provided, and thepositioning members 71 are spaced apart from each other around the axis of thedrive plate 50, and each positioningmember 71 engages with the corresponding lockinggroove 55 during the locking of thedrive plate 50. Of course, in other embodiments, thepositioning members 71 are one pair, two pairs, or three or more pairs.
In terms of the assembly relationship between the elastic drivingmember 72 and thehandle 920, referring to an embodiment, the inner wall of the firstbending adjustment chamber 182 is provided with a mountingpost 73, and the elastic drivingmember 72 and the mountingpost 73 are matched in the following manner: the periphery of the mountingpost 73 is sleeved with the elastic drivingmember 72, the mountingpost 73 can limit the movement path of the elastic drivingmember 72, and can support the elastic drivingmember 72, so that the elastic drivingmember 72 is prevented from being twisted when the positioningmember 71 receives the rotating force of thedriving disk 50.
Of course, in other embodiments, the mountingpost 73 is hollow and one end of theflexible drive member 72 extends into the mountingpost 73.
In order to prevent thepositioning member 71 from being separated from the cavity, which may cause the positioningmember 71 to be caught between the mountingpost 73 and thedriving disk 50, referring to an embodiment, the positioningmember 71 is movably mounted in the cavity, and at least a portion of the positioningmember 71 is exposed outside the cavity, and an inner edge of the cavity is provided with ananti-falling step 731 engaged with the positioningmember 71.
In the present embodiment, theelastic drive member 72 is a compression spring.
Taking the example of injecting hydrogel into ventricular wall puncture (for example, treating heart failure), the working principle of the application is as follows:
thesuction head 900 extends into the human body, is close to the tissue and organ, and the first and second traction wires are pulled by rotating thehandle 12 to adjust the two sides of the suction head to be bent for searching a target point. After the approximate area is determined, thethird traction wire 933 is pulled, theadsorption head 900 swings downwards, theadsorption port 310 is aligned to the surface, a target point is observed and searched by relying on theendoscope 710, after the target point position is confirmed, the sealinglip 311 is attached to the surface, thehandle 920 starts a suction device, gas and liquid in the workingcavity 300 are sucked, pressure difference is formed between the air pressure in the workingcavity 300 and the external air pressure, the sealinglip 311 is tightly adsorbed on the surface due to the pressure difference, theadsorption head 900 moves along with the movement of an adsorbate, theadsorption head 900 and the adsorbate are relatively static, and then puncture injection operation is performed through thehandle 920.
Thehandle 920 pushes theinner needle tube 630 toward thesuction head 900 to bend and deform theneedle 620 of the head along theguide tube 610 until theguide tube 610 is extended, and theendoscope 710 observes whether the puncture site is reasonable. If reasonable, theinner needle tube 630 is pushed continuously in the same direction, and theneedle 620 is punctured into the organ for injection. When the injection is completed or the puncture point is not reasonable, theinner needle tube 630 is pulled reversely to retract into theguide tube 610, the suction device is closed, theadsorption head 900 is separated, and the next target point is moved to perform the next puncture injection.
In the whole process, when the conditions of the whole operation process are observed through theendoscope 710, if the lens is polluted by foreign matters or blood, theendoscope 710 and the workingcavity 300 are cleaned by conveying cleaning liquid through the cleaningchannel 800, and the mixed liquid is sucked and taken away by the suction device, so that the workingcavity 300 is kept clean and the visual field of theendoscope 710 is clear.
The utility model provides a cavity homoenergetic of adsorption head produces the adsorption affinity and avoids making the adsorption head break away from by the adsorbate because of the top of puncture action is moved, and inside is provided with the passageway that supplies puncture equipment and observation equipment, has improved operation precision.
All possible combinations of the technical features of the embodiments described above may not be described for the sake of brevity, but should be considered as being within the scope of the present disclosure as long as there is no contradiction between the combinations of the technical features. When technical features in different embodiments are represented in the same drawing, it can be seen that the drawing also discloses a combination of the embodiments concerned.
The above-mentioned embodiments only express several embodiments of the present application, and the description thereof is more specific and detailed, but not construed as limiting the claims. It should be noted that, for a person skilled in the art, several variations and modifications can be made without departing from the concept of the present application, which falls within the scope of protection of the present application.

Claims (16)

CN202010946663.8A2020-09-102020-09-10Interventional instrumentActiveCN112244948B (en)

Priority Applications (1)

Application NumberPriority DateFiling DateTitle
CN202010946663.8ACN112244948B (en)2020-09-102020-09-10Interventional instrument

Applications Claiming Priority (1)

Application NumberPriority DateFiling DateTitle
CN202010946663.8ACN112244948B (en)2020-09-102020-09-10Interventional instrument

Publications (2)

Publication NumberPublication Date
CN112244948A CN112244948A (en)2021-01-22
CN112244948Btrue CN112244948B (en)2022-06-21

Family

ID=74231529

Family Applications (1)

Application NumberTitlePriority DateFiling Date
CN202010946663.8AActiveCN112244948B (en)2020-09-102020-09-10Interventional instrument

Country Status (1)

CountryLink
CN (1)CN112244948B (en)

Families Citing this family (2)

* Cited by examiner, † Cited by third party
Publication numberPriority datePublication dateAssigneeTitle
CN113491816B (en)*2021-07-062023-06-27上海康德莱医疗器械股份有限公司Electric positioning controllable bending guide wire
JP7432196B1 (en)2022-10-172024-02-16温州医科大学附属第二医院、温州医科大学附属育英儿童医院 puncture device

Family Cites Families (17)

* Cited by examiner, † Cited by third party
Publication numberPriority datePublication dateAssigneeTitle
US5727569A (en)*1996-02-201998-03-17Cardiothoracic Systems, Inc.Surgical devices for imposing a negative pressure to fix the position of cardiac tissue during surgery
WO2008134247A1 (en)*2007-04-272008-11-06Cvdevices, LlcDevices, systems, and methods for obtaining biopsy tissue samples
DE102006058447A1 (en)*2006-12-102008-06-19Philipps-Universität Marburg Device for fixation and manipulation of organic or inorganic tissues
US9510885B2 (en)*2007-11-162016-12-06Osseon LlcSteerable and curvable cavity creation system
JP2011528605A (en)*2008-07-212011-11-24アルスタシス,インコーポレイテッド Device, method, and kit for forming a tube in tissue
CN102100575B (en)*2009-12-172014-07-02心诺普医疗技术(北京)有限公司Self-negative-pressure pericardicentesis device
GB2487527A (en)*2011-01-142012-08-01Glyn ThomasNeedle and curved catheter
US20150313634A1 (en)*2014-05-052015-11-05Rainbow Medical Ltd.Pericardial access device
WO2016079803A1 (en)*2014-11-182016-05-26オリンパス株式会社Medical instrument
CN105999441A (en)*2016-07-062016-10-12河南驼人医疗器械集团有限公司Integrated camera visual vacuum suction device
CN107837105B (en)*2016-09-182020-09-01先健科技(深圳)有限公司 Puncture catheters and tissue tightening systems
CN208626284U (en)*2017-06-082019-03-22北京嘉维科技开发有限公司Aspirator is damaged with adherence preventing tissue in a kind of operation
CN107875503B (en)*2017-12-202024-12-17苏州赛纳思医疗技术有限公司Myocardial ablation device
CN107970059A (en)*2017-12-202018-05-01北京云峰智联医疗科技开发有限公司Myocardial ablation device
CN210673408U (en)*2018-01-032020-06-05杭州启明医疗器械股份有限公司 Flexible sheath and flexible interventional valve delivery system
CN208958279U (en)*2018-06-072019-06-11谌晶晶Cardiological piercing assembly and Cardiological sting device
CN210871750U (en)*2019-06-252020-06-30杭州德柯医疗科技有限公司Adsorption head and adsorption device

Also Published As

Publication numberPublication date
CN112244948A (en)2021-01-22

Similar Documents

PublicationPublication DateTitle
CN112244949B (en)Intervention instrument capable of adjusting bending in multiple directions
CN112244950B (en)Interventional instrument
US11266390B2 (en)Adapter for attaching devices to endoscopes
CN110115602B (en)Adjustable pipeline device for assisting endoscope treatment and double-interface device thereof
CN110786966B (en)Prosthetic valve delivery system
US20190343373A1 (en)Off-axis visualization systems
CN112244948B (en)Interventional instrument
CN214181407U (en)Handle capable of controlling bending of sheath tube and interventional instrument
US20130253534A1 (en)Apparatus systems and methods for flushing gas from a catheter of a robotic catheter system
US20070238928A1 (en)Biopsy port for easy device passage
CN214181412U (en)Interventional instrument
CN214181408U (en)Adjustable curved interventional instrument
CN214181411U (en)Intervention instrument capable of adjusting bending in multiple directions
JP2011125711A (en)Powered variable seal diameter trocar employing winepress mechanism
US20110166422A1 (en)Rigidizable endoluminal access device
CN214158238U (en)Bidirectional bending-adjusting handle and interventional instrument
CN214158239U (en)Interventional instrument and adsorption head thereof
CN214181409U (en)Handle for controlling directional bending of sheath tube and interventional instrument
CN111166402A (en)Endoscope breast augmentation retractor
US20240325696A1 (en)Axial actuation mechanism for catheters
CN216090610U (en)Double-plane adjustable bent sheath tube
CN214181410U (en)Directional bending-adjusting interventional instrument
CN116999111A (en) Delivery devices and medical device systems
CN112971900A (en)Conveying device
CN220833131U (en) Conveying device

Legal Events

DateCodeTitleDescription
PB01Publication
PB01Publication
SE01Entry into force of request for substantive examination
SE01Entry into force of request for substantive examination
GR01Patent grant
GR01Patent grant

[8]ページ先頭

©2009-2025 Movatter.jp