Movatterモバイル変換


[0]ホーム

URL:


CN112218971A - Magnetic levitation system for transporting a carrier, a carrier for a magnetic levitation system, a processing system for vertically processing a substrate, and a method for transporting a carrier - Google Patents

Magnetic levitation system for transporting a carrier, a carrier for a magnetic levitation system, a processing system for vertically processing a substrate, and a method for transporting a carrier
Download PDF

Info

Publication number
CN112218971A
CN112218971ACN201880093769.9ACN201880093769ACN112218971ACN 112218971 ACN112218971 ACN 112218971ACN 201880093769 ACN201880093769 ACN 201880093769ACN 112218971 ACN112218971 ACN 112218971A
Authority
CN
China
Prior art keywords
carrier
magnetic
actuators
magnetic levitation
levitation system
Prior art date
Legal status (The legal status is an assumption and is not a legal conclusion. Google has not performed a legal analysis and makes no representation as to the accuracy of the status listed.)
Pending
Application number
CN201880093769.9A
Other languages
Chinese (zh)
Inventor
奥利弗·海默尔
克里斯蒂安·沃尔夫冈·埃曼
拉尔夫·林登贝格
Current Assignee (The listed assignees may be inaccurate. Google has not performed a legal analysis and makes no representation or warranty as to the accuracy of the list.)
Applied Materials Inc
Original Assignee
Applied Materials Inc
Priority date (The priority date is an assumption and is not a legal conclusion. Google has not performed a legal analysis and makes no representation as to the accuracy of the date listed.)
Filing date
Publication date
Application filed by Applied Materials IncfiledCriticalApplied Materials Inc
Publication of CN112218971ApublicationCriticalpatent/CN112218971A/en
Pendinglegal-statusCriticalCurrent

Links

Images

Classifications

Landscapes

Abstract

A magnetic levitation system (100) for transporting a carrier (10) in a transport direction (T) is described. The magnetic levitation system comprises one or more magnetic bearings (120) with one or more first actuators (121) for contactless holding of the carrier (10) in the carrier transport space (15). In addition, the magnetic levitation system comprises a drive unit (130) with one or more second actuators (132) for moving the carrier (10) in the transport direction (T). One or more first actuators (121) and one or more second actuators (132) are arranged above the carrier transport space (15).

Description

Magnetic levitation system for transporting a carrier, carrier for a magnetic levitation system, processing system for vertical processing of substrates and method for transporting a carrier
Technical Field
Embodiments of the present disclosure relate to apparatus and methods for transporting carriers, particularly carriers used during processing of large area substrates. More particularly, embodiments of the present disclosure relate to apparatus and methods for non-contact transport of carriers that may be used in processing systems for vertical substrate processing, such as material deposition on large area substrates for display production. In particular, embodiments of the present disclosure relate to magnetic levitation systems and methods for carrier transport in vacuum processing systems.
Background
Techniques for layer deposition on a substrate include, for example, sputter deposition, Physical Vapor Deposition (PVD), Chemical Vapor Deposition (CVD), and thermal evaporation. The coated substrate can be used in a variety of applications and in a variety of technical fields. For example, the coated substrate may be used in the field of display devices. Display devices may be used to manufacture television screens, computer monitors, mobile phones, other handheld devices, and the like for displaying information. Typically, displays are produced by coating a substrate with a stack of different material layers.
For depositing the layer stack, an in-line arrangement of process modules may be used. The inline processing system includes a plurality of series of processing modules, such as deposition modules and optional further processing modules, e.g., cleaning modules and/or etching modules, wherein processing aspects are performed in the processing modules in series such that a plurality of substrates may be processed in the inline processing system in a continuous or quasi-continuous manner.
The substrate may be carried by a carrier, i.e. a carrying means for carrying the substrate. The carrier is typically transported through a vacuum system using a transport system. The transport system may be configured to transport the carrier with the substrate placed thereon along one or more transport paths. At least two transport paths can be arranged next to each other in the vacuum system, for example a first transport path for transporting the carriers in the forward direction and a second transport path for transporting the carriers in the return direction opposite to the forward direction.
The functionality of a display device is typically dependent on the coating thickness of the material, which must be within a predetermined range. In order to obtain a high resolution display device, technical challenges regarding material deposition need to be mastered. In particular, accurate and smooth transport of the substrate carrier and/or the mask carrier through the vacuum system is challenging. For example, particles generated due to wear of moving parts may degrade the manufacturing process. Accordingly, there is a need to transport carriers in a processing system with reduced or minimized particle generation. Furthermore, the challenge is to provide a robust carrier transport system for high temperature vacuum environments, for example, at low cost.
Accordingly, there is a continuing need for improved apparatus and methods for transporting carriers and for providing improved vacuum processing systems that overcome at least some of the problems of the prior art.
Disclosure of Invention
In view of the above, a magnetic levitation system for transporting a carrier, a carrier for a magnetic levitation system, a processing system for vertical processing of a substrate and a method of transporting a carrier according to the independent claims are provided. Further aspects, advantages and features are apparent from the dependent claims, the description and the accompanying drawings.
According to one aspect of the present disclosure, a magnetic levitation system for transporting a carrier in a transport direction is provided. The magnetic levitation system comprises one or more magnetic bearings having one or more first actuators for holding the carrier in a non-contact manner in the carrier transport space. In addition, the magnetic levitation system comprises a drive unit with one or more second actuators for moving the carrier in the transport direction. One or more first actuators and one or more second actuators are arranged above the carrier transport space.
According to another aspect of the present disclosure, a carrier for a magnetic levitation system is provided. The carrier comprises a body for carrying the object. The body includes a first end and a second end, the second end being opposite the first end. The first end portion comprises one or more first magnetic counterparts for interacting with one or more first actuators of one or more magnetic bearings of the magnetic levitation system. In addition, the first end portion comprises one or more second magnetic counterparts for interacting with one or more second actuators of the drive unit of the magnetic levitation system. The second end of the body comprises a third magnetic counterpart for interacting with one or more passive magnetic bearings of the non-contact guiding device of the magnetic levitation system.
According to another aspect of the present disclosure, a processing system for vertically processing a substrate is provided. The processing system includes at least one vacuum processing chamber including a processing device. In addition, the handling system comprises one or more magnetic levitation systems for transporting one or more carriers in a transport direction. The one or more magnetic levitation systems comprise one or more magnetic bearings having one or more first actuators for holding the carrier in a non-contact manner in the carrier transport space. Furthermore, the one or more magnetic levitation systems comprise a drive unit with one or more second actuators for moving the carrier in the transport direction. One or more first actuators and one or more second actuators are arranged above the carrier transport space.
According to another aspect of the present disclosure, a method of transporting a carrier is provided. The method includes non-contactingly retaining the carrier in the carrier transport space using one or more magnetic bearings having one or more first actuators disposed above the carrier transport space. Furthermore, the method comprises transporting the carrier in a transport direction using a drive unit having one or more second actuators arranged above the carrier transport space.
Embodiments are also directed to apparatuses for practicing the disclosed methods, and including apparatus portions for performing each described method aspect. These method aspects may be performed by hardware components, by a computer programmed with appropriate software, by any combination of the two, or in any other manner. Furthermore, embodiments in accordance with the present disclosure are also directed to methods for operating the described apparatus. The method for operating the described apparatus includes method aspects for implementing each function of the apparatus.
Drawings
So that the manner in which the above recited features of the present disclosure can be understood in detail, a more particular description of the disclosure, briefly summarized above, may be had by reference to embodiments. The accompanying drawings relate to embodiments of the disclosure and are described below:
fig. 1 shows a schematic view of a magnetic levitation system according to embodiments described herein;
fig. 2 to 5 show schematic views of a magnetic levitation system according to further embodiments described herein;
figure 6 shows a schematic view of an arrangement of two magnetic levitation systems for an asymmetric carrier according to some embodiments described herein;
FIG. 7 shows a schematic diagram of an arrangement of two magnetic levitation systems for a symmetric carrier according to some embodiments described herein;
fig. 8 shows a schematic view of a processing system for vertically processing a substrate according to embodiments described herein; and
fig. 9 shows a flow diagram illustrating a method of transporting a carrier according to embodiments described herein.
Detailed Description
Reference will now be made in detail to the various embodiments of the disclosure, one or more examples of which are illustrated in the figures. In the following description of the drawings, like reference numerals refer to like parts. Only the differences with respect to the respective embodiments are described. Each example is provided by way of illustration and is not meant as a limitation of the present disclosure. Furthermore, features illustrated or described as part of one embodiment can be used on or in conjunction with other embodiments to yield yet a further embodiment. The description is intended to include such modifications and alterations.
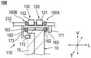
Referring exemplarily to fig. 1, amagnetic levitation system 100 for transporting acarrier 10 in a transport direction T according to the present disclosure is described. The transport direction T is perpendicular to the plane of the paper in fig. 1.
According to an embodiment, which can be combined with any other embodiment described herein, themagnetic levitation system 100 comprises one or moremagnetic bearings 120, the one or moremagnetic bearings 120 having one or morefirst actuators 121 for contactless holding of thecarrier 10 in thecarrier transportation space 15. Thecarrier transport space 15 can be understood as the area in which the carrier is arranged during transport of the carrier in the transport direction along the transport path. Specifically, as exemplarily shown in fig. 1, the carrier transport space may be a vertical carrier transport space having a height H extending in a vertical direction and a width W extending in a horizontal direction. For example, the aspect ratio of H/W can be H/W ≧ 5, specifically H/W ≧ 10. Furthermore, themagnetic levitation system 100 comprises adrive unit 130, thedrive unit 130 having one or moresecond actuators 132 for moving thecarrier 10 in the transport direction. One or morefirst actuators 121 and one or moresecond actuators 132 are arranged above thecarrier transport space 15.
Thus, embodiments of the magnetic levitation system described herein are improved over conventional carrier transport equipment, particularly with respect to accurate and smooth transport of carriers in high temperature vacuum environments. Furthermore, embodiments described herein advantageously provide more robust non-contact carrier transport at lower production costs compared to conventional carrier transport equipment. In particular, embodiments of the magnetic levitation system described herein are less sensitive to manufacturing tolerances, deformation, and thermal expansion. Furthermore, it is advantageous to provide a simpler integration of the magnetic levitation system into the chamber.
Before describing various further embodiments of the present disclosure in more detail, some aspects are explained with respect to some terms used herein.
In the present disclosure, a "magnetic levitation system" can be understood as a system configured to hold an object (e.g., a carrier) in a non-contact manner by using a magnetic force. In the present disclosure, the terms "levitating" and "levitation" refer to a state in which an object (e.g., a carrier carrying a substrate or a mask) floats without mechanical contact or support. Furthermore, moving or transporting the object refers to providing a driving force, e.g. a force in a different direction than the levitating force, wherein the object is moved from one position to another different position, e.g. a different position along the transport direction. For example, a carrier carrying the substrate or the mask may be levitated, i.e., levitated by a force counteracting the gravitational force, and may be moved in a direction different from a direction parallel to the gravitational force while levitating.
In the present disclosure, the term "non-contact" may be understood in the following sense: the weight (e.g. the weight of the carrier, in particular the weight of the carrier carrying the substrate or the mask) is not held by mechanical contact or mechanical force, but by magnetic force. In other words, the term "non-contact" as used throughout the specification may be understood as using magnetic forces rather than mechanical forces (i.e., contact forces) to hold the carrier in a suspended or floating state.
As schematically shown in fig. 1, thecarrier 10 is held in acarrier transport space 15 between theupper chamber wall 212 and thebottom chamber wall 211 without contact. Specifically, theupper chamber wall 212 may be a top plate of the vacuum chamber. Thus, thebottom chamber wall 211 may be the bottom wall of the vacuum chamber.
In the present disclosure, a "carrier" may be understood as a carrier configured for holding a substrate, also referred to as a substrate carrier. For example, the carrier may be a substrate carrier for carrying large area substrates. It should be understood that embodiments of the magnetic levitation system can also be used with other carrier types, such as mask carriers. Thus, additionally or alternatively, the carrier may be a carrier configured for carrying a mask.
In the present disclosure, the term "substrate" may particularly comprise a substantially inflexible substrate, e.g. a wafer, a slice of a transparent crystal such as sapphire or the like, or a glass plate. However, the present disclosure is not so limited, and the term "substrate" may also include flexible substrates such as webs or foils. The term "substantially inflexible" is understood to be distinguished from "flexible". In particular, the substantially inflexible substrate may have a degree of flexibility, e.g., a glass plate having a thickness of 0.5mm or less, wherein the substantially inflexible substrate is less flexible than the flexible substrate. According to embodiments described herein, the substrate may be made of any material suitable for material deposition. For example, the substrate may be made of a material selected from the group consisting of: glass (e.g., soda lime glass, borosilicate glass, etc.), metal, polymer, ceramic, composite, carbon fiber material, or any other material or combination of materials that may be coated by a deposition process.
In the present disclosure, the term "large area substrate" refers to a substrate having an area of 0.5m2Or more, in particular 1m2Or a larger major surface. In some embodiments, the large area substrate may be: generation 4.5, which corresponds to about 0.67m2The substrate (0.73m × 0.92 m); generation 5, which corresponds to about 1.4m2The substrate (1.1m × 1.3 m); generation 7.5, which corresponds to about 4.29m2The substrate (1.95m × 2.2 m); generation 8.5, which corresponds to 5.7m2A substrate (2.2m × 2.5 m); or evengeneration 10, which corresponds to about 8.7m2The substrate (2.85 m.times.3.05 m). Even higher generations such as 11 th and 12 th generations and corresponding substrate areas may be similarly implemented. Further, the substrate thickness may be from 0.1mm to 1.8mm, particularly about 0.9mm or less, such as 0.7mm or 0.5 mm.
In the present disclosure, the term "transport direction" is understood to be the direction in which the carrier is transported along the transport path. Typically, the transport direction may be a substantially horizontal direction.
In the present disclosure, a "magnetic bearing" may be understood as a bearing configured for holding or supporting an object (e.g., a carrier as described herein) in a non-contact manner (i.e., without physical contact). Thus, one or more magnetic bearings described herein may be configured to generate a magnetic force acting on the carrier such that the carrier is held in a non-contact manner at a location spaced a predetermined distance from the base structure (e.g., theupper chamber wall 212 as shown in fig. 1). In particular, the one or moremagnetic bearings 120 may be configured to generate a magnetic force acting in a substantially vertical direction V, such that the vertical width of thegap 122 between theupper chamber wall 212 and thecarrier 10 may remain substantially constant.
Some embodiments described herein relate to the concept of "vertical orientation". The vertical direction is considered to be a direction substantially parallel to the direction in which the gravitational force extends. The vertical direction may deviate from the exact vertical (the latter being defined by gravity) by an angle of, for example, at most 15 degrees. Further, some embodiments described herein may include the concept of a "lateral direction". The lateral direction is understood to be distinguished from the vertical direction. The lateral direction may be perpendicular or substantially perpendicular to the exact vertical direction defined by gravity.
In the present disclosure, a "first actuator" of one or more magnetic bearings may be understood as an active and controllable element of the magnetic bearing. In particular, the one or more first actuators may comprise controllable magnets, such as electromagnets. The magnetic field of the one or more first actuators may be actively controllable to maintain and/or adjust the distance between theupper chamber wall 212 and thecarrier 10. In other words, a "first actuator" of one or more magnetic bearings may be understood as an element having a controllable and adjustable magnetic field to provide a maglev force acting on the carrier.
Thus, the one or morefirst actuators 121 are configured for holding the carrier in a non-contact manner. As exemplarily shown in fig. 1, one or more firstmagnetic counterparts 181 may be arranged at thecarrier 10, in particular at the top of the carrier. The one or more firstmagnetic counterparts 181 of the carrier may magnetically interact with the one or morefirst actuators 121 of the one or moremagnetic bearings 120. In particular, the one or more firstmagnetic counterparts 181 may be passive magnetic elements. For example, the one or more firstmagnetic counterparts 181 may be made of a magnetic material such as a ferromagnetic material, a permanent magnet, or may have permanent magnetism.
For example, an output parameter (such as the current applied to the one or more first actuators) may be controlled in accordance with an input parameter (such as the distance between theupper chamber wall 212 and the carrier 10). For example, the distance between theupper chamber wall 212 and the carrier 10 (e.g., thegap 122 indicated in fig. 1) may be measured by a distance sensor, and the magnetic field strength of the one or more first actuators may be set according to the measured distance. Specifically, the magnetic field strength may be increased if the distance is above a predetermined threshold, and the magnetic field strength may be decreased if the distance is below the threshold. The one or more first actuators may be controlled by closed loop or feedback control.
In the present disclosure, a "drive unit" may be understood as a unit configured for moving an object (e.g., a carrier described herein) in a non-contact manner in a transport direction. In particular, the drive unit described herein may be configured to generate a magnetic force acting on the carrier in the transport direction. Thus, the drive unit may be a linear motor. For example, the linear motor may be a core linear motor. Alternatively, the linear motor may be a ironless linear motor. A ironless linear motor may be beneficial to avoid torque on the carrier due to vertical forces caused by possible interaction of the passive magnetic elements of the carrier with the iron core of the linear motor.
More specifically, as exemplarily shown in fig. 1, the drive unit typically comprises one or more second actuators configured for contactlessly moving the carrier in the transport direction. The one or more second actuators may be one or more controllable magnets, such as electromagnets. Thus, the one or more second actuators may be actively controllable to exert a moving force on the carrier in the transport direction. As exemplarily shown in fig. 1, one or more secondmagnetic counterparts 182 may be arranged at thecarrier 10, in particular at the top of the carrier. The one or more secondmagnetic counterparts 182 of the carrier may interact with the one or moresecond actuators 132 of thedrive unit 130. In particular, the one or more secondmagnetic counterparts 182 may be passive magnetic elements. For example, the one or more secondmagnetic counterparts 182 may be made of a magnetic material such as a ferromagnetic material, a permanent magnet, or may have permanent magnetic properties.
According to some embodiments, which can be combined with other embodiments described herein, as exemplarily shown in fig. 1, the one or morefirst actuators 121 and the one or moresecond actuators 132 are arranged in theair space 110. The expression "atmospheric space" is understood to mean a space having atmospheric pressure conditions, i.e. about 1.0 bar. For example, the atmospheric space may be a space provided outside the vacuum chamber. Alternatively, the atmospheric space may be provided by an atmospheric box or container (not explicitly shown) disposed inside the vacuum chamber.
Referring exemplarily to fig. 1, according to some embodiments, which can be combined with other embodiments described herein, the one or morefirst actuators 121 and the one or moresecond actuators 132 can be attached to an outer surface of anupper chamber wall 212, in particular to an outer surface of a vacuum chamber (e.g., a vacuum processing chamber 210). Thus, advantageously, the active element of the magnetic bearing or bearings is arranged at a position that is very easy to reach for installation or maintenance, thereby reducing costs. According to an example, as exemplarily shown in fig. 1, an outer surface of theupper chamber wall 212 may include receptacles for receiving the one or morefirst actuators 121 and the one or moresecond actuators 132.
As exemplarily shown in fig. 1, according to some embodiments, which can be combined with other embodiments described herein, the magnetic levitation system further comprises anon-contact guiding device 140 for guiding thecarrier 10 in the transport direction T. Typically, thenon-contact guiding device 140 is arranged in thelower portion 15L of thecarrier transport space 15. For example, thenon-contact guiding device 140 may include one or more passivemagnetic bearings 125. Specifically, as exemplarily shown in fig. 1, the one or more passivemagnetic bearings 125 may be arranged vertically. Thus, as exemplarily indicated in fig. 1, the one or more passivemagnetic bearings 125 are configured for providing a magnetic force acting on the carrier in a horizontal direction, in particular in a lateral direction L.
For example, as exemplarily shown in fig. 1, the one or more passivemagnetic bearings 125 may be provided by passive magnetic elements arranged vertically in parallel. Typically, at least two passive magnetic elements are arranged to provide a thirdmagnetic counterpart 183 receptacle for the carrier. Thus, in the presence of the carrier, the thirdmagnetic counterpart 183 is arranged between oppositely arranged passive magnetic elements of the one or more passivemagnetic bearings 125. Typically, thirdmagnetic counterpart 183 comprises a passive magnetic element. In fig. 1, the north pole N portion of the passive magnetic element is generally indicated by a shaded pattern. The south pole portion of the passive magnetic element is represented by a blank element adjacent to the north pole N portion.
As exemplarily shown in fig. 1, typically, the passive magnetic elements of the one or more passivemagnetic bearings 125 and the thirdmagnetic counterpart 183 are arranged such that the south pole portion of the passive magnetic element of the thirdmagnetic counterpart 183 faces the south pole portion of the passive magnetic element of the one or more passive magnetic bearings 125 (the right hand side of thenon-contact guiding device 140 shown in fig. 1). Thus, the north pole portion of the passive magnetic element of the thirdmagnetic counterpart 183 may face the north pole portion of the passive magnetic element of the one or more passive magnetic bearings 125 (left hand side of thenon-contact guiding device 140 shown in fig. 1). Thus, the passive magnetic elements of the one or more passivemagnetic bearings 125 and the thirdmagnetic counterpart 183 may be arranged such that a repulsive magnetic force acts between the passive magnetic element of the thirdmagnetic counterpart 183 and the passive magnetic element of the one or more passivemagnetic bearings 125. Although not explicitly shown, it is understood that alternatively the passive magnetic elements of the one or more passivemagnetic bearings 125 and the thirdmagnetic counterpart 183 may be arranged such that an attractive magnetic force acts between the passive magnetic element of the thirdmagnetic counterpart 183 and the passive magnetic element of the one or more passivemagnetic bearings 125.
Thus, advantageously, a non-contact lateral guidance of the carrier may be provided. Furthermore, it should be noted that the provision of passive guiding means is particularly suitable for providing robust carrier transport in a high temperature vacuum environment at low cost.
In the present disclosure, a "passive magnetic bearing" is understood to be a bearing having a passive magnetic element that is not actively controlled or regulated, at least not during operation of the apparatus. In particular, passive magnetic bearings may be suitable for generating magnetic fields, such as static magnetic fields. In other words, the passive magnetic bearing may not be configured for generating an adjustable magnetic field. For example, the magnetic elements of the one or more passive magnetic bearings may be made of a magnetic material such as a ferromagnetic material, a permanent magnet, or may have permanent magnetism.
Thus, a "passive magnetic element" or "passive magnet" as used herein may be understood as a magnet that is not actively controlled, e.g., via feedback control. For example, an output parameter such as the magnetic field strength of the passive magnet is not controlled in accordance with an input parameter such as distance. The "passive magnetic element" or "passive magnet" may provide lateral stability of the carrier, exactly without any feedback control. For example, a "passive magnetic element" or "passive magnet" as used herein may include one or more permanent magnets. Additionally or alternatively, a "passive magnetic element" or "passive magnet" may include one or more electromagnets that may not be actively controlled.
Referring exemplarily to fig. 2, according to some embodiments, which can be combined with other embodiments described herein, the magnetic levitation system further comprises at least onelateral stabilizing device 160 having at least one stabilizingmagnet 161, thelateral stabilizing device 160 being configured to exert a restoring force F on thecarrier 10 in a lateral direction L transverse to the transport direction T. For example, the at least one stabilizingmagnet 161 may be arranged above thecarrier transport space 15, in particular in the air space. Specifically, at least one stabilizingmagnet 161 may be attached to an outer surface of theupper chamber wall 212. Generally, the at least one stabilizingmagnet 161 may be arranged at a lateral distance with respect to the one or morefirst actuators 121. Additionally or alternatively, the at least one stabilizingmagnet 161 may be arranged at a lateral distance with respect to the one or moresecond actuators 132.
Thus, advantageously, in case of a lateral displacement of the carrier, thelateral stabilizing device 160 may stabilize the carrier at a predetermined lateral position by exerting a restoring force on thecarrier 10. The restoring force F pushes or pulls thecarrier 10 back to the predetermined lateral position. Thus, advantageously, thelateral stabilizing device 160 may generate a stabilizing force configured to counteract a displacement of the carrier in the lateral direction L from thecarrier transportation space 15. In other words, thelateral stabilizing device 160 may be configured to generate a restoring force F that pushes and/or pulls the carrier back into thecarrier transportation space 15 when the carrier is displaced in the lateral direction L from the predetermined lateral position or equilibrium position schematically depicted in fig. 2.
As exemplarily shown in fig. 2, the at least one stabilizingmagnet 161 may be a passive magnet having a north pole N and a south pole S. In some embodiments, the at least one stabilizing magnet may comprise a plurality of passive magnets, which may be arranged one after the other in the transport direction. Typically, the direction of the magnetic field lines inside the at least one stabilizing magnet (running from south pole to north pole inside the magnet) may substantially correspond to the lateral direction L.
The at least onecarrier stabilizing magnet 162 may be attached to thecarrier 10 in such a way that a displacement of thecarrier 10 in the lateral direction L from thecarrier transport space 15 results in a repulsive magnetic force between the at least one stabilizingmagnet 161 and the at least onecarrier stabilizing magnet 162 of thelateral stabilizing device 160 counteracting this displacement. Advantageously, therefore, the carrier is held in the equilibrium position shown in fig. 2 during holding and during transport of the carrier along the transport path.
As exemplarily shown in fig. 2, the at least onecarrier stabilizing magnet 162 may be a passive magnet having north and south poles N, S arranged such that the direction of the magnetic field lines inside the at least onecarrier stabilizing magnet 162 substantially corresponds to the lateral direction L.
In particular, the at least onecarrier stabilizing magnet 162 may be arranged in an opposite orientation compared to the at least one stabilizingmagnet 161 of thelateral stabilizing device 160, such that when the carrier is arranged in the equilibrium position, the north pole N of the at least onecarrier stabilizing magnet 162 is arranged adjacent to and attracted by the south pole S of the at least one stabilizingmagnet 161, and the south pole S of the at least onecarrier stabilizing magnet 162 is arranged adjacent to and attracted by the north pole N of the at least one stabilizingmagnet 161 of thelateral stabilizing device 160. When the carrier is displaced from the equilibrium position in a first lateral direction (e.g., to the left in fig. 2), the north pole N of the at least onecarrier stabilizing magnet 162 approaches the north pole N of the at least one stabilizingmagnet 161 of thelateral stabilizing device 160, which creates a restoring force, pushing the carrier back to the equilibrium position. When the carrier is displaced from the equilibrium position in a second (opposite) lateral direction (e.g., toward the right in fig. 2), the south pole S of the at least onecarrier stabilizing magnet 162 approaches the south pole S of the at least one stabilizingmagnet 161 of thelateral stabilizing device 160, which creates a restoring force, thereby pushing the carrier back to the equilibrium position. Thus, thelateral stabilizing device 160 stabilizes the carrier at a predetermined lateral position such that lateral movement of the carrier may be reduced or prevented.
Referring exemplarily to fig. 3, according to some embodiments, which can be combined with other embodiments described herein, the magnetic levitation system further comprises asafety arrangement 170. Generally, thesafety arrangement 170 comprises a lateralguard guide element 171 provided at least on one side of thecarrier transportation space 15. For example, lateral shieldingguide element 171 may be attached to an inner surface of the upper chamber wall. In particular, the lateralguard guide element 171 may be spaced apart from the at least one stabilizingmagnet 161 in the lateral direction such that the at least onecarrier stabilizing magnet 162 attached to thecarrier 10 may be arranged therebetween. As exemplarily shown in fig. 3, in the presence of a carrier, a gap is provided between the at least onecarrier stabilizing magnet 162 and the lateralshield guide element 171. The lateral shieldingguide element 171 may be realized as a guide rail or as a plurality of guide pins in a row.
As exemplarily shown in fig. 3, additionally or alternatively, thesafety arrangement 170 may comprise asafety roller 172, thesafety roller 172 being used to provide a vertical safety support for thecarrier 10, e.g. in case one or more of thefirst actuators 121 are deactivated. Typically, thesafety roller 172 is connected to aretainer 173, theretainer 173 being attached to the inner surface of theupper chamber wall 212. The holder holding the safety roller can also be used as a lateral protection guide element.
As shown in fig. 3, according to some embodiments, which can be combined with other embodiments described herein, two lateral stabilization devices can be provided, as exemplarily described with reference to fig. 2. For example, a firstlateral stabilization device 160A may be disposed at a lateral distance relative to one or morefirst actuators 121, and asecond stabilization device 160B may be disposed at a lateral distance relative to one or moresecond actuators 132.
Referring exemplarily to fig. 3, according to some embodiments, which may be combined with other embodiments described herein, a protective element 163 (e.g., a protective strap) may be attached to the at least onecarrier stabilizing magnet 162. In particular, theprotective element 163 may be attached to a side of the at least onecarrier stabilizing magnet 162 facing the lateral shieldingguide element 171 and/or to a side of the at least onecarrier stabilizing magnet 162 facing theretainer 173.
Referring exemplarily to fig. 4, an embodiment of a magnetic levitation system having an asymmetric arrangement of one or more first actuators and one or more second actuators is described. According to some embodiments, which may be combined with other embodiments described herein, the one or morefirst actuators 121 may be arranged centrally above the center of gravity G of thecarrier 10 to be transported, as exemplarily shown in fig. 4. In particular, with reference to the embodiment of fig. 4, the expression "centrally arranged above the center of gravity G of the carrier" may be understood as meaning that avertical plane 111 extending through the center of gravity G of the carrier also extends through the one or morefirst actuators 121. In other words, avertical plane 111 extending through the center of gravity G of the carrier may intersect the one or morefirst actuators 121. Specifically, thevertical plane 111 may substantially intersect the center of the one or morefirst actuators 121, e.g., within ± 10% of the center of the one or more first actuators. According to an example, thevertical plane 111 may represent a symmetry plane of the one or morefirst actuators 121. As exemplarily shown in fig. 4, the one or moresecond actuators 132 may be disposed laterally with respect to the one or morefirst actuators 121. Specifically, the one or moresecond actuators 132 may all be disposed adjacent to the same side (e.g., the left side in fig. 4) of the one or morefirst actuators 121. It should be understood that the aspects and features described with reference to fig. 1-3 may also be applied in the embodiment shown in fig. 4.
Referring exemplarily to fig. 5, an embodiment of a symmetrically arranged magnetic levitation system with one or more first actuators and one or more second actuators is described. According to some embodiments, which may be combined with other embodiments described herein, the one or moresecond actuators 132 may be arranged centrally above the center of gravity of thecarrier 10 to be transported, as exemplarily shown in fig. 5.
In particular, with reference to the embodiment of fig. 5, the expression "centrally arranged above the center of gravity G of the carrier" may be understood as meaning that avertical plane 111 extending through the center of gravity G of the carrier also extends through the one or moresecond actuators 132. In other words, avertical plane 111 extending through the center of gravity G of the carrier may intersect the one or moresecond actuators 132. Specifically, thevertical plane 111 may approximately intersect the center of the one or moresecond actuators 132, such as within ± 10% of the center of the one or more second actuators. According to an example, thevertical plane 111 may represent a plane of symmetry of the one or moresecond actuators 132.
As exemplarily shown in fig. 5, the one or morefirst actuators 121 may include a first group of one or morefirst actuators 121A and a second group of one or morefirst actuators 121B. The first group of one or morefirst actuators 121A and the second group of one or morefirst actuators 121B may be arranged laterally with respect to the one or moresecond actuators 132. Specifically, as exemplarily shown in fig. 5, a first group of one or morefirst actuators 121A may be disposed adjacent a first side of one or moresecond actuators 132, and a second group of one or morefirst actuators 121B may be disposed adjacent a second side of the one or moresecond actuators 132, the second side being opposite the first side. For example, the first group of one or morefirst actuators 121A and the second group of one or morefirst actuators 121B may be symmetrically arranged with respect to the one or moresecond actuators 132. It should be understood that the aspects and features described with reference to fig. 1-3 may also be applied in the embodiment shown in fig. 5.
Referring exemplarily to fig. 4 and 5, acarrier 10 according to the present disclosure includes abody 13 for carrying an object (e.g., a substrate or a mask). For example, thebody 13 may be implemented as a carrier plate configured to hold a substrate or a mask. Alternatively, thebody 13 may be implemented as a carrying frame configured to hold a substrate or a mask. As shown in fig. 4 and 5 for example, the body has afirst end 11 and asecond end 12. Thesecond end 12 is opposite thefirst end 11. Thefirst end 11 of thebody 13 comprises one or more firstmagnetic counterparts 181, the one or more firstmagnetic counterparts 181 being intended to interact with one or morefirst actuators 121 of one or moremagnetic bearings 120 of the magnetic levitation system. Thefirst end portion 11 further comprises one or more secondmagnetic counterparts 182, the one or more secondmagnetic counterparts 182 being adapted to interact with one or moresecond actuators 132 of thedrive unit 130 of the magnetic levitation system. In addition, thesecond end 12 of thebody 13 comprises a thirdmagnetic counterpart 183, the thirdmagnetic counterpart 183 being intended to interact with one or more passivemagnetic bearings 125 of thenon-contact guiding device 140 of the magnetic levitation system.
According to some embodiments, which can be combined with any other embodiments described herein, thetop surface 181S of the one or more firstmagnetic counterparts 181 has the same orientation as thetop surface 182S of the one or more secondmagnetic counterparts 182. More specifically, as exemplarily shown in fig. 4 and 5, the top surface of the one or more firstmagnetic counterparts 181 and the top surface of the one or more secondmagnetic counterparts 182 are substantially horizontal. For example, a top surface of the one or more firstmagnetic counterparts 181 and a top surface of the one or more secondmagnetic counterparts 182 can be coplanar. Alternatively, a small step may be provided between the top surface of the one or more firstmagnetic counterparts 181 and the top surface of the one or more secondmagnetic counterparts 182, such as a step ST, ST ≦ 2mm, specifically ST ≦ 1 mm.
As exemplarily shown in fig. 4 and 5, according to some embodiments, which can be combined with any other embodiments described herein, the thirdmagnetic counterpart 183 includes afirst surface 183A and asecond surface 183B. Thesecond surface 183B is opposite to thefirst surface 183A. Generally, thefirst surface 183A and thesecond surface 183B are oriented perpendicular to the top surface of the one or more firstmagnetic counterparts 181 and the top surface of the one or more secondmagnetic counterparts 182.
According to some embodiments, as exemplarily shown in fig. 4, thecarrier 10 may be an asymmetric carrier, i.e. when the carrier is in a vertical orientation, the carrier is asymmetric with respect to avertical plane 111 extending through the center of gravity G. Alternatively, as exemplarily shown in fig. 5, thecarrier 10 may be a symmetrical carrier, i.e. the carrier is symmetrical with respect to avertical plane 111 extending through the center of gravity G when the carrier is in a vertical orientation.
From fig. 4 and 5, it will be understood that the size of the carrier generally corresponds to the size of thecarrier transport space 15. Thus, the carrier may have a height H corresponding to the height H of thecarrier transport space 15C. Further, the carrier may have a width W corresponding to the width W of thecarrier transporting space 15C. Thus, HC/WCMay be HC/WCNot less than 5, in particular HC/WC≥10。
According to some embodiments, which may be combined with any other embodiments described herein, as exemplarily described with reference to fig. 2 and 3, the at least onecarrier stabilizing magnet 162 may be attached to thefirst end 11 of thecarrier 10. As exemplarily shown in fig. 6 and 7, at least onecarrier stabilizing magnet 162 may be provided for asymmetric carriers (see fig. 6) as well as for symmetric carriers (see fig. 7). Furthermore, as exemplarily described with reference to fig. 3, a protective element 163 (e.g., a protective strip) may be attached to the at least onecarrier stabilizing magnet 162.
Referring exemplarily to fig. 6, an arrangement of two asymmetric magnetic levitation systems for transporting respective asymmetric carriers is described. In particular, the first asymmetricmagnetic levitation system 101 providing the first transport path T1 may be arranged beside the second asymmetricmagnetic levitation system 102 providing the second transport path T2. In particular, the second asymmetricmagnetic suspension system 102 is horizontally offset from the first asymmetricmagnetic suspension system 101. Therefore, generally, the second transport path T2 is horizontally offset from the first transport path T1. As can be seen from fig. 6, the components of the first asymmetricmagnetic suspension system 101 may substantially correspond to the components of the second asymmetricmagnetic suspension system 102. It will therefore be appreciated that the features described with reference to figures 1 to 3 may also be applied to the exemplary embodiment shown in figure 6. As shown in fig. 6, the non-contact guiding means 140 of the first and second asymmetricmagnetic levitation systems 101, 102 may be connected to acommon support structure 145. As exemplarily shown in fig. 6, thecommon support structure 145 may be coupled to thebottom chamber wall 211.
Referring exemplarily to fig. 7, an arrangement of two symmetrical magnetic levitation systems for transporting respective symmetrical carriers is described. In particular, the first symmetricmagnetic levitation system 103 providing the first transport path T1 may be disposed beside the second symmetricmagnetic levitation system 104 providing the second transport path T2. In particular, the second symmetricmagnetic levitation system 104 is horizontally offset from the first symmetricmagnetic levitation system 103. Accordingly, the second transport path T2 is horizontally offset from the first transport path T1. As can be seen from fig. 7, the components of the first symmetricmagnetic levitation system 103 may substantially correspond to the components of the second symmetricmagnetic levitation system 104. Furthermore, it should be understood that the features described with reference to fig. 1 to 4 may also be applied in the exemplary embodiment shown in fig. 7. As shown in fig. 7, thenon-contact guiding devices 140 of the first and second symmetricmagnetic levitation systems 103 and 104 may be connected to acommon support structure 145. As exemplarily shown in fig. 7, thecommon support structure 145 may be coupled to thebottom chamber wall 211.
Furthermore, as exemplarily shown in fig. 7, according to some embodiments, which can be combined with any other embodiments described herein, theupper chamber wall 212 can be implemented as a separate plate-like element, in particular as a barrel-like plate-like element. Advantageously, therefore, the one or more first actuators of the one or more magnetic bearings and the one or more second actuators of the drive unit may be pre-mounted to the upper chamber wall before the upper chamber wall is mounted to the side wall of the chamber. Providing an upper chamber wall pre-installed with one or more first actuators and pre-installed with one or more second actuators may facilitate the assembly process and may reduce costs. Thus, a simpler docking with the chamber is advantageously provided compared to the prior art.
Referring exemplarily to fig. 8, aprocessing system 200 for vertically processing a substrate according to the present disclosure is described. According to an embodiment, which can be combined with any other embodiment described herein, theprocessing system 200 comprises at least onevacuum processing chamber 210 comprising aprocessing device 205. Specifically, generally, theprocessing apparatus 205 is disposed in thevacuum processing chamber 210, and theprocessing apparatus 205 may be selected from the group consisting of a deposition source, an evaporation source, and a sputtering source. The term "vacuum" is to be understood in a sense as a technical vacuum having a vacuum pressure of less than, for example, 10 mbar. Generally, the pressure in the vacuum chamber described herein can be between 10-5Mbar and about 10-8Mbar, more typically between 10-5Mbar and 10-7Mbar, and even more typically between about 10-6Mbar and about 10-7Between mbar. According to some embodiments, the pressure in the vacuum chamber may be considered as the partial pressure or total pressure of the evaporated material within the vacuum chamber (both may be substantially the same when only the evaporated material is the component to be deposited in the vacuum chamber). In some embodiments, the total pressure in the vacuum chamber may range from about 10-4Mbar to about 10-7Mbar, especially if a second component other than the evaporation material is present in the vacuum chamber (such as a gas or the like). Thus, the vacuum chamber may be a "vacuum deposition chamber", i.e. a vacuum chamber configured for vacuum deposition.
Furthermore, as exemplarily shown in fig. 8, theprocessing system 200 comprises one or more magnetic levitation systems for transporting one or more carriers in a transport direction T. For example, theprocessing system 200 may include a firstmagnetic levitation system 100A and a secondmagnetic levitation system 100B. The firstmagnetic levitation system 100A and the secondmagnetic levitation system 100B can be configured according to any embodiment described herein, in particular as described with reference to fig. 1-7. As shown in fig. 8, a firstmagnetic levitation system 100A providing the first transport path T1 may be disposed beside a secondmagnetic levitation system 100B providing the second transport path T2. Specifically, the secondmagnetic levitation system 100B is horizontally offset from the firstmagnetic levitation system 100A. Accordingly, the second transport path T2 is horizontally offset from the first transport path T1.
The one or more magnetic levitation systems of theprocessing system 200 include: one or moremagnetic bearings 120, the one or moremagnetic bearings 120 having one or morefirst actuators 121 for contactlessly holding thecarrier 10 in thecarrier transport space 15. In addition, the one or more magnetic levitation systems comprise adrive unit 130, thedrive unit 130 having one or moresecond actuators 132 for moving thecarrier 10 in the transport direction T. One or more first actuators 131 and one or moresecond actuators 132 are arranged above thecarrier transport space 15.
According to some embodiments, which can be combined with any other embodiment described herein, as exemplarily indicated in fig. 8, theprocessing system 200 may further comprise atrack switching assembly 190, thetrack switching assembly 190 being configured to move the carrier from the first transport path T1 to the second transport path T2 in the path switching direction S. Generally, the path switching direction S corresponds to the lateral direction L. Further, thetrack switch assembly 190 may be configured to move the carrier to a processing position T3, the processing position T3 being horizontally offset from the first transport path and the second transport path. Furthermore, as exemplarily indicated by the double-headedarrow 144 in fig. 8, thenon-contact guiding devices 140 of the first and secondmagnetic levitation systems 100A, 100B may be movable in the vertical direction in order to allow a movement of the carrier in the path switching direction S. Further, as exemplarily shown in fig. 8, a mask 206 (e.g., an edge exclusion mask) may be provided between the processing location T3 and theprocessing device 205.
Referring illustratively to the flowchart shown in fig. 9, amethod 300 of transporting a carrier in accordance with the present disclosure is described. According to an embodiment, which may be combined with any other embodiment described herein, themethod 300 comprises contactlessly holding thecarrier 10 in thecarrier transportation space 15 using one or more magnetic bearings 120 (represented byblock 310 in fig. 9). The one or moremagnetic bearings 120 have one or morefirst actuators 121 arranged above thecarrier transport space 15. Further, themethod 300 includes transporting thecarrier 10 in a transport direction T using the drive unit 130 (represented byblock 320 in fig. 9). Thedrive unit 130 has one or moresecond actuators 132 arranged above thecarrier transport space 15.
In view of the above, it will be appreciated that embodiments of the present disclosure advantageously provide a magnetic levitation system, a processing system and a method of transporting a carrier that are improved in terms of accurate and smooth transport of the carrier in a high temperature vacuum environment, particularly for high quality display manufacturing, compared to the prior art. Furthermore, embodiments described herein advantageously provide more robust non-contact carrier transport at lower production costs compared to conventional carrier transport equipment.
While the foregoing is directed to embodiments, other and further embodiments may be devised without departing from the basic scope thereof, and the scope thereof is determined by the claims that follow.

Claims (19)

Translated fromChinese
1.一种用于在运输方向(T)上运输载体(10)的磁悬浮系统(100),所述磁悬浮系统(100)包括:1. A magnetic levitation system (100) for transporting a carrier (10) in a transport direction (T), the magnetic levitation system (100) comprising:一个或多个磁性轴承(120),所述一个或多个磁性轴承(120)具有一个或多个第一致动器(121),用于在载体运输空间(15)中非接触地保持所述载体(10),和One or more magnetic bearings (120) with one or more first actuators (121) for non-contact holding of all bearings in the carrier transport space (15) the vector (10), and驱动单元(130),所述驱动单元(130)具有一个或多个第二致动器(132),用于在所述运输方向(T)上移动所述载体(10),所述一个或多个第一致动器(121)和所述一个或多个第二致动器(132)布置在所述载体运输空间(15)上方。a drive unit (130) having one or more second actuators (132) for moving the carrier (10) in the transport direction (T), the one or more A plurality of first actuators (121) and the one or more second actuators (132) are arranged above the carrier transport space (15).2.如权利要求1所述的磁悬浮系统(100),其中所述一个或多个第一致动器(131)和所述一个或多个第二致动器(132)布置在大气空间中。2. The magnetic levitation system (100) of claim 1, wherein the one or more first actuators (131) and the one or more second actuators (132) are arranged in an atmospheric space .3.如权利要求1或2所述的磁悬浮系统(100),其中所述一个或多个第一致动器(131)和所述一个或多个第二致动器(132)附接至上部腔室壁(212)的外表面,特别是真空腔室(210)的外表面。3. The magnetic levitation system (100) of claim 1 or 2, wherein the one or more first actuators (131) and the one or more second actuators (132) are attached to The outer surface of the outer chamber wall (212), especially the outer surface of the vacuum chamber (210).4.如权利要求1至3中任一项所述的磁悬浮系统(100),进一步包括非接触引导装置(140),所述非接触引导装置(140)用于在所述运输方向(T)上引导所述载体(10),所述非接触引导装置(140)布置在所述载体运输空间(15)的下部(15L)。4. The magnetic levitation system (100) according to any one of claims 1 to 3, further comprising non-contact guiding means (140) for use in the transport direction (T) The carrier (10) is guided upward, and the non-contact guide device (140) is arranged in the lower part (15L) of the carrier transport space (15).5.如权利要求4所述的磁悬浮系统(100),其中所述非接触引导装置(140)包括一个或多个被动磁性轴承(125)。5. The magnetic levitation system (100) of claim 4, wherein the non-contact guide (140) comprises one or more passive magnetic bearings (125).6.如权利要求1至5中任一项所述的磁悬浮系统(100),进一步包括具有至少一个稳定磁体(161)的至少一个侧向稳定装置(160),所述至少一个侧向稳定装置(160)被配置成在横向于所述运输方向(T)的侧向方向(L)上将恢复力(F)施加在所述载体(10)上。6. The magnetic levitation system (100) of any one of claims 1 to 5, further comprising at least one lateral stabilization device (160) having at least one stabilization magnet (161), the at least one lateral stabilization device (160) is configured to exert a restoring force (F) on the carrier (10) in a lateral direction (L) transverse to the transport direction (T).7.如权利要求6所述的磁悬浮系统(100),其中至少一个稳定磁体(161)布置在所述载体运输空间(15)上方,特别是在大气空间中。7. The magnetic levitation system (100) according to claim 6, wherein at least one stabilizing magnet (161) is arranged above the carrier transport space (15), in particular in atmospheric space.8.如权利要求1至7中任一项所述的磁悬浮系统(100),进一步包括安全布置(170),所述安全布置(170)包括由以下项构成的群组中的至少一个元件:设置在所述载体运输空间(15)的至少一侧的侧向防护引导元件,以及用于为所述载体(15)提供竖直安全支撑件的安全辊。8. The magnetic levitation system (100) of any one of claims 1 to 7, further comprising a safety arrangement (170) comprising at least one element from the group consisting of: Lateral guard guide elements provided on at least one side of the carrier transport space (15), and safety rollers for providing vertical safety supports for the carriers (15).9.如权利要求1至8中任一项所述的磁悬浮系统(100),其中所述载体运输空间(15)为具有在竖直方向上延伸的高度(H)和在水平方向上延伸的宽度(W)的竖直载体运输空间,其中H/W的纵横比为H/W≥5。9. The magnetic levitation system (100) according to any one of claims 1 to 8, wherein the carrier transport space (15) has a height (H) extending in a vertical direction and a height (H) extending in a horizontal direction The vertical carrier transport space of width (W), where the aspect ratio of H/W is H/W ≥ 5.10.如权利要求1至9中任一项所述的磁悬浮系统(100),其中所述一个或多个第一致动器(121)居中布置在待运输的所述载体(10)的重心上方。10. The magnetic levitation system (100) of any one of claims 1 to 9, wherein the one or more first actuators (121) are centrally arranged at the center of gravity of the carrier (10) to be transported above.11.如权利要求1至10中任一项所述的磁悬浮系统(100),其中所述一个或多个第二致动器(132)相对于所述一个或多个第一致动器(121)侧向布置。11. The magnetic levitation system (100) of any one of claims 1 to 10, wherein the one or more second actuators (132) are relative to the one or more first actuators ( 121) Lateral arrangement.12.如权利要求1至9中任一项所述的磁悬浮系统(100),其中所述一个或多个第二致动器(132)居中布置在待运输的所述载体(10)的重心上方。12. The magnetic levitation system (100) of any one of claims 1 to 9, wherein the one or more second actuators (132) are centrally arranged at the center of gravity of the carrier (10) to be transported above.13.如权利要求1至9或12中任一项所述的磁悬浮系统(100),其中所述一个或多个第一致动器(121)包括一个或多个第一致动器的第一组(121A)和一个或多个第一致动器的第二组(121B),所述第一组(121A)和所述第二组(121B)相对于所述一个或多个第二致动器(132)对称布置。13. The magnetic levitation system (100) of any one of claims 1 to 9 or 12, wherein the one or more first actuators (121 ) comprise a first actuator of the one or more first actuators A set (121A) and a second set (121B) of one or more first actuators, said first set (121A) and said second set (121B) relative to said one or more second The actuators (132) are arranged symmetrically.14.一种用于磁悬浮系统的载体(10),所述载体(10)包括用于承载物体的主体(13),所述主体具有第一端部(11)和第二端部(12),所述第二端部(12)与所述第一端部(11)相对,14. A carrier (10) for a magnetic levitation system, the carrier (10) comprising a body (13) for carrying an object, the body having a first end (11) and a second end (12) , the second end (12) is opposite to the first end (11),其中所述第一端部(11)包括一个或多个第一磁性对应件(181),所述第一磁性对应件(181)用于与所述磁悬浮系统的一个或多个磁性轴承(120)的一个或多个第一致动器(121)相互作用,所述第一端部(11)进一步包括一个或多个第二磁性对应件(182),所述第二磁性对应件(182)用于与所述磁悬浮系统的驱动单元(130)的一个或多个第二致动器(132)相互作用,并且Wherein the first end portion (11) includes one or more first magnetic counterparts (181), and the first magnetic counterparts (181) are used for connecting with one or more magnetic bearings (120 of the magnetic suspension system) ) interacting with one or more first actuators (121) of ), said first end (11) further comprising one or more second magnetic counterparts (182), said second magnetic counterparts (182) ) for interacting with one or more second actuators (132) of the drive unit (130) of the magnetic levitation system, and其中所述第二端部(12)包括第三磁性对应件(183),所述第三磁性对应件(183)用于与所述磁悬浮系统的非接触引导装置(140)的一个或多个被动磁性轴承(125)相互作用。Wherein the second end portion (12) comprises a third magnetic counterpart (183), the third magnetic counterpart (183) is used for contacting with one or more of the non-contact guiding devices (140) of the magnetic levitation system Passive magnetic bearings (125) interact.15.如权利要求14所述的载体,其中所述一个或多个第一磁性对应件(181)的顶表面与所述一个或多个第二磁性对应件(182)的顶表面为共面的。15. The carrier of claim 14, wherein the top surfaces of the one or more first magnetic counterparts (181) are coplanar with the top surfaces of the one or more second magnetic counterparts (182) of.16.如权利要求14或15所述的载体,其中所述第三磁性对应件(183)具有第一表面(183A)和第二表面(183B),所述第二表面(183B)与所述第一表面(183A)相对,和其中所述第一表面(183A)的取向和所述第二表面(183B)的取向垂直于所述一个或多个第一磁性对应件(181)的顶表面和所述一个或多个第二磁性对应件(182)的顶表面。16. The carrier of claim 14 or 15, wherein the third magnetic counterpart (183) has a first surface (183A) and a second surface (183B), the second surface (183B) being connected to the The first surface (183A) is opposite, and wherein the orientation of the first surface (183A) and the orientation of the second surface (183B) are perpendicular to the top surface of the one or more first magnetic counterparts (181) and a top surface of the one or more second magnetic counterparts (182).17.如权利要求14至16中任一项所述的载体,进一步包括至少一个载体稳定磁体(162),所述载体稳定磁体(162)附接至所述载体(10)的所述第一端部(11)。17. The carrier of any one of claims 14 to 16, further comprising at least one carrier stabilizing magnet (162) attached to the first of the carrier (10) end (11).18.一种用于竖直处理基板的处理系统(200),所述处理系统(200)包括:18. A processing system (200) for vertically processing a substrate, the processing system (200) comprising:至少一个真空处理腔室(210),所述真空处理腔室(210)包括处理装置(205),和at least one vacuum processing chamber (210) comprising a processing device (205), and一个或多个磁悬浮系统(100),用于在运输方向(T)上运输一个或多个载体(10),一个或多个磁悬浮系统包括:One or more magnetic levitation systems (100) for transporting one or more carriers (10) in the transport direction (T), the one or more magnetic levitation systems comprising:一个或多个磁性轴承(120),所述一个或多个磁性轴承(120)具有一个或多个第一致动器(121),用于在载体运输空间(15)中非接触地保持所述载体(10),和One or more magnetic bearings (120) with one or more first actuators (121) for non-contact holding of all bearings in the carrier transport space (15) the vector (10), and驱动单元(130),所述驱动单元(130)具有一个或多个第二致动器(132),用于在所述运输方向(T)上移动所述载体(10),所述一个或多个第一致动器(131)和所述一个或多个第二致动器(132)布置在所述载体运输空间(15)上方。a drive unit (130) having one or more second actuators (132) for moving the carrier (10) in the transport direction (T), the one or more A plurality of first actuators (131) and the one or more second actuators (132) are arranged above the carrier transport space (15).19.一种运输载体(10)的方法(300),所述方法(300)包括:19. A method (300) of a transport vehicle (10), the method (300) comprising:无接触保持步骤(310),使用一个或多个磁性轴承(120)在所述载体运输空间(15)中非接触地保持所述载体(10),所述一个或多个磁性轴承(120)具有布置在载体运输空间(15)上方的一个或多个第一致动器(121),和A contactless holding step (310) of non-contact holding the carrier (10) in the carrier transport space (15) using one or more magnetic bearings (120), the one or more magnetic bearings (120) having one or more first actuators (121) arranged above the carrier transport space (15), and运输步骤(320),使用驱动单元(130)在运输方向(T)上运输所述载体(10),所述驱动单元(130)具有布置在所述载体运输空间(15)上方的一个或多个第二致动器(132)。A transporting step (320) of transporting the carrier (10) in the transport direction (T) using a drive unit (130) having one or more carriers arranged above the carrier transport space (15) a second actuator (132).
CN201880093769.9A2018-05-242018-05-24 Magnetic levitation system for transporting a carrier, a carrier for a magnetic levitation system, a processing system for vertically processing a substrate, and a method for transporting a carrierPendingCN112218971A (en)

Applications Claiming Priority (1)

Application NumberPriority DateFiling DateTitle
PCT/EP2018/063702WO2019223872A1 (en)2018-05-242018-05-24Magnetic levitation system for transporting a carrier, carrier for a magnetic levitation system, processing system for vertically processing a substrate, and method of transporting a carrier

Publications (1)

Publication NumberPublication Date
CN112218971Atrue CN112218971A (en)2021-01-12

Family

ID=62455452

Family Applications (1)

Application NumberTitlePriority DateFiling Date
CN201880093769.9APendingCN112218971A (en)2018-05-242018-05-24 Magnetic levitation system for transporting a carrier, a carrier for a magnetic levitation system, a processing system for vertically processing a substrate, and a method for transporting a carrier

Country Status (3)

CountryLink
KR (1)KR102430391B1 (en)
CN (1)CN112218971A (en)
WO (1)WO2019223872A1 (en)

Families Citing this family (2)

* Cited by examiner, † Cited by third party
Publication numberPriority datePublication dateAssigneeTitle
DE102018121745A1 (en)*2018-09-062020-03-12Aumann AG Method and device for producing an arrangement of coil elements for a plug-in coil of an electrical machine
WO2022100857A1 (en)*2020-11-132022-05-19Applied Materials, Inc.Carrier transport system, magnetic stabilization unit, carrier, and method for contactlessly transporting a carrier

Citations (8)

* Cited by examiner, † Cited by third party
Publication numberPriority datePublication dateAssigneeTitle
JPH07176593A (en)*1993-12-201995-07-14Ebara CorpConveyer
KR20080046761A (en)*2006-11-232008-05-28엘지디스플레이 주식회사 Substrate transfer device and thin film forming device having same
KR20080104479A (en)*2007-05-282008-12-03엘지디스플레이 주식회사 Substrate Transfer Device
KR20120088980A (en)*2011-02-012012-08-09(주)이루자Vaccum processing apparatus
US20150122180A1 (en)*2013-11-072015-05-07Samsung Display Co., Ltd.Substrate transfer apparatus and thin film deposition apparatus having the same
US20150303090A1 (en)*2012-09-102015-10-22Applied Materials, Inc.Substrate transfer device and method of moving substrates
WO2017198298A1 (en)*2016-05-182017-11-23Applied Materials, Inc.Apparatus and method for transport
CN107924859A (en)*2015-08-212018-04-17应用材料公司Equipment for the transport of substrate, for substrate application of vacuum equipment and maintenance for magnetic suspension system method

Family Cites Families (3)

* Cited by examiner, † Cited by third party
Publication numberPriority datePublication dateAssigneeTitle
WO1994001354A1 (en)*1992-07-071994-01-20Ebara CorporationMagnetically levitated carrying apparatus
TWI777060B (en)*2010-02-172022-09-11日商尼康股份有限公司 Conveyor device, exposure device, and device manufacturing method
KR101208372B1 (en)*2010-07-062012-12-05(주)가온솔루션Non-contact transfer system using magnet in different region

Patent Citations (8)

* Cited by examiner, † Cited by third party
Publication numberPriority datePublication dateAssigneeTitle
JPH07176593A (en)*1993-12-201995-07-14Ebara CorpConveyer
KR20080046761A (en)*2006-11-232008-05-28엘지디스플레이 주식회사 Substrate transfer device and thin film forming device having same
KR20080104479A (en)*2007-05-282008-12-03엘지디스플레이 주식회사 Substrate Transfer Device
KR20120088980A (en)*2011-02-012012-08-09(주)이루자Vaccum processing apparatus
US20150303090A1 (en)*2012-09-102015-10-22Applied Materials, Inc.Substrate transfer device and method of moving substrates
US20150122180A1 (en)*2013-11-072015-05-07Samsung Display Co., Ltd.Substrate transfer apparatus and thin film deposition apparatus having the same
CN107924859A (en)*2015-08-212018-04-17应用材料公司Equipment for the transport of substrate, for substrate application of vacuum equipment and maintenance for magnetic suspension system method
WO2017198298A1 (en)*2016-05-182017-11-23Applied Materials, Inc.Apparatus and method for transport

Also Published As

Publication numberPublication date
WO2019223872A1 (en)2019-11-28
KR102430391B1 (en)2022-08-05
KR20210011437A (en)2021-02-01

Similar Documents

PublicationPublication DateTitle
US11377310B2 (en)Magnetic levitation system, base of a magnetic levitation system, vacuum system, and method of contactlessly holding and moving a carrier in a vacuum chamber
CN109154066B (en) Apparatus and methods for transporting depositional sources
US12119173B2 (en)Magnetic levitation system, base and carrier of a magnetic levitation system, and method of levitating a carrier
CN109983153A (en)Equipment for non-contact transport of the carrier in depositing system, the system of the non-contact transport for carrier, for the carrier of the non-contact transport in depositing system and the method for the non-contact transport for carrier in depositing system
WO2020001751A1 (en)Magnetic levitation system for transporting a carrier, carrier for a magnetic levitation system, apparatus for transportation of a carrier, processing system for vertically processing a substrate, and method of switching a transport path of a carrier
CN114600228B (en) Magnetic levitation system, handling system and method for transporting carrier
KR102430391B1 (en) A magnetic levitation system for transporting a carrier, a carrier for a magnetic levitation system, a processing system for vertically processing a substrate, and a method of transporting the carrier
CN112640073B (en) Equipment for transporting a first carrier and a second carrier, a processing system for vertically processing a substrate, and a method therefor
CN112867878B (en)Carrier for carrying planar objects, transport system for transporting a carrier, method for transporting a carrier in a contactless manner, and method for producing a coated substrate
WO2022100857A1 (en)Carrier transport system, magnetic stabilization unit, carrier, and method for contactlessly transporting a carrier
CN112189058B (en)Apparatus for transporting carrier, processing system for vertically processing substrate, and method of switching transport path of carrier
CN218069804U (en)Magnetic levitation system for transporting a carrier, base structure therefor and vacuum deposition system
CN109983152A (en)Equipment for transport carrier contactless in depositing system, the system for contactless transport carrier and the method for transport carrier contactless in depositing system
KR102866536B1 (en) A carrier for transporting an object in a vacuum chamber, a method for manufacturing the carrier, a carrier transport system and a vacuum processing device
WO2021197586A1 (en)Carrier transportation apparatus, carrier transport system, processing system and method of transporting a carrier

Legal Events

DateCodeTitleDescription
PB01Publication
PB01Publication
SE01Entry into force of request for substantive examination
SE01Entry into force of request for substantive examination

[8]ページ先頭

©2009-2025 Movatter.jp