Movatterモバイル変換


[0]ホーム

URL:


CN112007235B - Transfusion system with auxiliary medicine mixing mechanism - Google Patents

Transfusion system with auxiliary medicine mixing mechanism
Download PDF

Info

Publication number
CN112007235B
CN112007235BCN202011044760.4ACN202011044760ACN112007235BCN 112007235 BCN112007235 BCN 112007235BCN 202011044760 ACN202011044760 ACN 202011044760ACN 112007235 BCN112007235 BCN 112007235B
Authority
CN
China
Prior art keywords
liquid
mixing mechanism
mixing
medicine
infusion set
Prior art date
Legal status (The legal status is an assumption and is not a legal conclusion. Google has not performed a legal analysis and makes no representation as to the accuracy of the status listed.)
Active
Application number
CN202011044760.4A
Other languages
Chinese (zh)
Other versions
CN112007235A (en
Inventor
裴克
谢琦莲
郭佳音
朱晶晶
李琳
Current Assignee (The listed assignees may be inaccurate. Google has not performed a legal analysis and makes no representation or warranty as to the accuracy of the list.)
First Affiliated Hospital of Henan University of Science and Technology
Original Assignee
First Affiliated Hospital of Henan University of Science and Technology
Priority date (The priority date is an assumption and is not a legal conclusion. Google has not performed a legal analysis and makes no representation as to the accuracy of the date listed.)
Filing date
Publication date
Application filed by First Affiliated Hospital of Henan University of Science and TechnologyfiledCriticalFirst Affiliated Hospital of Henan University of Science and Technology
Priority to CN202011044760.4ApriorityCriticalpatent/CN112007235B/en
Publication of CN112007235ApublicationCriticalpatent/CN112007235A/en
Application grantedgrantedCritical
Publication of CN112007235BpublicationCriticalpatent/CN112007235B/en
Activelegal-statusCriticalCurrent
Anticipated expirationlegal-statusCritical

Links

Images

Classifications

Landscapes

Abstract

Translated fromChinese

一种带有辅助混药机构的输液器,包括输液器本体,所述的输液器本体包括输液软管和设置在输液软管上的穿刺管、滴壶、药液过滤器、流速调节器、空气过滤器和注射针;还设有一用于向滴壶内添加混合药液的辅助混药机构,所述的辅助混药机构包括将多种固态粉末状药物和液态溶剂溶解并混匀的混匀机构和将混匀机构输出的混合药液送入滴壶内的药液输入机构。本方案通过在输液器的滴壶处加装辅助混药机构,实现了多种固态粉末状药物和液态溶剂同步进行搅拌、摇匀、输送、二次混匀的过程,减轻了医生的工作量,提高了输液效率。

Figure 202011044760

An infusion set with an auxiliary medicine mixing mechanism, comprising an infusion set body, the infusion set body includes an infusion hose and a puncture tube, a dripping pot, a medicinal liquid filter, a flow rate regulator, Air filter and injection needle; an auxiliary medicine mixing mechanism for adding mixed medicine liquid into the dripping pot is also provided. A mixing mechanism and a liquid medicine input mechanism that sends the mixed liquid medicine output by the mixing mechanism into the dripping pot. In this scheme, by adding an auxiliary medicine mixing mechanism at the drip pot of the infusion set, the process of simultaneous stirring, shaking, transporting and secondary mixing of various solid powder medicines and liquid solvents is realized, which reduces the workload of doctors , improve the infusion efficiency.

Figure 202011044760

Description

Transfusion system with auxiliary medicine mixing mechanism
Technical Field
The invention relates to an infusion apparatus in the medical field, in particular to an infusion apparatus with an auxiliary medicine mixing mechanism.
Background
As is known, an infusion set is a common medical consumable, and is used for infusion after aseptic processing to establish a channel between a vein and a liquid medicine. Generally comprises eight parts of an injection needle, a needle head protective cap, a transfusion hose, a liquid medicine filter, a flow rate regulator, a drip cup, a bottle stopper puncture outfit, an air filter and the like which are connected;
at present, because the liquid medicine for infusion is not a single liquid medicine, but is a mixed liquid medicine consisting of a plurality of solid powdered medicines, a liquid solvent and auxiliary nutrient solution, the conventional medicine mixing process generally comprises the following procedures: taking out various solid powdery medicine bottles by a nurse, respectively taking liquid solvents from a needle tube, pumping the liquid solvents into each solid powdery medicine bottle, shaking the medicine bottles uniformly, generally putting the medicine bottles into a shaking machine, shaking the medicine bottles for a period of time, taking out the liquid medicines in the medicine bottles by the needle tube, mixing the liquid medicines into a mixing bottle, and adding the liquid medicines into an infusion bottle for infusion, wherein the process can be seen that the mixed liquid medicines are required to be mixed, stirred and shaken uniformly in advance before being added, the time required in the process is longer, and particularly when various solid powder which is difficult to dissolve is encountered, the liquid medicines are required to be prepared in advance before infusion;
based on the above analysis, there is a need for an infusion set with an auxiliary medicine mixing mechanism.
Disclosure of Invention
In order to solve the technical problems, the invention aims to provide an infusion apparatus with an auxiliary medicine mixing mechanism, wherein the auxiliary medicine mixing mechanism is additionally arranged at a drip cup of the infusion apparatus, so that the processes of synchronously stirring, shaking, conveying and secondarily mixing various solid powdered medicines and liquid solvents are realized, and the workload of medical staff is reduced.
The technical scheme adopted by the invention is as follows:
an infusion apparatus with an auxiliary medicine mixing mechanism comprises an infusion apparatus body, wherein the infusion apparatus body comprises an infusion hose, and a puncture tube, a drip cup, a liquid medicine filter, a flow rate regulator, an air filter and an injection needle which are arranged on the infusion hose;
still be equipped with one and be used for to adding the supplementary medicine mechanism that mixes of mixing liquid medicine in the drip chamber, supplementary medicine mechanism that mixes include the mixing mechanism that dissolves and the mixing with multiple solid-state powdered medicine and liquid solvent and send the mixed liquid medicine of mixing mechanism output into the liquid medicine input mechanism in the drip chamber, be equipped with the liquid medicine filter on the pipeline between mixing mechanism and liquid medicine input mechanism.
Further optimize, mixing mechanism including horizontal stirring transport section of thick bamboo and mixing section of thick bamboo, horizontal stirring transport section of thick bamboo be equipped with one and carry the feed cylinder, be equipped with one by power unit driven (mixing) shaft in carrying the feed cylinder, be equipped with a plurality of feed inlets that communicate with carrying the feed cylinder inner chamber in the upper end of carrying the feed cylinder, carry the discharge gate that the feed cylinder downside set up and the feed end sealing connection of mixing section of thick bamboo.
Further preferably, the stirring shaft is provided with spiral blades, and the edges of the spiral blades and the inner wall of the conveying charging barrel form sealing.
Further optimize, mixing section of thick bamboo be equipped with a barrel that has the inner chamber, be equipped with a plurality of in the barrel and be the baffle of annular and downward sloping, a plurality of baffles are the fixed setting on the barrel inner wall of certain interval, the middle part that is located the barrel still is equipped with a axis of rotation by power unit drive, all is equipped with a stirring vane in the axis of rotation between two arbitrary adjacent baffles.
Further optimize, all be equipped with two on the axis of rotation between two arbitrary adjacent baffles stirring vane, two stirring vane and through the connecting rod symmetry setting on the axis of rotation.
Further optimization, the included angle between the baffle and the horizontal plane is 30-45 degrees.
The liquid medicine input mechanism is further optimized to comprise a liquid storage ring, a clamping fixing sleeve and a liquid inlet needle, wherein the liquid storage ring is provided with an annular liquid storage cavity, the liquid storage cavity is connected with a liquid medicine outlet end of the blending mechanism through a liquid inlet pipe, the clamping fixing sleeve comprises a lantern ring clamped on the peripheral surface of the drip cup and a locking component used for locking the lantern ring, a through hole used for inserting the liquid inlet needle is formed in the lantern ring, one end of the liquid inlet needle is inserted into the drip cup through the through hole, and the other end of the liquid inlet needle is communicated with the liquid storage cavity of the liquid storage ring through a hose; a heating assembly is arranged in the lantern ring.
The clamping fixing sleeve is composed of two semicircular lantern rings, one ends of the two semicircular lantern rings are rotatably connected through a rotating shaft, and the other ends of the two semicircular lantern rings are fixed through rubber studs; a heating assembly is arranged in the lantern ring.
The invention has the beneficial effects that:
the auxiliary medicine mixing mechanism is used for adding mixed medicine liquid into the drip cup, and comprises a mixing mechanism for dissolving and mixing various solid powdered medicines and liquid solvents, and a medicine liquid input mechanism for feeding the mixed medicine liquid output by the mixing mechanism into the drip cup, wherein a medicine liquid filter is arranged on a pipeline between the mixing mechanism and the medicine liquid input mechanism, so that the processes of synchronously stirring, shaking, conveying and secondarily mixing various solid powdered medicines and liquid solvents are realized, the workload of medical personnel is reduced, and the infusion efficiency is improved.
Secondly, the blending mechanism comprises a transverse stirring and conveying cylinder and a blending cylinder, wherein the transverse stirring and conveying cylinder is provided with a conveying cylinder with a longitudinal length, and a spiral blade capable of being used for stirring and conveying is arranged in the conveying cylinder, so that a plurality of mixed medicines and solvents can be stirred, blended and conveyed for the first time in the conveying cylinder, and the stirring effect can be realized by adjusting the angle of the spiral blade.
Thirdly, the mixing drum of the invention is provided with a drum body with an inner cavity, a plurality of baffle plates which are annular and incline downwards are arranged in the drum body, the baffle plates are fixedly arranged on the inner wall of the drum body at certain intervals, a rotating shaft driven by a power mechanism is also arranged in the middle of the drum body, and a stirring blade is arranged on the rotating shaft between any two adjacent baffle plates, thus the structure can be seen: the liquid medicine freely slides down along the baffle and is impacted for a plurality of times through the rotating blades, so that the liquid medicine is uniformly mixed for a plurality of times in the falling process, and the uniformly mixing effect is improved.
The liquid medicine input mechanism comprises a liquid storage ring, a clamping fixing sleeve and a liquid inlet needle, wherein the liquid storage ring is provided with an annular liquid storage cavity, the liquid storage cavity is connected with a liquid medicine outlet end of a mixing mechanism through a liquid inlet pipe, the clamping fixing sleeve comprises a lantern ring used for clamping the outer peripheral surface of a drip cup and a locking component used for locking the lantern ring, the liquid medicine after mixing is intensively mixed in the liquid storage cavity and is sent into the drip cup through the liquid inlet needles, a heating component is further arranged on the lantern ring, and heating is achieved in the liquid medicine mixing process.
Drawings
FIG. 1 is a schematic structural view of the invention;
FIG. 2 is a schematic structural view of an embodiment of the lateral mixing and conveying cylinder of the present invention;
FIG. 3 is a schematic structural view of another embodiment of a transverse mixing and conveying cylinder according to the present invention;
FIG. 4 is a schematic view of the mixing drum of the present invention;
FIG. 5 is a schematic view showing the structure of the chemical liquid feeding mechanism of the present invention.
Detailed Description
The invention is described in detail below by way of exemplary embodiments. It should be understood, however, that elements, structures and features of one embodiment may be beneficially incorporated in other embodiments without further recitation.
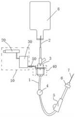
An infusion apparatus with auxiliary medicine mixing mechanism, including the transfusion apparatus body, the said transfusion apparatus body includes theflexible hose 1 of infusion andpuncture tube 2, drip cup 3, liquid medicine filter 4,flow rate regulator 5, air filter 6 andsyringe needle 7 set inflexible hose 1 of infusion,puncture tube 2 is inserted into medicine bag ormedicine bottle 8, the above-mentioned structure is prior art, the invention does not have any improvement to the above-mentioned part and connection relation, therefore the concrete structure and connection relation, position relation of the above-mentioned component are not specifically explained any more, technicians in this field can adjust according to the scheme recorded on experience or medical books completely, the following specifically describes the key improved part of the invention;
the main improvement points in the scheme are as follows: as shown in fig. 1, an auxiliary medicine mixing mechanism for adding mixed medicine liquid into the drip cup 3 is provided, the auxiliary medicine mixing mechanism comprises amixing mechanism 10 for dissolving and mixing various solid powdered medicines and liquid solvents, and a medicineliquid input mechanism 40 for sending the mixed medicine liquid output by the mixing mechanism into the drip cup, and amedicine liquid filter 50 is arranged on a pipeline between themixing mechanism 10 and the medicineliquid input mechanism 40. As can be seen from the above description, theblending mechanism 10 is added to synchronously stir, shake and convey a plurality of solid powdered drugs and liquid solvents, and the solid powdered drugs and the liquid solvents are filtered by theliquid drug filter 50 and then are fed into the drip cup 3 through the liquiddrug input mechanism 40.
Particularly, thismixing mechanism 10 is including horizontal stirring transport section ofthick bamboo 20 and mixing section ofthick bamboo 30, as shown in fig. 2, horizontal stirring transport section ofthick bamboo 20 be equipped with atransport feed cylinder 21, be equipped with one bypower unit 22 driven (mixing)shaft 23 intransport feed cylinder 21, (mixing)shaft 23 on be equipped withheliciform blade 26, the edge ofheliciform blade 26 forms the movive seal with the inner wall of transport feed cylinder, that is to say, athelical blade 26 rotation process, the border of its blade forms sealedly with the inner wall oftransport feed cylinder 21, mixed liquid is through the appearance chamber between the heliciform blade and is forward the propelling movement in proper order, be equipped with a plurality of feed inlets 24 with transport feed cylinder inner chamber intercommunication in the upper end oftransport feed cylinder 21, thedischarge gate 25 that transport feed cylinder downside set up and the feed end sealing connection of mixing section ofthick bamboo 30.
It should be noted that, in order to achieve a better stirring effect, the transverse stirring and conveyingcylinder 20 may be configured as follows, as shown in fig. 3, a conveyingcylinder 21 is provided, a stirring shaft driven by a power mechanism is provided in the conveying cylinder, a helical blade is provided on the stirring shaft, the conveyingcylinder 21 is divided into two sections, one part near the feed port 24 is a stirringsection 27, the other part is aconveying section 29, a plurality of feed ports are provided in the stirring section, a discharge port is provided at the end of the conveying section, the conveying section is located in the stirringsection 27, the edge of the helical blade of the stirring shaft is serrated, and a plurality of stirringrods 28 are provided on thestirring shaft 23; the spiral blade edge of the stirring shaft of the conveying section is sealed with the inner wall of the conveying charging barrel.
This structure can be realized in stirringsection 27, and the helical blade of cockscomb structure has two better effects: firstly, a gap is formed at the edge of the blade, the mixed liquid medicine continuously flows back at the gap and is fully mixed with the liquid medicine at the rear part, and the uniform mixing effect is better; and secondly, the serrated blades and the stirring rod form a double stirring and crushing effect, so that the stirring is more sufficient. In theconveying section 29, the edge of the spiral blades and the inner wall of the conveying charging barrel form dynamic seal, and the mixed liquid is sequentially pushed forwards through the containing cavities among the spiral blades.
Further describe mixingdrum 30's structure, as shown in fig. 4, mixingdrum 30 be equipped with abarrel 31 that has the inner chamber, be equipped with a plurality ofbaffle 32 that is annular and downward sloping inbarrel 31, a plurality ofbaffle 32 are the fixed setting of a determining deviation on the barrel inner wall, the middle part that is located the barrel still is equipped with a axis ofrotation 34 bypower unit 33 driven, all be equipped with a stirringvane 35 in the axis of rotation between two arbitrary adjacent baffles, stirringvane 35's border extends to directly overbaffle 32,barrel 31 upper end is provided withinlet 36,inlet 36 and thedischarge gate 25 sealing connection who carriesfeed cylinder 21,barrel 31 lower extreme is provided withliquid outlet 37.
By describing the above structure, we can analyze that: the mixed liquid medicine of horizontal stirringtransport cylinder 20 output flows into thebarrel 31 inner chamber throughinlet 36, at first can be earlier through annular baffle landing downwards,rotatory stirring vane 35 is touched to the landing process, mixes the liquid medicine and throws away and striking many times and realize the mixing again through rotatory effort, can constitute a mixing cavity with each layer of baffle and corresponding stirring vane this moment, can see out, set up the multilayer mixing cavity in this barrel, and the mixing effect reaches the best.
It should be noted that the stirring blade of the kneading cylinder may be a plate-like member having a curved shape, and the stirring blade having a curved shape is preferable to be the same as the shape of the fan blade, in order to strike and throw out the mixed liquid droplets.
The structure of the baffle is further optimized, and the included angle between thebaffle 32 and the horizontal plane is 30-45 degrees in consideration of the fact that the mixed liquid medicine does not need to be rapidly sent into the drip cup.
As shown in fig. 4, twostirring blades 35 may be disposed on the rotatingshaft 34 between any twoadjacent baffles 32, and the two stirring blades are symmetrically disposed on the rotating shaft through a connecting rod.
The power mechanism used in the transverse stirring and conveyingcylinder 20 and the blendingcylinder 30 may be a pneumatic motor in consideration of the available air source in the field, and of course, those skilled in the art may select other power components according to their functions.
Further describe liquidmedicine input mechanism 40's structure, as shown in fig. 5, liquidmedicine input mechanism 40 include that aliquid storage ring 41, thefixed cover 42 of centre gripping andliquid inlet needle 43 constitute,liquid storage ring 41 have an annular stock solution cavity, the stock solution cavity is connected withmixing barrel 30'sliquid outlet 37 through the connecting line throughimport 411, thefixed cover 42 of centre gripping including being used for the centre gripping at thelantern ring 421 of drip cup peripheral face and being used for the locking part with the lantern ring locking, the lantern ring on be equipped with the through-hole 422 that is used for inserting the liquid inlet needle,liquid inlet needle 43 one end is passed through this through-hole 422 and is inserted drip cup 3 in, the liquid inlet needle other end is linked together through the stock solution cavity ofhose 431 withliquid storage ring 41. The structure can further relieve the outflow speed of the mixed liquid medicine and better mix the mixed liquid medicine with the liquid medicine in the drip cup.
In order to achieve a better using effect, the clampingfixing sleeve 42 can be made into twosemicircular sleeve rings 421, one ends of the twosemicircular sleeve rings 421 are rotatably connected through a rotating shaft, and the other ends can be fixed through rubber studs; a heating component can be arranged in the lantern ring, so that heating is realized in the process of mixing the liquid medicine.
The previous description of the disclosed embodiments is provided to enable any person skilled in the art to make or use the present invention. Various modifications to these embodiments will be readily apparent to those skilled in the art, and the generic principles defined herein may be applied to other embodiments without departing from the spirit or scope of the invention. Thus, the present invention is not intended to be limited to the embodiments shown herein but is to be accorded the widest scope consistent with the principles and novel features disclosed herein.

Claims (8)

Translated fromChinese
1.一种带有辅助混药机构的输液器,包括输液器本体,所述的输液器本体包括输液软管和设置在输液软管上的穿刺管、滴壶、药液过滤器、流速调节器、空气过滤器和注射针,1. An infusion set with an auxiliary medicine mixing mechanism, comprising an infusion set body, and the infusion set body includes an infusion hose and a puncture tube, a drip pot, a medicinal liquid filter, a flow rate adjustment device arranged on the infusion hose filter, air filter and injection needle,其特征在于:还设有一用于向滴壶内添加混合药液的辅助混药机构,所述的辅助混药机构包括将多种固态粉末状药物和液态溶剂溶解并混匀的混匀机构和将混匀机构输出的混合药液送入滴壶内的药液输入机构,在混匀机构和药液输入机构之间的管路上设有药液过滤器;It is characterized in that: there is also an auxiliary medicine mixing mechanism for adding mixed medicine liquid into the dripping pot, and the auxiliary medicine mixing mechanism includes a mixing mechanism for dissolving and mixing a variety of solid powder medicines and liquid solvents and a mixing mechanism. The mixed medicinal liquid output by the mixing mechanism is sent to the medicinal liquid input mechanism in the dripping pot, and a medicinal liquid filter is arranged on the pipeline between the mixing mechanism and the medicinal liquid input mechanism;所述的混匀机构包括横向搅拌输送筒和混匀筒,所述的横向搅拌输送筒设有一输送料筒,在输送料筒内设有一由动力机构驱动的搅拌轴,在输送料筒的上端设有多个与输送料筒内腔连通的进料口,输送料筒下侧设置的出料口与混匀筒的进料端密封连接;The mixing mechanism includes a horizontal mixing and conveying cylinder and a mixing cylinder. The transverse mixing and conveying cylinder is provided with a conveying cylinder, and a stirring shaft driven by a power mechanism is arranged in the conveying cylinder. There are a plurality of feeding ports connected with the inner cavity of the conveying barrel, and the discharging port provided on the lower side of the conveying barrel is sealed and connected with the feeding end of the mixing barrel;所述的药液输入机构包括一储液环、夹持固定套和进液针组成,所述的储液环具有一环状的储液腔室,储液腔室通过进液管与混匀机构的药液出口端相连接,所述的夹持固定套包括用于夹持在滴壶外周面的套环和用于将套环锁紧的锁紧部件,所述的套环上设有用于插入进液针的通孔,进液针一端通过该通孔插入滴壶内,进液针另一端通过软管与储液环的储液腔室相连通。The liquid medicine input mechanism includes a liquid storage ring, a clamping and fixing sleeve and a liquid inlet needle. The liquid storage ring has an annular liquid storage chamber. The liquid medicine outlet end of the mechanism is connected to each other, and the clamping and fixing sleeve includes a collar for clamping on the outer peripheral surface of the drip pot and a locking part for locking the collar. Into the through hole of the liquid inlet needle, one end of the liquid inlet needle is inserted into the drip pot through the through hole, and the other end of the liquid inlet needle is communicated with the liquid storage chamber of the liquid storage ring through a hose.2.根据权利要求1所述的一种带有辅助混药机构的输液器,其特征在于:所述的搅拌轴上设有螺旋状叶片,螺旋叶片的边缘与输送料筒的内壁形成密封。2 . An infusion set with an auxiliary medicine mixing mechanism according to claim 1 , wherein the stirring shaft is provided with a helical blade, and the edge of the helical blade forms a seal with the inner wall of the conveying barrel. 3 .3.根据权利要求1所述的一种带有辅助混药机构的输液器,其特征在于:所述的混匀筒设有一具有内腔的筒体,在筒体内设有若干个呈环形且向下倾斜的挡板,多个挡板呈一定间距固定设置在筒体内壁上,位于筒体的中部还设有一由动力机构驱动的转动轴,任意两个相邻的挡板之间的转动轴上均设有一搅拌叶片,搅拌叶片的边沿延伸至挡板的正上方。3. The infusion set with auxiliary medicine mixing mechanism according to claim 1, characterized in that: the mixing cylinder is provided with a cylinder body with an inner cavity, and a plurality of ring-shaped and The downwardly inclined baffle, a plurality of baffles are fixedly arranged on the inner wall of the cylinder at a certain distance, and there is also a rotating shaft driven by a power mechanism in the middle of the cylinder, and the rotation between any two adjacent baffles A stirring blade is arranged on the shaft, and the edge of the stirring blade extends to just above the baffle.4.根据权利要求3所述的一种带有辅助混药机构的输液器,其特征在于:任意两个相邻的挡板之间的转动轴上均设有两个所述的搅拌叶片,两个所述的搅拌叶片并通过连接杆对称设置在转动轴上。4. a kind of infusion device with auxiliary medicine mixing mechanism according to claim 3, is characterized in that: the rotating shaft between any two adjacent baffle plates is provided with two described stirring blades, The two stirring blades are symmetrically arranged on the rotating shaft through the connecting rod.5.根据权利要求3所述的一种带有辅助混药机构的输液器,其特征在于:所述的挡板与水平面之间的夹角呈30-45度。5 . The infusion set with an auxiliary medicine mixing mechanism according to claim 3 , wherein the included angle between the baffle and the horizontal plane is 30-45 degrees. 6 .6.根据权利要求1所述的一种带有辅助混药机构的输液器,其特征在于:所述的套环内设有加热组件。6 . The infusion set with an auxiliary medicine mixing mechanism according to claim 1 , wherein a heating assembly is provided in the collar. 7 .7.根据权利要求1所述的一种带有辅助混药机构的输液器,其特征在于:所述的夹持固定套由两个半圆形套环组成,两个半圆形套环的一端通过转轴转动连接,另一端通过橡胶螺柱固定。7. An infusion set with an auxiliary medicine mixing mechanism according to claim 1, wherein the clamping and fixing sleeve is composed of two semicircular collars, and the two semicircular collars are One end is connected by rotating shaft, and the other end is fixed by rubber stud.8.根据权利要求7所述的一种带有辅助混药机构的输液器,其特征在于:所述的套环内设有加热组件。8 . The infusion set with auxiliary medicine mixing mechanism according to claim 7 , wherein a heating assembly is arranged in the collar. 9 .
CN202011044760.4A2020-09-282020-09-28Transfusion system with auxiliary medicine mixing mechanismActiveCN112007235B (en)

Priority Applications (1)

Application NumberPriority DateFiling DateTitle
CN202011044760.4ACN112007235B (en)2020-09-282020-09-28Transfusion system with auxiliary medicine mixing mechanism

Applications Claiming Priority (1)

Application NumberPriority DateFiling DateTitle
CN202011044760.4ACN112007235B (en)2020-09-282020-09-28Transfusion system with auxiliary medicine mixing mechanism

Publications (2)

Publication NumberPublication Date
CN112007235A CN112007235A (en)2020-12-01
CN112007235Btrue CN112007235B (en)2022-03-01

Family

ID=73528248

Family Applications (1)

Application NumberTitlePriority DateFiling Date
CN202011044760.4AActiveCN112007235B (en)2020-09-282020-09-28Transfusion system with auxiliary medicine mixing mechanism

Country Status (1)

CountryLink
CN (1)CN112007235B (en)

Families Citing this family (1)

* Cited by examiner, † Cited by third party
Publication numberPriority datePublication dateAssigneeTitle
CN119345525B (en)*2024-12-242025-04-08内蒙古医科大学附属医院(内蒙古自治区心血管研究所) A chemotherapy infusion device for tumor patients

Citations (5)

* Cited by examiner, † Cited by third party
Publication numberPriority datePublication dateAssigneeTitle
CN103041468A (en)*2012-12-142013-04-17杭州科诺过滤器材有限公司Infusion apparatus drip chamber and infusion apparatus capable of preventing blood return
CN207640669U (en)*2017-05-272018-07-24重庆西农大科信动物药业有限公司A kind of vertical medicament production equipment
CN108816137A (en)*2018-06-112018-11-16张红霞A kind of medical treatment internal medicine medicament-mixing device
CN208339892U (en)*2017-08-172019-01-08吉林大学A kind of infant's respiration section drug delivery device
CN111228609A (en)*2020-03-162020-06-05仲恩旭Disposable automatic transfusion system

Family Cites Families (4)

* Cited by examiner, † Cited by third party
Publication numberPriority datePublication dateAssigneeTitle
DE102004010062B3 (en)*2004-03-022005-09-08Drägerwerk AG Device for dosing substances
CN206414556U (en)*2016-08-182017-08-18刘芳A kind of clinical care transfusion device
CN210675041U (en)*2019-08-012020-06-05上海东海制药股份有限公司Medicine preparation apparatus for producing for biological medicine
CN211069075U (en)*2019-10-042020-07-24江西馨源香料有限公司Distillation still stirring device

Patent Citations (5)

* Cited by examiner, † Cited by third party
Publication numberPriority datePublication dateAssigneeTitle
CN103041468A (en)*2012-12-142013-04-17杭州科诺过滤器材有限公司Infusion apparatus drip chamber and infusion apparatus capable of preventing blood return
CN207640669U (en)*2017-05-272018-07-24重庆西农大科信动物药业有限公司A kind of vertical medicament production equipment
CN208339892U (en)*2017-08-172019-01-08吉林大学A kind of infant's respiration section drug delivery device
CN108816137A (en)*2018-06-112018-11-16张红霞A kind of medical treatment internal medicine medicament-mixing device
CN111228609A (en)*2020-03-162020-06-05仲恩旭Disposable automatic transfusion system

Also Published As

Publication numberPublication date
CN112007235A (en)2020-12-01

Similar Documents

PublicationPublication DateTitle
CN204411484U (en)A kind of otorhinolaryngology administrator
CN112007235B (en)Transfusion system with auxiliary medicine mixing mechanism
CN110613614A (en)Easy-to-dispense syringe and working method thereof
CN210964872U (en)Liquid medicine mixing stirring device for biological medicine
CN101018710A (en)By-pass line connector for compounding system
CN106924046A (en)Medicine-carrying capsule prepares shower nozzle and medicine-carrying capsule preparation facilities
CN212440895U (en)Mixing arrangement is used in medical treatment drug manufacturing
JP2000513650A (en) Dosing device for mixing a flowing primary liquid with one or more secondary liquids to be added in a continuous process
CN211301458U (en)Novel medical gastrolavage device for paediatrics
JP2012200722A (en)Powder dissolving apparatus
CN212016198U (en) Nutrient solution infusion device
CN110897896B (en)Clinical care medicine feeding device
CN211751129U (en)Paediatrics medicine feed ware
CN211157420U (en)Nutrient solution allotment feeding device
CN210872218U (en)Special continuous drencher of poultry animal doctor
CN207768744U (en)Dispenser
CN106139999A (en)Medical pair of jar agitator
CN113976000A (en)Small-size batching jar for injection
CN215916184U (en)Breathe internal medicine patient treatment with device of dosing
CN215134655U (en) An infusion set with a liquid premixing device
CN216458294U (en)Full-automatic intravenous fluid preparation device
CN212439383U (en) A kind of special medicine mixing tube for gastrointestinal tube
CN108703882B (en) A medical stirrer
CN217594522U (en)Solid-liquid combined type material line dosing equipment
CN211358562U (en)Powder animal remedy blendor

Legal Events

DateCodeTitleDescription
PB01Publication
PB01Publication
SE01Entry into force of request for substantive examination
SE01Entry into force of request for substantive examination
GR01Patent grant
GR01Patent grant

[8]ページ先頭

©2009-2025 Movatter.jp