




技术领域technical field
本发明涉及一种用于沼气静压排放的连杆伸缩式可回收锥头装置及操作方法,适用于地下沼气静压排放施工,尤其是软土地区地铁施工,属土建筑工程技术领域。The invention relates to a connecting rod telescopic recyclable cone head device for static pressure discharge of biogas and an operation method thereof, which are suitable for static pressure discharge construction of underground biogas, especially subway construction in soft soil areas, and belong to the technical field of soil construction engineering.
背景技术Background technique
随着我国地下空间不断发展,地下沼气作为影响地铁工程的危害因素之一,对地铁施工及建设有着非常不利影响,因此,针对待建地铁工程施工常常采取预先排气的方式来减小地下沼气对后期施工带来的诸多不利影响。软土地区地铁工程施工时沼气通常采取静压排放法,即通过静压和上拔探杆的方式排放沼气,在探杆下端部安装一次性锥头以便增大杆端压强,使得探杆顺利进入设计排放深度,当沼气通过压差沿着探杆内部上升时,在探杆口连接各种阀门、沉淀池(气液分离器)、压力计和流量计测试沼气压力和流量。常规的静压沼气排放施工需要按照“一孔位,一锥头”的方式满足多个孔位的排气工作,不可回收的遗留锥头同样存在着损伤盾构设备的危险,孔位布置范围常常需保持在隧道结构线外侧3~5m,其布置的局限性极易造成沼气的不完全排放,影响隧道结构的稳定性及机组人员安全,因此,常规的软土地区沼气静压排放施工中一次性不可回收锥头的使用,不仅增加了施工难度又加大了施工成本、影响施工质量。With the continuous development of underground space in our country, underground biogas, as one of the hazard factors affecting subway projects, has a very negative impact on subway construction and construction. Therefore, pre-exhaust methods are often adopted for the construction of subway projects to be built to reduce underground biogas. Many adverse effects on later construction. During the construction of subway projects in soft soil areas, the static pressure discharge method is usually adopted, that is, the biogas is discharged by static pressure and pulling up the probe rod. Enter the design discharge depth, when the biogas rises along the inside of the probe through the pressure difference, connect various valves, sedimentation tanks (gas-liquid separator), pressure gauges and flowmeters at the probe port to test the pressure and flow of the biogas. The conventional static pressure biogas discharge construction needs to meet the exhaust work of multiple holes in the way of "one hole, one cone". The unrecoverable left cone also has the danger of damaging the shield equipment. The hole layout range It is often necessary to keep 3 to 5m outside the tunnel structure line, and the limitations of its layout can easily lead to incomplete discharge of biogas, which affects the stability of the tunnel structure and the safety of crew members. Therefore, the static pressure discharge construction of biogas in conventional soft soil areas The use of the one-time non-recyclable cone head not only increases the difficulty of construction, but also increases the construction cost and affects the construction quality.
发明内容SUMMARY OF THE INVENTION
为了克服软土地区现有沼气静压排放锥头装置成本高、工期长、后续排气效果差等不足,本发明提供了一种用于沼气静压排放的连杆伸缩式可回收锥头装置,能有效地克服上述软土地区沼气静压排放中采用常规锥头装置及其操作方法的缺点;本装置不但可以实现对沼气静压排放锥头的有效回收和循环利用,而且工期短、操作方便、造价低、后续排气效果佳。In order to overcome the shortcomings of the existing biogas static pressure discharge cone head device in soft soil areas, such as high cost, long construction period and poor follow-up exhaust effect, the present invention provides a connecting rod telescopic recyclable cone head device for biogas static pressure discharge , can effectively overcome the above-mentioned shortcomings of the conventional cone head device and its operation method in the static pressure discharge of biogas in soft soil areas; the device can not only realize the effective recovery and recycling of the biogas static pressure discharge cone head, but also has a short construction period and easy operation. Convenient, low cost, good follow-up exhaust effect.
本发明解决其技术问题所采用的技术方案是:The technical scheme adopted by the present invention to solve its technical problems is:
一种沼气静压排放的连杆伸缩式可回收锥头装置,包括连接管套、外筒管套、伸缩片和锥尖,所述连接管套的上端与探杆下端部连接,所述连接管套的下部设有排气口,所述外筒管套套装在所述连接管套外且所述外筒管套的上端固定在连接管套的外壁,所述外筒管套的下端通过活动连接件与所述伸缩片的上部连接,所述连接管套的底面设有上铰支座,所述上铰支座与连接杆件的上端连接,所述连接杆件的下端与下铰支座连接,所述下铰支座位于所述伸缩片的内侧中部,所述伸缩片与所述锥尖连接。A connecting rod telescopic recoverable cone head device for static pressure discharge of biogas comprises a connecting pipe sleeve, an outer barrel pipe sleeve, a telescopic piece and a cone tip, the upper end of the connecting pipe sleeve is connected with the lower end of a probe rod, and the connection The lower part of the tube sleeve is provided with an exhaust port, the outer tube tube sleeve is sleeved outside the connecting tube sleeve, the upper end of the outer tube tube sleeve is fixed on the outer wall of the connecting tube sleeve, and the lower end of the outer tube tube sleeve passes through the connecting tube sleeve. The movable connecting piece is connected with the upper part of the telescopic piece, the bottom surface of the connecting sleeve is provided with an upper hinge support, the upper hinge support is connected with the upper end of the connecting rod, and the lower end of the connecting rod is connected with the lower hinge The lower hinge support is located in the inner middle part of the expansion sheet, and the expansion sheet is connected with the cone tip.
进一步,所述连接管套的上端部设有外螺纹,所述探杆下端部设有内螺纹段,所述连接管套的上端的外螺纹安装在所述探杆下端部的内螺纹段内。Further, the upper end of the connecting pipe sleeve is provided with an external thread, the lower end of the probe rod is provided with an internal thread section, and the external thread of the upper end of the connecting pipe sleeve is installed in the internal thread section of the lower end of the probe rod .
再进一步,所述外筒管套的上端与连接管套的外壁卡扣式连接。Still further, the upper end of the outer tube sleeve is connected with the outer wall of the connecting tube sleeve in a snap-fit connection.
更进一步,所述伸缩片上设有伸缩卡口,所述锥尖上设有与所述伸缩卡口配合的卡槽,所述伸缩卡口卡接在所述卡槽内。Further, a telescopic bayonet is provided on the stretchable sheet, and a clamping slot matched with the telescopic bayonet is provided on the cone tip, and the telescopic bayonet is clamped in the bayonet slot.
所述连接管套的截面为方形,所述伸缩片设有四片,分别位于方形的一条边上。The cross section of the connecting tube sleeve is square, and the expansion sheet is provided with four pieces, which are respectively located on one side of the square.
一种沼气静压排放的连杆伸缩式可回收锥头装置的操作方法,包括以下步骤:An operation method of a connecting rod telescopic type recoverable cone head device for static pressure discharge of biogas, comprising the following steps:
(a)根据该站点施工段土层状况及深度,选择静压法沼气处理方案,下压锥头装置采用沼气静压排放的沼气排放收缩式可回收锥头装置,根据沼气生气层及储气层深度设定排气深度;(a) According to the soil conditions and depth of the construction section of the site, the hydrostatic pressure biogas treatment plan is selected. The down-pressure cone device adopts the biogas discharge shrinkable and recoverable cone head device for biogas static pressure discharge. Layer depth sets the exhaust depth;
(b)孔位布置根据盾构区间沼气分布提前测量标注沼气排放孔位位置;(b) The arrangement of holes shall be measured and marked in advance according to the distribution of biogas in the shield tunnel area;
(c)针对布孔位置打设地锚作为静力反压装置;(c) Set ground anchors as static back pressure devices for the hole placement positions;
(d)将连接杆件安装到活动铰支座上与连接管套连接在一起;(d) Install the connecting rod on the living hinge support and connect it with the connecting sleeve;
(e)将连接杆件另一端与伸缩片通过活动铰支座连接在一起;(e) Connect the other end of the connecting rod to the telescopic piece through the living hinge support;
(f)将伸缩片通过活动连接件与外筒管套连接在一起;(f) connecting the expansion piece with the outer bobbin sleeve through the movable connecting piece;
(g)将上述(f)中安装好的装置通过螺栓将连接管套安装到探杆下端部;(g) Install the device installed in the above (f) to the lower end of the probe rod through bolts;
(h)通过静压装置将带有连杆伸缩式可回收锥头的探杆压入相应土层完成沼气压强、流量测量及排气,当沼气压强排放至小于设计工程安全值后,停止排气,上提探杆至下一指定排气土层深度进行沼气排放;(h) Press the probe rod with the retractable conical head of the connecting rod into the corresponding soil layer through the static pressure device to complete the measurement of biogas pressure, flow rate and exhaust. gas, lift the probe up to the next specified exhaust soil depth for biogas discharge;
(i)当所有测试及排气施工完毕后,匀速将剩余探杆全部拔离地面,并将锥头装置从探杆下端部取下;(i) After all tests and exhaust construction are completed, pull out the remaining probe rods from the ground at a constant speed, and remove the cone head device from the lower end of the probe rod;
(j)将活动连接件从锥头装置拆下;(j) removing the movable connector from the cone-head device;
(k)将连接杆件相继从伸缩片与连接管套的活动铰支座上拆下;(k) successively removing the connecting rods from the movable hinge support of the expansion piece and the connecting sleeve;
(l)回收锥头装置各构件,并对该沼气排放孔进行封孔处理;(1) recovering the components of the cone head device, and sealing the biogas discharge hole;
(m)重复(c)~(l)步骤完成步骤(b)中所有孔位沼气排放。(m) Repeating steps (c) to (l) to complete the discharge of biogas at all holes in step (b).
进一步,所述步骤(b)中,孔位布置按梅花形布置。Further, in the step (b), the hole positions are arranged in a plum blossom shape.
再进一步,所述步骤(c)中,对于无法打设地锚区段可采用履带式静压设备利用自重或增加配重作为反力装置,然后安装双油缸全液压传动设备。Still further, in the step (c), the crawler-type hydrostatic equipment can be used for the section where the ground anchor cannot be set, and the self-weight or the counterweight can be added as the reaction force device, and then the double-cylinder full-hydraulic transmission equipment is installed.
本发明的有益效果主要表现在:The beneficial effects of the present invention are mainly manifested in:
(1)操作简单、工期短。由于采用了收缩式锥头的设计,保证排气效果的同时,既满足了静压探杆快速穿越软土地层的要求,又减小了探杆上拔时锥头带来的侧阻力,保证杆件的快速上拔,减小施工难度,节省了施工工期。(2)成本低。由于采用伸缩式的回收方式,锥头由一次性构件变成循环利用的可回收部件,减少了锥头费用,节省了排气施工成本。(3)无障碍物遗留,后期盾构施工方便。由于常规不可回收锥头会在土体内留存有锥头障碍物,在后续盾构施工中极易损坏盾构刀盘造成工期延长,经济损失巨大。而伸缩式可回收锥头装置能解决锥头障碍物遗留土层中的难题,使得后期盾构施工更加方便。(4)排气孔灵活布置,排气效果佳。由于常规不可回收锥头障碍物的存在极易影响后期盾构施工,常规沼气排气孔只能布置在盾构施工区域外侧,而不能根据沼气实际埋藏位置和深度情况进行布孔,使得单靠施工区域外侧的排气孔进行排气的效果不理想,易引发施工中沼气泄露起火、土体失稳等安全事故。而伸缩式可回收锥头可以根据具体沼气埋藏位置和深度情况进行排气孔灵活布置,突破了原有施工中只能在盾构施工区域外侧布置排气孔的局限,使得沼气排放更加彻底、效果更好。(1) Simple operation and short construction period. Due to the design of the retractable cone head, while ensuring the exhaust effect, it not only meets the requirements of the static pressure probe to quickly cross the soft ground, but also reduces the side resistance caused by the cone head when the probe rod is pulled up, ensuring that The rapid uplift of the rod reduces the difficulty of construction and saves the construction period. (2) Low cost. Due to the telescopic recycling method, the cone head is changed from a one-time component to a recyclable recyclable part, which reduces the cost of the cone head and saves the cost of exhaust construction. (3) There are no obstacles left behind, and the later shield construction is convenient. Because the conventional non-recyclable cone head will retain cone head obstacles in the soil, it is very easy to damage the shield cutter head in the subsequent shield construction, resulting in prolonged construction period and huge economic losses. The retractable recyclable cone head device can solve the problem of the soil layer left by the cone head obstacle, which makes the later shield construction more convenient. (4) The exhaust holes are arranged flexibly, and the exhaust effect is good. Because the existence of conventional non-recoverable cone-head obstacles can easily affect the later shield construction, the conventional biogas exhaust holes can only be arranged outside the shield construction area, and the holes cannot be arranged according to the actual burial position and depth of the biogas. The exhaust effect of the exhaust holes outside the construction area is not ideal, and it is easy to cause safety accidents such as biogas leakage and fire during construction, and soil instability. The retractable recyclable cone head can flexibly arrange the exhaust holes according to the specific biogas burial position and depth, breaking through the limitation that the exhaust holes can only be arranged outside the shield construction area in the original construction, making the biogas discharge more thorough and efficient. Better results.
附图说明Description of drawings
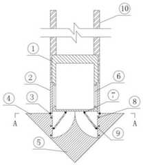
图1是用于沼气静压排放的连杆伸缩式可回收锥头装置的正剖图。Fig. 1 is a front sectional view of a connecting rod telescopic type recoverable cone head device for biogas static pressure discharge.
图2是图1的A-A剖视图。FIG. 2 is a cross-sectional view taken along line A-A of FIG. 1 .
图3是连接套管示意图。Figure 3 is a schematic diagram of the connection sleeve.
图4是伸缩片的立体图。Fig. 4 is a perspective view of a stretchable sheet.
图5是伸缩片的截面图。Fig. 5 is a cross-sectional view of a stretchable sheet.
具体实施方式Detailed ways
下面结合附图对本发明作进一步描述。The present invention will be further described below in conjunction with the accompanying drawings.
参照图1~图5,一种沼气静压排放的连杆伸缩式可回收锥头装置,包括连接管套1、外筒管套2、活动连接件3、伸缩片4、锥尖5、排气口6、活动铰支座、伸缩卡口8和连接杆件9;Referring to Figures 1 to 5, a connecting rod telescopic recyclable cone head device for static pressure discharge of biogas includes a connecting
所述连接管套1的上端与探杆下端部10连接,所述连接管套1的下部设有排气口6,所述外筒管套2套装在所述连接管套1外且所述外筒管套2的上端固定在连接管套1的外壁,所述外筒管套2的下端通过活动连接3件与所述伸缩片4的上部连接,所述连接管套1的底面设有上铰支座7,所述上铰支座7与连接杆件8的上端连接,所述连接杆件8的下端与下铰支座连接,所述下铰支座位于所述伸缩片4的内侧中部,所述伸缩片4与所述锥尖5连接。The upper end of the
进一步,所述连接管套1的上端部设有外螺纹,所述探杆下端部10设有内螺纹段,所述连接管套的上端的外螺纹安装在所述探杆下端部的内螺纹段内。Further, the upper end of the connecting
再进一步,所述外筒管套2的上端与连接管套1的外壁卡扣式连接。Still further, the upper end of the
更进一步,所述伸缩片4上设有伸缩卡口8,所述锥尖5上设有与所述伸缩卡口配合的卡槽,所述伸缩卡口卡接在所述卡槽内。Further, a
所述连接管套1的截面为方形,所述伸缩片4设有四片,分别位于方形的一条边上。The cross section of the connecting
某地铁施工区间地下土层中⑥2淤泥质粉质粘土和⑧2层粉质粘土均有气压较高的大量沼气,为了保证工程施工安全,需要进行沼气排放。为了获取地下土层沼气埋藏情况及沼气排放采用一次性常规锥头只能在隧道结构线外侧3-5m范围内布置沼气排放孔,而采用本发明的软土地区地铁施工中用于沼气静压排放的连杆伸缩式可回收锥头装置不但能实现沼气排放、锥头快速下降至设定深度还能够实现锥头的可回收利用,极大程度降低了施工成本、加快施工进度、保障盾构施工安全。沼气排放孔以最小直径揭穿含气层,并通过生气层、储气层部位,孔深宜揭穿⑥2淤泥质粉质粘土进入⑧2层粉质粘土一定深度,单孔设计孔深45m。There is a large amount of biogas with high pressure in the underground soil layers of ⑥2 silty clay and ⑧2 silty clay in the underground soil layer of a subway construction section. In order to obtain the biogas burial situation in the underground soil and the biogas discharge, the disposable conventional cone head can only arrange biogas discharge holes within the range of 3-5m outside the tunnel structure line. The exhausted connecting rod telescopic recyclable cone head device can not only realize the discharge of biogas, the rapid drop of the cone head to the set depth, but also the recycling of the cone head, which greatly reduces the construction cost, accelerates the construction progress, and protects the shield. construction safety.The biogas discharge hole shall penetrate the gas- bearing layer with the smallest diameter, and pass through the gas-generating layer and the gas-storage layer.
本次沼气处理排放施工采用XY-100型钻机辅助引孔结合静压排放设备。由于该工程沼气含量较大且区域广,采用原有静压排放设备的一次性常规锥头,不但成本高、工期长,而且有障碍物遗留且排气效果差。采用伸缩式可回收锥头装置可实现锥头循环利用,具有费用低、工期短、后续施工方便和排气效果好等优点。The biogas treatment and discharge construction adopts XY-100 drilling rig auxiliary pilot hole combined with static pressure discharge equipment. Because the biogas content of the project is large and the area is wide, the one-time conventional cone head of the original static pressure discharge equipment is not only costly, the construction period is long, but also there are obstacles left and the exhaust effect is poor. The use of the retractable recyclable cone head device can realize the recycling of the cone head, and has the advantages of low cost, short construction period, convenient subsequent construction and good exhaust effect.
本发明的实施方案是:Embodiments of the present invention are:
(n)根据该站点施工段土层状况及深度,选择静压法沼气处理方案,下压锥头装置采用用于沼气静压排放的连杆伸缩式可回收锥头装置,根据沼气生气层及储气层深度设定排气深度为45m。(n) According to the soil conditions and depth of the construction section of the site, the hydrostatic pressure biogas treatment plan is selected, and the lower pressure cone device adopts the connecting rod telescopic recyclable cone head device for the static pressure discharge of biogas. The depth of the gas reservoir is set as the exhaust depth of 45m.
(o)孔位布置根据盾构区间沼气分布提前测量标注沼气排放孔位位置,孔位布置按梅花形布置。(o) Hole layout According to the biogas distribution in the shield tunnel area, the biogas discharge hole positions are measured and marked in advance, and the hole layout is arranged in a plum blossom shape.
(p)针对布孔位置打设地锚作为静力反压装置。对于无法打设地锚区段可采用履带式静压设备利用自重或增加配重作为反力装置,然后安装双油缸全液压传动设备。(p) Set ground anchors as static back pressure devices for hole placement. For the section where the ground anchor cannot be set, the crawler-type hydrostatic equipment can be used to use its own weight or increase the counterweight as the reaction force device, and then the double-cylinder full-hydraulic transmission equipment can be installed.
(q)将连接杆件9安装到活动铰支座7上与连接管套1连接在一起。(q) Install the connecting
(r)将连接杆件9另一端与伸缩片4通过活动铰支座7连接在一起。(r) Connect the other end of the connecting
(s)将伸缩片4通过活动连接件3与外筒管套2连接在一起。(s) Connect the
(t)将上述(f)中安装好的装置通过螺栓将连接管套1安装到探杆下端部10。(t) Install the device installed in the above (f) to the
(u)通过静压装置将带有连杆伸缩式可回收锥头的探杆压入相应土层完成沼气压强、流量测量及排气,当沼气压强排放至小于设计工程安全值后,停止排气,上提探杆至下一指定排气土层深度进行沼气排放。(u) Press the probe rod with the retractable conical head of the connecting rod into the corresponding soil layer through the static pressure device to complete the biogas pressure, flow measurement and exhaust. When the biogas pressure is discharged to less than the design engineering safety value, stop the discharge. gas, lift up the probe rod to the next specified depth of exhaust soil layer to discharge biogas.
(v)当所有测试及排气施工完毕后,匀速将剩余探杆全部拔离地面,并将锥头装置从探杆下端部10取下。(v) After all tests and exhaust construction are completed, pull out the remaining probe rods from the ground at a constant speed, and remove the cone head device from the
(w)将活动连接件3从锥头装置拆下。(w) Detach the
(x)将连接杆件9相继从伸缩片4与连接管套1的活动铰支座7上拆下。(x) Detach the connecting
(y)回收锥头装置各构件,并对该沼气排放孔进行封孔处理。(y) recovering the components of the cone head device, and sealing the biogas discharge hole.
(z)重复(c)~(l)步骤完成步骤(b)中所有孔位沼气排放。(z) repeating the steps (c) to (l) to complete the discharge of biogas from all the holes in the step (b).
| Application Number | Priority Date | Filing Date | Title |
|---|---|---|---|
| CN202010732187.XACN111997528B (en) | 2020-07-27 | 2020-07-27 | Connecting rod telescopic recoverable cone head device for methane static pressure discharge and operation method |
| Application Number | Priority Date | Filing Date | Title |
|---|---|---|---|
| CN202010732187.XACN111997528B (en) | 2020-07-27 | 2020-07-27 | Connecting rod telescopic recoverable cone head device for methane static pressure discharge and operation method |
| Publication Number | Publication Date |
|---|---|
| CN111997528Atrue CN111997528A (en) | 2020-11-27 |
| CN111997528B CN111997528B (en) | 2025-07-22 |
| Application Number | Title | Priority Date | Filing Date |
|---|---|---|---|
| CN202010732187.XAActiveCN111997528B (en) | 2020-07-27 | 2020-07-27 | Connecting rod telescopic recoverable cone head device for methane static pressure discharge and operation method |
| Country | Link |
|---|---|
| CN (1) | CN111997528B (en) |
| Publication number | Priority date | Publication date | Assignee | Title |
|---|---|---|---|---|
| JP2002250194A (en)* | 2001-02-23 | 2002-09-06 | Koken Boring Mach Co Ltd | Retract bit |
| CN101784745A (en)* | 2007-08-15 | 2010-07-21 | 普拉德研究及开发股份有限公司 | Motor Bit System |
| CN102149895A (en)* | 2008-07-11 | 2011-08-10 | 普拉德研究及开发股份有限公司 | Steerable piloted drill bit, drill system, and method of drilling curved boreholes |
| CN110656926A (en)* | 2019-11-14 | 2020-01-07 | 上海市城市建设设计研究总院(集团)有限公司 | Shallow harmful gas detection device based on drilling equipment and using method thereof |
| CN212671564U (en)* | 2020-07-27 | 2021-03-09 | 浙江交工集团股份有限公司 | Connecting rod telescopic type recyclable conical head device for biogas static pressure discharge |
| Publication number | Priority date | Publication date | Assignee | Title |
|---|---|---|---|---|
| JP2002250194A (en)* | 2001-02-23 | 2002-09-06 | Koken Boring Mach Co Ltd | Retract bit |
| CN101784745A (en)* | 2007-08-15 | 2010-07-21 | 普拉德研究及开发股份有限公司 | Motor Bit System |
| CN102149895A (en)* | 2008-07-11 | 2011-08-10 | 普拉德研究及开发股份有限公司 | Steerable piloted drill bit, drill system, and method of drilling curved boreholes |
| CN110656926A (en)* | 2019-11-14 | 2020-01-07 | 上海市城市建设设计研究总院(集团)有限公司 | Shallow harmful gas detection device based on drilling equipment and using method thereof |
| CN212671564U (en)* | 2020-07-27 | 2021-03-09 | 浙江交工集团股份有限公司 | Connecting rod telescopic type recyclable conical head device for biogas static pressure discharge |
| Publication number | Publication date |
|---|---|
| CN111997528B (en) | 2025-07-22 |
| Publication | Publication Date | Title |
|---|---|---|
| CN103821183B (en) | A kind of soil body of simulating is dashed forward and is gushed the test unit of breakoff phenomenon and rule | |
| CN110578498B (en) | A self-adaptive deflation rod and a controlled deflation recovery system and method for shallow gas | |
| CN111636879A (en) | An inflatable bag structure and construction method for displacement correction of operating subway tunnels | |
| CN110514469A (en) | a mud extractor | |
| CN206477794U (en) | A kind of boring drill bit of fault belt Rock And Soil | |
| CN205206779U (en) | Fracture drilling rod fishing device | |
| CN111997528A (en) | Connecting rod telescopic recoverable cone head device for biogas static pressure discharge and operation method | |
| CN212671564U (en) | Connecting rod telescopic type recyclable conical head device for biogas static pressure discharge | |
| CN110579372A (en) | A new undisturbed soil column sampling device and its application method | |
| CN209163810U (en) | A kind of new pipe-roof method construction pipe suspension device | |
| CN212223855U (en) | Double casing type full rotation super long pile construction tool | |
| CN212154709U (en) | A gas drainage anti-leakage device | |
| CN219605333U (en) | Drilling orifice device for gas extraction | |
| CN112065282A (en) | Telescopic recoverable octagonal cone head device for biogas static pressure discharge and operation method | |
| CN212774150U (en) | Telescopic recoverable conical head device for static pressure discharge of biogas | |
| CN216741490U (en) | A Safe and Reliable Orifice Pressure Monitoring Device | |
| CN212321609U (en) | Core-pulling inspection device for grouting body behind pipe piece wall | |
| CN116124526A (en) | A groundwater sample collection device and collection method | |
| CN210140839U (en) | Device for pulling out dewatering well | |
| CN211113573U (en) | Sampling soil breaking and pore forming device | |
| CN212757609U (en) | Embedded recoverable water and soil filtering device for static pressure discharge of biogas | |
| CN209924010U (en) | Underground cross bore construction equipment | |
| CN207862909U (en) | A kind of monitoring and controlling point air pressure anchor | |
| CN109296341B (en) | Crude oil salvaging device in oil pipe of fault oil well | |
| CN210981837U (en) | Novel sampling of original state earth pillar device |
| Date | Code | Title | Description |
|---|---|---|---|
| PB01 | Publication | ||
| PB01 | Publication | ||
| SE01 | Entry into force of request for substantive examination | ||
| SE01 | Entry into force of request for substantive examination | ||
| GR01 | Patent grant | ||
| GR01 | Patent grant |