Movatterモバイル変換


[0]ホーム

URL:


CN111917393B - Bulk acoustic wave resonator and manufacturing method, bulk acoustic wave resonator assembly, filter and electronic equipment - Google Patents

Bulk acoustic wave resonator and manufacturing method, bulk acoustic wave resonator assembly, filter and electronic equipment
Download PDF

Info

Publication number
CN111917393B
CN111917393BCN202010571689.9ACN202010571689ACN111917393BCN 111917393 BCN111917393 BCN 111917393BCN 202010571689 ACN202010571689 ACN 202010571689ACN 111917393 BCN111917393 BCN 111917393B
Authority
CN
China
Prior art keywords
layer
resonator
piezoelectric
top electrode
acoustic wave
Prior art date
Legal status (The legal status is an assumption and is not a legal conclusion. Google has not performed a legal analysis and makes no representation as to the accuracy of the status listed.)
Active
Application number
CN202010571689.9A
Other languages
Chinese (zh)
Other versions
CN111917393A (en
Inventor
庞慰
徐洋
杨清瑞
Current Assignee (The listed assignees may be inaccurate. Google has not performed a legal analysis and makes no representation or warranty as to the accuracy of the list.)
ROFS Microsystem Tianjin Co Ltd
Original Assignee
ROFS Microsystem Tianjin Co Ltd
Priority date (The priority date is an assumption and is not a legal conclusion. Google has not performed a legal analysis and makes no representation as to the accuracy of the date listed.)
Filing date
Publication date
Application filed by ROFS Microsystem Tianjin Co LtdfiledCriticalROFS Microsystem Tianjin Co Ltd
Priority to CN202010571689.9ApriorityCriticalpatent/CN111917393B/en
Publication of CN111917393ApublicationCriticalpatent/CN111917393A/en
Application grantedgrantedCritical
Publication of CN111917393BpublicationCriticalpatent/CN111917393B/en
Activelegal-statusCriticalCurrent
Anticipated expirationlegal-statusCritical

Links

Images

Classifications

Landscapes

Abstract

Translated fromChinese

本发明涉及一种体声波谐振器及其制造方法,谐振器包括基底;声学镜;底电极;顶电极以及顶电极引出端;和压电层;引脚连接部,与所述底电极在横向方向上间隔开设置,其中:所述压电层包括压电上层和压电下层,所述谐振器还包括设置在压电上层与压电下层之间的金属插入层;所述顶电极引出端包括在压电层的侧面延伸的电连接部,所述顶电极引出端将顶电极与所述引脚连接部电连接;所述谐振器还包括绝缘层,所述绝缘层的至少一部分设置在所述电连接部与插入层之间,以在电连接部与插入层之间形成电学隔离。本发明还涉及一种体声波谐振器组件、一种滤波器以及一种电子设备。

Figure 202010571689

The invention relates to a bulk acoustic wave resonator and a method for manufacturing the same. The resonator comprises a substrate; an acoustic mirror; a bottom electrode; a top electrode and a leading end of the top electrode; and a piezoelectric layer; spaced apart in the direction, wherein: the piezoelectric layer includes a piezoelectric upper layer and a piezoelectric lower layer, the resonator further includes a metal insertion layer disposed between the piezoelectric upper layer and the piezoelectric lower layer; the top electrode lead-out end Including an electrical connection part extending on the side of the piezoelectric layer, the top electrode lead-out end electrically connects the top electrode and the pin connection part; the resonator also includes an insulating layer, and at least a part of the insulating layer is provided on between the electrical connection portion and the insertion layer to form electrical isolation between the electrical connection portion and the insertion layer. The invention also relates to a bulk acoustic wave resonator assembly, a filter and an electronic device.

Figure 202010571689

Description

Bulk acoustic wave resonator, method of manufacturing bulk acoustic wave resonator, bulk acoustic wave resonator assembly, filter, and electronic apparatus
Technical Field
Embodiments of the present invention relate to the field of semiconductors, and in particular, to a bulk acoustic wave resonator and a method of manufacturing the same, a bulk acoustic wave resonator assembly, a filter having the resonator or the resonator assembly, and an electronic device.
Background
With the increasing development of 5G communication technology, the requirement on the data transmission rate is higher and higher. Corresponding to the data transmission rate is a high utilization of spectrum resources and spectrum complications. The complexity of the communication protocol imposes stringent requirements on the various performances of the rf system, and the rf filter plays a crucial role in the rf front-end module, which can filter out-of-band interference and noise to meet the signal-to-noise ratio requirements of the rf system and the communication protocol.
The traditional radio frequency filter is limited by structure and performance and cannot meet the requirement of high-frequency communication. As a novel MEMS device, a Film Bulk Acoustic Resonator (FBAR) has the advantages of small volume, light weight, low insertion loss, wide frequency band, high quality factor and the like, and is well suitable for the update of a wireless communication system, so that the FBAR technology becomes one of the research hotspots in the communication field.
On the other hand, the series resonators and the parallel resonators of the prior art filter cooperate to form a filter pass band characteristic. By setting the series resonance frequencies of the series resonators to be different from each other and the electromechanical coupling coefficient Kt of the series resonators2The roll-off characteristic on the right side of the filter passband can be effectively improved. Filter application Small Kt2While good roll-off characteristics are easily achieved for a resonator, once design criteria (bandwidth, insertion loss, out-of-band rejection, etc.) are determined, the Kt of the resonator2It is basically determined that such filter bandwidth and good roll-off characteristics of the filter are contradictory, that it is difficult to achieve good roll-off characteristics with a wide bandwidth filter design under a conventional architecture, and that Kt of a 50Ohm resonator is determined by a change in resonator structure under a condition that a resonator stack in a general filter has been determined2The change is only about +/-0.5%, and the improvement on the roll-off characteristic of the filter is limited. So as to release Kt between resonators2The limitation of the degree of freedom is beneficial to improving the roll-off performance of the whole filter.
Disclosure of Invention
For increasing Kt of bulk acoustic wave resonator2The present invention is proposed based on the degree of freedom in selection.
The invention is based on the adjustment of the electromechanical coupling coefficient Kt of a bulk acoustic wave resonator by providing a metal insertion layer in the piezoelectric layer of the resonator2
According to an aspect of an embodiment of the present invention, there is provided a bulk acoustic wave resonator including:
a substrate;
an acoustic mirror;
a bottom electrode;
a top electrode and a top electrode lead-out terminal; and
a piezoelectric layer;
a pin connection part disposed to be spaced apart from the bottom electrode in a lateral direction,
wherein:
the resonator further comprises a metal insertion layer arranged between the upper piezoelectric layer and the lower piezoelectric layer;
the top electrode lead-out includes an electrical connection extending at a side of the piezoelectric layer, the top electrode lead-out electrically connecting the top electrode with the pin connection;
the resonator further includes an insulating layer, at least a portion of which is disposed between the electrical connection and the interposer to form electrical isolation between the electrical connection and the interposer.
Embodiments of the present invention also relate to a bulk acoustic wave resonator assembly, which includes a first resonator and a second resonator, both of which are bulk acoustic wave resonators, and both of which include a substrate, an acoustic mirror, a bottom electrode, a top electrode, and a piezoelectric layer, wherein:
at least one of the first resonator and the second resonator is the resonator; and is
The electromechanical coupling coefficients of the first and second resonators are different from each other based on at least one of an insertion thickness of the insertion layer of the at least one resonator, a ratio of an upper layer thickness of the piezoelectric upper layer to a sum of lower layer thicknesses of the piezoelectric upper layer and piezoelectric lower layer, and an extension length of the insertion layer to extend outside a boundary of the acoustic mirror.
Embodiments of the present invention also relate to a filter, wherein: the filter comprises a parallel resonator and a series resonator, wherein the parallel resonator and/or the series resonator are the bulk acoustic wave resonators, or the filter comprises the bulk acoustic wave resonator assembly.
The embodiment of the invention also relates to a manufacturing method of the bulk acoustic wave resonator, which comprises the following steps:
step 1: forming the insertion layer on the piezoelectric lower layer;
step 2: forming an insulating layer covering an end face of the insertion layer; and
and step 3: forming a top electrode and a top electrode lead such that at least a portion of the insulating layer is disposed between the electrical connection portion and the interposer to form an electrical isolation between the electrical connection portion and the interposer.
Drawings
These and other features and advantages of the various embodiments of the disclosed invention will be better understood from the following description taken in conjunction with the accompanying drawings, in which like reference characters designate like parts throughout, and in which:
figure 1A is a schematic top view of a bulk acoustic wave resonator according to an exemplary embodiment of the present invention;
FIG. 1B is a cross-sectional view of a bulk acoustic wave resonator according to an exemplary embodiment of the present invention taken along line AOA' in FIG. 1A;
FIG. 2 is a schematic diagram illustrating the electromechanical coupling coefficient versus insertion thickness of an insertion layer with other factors affecting the electromechanical coupling coefficient of a resonator unchanged;
fig. 3 is a diagram illustrating the relationship of the electromechanical coupling coefficient to the ratio of the thickness of the piezoelectric upper layer to the thickness of the entire piezoelectric layer, with other factors affecting the electromechanical coupling coefficient of the resonator unchanged;
fig. 4A is a diagram illustrating the relationship between the electromechanical coupling coefficient and the extension length of the insertion layer to the outside of the boundary of the active area with other factors affecting the electromechanical coupling coefficient of the resonator unchanged, and in fig. 4A, the extension length is an extension length of the insertion layer to the outside of the non-connection side of the top electrode or to the outside of the boundary of the active area at the non-connection side of the bottom electrode;
fig. 4B is a diagram illustrating the electromechanical coupling coefficient in relation to the extension length of the insertion layer to the outside of the boundary of the effective region with other factors affecting the electromechanical coupling coefficient of the resonator unchanged, and in fig. 4B, the extension length is the extension length of the insertion layer below the top electrode connection side to the outside of the boundary of the effective region;
fig. 5 is a cross-sectional view of a bulk acoustic wave resonator according to another exemplary embodiment of the present invention, taken along line AOA' in fig. 1A;
fig. 6 is a cross-sectional view of a bulk acoustic wave resonator according to still another exemplary embodiment of the present invention, taken along the line AOA' in fig. 1A;
fig. 7 is a cross-sectional view of a bulk acoustic wave resonator according to still another exemplary embodiment of the present invention, taken along the line AOA' in fig. 1A;
fig. 8A to 8H are schematic views exemplarily showing a manufacturing process of the bulk acoustic wave resonator shown in fig. 1B;
9A-9C are schematic diagrams illustrating a portion of the fabrication process of the bulk acoustic wave resonator shown in FIG. 5;
10A-10B are schematic diagrams illustrating a portion of the fabrication process of the bulk acoustic wave resonator shown in FIG. 6;
FIG. 11 is a cross-sectional view of a bulk acoustic wave resonator according to an exemplary embodiment of the present invention, taken along line AOA' in FIG. 1A;
fig. 12 is a cross-sectional view of a bulk acoustic wave resonator according to still another exemplary embodiment of the present invention, taken along the line AOA' in fig. 1A;
fig. 13 is an exemplary circuit diagram of a ladder structure filter.
Detailed Description
The technical scheme of the invention is further specifically described by the following embodiments and the accompanying drawings. In the specification, the same or similar reference numerals denote the same or similar components. The following description of the embodiments of the present invention with reference to the accompanying drawings is intended to explain the general inventive concept of the present invention and should not be construed as limiting the invention. Some, but not all embodiments of the invention are described. All other embodiments that can be derived by one of ordinary skill in the art from the embodiments given herein are intended to be within the scope of the present invention.
First, the reference numerals in the drawings of the present invention are explained as follows:
10, the substrate can be selected from monocrystalline silicon, gallium nitride, gallium arsenide, sapphire, quartz, silicon carbide, diamond and the like, and can also be monocrystalline piezoelectric substrates such as lithium niobate, lithium tantalate, potassium niobate and the like.
20: the acoustic mirror can be a cavity or an air cavity, and a Bragg reflection layer and other equivalent forms can also be adopted. Embodiments of the cavity and bragg reflector layers are shown separately in the illustrated embodiment of the invention. In the present invention, a sacrificial layer within the cavity, also indicated at 20, forms the cavity after the sacrificial layer is released.
21: the sacrificial material is filled in the cavity in the embodiment shown in the invention, the cavity is formed by using a method for releasing the sacrificial material in the implementation process, and the sacrificial material can be silicon dioxide, doped silicon dioxide, polysilicon, amorphous silicon and other materials.
30: the seed layer can be selected from materials such as aluminum nitride, zinc oxide, PZT and the like and contains rare earth element doping materials with certain atomic ratios of the materials. In the present invention, the seed layer may not be provided.
31: the bottom electrode is made of molybdenum, ruthenium, gold, aluminum, magnesium, tungsten, copper, titanium, iridium, osmium, chromium or their composite or their alloy.
40: the piezoelectric underlayer can be a single crystal piezoelectric material, and can be selected from the following options: the material may be polycrystalline piezoelectric material (corresponding to single crystal, non-single crystal material), optionally, polycrystalline aluminum nitride, zinc oxide, PZT, or a rare earth element doped material containing at least one rare earth element, such as scandium (Sc), yttrium (Y), magnesium (Mg), titanium (Ti), lanthanum (La), cerium (Ce), praseodymium (Pr), neodymium (Nd), promethium (Pm), samarium (Sm), europium (Eu), gadolinium (Gd), terbium (Tb), dysprosium (Dy), erbium (Ho), erbium (holmium), thulium (Tm), ytterbium (Yb), lutetium (Lu), or the like.
41: the metal insert layer may be made of a metal selected from molybdenum, ruthenium, gold, aluminum, magnesium, tungsten, copper, titanium, iridium, osmium, chromium, and the like, and in one embodiment of the present invention, is molybdenum.
42: thepiezoelectric layer 40 is selected from the same material as the piezoelectric layer, and may be the same material as the piezoelectric layer or different material from the piezoelectric layer.
50: an insulating layer, which may be an air gap or a solid non-conductive dielectric, electrically isolates the metal interposer from the top electrode. The solid non-conductive dielectric may be selected from one of aluminum nitride (AlN), rare earth doped AlN, silicon nitride, silicon dioxide, doped silicon dioxide (e.g., boron doped or phosphorous doped).
60: the top electrode can be made of the same material as the bottom electrode, and the material can be selected from molybdenum, ruthenium, gold, aluminum, magnesium, tungsten, copper, titanium, iridium, osmium, chromium or the composite of the above metals or the alloy thereof, and the like. The top and bottom electrode materials are typically the same, but may be different.
61: a protective layer made of a piezoelectric material such as AlN, and SiO2、Al2O3And the like.
62: and the top electrode leading-out end is made of the same material as the top electrode.
70: the material of the top electrode pad (pad) or the pin can be the same as that of the top electrode, and can be selected from molybdenum, ruthenium, gold, aluminum, magnesium, tungsten, copper, titanium, iridium, osmium, chromium or a composite of the above metals or an alloy thereof, and the like.
71: the pin connecting part can be made of the same material as the bottom electrode, and the material can be selected from molybdenum, ruthenium, gold, aluminum, magnesium, tungsten, copper, titanium, iridium, osmium, chromium or the composite of the metals or the alloy thereof and the like.
In the present invention, the kt of different resonators is adjusted by inserting a metal insertion layer (e.g. molybdenum) in the piezoelectric layer between the resonators2The electromechanical coupling coefficient kt of the bulk acoustic wave resonator can be adjusted by the following 3 points2
1. Realizing kt to a resonator by changing the position of the edge of the metal insertion layer between different resonators2Adjusting the variable quantity;
2. changing the relative position of the metal insertion layer in the piezoelectric layer between different resonators realizes kt for the resonator2And (4) adjusting the variable quantity.
3. Implementation of kt for resonators by varying the thickness of the intervening layer between different resonators2And (4) adjusting the variable quantity.
By the above method, the kt of the resonator can be changed2Therefore, the design freedom of the filter can be improved, and the roll-off of the passband edge can be improved. The invention makes use of the provision of metal insertion in the piezoelectric layer of a resonatorLayer structure for adjusting the frequency and/or electromechanical coupling coefficient of the resonator in a large range, thereby realizing single-chip integration of the multi-frequency filter, and Kt of the resonator in the filter2The choice of values provides a greater degree of freedom.
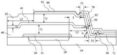
Fig. 1A is a schematic top view and fig. 1B is a cross-sectional view taken along line AOA' in fig. 1A of a bulk acoustic wave resonator according to an exemplary embodiment of the present invention. It should be noted that the shape of the resonator is not limited to the circular shape shown in fig. 1, but may be other polygonal shapes, elliptical shapes, or other irregular shapes.
As shown in fig. 1B, the outer edge of theinsertion layer 41 is located outside theair cavity 20, the distance between the outer edge of theinsertion layer 41 and the boundary of the effective area (in the present invention, the overlapping area of the top electrode, the bottom electrode, the piezoelectric layer, and the acoustic mirror in the thickness direction of the resonator forms the effective area of the resonator) is L1 (the connecting side of the top electrode) and L2 (the non-connecting side of the top electrode), the thickness of theinsertion layer 41 is T0, the thickness of the piezoelectriclower layer 40 is T1, the thickness of the piezoelectricupper layer 42 is T2, and the position of theinsertion layer 41 is defined as the Ratio PZ _ Ratio of the thickness of the piezoelectric upper layer to the sum of the thicknesses of the piezoelectric lower layer and the piezoelectric upper layer, which is T2/(T1+ T2.
Fig. 2 schematically shows a diagram of the electromechanical coupling coefficient as a function of the insertion thickness of the insertion layer, with other factors influencing the electromechanical coupling coefficient of the resonator being constant. As shown in FIG. 2, kt increases with the thickness T0 ofinterposer 412Monotonically decreasing. Optionally, the thickness of theinsertion layer 41 is within
Figure GDA0002709030360000061
Within the range of (1).
It is to be noted that, in the present invention, each numerical range, except when explicitly indicated as not including the end points, can be either the end points or the median of each numerical range, and all fall within the scope of the present invention.
Fig. 3 illustrates the relationship between the electromechanical coupling coefficient and the ratio of the thickness of the piezoelectric upper layer to the thickness of the entire piezoelectric layer, with other factors affecting the electromechanical coupling coefficient of the resonator being constantSchematic representation of (a). As shown in FIG. 3, kt increases as the Ratio PZ _ Ratio, which indicates the position of theinsertion layer 41, increases2Decreasing first and then increasing.
Fig. 4A schematically shows the electromechanical coupling coefficient as a function of the extension length of the insertion layer extending outside the boundary of the acoustic mirror, with other factors affecting the electromechanical coupling coefficient of the resonator unchanged. The extension length in fig. 4A corresponds to the extension length of the insertion layer 80 to the outside of the non-connection side of thetop electrode 50 at the non-connection side of the bottom electrode. As shown in fig. 4A, kt increases as the distance of theinsertion layer 41 from the boundary of the effective area (corresponding to L2 in fig. 1B)2First reduced to a value exceeding the edge of the non-electrode connecting end of the bottom electrode (BM)2Remain unchanged.
Fig. 4B is a diagram illustrating the relationship between the electromechanical coupling coefficient and the extension length of the insertion layer extending outside the boundary of the acoustic mirror with other factors affecting the electromechanical coupling coefficient of the resonator unchanged, and in fig. 4B, the extension length is the extension length of the insertion layer below the top electrode connection side extending outside the boundary of the effective region. As shown in FIG. 4B, kt increases with the extension length2With a substantially monotonically decreasing trend.
In fig. 4A and 4B, the abscissa is μm and the ordinate is the electromechanical coupling coefficient kt of the resonator2
In addition, although not shown, kt increases as the distance that the interposer above the bottom electrode connecting edge extends beyond the active area increases2Also in a monotonically decreasing trend.
Thus, the kt of the resonator can be adjusted by selecting the extension length of the insertion layer extending outside the boundary of the active area2. For example, by increasing the extension length, kt is reduced2
The extension length shown in fig. 4A and the extension length shown in fig. 4B may be selected simultaneously or individually, that is, the extension length of the insertion layer outside the boundary of the effective region may be selected as shown in fig. 4A, as shown in fig. 4B, or as other lengthsBy adjusting the extension length to adjust kt2Are within the scope of the invention.
In the present invention, the inner and outer are in the lateral or radial direction with respect to the center of the effective area of the resonator, the side or end of a component near the center being the inner or inner end, and the side or end of the component away from the center being the outer or outer end. For a reference position, inboard of the position means between the position and the center in the lateral or radial direction, and outboard of the position means farther from the center in the lateral or radial direction than the position. In the present invention, the upper and lower are with respect to the bottom surface of the base of the resonator, and with respect to one component, the side thereof close to the bottom surface is the lower side, and the side thereof far from the bottom surface is the upper side.
As shown in fig. 1B, the kt of the resonator can be adjusted by selecting at least one of the above-mentioned extension length L of the insertion layer (which may also be zero), the thickness T0 of the insertion layer, and a Ratio PZ _ Ratio indicating the position of the insertion layer in the piezoelectric layer2Thereby improving the design freedom of the filter and improving the roll-off of the passband edge.
Further, as shown in FIG. 1B, and with reference to the right side of FIG. 1B, on the side of the piezoelectric layer, an insulatinglayer 50 is provided, which in one exemplary embodiment may have a thickness D of
Figure GDA0002709030360000071
Within the range of (1). As shown in fig. 1B, the insulatinglayer 50 includes a side covering portion that covers end faces of the piezoelectric upper layer and the piezoelectric lower layer and the insertion layer. On the right side of fig. 1B, the end face of theinsertion layer 41 is flush with the side faces of the piezoelectric upper layer and the piezoelectric lower layer.
In one embodiment of the present invention, the material of the insulating layer may be one selected from AlN, rare-earth-doped AlN, silicon nitride, and silicon dioxide, and may be air or vacuum.
As shown in fig. 1B, the resonator further includes atop electrode terminal 62 connected to thetop electrode 60 and apin connection portion 71 provided on thesubstrate 10. As shown in fig. 1B, the top electrode lead-out 62 includes an electrical connection portion covering the insulatinglayer 50 at the side of the piezoelectric layer, and the insulatinglayer 50 is disposed between theinsertion layer 41 and the top electrode lead-out 62 in the lateral direction, thereby achieving electrical isolation between the top electrode and theinsertion layer 41.
As shown in fig. 1B, the upper end of the insulatinglayer 50 includes anupper cover portion 51 that covers a portion of the top surface of the piezoelectricupper layer 42.
As shown in fig. 1B, the end of theupper covering portion 51 is outside the boundary of theacoustic mirror 20 in the lateral direction of the resonator with a lateral distance I formed therebetween. However, the present invention is not limited to this, and the end of theupper cover 51 may be located inside the boundary of theacoustic mirror 20, as shown in fig. 7, which may further reduce the parasitic capacitance between the top electrode connection side or the top electrode lead-out terminal and the bottom electrode outside the effective area of the resonator (the overlapping area of the top electrode, the piezoelectric layer, the bottom electrode, and the acoustic mirror of the resonator in the thickness direction of the resonator constitutes the effective area), and in the embodiment shown in fig. 7, compared to embodiment 1B, in one embodiment of the present invention, the overlapping distance I between the left side of the insulatinglayer 50 and theacoustic mirror 20 may be: 10 μm > I >0.5 μm.
As shown in fig. 1B and 5-7, the lower end of the insulatinglayer 50 includes alower covering portion 52 covering the upper surface of thesubstrate 10. As shown, the lower cover portion may further include a lower cover extension (a region corresponding to C in fig. 1B) extending to an upper surface of the pin connection portion. In an alternative embodiment, the lateral width of the lower covering extension is not less than 1 μm. The area corresponding to the C is beneficial to ensuring that a larger process window is provided in the process of manufacturing the resonator, and meanwhile, the top electrode can be prevented from contacting the substrate, and the generation of leakage current is avoided.
As shown in fig. 1B, in one embodiment, the end of thepiezoelectric underlayer 40 forms an angle α with the upper surface of thesubstrate 10 in the range of 30 ° to 85 °, which is favorable for better coverage of the subsequent film structures (e.g., the insulatinglayer 50, the topelectrode connecting portion 62, and the top electrode lead 70) on the piezoelectric layer sidewall.
In fig. 1B, a special insulating layer is provided to cover the side face of the piezoelectric layer, in other words, the insulating layer is provided on the side face of the piezoelectric layer, but the present invention is not limited thereto. Fig. 5 is a cross-sectional view of a bulk acoustic wave resonator according to another exemplary embodiment of the present invention, taken along the line AOA' in fig. 1A. As shown in fig. 5, the insulatinglayer 50 is disposed between the piezoelectricupper layer 42 and the piezoelectriclower layer 40 on the same layer as theinsertion layer 41, and between theinsertion layer 41 and the electrical connection portion of thetop electrode lead 62 in the lateral direction.
In alternative embodiments, the insulatinglayer 50 is a layer of air or a solid non-conductive dielectric layer.
In an alternative embodiment, the width E of the layer of air or the layer of solid non-conductive medium is in the range of 1 μm to 10 μm. Where the air layer has the above-mentioned width, it is advantageous to ensure that the top electrode lead is not in electrical contact with theinsertion layer 41 when it is deposited.
The embodiment shown in fig. 5 does not require a separate deposition of an insulating film, compared to the embodiment shown in fig. 1B, and thus the process flow is simpler. As mentioned later, the lateral etching may be performed by wet etching to form the insulatinglayer 50 by etching a part of the insertion layer material, and at this time, the insulatinglayer 50 is an air layer.
Although not shown, a solid non-conductive dielectric layer may also be provided in the same layer as the insertion layer, as an insulating layer between the insertion layer and the top electrode lead-out in the lateral direction.
As shown in fig. 1B and 5, theinsertion layer 41 extends beyond the edge of the bottom electrode on the left side (the non-electrode-connecting side of the top electrode). In an alternative embodiment, the end of the insertion layer is located outside the boundary of the acoustic mirror in the lateral direction, i.e. the insertion layer completely covers the acoustic mirror region of the resonator, in a further alternative embodiment the end of the insertion layer is at a distance of not less than 1 μm from the acoustic mirror boundary.
But the present invention is not limited thereto and the lateral ends of theinsertion layer 41, as shown in fig. 6, theinsertion layer 41 extends to the outside of the non-electrode connection end of the top electrode by a distance G in the lateral direction of the resonator. For example, the end of theinsertion layer 41 is located between the non-electrode connection end of the top electrode and the boundary of the acoustic mirror in the lateral direction, or the distance is greater than 0.5 μm and smaller than 1 μm. I.e. theinsertion layer 41 covers at least the active area of the resonator, i.e. the overlapping area of the top, bottom and acoustic mirror of the resonator.
The following describes an exemplary process of fabricating the bulk acoustic wave resonator assembly shown in fig. 1B with reference to fig. 8A-8H.
As shown in fig. 8A, cleaning is performed on thesubstrate 10, then grooves for forming theair cavities 20 are etched on thesubstrate 10, and then a sacrificial layer is formed by filling-in with a sacrificial material, which may be planarized by a CMP (chemical mechanical polishing) method.
As shown in fig. 8B, a seed material layer and a metal layer are deposited on the surface of the structure formed in fig. 8A, and patterned to form aseed layer 30 and abottom electrode 31, and apin connection portion 71.
As shown in fig. 8C, a piezoelectric thin film material layer for forming thepiezoelectric underlayer 40 is deposited on the surface of the structure shown in fig. 8B by a deposition process including, but not limited to, MOCVD (metal organic chemical vapor deposition), MBE (molecular beam epitaxy), CBE (chemical molecular beam epitaxy), LPE (liquid phase epitaxy), magnetron sputtering, or the like.
Then, ametal insertion layer 41, which may be a molybdenum layer, is prepared on the surface of the above structure.
Thereafter, a layer of piezoelectric thin film material is deposited on the surface of the structure in which the metal insertion layer is prepared, using deposition processes including, but not limited to, MOCVD (metal organic chemical vapor deposition), MBE (molecular beam epitaxy), CBE (chemical molecular beam epitaxy), LPE (liquid phase epitaxy), magnetron sputtering, etc., and the piezoelectric thin film layer is used to form the piezoelectricupper layer 42. The piezoelectric upper layer material may be the same as or different from the piezoelectric lower layer material, such as aluminum nitride (AlN) material with different doping concentrations.
As shown in fig. 8D, the right side of the layer structure formed of the piezoelectric lower layer, the interposer layer, and the piezoelectric upper layer shown in fig. 8C is etched by an etching process to expose the end faces of the piezoelectric lower layer, the interposer layer, and the piezoelectric upper layer, and to expose thepin connection portion 71.
As shown in fig. 8E, an insulating material is deposited and patterned to form an insulatinglayer 50, which covers a portion of the top surface of the piezoelectric upper layer, covers the side surfaces of the piezoelectric upper layer, the interposer layer, and the piezoelectric lower layer, and covers a portion of the top surface of thepin connection portion 71, as shown in fig. 8E. The purpose of the insulating layer is to electrically isolate thetop electrode 60 from theinsertion layer 41, preventing electrical connection between the two, which may be selected from silicon dioxide (USG), borosilicate glass (BSG), boron-doped silicon dioxide (boron-doped silicon dioxide), phosphosilicate glass (PSG), or other insulating dielectric such as aluminum nitride or doped aluminum nitride.
As shown in fig. 8F, a top electrode material layer (corresponding to 60) and a protective material layer (corresponding to 61) are deposited and patterned on the surface of the structure shown in fig. 8E to form atop electrode 60 and atop electrode lead 62, which is electrically connected to thepin connection portion 71.
As shown in fig. 8G, a portion of the protective layer of the structure shown in fig. 8F is removed to expose thetop electrode lead 62.
As shown in fig. 8H, a metal layer is deposited and patterned on the surface of the structure shown in fig. 8G to form atop electrode lead 70. The leads 70 may be patterned by an etching process or a lift-off process. The sacrificial layer is then released to form anair cavity 20 that acts as an acoustic mirror, forming the resonator structure shown in fig. 1B. Optionally, the insulating layer may be released at the same time as the sacrificial layer is released, thereby forming an air insulating layer.
Although not shown, a mass loading layer may also be formed on the resonator. In the embodiment of the present invention, the mass loading layer may be selected to adjust the electromechanical coupling coefficient of each resonator, or the mass loading layer may not be provided. The above steps are exemplary steps, and as those skilled in the art can understand, the above processing sequence is not exclusive, and those skilled in the art can make modifications to the above steps based on the known technology, which is within the protection scope of the present invention.
Referring to fig. 9A to 9C, a part of a process for manufacturing the bulk acoustic wave resonator shown in fig. 5 will be exemplarily described.
The first four steps of the manufacturing flow of the resonator shown in fig. 5 correspond to the steps 8A-8D of the previous figures, and after the step shown in fig. 8D, the manufacturing of the resonator of fig. 5 comprises the following steps:
as shown in fig. 9A, the piezoelectricupper layer 42 and theinsertion layer 41 are etched using an etching process to expose the end portions of theinsertion layer 41.
As shown in fig. 9B, wet etching is performed on the structure shown in fig. 9A, and part of theinsertion layer 41 is removed, thereby forming an air layer in the same layer as the insertion layer between the piezoelectric upper layer and the piezoelectric lower layer, the air layer forming an insulating layer. As previously described, the width of the air layer is selected to ensure that the top electrode lead is electrically isolated from the interposer layer when the top electrode lead is post-deposited. After theinsertion layer 41 is laterally etched, as shown in fig. 9C, in an alternative embodiment, the lateral distance F between the end of the insertion layer and thebottom electrode 31 is greater than 1 μm to ensure that no voids are formed in the active area that affect the performance of the resonator.
As shown in fig. 9C, the piezoelectriclower layer 40 is continuously etched to expose thepin connection portions 71.
Following FIG. 9C, the steps of FIGS. 8E-8H are employed.
Fig. 10A-10B are partial manufacturing processes illustrating the bulk acoustic wave resonator shown in fig. 6.
The first four steps of the resonator manufacturing flow shown in fig. 6 correspond to steps 8A-8B of the previous figures, and the steps shown in fig. 8C are replaced with the following steps:
as shown in fig. 10A, a piezoelectric thin film material layer for forming thepiezoelectric underlayer 40 is deposited on the surface of the structure shown in fig. 8B by a deposition process including, but not limited to, MOCVD (metal organic chemical vapor deposition), MBE (molecular beam epitaxy), CBE (chemical molecular beam epitaxy), LPE (liquid phase epitaxy), magnetron sputtering, or the like. Then, ametal insertion layer 41, which may be a molybdenum layer, is prepared on the surface of the above structure. Next, theinsertion layer 41 is patterned to form the structure shown in fig. 10A.
As shown in fig. 10B, a piezoelectric thin film material layer for forming the piezoelectricupper layer 42 is deposited on the structure shown in fig. 10A by a deposition process including, but not limited to, MOCVD (metal organic chemical vapor deposition), MBE (molecular beam epitaxy), CBE (chemical molecular beam epitaxy), LPE (liquid phase epitaxy), magnetron sputtering, or the like. Then, the right side of the layer structure formed of the piezoelectric lower layer, the interposer layer, and the piezoelectric upper layer is etched by an etching process to expose the end faces of the piezoelectric lower layer, the interposer layer, and the piezoelectric upper layer and to expose thepin connection portion 71.
Following the steps shown in fig. 10B, the steps of fig. 8E-8H are employed.
Fig. 11 and 12 show cross-sectional views of bulk acoustic wave resonators based on further exemplary embodiments. In fig. 11 and 12, the insulatinglayer 50 covers a part of the top surface of theinsertion layer 41 and covers the end surfaces of the insertion layer and the piezoelectric lower layer, thereby forming electrical isolation between thetop electrode lead 62 and theinsertion layer 41.
In fig. 11, the end face of theinsertion layer 41 is flush with the end face of the piezoelectric underlayer 40, whereas in fig. 12, the end face of theinsertion layer 41 is not flush with the end face of the piezoelectric under layer 40 (i.e., the end of theinsertion layer 41 is closer to the center of the effective area of the resonator than the end of the piezoelectric underlayer 40 in the radial direction or the lateral direction).
As can be appreciated, in making the structure of fig. 11 and 12, after the piezoelectric lower layer and the interposer layer are formed, the insulatinglayer 50 is formed first, then the piezoelectricupper layer 42 is formed, and then thetop electrode 60 and thetop electrode lead 62 are formed.
Fig. 13 is an exemplary circuit diagram of a ladder structure filter. In the circuit diagram of the classic ladder-type filter shown in fig. 13, theresonators 101, 102, and 103 are series resonators, and theresonators 104 and 105 are parallel resonators.
For example, theseries resonator 101 and theparallel resonator 104 are both resonators provided with an insertion layer. For example, Kt of theseries resonator 101 and theparallel resonator 1042Are each Kt21 andKt22, Kt between two resonators2Difference is δ Kt2=Kt21-Kt22. Based on selection of at least one of a difference in position of the insertion layer in the thickness direction of the piezoelectric layer in the resonator (corresponding to the different ratio described above), the thickness of the insertion layer, and an extension length of the insertion layer to the outside of the boundary of the acoustic mirror, it is possible to make different resonators have different Kt2Thereby to makeDelta Kt between two resonators can be adjusted2
Although theparallel resonators 104 and theseries resonators 101 are described as examples, the insertion layer structure may be any series resonators or different insertion layer structures may be used between the parallel resonators, different insertion layer structures may be used between any series resonators, or different insertion layer structures may be used between the parallel resonators. The insertion layer structure here comprises one or more of the parameters for the thickness of the insertion layer, the longitudinal position of the insertion layer in the piezoelectric layer, the extension distance by which the edge of the insertion layer extends beyond the boundary of the acoustic mirror.
In the present invention, a resonator not provided with an insertion layer is a conventional resonator, and the thickness of the insertion layer can be considered to be zero.
Two bulk acoustic wave resonators disposed on the same substrate may constitute a resonator assembly, such as theseries resonator 101 and theparallel resonator 104 mentioned above, which may together form a resonator assembly. However, the number of resonators in the resonator assembly is not limited to two, and may be more, for example, more resonators may be disposed on the same substrate.
As can be appreciated by those skilled in the art, the bulk acoustic wave resonator according to the present invention may be used to form a filter or other semiconductor device.
Based on the above, the invention provides the following technical scheme:
1. a bulk acoustic wave resonator comprising:
a substrate;
an acoustic mirror;
a bottom electrode;
a top electrode and a top electrode lead-out terminal; and
a piezoelectric layer;
a pin connection part disposed to be spaced apart from the bottom electrode in a lateral direction,
wherein:
the resonator further comprises a metal insertion layer arranged between the upper piezoelectric layer and the lower piezoelectric layer;
the top electrode lead-out includes an electrical connection extending at a side of the piezoelectric layer, the top electrode lead-out electrically connecting the top electrode with the pin connection;
the resonator further includes an insulating layer, at least a portion of which is disposed between the electrical connection and the interposer to form electrical isolation between the electrical connection and the interposer.
2. The resonator of claim 1, wherein:
the insulating layer includes a side surface covering section that covers at least a part of the side surface of the piezoelectric layer and the end surface of the insertion layer.
3. The resonator ofclaim 2, wherein:
the upper end of the insulating layer includes an upper cover portion covering a portion of the top surface of the piezoelectric upper layer or interposer.
4. The resonator of claim 3, wherein:
the end of the upper covering portion is outside the boundary of the acoustic mirror in the lateral direction of the resonator.
5. The resonator of claim 3, wherein:
the end of the upper covering portion is located inside the boundary of the acoustic mirror in the lateral direction of the resonator.
6. The resonator of claim 5, wherein:
the lateral distance between the end of the upper covering portion and the boundary of the acoustic mirror is in the range of 0.5-10 μm.
7. The resonator ofclaim 2, wherein:
the lower end of the insulating layer includes a lower covering portion covering the upper surface of the substrate.
8. The resonator of claim 7, wherein:
the lower cover portion further includes a lower cover extension extending to an upper surface of the pin connection portion.
9. The resonator ofclaim 8, wherein:
the lower covering extension has a lateral width of not less than 1 μm.
10. The resonator ofclaim 2, wherein:
the end of the piezoelectric lower layer forms an angle in the range of 30 DEG to 85 DEG with the upper surface of the substrate.
11. The resonator ofclaim 2, wherein:
the width of the side cover part between the insertion layer and the electric connection part is larger than that of the resonator in the transverse direction
Figure GDA0002709030360000141
And less than 10 μm.
12. The resonator of any of claims 2-11, wherein:
the material of the insulating layer is selected from one of aluminum nitride (AlN), rare earth element doped aluminum nitride (AlN), silicon nitride, silicon dioxide, doped silicon dioxide and air.
13. The resonator of claim 1, wherein:
the insulating layer and the insertion layer are arranged between the piezoelectric upper layer and the piezoelectric lower layer in the same layer, and are located between the insertion layer and the electric connection portion in the transverse direction, and the inner end of the insulating layer is located outside the boundary of the acoustic mirror.
14. The resonator of claim 13, wherein:
the insulating layer is an air layer or a solid non-conducting dielectric layer.
15. The resonator ofclaim 14, wherein:
the width of the air layer or the solid non-conducting medium layer is in the range of 1-10 mu m.
16. The resonator of claim 1, wherein:
the insertion layer extends to the outside of the non-electrode connection end of the top electrode by a distance in the lateral direction of the resonator.
17. The resonator ofclaim 16, wherein:
an end of the insertion layer is located between the non-electrode connection end of the top electrode and a boundary of the acoustic mirror in the lateral direction; or
The end of the insertion layer is located outside the boundary of the acoustic mirror in the lateral direction.
18. The resonator of claim 1, wherein:
the thickness of the insertion layer is in the range of more than 10nm and less than 2 μm.
19. The resonator of claim 1, wherein:
the material of the insertion layer is selected from one or the combination of molybdenum, ruthenium, gold, aluminum, magnesium, tungsten, copper, titanium, iridium, osmium and chromium.
20. The resonator of claim 1, wherein:
the insertion layer covers at least the entire area of the acoustic mirror.
21. A bulk acoustic wave resonator assembly comprising:
first resonator and second resonator, first resonator and second resonator are the bulk acoustic wave resonator, and first resonator and second resonator all include basement, acoustic mirror, bottom electrode, top electrode and piezoelectric layer, wherein:
at least one of the first and second resonators is a resonator according to any of claims 1-20; and is
The electromechanical coupling coefficients of the first and second resonators are different from each other based on at least one of an insertion thickness of the insertion layer of the at least one resonator, a ratio of an upper layer thickness of the piezoelectric upper layer to a sum of lower layer thicknesses of the piezoelectric upper layer and piezoelectric lower layer, and an extension length of the insertion layer to extend outside a boundary of the acoustic mirror.
22. The assembly of claim 21, wherein:
one of the first resonator and the second resonator is provided with the insertion layer, and the other is a conventional bulk acoustic wave resonator.
23. The assembly of claim 21, wherein:
the first resonator and the second resonator are each provided with an insertion layer, and at least one of insertion thicknesses, the ratios, and the extension lengths of the first resonator and the second resonator are different so that electromechanical coupling coefficients of the first resonator and the second resonator are different from each other.
24. The assembly of claim 23, wherein:
the insertion thicknesses of the first resonator and the second resonator are different, and the thicknesses of the upper piezoelectric layers of the first resonator and the second resonator are respectively the same as the thicknesses of the lower piezoelectric layers; or
The insertion thicknesses of the first resonator and the second resonator are different, and at least one of the thicknesses of the upper layer of the piezoelectric upper layer and the lower layer of the piezoelectric lower layer of the first resonator and the second resonator is different; or
The insertion thicknesses of the first resonator and the second resonator are the same, and the thicknesses of the upper piezoelectric layers and the lower piezoelectric layers of the first resonator and the second resonator are respectively the same; or
The insertion thicknesses of the first resonator and the second resonator are the same, and at least one of the thicknesses of the upper layer of the piezoelectric upper layer and the lower layer of the piezoelectric lower layer of the first resonator and the second resonator is different.
25. A filter, wherein: the filter comprises a shunt resonator and a series resonator, wherein the shunt resonator and/or the series resonator is/are the bulk acoustic wave resonator according to any one of 1-20, or the filter comprises the bulk acoustic wave resonator assembly according to any one of 23-26.
26. An electronic device comprising a filter according to 25, or a bulk acoustic wave resonator according to any of claims 1-20, or a bulk acoustic wave resonator assembly according to any of claims 21-24.
27. A method of manufacturing a bulk acoustic wave resonator according to claim 1, comprising:
step 1: forming the insertion layer on the piezoelectric lower layer;
step 2: forming an insulating layer covering an end face of the insertion layer; and
and step 3: forming a top electrode and a top electrode lead such that at least a portion of the insulating layer is disposed between the electrical connection portion and the interposer to form an electrical isolation between the electrical connection portion and the interposer.
28. The method of 27, wherein:
in step 1, a layer structure formed by a piezoelectric lower layer, an insertion layer and a piezoelectric upper layer is formed on a substrate provided with a bottom electrode and a pin connection part;
the method further comprises, between step 1 andstep 2, step 2A: etching the layer structure at a predetermined position to expose at least an end face of the insertion layer, and:
in step 2A, the layer structure is etched to expose the entire side surface of the layer structure, instep 2, the insulating layer covers the entire side surface of the layer structure, and in step 3: the electrical connection part at least covers the insulating layer on the side surface of the layer structure; or
In step 2A, the layer structure is etched to expose the end faces of the piezoelectric upper layer and the insertion layer, instep 2, the insertion layer is laterally etched to form an air layer between the piezoelectric upper layer and the piezoelectric lower layer, the air layer forming the insulating layer, and in step 3, the electrical connection portion directly covers the side faces of the piezoelectric upper layer and the piezoelectric lower layer.
29. The method of 27, wherein:
in step 1, forming a piezoelectric lower layer and an insertion layer on a substrate provided with a bottom electrode and a pin connection portion;
instep 2, the insulating layer covers a part of the top surface of the insertion layer and at least covers the piezoelectric lower layer and the end faces of the insertion layer;
the method further comprises the step 4: forming a piezoelectric upper layer on the structure formed instep 2, the insertion layer being disposed between the piezoelectric upper layer and the piezoelectric lower layer; and is
In step 3, a top electrode and a top electrode lead-out terminal are formed on the structure formed instep 4.
The electronic device includes, but is not limited to, intermediate products such as a radio frequency front end and a filtering and amplifying module, and terminal products such as a mobile phone, WIFI and an unmanned aerial vehicle.
Although embodiments of the present invention have been shown and described, it would be appreciated by those skilled in the art that changes may be made in these embodiments without departing from the principles and spirit of the invention, the scope of which is defined in the claims and their equivalents.

Claims (29)

1. A bulk acoustic wave resonator comprising:
a substrate;
an acoustic mirror;
a bottom electrode;
a top electrode and a top electrode lead-out terminal; and
a piezoelectric layer;
a pin connection part disposed to be spaced apart from the bottom electrode in a lateral direction,
wherein:
the resonator further comprises a metal insertion layer arranged between the upper piezoelectric layer and the lower piezoelectric layer, and the end face of the insertion layer at the electrode connecting end of the top electrode is flush with the side face of the upper piezoelectric layer at the electrode connecting end of the top electrode or is positioned on the inner side of the upper piezoelectric layer at the side face of the electrode connecting end of the top electrode in the transverse direction;
the top electrode lead-out comprises an electrical connection portion extending on the side surface of the piezoelectric layer at the electrode connection end of the top electrode, and the top electrode lead-out electrically connects the top electrode with the pin connection portion;
the resonator further includes an insulating layer, at least a portion of which is disposed between the electrical connection and the interposer to form electrical isolation between the electrical connection and the interposer.
2. The resonator of claim 1, wherein:
the insulating layer includes a side surface covering section that covers at least a part of a side surface of the piezoelectric layer at the electrode connection end of the top electrode and the insertion layer at an end surface of the electrode connection end of the top electrode.
3. The resonator of claim 2, wherein:
the upper end of the insulating layer includes an upper cover portion covering a portion of the top surface of the piezoelectric upper layer or interposer.
4. The resonator of claim 3, wherein:
the end of the upper covering portion is outside the boundary of the acoustic mirror in the lateral direction of the resonator.
5. The resonator of claim 3, wherein:
the end of the upper covering portion is located inside the boundary of the acoustic mirror in the lateral direction of the resonator.
6. The resonator of claim 5, wherein:
the lateral distance between the end of the upper covering portion and the boundary of the acoustic mirror is in the range of 0.5-10 μm.
7. The resonator of claim 2, wherein:
the lower end of the insulating layer includes a lower covering portion covering the upper surface of the substrate.
8. The resonator of claim 7, wherein:
the lower cover portion further includes a lower cover extension extending to an upper surface of the pin connection portion.
9. The resonator of claim 8, wherein:
the lower covering extension has a lateral width of not less than 1 μm.
10. The resonator of claim 2, wherein:
the end of the piezoelectric lower layer forms an angle in the range of 30 DEG to 85 DEG with the upper surface of the substrate.
11. The resonator of claim 2, wherein:
the width of the side cover part between the insertion layer and the electric connection part is larger than that of the resonator in the transverse direction
Figure FDA0003009636170000021
And less than 10 μm.
12. The resonator of any of claims 2-11, wherein:
the material of the insulating layer is selected from one of aluminum nitride, rare earth element doped aluminum nitride, silicon dioxide, doped silicon dioxide and air.
13. The resonator of claim 1, wherein:
the insulating layer and the insertion layer are arranged between the piezoelectric upper layer and the piezoelectric lower layer in the same layer, and are located between the insertion layer and the electric connection portion in the transverse direction, and the inner end of the insulating layer is located outside the boundary of the acoustic mirror.
14. The resonator of claim 13, wherein:
the insulating layer is an air layer or a solid non-conducting dielectric layer.
15. The resonator of claim 14, wherein:
the width of the air layer or the solid non-conducting medium layer is in the range of 1-10 mu m.
16. The resonator of claim 1, wherein:
the insertion layer extends outside the non-electrode connection end of the top electrode in the lateral direction of the resonator.
17. The resonator of claim 16, wherein:
an end of the insertion layer is located between the non-electrode connection end of the top electrode and a boundary of the acoustic mirror in the lateral direction; or
The end of the insertion layer is located outside the boundary of the acoustic mirror in the lateral direction.
18. The resonator of claim 1, wherein:
the thickness of the insertion layer is in the range of more than 10nm and less than 2 μm.
19. The resonator of claim 1, wherein:
the material of the insertion layer is selected from one or the combination of molybdenum, ruthenium, gold, aluminum, magnesium, tungsten, copper, titanium, iridium, osmium and chromium.
20. The resonator of claim 1, wherein:
the insertion layer covers at least the entire area of the acoustic mirror.
21. A bulk acoustic wave resonator assembly comprising:
first resonator and second resonator, first resonator and second resonator are the bulk acoustic wave resonator, and first resonator and second resonator all include basement, acoustic mirror, bottom electrode, top electrode and piezoelectric layer, wherein:
at least one of the first resonator and the second resonator is a resonator according to any of claims 1-20; and is
The electromechanical coupling coefficients of the first and second resonators are different from each other based on at least one of an insertion thickness of the insertion layer of the at least one resonator, a ratio of an upper layer thickness of the piezoelectric upper layer to a sum of lower layer thicknesses of the piezoelectric upper layer and piezoelectric lower layer, and an extension length of the insertion layer to extend outside a boundary of the acoustic mirror.
22. The assembly of claim 21, wherein:
one of the first resonator and the second resonator is provided with the insertion layer, and the other is a conventional bulk acoustic wave resonator.
23. The assembly of claim 21, wherein:
the first resonator and the second resonator are each provided with an insertion layer, and at least one of insertion thicknesses, the ratios, and the extension lengths of the first resonator and the second resonator are different so that electromechanical coupling coefficients of the first resonator and the second resonator are different from each other.
24. The assembly of claim 23, wherein:
the insertion thicknesses of the first resonator and the second resonator are different, and the thicknesses of the upper piezoelectric layers of the first resonator and the second resonator are respectively the same as the thicknesses of the lower piezoelectric layers; or
The insertion thicknesses of the first resonator and the second resonator are different, and at least one of the thicknesses of the upper layer of the piezoelectric upper layer and the lower layer of the piezoelectric lower layer of the first resonator and the second resonator is different; or
The insertion thicknesses of the first resonator and the second resonator are the same, and the thicknesses of the upper piezoelectric layers and the lower piezoelectric layers of the first resonator and the second resonator are respectively the same; or
The insertion thicknesses of the first resonator and the second resonator are the same, and at least one of the thicknesses of the upper layer of the piezoelectric upper layer and the lower layer of the piezoelectric lower layer of the first resonator and the second resonator is different.
25. A filter, wherein: the filter comprises a shunt resonator and a series resonator, the shunt resonator and/or the series resonator being a bulk acoustic wave resonator according to any of claims 1-20, or the filter comprising a bulk acoustic wave resonator assembly according to any of claims 21-24.
26. An electronic device comprising a filter according to claim 25, or a bulk acoustic wave resonator according to any of claims 1-20, or a bulk acoustic wave resonator assembly according to any of claims 21-24.
27. A method of manufacturing the bulk acoustic wave resonator of claim 1, comprising:
step 1: forming the insertion layer on the piezoelectric lower layer;
step 2: forming an insulating layer covering an end face of the insertion layer; and
and step 3: forming a top electrode and a top electrode lead such that at least a portion of the insulating layer is disposed between the electrical connection portion and the interposer to form an electrical isolation between the electrical connection portion and the interposer.
28. The method of claim 27, wherein:
in step 1, a layer structure formed by a piezoelectric lower layer, an insertion layer and a piezoelectric upper layer is formed on a substrate provided with a bottom electrode and a pin connection part;
the method further comprises, between step 1 and step 2, step 2A: etching the layer structure at a predetermined position to expose at least an end face of the insertion layer, and:
in step 2A, the layer structure is etched to expose the entire side surface of the layer structure, in step 2, the insulating layer covers the entire side surface of the layer structure, and in step 3: an insulating layer covering at least the side faces of the layer structure; or
In step 2A, the layer structure is etched to expose the end faces of the piezoelectric upper layer and the insertion layer, in step 2, the insertion layer is laterally etched to form an air layer between the piezoelectric upper layer and the piezoelectric lower layer, the air layer forming the insulating layer, and in step 3, the electrical connection portion directly covers the side faces of the piezoelectric upper layer and the piezoelectric lower layer.
29. The method of claim 27, wherein:
in step 1, forming a piezoelectric lower layer and an insertion layer on a substrate provided with a bottom electrode and a pin connection portion;
in step 2, the insulating layer covers a part of the top surface of the insertion layer and at least covers the piezoelectric lower layer and the end faces of the insertion layer;
the method further comprises the step 4: forming a piezoelectric upper layer on the structure formed in step 2, the insertion layer being disposed between the piezoelectric upper layer and the piezoelectric lower layer; and is
In step 3, a top electrode and a top electrode lead-out terminal are formed on the structure formed in step 4.
CN202010571689.9A2020-06-222020-06-22 Bulk acoustic wave resonator and manufacturing method, bulk acoustic wave resonator assembly, filter and electronic equipmentActiveCN111917393B (en)

Priority Applications (1)

Application NumberPriority DateFiling DateTitle
CN202010571689.9ACN111917393B (en)2020-06-222020-06-22 Bulk acoustic wave resonator and manufacturing method, bulk acoustic wave resonator assembly, filter and electronic equipment

Applications Claiming Priority (1)

Application NumberPriority DateFiling DateTitle
CN202010571689.9ACN111917393B (en)2020-06-222020-06-22 Bulk acoustic wave resonator and manufacturing method, bulk acoustic wave resonator assembly, filter and electronic equipment

Publications (2)

Publication NumberPublication Date
CN111917393A CN111917393A (en)2020-11-10
CN111917393Btrue CN111917393B (en)2021-06-01

Family

ID=73226111

Family Applications (1)

Application NumberTitlePriority DateFiling Date
CN202010571689.9AActiveCN111917393B (en)2020-06-222020-06-22 Bulk acoustic wave resonator and manufacturing method, bulk acoustic wave resonator assembly, filter and electronic equipment

Country Status (1)

CountryLink
CN (1)CN111917393B (en)

Families Citing this family (6)

* Cited by examiner, † Cited by third party
Publication numberPriority datePublication dateAssigneeTitle
CN114696780A (en)*2020-12-312022-07-01诺思(天津)微系统有限责任公司Single crystal acoustic wave resonator, filter, and electronic device
KR20230038965A (en)*2021-09-132023-03-21삼성전기주식회사Bulk acoustic resonator
CN113852359B (en)*2021-11-262022-02-15深圳新声半导体有限公司 Thin film bulk acoustic wave resonator structure and thin film bulk acoustic wave filter
CN114497348A (en)*2021-12-312022-05-13深圳市汇芯通信技术有限公司Piezoelectric material, method for manufacturing same, surface acoustic wave resonator, and electronic device
CN115664371A (en)*2022-10-282023-01-31海宁市产业技术研究院 A thin film bulk acoustic wave resonator based on single crystal lead zirconate titanate thin film and its preparation method
TWI839228B (en)*2023-05-242024-04-11世界先進積體電路股份有限公司Piezoelectric structure and methods for forming the same

Citations (7)

* Cited by examiner, † Cited by third party
Publication numberPriority datePublication dateAssigneeTitle
JP2015073211A (en)*2013-10-032015-04-16日本電波工業株式会社 Piezoelectric device and method for manufacturing piezoelectric device
CN105281701A (en)*2014-07-252016-01-27太阳诱电株式会社Filter and duplexer
CN110868177A (en)*2019-04-232020-03-06中国电子科技集团公司第十三研究所 Resonators and Filters
CN111010104A (en)*2019-09-022020-04-14天津大学 Bulk acoustic wave resonators, filters, and electronic devices with intercalated piezoelectric layers
CN111030634A (en)*2019-12-312020-04-17诺思(天津)微系统有限责任公司 Bulk acoustic wave resonator with electrical isolation layer and its manufacturing method, filter and electronic equipment
CN111245400A (en)*2019-12-042020-06-05天津大学 Bulk Acoustic Resonators, Filters, and Electronic Devices with Bridge Insertion Structures
CN111313857A (en)*2019-11-292020-06-19天津大学Bulk acoustic wave resonator, filter, and electronic device provided with insertion structure and temperature compensation layer

Family Cites Families (3)

* Cited by examiner, † Cited by third party
Publication numberPriority datePublication dateAssigneeTitle
KR100616508B1 (en)*2002-04-112006-08-29삼성전기주식회사 FARA element and its manufacturing method
KR20170122539A (en)*2016-04-272017-11-06삼성전기주식회사Bulk acoustic wave resonator and method for manufacturing the same
JP6869831B2 (en)*2017-07-032021-05-12太陽誘電株式会社 Piezoelectric thin film resonators and their manufacturing methods, filters and multiplexers

Patent Citations (7)

* Cited by examiner, † Cited by third party
Publication numberPriority datePublication dateAssigneeTitle
JP2015073211A (en)*2013-10-032015-04-16日本電波工業株式会社 Piezoelectric device and method for manufacturing piezoelectric device
CN105281701A (en)*2014-07-252016-01-27太阳诱电株式会社Filter and duplexer
CN110868177A (en)*2019-04-232020-03-06中国电子科技集团公司第十三研究所 Resonators and Filters
CN111010104A (en)*2019-09-022020-04-14天津大学 Bulk acoustic wave resonators, filters, and electronic devices with intercalated piezoelectric layers
CN111313857A (en)*2019-11-292020-06-19天津大学Bulk acoustic wave resonator, filter, and electronic device provided with insertion structure and temperature compensation layer
CN111245400A (en)*2019-12-042020-06-05天津大学 Bulk Acoustic Resonators, Filters, and Electronic Devices with Bridge Insertion Structures
CN111030634A (en)*2019-12-312020-04-17诺思(天津)微系统有限责任公司 Bulk acoustic wave resonator with electrical isolation layer and its manufacturing method, filter and electronic equipment

Also Published As

Publication numberPublication date
CN111917393A (en)2020-11-10

Similar Documents

PublicationPublication DateTitle
CN111917393B (en) Bulk acoustic wave resonator and manufacturing method, bulk acoustic wave resonator assembly, filter and electronic equipment
CN112134542B (en) Bulk acoustic wave resonator, bulk acoustic wave resonator assembly and manufacturing method, filter and electronic equipment
KR100473871B1 (en)Thin film resonator
CN110995196B (en)Method for manufacturing resonator and resonator
JP2003347884A (en)Film bulk acoustic resonator element and manufacturing method thereof
CN113630099B (en) Bulk acoustic wave resonator and manufacturing method, component, filter and electronic device
CN114070224A (en)Bulk acoustic wave resonator assembly with acoustic decoupling layer, manufacturing method of bulk acoustic wave resonator assembly, filter and electronic device
CN112087216B (en)Bulk acoustic wave resonator with acoustic hole, assembly, filter and electronic device
CN117277986A (en)Bulk acoustic wave resonator integrated with capacitor and preparation method thereof
CN114070248A (en) Bulk acoustic wave resonator assembly with acoustic decoupling layer and method of manufacture, filter and electronic device
WO2022228385A1 (en)Bulk acoustic wave resonator having thickened electrode, filter, and electronic device
CN112071975A (en)Preparation method of flattened FBAR resonator
CN114257198A (en)Bulk acoustic wave resonator having a void layer, assembly and method of manufacturing the same, filter and electronic apparatus
WO2022062912A1 (en)Bulk acoustic wave resonator having acoustic resistance layer, and assembly thereof and manufacturing method therefor, filter, and electronic device
WO2022228486A1 (en)Bulk acoustic resonator and manufacturing method therefor, filter, and electronic device
WO2022062910A1 (en)Bulk acoustic resonator and assembly, method for adjusting electromechanical coupling coefficient difference, and filter and electronic device
CN115250100A (en)Bulk acoustic wave resonator, bulk acoustic wave resonator assembly, filter, and electronic device
CN117013979B (en)Bulk acoustic wave resonator, preparation method thereof, filter and electronic equipment
CN117013978B (en)Bulk acoustic wave resonator, preparation method thereof, filter and electronic equipment
CN117176101A (en)Bulk acoustic wave resonator, preparation method thereof, filter and electronic equipment
WO2022083712A1 (en)Bulk acoustic resonator, bulk acoustic resonator assembly, filter and electronic device
WO2022001860A1 (en)Bulk acoustic wave resonator and manufacturing method therefor, filter and electronic device
CN117081533B (en)Bulk acoustic wave resonator, preparation method thereof, filter and electronic equipment
CN111010139A (en) BAW resonators, filters and electronics
CN115241622B (en)Resonator, filter and electronic device

Legal Events

DateCodeTitleDescription
PB01Publication
PB01Publication
SE01Entry into force of request for substantive examination
SE01Entry into force of request for substantive examination
GR01Patent grant
GR01Patent grant
PE01Entry into force of the registration of the contract for pledge of patent right

Denomination of invention:Bulk acoustic wave resonator and its manufacturing method, bulk acoustic wave resonator assembly, filter and electronic equipment

Effective date of registration:20210908

Granted publication date:20210601

Pledgee:Tianjin TEDA Haihe intelligent manufacturing industry development fund partnership (L.P.)

Pledgor:ROFS MICROSYSTEM(TIANJIN) Co.,Ltd.

Registration number:Y2021980009022

PE01Entry into force of the registration of the contract for pledge of patent right
PP01Preservation of patent right

Effective date of registration:20240130

Granted publication date:20210601

PP01Preservation of patent right
PD01Discharge of preservation of patent

Date of cancellation:20241213

Granted publication date:20210601

PD01Discharge of preservation of patent

[8]ページ先頭

©2009-2025 Movatter.jp