




技术领域technical field
本发明涉及医用雾化设备技术领域,具体涉及一种哮喘病人专用气化中医护理装置。The invention relates to the technical field of medical atomization equipment, in particular to a special gasification traditional Chinese medicine nursing device for asthmatic patients.
背景技术Background technique
雾化治疗是指将药液进行雾化,然后患者将雾化的药液直接吸入的一种治疗手段,其大多应用于慢性呼吸科疾病的治疗,如哮喘、支气管炎等。Atomization therapy refers to a method of nebulizing medicinal liquid, and then patients directly inhale the nebulized medicinal liquid. It is mostly used in the treatment of chronic respiratory diseases, such as asthma and bronchitis.
现有的雾化设备会通过面罩等装置将雾化机与使用者的面部连接,进而方便使用者吸入雾化机产生的雾状药液,但是在使用这类设备时,由于长时间佩戴面罩,会使得使用者极易出现疲劳感,面罩固定勒紧在使用者的面部,体感体验极差,且面罩为一个密封的环境,其内充斥的药液浓度较大,容易使用者的呼吸感觉造成不适,需要改进。The existing atomization equipment connects the atomizer to the face of the user through a mask and other devices, which makes it easier for the user to inhale the mist liquid medicine produced by the atomizer. , will make the user very prone to fatigue, the mask is fixed and tightened on the user's face, the physical experience is extremely poor, and the mask is a sealed environment, and the concentration of the liquid medicine filled in it is relatively large, which is easy for the user to breathe Causes discomfort and needs improvement.
发明内容Contents of the invention
本发明的目的在于针对现有技术的缺陷和不足,提供一种设计合理、使用方便的哮喘病人专用气化中医护理装置,其使用多组板材围成一个封闭的空间结构,在该空间内充入雾化药液,使用者在使用时将头部搁在该空间内,进而能够舒适的吸入雾化药液,且该空间内通过管道与抽气设备连接,能够吸走多余的雾化药液。The object of the present invention is to aim at the defects and deficiencies of the prior art, to provide a special gasification traditional Chinese medicine nursing device for asthmatic patients with reasonable design and convenient use. The user puts his head in the space when using it, so that he can comfortably inhale the atomized medicine, and the space is connected to the air suction device through a pipeline, which can absorb the excess atomized medicine liquid.
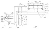
为实现上述目的,本发明采用的技术方案是:它包含底座、垫板、面罩组件、驱动组件,其中底座上固定设置有导向杆,导向杆上活动套设有垫板,垫板上固定设置有面罩组件,底座上固定设置有驱动组件,驱动组件与面罩组件管道连接设置;In order to achieve the above object, the technical solution adopted by the present invention is: it includes a base, a backing plate, a mask assembly, and a driving assembly, wherein a guide rod is fixedly arranged on the base, a backing plate is movable on the guide bar, and a backing plate is fixedly arranged on the backing plate. There is a mask component, a drive component is fixedly arranged on the base, and the drive component and the mask component are connected by pipelines;
所述的面罩组件包含安装框、遮光布、安装座、遮光板,其中垫板的上表面上固定设置有安装框,安装框的后侧壁上端固定设置有自卷卷轴,自卷卷轴上固定绕设有遮光布,安装框内设置有安装座,安装框的左右内侧壁上设置有滑槽,安装座的左右两端分别滑动设置在左右两侧的滑槽内,安装座的下表面上固定设置有轴座,轴座上通过转轴旋设有遮光板,遮光布的前侧边覆盖在遮光板的上表面后,固定设置在遮光板的前侧边上;滑槽的上侧壁上等距穿设有数个定位孔,定位孔内穿设有定位杆,且定位杆的下端活动插设在安装座的侧边上,轴座上固定设置有齿环,且齿环与遮光板的转轴同圆心设置,遮光板的下表面前端固定设置有弹性片,弹性片上固定设置有卡齿,卡齿与齿环活动啮合设置;The mask assembly includes a mounting frame, a light-shading cloth, a mounting seat, and a light-shielding plate, wherein the upper surface of the backing plate is fixedly provided with the mounting frame, and the upper end of the rear side wall of the mounting frame is fixedly provided with a self-rolling reel, and the self-rolling reel is fixed. There is a shading cloth around it, a mounting seat is provided in the mounting frame, and chute is provided on the left and right inner walls of the mounting frame, and the left and right ends of the mounting seat are respectively slid in the chute on the left and right sides, and the lower surface of the mounting seat is A shaft seat is fixedly arranged on which a shading plate is rotated through a rotating shaft. After the front side of the shading cloth is covered on the upper surface of the shading plate, it is fixedly arranged on the front side of the shading plate; on the upper side wall of the chute Several positioning holes are equidistantly pierced, and a positioning rod is pierced in the positioning hole, and the lower end of the positioning rod is movably inserted on the side of the mounting seat, and a gear ring is fixed on the shaft seat, and the gear ring and the light shield The rotating shaft is set at the same center of the circle, and the front end of the lower surface of the shading plate is fixedly provided with an elastic sheet, and the elastic sheet is fixedly provided with locking teeth, and the locking teeth are movable meshed with the gear ring;
所述的驱动组件包含雾化机、总水管、抽气泵,其中底座上固定设置有雾化机,遮光板的下表面前端固定设置有雾化喷头,雾化机的出气管通过软管穿过安装框的左侧壁后,与雾化喷头连接设置;雾化机的进口端上法兰连接有连接管,连接管的另一端法兰连接有总水管,底座上固定设置有安装架,总水管固定设置在安装架上,总水管上套设有环套,环套上穿设固定有螺纹套,总水管的上表面上开设有通水孔,环套覆盖设置在通水孔上;底座上固定设置有抽气泵,抽气泵的进口端通过连接管穿设在安装框的左右两侧壁上。The drive assembly includes an atomizer, a water main pipe, and an air pump, wherein an atomizer is fixedly installed on the base, and an atomization nozzle is fixedly installed on the front end of the lower surface of the shading plate, and the air outlet pipe of the atomizer passes through a hose. After the left side wall of the frame is installed, it is connected with the atomizing nozzle; the inlet end of the atomizer is connected with a connecting pipe, the other end of the connecting pipe is connected with a main water pipe, and the base is fixed with a mounting frame. The water pipe is fixed on the installation frame, the water main pipe is covered with a ring, the ring is fixed with a threaded sleeve, the upper surface of the main water pipe is provided with a water hole, and the ring cover is arranged on the water hole; the base An air suction pump is fixedly arranged on the top, and the inlet end of the air suction pump is pierced on the left and right side walls of the installation frame through a connecting pipe.
进一步的,所述的安装座的前侧边上固定设置有滑竿,滑竿上通过滑环活动设置有遮挡帘,滑环套设在滑竿上,滑环固定设置在遮挡帘上,使用者将头部放在垫板上,滑动遮挡帘挡住安装框的前部开口。Further, a sliding rod is fixedly arranged on the front side of the mounting seat, and a block curtain is movable on the slide rod through a slip ring. place the bottom on the backing plate, and slide the shade over the front opening of the mounting frame.
进一步的,所述的垫板的上表面前端设置有安装槽,安装槽内活动嵌设有集水槽,集水槽的上侧边低于安装槽的上端设置,雾化药液凝结的水珠落在垫板上,进而水珠滑动进入集水槽收集。Further, the front end of the upper surface of the backing plate is provided with an installation groove, and a water collection groove is embedded in the installation groove. On the backing plate, the water drops slide into the sump to collect.
进一步的,所述的底座上固定设置有丝杆,丝杆穿设在垫板上,丝杆上旋设有丝母,丝母活动抵设在垫板的下表面上,将垫板放置后,转动丝母抵住垫板的下表面,对垫板进行支撑。Further, the base is fixedly provided with a screw rod, the screw rod is threaded on the backing plate, the screw nut is screwed on the screw rod, and the screw nut is movably mounted on the lower surface of the backing plate, after the backing plate is placed , turn the screw nut against the lower surface of the backing plate to support the backing plate.
进一步的,所述的安装架上固定设置有弹性抱箍,且弹性抱箍设置在总水管的上方,在将药剂瓶装在螺纹套上,且转动药剂瓶竖起,向总水管内供料时,弹性抱箍卡住药剂瓶,对其进行固定。Further, an elastic hoop is fixedly arranged on the installation frame, and the elastic hoop is arranged above the main water pipe. , the elastic hoop clamps the medicine bottle and fixes it.
进一步的,所述的垫板的上表面前侧边上固定设置有海绵垫,使用者将头部放在垫板上,海绵垫垫在使用者的颈部进行支撑。Further, a sponge pad is fixedly arranged on the front side of the upper surface of the backing board, the user places his head on the backing board, and the sponge pad supports the user's neck.
本发明的工作原理是:在使用时,将垫板放置于使用者的床板上,同时底座置于床的一侧,使用者将头部搁在垫板上,前后滑动安装座调整位置,调整完成后,将定位杆穿过定位孔后插在安装座上,对安装座的前后位置进行固定,接着转动遮光板,在转动遮光板的过程中,手动按压弹性片,进而卡齿脱离齿环,遮光板旋转完成后,松开弹性片,卡齿卡住齿环,进而对遮光板的位置进行固定,此时遮光板将遮光布从自卷卷轴内拉出,遮光布遮挡住安装框后侧板至安装座之间的空间;使用者使用过程中,雾化喷头置于使用者下颚位置的上方,雾化机将药物雾化,并通过雾化喷头喷出,此时雾化的药剂充在安装框、遮光布围成的空间内供使用者吸入,抽气泵对安装框、遮光布围成的空间内进行抽气,进而将多余的雾化药剂抽出,且将安装框、遮光布围成的空间内形成负压,对雾化药剂进行约束,在对雾化机进行供料时,将药剂瓶旋在螺纹套上,转动环套使得药剂瓶倒置,此时药剂瓶通过通水孔与总水管贯通,进而通过连接管向雾化机供给药剂进行雾化。The working principle of the present invention is: when in use, the backing plate is placed on the user's bed, and the base is placed on one side of the bed, the user rests the head on the backing plate, slides the mounting seat back and forth to adjust the position, adjusts the After completion, pass the positioning rod through the positioning hole and insert it on the mounting base to fix the front and rear positions of the mounting base, and then turn the visor. During the process of rotating the visor, manually press the elastic piece, and then the locking teeth are separated from the gear ring , after the shading plate is rotated, loosen the elastic piece, and the teeth clamp the gear ring, and then fix the position of the shading plate. At this time, the shading plate pulls the shading cloth from the self-rolling reel, and the shading cloth covers the installation frame. The space between the side plate and the mounting seat; during the user's use, the atomizing nozzle is placed above the user's jaw, and the atomizer atomizes the drug and sprays it out through the atomizing nozzle. At this time, the atomized drug It is filled in the space surrounded by the installation frame and the shading cloth for the user to inhale. The air pump pumps air into the space surrounded by the installation frame and the shading cloth, and then the excess atomized agent is pumped out, and the installation frame and the shading cloth are sucked out. Negative pressure is formed in the enclosed space to restrain the atomized medicine. When feeding the atomizer, the medicine bottle is screwed on the threaded sleeve, and the ring sleeve is turned to make the medicine bottle upside down. At this time, the medicine bottle passes through the water The hole communicates with the main water pipe, and then the medicine is supplied to the atomizer through the connecting pipe for atomization.
采用上述结构后,本发明有益效果为:After adopting above-mentioned structure, beneficial effect of the present invention is:
1、垫板上设置有安装框,安装框内设置有活动的安装座,安装座上设置有遮光板,遮光板与固定于安装框上的遮光帘连接,进而通过遮光板、遮挡帘、安装框围成一个一端开口的半密闭环境,用以在该空间内充入雾化药液,使用者将头部置于该空间内进行雾化药液的吸入,进而进行治疗,且安装座能够前后调节,遮光板能够旋转调节,以适应使用者的头型;1. There is an installation frame on the backing plate, a movable mounting seat is arranged in the installation frame, and a shading plate is arranged on the mounting seat. The shading plate is connected with the shading curtain fixed on the mounting frame, and then through the shading plate, the shading curtain, The frame forms a semi-closed environment with an open end, which is used to fill the space with atomized medicinal liquid. The user places his head in the space to inhale the atomized medicinal liquid, and then perform treatment, and the mounting seat can Front and rear adjustment, the visor can be rotated and adjusted to suit the user's head shape;
2、雾化机通过连接管与总水管连接,总水管上套设有环套,且环套覆盖在通水孔上,环套上穿设有螺纹套,进而在雾化机内添加药液时,将药剂瓶对接在螺纹套上即可,且空置的环套在旋转后即可挡住通水孔,方便在雾化机不停机的情况下添加药液;2. The atomizer is connected to the main water pipe through the connecting pipe. The main water pipe is covered with a ring sleeve, and the ring sleeve covers the water hole. The ring sleeve is threaded with a threaded sleeve, and then the liquid medicine is added to the atomizer. At the same time, it is enough to butt the medicine bottle on the threaded sleeve, and the empty ring sleeve can block the water hole after rotation, so that it is convenient to add liquid medicine when the atomizer does not stop;
3、抽气泵通过管道穿设在安装框上,进而抽气泵工作,能够将雾化空间内的多余药液抽出,维持雾化药液浓度,方便保持使用者的舒适呼吸环境。3. The air pump is installed on the installation frame through the pipeline, and then the air pump works, which can pump out the excess liquid medicine in the atomization space, maintain the concentration of the atomized liquid medicine, and maintain a comfortable breathing environment for the user.
附图说明Description of drawings
为了更清楚地说明本发明实施例或现有技术中的技术方案,下面将对实施例或现有技术描述中所需要使用的附图作简单地介绍,显而易见地,下面描述中的附图仅仅是本发明的一些实施例,对于本领域普通技术人员来讲,在不付出创造性劳动性的前提下,还可以根据这些附图获得其他的附图。In order to more clearly illustrate the technical solutions in the embodiments of the present invention or the prior art, the following will briefly introduce the drawings that need to be used in the description of the embodiments or the prior art. Obviously, the accompanying drawings in the following description are only These are some embodiments of the present invention. For those skilled in the art, other drawings can also be obtained according to these drawings without any creative effort.
图1是本发明的结构示意图。Fig. 1 is a structural schematic diagram of the present invention.
图2是图1的俯视图。FIG. 2 is a top view of FIG. 1 .
图3是图1中的A-A剖视图。Fig. 3 is a sectional view along A-A in Fig. 1 .
图4是图3中的B部放大图。Fig. 4 is an enlarged view of part B in Fig. 3 .
图5是本发明中总水管的结构示意图。Fig. 5 is a structural schematic diagram of the main water pipe in the present invention.
附图标记说明:Explanation of reference signs:
底座1、导向杆2、垫板3、面罩组件4、安装框4-1、自卷卷轴4-2、遮光布4-3、安装座4-4、滑槽4-5、轴座4-6、遮光板4-7、定位孔4-8、定位杆4-9、齿环4-10、弹性片4-11、卡齿4-12、驱动组件5、雾化机5-1、雾化喷头5-2、连接管5-3、总水管5-4、环套5-5、螺纹套5-6、通水孔5-7、抽气泵5-8、安装架5-9、滑竿6、滑环7、遮挡帘8、安装槽9、集水槽10、丝杆11、丝母12、弹性抱箍13、海绵垫14。
具体实施方式Detailed ways
下面结合附图对本发明作进一步的说明。The present invention will be further described below in conjunction with the accompanying drawings.
参看如图1-图5所示,本具体实施方式包含底座1、垫板3、面罩组件4、驱动组件5,其中底座1上铆设有导向杆2,导向杆2上活动套设有垫板3,垫板3上铆设有面罩组件4,底座1上铆设有驱动组件5,驱动组件5与面罩组件4管道连接设置;Referring to Fig. 1-Fig. 5, this specific embodiment includes a
所述的面罩组件4包含安装框4-1、遮光布4-3、安装座4-4、遮光板4-7,其中垫板3的上表面上铆设有安装框4-1,安装框4-1的后侧壁上端铆设有自卷卷轴4-2,自卷卷轴4-2上固定绕设有遮光布4-3,安装框4-1内设置有安装座4-4,安装框4-1的左右内侧壁上设置有滑槽4-5,安装座4-4的左右两端分别滑动设置在左右两侧的滑槽4-5内,安装座4-4的下表面上铆设有轴座4-6,轴座4-6上通过转轴旋设有遮光板4-7,遮光布4-3的前侧边覆盖在遮光板4-7的上表面后,铆设在遮光板4-7的前侧边上;滑槽4-5的上侧壁上等距穿设有数个定位孔4-8,定位孔4-8内穿设有定位杆4-9,且定位杆4-9的下端活动插设在安装座4-4的侧边上,轴座4-6上铆设有齿环4-10,且齿环4-10与遮光板4-7的转轴同圆心设置,遮光板4-7的下表面前端铆设有弹性片4-11,弹性片4-11上铆设有卡齿4-12,卡齿4-12与齿环4-10活动啮合设置,安装座4-4的前侧边上铆设有滑竿6,滑竿6上通过滑环7活动设置有遮挡帘8,滑环7套设在滑竿6上,滑环7铆设在遮挡帘8上,底座1上铆设有丝杆11,丝杆11穿设在垫板3上,丝杆11上旋设有丝母12,丝母12活动抵设在垫板3的下表面上,使用者将头部放在垫板3上后,滑动遮挡帘8挡在使用者头部两侧,将安装款的前端开口进行遮挡,形成暗光环境,在设置垫板3时,将垫板3放置完成,转动丝母12抵住垫板3的下表面,进而能够对垫板3的侧边进行支撑,保持垫板3水平稳定;Described mask assembly 4 comprises installation frame 4-1, shade cloth 4-3, mounting seat 4-4, shade plate 4-7, wherein the upper surface of
所述的驱动组件5包含雾化机5-1、总水管5-4、抽气泵5-8,其中底座1上铆设有雾化机5-1,遮光板4-7的下表面前端铆设有雾化喷头5-2,雾化机5-1的出气管通过软管穿过安装框4-1的左侧壁后,与雾化喷头5-2连接设置;雾化机5-1的进口端上法兰连接有连接管5-3,连接管5-3的另一端法兰连接有总水管5-4,底座1上铆设有安装架5-9,总水管5-4铆设在安装架5-9上,总水管5-4上套设有环套5-5,环套5-5上穿设固定有螺纹套5-6,总水管5-4的上表面上开设有通水孔5-7,环套5-5覆盖设置在通水孔5-7上,安装架5-9上铆设有弹性抱箍13,且弹性抱箍13设置在总水管5-4的上方,在将药剂瓶对接在螺纹套5-6上进行供料时,向上转动药剂瓶,此时药剂瓶卡在弹性抱箍13内固定;底座1上铆设有抽气泵5-8,抽气泵5-8的进口端通过连接管5-3穿设在安装框4-1的左右两侧壁上;The
垫板3的上表面前端设置有安装槽9,安装槽9内活动嵌设有集水槽10,集水槽10的上侧边低于安装槽9的上端设置,垫板3的上表面前侧边上铆设有海绵垫14,集水槽10能够收集垫板3上凝结的水珠,海绵垫14垫在使用者的颈部。The front end of the upper surface of the
本具体实施方式的工作原理是:在使用时,将垫板3放置于使用者的床板上,同时底座1置于床的一侧,使用者将头部搁在垫板3上,前后滑动安装座4-4调整位置,调整完成后,将定位杆4-9穿过定位孔4-8后插在安装座4-4上,对安装座4-4的前后位置进行固定,接着转动遮光板4-7,在转动遮光板4-7的过程中,手动按压弹性片4-11,进而卡齿4-12脱离齿环4-10,遮光板4-7旋转完成后,松开弹性片4-11,卡齿4-12卡住齿环4-10,进而对遮光板4-7的位置进行固定,此时遮光板4-7将遮光布4-3从自卷卷轴4-2内拉出,遮光布4-3遮挡住安装框4-1后侧板至安装座4-4之间的空间;使用者使用过程中,雾化喷头5-2置于使用者下颚位置的上方,雾化机5-1将药物雾化,并通过雾化喷头5-2喷出,此时雾化的药剂充在安装框4-1、遮光布4-3围成的空间内供使用者吸入,抽气泵5-8对安装框4-1、遮光布4-3围成的空间内进行抽气,进而将多余的雾化药剂抽出,且将安装框4-1、遮光布4-3围成的空间内形成负压,对雾化药剂进行约束,在对雾化机5-1进行供料时,将药剂瓶旋在螺纹套5-6上,转动环套5-5使得药剂瓶倒置,此时药剂瓶通过通水孔5-7与总水管5-4贯通,进而通过连接管5-3向雾化机5-1供给药剂进行雾化。The working principle of this specific embodiment is: when in use, the
采用上述结构后,本具体实施方式有益效果为:After adopting the above-mentioned structure, the beneficial effects of this embodiment are:
1、垫板3上设置有安装框4-1,安装框4-1内设置有活动的安装座4-4,安装座4-4上设置有遮光板4-7,遮光板4-7与固定于安装框4-1上的遮光帘连接,进而通过遮光板4-7、遮挡帘8、安装框4-1围成一个一端开口的半密闭环境,用以在该空间内充入雾化药液,使用者将头部置于该空间内进行雾化药液的吸入,进而进行治疗,且安装座4-4能够前后调节,遮光板4-7能够旋转调节,以适应使用者的头型;1. An installation frame 4-1 is arranged on the
2、雾化机5-1通过连接管5-3与总水管5-4连接,总水管5-4上套设有环套5-5,且环套5-5覆盖在通水孔5-7上,环套5-5上穿设有螺纹套5-6,进而在雾化机5-1内添加药液时,将药剂瓶对接在螺纹套5-6上即可,且空置的环套5-5在旋转后即可挡住通水孔5-7,方便在雾化机5-1不停机的情况下添加药液;2. The atomizer 5-1 is connected to the main water pipe 5-4 through the connecting pipe 5-3. The main water pipe 5-4 is covered with a ring sleeve 5-5, and the ring sleeve 5-5 covers the water hole 5- 7, the threaded sleeve 5-6 is worn on the ring sleeve 5-5, and then when adding liquid medicine in the atomizer 5-1, the medicine bottle can be docked on the threaded sleeve 5-6, and the empty ring The sleeve 5-5 can block the water hole 5-7 after being rotated, so that it is convenient to add liquid medicine when the atomizer 5-1 does not stop;
3、抽气泵5-8通过管道穿设在安装框4-1上,进而抽气泵5-8工作,能够将雾化空间内的多余药液抽出,维持雾化药液浓度,方便保持使用者的舒适呼吸环境。3. The air pump 5-8 is installed on the installation frame 4-1 through the pipeline, and then the air pump 5-8 works, which can extract the excess liquid medicine in the atomization space, maintain the concentration of the atomized liquid medicine, and keep the user comfortable breathing environment.
以上所述,仅用以说明本发明的技术方案而非限制,本领域普通技术人员对本发明的技术方案所做的其它修改或者等同替换,只要不脱离本发明技术方案的精神和范围,均应涵盖在本发明的权利要求范围当中。The above is only used to illustrate the technical solution of the present invention and not to limit it. Other modifications or equivalent replacements made by those skilled in the art to the technical solution of the present invention should be considered as long as they do not depart from the spirit and scope of the technical solution of the present invention. fall within the scope of the claims of the present invention.
| Application Number | Priority Date | Filing Date | Title |
|---|---|---|---|
| CN202010851086.4ACN111905202B (en) | 2020-08-21 | 2020-08-21 | Special gasification traditional chinese medical science nursing device of asthma patient |
| Application Number | Priority Date | Filing Date | Title |
|---|---|---|---|
| CN202010851086.4ACN111905202B (en) | 2020-08-21 | 2020-08-21 | Special gasification traditional chinese medical science nursing device of asthma patient |
| Publication Number | Publication Date |
|---|---|
| CN111905202A CN111905202A (en) | 2020-11-10 |
| CN111905202Btrue CN111905202B (en) | 2023-01-24 |
| Application Number | Title | Priority Date | Filing Date |
|---|---|---|---|
| CN202010851086.4AExpired - Fee RelatedCN111905202B (en) | 2020-08-21 | 2020-08-21 | Special gasification traditional chinese medical science nursing device of asthma patient |
| Country | Link |
|---|---|
| CN (1) | CN111905202B (en) |
| Publication number | Priority date | Publication date | Assignee | Title |
|---|---|---|---|---|
| GB685017A (en)* | 1950-02-13 | 1952-12-31 | Drager Otto H | Air pump for breathing apparatus, especially for iron lungs |
| DE1250057B (en)* | 1958-07-16 | 1968-03-21 | West Haven Conn Frederick Franz (V St A) | Ventilator |
| US6014971A (en)* | 1997-08-15 | 2000-01-18 | 3M Innovative Properties Company | Protective system for face and respiratory protection |
| US20020069877A1 (en)* | 2000-12-13 | 2002-06-13 | Villareal Daniel C. | Ventilation transport device |
| EP1863554B1 (en)* | 2005-04-01 | 2020-10-07 | ResMed Pty Ltd | Ventless mask cpap system |
| US20070113856A1 (en)* | 2005-11-22 | 2007-05-24 | General Electric Company | Respiratory monitoring with cannula receiving respiratory airflows |
| US20090032019A1 (en)* | 2007-07-30 | 2009-02-05 | Eric Matthew Green | One-piece, foldable mask and holding chamber for use with aerosolized medications |
| WO2016089224A1 (en)* | 2014-12-03 | 2016-06-09 | Fisher & Paykel Healthcare Limited | Respiratory gas therapy |
| CN204972563U (en)* | 2015-07-23 | 2016-01-20 | 陈耀然 | An intelligent head mist care machine |
| WO2017035773A1 (en)* | 2015-09-01 | 2017-03-09 | 温玉桂 | Atomisation device |
| Publication number | Publication date |
|---|---|
| CN111905202A (en) | 2020-11-10 |
| Publication | Publication Date | Title |
|---|---|---|
| CN209437839U (en) | An atomization device for respiratory medicine | |
| CN209864910U (en) | Medicine feeding device for pediatric nursing | |
| CN111905202B (en) | Special gasification traditional chinese medical science nursing device of asthma patient | |
| CN217772930U (en) | Neonate atomizing device | |
| CN204246615U (en) | Adjustable atomization inhaler | |
| CN222968973U (en) | Auxiliary device for atomization in bed | |
| CN211512984U (en) | Noise reduction type medical respirator | |
| CN220344909U (en) | Inhalation type anaesthetic mask | |
| CN116271394B (en) | Convenient auxiliary respirator | |
| CN212214274U (en) | A new type of pressure regulating sputum suction device for respiratory medicine | |
| CN111939404A (en) | A kind of medical pediatric medicine liquid atomization device | |
| CN219921757U (en) | Oxygen inhalation device | |
| CN211157943U (en) | Anesthesia dose adjustable anesthesia device | |
| CN108744181A (en) | A kind of drug delivery device for respiratory medicine that comfort is good | |
| CN221014104U (en) | Finger type air extraction bracket bag | |
| CN111437476A (en) | A ventilator with self-disinfection function for emergency critical care | |
| CN209611900U (en) | Medical care breathing atomizer | |
| CN205849932U (en) | Modified form atomization inhaling face shield | |
| CN221535235U (en) | Multifunctional mist absorber | |
| CN221787687U (en) | Atomizing device convenient to hang | |
| CN222265876U (en) | Multifunctional medical atomizer | |
| CN215537476U (en) | Oxygen and atomization inhalation combined tube | |
| CN215194627U (en) | A clinical nebulizer anesthetizer | |
| CN215426694U (en) | Atomizing and sucking device for pediatric internal medicine | |
| CN219185090U (en) | Disinfection and cleaning device |
| Date | Code | Title | Description |
|---|---|---|---|
| PB01 | Publication | ||
| PB01 | Publication | ||
| SE01 | Entry into force of request for substantive examination | ||
| SE01 | Entry into force of request for substantive examination | ||
| GR01 | Patent grant | ||
| GR01 | Patent grant | ||
| CF01 | Termination of patent right due to non-payment of annual fee | ||
| CF01 | Termination of patent right due to non-payment of annual fee | Granted publication date:20230124 |