









技术领域technical field
本发明涉及经颅电刺激设备技术领域,具体地说,涉及一种智能化经颅电磁康复治疗仪。The invention relates to the technical field of transcranial electrical stimulation equipment, in particular to an intelligent transcranial electromagnetic rehabilitation therapy apparatus.
背景技术Background technique
经颅直流电刺激是一种非侵入性的,利用恒定、低强度直流电调节大脑皮层神经元活动的技术,可用于心理学研究、神经心理、精神心理等应用范围。现有技术中常见的经颅电产品比较简单、功能单一,使用过程中电极片不便固定且容易脱落,医生也不方便操作;同时由于头套经常给不同的患者佩戴来做治疗,使得头套的卫生状况不佳,容易染上真菌和细菌,导致患者之间交叉感染;另外,患者头部在电磁波的刺激下容易出现头部温度上升的情况,会给患者带来不适。Transcranial direct current stimulation is a non-invasive technique that uses constant, low-intensity direct current to modulate neuronal activity in the cerebral cortex. It can be used in psychological research, neuropsychology, and psychopsychology. The common transcranial electrical products in the prior art are relatively simple and have a single function, and the electrode pads are inconvenient to be fixed and easy to fall off during use, and it is also inconvenient for doctors to operate. In poor condition, it is easy to be infected with fungi and bacteria, resulting in cross infection between patients; in addition, the temperature of the patient's head is prone to rise under the stimulation of electromagnetic waves, which will bring discomfort to the patient.
发明内容SUMMARY OF THE INVENTION
本发明的目的在于提供一种智能化经颅电磁康复治疗仪,以解决上述背景技术中提出的问题。The purpose of the present invention is to provide an intelligent transcranial electromagnetic rehabilitation therapy apparatus to solve the problems raised in the above-mentioned background art.
为实现上述技术问题的解决,本发明的目的之一在于,提供一种智能化经颅电磁康复治疗仪,包括治疗控制装置,所述治疗控制装置包括主机,所述主机内设有智能控制系统,所述主机的一侧设有线管,所述线管内设有若干分线,所述分线延伸到头套内,所述头套由外层和内层组成,所述外层上规则设有若干穴位孔,每个所述穴位孔内均设有电极片和LED灯珠,所述头套的前额处设有LED显示屏,所述LED显示屏的正上方设有蜂鸣报警器,所述头套的下端通过针线缝合固定有弹性带,所述头套的内侧配套设有头套内胆,所述头套外还设有降温装置,所述降温装置包括储水罐和循环管,所述循环管的中间部分呈S状分布在所述外层与所述内层之间,所述循环管的两端均延伸到所述储水罐,所述循环管的其中一端设有微型水泵。In order to solve the above-mentioned technical problems, one of the purposes of the present invention is to provide an intelligent transcranial electromagnetic rehabilitation therapy apparatus, which includes a treatment control device, and the treatment control device includes a host, and the host is provided with an intelligent control system , one side of the host is provided with a line pipe, the line pipe is provided with a number of branch lines, the branch line extends into the head cover, the head cover is composed of an outer layer and an inner layer, and the outer layer is regularly provided with several Acupuncture holes, each of which is provided with electrode sheets and LED lamp beads, the forehead of the headgear is provided with an LED display screen, and a buzzer alarm is provided directly above the LED display screen, and the headgear is provided with an LED display screen. The lower end of the headgear is sutured and fixed with an elastic band, the inner side of the headgear is equipped with a headgear liner, and the outer part of the headgear is also provided with a cooling device, the cooling device includes a water storage tank and a circulation pipe, the middle of the circulation pipe is Parts are distributed between the outer layer and the inner layer in an S shape, both ends of the circulation pipe extend to the water storage tank, and one end of the circulation pipe is provided with a micro water pump.
作为本技术方案的进一步改进,所述电极片通过胶水粘连固定在所述内层的内侧壁上,所述LED灯珠穿过穴位孔延伸到所述外层的外侧,处于同一位置的所述电极片和所述LED灯珠同时与其中一根所述分线电性连接。As a further improvement of this technical solution, the electrode sheet is adhered and fixed on the inner side wall of the inner layer by glue, and the LED lamp beads extend to the outer side of the outer layer through the acupoint hole. The electrode sheet and the LED lamp bead are electrically connected to one of the branch lines at the same time.
作为本技术方案的进一步改进,所述LED显示屏与其中一根所述分线电性连接,所述蜂鸣报警器与其中一根所述分线电性连接。As a further improvement of this technical solution, the LED display screen is electrically connected with one of the branch lines, and the buzzer alarm is electrically connected with one of the branch lines.
作为本技术方案的进一步改进,所述微型水泵通过导线与所述主机电性连接。As a further improvement of the technical solution, the micro water pump is electrically connected to the host through a wire.
本发明的目的之二在于,提供一种智能控制系统,所述智能控制系统包括主控制单元、人机交互单元和安全监测单元;所述主控制单元用于控制和管理治疗的过程;所述人机交互单元将治疗过程中的重要信息展示出来;所述安全监测单元用于监测用户的体温及对特殊情况进行报警。Another object of the present invention is to provide an intelligent control system, the intelligent control system includes a main control unit, a human-computer interaction unit and a safety monitoring unit; the main control unit is used to control and manage the process of treatment; the The human-computer interaction unit displays important information in the treatment process; the safety monitoring unit is used to monitor the user's body temperature and give an alarm to special situations.
作为本技术方案的进一步改进,所述主控制单元包括电压调节模块、恒流源模块、定点选择模块、电源输出模块和远程监控模块;所述电压调节模块用于调节仪器内的电压使其可适用于人体;所述恒流源模块用于将输出电流控制在恒定范围;所述定点选择模块用于控制对定点位置输出恒定电流的过程;所述电源输出模块用于分配电流的输出方向和输出的量;所述远程监控模块用于通过远程通讯技术遥控仪器的启动过程。As a further improvement of this technical solution, the main control unit includes a voltage regulation module, a constant current source module, a fixed-point selection module, a power output module and a remote monitoring module; the voltage regulation module is used to regulate the voltage in the instrument so that it can be adjusted It is suitable for human body; the constant current source module is used to control the output current in a constant range; the fixed-point selection module is used to control the process of outputting constant current to the fixed-point position; the power output module is used to distribute the output direction of the current and The output quantity; the remote monitoring module is used to remotely control the start-up process of the instrument through the remote communication technology.
作为本技术方案的进一步改进,所述人机交互单元包括信息显示模块和蓝牙通讯模块;所述信息显示模块用于通过显示屏将信息直接展示给用户;所述蓝牙通讯模块用于给用户提供通过蓝牙远程监控治疗过程的途径。As a further improvement of this technical solution, the human-computer interaction unit includes an information display module and a Bluetooth communication module; the information display module is used to directly display information to the user through the display screen; the Bluetooth communication module is used to provide the user with Access to remote monitoring of the treatment process via Bluetooth.
其中,信息包括电流大小、治疗时间、患者的体温、姓名、性别、年龄等。Among them, the information includes current magnitude, treatment time, patient's body temperature, name, gender, age, etc.
作为本技术方案的进一步改进,所述安全监测单元包括体温检测模块、报警模块和降温控制模块;所述体温检测模块用于通过红外测温装置实时监测使用者的体温变化;所述报警模块用于对特殊情况进行报警;所述降温控制模块用于在使用者体温异常时控制降温装置的启停过程。As a further improvement of this technical solution, the safety monitoring unit includes a body temperature detection module, an alarm module and a cooling control module; the body temperature detection module is used for real-time monitoring of the user's body temperature change through an infrared temperature measurement device; the alarm module is used for The cooling control module is used to control the start-stop process of the cooling device when the user's body temperature is abnormal.
与现有技术相比,本发明的有益效果是:Compared with the prior art, the beneficial effects of the present invention are:
1.该智能化经颅电磁康复治疗仪通过将电极片直接固定在头套上,不需对电极片进行定位和固定,也不会出现电极片脱落的情况,使用方便,提高了其智能化和实用性;1. The intelligent transcranial electromagnetic rehabilitation therapy instrument directly fixes the electrode pads on the headgear, without positioning and fixing the electrode pads, and the electrode pads will not fall off. It is easy to use and improves its intelligence and efficiency. practicality;
2.该智能化经颅电磁康复治疗仪通过设置可更换的头套内胆,降低了多人使用同一个头套可能出现交叉感染的风险;2. The intelligent transcranial electromagnetic rehabilitation therapy instrument is equipped with a replaceable headgear liner, which reduces the risk of cross-infection when multiple people use the same headgear;
3.该智能化经颅电磁康复治疗仪通过设置由液体循环进行降温的降温装置,可以在治疗过程中给患者的头部进行降温,降低患者头部发热带来的不适感。3. The intelligent transcranial electromagnetic rehabilitation therapy instrument is equipped with a cooling device that is cooled by liquid circulation, which can cool the patient's head during the treatment process and reduce the discomfort caused by the patient's head heat.
附图说明Description of drawings
图1为发明的整体结构示意图;Fig. 1 is the overall structure schematic diagram of the invention;
图2为发明图1中的局部放大结构示意图;Fig. 2 is a partial enlarged structural schematic diagram in Fig. 1 of the invention;
图3为发明中头套的局部拆分结构示意图;Fig. 3 is the partial disassembly structure schematic diagram of the headgear in the invention;
图4为发明中头套的局部半剖结构示意图;Fig. 4 is the partial half-section structure schematic diagram of the headgear in the invention;
图5为发明图4中B处的放大结构示意图;Fig. 5 is the enlarged structural schematic diagram of the place B in the invention Fig. 4;
图6为发明中降温装置的局部拆分结构示意图;Fig. 6 is the partial disassembly structure schematic diagram of the cooling device in the invention;
图7为发明的智能控制系统整体框图;Fig. 7 is the overall block diagram of the intelligent control system of the invention;
图8为发明的主控制单元模块框图;Fig. 8 is the main control unit module block diagram of the invention;
图9为发明的人机交互单元模块框图;Fig. 9 is the human-computer interaction unit module block diagram of the invention;
图10为发明的安全检测单元模块框图。FIG. 10 is a block diagram of the security detection unit module of the invention.
图中:In the picture:
100、治疗控制装置;101、主机;102、线管;103、分线;104、电极片;105、LED灯珠;106、LED显示屏;107、蜂鸣报警器;100, treatment control device; 101, host; 102, line pipe; 103, branch line; 104, electrode sheet; 105, LED lamp beads; 106, LED display screen; 107, buzzer alarm;
200、头套;201、外层;2011、穴位孔;202、内层;203、弹性带;200, head cover; 201, outer layer; 2011, acupoint hole; 202, inner layer; 203, elastic band;
300、头套内胆;300, headgear liner;
400、降温装置;401、储水罐;402、循环管;403、微型水泵;400, cooling device; 401, water storage tank; 402, circulation pipe; 403, micro water pump;
500、智能控制系统;500. Intelligent control system;
600、主控制单元;601、电压调节模块;602、恒流源模块;603、定点选择模块;604、电源输出模块;605、远程监控模块;600, main control unit; 601, voltage regulation module; 602, constant current source module; 603, fixed-point selection module; 604, power output module; 605, remote monitoring module;
700、人机交互单元;701、信息显示模块;702、蓝牙通讯模块;700, a human-computer interaction unit; 701, an information display module; 702, a Bluetooth communication module;
800、安全监测单元;801、体温检测模块;802、报警模块;803、降温控制模块。800, a safety monitoring unit; 801, a body temperature detection module; 802, an alarm module; 803, a cooling control module.
具体实施方式Detailed ways
下面将结合本发明中的附图,对本发明中的技术方案进行清楚、完整地描述,显然,所描述的发明仅仅是本发明一部分发明,而不是全部的发明。基于本发明中的发明,本领域普通技术人员在没有做出创造性劳动前提下所获得的所有其他发明,都属于本发明保护的范围。The technical solutions in the present invention will be clearly and completely described below with reference to the accompanying drawings of the present invention. Obviously, the described inventions are only a part of the inventions of the present invention, but not all of them. Based on the inventions in the present invention, all other inventions obtained by those of ordinary skill in the art without creative work fall within the protection scope of the present invention.
在本发明的描述中,需要理解的是,术语“上”、“下”、“顶”、“底”、“内”、“外”等指示的方位或位置关系为基于附图所示的方位或位置关系,仅是为了便于描述本发明和简化描述,而不是指示或暗示所指的设备或元件必须具有特定的方位、以特定的方位构造和操作,因此不能理解为对本发明的限制。In the description of the present invention, it should be understood that the orientations or positional relationships indicated by the terms "upper", "lower", "top", "bottom", "inner", "outer", etc. are based on those shown in the accompanying drawings The orientation or positional relationship is only for the convenience of describing the present invention and simplifying the description, rather than indicating or implying that the referred device or element must have a specific orientation, be constructed and operated in a specific orientation, and therefore should not be construed as a limitation of the present invention.
此外,在本发明的描述中,“若干”的含义是至少两个,例如两个,三个等,除非另有明确具体的限定。In addition, in the description of the present invention, "a number of" means at least two, such as two, three, etc., unless expressly and specifically defined otherwise.
实施例1Example 1
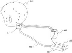
如图1-图6所示,本实施例提供一种智能化经颅电磁康复治疗仪,包括治疗控制装置100,治疗控制装置100包括主机101,主机101内设有智能控制系统500,主机101的一侧设有线管102,线管102内设有若干分线103,分线103延伸到头套200内。As shown in FIG. 1 to FIG. 6 , this embodiment provides an intelligent transcranial electromagnetic rehabilitation therapy apparatus, including a
本实施例中,头套200由外层201和内层202组成,双层结构中间留有空隙,用于分布分线103及循环管402。In this embodiment, the
进一步地,外层201上规则设有若干穴位孔2011,穴位孔2011按照人体头部的各个重要大穴位进行定位开设。Further, a plurality of
本实施例中,每个穴位孔2011内均设有电极片104和LED灯珠105,头套200的前额处设有LED显示屏106,LED显示屏106的正上方设有蜂鸣报警器107。In this embodiment, each
进一步地,电极片104通过胶水粘连固定在内层202的内侧壁上,使电极片104可以尽可能地靠近使用者的头皮位置;LED灯珠105穿过穴位孔2011延伸到外层201的外侧,用户可以从外部直接观察到灯珠是否亮起。Further, the
具体地,处于同一位置的电极片104和LED灯珠105同时与其中一根分线103电性连接,当电源经过某个电极片104时,其对应位置上的LED灯珠105会亮起,便于用户判断电磁波发生的具体位置。Specifically, the
进一步地,LED显示屏106与其中一根分线103电性连接,蜂鸣报警器107与其中一根分线103电性连接。Further, the
此外,头套200前额处内部还应设有红外体温检测仪,可用于实时监测使用者的体温变化。In addition, an infrared body temperature detector should also be provided inside the forehead of the
进一步地,头套200的下端通过针线缝合固定有弹性带203,使用过程中,将弹性带203挂在使用者的下巴处,使头套200与患者的头部贴合紧密,并可有效避免头套200松脱掉落。Further, the lower end of the
本实施例,头套200的内侧配套设有头套内胆300。In this embodiment, the inner side of the
进一步地,头套内胆300与头套200的尺寸相适配,头套内胆300采用轻薄的棉布制成,其材质柔软舒适、透气性好,不会阻隔电磁波的正常传播,头套内胆300可经清洗消毒后重复使用。Further, the
具体地,针对不同的使用者,在使用时都需提供洁净的头套内胆300,既可以保持头套200的卫生,也能有效降低多人使用同一个头套200导致交叉感染的风险。Specifically, for different users, it is necessary to provide a
本实施例中,头套200外还设有降温装置400,降温装置400包括储水罐401和循环管402。In this embodiment, a
进一步地,循环管402的中间部分呈S状分布在外层201与内层202之间,可以有效增大循环管402与头套200之间的接触面积,使用过程中,当冷水在循环管402内流动,可以有效增大冷水与使用者头皮之间的接触面积、延长接触时间,进而提高降温的效果。Further, the middle part of the
进一步地,循环管402的两端均延伸到储水罐401,循环管402的其中一端设有微型水泵403,通过微型水泵403给冷水提供可循环流动的驱动力。Further, both ends of the
此外,微型水泵403通过导线与主机101电性连接,通过主机101可以控制降温装置400的启停过程。In addition, the
参阅图7-图10,本实施例提供一种智能控制系统500,包括主控制单元600、人机交互单元700和安全监测单元800;主控制单元600用于控制和管理治疗的过程;人机交互单元700将治疗过程中的重要信息展示出来;安全监测单元800用于监测用户的体温及对特殊情况进行报警。7-10, the present embodiment provides an
本实施例中,主控制单元600包括电压调节模块601、恒流源模块602、定点选择模块603、电源输出模块604和远程监控模块605;电压调节模块601用于调节仪器内的电压使其可适用于人体;恒流源模块602用于将输出电流控制在恒定范围;定点选择模块603用于控制对定点位置输出恒定电流的过程;电源输出模块604用于分配电流的输出方向和输出的量;远程监控模块605用于通过远程通讯技术遥控仪器的启动过程。In this embodiment, the
本实施例中,人机交互单元700包括信息显示模块701和蓝牙通讯模块702;信息显示模块701用于通过显示屏将信息直接展示给用户;蓝牙通讯模块702用于给用户提供通过蓝牙远程监控治疗过程的途径。In this embodiment, the human-
其中,信息包括电流大小、治疗时间、患者的体温、姓名、性别、年龄等。Among them, the information includes current magnitude, treatment time, patient's body temperature, name, gender, age, etc.
本实施例中,安全监测单元800包括体温检测模块801、报警模块802和降温控制模块803;体温检测模块801用于通过红外测温装置实时监测使用者的体温变化;报警模块802用于对特殊情况进行报警;降温控制模块803用于在使用者体温异常时控制降温装置的启停过程。In this embodiment, the
本发明的智能化经颅电磁康复治疗仪在使用时,首先取用洁净的头套内胆300让患者套上,其次将头套200套在患者头上并调整好位置,再将主机101接通外界电源,然后启动主机101对患者进行电磁治疗;治疗过程中,主机101按设定程序自动向定点位置的电极片104输出电流来进行电磁刺激,当治疗结束,蜂鸣报警器107报警;当治疗过程中,患者的体温过高,则蜂鸣报警器107报警,同时微型水泵403启动,使冷水在循环管402内流动,冷水从患者头皮外侧流过可以带走热量,实现物理降温;此外,医生可以通过与主机101蓝牙连接的手机来远程地监控治疗的过程。When the intelligent transcranial electromagnetic rehabilitation therapy apparatus of the present invention is used, firstly, a
以上显示和描述了本发明的基本原理、主要特征和本发明的优点。本行业的技术人员应该了解,本发明不受上述发明的限制,上述发明和说明书中描述的仅为本发明的优选例,并不用来限制本发明,在不脱离本发明精神和范围的前提下,本发明还会有各种变化和改进,这些变化和改进都落入要求保护的本发明范围内。本发明要求保护范围由所附的权利要求书及其等效物界定。The foregoing has shown and described the basic principles, main features and advantages of the present invention. Those skilled in the art should understand that the present invention is not limited by the above-mentioned inventions, and the above-mentioned inventions and descriptions in the description are only preferred examples of the present invention, and are not intended to limit the present invention, without departing from the spirit and scope of the present invention. , the present invention will also have various changes and improvements, and these changes and improvements all fall within the scope of the claimed invention. The claimed scope of the present invention is defined by the appended claims and their equivalents.
| Application Number | Priority Date | Filing Date | Title |
|---|---|---|---|
| CN202010781060.7ACN111870809A (en) | 2020-08-06 | 2020-08-06 | Intelligent transcranial electromagnetic rehabilitation therapeutic apparatus |
| Application Number | Priority Date | Filing Date | Title |
|---|---|---|---|
| CN202010781060.7ACN111870809A (en) | 2020-08-06 | 2020-08-06 | Intelligent transcranial electromagnetic rehabilitation therapeutic apparatus |
| Publication Number | Publication Date |
|---|---|
| CN111870809Atrue CN111870809A (en) | 2020-11-03 |
| Application Number | Title | Priority Date | Filing Date |
|---|---|---|---|
| CN202010781060.7APendingCN111870809A (en) | 2020-08-06 | 2020-08-06 | Intelligent transcranial electromagnetic rehabilitation therapeutic apparatus |
| Country | Link |
|---|---|
| CN (1) | CN111870809A (en) |
| Publication number | Priority date | Publication date | Assignee | Title |
|---|---|---|---|---|
| CN113180944A (en)* | 2021-04-26 | 2021-07-30 | 张远瑞 | Intelligent system therapeutic instrument |
| CN113907759A (en)* | 2021-10-12 | 2022-01-11 | 宁波磁波智能科技有限公司 | Infection-preventing heart and brain function detection method and system |
| CN114652301A (en)* | 2022-04-02 | 2022-06-24 | 冯军峰 | Epidural and subdural hematoma detection headgear |
| CN114917483A (en)* | 2021-12-28 | 2022-08-19 | 丹阳慧创医疗设备有限公司 | Head cap and transcranial light regulation and control equipment and system applied to transcranial light regulation and control field |
| Publication number | Priority date | Publication date | Assignee | Title |
|---|---|---|---|---|
| CN103037724A (en)* | 2010-06-29 | 2013-04-10 | 罗纳托·罗森塔尔 | Therapeutic brain cooling system and spinal cord cooling system |
| CN103300851A (en)* | 2013-06-19 | 2013-09-18 | 卫荣杰 | Cap with brain wave and physical sign collection functions |
| JP2016198260A (en)* | 2015-04-09 | 2016-12-01 | 帝人ファーマ株式会社 | Transcranial magnetic stimulation system |
| CN109173047A (en)* | 2018-08-10 | 2019-01-11 | 复旦大学 | A kind of non-intrusion type closed loop transcranial electrical stimulation device |
| CN210158766U (en)* | 2019-04-20 | 2020-03-20 | 中国人民解放军联勤保障部队第九七0医院 | Head cooling device for oncology department |
| CN212308656U (en)* | 2020-08-06 | 2021-01-08 | 江苏省肿瘤医院 | A Transcranial Electromagnetic Rehabilitation Therapy Device |
| Publication number | Priority date | Publication date | Assignee | Title |
|---|---|---|---|---|
| CN103037724A (en)* | 2010-06-29 | 2013-04-10 | 罗纳托·罗森塔尔 | Therapeutic brain cooling system and spinal cord cooling system |
| CN103300851A (en)* | 2013-06-19 | 2013-09-18 | 卫荣杰 | Cap with brain wave and physical sign collection functions |
| JP2016198260A (en)* | 2015-04-09 | 2016-12-01 | 帝人ファーマ株式会社 | Transcranial magnetic stimulation system |
| CN109173047A (en)* | 2018-08-10 | 2019-01-11 | 复旦大学 | A kind of non-intrusion type closed loop transcranial electrical stimulation device |
| CN210158766U (en)* | 2019-04-20 | 2020-03-20 | 中国人民解放军联勤保障部队第九七0医院 | Head cooling device for oncology department |
| CN212308656U (en)* | 2020-08-06 | 2021-01-08 | 江苏省肿瘤医院 | A Transcranial Electromagnetic Rehabilitation Therapy Device |
| Publication number | Priority date | Publication date | Assignee | Title |
|---|---|---|---|---|
| CN113180944A (en)* | 2021-04-26 | 2021-07-30 | 张远瑞 | Intelligent system therapeutic instrument |
| CN113907759A (en)* | 2021-10-12 | 2022-01-11 | 宁波磁波智能科技有限公司 | Infection-preventing heart and brain function detection method and system |
| CN114917483A (en)* | 2021-12-28 | 2022-08-19 | 丹阳慧创医疗设备有限公司 | Head cap and transcranial light regulation and control equipment and system applied to transcranial light regulation and control field |
| CN114917483B (en)* | 2021-12-28 | 2024-01-02 | 丹阳慧创医疗设备有限公司 | Headgear applied to transcranial light control field, transcranial light control equipment and transcranial light control system |
| CN114652301A (en)* | 2022-04-02 | 2022-06-24 | 冯军峰 | Epidural and subdural hematoma detection headgear |
| Publication | Publication Date | Title |
|---|---|---|
| CN111870809A (en) | Intelligent transcranial electromagnetic rehabilitation therapeutic apparatus | |
| US20170333667A1 (en) | Tetherless wearable thermal devices and methods of using them for treatment of sleeping and neurological disorders | |
| CN204485108U (en) | Wearable laser therapy detection system | |
| CN105056403A (en) | A head physiotherapy system for neurological patients | |
| CN109011172A (en) | Infrared radiation thermotherapeutic apparatus for whole body | |
| CN108703871A (en) | Intelligent far infrared built-in type navel hot compress massage instrument | |
| CN203154256U (en) | Massager used for medical treatment | |
| CN106691666A (en) | Wearable cooling garment with vital sign monitoring function | |
| CN212308656U (en) | A Transcranial Electromagnetic Rehabilitation Therapy Device | |
| CN207203232U (en) | A kind of icterus neonatorum blue-light treatment bed | |
| CN109363637A (en) | A kind of real-time level of anesthesia monitoring method based on temperature monitoring | |
| KR20130017666A (en) | Apparatus for stimulating human body using real-time feedback controlloop | |
| CN218774190U (en) | Novel laser therapeutic instrument | |
| CN103816004A (en) | Electric hot compressing device for eyes | |
| KR100992931B1 (en) | Body core measurement diagnosis device and medical diathermy connected thereto | |
| US20020143375A1 (en) | Image reading apparatus | |
| CN212369276U (en) | Electromagnetic governor and conception vessel physiotherapy instrument | |
| CN209075419U (en) | Intelligent far infrared built-in type navel hot compress massage instrument | |
| CN209596180U (en) | A kind of encephalopathy section device for fumigation | |
| CN211675366U (en) | Wearable carbon fiber infrared moxibustion device | |
| CN109998900B (en) | Machine head for fumigation physiotherapy and equipment thereof | |
| CN107875001B (en) | Wearable intelligent medicine fumigation equipment | |
| CN209575543U (en) | It is a kind of for treating the apparatus for ultrasonic therapeutic treatment of gout and pain | |
| CN201939801U (en) | Automatic infusion controller | |
| CN216628874U (en) | Emergency internal medicine patient cooling care implement |
| Date | Code | Title | Description |
|---|---|---|---|
| PB01 | Publication | ||
| PB01 | Publication | ||
| SE01 | Entry into force of request for substantive examination | ||
| SE01 | Entry into force of request for substantive examination |