Movatterモバイル変換


[0]ホーム

URL:


CN111859196A - Information recommendation method and device, electronic equipment and storage medium - Google Patents

Information recommendation method and device, electronic equipment and storage medium
Download PDF

Info

Publication number
CN111859196A
CN111859196ACN202010744708.3ACN202010744708ACN111859196ACN 111859196 ACN111859196 ACN 111859196ACN 202010744708 ACN202010744708 ACN 202010744708ACN 111859196 ACN111859196 ACN 111859196A
Authority
CN
China
Prior art keywords
account
recommendation
information
page
tool
Prior art date
Legal status (The legal status is an assumption and is not a legal conclusion. Google has not performed a legal analysis and makes no representation as to the accuracy of the status listed.)
Granted
Application number
CN202010744708.3A
Other languages
Chinese (zh)
Other versions
CN111859196B (en
Inventor
刘思艺
Current Assignee (The listed assignees may be inaccurate. Google has not performed a legal analysis and makes no representation or warranty as to the accuracy of the list.)
Beijing Dajia Internet Information Technology Co Ltd
Original Assignee
Beijing Dajia Internet Information Technology Co Ltd
Priority date (The priority date is an assumption and is not a legal conclusion. Google has not performed a legal analysis and makes no representation as to the accuracy of the date listed.)
Filing date
Publication date
Application filed by Beijing Dajia Internet Information Technology Co LtdfiledCriticalBeijing Dajia Internet Information Technology Co Ltd
Priority to CN202010744708.3ApriorityCriticalpatent/CN111859196B/en
Publication of CN111859196ApublicationCriticalpatent/CN111859196A/en
Application grantedgrantedCritical
Publication of CN111859196BpublicationCriticalpatent/CN111859196B/en
Activelegal-statusCriticalCurrent
Anticipated expirationlegal-statusCritical

Links

Images

Classifications

Landscapes

Abstract

The disclosure relates to an information recommendation method, an information recommendation device, an electronic device and a storage medium. The method comprises the following steps: displaying a target page of a login account of an application program, and if the login account is an account of which the content information release quantity is smaller than a preset threshold value, displaying entry information of at least one recommendation tool in the target page; and the recommendation tool is a tool which corresponds to the login account and is used for releasing content information. According to the scheme, the entry information of the tools is displayed on the target page of the current login account, so that the information recommendation accuracy of the application program is improved.

Description

Information recommendation method and device, electronic equipment and storage medium
Technical Field
The present disclosure relates to the field of internet technologies, and in particular, to an information recommendation method and apparatus, an electronic device, and a storage medium.
Background
With the advent of community product class applications, such as short video community applications, individuals can become content creators, such as uploading an individual's short video or image collection into a short video community product.
The user group of such applications can be divided into zero work users and content creation users; the works-zero user refers to a user who has not distributed a work in an application, and the content creation user refers to a user who has distributed a work in an application. If a large number of works of the works can be transformed into content creation users, better product content ecology can be achieved. In order to improve the conversion rate from the user of the zero work to the user of the content creation in the application program and further improve the number of the users of the content creation and the diversity of the content information of the product, the current practice is to shoot near an entrance in the personal homepage of the user and display the entrance information of all content information publishing tools supported by the application program in a tiled manner so as to simplify the operation flow of the user of the zero work searching for a certain tool. However, the method has the problem that information recommendation is inaccurate for the published tool entrance information displayed by the user.
Disclosure of Invention
The disclosure provides an information recommendation method, an information recommendation device, an electronic device and a storage medium, which are used for at least solving the problem of inaccurate information recommendation in application programs in the related art. The technical scheme of the disclosure is as follows:
in a first aspect, an information recommendation method applied to a terminal includes:
displaying a target page of an application program login account, wherein the target page is a page comprising a function entrance for issuing content information;
determining the login account as an account with the content information release quantity less than or equal to a preset threshold value;
displaying entry information of at least one recommendation tool in the target page; the recommendation tool is used for issuing content information, and corresponds to the login account.
In one embodiment, the recommendation tool is determined according to operation information of issuing historical content information of a target account corresponding to the login account; the target account is an account of which the content information issuing quantity in the application program is larger than the preset threshold value.
In one embodiment, the target account is an account with a content information release quantity greater than zero, and the target account further satisfies at least one of the following conditions:
the content information issuing quantity is less than the set quantity; the set number is greater than the preset threshold;
the account activity is less than a set activity threshold;
the account description information is matched with the account description information of the login account.
In one embodiment, the target account is a plurality of accounts;
before the entry information of at least one recommendation tool is presented in the target page, the method further includes:
acquiring the at least one recommendation tool; the at least one recommendation tool is determined according to candidate tools corresponding to the target accounts respectively; the candidate tool corresponding to each target account is at least one tool with the largest operation frequency of each target account in the plurality of tools for issuing the content information in the application program.
In one embodiment, the recommendation tool is a plurality; the target page of the login account is an account state page of the login account;
the displaying of the entry information of at least one recommendation tool in the target page includes:
in a preset area of the account state page, tiling and displaying entry information of the plurality of recommendation tools;
the preset area is located in an area outside the area where the account description information is located.
In one embodiment, in a preset area of the account status page, tiling entry information showing the plurality of recommendation tools includes:
obtaining a priority ranking of the plurality of recommendation tools; the priority of each recommendation tool and the operation times of each recommendation tool operated by the target account form a positive correlation;
and in the preset area, displaying the entry information of the plurality of recommendation tools in a tiled mode according to the priority sequence.
In one embodiment, in a preset area of the account status page, tiling entry information showing the plurality of recommendation tools includes:
displaying a floating window containing the entrance information of the plurality of recommendation tools in a preset area of the account state page; and in the floating window, the entrance information of the recommendation tools is displayed in a tiled mode.
In one embodiment, after presenting the floating window containing the entry information of the recommendation tools, the method further comprises:
and playing the preview animations corresponding to the plurality of recommendation tools in turn in the floating window.
In one embodiment, the method further comprises the following steps:
when the preview animations corresponding to the recommendation tools are played in turn, the function entry control corresponding to the recommendation tool corresponding to the current preview animation is displayed in the floating window, and/or the description information of the recommendation tool corresponding to the current preview animation is displayed.
In one embodiment, the description information of the recommendation tool includes at least one of the following:
name information of the recommendation tool;
usage number information that the recommendation tool is used by an associated account; the associated account is an account in the application program, which has a social relationship with the login account.
In one embodiment, the method further comprises at least one of the following triggering response steps:
detecting first trigger operation information of a function entrance control corresponding to the recommendation tool;
responding to the first trigger operation information, and jumping to a first page; the first page is a shooting page corresponding to a recommendation tool corresponding to the current preview animation;
detecting second trigger operation information aiming at the current preview animation;
responding to the second trigger operation information, jumping to a second page, wherein the second page is a tool list page of a recommendation tool corresponding to the current preview animation;
detecting third trigger operation information for switching recommendation tools;
responding to the third trigger operation information, and switching to play other recommendation tools;
detecting fourth trigger operation information for closing the floating window;
and closing the floating window in response to the fourth trigger operation information.
In one embodiment, in a preset area of the account status page, the floating window is displayed in at least one of the following display modes:
the floating window is displayed at the bottom of the account state page and shields the bottom navigation bar of the account state page;
the floating window is displayed at the bottom of the account state page, and the bottom navigation bar is not shielded.
In one embodiment, in the target page, portal information of at least one recommendation tool is presented, including:
if the entry information of the plurality of recommendation tools is confirmed to be displayed in the target page for the first time, displaying the entry information of the plurality of recommendation tools according to a first mode;
if the entry information of the plurality of recommendation tools is determined to be displayed in the target page again, displaying the entry information of the plurality of recommendation tools according to a second mode;
the floating window size exhibited in the first mode is larger than the floating window size exhibited in the second mode.
In one embodiment, after displaying a floating window containing entry information of the plurality of recommendation tools in a preset area of the account status page, the method further includes:
target operation information of the login account is detected, wherein the target operation information comprises trigger operation information of entrance information of any recommendation tool in the floating window;
and canceling the display of the floating window in the target page.
In a second aspect, an information recommendation method is applied to a server, and the method includes:
receiving a page display request; the page display request is used for requesting to display a target page of the login account of the application program, and the target page is a page containing a function entrance used for issuing content information;
determining the login account as an account with the content information release quantity less than or equal to a preset threshold value, and acquiring at least one recommendation tool corresponding to the login account; the recommendation tool is a tool for publishing content information;
and sending the at least one recommendation tool to the login account so as to display the entry information of the at least one recommendation tool in a target page corresponding to the login account.
In one embodiment, the obtaining at least one recommendation tool corresponding to the login account includes:
acquiring a target account corresponding to the login account from accounts with the content information release quantity larger than the preset threshold value;
and acquiring at least one recommendation tool according to the operation information of the historical content information issued by the target account.
In one embodiment, the content release amount of the target account is greater than zero, and the target account further satisfies at least one of the following conditions:
the content information issuing quantity is less than the set quantity; the set number is greater than the preset threshold;
the account activity is less than a set activity threshold;
the account description information is matched with the account description information of the login account.
In a third aspect, an information recommendation apparatus applied to a terminal includes:
the page display unit is configured to execute a target page for displaying the login account of the application program, wherein the target page is a page containing a function entrance for issuing content information;
the account determining unit is configured to execute the step of determining that the login account is an account of which the content information issuing quantity is smaller than or equal to a preset threshold value;
the tool recommendation unit is configured to display the entrance information of at least one recommendation tool in the target page; the recommendation tool is used for issuing content information, and corresponds to the login account.
In one embodiment, the recommendation tool is determined according to operation information of issuing historical content information of a target account corresponding to the login account; the target account is an account of which the content information issuing quantity in the application program is larger than the preset threshold value.
In one embodiment, the content creation account is an account with a content information release quantity greater than zero, and the target account further satisfies at least one of the following conditions:
the content information issuing quantity is less than the set quantity; the set number is greater than the preset threshold;
the account activity is less than a set activity threshold;
the account description information is matched with the account description information of the login account.
In one embodiment, the target account is a plurality of accounts;
the device further comprises:
a recommendation tool acquisition module configured to perform acquiring the at least one recommendation tool; the at least one recommendation tool is determined according to candidate tools corresponding to the target accounts respectively; the candidate tool corresponding to each target account is at least one tool with the largest operation frequency of each target account in the plurality of tools for issuing the content information in the application program.
In one embodiment, the recommendation tool is a plurality; the target page of the login account is an account state page of the login account;
the tool recommendation unit is further configured to perform:
in a preset area of the account state page, tiling and displaying entry information of the plurality of recommendation tools;
the preset area is located in an area outside the area where the account description information is located.
In one embodiment, the tool recommendation unit is further configured to perform:
obtaining a priority ranking of the plurality of recommendation tools; the priority of each recommendation tool and the operation times of each recommendation tool operated by the target account form a positive correlation;
and in the preset area, displaying the entry information of the plurality of recommendation tools in a tiled mode according to the priority sequence.
In one embodiment, the tool recommendation unit is further configured to perform:
displaying a floating window containing the entrance information of the plurality of recommendation tools in a preset area of the account state page; and in the floating window, the entrance information of the recommendation tools is displayed in a tiled mode.
In one embodiment, the tool recommendation unit is further configured to perform:
and playing the preview animations corresponding to the plurality of recommendation tools in turn in the floating window.
In one embodiment, the tool recommendation unit is further configured to perform:
when the preview animations corresponding to the recommendation tools are played in turn, the function entry control corresponding to the recommendation tool corresponding to the current preview animation is displayed in the floating window, and/or the description information of the recommendation tool corresponding to the current preview animation is displayed.
In one embodiment, the description information of the recommendation tool includes at least one of the following:
name information of the recommendation tool;
usage number information that the recommendation tool is used by an associated account; the associated account is an account in the application program, which has a social relationship with the login account.
In one embodiment, the system further comprises at least one operation response unit;
a first operation response unit configured to perform:
detecting first trigger operation information of a function entrance control corresponding to the recommendation tool;
responding to the first trigger operation information, and jumping to a first page; the first page is a shooting page corresponding to a recommendation tool corresponding to the current preview animation;
a second operation response unit configured to perform:
detecting second trigger operation information aiming at the current preview animation;
responding to the second trigger operation information, jumping to a second page, wherein the second page is a tool list page of a recommendation tool corresponding to the current preview animation;
a third operation response unit configured to perform:
detecting third trigger operation information for switching recommendation tools;
responding to the third trigger operation information, and switching to play other recommendation tools;
a fourth operation response unit configured to perform:
detecting fourth trigger operation information for closing the floating window;
and closing the floating window in response to the fourth trigger operation information.
In one embodiment, the tool recommendation unit is further configured to display the floating window in a preset area of the account status page by using at least one of the following display modes:
the floating window is displayed at the bottom of the account state page and shields the bottom navigation bar of the account state page;
the floating window is displayed at the bottom of the account state page, and the bottom navigation bar is not shielded.
In one embodiment, the tool recommendation unit is further configured to perform:
if the entry information of the plurality of recommendation tools is confirmed to be displayed in the target page for the first time, displaying the entry information of the plurality of recommendation tools according to a first mode;
if the entry information of the plurality of recommendation tools is determined to be displayed in the target page again, displaying the entry information of the plurality of recommendation tools according to a second mode;
the floating window size exhibited in the first mode is larger than the floating window size exhibited in the second mode.
In one embodiment, the method further comprises a recommendation canceling unit configured to perform:
target operation information of the login account is detected, wherein the target operation information comprises trigger operation information of entrance information of any recommendation tool in the floating window;
and canceling the display of the floating window in the target page.
In a fourth aspect, an information recommendation apparatus applied to a server includes:
a request receiving unit configured to perform receiving a page display request; the page display request displays a target page of an application program login account, wherein the target page is a page comprising a function entrance for issuing content information;
the recommendation tool determining unit is configured to execute the steps of determining the login account as an account of which the content information issuing quantity is smaller than or equal to a preset threshold value, and acquiring at least one recommendation tool corresponding to the login account; the recommendation tool is a tool for publishing content information;
and the recommendation tool sending unit is configured to execute sending of the at least one recommendation tool to the login account so as to display entry information of the at least one recommendation tool in a target page corresponding to the login account.
In one embodiment, the recommendation tool determining unit is further configured to perform:
acquiring a target account corresponding to the login account from accounts with the content information release quantity larger than the preset threshold value;
and acquiring at least one recommendation tool according to the operation information of the historical content information issued by the target account.
In one embodiment, the content information publishing amount of the target account in the application program is greater than zero, and the target account further satisfies at least one of the following conditions:
the content information issuing quantity is less than the set quantity; the set number is greater than the preset threshold;
the account activity is less than a set activity threshold;
the account description information is matched with the account description information of the login account.
In a fifth aspect, an electronic device is provided, comprising:
a processor;
a memory for storing the processor-executable instructions;
wherein the processor is configured to execute the instructions to implement the information recommendation method according to any one of the above.
In a sixth aspect, a storage medium is provided, wherein instructions, when executed by a processor of an electronic device, enable the electronic device to perform any one of the information recommendation methods described above.
In a seventh aspect, a computer program product is provided, the program product comprising a computer program stored in a readable storage medium, from which at least one processor of an apparatus reads and executes the computer program, so that the apparatus performs the information recommendation method described in any one of the embodiments of the first aspect.
The technical scheme provided by the embodiment of the disclosure at least brings the following beneficial effects:
aiming at a login account of an application program, if the login account is determined to be an account with the content information issuing quantity smaller than a preset threshold value, at least one recommendation tool corresponding to the login account is obtained, and the obtained at least one recommendation tool is displayed in a tiled mode on a target page of the login account, so that a convenient content production entrance is provided for the login account.
It is to be understood that both the foregoing general description and the following detailed description are exemplary and explanatory only and are not restrictive of the disclosure.
Drawings
The accompanying drawings, which are incorporated in and constitute a part of this specification, illustrate embodiments consistent with the present disclosure and, together with the description, serve to explain the principles of the disclosure and are not to be construed as limiting the disclosure.
Fig. 1 is a diagram illustrating an application environment of an information recommendation method according to an exemplary embodiment.
Fig. 2 is a flow chart illustrating an information recommendation method according to an example embodiment.
Fig. 3 is a diagram illustrating information recommendation effects according to an exemplary embodiment.
FIG. 4 is a recommendation tool acquisition flow diagram, shown in an exemplary embodiment.
FIG. 5 is a diagram illustrating a floating window presentation page effect, according to an exemplary embodiment.
FIG. 6 is a diagram illustrating banner presentation page effects in accordance with an exemplary embodiment.
FIG. 7 is a diagram illustrating a partial effect of a floating window display, according to an exemplary embodiment.
FIG. 8 is a schematic diagram illustrating a banner display partial effect according to an exemplary embodiment.
Fig. 9 is a flowchart illustrating an information recommendation method according to another exemplary embodiment.
Fig. 10 is a block diagram illustrating an information recommendation apparatus according to an example embodiment.
Fig. 11 is a block diagram illustrating an information recommendation apparatus according to an example embodiment.
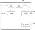
Fig. 12 is an internal structural diagram illustrating an apparatus for information recommendation according to an exemplary embodiment.
Fig. 13 is an internal structure diagram illustrating an apparatus for information recommendation according to another exemplary embodiment.
Detailed Description
In order to make the technical solutions of the present disclosure better understood by those of ordinary skill in the art, the technical solutions in the embodiments of the present disclosure will be clearly and completely described below with reference to the accompanying drawings.
It should be noted that the terms "first," "second," and the like in the description and claims of the present disclosure and in the above-described drawings are used for distinguishing between similar elements and not necessarily for describing a particular sequential or chronological order. It is to be understood that the data so used is interchangeable under appropriate circumstances such that the embodiments of the disclosure described herein are capable of operation in sequences other than those illustrated or otherwise described herein. The implementations described in the exemplary embodiments below are not intended to represent all implementations consistent with the present disclosure. Rather, they are merely examples of apparatus and methods consistent with certain aspects of the present disclosure, as detailed in the appended claims.
The information recommendation method provided by the present disclosure may be applied to an application environment as shown in fig. 1. Wherein the terminal 110 interacts with the server 120 through the network. The terminal 110 has an application installed therein, which may be a community-class application, and after a user registers an account through the application and logs in, personal content information, such as video information or image set information, may be published through the application. The application provides a variety of tools for publishing content information, such as main capture portals, magic expressions, photo albums, flash videos, and the like. A user can enter a default shooting page through a main shooting inlet, a real-time video is shot as content information to be released, magic expressions, filters and the like can be added after the user enters the default shooting page, and then the shooting page corresponding to the magic expressions or the filters is switched to optimize the shot video content information; in addition, the user can also enter the album page, select images or videos shot in advance from the album as the content information to be released, and similarly, edit the content information to be released, for example, add magic expressions, add music, add special effects, and the like to optimize. After the content information to be distributed is produced, the content information is sent to the server 120 through the terminal 110, and the server 120 is a server corresponding to the application program.
The terminal 110 may be, but is not limited to, a desktop terminal or a mobile terminal, and the mobile terminal may specifically be at least one of a mobile phone, a tablet computer, a notebook computer, and the like. The server 120 may be implemented as a server or a cluster of servers.
Fig. 2 is a flowchart illustrating an information recommendation method according to an exemplary embodiment, which is used in the terminal 110, as shown in fig. 2, and includes the following steps.
Step 210, displaying a target page of an application program login account, wherein the target page is a page comprising a function entrance for issuing content information;
after a user logs in through an application program, a target page can be displayed by default; when the default presentation page is not the target page, the user may perform a page switching operation to switch to the target page in which a content information issue entry (i.e., a function entry for issuing content information), such as a main shooting entry, is presented.
In an embodiment, the target page may be an account status page of the login account (i.e. an account information homepage or a personal homepage of the login account), and in the present disclosure, the page switching operation may be a triggering operation for an account avatar or an account profile of the login account.
Step 220, determining the login account as an account with the content information release quantity less than or equal to a preset threshold value;
in the disclosure, the account with the content information release quantity less than or equal to the preset threshold value may be a spare work account, and the spare work account in the present application may be an account which has not released any content information, and may also include an account which has released only some content information visible to people or visible to the person. Correspondingly, the content creation account with the content information release quantity larger than the preset threshold value can be a non-zero work account, the non-zero work account can be an account which has released any content information once, and can also be an account which has released at least content information which is disclosed to all people once.
In other embodiments, the preset threshold may also be set to other integers greater than 0, such as 1, 2, etc. The accounts with the content information release quantity smaller than the preset threshold value mainly refer to the type of accounts (also called accounts to be guided) with the less release quantity although the content information is released; the content creation accounts with the content information release quantity larger than the preset threshold value mainly refer to the accounts with slightly more content information release quantity relative to the accounts to be guided.
In an exemplary embodiment, the recommendation tool determines according to operation information of issuing historical content information by a target account corresponding to the login account; the target account can be an account of which the content information release quantity in the application program is larger than a set threshold value. In other embodiments, the recommendation tool may further determine, according to the historical operation information of the login account, for example, based on a content information consumption record of the login account in an application program, to obtain content information that is consumed frequently by the login account, and use a production tool corresponding to the content information as the recommendation tool corresponding to the login account.
In an exemplary embodiment, whether the login account is a zero work account can be determined through the operation record of the login account in the local, and the method does not need to interact with a server; the server can also be used for inquiring whether the login account is a zero work account, and even if the user logs in through different electronic equipment, the account type can be effectively determined.
Step 230, displaying the entry information of at least one recommendation tool in the target page.
It is understood that, in the present disclosure, at least one recommendation tool may be a part of the tools provided by the application program for publishing the content information, and the specific number may be set according to actual needs or display screen size adaptability of the electronic device, for example, 3 or 5. It is understood that the main shooting portal tool is a default display tool, and the recommendation tool is a tool other than the main shooting portal tool.
According to the information recommendation method, for the login account of the application program, if the login account is determined to be the account with the content information release quantity smaller than the preset threshold value, at least one recommendation tool corresponding to the login account is obtained, the obtained at least one recommendation tool is displayed in a tiled mode on the target page of the login account, therefore, a convenient content production entrance is provided for the login account, meanwhile, the recommendation tools are tools with a certain corresponding relation with the login account and are tools which are prone to be used when the login account releases the content information to a certain extent, entrance information of the recommendation tools is displayed on the target page corresponding to the login account, and information recommendation accuracy is improved.
For example, if the login account of the application program is determined to be a null work account, at least one recommendation tool is obtained according to the tool use preference information when the content creation account corresponding to the login account releases the historical content information, and the obtained at least one recommendation tool is displayed in a target page of the login account in a tiled mode, so that a convenient content production entrance is provided for the login account, and meanwhile, because the recommendation tools are preferably used based on the content authoring account similar to the login account and are also the tools which are inclined to be used when the login account publishes the content information to a certain extent, the recommendation tools are displayed on the target page corresponding to the login account, the willingness of the login account to publish the content information is improved, and the conversion rate from the zero work account to the content authoring account in the application program is further improved.
In the following embodiments of the present disclosure, an account status page (i.e., an account information homepage) of a login account is taken as an example of a target page. After the user logs in through the application program, the default display page may not be the account state page, the user may perform a page switching operation to switch to the account state page, account description information such as an account ID, a nickname, an account profile, friend information, work information, and personal information may be displayed in the account state page, and a main shooting entry for issuing content information may also be displayed. In addition, if the login account is an account whose content information distribution quantity is smaller than a preset threshold, portal information of at least one recommendation tool is also displayed in the target page, and when the login account is a plurality of recommendation tools, the specific display mode may include: in a preset area of the account state page, tiling and displaying the entry information of the plurality of recommendation tools; the preset area is located outside the area where the account description information is located, for example, as shown in fig. 3, the account status page includes the related account description information and amain shooting entrance 1, and further includes a plurality ofrecommendation tools 2.
In an exemplary embodiment, if the recommendation tool is determined according to the operation information of the target account release history content information corresponding to the login account, before entry information of a plurality of recommendation tools is displayed in an account status page of the login account, the method further includes: acquiring a target account corresponding to a login account from a content authoring account of an application program; as described above, the content creation account is an account whose content information distribution quantity in the application program is greater than zero, and the acquired target account further needs to satisfy at least one of the following conditions:
the content information issuing quantity is less than the set quantity; the set number is greater than the preset threshold value;
the account activity is less than a set activity threshold;
the account description information is matched with the account description information of the login account.
That is, for the current login account of the application program, if it is determined that the current login account is a zero work account, the accounts which release less content information in the content creation accounts, the accounts with lower liveness and/or the accounts with higher matching degree with the account description information of the current login account are determined, the content creation accounts which are similar to the current login account are determined, a plurality of tools which are most frequently used by the content creation accounts, have the highest release rate and the largest work occupation ratio are obtained, a plurality of recommendation tools are obtained, and the entry information of the recommendation tools is tiled at the bottom of the account status page of the current login account, so that a convenient content production entry is provided for the current account. As shown in fig. 3, the plurality of recommendation tools may be, for example, tiled magic, flash video, photo album, and the like. The recommendation tools are common tools for content authoring accounts similar to the current login account and are also tools which are inclined to be used by the current login account to a certain extent, and the entry information of the tools is displayed on the account state page of the current login account, so that the information recommendation accuracy of the application program is improved, the willingness of the current login account to release content information is improved, and the conversion rate from the zero work account of the application program to the content authoring account is improved.
Further, in an embodiment, in order to reduce individual errors and improve the reliability of recommendation tool screening, the target account corresponding to the current login account may be a plurality of accounts. As shown in fig. 4, before the step 203 displays entry information of a plurality of recommendation tools in the account status page, the method further includes: acquiring the at least one recommendation tool; the at least one recommendation tool is determined according to candidate tools corresponding to the target accounts respectively; the candidate tool corresponding to each target account is at least one tool with the largest operation frequency of each target account in the plurality of tools for issuing the content information in the application program.
In an exemplary embodiment, the at least one recommendation tool may be obtained by a server, and the specific steps include:
step 401, acquiring operation information corresponding to release history content information of each target account.
In the present disclosure, the historical content information refers to content information that is successfully issued by the target account before the current time, and the operation information corresponding to the historical content information may be understood as tool operation information involved in the process of issuing each piece of historical content information.
As an example, operation information corresponding to content information issued by each target account within a set history period may be acquired to reduce the information acquisition amount.
Step 402, determining candidate tools corresponding to each target account according to the operation information; the candidate tool is at least one tool with the largest operation times of each target account in a plurality of tools for releasing content information in the application program.
According to tool operation information of each target account in the process of releasing each historical content information, a plurality of tools which are used by each target account for the most times can be determined and used as candidate tools; in other embodiments, the candidate tools may also include tools that have been used more than a set number of times by the target account within a recent period of time.
Step 403, obtaining the plurality of recommendation tools according to the candidate tools corresponding to the plurality of target accounts.
The recommendation tool determined by the embodiment represents the common preference of a plurality of target accounts corresponding to the current login account when the content information is issued to a certain extent, so that the tool which is used by the current login account in a tendency manner is provided with a high probability, and the content issuing willingness of the current login account is improved.
Through the above embodiment, after the entry information of the plurality of recommendation tools is displayed on the account state page of the application program, the user can quickly enter the content creation page corresponding to the recommendation tool by operating the entry information of the recommendation tool, as shown in fig. 3, the recommendation tool includes a magic expression, an album, and a flash video, and the corresponding interactive operation includes:
1) the user clicks the 'album', for an application program, the operation instruction of clicking the page of the imported album on the shot page is received, and therefore the user directly jumps to the page of the album from the account state page;
after jumping to the album page, the materials in the album can be recommended according to the consumption history, account preference, account category and the like of the target account in a previous period, and after the current user clicks the album, the recommended materials are directly taken in for the current user to select to perform video synthesis.
2) The user clicks the 'magic expression', for an application program, the operation instruction of clicking the magic expression on a shooting page is received, the account state page is directly jumped to the shooting page, and a magic expression tab (list) is pulled up;
in addition, specific magic expressions can be recommended according to consumption history, preference, account categories and the like of the target account in a previous period, after the user clicks the magic expressions, the user jumps to a shooting page and pulls up a magic expression tab (list), and the recommended magic expressions are automatically brought in for the current user to select magic expression shooting.
3) The user clicks the 'flash video', and for an application program, the operation instruction of clicking the flash video on a shooting page is received, and the user directly jumps from an account state page to a flash video template page.
Similarly, a specific flash video template can be recommended according to the consumption history, preference, account category and the like of the target account in a previous period, the user jumps to the flash video template page after clicking the flash video, and automatically enters the recommended flash video template to synthesize the video.
Besides, besides the entry information of the plurality of recommendation tools is shown on the account status page of the application program, related guiding documents can be set, such as: the first day after the function is on line, pop the window: "there is no work yet, try on these fun function bars", every 7 days later, if the number of visits (i.e. guest-mode visits) PV of the current account status page logged in by other accounts is more than or equal to 10, then pop up again: "there are n people who see you and have the work easier to be handed to friends". Through setting the guiding case, the content publishing intention of the current user can be further improved.
Further, in one embodiment, the entry information of the plurality of recommendation tools may be tiled according to priority. Specifically, the method can be realized by the following steps: obtaining a priority ranking of the plurality of recommendation tools; the priority of each recommendation tool and the operation times of each recommendation tool operated by the target account form a positive correlation; and in a preset area of the target page, tiling and displaying the entry information of the plurality of recommendation tools according to the priority sequence.
The priority of each recommendation tool can be preset, for example, the priorities of the magic expression, the photo album and the flash video are preset to be sequentially reduced, when the entry information of the recommendation tools is displayed on the account state page, the priority sequence of the recommendation tools can be quickly acquired, and therefore the display efficiency of the page is improved.
In other embodiments, the priority of each recommendation tool may also be determined by the server in real time, the server calculates the priority of each recommendation tool in real time according to the operation information of the content authoring account of the application program, or periodically calculates the priority of each recommendation tool, and when the client of the application program needs to display the entry information of multiple recommendation tools, the client requests the server for the current priorities of the multiple recommendation tools to obtain the priority rankings of the multiple recommendation tools. The priority ranking of the plurality of recommendation tools obtained in this way is more reference to the suggestion.
In the above embodiment, in the preset area of the target page, the entry information of the plurality of recommendation tools is displayed in a tiled manner according to the priority order, so that the entry information of the recommendation tool with the highest priority is displayed at the most prominent position, for example, the entry information of the recommendation tool with the highest priority is displayed at the first position or the most middle position, which is beneficial to improving the content creation will of the current login account.
In an exemplary embodiment, the entry information of the plurality of recommendation tools may be presented in the form of a floating window, independently from the account status page, for example, as shown in fig. 5 and 6, in a bottom area of the account status page, a floatingwindow 3 containing the entry information of the plurality of recommendation tools is presented, and the plurality of recommendation tools are presented in a tiled manner in the floatingwindow 3.
Specifically, since the floating window has stronger visual influence, the floating window can be displayed at the bottom of the account status page and cover thebottom navigation bar 4 of the account status page, as shown in fig. 5(a) and fig. 6 (a); alternatively, the floating window is displayed at the bottom of the account status page, and thebottom navigation bar 4 is not occluded, as shown in fig. 5(b) and fig. 6(b), and this display mode is also referred to as a bottom guide mode.
Optionally, referring to fig. 6(a) and 6(b), the floating window may specifically be in the form of a banner (banner), and entry information of a recommendation tool in the floating window may be presented in a manner of thumbnail and description information, where thedescription information 8 may be presented in a form of a row, that is, a name of a first behavior tool, and other description information of a second behavior tool, including but not limited to usage amount information of the tool used, social information of which friends frequently use the tool, and the like.
Further, the floating window may include anoperation item 5 for closing the floating window. The user can close the floating window through theoperation item 5 without refreshing the account state page.
Entry information of a plurality of recommendation tools is displayed in a floating window mode, only the floating window needs to be generated, and an account state page does not need to be generated again, so that the performance load of the electronic equipment is favorably reduced, and the page display efficiency is improved; meanwhile, the user can adjust or cancel the entry information of the plurality of recommendation tools displayed on the account state page as required, and the interaction flexibility is improved.
Further, in an exemplary embodiment, the preview animations corresponding to the plurality of recommendation tools in the floating window may also be played in turn. Optionally, to improve the interaction effect, in the floating window, the currently played preview animation is highlighted, for example: the currently played preview animation is displayed in the middle, for example, as shown in fig. 5(a) and 5 (b). For another example, the currently played preview animation is enlarged and played, and the other recommendation tools are displayed in a thumbnail manner, for example, as shown in fig. 6(a) and 6 (b).
As an example, when the preview animation corresponding to the plurality of recommendation tools in the floating window is played in turn, the playing of the preview animation corresponding to the next recommendation tool may be automatically switched to when the set time period is reached, according to a set time period, for example, 5 seconds, that is, no matter whether the preview animation corresponding to the current recommendation tool is played completely or not. Or, the playing is performed according to the duration of the preview animation corresponding to each recommendation tool, that is, after the preview animation corresponding to the current recommendation tool is played from the first frame to the last frame, the playing is automatically switched to the playing of the first frame of the preview animation corresponding to the next recommendation tool.
Further, the goal of playing the preview animation corresponding to the plurality of recommendation tools in the floating window in turn is to improve the content publishing will of the current login account, so that when the preview animation is played, the function entry control of the corresponding recommendation tool may also be displayed in the floating window at the same time, and as an example, the method specifically includes:
superposing and displaying afunction entry control 6 corresponding to the recommendation tool in the current preview animation, which is shown in fig. 5 (a); the recommendation tool corresponding to the currently played preview animation is a magic watch, and when the user triggers thefunction entry control 6, the user can directly jump to a shooting page corresponding to the magic watch.
Or, in an area outside the recommendation tools in the floating window, thefunction entry control 7 corresponding to the recommendation tool corresponding to the current preview animation is displayed, as shown in fig. 6(a), the recommendation tool corresponding to the current play preview animation is a magic table, and the user triggers thefunction entry control 7 to directly jump to the shooting page corresponding to the magic table.
Further, in addition to the above-mentioned playing the preview animation corresponding to the plurality of recommendation tools in turn in the floating window, the user may also adjust the position or the playing sequence of the entry information of the plurality of recommendation tools as needed, and the specific implementation steps may include: detecting switching operation information for switching an entry information display position of a recommendation tool, such as sliding operation information for a recommendation tool area; responding to the switching operation information, and correspondingly switching the positions of the entry information of the recommendation tools which are tiled and displayed in the floating window.
According to the embodiment, the positions of the entry information of the plurality of recommendation tools or the playing sequence of the preview animation of the plurality of recommendation tools can be flexibly adjusted according to the needs of the user, and the entry information of other recommendation tools which are not shown can be displayed by adjusting under the condition that the entry information of the plurality of recommendation tools is not completely shown.
In an exemplary embodiment, after the playing the preview animations corresponding to the plurality of recommendation tools in turn in the floating window and displaying the function entry controls corresponding to the recommendation tools corresponding to the current preview animation, the method further includes:
detecting first trigger operation information aiming at the function entrance control; responding to the first trigger operation information, and jumping to a first page; the first page is a shooting page corresponding to a recommendation tool corresponding to the current preview animation;
detecting second trigger operation information aiming at the current preview animation; responding to the second trigger operation information, jumping to a second page, wherein the second page is a tool list page of a recommendation tool corresponding to the current preview animation;
detecting third trigger operation information for switching recommendation tools; responding to the third trigger operation information, and switching to play other recommendation tools;
and/or detecting fourth trigger operation information aiming at the closing operation item; and closing the floating window in response to the fourth trigger operation information.
As an example, referring to fig. 7, after portal information of a plurality of recommendation tools is presented in an account status page through a floating window, the user's interactive operation includes:
if the trigger operation information (i) for thefunction entry control 6 in fig. 7 is detected, jumping to a shooting page corresponding to the current preview tool, for example, if the current preview tool is a magic watch tool, jumping to a magic watch shooting page corresponding to the current magic watch;
if the trigger operation information for previewing the animation by the current tool in the figure 7 is detected, jumping to a detailed page of the current tool can be performed, for example, the current previewing tool is a magic watch tool, jumping to the detailed page of the current magic watch can be performed, the works corresponding to the current magic watch can be browsed in the detailed page, the mode can be further switched to a large screen mode, and the works corresponding to the current magic watch can be switched by sliding up and down;
if sliding operation information for a plurality of recommendation tool areas in the fig. 7 is detected, switching to playing the preview animation corresponding to other recommendation tools, and correspondingly, when the playing content is switched, synchronously switching corresponding tool pattern information in the floating window so that the tool pattern information is adapted to the recommendation tool corresponding to the current preview animation;
and if the closing operation information (R) aiming at the closing operation item in the figure 7 is detected, closing the floating window, and displaying a main shooting page and a null state in the current account state page.
As another example, referring to fig. 8, after portal information of a plurality of recommendation tools is presented in an account status page through a floating window, the user's interactive operations include:
if the trigger operation information (i) for thefunction entry control 7 in fig. 8 is detected, jumping to a shooting page corresponding to the current preview tool, for example, if the current preview tool is a magic watch tool, jumping to a magic watch shooting page corresponding to the current magic watch;
if sliding operation information aiming at a plurality of recommendation tool areas in thepicture 8 is detected, switching to playing preview animations corresponding to other recommendation tools, correspondingly, when playing content is switched, synchronously switching corresponding tool pattern information in the floating window, so that the tool pattern information is adapted to the recommendation tool corresponding to the current preview animation;
and if the closing operation information for the closing operation item in the figure 8 is detected, closing the floating window, and displaying a main shooting page and an empty state in the current account state page.
In an exemplary embodiment, the position of thecarousel bar 9 in the floating window may also be adjusted according to the position of the entry information of the recommendation tool corresponding to the current preview animation in the entry information of the recommendation tools, so that the position of thecarousel bar 9 is adapted to the alternate playing progress of the recommendation tools, and the page effect of the method may be as shown in fig. 6.
In an exemplary embodiment, the presentation mode of presenting the portal information of the plurality of recommendation tools in the account status page may also be different for different scenarios, for example:
if it is determined that the entry information of the plurality of recommendation tools is displayed in the account status page for the first time, displaying the entry information of the plurality of recommendation tools according to a first mode, which is shown in fig. 5; if it is determined that the entry information of the plurality of recommendation tools is displayed again in the account status page, displaying the entry information of the plurality of recommendation tools according to a second mode, which is shown in fig. 6; the floating window size exhibited in the first mode is larger than the floating window size exhibited in the second mode.
According to the embodiment, the account state page of the login account is a page with a higher user access amount ratio, and when the recommendation tool is displayed for the first time through the page, a large-size floating window can be used for displaying, so that the display effect is improved; however, the login account is not converted into the content creation account finally, which indicates that the user may come in curiosity, or the content publishing will is not so strong, so that the user is not suitable for making strong visual interference, so that a small-size floating window can be adopted for displaying when the recommended recommendation tool is displayed again in the following process, and negative feedback of the login account is avoided.
In an exemplary embodiment, after the portal information of the plurality of recommendation tools is presented through the floating window in the account status page, the method further includes: and detecting target operation information of the login account, wherein the target operation information comprises trigger operation information of entrance information of at least one recommendation tool in the floating window, and canceling the floating window from being displayed in an account state page.
The condition of detecting the target operation information of the login account may be that the login account triggers entry information of a recommendation tool and publishes publicly visible content information successfully through the recommendation tool, or that the login account publishes part of content information visible to the account through the recommendation tool, or even that the login account edits content information to be published through the recommendation tool but does not publish the content information finally.
In this embodiment, for any of the above cases, the floating window in the account status page needs to be cancelled. Because the account state page of the login account is a page with a higher user access amount ratio, the visual effect of the card form is very strong, if the login account clicks a recommendation tool, the visual conversion purpose of the floating window is achieved, no matter whether the login account is finally converted into a content creation account or not, the login account is not suitable for visual strong interference, and negative feedback of the login account is avoided.
In another exemplary embodiment, after the portal information of the plurality of recommendation tools is presented through the floating window in the account status page, the method further includes: after the user closes the floating window and the login account is always in the zero-content information release state, on the same day, the floating window is not displayed on the account state page of the login account any more, and the floating window is displayed in the account state page of the login account again after a few days or when the number of times of accessing the account state page by the main state of the login account exceeds the set number of times. For example: and after the floating window is closed by the user, the floating window is restored in the account state page of the user after 3 days are separated or the number of times of accessing the account state page by the main state of the login account exceeds 10 times. And may be presented in a thumbnail mode when presented again, as shown in fig. 6, to reduce interference to the user. The number of times of accessing the account status page by the master mode refers to the number of times of accessing the account status page by the login account.
Fig. 9 is a flowchart illustrating an information recommendation method, as shown in fig. 9, for use in a server, according to an exemplary embodiment, including the following steps.
Step 901, receiving a page display request of an application program login account; the page display request displays a target page for requesting an application program to log in an account, wherein the target page is a page containing a function entrance for issuing content information;
step 902, determining the login account as an account with the content information release quantity less than or equal to a preset threshold value, and acquiring at least one recommendation tool corresponding to the login account; the recommendation tool is a tool for publishing content information;
in an exemplary embodiment, in this step, the target account corresponding to the login account may be acquired from accounts whose content information distribution amount is greater than the preset threshold; and acquiring at least one recommendation tool according to the operation information of the historical content information issued by the target account.
Step 903, sending the at least one recommendation tool to the application program login account, so as to display entry information of the at least one recommendation tool in a target page corresponding to the application program login account.
In this embodiment, after receiving a page display request of a login account of an application program, a server determines whether the login account is an account whose content information issue quantity is smaller than a preset threshold, and if so, acquires at least one recommendation tool corresponding to the login account, for example, acquires a target account corresponding to the login account from a content creation account of the application program; the method comprises the steps of obtaining a plurality of recommendation tools according to tool use preference information when a target account publishes historical content information, sending the obtained recommendation tools to a login account, and displaying entry information of the recommendation tools in a tiled mode on a target page of the login account, so that a convenient content production entry is provided for the login account.
It should be understood that although the steps in the flowcharts of fig. 2, 4 and 9 are shown in order as indicated by the arrows, the steps are not necessarily performed in order as indicated by the arrows. The steps are not performed in the exact order shown and described, and may be performed in other orders, unless explicitly stated otherwise. Moreover, at least some of the steps in fig. 2, 4 and 9 may include multiple steps or multiple stages, which are not necessarily performed at the same time, but may be performed at different times, which are not necessarily performed in sequence, but may be performed alternately or alternately with other steps or at least some of the other steps.
Fig. 10 is a block diagram illustrating an information recommendation apparatus according to an exemplary embodiment, where the apparatus 800 is applied to a terminal. Referring to fig. 10, the apparatus 800 includes:
apage display unit 801 configured to execute a target page for displaying a login account of an application, where the target page is a page including a function entry for issuing content information;
anaccount determining unit 802 configured to perform determining that the login account is an account whose content information issue quantity is smaller than a preset threshold;
atool recommendation unit 803 configured to perform presenting entry information of at least one recommendation tool in the target page; the recommendation tool is used for issuing content information, and corresponds to the login account.
In one exemplary embodiment, the recommendation tool is determined according to operation information of issuing historical content information by a target account corresponding to the login account; the target account is an account of which the content information issuing quantity in the application program is larger than a set threshold value.
In one exemplary embodiment, the content creation account is an account with a content information publishing number greater than zero, and the target account further satisfies at least one of the following conditions:
the content information issuing quantity is less than the set quantity; the set number is greater than the preset threshold;
the account activity is less than a set activity threshold;
the account description information is matched with the account description information of the login account.
In one exemplary embodiment, the target account is a plurality of accounts;
the device further comprises: a recommendation tool acquisition module configured to perform acquiring the at least one recommendation tool; the at least one recommendation tool is determined according to candidate tools corresponding to the target accounts respectively; the candidate tool corresponding to each target account is at least one tool with the largest operation frequency of each target account in the plurality of tools for issuing the content information in the application program.
In one exemplary embodiment, the recommendation tool is a plurality; the target page of the login account is an account state page of the login account;
the tool recommendation unit is further configured to perform:
in a preset area of the account state page, tiling and displaying entry information of the plurality of recommendation tools;
the preset area is located in an area outside the area where the account description information is located.
In one exemplary embodiment, the tool recommending unit is further configured to perform:
obtaining a priority ranking of the plurality of recommendation tools; the priority of each recommendation tool and the operation times of each recommendation tool operated by the target account form a positive correlation;
and in the preset area, displaying the entry information of the plurality of recommendation tools in a tiled mode according to the priority sequence.
In one exemplary embodiment, the tool recommending unit is further configured to perform:
displaying a floating window containing the entrance information of the plurality of recommendation tools in a preset area of the account state page; and in the floating window, the entrance information of the recommendation tools is displayed in a tiled mode.
In one exemplary embodiment, the tool recommending unit is further configured to perform:
and playing the preview animations corresponding to the plurality of recommendation tools in turn in the floating window.
In one exemplary embodiment, the tool recommending unit is further configured to perform:
when the preview animations corresponding to the recommendation tools are played in turn, the function entry control corresponding to the recommendation tool corresponding to the current preview animation is displayed in the floating window, and/or the description information of the recommendation tool corresponding to the current preview animation is displayed.
In one exemplary embodiment, the description information of the recommendation tool includes at least one of the following:
name information of the recommendation tool;
usage number information that the recommendation tool is used by an associated account; the associated account is an account in the application program, which has a social relationship with the login account.
In one exemplary embodiment, the system further comprises at least one operation response unit;
a first operation response unit configured to perform:
detecting first trigger operation information of a function entrance control corresponding to the recommendation tool;
responding to the first trigger operation information, and jumping to a first page; the first page is a shooting page corresponding to a recommendation tool corresponding to the current preview animation;
a second operation response unit configured to perform:
detecting second trigger operation information aiming at the current preview animation;
responding to the second trigger operation information, jumping to a second page, wherein the second page is a tool list page of a recommendation tool corresponding to the current preview animation;
a third operation response unit configured to perform:
detecting third trigger operation information for switching recommendation tools;
responding to the third trigger operation information, and switching to play other recommendation tools;
a fourth operation response unit configured to perform:
detecting fourth trigger operation information for closing the floating window;
and closing the floating window in response to the fourth trigger operation information.
In an exemplary embodiment, the tool recommendation unit is further configured to execute displaying the floating window in a preset area of the account status page by using at least one of the following displaying manners:
the floating window is displayed at the bottom of the account state page and shields the bottom navigation bar of the account state page;
the floating window is displayed at the bottom of the account state page, and the bottom navigation bar is not shielded.
In one exemplary embodiment, the tool recommending unit is further configured to perform:
if the entry information of the plurality of recommendation tools is confirmed to be displayed in the target page for the first time, displaying the entry information of the plurality of recommendation tools according to a first mode;
if the entry information of the plurality of recommendation tools is determined to be displayed in the target page again, displaying the entry information of the plurality of recommendation tools according to a second mode;
the floating window size exhibited in the first mode is larger than the floating window size exhibited in the second mode.
In one exemplary embodiment, the method further includes a cancellation recommending unit configured to perform:
target operation information of the login account is detected, wherein the target operation information comprises trigger operation information of entrance information of any recommendation tool in the floating window;
and canceling the display of the floating window in the target page.
Fig. 11 is a block diagram illustrating an information recommendation apparatus according to an exemplary embodiment, where the apparatus 900 is applied to a server, and referring to fig. 11, the apparatus 900 includes:
arequest receiving unit 901 configured to perform receiving a page display request; the page display request is used for requesting a target page of an application program, and the target page is a page containing a function entrance for issuing content information;
a recommendationtool determining unit 902, configured to perform determining that the login account is an account whose content information issue quantity is smaller than or equal to a preset threshold, and acquire at least one recommendation tool corresponding to the login account; the recommendation tool is a tool for publishing content information;
a recommendationtool sending unit 903, configured to execute sending of the at least one recommendation tool to the login account, so as to display entry information of the at least one recommendation tool in a target page corresponding to the login account.
In one exemplary embodiment, the recommendation tool determining unit is further configured to perform: acquiring a target account corresponding to the login account from accounts with the content information release quantity larger than the preset threshold value; and acquiring at least one recommendation tool according to the operation information of the historical content information issued by the target account.
In one exemplary embodiment, the content information publishing number of the target account in the application program is greater than zero, and the target account further satisfies at least one of the following conditions:
the content information issuing quantity is less than the set quantity; the set number is smaller than the preset threshold value;
the account activity is less than a set activity threshold;
the account description information is matched with the account description information of the login account.
With regard to the apparatus in the above-described embodiment, the specific manner in which each module performs the operation has been described in detail in the embodiment related to the method, and will not be elaborated here.
Fig. 12 is a block diagram illustrating anapparatus 1200 for information recommendation, according to an example embodiment. For example, thedevice 1200 may be a mobile phone, a computer, a digital broadcast terminal, a messaging device, a gaming console, a tablet device, a medical device, a fitness device, a personal digital assistant, and so forth.
Referring to fig. 12,device 1200 may include one or more of the following components: aprocessing component 1202, amemory 1204, apower component 1206, amultimedia component 1208, anaudio component 1210, an input/output (I/O)interface 1212, asensor component 1214, and acommunications component 1216.
Theprocessing component 1202 generally controls overall operation of thedevice 1200, such as operations associated with display, telephone calls, data communications, camera operations, and recording operations. Theprocessing components 1202 may include one ormore processors 1220 to execute instructions to perform all or a portion of the steps of the methods described above. Further, theprocessing component 1202 can include one or more modules that facilitate interaction between theprocessing component 1202 and other components. For example, theprocessing component 1202 can include a multimedia module to facilitate interaction between themultimedia component 1208 and theprocessing component 1202.
Thememory 1204 is configured to store various types of data to support operation at thedevice 1200. Examples of such data include instructions for any application or method operating ondevice 1200, contact data, phonebook data, messages, pictures, videos, and so forth. Thememory 1204 may be implemented by any type or combination of volatile or non-volatile storage devices such as Static Random Access Memory (SRAM), electrically erasable programmable read-only memory (EEPROM), erasable programmable read-only memory (EPROM), programmable read-only memory (PROM), read-only memory (ROM), magnetic memory, flash video memory, magnetic or optical disks.
Apower supply component 1206 provides power to the various components of thedevice 1200.Power components 1206 may include a power management system, one or more power sources, and other components associated with generating, managing, and distributing power fordevice 1200.
Themultimedia components 1208 include a screen that provides an output interface between thedevice 1200 and a user. In some embodiments, the screen may include a Liquid Crystal Display (LCD) and a Touch Panel (TP). If the screen includes a touch panel, the screen may be implemented as a touch screen to receive an input signal from a user. The touch panel includes one or more touch sensors to sense touch, slide, and gestures on the touch panel. The touch sensor may not only sense the boundary of a touch or slide action, but also detect the duration and pressure associated with the touch or slide operation. In some embodiments, themultimedia component 1208 includes a front facing camera and/or a rear facing camera. The front camera and/or the rear camera may receive external multimedia data when thedevice 1200 is in an operating mode, such as a shooting mode or a video mode. Each front camera and rear camera may be a fixed optical lens system or have a focal length and optical zoom capability.
Audio component 1210 is configured to output and/or input audio signals. For example,audio assembly 1210 includes a Microphone (MIC) configured to receive external audio signals whendevice 1200 is in an operational mode, such as a call mode, a recording mode, and a voice recognition mode. The received audio signals may further be stored in thememory 1204 or transmitted via thecommunication component 1216. In some embodiments,audio assembly 1210 further includes a speaker for outputting audio signals.
The I/O interface 1212 provides an interface between theprocessing component 1202 and peripheral interface modules, which may be keyboards, click wheels, buttons, etc. These buttons may include, but are not limited to: a home button, a volume button, a start button, and a lock button.
Thesensor assembly 1214 includes one or more sensors for providing various aspects of state assessment for thedevice 1200. For example, thesensor assembly 1214 may detect an open/closed state of thedevice 1200, the relative positioning of the components, such as a display and keypad of thedevice 1200, thesensor assembly 1214 may also detect a change in the position of thedevice 1200 or a component of thedevice 1200, the presence or absence of user contact with thedevice 1200, orientation or acceleration/deceleration of thedevice 1200, and a change in the temperature of thedevice 1200. Thesensor assembly 1214 may include a proximity sensor configured to detect the presence of a nearby object in the absence of any physical contact. Thesensor assembly 1214 may also include a light sensor, such as a CMOS or CCD image sensor, for use in imaging applications. In some embodiments, thesensor assembly 1214 may also include an acceleration sensor, a gyroscope sensor, a magnetic sensor, a pressure sensor, or a temperature sensor.
Communications component 1216 is configured to facilitate communications betweendevice 1200 and other devices in a wired or wireless manner. Thedevice 1200 may access a wireless network based on a communication standard, such as WiFi, an operator network (such as 213, 313, 413, or 513), or a combination thereof. In an exemplary embodiment, thecommunication component 1216 receives the broadcast signal or broadcast related information from an external broadcast management system via a broadcast channel. In an exemplary embodiment, thecommunications component 1216 further includes a Near Field Communication (NFC) module to facilitate short-range communications. For example, the NFC module may be implemented based on Radio Frequency Identification (RFID) technology, infrared data association (IrDA) technology, Ultra Wideband (UWB) technology, Bluetooth (BT) technology, and other technologies.
In an exemplary embodiment, thedevice 1200 may be implemented by one or more Application Specific Integrated Circuits (ASICs), Digital Signal Processors (DSPs), Digital Signal Processing Devices (DSPDs), Programmable Logic Devices (PLDs), field programmable gate arrays (FP13A), controllers, micro-controllers, microprocessors or other electronic components for performing the above-described methods.
In an exemplary embodiment, a non-transitory computer readable storage medium is also provided that includes instructions, such as thememory 1204 that includes instructions, that are executable by theprocessor 1220 of thedevice 1200 to perform the above-described methods. For example, the non-transitory computer readable storage medium may be a ROM, a Random Access Memory (RAM), a CD-ROM, a magnetic tape, a floppy disk, an optical data storage device, and the like.
Fig. 13 is a block diagram illustrating anapparatus 1300 for information recommendation, according to an example embodiment. For example, thedevice 1300 may be a server. Referring to fig. 13,device 1300 includes aprocessing component 1320 that further includes one or more processors and memory resources, represented bymemory 1322, for storing instructions, such as application programs, that are executable byprocessing component 1320. The application programs stored inmemory 1322 may include one or more modules each corresponding to a set of instructions. Further, theprocessing component 1320 is configured to execute instructions to perform the information recommendation method described above.
Thedevice 1300 may also include apower component 1324 configured to perform power management for thedevice 1300, a wired orwireless network interface 1326 configured to connect thedevice 1300 to a network, and an input-output (I/O)interface 1328. Thedevice 1300 may operate based on an operating system stored inmemory 1322, such as Windows Server, MacOS XTM, UnixTM, LinuxTM, FreeBSDTM, or the like.
In an exemplary embodiment, a storage medium comprising instructions, such asmemory 1322 comprising instructions, that are executable by a processor ofdevice 1300 to perform the method described above is also provided. The storage medium may be a non-transitory computer readable storage medium, which may be, for example, a ROM, a Random Access Memory (RAM), a CD-ROM, a magnetic tape, a floppy disk, an optical data storage device, and the like.
Other embodiments of the disclosure will be apparent to those skilled in the art from consideration of the specification and practice of the disclosure disclosed herein. This application is intended to cover any variations, uses, or adaptations of the disclosure following, in general, the principles of the disclosure and including such departures from the present disclosure as come within known or customary practice within the art to which the disclosure pertains. It is intended that the specification and examples be considered as exemplary only, with a true scope and spirit of the disclosure being indicated by the following claims.
It will be understood that the present disclosure is not limited to the precise arrangements described above and shown in the drawings and that various modifications and changes may be made without departing from the scope thereof. The scope of the present disclosure is limited only by the appended claims.

Claims (10)

CN202010744708.3A2020-07-292020-07-29Information recommendation method and device, electronic equipment and storage mediumActiveCN111859196B (en)

Priority Applications (1)

Application NumberPriority DateFiling DateTitle
CN202010744708.3ACN111859196B (en)2020-07-292020-07-29Information recommendation method and device, electronic equipment and storage medium

Applications Claiming Priority (1)

Application NumberPriority DateFiling DateTitle
CN202010744708.3ACN111859196B (en)2020-07-292020-07-29Information recommendation method and device, electronic equipment and storage medium

Publications (2)

Publication NumberPublication Date
CN111859196Atrue CN111859196A (en)2020-10-30
CN111859196B CN111859196B (en)2023-11-28

Family

ID=72945452

Family Applications (1)

Application NumberTitlePriority DateFiling Date
CN202010744708.3AActiveCN111859196B (en)2020-07-292020-07-29Information recommendation method and device, electronic equipment and storage medium

Country Status (1)

CountryLink
CN (1)CN111859196B (en)

Cited By (7)

* Cited by examiner, † Cited by third party
Publication numberPriority datePublication dateAssigneeTitle
CN112711706A (en)*2020-12-292021-04-27拉扎斯网络科技(上海)有限公司Information interaction method and device, readable storage medium and electronic equipment
CN113641294A (en)*2021-07-302021-11-12北京达佳互联信息技术有限公司Information display method and device, electronic equipment and storage medium
CN113886727A (en)*2021-10-292022-01-04北京达佳互联信息技术有限公司 Method and device for recommending display content
CN114428660A (en)*2022-01-292022-05-03北京字跳网络技术有限公司 Page processing method, apparatus, device and storage medium
CN114727020A (en)*2022-04-112022-07-08北京达佳互联信息技术有限公司Interface display and data processing method, device, equipment and storage medium
CN115509412A (en)*2022-10-182022-12-23北京字跳网络技术有限公司 Method, device, device and storage medium for special effect interaction
CN115729395A (en)*2022-11-292023-03-03北京字跳网络技术有限公司Interaction method and device based on multimedia object, electronic equipment and storage medium

Citations (24)

* Cited by examiner, † Cited by third party
Publication numberPriority datePublication dateAssigneeTitle
CN103455522A (en)*2012-06-042013-12-18北京搜狗科技发展有限公司Recommendation method and system of application extension tools
US8655938B1 (en)*2010-05-192014-02-18Adobe Systems IncorporatedSocial media contributor weight
CN103677866A (en)*2012-09-052014-03-26北京搜狗科技发展有限公司Application program extension tool pushing method and system
CN104794121A (en)*2014-01-172015-07-22腾讯科技(深圳)有限公司Portal information display method and device
CN104899265A (en)*2015-05-212015-09-09广东小天才科技有限公司Information recommendation method and system
CN105868263A (en)*2015-12-312016-08-17乐视移动智能信息技术(北京)有限公司Method and apparatus for recommending application function to user in form of task
CN106126651A (en)*2016-06-282016-11-16成都育芽科技有限公司A kind of lightweight page bootstrap technique of internet application
CN106131684A (en)*2016-06-242016-11-16依偎科技(南昌)有限公司A kind of content recommendation method and terminal
CN106844680A (en)*2017-01-252017-06-13百度在线网络技术(北京)有限公司The methods of exhibiting and device of recommendation information
CN106919597A (en)*2015-12-252017-07-04北京奇虎科技有限公司Information recommendation method and device
WO2017167123A1 (en)*2016-03-292017-10-05北京金山安全软件有限公司Method and apparatus for displaying resource entrance on mobile device, and mobile device
CN108228873A (en)*2018-01-172018-06-29腾讯科技(深圳)有限公司Object recommendation, publication content delivery method, device, storage medium and equipment
US20180260718A1 (en)*2017-03-102018-09-13Adobe Systems IncorporatedApplication Tool Recommendations
CN108764994A (en)*2018-05-242018-11-06深圳前海桔子信息技术有限公司A kind of user behavior guidance method, device, server and storage medium
CN109118296A (en)*2018-09-042019-01-01南京星邺汇捷网络科技有限公司Movable method for pushing, device and electronic equipment
CN109446427A (en)*2018-11-022019-03-08北京奇艺世纪科技有限公司A kind of information recommendation method and device
CN109766505A (en)*2019-01-312019-05-17腾讯科技(深圳)有限公司A kind of information resources method for pushing, system, device, equipment and storage medium
CN110162359A (en)*2019-04-092019-08-23口碑(上海)信息技术有限公司Method for pushing, the apparatus and system of new hand's guidance information
CN110297987A (en)*2019-07-022019-10-01武汉斗鱼网络科技有限公司A kind of model recommended method, device, equipment and storage medium
CN110688560A (en)*2018-06-192020-01-14阿里巴巴集团控股有限公司Information recommendation method and device
CN110866183A (en)*2019-11-062020-03-06北京字节跳动网络技术有限公司Social interface recommendation method and device, electronic equipment and storage medium
CN111078901A (en)*2019-12-252020-04-28北京字节跳动网络技术有限公司Video-based interaction implementation method, device, equipment and medium
CN111143683A (en)*2019-12-262020-05-12上海传英信息技术有限公司Terminal interaction recommendation method and device and readable storage medium
CN111343073A (en)*2018-12-182020-06-26腾讯科技(深圳)有限公司Video processing method and device and terminal equipment

Patent Citations (24)

* Cited by examiner, † Cited by third party
Publication numberPriority datePublication dateAssigneeTitle
US8655938B1 (en)*2010-05-192014-02-18Adobe Systems IncorporatedSocial media contributor weight
CN103455522A (en)*2012-06-042013-12-18北京搜狗科技发展有限公司Recommendation method and system of application extension tools
CN103677866A (en)*2012-09-052014-03-26北京搜狗科技发展有限公司Application program extension tool pushing method and system
CN104794121A (en)*2014-01-172015-07-22腾讯科技(深圳)有限公司Portal information display method and device
CN104899265A (en)*2015-05-212015-09-09广东小天才科技有限公司Information recommendation method and system
CN106919597A (en)*2015-12-252017-07-04北京奇虎科技有限公司Information recommendation method and device
CN105868263A (en)*2015-12-312016-08-17乐视移动智能信息技术(北京)有限公司Method and apparatus for recommending application function to user in form of task
WO2017167123A1 (en)*2016-03-292017-10-05北京金山安全软件有限公司Method and apparatus for displaying resource entrance on mobile device, and mobile device
CN106131684A (en)*2016-06-242016-11-16依偎科技(南昌)有限公司A kind of content recommendation method and terminal
CN106126651A (en)*2016-06-282016-11-16成都育芽科技有限公司A kind of lightweight page bootstrap technique of internet application
CN106844680A (en)*2017-01-252017-06-13百度在线网络技术(北京)有限公司The methods of exhibiting and device of recommendation information
US20180260718A1 (en)*2017-03-102018-09-13Adobe Systems IncorporatedApplication Tool Recommendations
CN108228873A (en)*2018-01-172018-06-29腾讯科技(深圳)有限公司Object recommendation, publication content delivery method, device, storage medium and equipment
CN108764994A (en)*2018-05-242018-11-06深圳前海桔子信息技术有限公司A kind of user behavior guidance method, device, server and storage medium
CN110688560A (en)*2018-06-192020-01-14阿里巴巴集团控股有限公司Information recommendation method and device
CN109118296A (en)*2018-09-042019-01-01南京星邺汇捷网络科技有限公司Movable method for pushing, device and electronic equipment
CN109446427A (en)*2018-11-022019-03-08北京奇艺世纪科技有限公司A kind of information recommendation method and device
CN111343073A (en)*2018-12-182020-06-26腾讯科技(深圳)有限公司Video processing method and device and terminal equipment
CN109766505A (en)*2019-01-312019-05-17腾讯科技(深圳)有限公司A kind of information resources method for pushing, system, device, equipment and storage medium
CN110162359A (en)*2019-04-092019-08-23口碑(上海)信息技术有限公司Method for pushing, the apparatus and system of new hand's guidance information
CN110297987A (en)*2019-07-022019-10-01武汉斗鱼网络科技有限公司A kind of model recommended method, device, equipment and storage medium
CN110866183A (en)*2019-11-062020-03-06北京字节跳动网络技术有限公司Social interface recommendation method and device, electronic equipment and storage medium
CN111078901A (en)*2019-12-252020-04-28北京字节跳动网络技术有限公司Video-based interaction implementation method, device, equipment and medium
CN111143683A (en)*2019-12-262020-05-12上海传英信息技术有限公司Terminal interaction recommendation method and device and readable storage medium

Cited By (8)

* Cited by examiner, † Cited by third party
Publication numberPriority datePublication dateAssigneeTitle
CN112711706A (en)*2020-12-292021-04-27拉扎斯网络科技(上海)有限公司Information interaction method and device, readable storage medium and electronic equipment
CN113641294A (en)*2021-07-302021-11-12北京达佳互联信息技术有限公司Information display method and device, electronic equipment and storage medium
CN113886727A (en)*2021-10-292022-01-04北京达佳互联信息技术有限公司 Method and device for recommending display content
CN114428660A (en)*2022-01-292022-05-03北京字跳网络技术有限公司 Page processing method, apparatus, device and storage medium
JP2024535058A (en)*2022-01-292024-09-26北京字跳▲網▼絡技▲術▼有限公司 PAGE PROCESSING METHOD, APPARATUS, DEVICE AND STORAGE MEDIUM
CN114727020A (en)*2022-04-112022-07-08北京达佳互联信息技术有限公司Interface display and data processing method, device, equipment and storage medium
CN115509412A (en)*2022-10-182022-12-23北京字跳网络技术有限公司 Method, device, device and storage medium for special effect interaction
CN115729395A (en)*2022-11-292023-03-03北京字跳网络技术有限公司Interaction method and device based on multimedia object, electronic equipment and storage medium

Also Published As

Publication numberPublication date
CN111859196B (en)2023-11-28

Similar Documents

PublicationPublication DateTitle
CN111859196B (en)Information recommendation method and device, electronic equipment and storage medium
CN109120981B (en)Information list display method and device and storage medium
US11523170B2 (en)Method for displaying videos, and storage medium and electronic device thereof
CN110958386B (en)Video synthesis method and device, electronic equipment and computer-readable storage medium
CN110688571A (en)List stream implementation method and device, electronic equipment and storage medium
CN112351348A (en)Live broadcast interaction method and device, electronic equipment and storage medium
CN110602394A (en)Video shooting method and device and electronic equipment
CN113065008A (en)Information recommendation method and device, electronic equipment and storage medium
CN107071579A (en)Multimedia resource processing method and device
CN109660873B (en)Video-based interaction method, interaction device and computer-readable storage medium
CN110674343A (en)Account information processing method and device, server and terminal
CN108959320A (en)The method and apparatus of preview video search result
CN114245154B (en)Method and device for displaying virtual articles in game live broadcast room and electronic equipment
CN113901241B (en)Page display method and device, electronic equipment and storage medium
CN111061906A (en)Music information processing method and device, electronic equipment and computer readable storage medium
CN113727200A (en)Video abstract information determination method and device, electronic equipment and storage medium
CN114554231A (en)Information display method and device, electronic equipment and storage medium
CN115935099A (en)Information display method and device, electronic equipment and storage medium
CN113965792A (en)Video display method and device, electronic equipment and readable storage medium
CN112333518A (en)Function configuration method and device for video and electronic equipment
CN114422854B (en) Data processing method, device, electronic device and storage medium
CN112506396B (en)Resource display method and device, electronic equipment and storage medium
CN112732374A (en)Page display method, display device, electronic equipment and storage medium
CN114900709A (en)Object information display method and device, electronic equipment and storage medium
US20250097513A1 (en)Method for displaying object information and electronic device

Legal Events

DateCodeTitleDescription
PB01Publication
PB01Publication
SE01Entry into force of request for substantive examination
SE01Entry into force of request for substantive examination
GR01Patent grant
GR01Patent grant

[8]ページ先頭

©2009-2025 Movatter.jp