Movatterモバイル変換


[0]ホーム

URL:


CN111632214A - Impeller inflation formula ventricle circulation auxiliary device - Google Patents

Impeller inflation formula ventricle circulation auxiliary device
Download PDF

Info

Publication number
CN111632214A
CN111632214ACN202010412347.2ACN202010412347ACN111632214ACN 111632214 ACN111632214 ACN 111632214ACN 202010412347 ACN202010412347 ACN 202010412347ACN 111632214 ACN111632214 ACN 111632214A
Authority
CN
China
Prior art keywords
impeller
shaft
pipe
water
expansion
Prior art date
Legal status (The legal status is an assumption and is not a legal conclusion. Google has not performed a legal analysis and makes no representation as to the accuracy of the status listed.)
Pending
Application number
CN202010412347.2A
Other languages
Chinese (zh)
Inventor
孙英贤
Current Assignee (The listed assignees may be inaccurate. Google has not performed a legal analysis and makes no representation or warranty as to the accuracy of the list.)
Individual
Original Assignee
Individual
Priority date (The priority date is an assumption and is not a legal conclusion. Google has not performed a legal analysis and makes no representation as to the accuracy of the date listed.)
Filing date
Publication date
Application filed by IndividualfiledCriticalIndividual
Priority to CN202010412347.2ApriorityCriticalpatent/CN111632214A/en
Publication of CN111632214ApublicationCriticalpatent/CN111632214A/en
Pendinglegal-statusCriticalCurrent

Links

Images

Landscapes

Abstract

The invention relates to the field of medical instruments, in particular to an impeller expansion type ventricular circulation auxiliary device which comprises a driving device, a catheter shaft sleeve, an expansion tube and an impeller, wherein the front end of the expansion tube is provided with a blood inlet, the rear end is provided with a blood outlet, the rear end of the expansion tube is connected with a catheter shaft sleeve, an impeller and a supporting shaft are arranged in the expansion tube, a rotating shaft is arranged in the catheter shaft sleeve, the front end of the impeller shaft of the impeller is fixedly connected with the supporting shaft, the rear end of the impeller shaft of the impeller is fixedly connected with the rotating shaft, the rotating shaft is driven to rotate by a driving device, a wheel shaft inner hole is arranged in the impeller shaft, an impeller inner cavity is arranged in the blade of the impeller, the inner hole of the wheel shaft is communicated with the inner cavity of each impeller, the catheter shaft is sleeved with a water filling flow channel, a water inlet pipe with a flow control valve is arranged on the driving device, the front end of the water filling flow channel is communicated with the inner hole of the wheel shaft, and the rear end of the water filling flow channel is communicated with the water inlet pipe. The impeller and the expansion pipe are in a compressed state when being implanted, and can expand and support to increase the diameter of the impeller and the blood passing area after being implanted in place.

Description

Impeller inflation formula ventricle circulation auxiliary device
Technical Field
The invention relates to the field of medical instruments, in particular to an impeller expansion type ventricular circulation auxiliary device.
Background
In medical clinics, when the heart function of a patient is seriously damaged, such as acute myocardial infarction complicated with heart failure and cardiogenic shock, when the patient is treated routinely or needs intervention treatment, or complications occur before and after surgery, the heart needs to be circularly supported so that the patient can pass through a dangerous period.
In order to meet the above treatment requirements, some ventricular assist circulation devices have been developed, and the structures of the devices generally include a blood pumping tube, a catheter sleeve, an impeller, a driving device, etc. as shown in fig. 12, the ventricular assist circulation devices in the prior art are generally implanted along a blood vessel when in use, a blood inlet at the head end is placed in a ventricle, and an impeller part for pumping blood is placed in an aorta, and the impeller rotates to pump blood in the ventricle into a main artery.
Disclosure of Invention
The invention aims to provide an impeller expansion type ventricular circulation auxiliary device, wherein an expansion pipe and an impeller can be compressed and conveniently implanted before a lower pipe is implanted, the expansion pipe automatically expands after the lower pipe is implanted in place, and the impeller in the expansion pipe is inflated by water, so that the diameter and the blood passing area of the impeller are increased, and the blood pumping efficiency is improved.
The purpose of the invention is realized by the following technical scheme:
an impeller expansion type ventricular circulation auxiliary device comprises a driving device, a conduit shaft sleeve, an expansion pipe and an impeller, wherein a blood inlet is formed in the front end of the expansion pipe, a blood outlet is formed in the rear end of the expansion pipe, the rear end of the expansion pipe is connected with the front end of the conduit shaft sleeve, the rear end of the conduit shaft sleeve is connected with the driving device, the expansion pipe is internally provided with the impeller and a support shaft, a rotating shaft is arranged in the conduit shaft sleeve, the front end of the impeller shaft of the impeller is connected with the support shaft, the rear end of the impeller shaft of the impeller is connected with the rotating shaft, the rotating shaft is driven to rotate by the driving device, an impeller shaft inner hole is formed in the impeller shaft, an impeller inner cavity is formed in each blade of the impeller, the impeller shaft inner cavity is communicated with each impeller inner cavity, a water filling flow passage is formed in the conduit shaft sleeve, a water inlet pipe, The rear end is communicated with the water inlet pipe.
The expansion pipe comprises an expansion frame and a flow guide film wrapped on the expansion frame, and the expansion frame is made of memory alloy.
The front end of the expansion pipe is fixedly provided with a flexible section, and the front end of the support shaft is rotatably connected with the rear end of the flexible section.
And two ends of the expansion pipe are provided with a positioning element, a pressure sensor and a temperature sensor.
The water filling flow channel is a water filling pipe arranged inside the guide pipe shaft sleeve, the water filling pipe is arranged in the rotating shaft, the front end of a power shaft of the driving device is provided with a fixed sleeve and a transition shaft, the transition shaft is rotatably arranged in the fixed sleeve, the rear end of the guide pipe shaft sleeve is connected with the fixed sleeve, the front end of the transition shaft is coaxially connected with the rotating shaft in the guide pipe shaft sleeve and the water filling pipe, the rear end of the transition shaft is coaxially connected with the power shaft of the driving device, a water storage cavity is formed between the transition shaft and the fixed sleeve, a water passing hole is arranged in the transition shaft, one end of the water passing hole is communicated with the water storage cavity, the other end of the water passing hole is communicated with the rear end of the water filling pipe, and the front end of.
The front side of the transition shaft is provided with a transition shaft head end which extends out of the fixed sleeve and is coaxially connected with the rotating shaft and the water filling pipe, and rotary sealing elements are arranged between the fixed sleeve and a power shaft of the driving device and between the fixed sleeve and the transition shaft head end.
The water filling flow channel is a water filling inner hole arranged in the wall of the catheter shaft sleeve, a water containing cavity is arranged in the front end of the catheter shaft sleeve, the inner hole of the wheel shaft and the water filling inner hole are communicated with the water containing cavity, a water outlet disc with a connector is arranged at the output end of the water inlet pipe, and the rear end of the water filling inner hole is communicated with the corresponding connector through a flexible pipe.
And a rotary sealing element is arranged between the wall of the water containing cavity and the impeller shaft.
The water filling flow channel is a water filling outer pipe arranged on the surface of the guide pipe shaft sleeve, a water containing cavity is arranged in the front end of the guide pipe shaft sleeve, the wheel shaft inner hole and the water filling outer pipe are communicated with the water containing cavity, a water outlet disc with a connector is arranged at the output end of the water inlet pipe, and the rear end of the water filling outer pipe is communicated with the corresponding connector through a flexible pipe.
The cross section of the water-filled outer pipe is in an arc shape matched with the surface of the catheter sleeve.
The invention has the advantages and positive effects that:
1. the impeller and the expansion pipe can be in a compressed state when the lower pipe is implanted, so that the lower pipe is conveniently implanted, the expansion pipe automatically expands after the lower pipe is implanted in place, and the inner cavity of each impeller is filled with water to support the impeller, so that the diameter and the blood passing area of the impeller are increased, and the blood pumping efficiency is improved.
2. The water filling flow passage can be a water filling pipe structure arranged in the conduit shaft sleeve or a water filling flow passage structure arranged on the conduit shaft sleeve wall, and the whole structure can be ensured to be compact in any mode.
3. Before the impeller opening device is used, the optimal water inlet quantity for opening the impeller is determined through testing, and the water inlet quantity is controlled through the flow control valve on the water inlet pipe in the using process, so that the impeller is ensured to be fully opened, and the condition of insufficient water filling or excessive water filling is avoided.
4. The invention utilizes water filling to support the impeller, can realize water cooling to a certain extent, reduces the heat generated by the high-speed rotation of the driving device and the impeller, and prolongs the service life of the device.
Drawings
Figure 1 is a schematic structural view of the present invention,
figure 2 is a schematic view of the expanded tubular structure of figure 1,
figure 3 is a schematic view of the impeller and end pipe of the present invention with a water-filled tube inside the catheter hub,
figure 4 is a schematic view of the impeller of figure 3 after expansion,
FIG. 5 is a schematic view showing the structure of water inlet of the driving means when the water-filled tube is provided inside the catheter sheath according to the present invention,
figure 6 is a schematic view of the impeller and end tube of the present invention with water filled bores in the catheter shaft sleeve wall,
FIG. 7 is a schematic view of an impeller and an end pipe in the case where the outer water-filled pipe is provided on the surface of the jacket wall of the catheter shaft according to the present invention,
figure 8 is view E-E of figure 7,
FIG. 9 is a schematic view showing a water inlet structure of the driving device according to the present invention in which a water-filled flow path is provided on the wall of the catheter shaft sleeve,
figure 10 is an enlarged schematic view of the inlet pipe of figure 9,
figure 11 is a schematic view of the present invention in use,
FIG. 12 is a schematic view of a prior art ventricular assist cycle device in use.
The blood vessel comprises anexpansion pipe 1, anexpansion frame 101, aguide membrane 102, ablood inlet 103, ablood outlet 104, aflexible section 105, anend pipe 2, ablocking block 201, abearing 202, asealing gasket 203, adriving device 3, apower shaft 301, aconduit shaft sleeve 4, a rotatingshaft 401, awater filling pipe 402, awater containing cavity 403, a water fillinginner hole 404, a water fillingouter pipe 405, animpeller 5, animpeller shaft 501, arotary sealing element 502, a wheel shaftinner hole 503, a supportingshaft 504, an impellerinner cavity 505, afixing sleeve 601, awater inlet pipe 602, awater storage cavity 603, awater outlet disc 603, aflow control valve 604, atransition shaft 7, a transitionshaft head end 701, a water throughhole 702, arotary sealing element 8, a sealingring 9, aventricle 10 and anaorta 11.
Detailed Description
The present invention will be described in further detail with reference to the accompanying drawings.
As shown in fig. 1 to 11, the present invention comprises adriving device 3, acatheter shaft sleeve 4, anexpansion tube 1 and animpeller 5, wherein the rear end of theexpansion tube 1 is connected with the front end of thecatheter shaft sleeve 4, and as shown in fig. 2 to 3, the front end of theexpansion tube 1 is provided with ablood inlet 103, the rear end is provided with ablood outlet 104, theexpansion tube 1 is internally provided with animpeller 5 and asupport shaft 504, thecatheter shaft sleeve 4 is internally provided with arotating shaft 401, the front end of animpeller shaft 501 of theimpeller 5 is fixedly connected with thesupport shaft 504, the rear end is fixedly connected with the rotatingshaft 401, the rear end of thecatheter shaft sleeve 4 is connected with thedriving device 3, therotating shaft 401 is driven to rotate by thedriving device 3 to drive theimpeller 5, theimpeller shaft 501 is provided with an impellerinner hole 503, blades of theimpeller 5 are provided with impellerinner cavities 505, the impellerinner holes 503 are communicated with each impellerinner cavity 505, thecatheter shaft sleeve 4 is provided with, theinner hole 503 of the wheel axle is communicated with the water filling flow channel, thedriving device 3 is provided with awater inlet pipe 601 with aflow control valve 604, and the rear end of the water filling flow channel is communicated with thewater inlet pipe 601. Thedriving device 3 may be a motor or the like.
As shown in fig. 2, theexpansion tube 1 includes anexpansion frame 101 and aflow guide membrane 102 wrapped on theexpansion frame 101, the front end and the rear end of theexpansion frame 101 are respectively located at the outer side of theflow guide membrane 102, and a gap of a frame body at the front end and a gap of a frame body at the rear end of theexpansion frame 101 respectively form theblood inlet 103 and theblood outlet 104, theexpansion frame 101 is made of memory alloy, when the lower tube is implanted, theexpansion frame 101 and theimpeller 5 inside theexpansion frame 101 can be compressed and attached to thesupport shaft 504, after the lower tube is implanted in place, theexpansion frame 101 automatically expands through the characteristics of the memory alloy and supports theflow guide membrane 102 to form a tubular shape, then theimpeller 1 is supported by water (or other liquid harmless to the human body), the diameter of the expandedexpansion frame 101 is larger than the diameter of theconduit shaft sleeve 4, and the inner space thereof is enough for theimpeller 1 to rotate the blood pump after supporting, and the space in the conduit is increased, the blood can flow in more gently, so that the blood pumping efficiency is improved, and the energy consumption is reduced. The material of theflow guide film 102 may be a polymer, such as polyurethane, which has sufficient elasticity and strength.
As shown in fig. 1, the front end of theexpansion pipe 1 is provided with a curvedflexible section 105 for protecting, the front end of asupport shaft 504 in theexpansion pipe 1 is rotatably connected with the tail end of theflexible section 105, the rear end of theexpansion pipe 1 is connected with the front end of aconduit shaft sleeve 4 through anend pipe 2, as shown in fig. 3, ablocking piece 201, abearing 202 and asealing gasket 203 are arranged in theend pipe 2, theimpeller shaft 501 penetrates through the blockingpiece 201 and is supported and rotated through thebearing 202, the sealinggasket 203 is arranged between theblocking piece 201 and thebearing 202 to ensure sealing, theend pipe 2, the blockingpiece 201, theimpeller 5 and theimpeller shaft 501 are all made of medical alloy, theconduit shaft sleeve 4 can adopt a 6F grade medical conduit, thebearing 202 can adopt a 681 micro bearing, the rotatingshaft 401 can adopt a spiral winding pipe, and has certain flexibility while ensuring that theimpeller 5 rotates, and is deformable with thecatheter hub 4, the helically wound tube being well known in the art.
As shown in fig. 3 to 4, the wall of the impeller blade cavity of theimpeller 5 can be made of memory alloy or high-strength polymer, so as to ensure that the strength of the upright impeller blade after water filling can meet the blood pumping requirement. When the pipe is implanted into the lower pipe, theimpeller 5 is compressed and attached to the supportingshaft 504 together with theexpansion pipe 1, theimpeller 5 is filled with water (or other liquid harmless to human bodies) and is supported after theexpansion pipe 1 is implanted in place and theexpansion pipe 1 is supported, as shown in fig. 10, theflow control valve 604 is arranged on thewater inlet pipe 601 of thedriving device 3. Theflow control valve 604 is well known in the art and is a commercially available product.
As shown in fig. 11, the present invention is used to ensure that theblood inlet 103 of thedilation tube 1 is placed in theventricle 10 and theblood outlet 104 is placed in theaorta 11, so that the two ends of thedilation tube 1 are provided with positioning elements for position monitoring. The positioning element may be positioned with a developer ring or developer coating, as is known in the art, for use with a developer device.
The invention can also arrange positioning detection heads at the two ends of theexpansion pipe 1, and realize the accurate positioning of the two ends of theexpansion pipe 1 by utilizing a detection field generation system in the prior art. The current medical commonly used positioning mode mainly comprises a magnetic field positioning mode, an electric field positioning mode and the like, wherein the magnetic field positioning principle is that a space-coded low-frequency low-power magnetic field is generated outside the trunk of a human body, a magnetic field gradient is formed inside the human body, the magnetic field is probed through a magnetic inductor arranged on a medical element and the position of the magnetic inductor is reversely deduced, and then the position of the medical element is determined. No matter what kind of positioning mode, generally a set of positioning processing system including computer and display screen is equipped, if the patient's body is in relatively stable state at this moment, then the track that the medical component with inductor wanders in the human body can be converted by the positioning processing system and displayed on the display screen for the reference confirmation of doctor, for example when positioning the pacing electrode entering the blood vessel, the position of some parts with obvious anatomical features, such as upper and lower cavities, tricuspid valve, right ventricular outflow tract and so on, can be judged more accurately by the doctor's experience to the electrode catheter sheath position. Therefore, the detection field generation system in the invention can be a magnetic field generation system, the positioning detection head is corresponding to a magnetic inductor, the detection field generation system can also be an electric field generation system, the positioning detection head is corresponding to an electric inductor,
when utilizing the location to detect the head location, human corresponding part arranges detection field in and takes place the system, then begins the operation of low tube, behindexpansion pipe 1 got into the human body, the location ofexpansion pipe 1 both ends detects the head and sends signal for the location processing system, and the location processing system can be with signal processing and show on the display screen, and the doctor can confirm through the display screen of observing the location processing system whether low tube is accurate forexpansion pipe 1. The positioning detection head, the detection field generation system and the positioning processing system are all known in the art and are all commercially available products.
In addition, elements such as a pressure sensor and a temperature sensor can be arranged at the two ends of theexpansion tube 1 according to requirements for detecting parameters such as blood pressure and temperature in real time, and the pressure sensor and the temperature sensor are both known in the art and are commercially available products.
The present invention can adopt different water filling flow passage structures according to actual requirements, for example, awater filling pipe 402 is arranged inside thecatheter shaft sleeve 4 as a water filling flow passage, or the pipe wall of thecatheter shaft sleeve 4 is provided with a water filling flow passage.
Example 1
As shown in fig. 3 to 5, in the present embodiment, awater filling pipe 402 is provided inside thecatheter sheath 4 as a water filling flow passage, and thewater filling pipe 402 is disposed in the rotatingshaft 401.
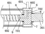
As shown in fig. 5, in this embodiment, afixed sleeve 6 and atransition shaft 7 are disposed at a front end of apower shaft 301 of thedriving device 3, thetransition shaft 7 is rotatably disposed in thefixed sleeve 6, thefixed sleeve 6 is fixedly disposed on a housing of thedriving device 3 through a support plate and the like, a rear end of theconduit sleeve 4 is connected to thefixed sleeve 6, a front end of thetransition shaft 7 is coaxially connected to a rotatingshaft 401 and awater filling pipe 402 in theconduit sleeve 4, a rear end of the transition shaft is coaxially connected to thepower shaft 301 of thedriving device 3, a sealedwater storage cavity 602 is formed between thetransition shaft 7 and thefixed sleeve 6, awater inlet pipe 601 disposed on thefixed sleeve 6 is communicated with thewater storage cavity 602, a water throughhole 702 is disposed in thetransition shaft 7, one end of the water throughhole 702 is communicated with thewater storage cavity 602, and the other end of the. When the water storage device works, thetransition shaft 7 is driven to rotate by the drivingdevice 3 and further drives therotating shaft 401 to rotate, water flows into thewater storage cavity 602 through thewater inlet pipe 601 and flows into thewater filling pipe 402 through thewater holes 702, and in addition, because thetransition shaft 7 is rotatably arranged in thewater storage cavity 602, no matter how therotating shaft 401 and thewater filling pipe 402 rotate, water in thewater storage cavity 602 can flow into thewater filling pipe 402 through the water holes 702.
As shown in fig. 5, atransition shaft head 701 is provided at the front side of thetransition shaft 7, and extends out of the fixingsleeve 6 and is coaxially connected with therotating shaft 401 and thewater filling pipe 402 in thecatheter sheath 4.
As shown in fig. 5,rotary sealing elements 8 are disposed between thefixed sleeve 6 and thepower shaft 301 of thedriving device 3 and between thefixed sleeve 6 and thetransition shaft head 701 to ensure the sealing of thewater storage cavity 602, in this embodiment, therotary sealing element 8 may be a rotary sealing sleeve or a rotary sealing bearing, the rotary sealing sleeve and the rotary sealing bearing are both products which are commercially available and are known in the art, and asealing ring 9 is disposed between thewater filling pipe 402 and thetransition shaft head 701.
As shown in fig. 3 to 4, thewater filling pipe 402 is disposed in therotating shaft 401, thewater filling pipe 402 has the same length as therotating shaft 401 to ensure synchronous rotation, and the front end of thewater filling pipe 402 is coaxially connected to theimpeller 5 and is communicated with aninner bore 503 of an impeller shaft in theimpeller 5.
The working principle of the embodiment is as follows:
as shown in fig. 12, the ventricular assist circulation device in the prior art is usually implanted along a blood vessel, and the blood inlet is placed in theventricle 10 at the head end, the impeller portion for pumping blood and the blood outlet are placed in theaorta 11, and the blood in theventricle 10 is pumped into theaorta 11 by the rotation of the impeller during operation, but the blood pumping vessel and the impeller are usually small in diameter and have limited blood pumping efficiency.
In this embodiment, theimpeller 5 and theexpansion tube 1 at the distal end of the catheter can be compressed and attached to thesupport shaft 504, after the catheter is implanted in place, theexpansion frame 101 of theexpansion tube 1 is expanded by the memory alloy characteristic to support theflow guiding membrane 102 into a tubular shape, theexpansion frame 101 is placed in the gap between the frame bodies at the two ends outside theflow guiding membrane 102 to form theblood inlet 103 and theblood outlet 104, and then theimpeller 5 is supported by the water filling function.
As shown in fig. 3 to 5, in this embodiment, when water is filled, water flows into thewater storage cavity 602 from thewater inlet pipe 601 on the fixingsleeve 6, then enters thewater filling pipe 402 through the water throughholes 702 in thetransition shaft 7, and flows into eachimpeller cavity 505 through thewater filling pipe 402 and the wheel axleinner hole 503 on theimpeller shaft 501, so as to fully support theimpeller 5, and thewater inlet pipe 601 is provided with theflow control valve 604.
The impeller 5 is completely supported, the water inlet pipe 601 stops water inlet, then the driving device 3 is started to drive the impeller 5 to rotate through the transition shaft 7 and the rotating shaft 401, the blood passing area is increased after the expansion pipe 1 is expanded, the diameter of the impeller 5 after being supported is larger than that of the impeller of the ventricular circulation device in the prior art, the blood pumping efficiency can be effectively improved, the blood flow rate is mild, the energy consumption is reduced, in addition, the rotating shaft 401 adopts a spiral winding pipe, the inside of the spiral winding pipe is hollow and has certain flexibility, the material of the water filling pipe 402 and the catheter shaft sleeve 4 are both made of plastic materials, the length of the water filling pipe 402 and the rotating shaft 401 is equal, the water filling pipe 402 is arranged in the rotating shaft 401, the rotating shaft 401 can be synchronously rotated under the driving of the transition shaft 7, in addition, the transition shaft 7 is arranged in the water storage cavity 602, and the water filling to the water filling pipe, in addition, in the embodiment, the impeller 5 is stretched by filling water, so that a cooling effect can be achieved to a certain extent, heat generated by high-speed rotation is reduced, the service life of the device is prolonged, and the water filling pipe 402 is arranged in the rotating shaft 401, so that the overall structure is compact, and the volume of the conduit shaft sleeve 4 is not additionally increased.
The hypotube implantation procedure of this embodiment is substantially the same as the prior art ventricular assist circulation device but differs from the prior art in that thestent 1 is first compressed along with theimpeller 5 inside thestent 1 during the hypotube implantation procedure.
Example 2
In this embodiment, a water fillinginner hole 404 is provided in the pipe wall of theconduit sleeve 4 as a water filling flow passage.
As shown in fig. 6, a sealedwater containing cavity 403 is disposed at the front end of theconduit shaft sleeve 4, an innerwheel shaft hole 503 in theimpeller shaft 501 and an innerwater filling hole 404 disposed in the conduit wall of theconduit shaft sleeve 4 are both communicated with thewater containing cavity 403, as shown in fig. 9 to 10, awater inlet pipe 601 with aflow control valve 604 is disposed on thedriving device 3 in this embodiment, anoutlet tray 603 with a plurality of ports is disposed at the output end of thewater inlet pipe 601, the rear end of the innerwater filling hole 404 is connected with the corresponding ports on theoutlet tray 603 through different flexible pipes to realize water inlet, and the flexible pipes are tightly attached to the inner wall of the housing of thedriving device 3 as much as possible to avoid affecting the rotation of therotating shaft 401.
As shown in fig. 6, arotary seal 502 is provided between the wall of thewater containing cavity 403 and theimpeller shaft 501 to ensure the sealing in thewater containing cavity 403, and therotary seal 502 is a technique known in the art, such as a rotary sealing sleeve.
The working principle of the embodiment is as follows:
the tube and working process in this embodiment are the same as those inembodiment 1, except that: in the embodiment, after water is input from thewater inlet pipe 601, the water sequentially enters the wheel axleinner holes 503 through the water fillinginner holes 404 and thewater containing cavities 403, and then enters the impellerinner cavities 505 to support theimpellers 5, and since the water inlet ends of the wheel axleinner holes 503 are arranged in thewater containing cavities 403, no matter how theimpeller shafts 501 rotate, the water in thewater containing cavities 403 can flow into the impellerinner cavities 505, and in addition, the water fillinginner holes 404 are arranged in the pipe walls of theconduit shaft sleeves 4, so that the volume of theconduit shaft sleeves 4 cannot be increased additionally.
The implantation procedure for the lower tubes in this example was the same as in example 1.
Example 3
As shown in fig. 7 to 8, the present embodiment is different fromembodiment 2 in that: in this embodiment, a water-filledouter tube 405 is disposed on the wall surface of theconduit sleeve 4 as a water-filled flow channel, and the front end of the water-filledouter tube 405 is communicated with thewater containing cavity 403. The drivingdevice 3 of this embodiment is also provided with aninlet tube 601 with aflow control valve 604, anoutlet tray 603 including a plurality of ports is provided at an output end of theinlet tube 601, and the rear end of the outer water-filledtube 405 is connected with the corresponding ports on theoutlet tray 603 through different flexible tubes to realize water inlet.
As shown in fig. 8, in order to avoid that the protrusion of the water-filledouter tube 405 is too large to affect the implantation of the catheter, in this embodiment, the cross section of the water-filledouter tube 405 is designed to be an arc shape matched with the surface of thecatheter hub 4, so that the protrusion of the surface of thecatheter hub 4 can be reduced to the maximum extent while ensuring the water-filled flow rate, and the smooth implantation of the catheter is ensured, and the water-filledouter tube 405 may be made of medical plastics, for example, by being integrally injection-molded with the catheter hub.
The working principle and the implantation process of the inferior tube of this embodiment are the same as those ofembodiment 2.

Claims (10)

1. An impeller inflation formula ventricular circulation auxiliary device which characterized in that: comprises a driving device (3), a conduit shaft sleeve (4), an expansion pipe (1) and an impeller (5), wherein the front end of the expansion pipe (1) is provided with a blood inlet (103), the rear end of the expansion pipe is provided with a blood outlet (104), the rear end of the expansion pipe (1) is connected with the front end of the conduit shaft sleeve (4), the rear end of the conduit shaft sleeve (4) is connected with the driving device (3), the expansion pipe (1) is internally provided with the impeller (5) and a supporting shaft (504), the conduit shaft sleeve (4) is internally provided with a rotating shaft (401), the front end of an impeller shaft (501) of the impeller (5) is connected with the supporting shaft (504), the rear end of the impeller shaft is connected with the rotating shaft (401), the rotating shaft (401) is driven to rotate by the driving device (3), an impeller shaft inner hole (503) is arranged in the impeller shaft (501), inner cavities (505) are arranged in blades of the impeller (5), and the impeller shaft (503) is communicated with each inner cavity (505), the water-filling device is characterized in that a water filling flow channel is arranged on the conduit shaft sleeve (4), a water inlet pipe (601) with a flow control valve (604) is arranged on the driving device (3), the front end of the water filling flow channel is communicated with the inner hole (503) of the wheel shaft, and the rear end of the water filling flow channel is communicated with the water inlet pipe (601).
5. The impeller expansion ventricular circulation assist device of claim 1, wherein: the water filling flow channel is a water filling pipe (402) arranged inside the conduit shaft sleeve (4), the water filling pipe (402) is arranged in the rotating shaft (401), the front end of the power shaft (301) of the driving device (3) is provided with a fixed sleeve (6) and a transition shaft (7), the transition shaft (7) is rotatably arranged in the fixed sleeve (6), the rear end of the conduit shaft sleeve (4) is connected with the fixed sleeve (6), the front end of the transition shaft (7) is coaxially connected with the rotating shaft (401) and the water filling pipe (402) in the conduit shaft sleeve (4), the rear end of the transition shaft is coaxially connected with the power shaft (301) of the driving device (3), a water storage cavity (602) is formed between the transition shaft (7) and the fixed sleeve (6), a water passing hole (702) is arranged in the transition shaft (7), one end of the water passing hole (702) is communicated with the water storage cavity (602), and the other end of the water filling pipe (402) is communicated with the rear end of the, the front end of the water filling pipe (402) is coaxially connected with the impeller (5) and is communicated with an inner hole (503) of a wheel shaft in the impeller (5).
CN202010412347.2A2020-05-152020-05-15Impeller inflation formula ventricle circulation auxiliary devicePendingCN111632214A (en)

Priority Applications (1)

Application NumberPriority DateFiling DateTitle
CN202010412347.2ACN111632214A (en)2020-05-152020-05-15Impeller inflation formula ventricle circulation auxiliary device

Applications Claiming Priority (1)

Application NumberPriority DateFiling DateTitle
CN202010412347.2ACN111632214A (en)2020-05-152020-05-15Impeller inflation formula ventricle circulation auxiliary device

Publications (1)

Publication NumberPublication Date
CN111632214Atrue CN111632214A (en)2020-09-08

Family

ID=72323735

Family Applications (1)

Application NumberTitlePriority DateFiling Date
CN202010412347.2APendingCN111632214A (en)2020-05-152020-05-15Impeller inflation formula ventricle circulation auxiliary device

Country Status (1)

CountryLink
CN (1)CN111632214A (en)

Cited By (3)

* Cited by examiner, † Cited by third party
Publication numberPriority datePublication dateAssigneeTitle
CN112915923A (en)*2021-01-262021-06-08江西同建机械发展有限公司Extraction mechanism for petrochemical production buffer tank
CN115282467A (en)*2022-07-082022-11-04深圳核心医疗科技有限公司 Drive mechanism and blood pump
CN115999045A (en)*2021-01-222023-04-25苏州心擎医疗技术有限公司Blood pump

Citations (7)

* Cited by examiner, † Cited by third party
Publication numberPriority datePublication dateAssigneeTitle
US20030135086A1 (en)*2001-11-192003-07-17University Of Medicine And Dentistry Of New JerseyTemporary blood circulation assist device
CN1658915A (en)*2002-06-072005-08-24格雷姆·戴维·巴雷特 Flow self-regulating straws and devices
US20060008349A1 (en)*2004-05-202006-01-12Kenneth KhawReplaceable expandable transmyocardial ventricular assist device
WO2009073037A1 (en)*2007-12-072009-06-11Medical Value Partners, LlcMedical device
CN204446913U (en)*2015-01-162015-07-08蔡中立A kind of drainage tube tube head for closed drainage of pleural cavity
CN108194391A (en)*2017-12-282018-06-22大连理工大学A kind of fluid mechanism of the attached wall unitary rotation of hollow impeller
CN110237327A (en)*2019-06-142019-09-17湖南埃普特医疗器械有限公司A kind of external profile shaft stream ventricular assist device of driving

Patent Citations (7)

* Cited by examiner, † Cited by third party
Publication numberPriority datePublication dateAssigneeTitle
US20030135086A1 (en)*2001-11-192003-07-17University Of Medicine And Dentistry Of New JerseyTemporary blood circulation assist device
CN1658915A (en)*2002-06-072005-08-24格雷姆·戴维·巴雷特 Flow self-regulating straws and devices
US20060008349A1 (en)*2004-05-202006-01-12Kenneth KhawReplaceable expandable transmyocardial ventricular assist device
WO2009073037A1 (en)*2007-12-072009-06-11Medical Value Partners, LlcMedical device
CN204446913U (en)*2015-01-162015-07-08蔡中立A kind of drainage tube tube head for closed drainage of pleural cavity
CN108194391A (en)*2017-12-282018-06-22大连理工大学A kind of fluid mechanism of the attached wall unitary rotation of hollow impeller
CN110237327A (en)*2019-06-142019-09-17湖南埃普特医疗器械有限公司A kind of external profile shaft stream ventricular assist device of driving

Cited By (5)

* Cited by examiner, † Cited by third party
Publication numberPriority datePublication dateAssigneeTitle
CN115999045A (en)*2021-01-222023-04-25苏州心擎医疗技术有限公司Blood pump
CN115999045B (en)*2021-01-222024-03-12心擎医疗(苏州)股份有限公司Blood pump
CN112915923A (en)*2021-01-262021-06-08江西同建机械发展有限公司Extraction mechanism for petrochemical production buffer tank
CN115282467A (en)*2022-07-082022-11-04深圳核心医疗科技有限公司 Drive mechanism and blood pump
CN115282467B (en)*2022-07-082024-02-23深圳核心医疗科技股份有限公司Driving mechanism and blood pump

Similar Documents

PublicationPublication DateTitle
US12264677B2 (en)Device to assist the performance of a heart
US20240139499A1 (en)Intravascular fluid movement devices, systems, and methods of use
CN111632217A (en) A ventricular circulatory aid device with an intermediate impeller
CN111632214A (en)Impeller inflation formula ventricle circulation auxiliary device
CN107412892B (en)Catheter sheath and ventricular assist circulation device
CN107080870B (en)Blood pump and making assisted circulation of ventriculus cordis device
CN113730794B (en)Interventional temporary left heart auxiliary device
CN213100415U (en)External drive ventricle auxiliary device
CN116370818B (en) Cardiovascular assist devices and circulatory assist systems
WO2023134693A1 (en)Blood pumping device
CN117018431A (en)Heart apex approach type miniature ventricular assist catheter pump
CN111632215A (en)Hydraulic expanding type ventricular circulation auxiliary device
CN220159041U (en)Fluid pumping conduit
CN111632216A (en)Apex of heart pierces formula pump blood circulation auxiliary device
CN222899999U (en)Right heart failure auxiliary device
JP2770689B2 (en) Balloon catheter
CN119075169A (en) Fluid pumping catheter
CN116328173A (en)Monitoring catheter, monitoring system and method for assisting heart in pumping blood
HK40016674B (en)Intravascular fluid movement devices, systems, and methods of use
HK40016674A (en)Intravascular fluid movement devices, systems, and methods of use

Legal Events

DateCodeTitleDescription
PB01Publication
PB01Publication
SE01Entry into force of request for substantive examination
SE01Entry into force of request for substantive examination
RJ01Rejection of invention patent application after publication
RJ01Rejection of invention patent application after publication

Application publication date:20200908


[8]ページ先頭

©2009-2025 Movatter.jp