Movatterモバイル変換


[0]ホーム

URL:


CN111588548A - Package for absorbent article - Google Patents

Package for absorbent article
Download PDF

Info

Publication number
CN111588548A
CN111588548ACN202010103398.7ACN202010103398ACN111588548ACN 111588548 ACN111588548 ACN 111588548ACN 202010103398 ACN202010103398 ACN 202010103398ACN 111588548 ACN111588548 ACN 111588548A
Authority
CN
China
Prior art keywords
region
package
absorbent article
flap
sheet
Prior art date
Legal status (The legal status is an assumption and is not a legal conclusion. Google has not performed a legal analysis and makes no representation as to the accuracy of the status listed.)
Granted
Application number
CN202010103398.7A
Other languages
Chinese (zh)
Other versions
CN111588548B (en
Inventor
加藤伸亨
入户野太朗
山本千裕
Current Assignee (The listed assignees may be inaccurate. Google has not performed a legal analysis and makes no representation or warranty as to the accuracy of the list.)
Unicharm Corp
Original Assignee
Unicharm Corp
Priority date (The priority date is an assumption and is not a legal conclusion. Google has not performed a legal analysis and makes no representation as to the accuracy of the date listed.)
Filing date
Publication date
Application filed by Unicharm CorpfiledCriticalUnicharm Corp
Publication of CN111588548ApublicationCriticalpatent/CN111588548A/en
Application grantedgrantedCritical
Publication of CN111588548BpublicationCriticalpatent/CN111588548B/en
Activelegal-statusCriticalCurrent
Anticipated expirationlegal-statusCritical

Links

Images

Classifications

Landscapes

Abstract

The invention provides a package of an absorbent article, which can hygienically convey the absorbent article before use and can ensure the hygiene when wearing. The folding device is folded with a first fold and a second fold extending in the front-rear direction as base points. The absorbent article has a first flap and a second flap. The packaging sheet has a first packaging side edge located on the outer side in the width direction than the first fold line and a second packaging side edge located on the outer side in the width direction than the second fold line in the unfolded state. In the unfolded state, the first package side edge is located between the inner edge of the first flap and the outer edge of the first flap. The second package side edge is located further outward in the width direction than the outer side edge of the second flap. The first flap has an exposed area that is uncovered by the first area in the first folded state. In a second folded state of being folded with the second fold line as a base point, the second package side edge is positioned closer to the first fold line side than the first package side edge, and the exposed area is covered by the second area.

Description

Package for absorbent article
Technical Field
The present invention relates to a package of an absorbent article such as a sanitary napkin, which is individually packaged by a packaging sheet.
Background
Conventionally, there has been known a package of an absorbent article in which sanitary napkins as absorbent articles are individually packaged by a packaging sheet. The absorbent article packages ofpatent documents 1 and 2 are folded with a pair of creases in the front-rear direction as base points in a state where the absorbent article and the package sheet are superposed on each other. The pair of folds are provided on both sides of the center of the absorbent article with respect to the width direction.
[ Prior Art document ]
[ patent document ]
[ patent document 1 ] patent No. 5959145
[ patent document 2 ] patent No. 4701228
Disclosure of Invention
[ SUMMARY OF THE INVENTION ]
In the absorbent article package ofpatent document 1, the outer side portions of the package sheets are overlapped with each other in a state of being folded with a pair of creases in the front-rear direction as base points, and the absorbent articles housed in the package sheets are easily sealed. Therefore, the absorbent article can be protected in a state before the package is opened, and the absorbent article can be hygienically conveyed. When using the absorbent article package, the absorbent article is peeled from the package sheet by pinching a part of the absorbent article in a state where the package sheet and the absorbent article are unfolded. At this time, the position where the absorbent article is pinched differs according to the user. There is a case where the region facing the excretory opening is accidentally pinched depending on the user, and there is room for improvement in terms of the maintenance of hygiene when worn.
On the other hand, the absorbent article package of patent document 2 is provided with a region where the outer side portions of the package sheet overlap each other and a region where the outer side portions of the package sheet do not overlap each other in a state of being folded with a pair of creases in the front-rear direction as base points. In a region where the outer side portions of the package sheet do not overlap each other, a part of the absorbent article is exposed. The user can grip the absorbent article exposed at the time of use. However, in the absorbent article package of patent document 2, a part of the absorbent article is exposed in a state of being folded with a pair of creases in the front-rear direction as base points, and there is a possibility that the absorbent article cannot be carried hygienically before use.
Accordingly, in the package of the absorbent article folded with the pair of creases in the front-rear direction as the base point, it is desired to provide a package of the absorbent article which can hygienically convey the absorbent article before use and can ensure hygiene when worn.
A package of an absorbent article in one form comprises: a front-back direction and a width direction orthogonal to each other; an absorbent article having an absorbent core; and a packaging sheet for individually packaging the absorbent article, wherein the absorbent article package is folded so that the skin surface sides of the absorbent article face each other with a first fold line extending in the front-back direction as a base point in an unfolded state in which the absorbent article and the packaging sheet are superimposed on each other, and is folded so that the skin surface sides of the absorbent article face each other with a second fold line extending in the front-back direction as a base point in a first folded state in which the absorbent article and the packaging sheet are folded together with the first fold line as a base point, wherein the absorbent article has a first flap extending on the first fold line side toward one side in the width direction than the absorbent core, and a second flap extending on the second fold line side toward the other side in the width direction than the absorbent core, and the packaging sheet has a first region, a second region, and a third region, the first region being disposed on the outer side in the width direction than the first fold line in the unfolded state, A second region disposed on the outer side in the width direction than the second fold line, a first package side edge as an outer side edge of the first region, and a second package side edge as an outer side edge of the second region, wherein in the unfolded state, the first package side edge is located between an inner side edge of the first flap and an outer side edge of the first flap, the second package side edge is located on the outer side in the width direction than an outer side edge of the second flap, the first flap has an exposed region that is not covered with the first region and is exposed in the first folded state, and in a second folded state folded with the second fold line as a base point, the second package side edge is located on the first fold line side than the first package side edge, and the exposed region is covered with the second region.
Drawings
Fig. 1 is a plan view of a package of an absorbent article according to an embodiment.
Fig. 2 is a sectional view of the package of the absorbent article taken alongline 2A-2A shown in fig. 1.
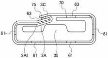
Fig. 3 is a view for explaining a folded state of the package of the absorbent article.
Fig. 4 is an enlarged view of the first airfoil shown in fig. 1.
Fig. 5 is a sectional view of the absorbent article package taken alongline 5B-5B shown in fig. 3 (B).
Fig. 6 is an enlarged view of the 6C portion shown in fig. 3.
Fig. 7 is a cross-sectional view of a package of an absorbent article according to a modification.
Detailed Description
(1) Brief description of the embodiments
At least the following matters will be made clear by the description of the present specification and the drawings.
A package of an absorbent article in one form comprises: a front-back direction and a width direction orthogonal to each other; an absorbent article having an absorbent core; and a packaging sheet for individually packaging the absorbent article, wherein the absorbent article package is folded so that the skin surface sides of the absorbent article face each other with a first fold line extending in the front-back direction as a base point in an unfolded state in which the absorbent article and the packaging sheet are superimposed on each other, and is folded so that the skin surface sides of the absorbent article face each other with a second fold line extending in the front-back direction as a base point in a first folded state in which the absorbent article and the packaging sheet are folded together with the first fold line as a base point, wherein the absorbent article has a first flap extending on the first fold line side toward one side in the width direction than the absorbent core, and a second flap extending on the second fold line side toward the other side in the width direction than the absorbent core, and the packaging sheet has a first region, a second region, and a third region, the first region being disposed on the outer side in the width direction than the first fold line in the unfolded state, A second region disposed on the outer side in the width direction than the second fold line, a first package side edge as an outer side edge of the first region, and a second package side edge as an outer side edge of the second region, wherein in the unfolded state, the first package side edge is located between an inner side edge of the first flap and an outer side edge of the first flap, the second package side edge is located on the outer side in the width direction than an outer side edge of the second flap, the first flap has an exposed region that is not covered with the first region and is exposed in the first folded state, and in a second folded state folded with the second fold line as a base point, the second package side edge is located on the first fold line side than the first package side edge, and the exposed region is covered with the second region. In the second folded state, the second package side edge is positioned closer to the first fold than the first package side edge, and at least a part of the first region is covered with the second region. In the second folded state, the exposed region is covered by the second region. In this way, the absorbent article can be contained in the package sheet in the second folded state, and the absorbent article can be hygienically transported before use. In the first folded state, the exposed region of the first flap is exposed. The user can pinch the exposed region exposed in the process of opening the individual package to tear the absorbent article from the package sheet. The first flap is a portion which extends outward in the width direction of the absorbent core and is not directly in contact with the excretion portion. By pinching the portion not directly contacting the excretory opening when worn, the area of the portion directly contacting the excretory opening or the skin when worn can be reduced, and the hygiene of the portion contacting the skin can be ensured.
According to a preferred aspect, the first fin may include a sheet compressing portion that compresses a sheet constituting the first fin in a thickness direction, a region of the first fin where the sheet compressing portion is disposed may include a narrow portion and a wide portion having a length in a width direction longer than that of the narrow portion, and at least a part of the wide portion may be disposed in an exposed region. According to this aspect, the rigidity of the exposed region can be increased by the wide portion, and the absorbent article can be easily torn off through the exposed region when the exposed region is pinched during wearing. When individually packaged, the absorbent article and the packaging sheet are folded with the first fold line as a base point in the unfolded state. The exposed region of the first flap extends outward in the width direction of the packaging sheet, and may be twisted when folded with the first fold line as a base point. However, the rigidity of the exposed region can be increased by the wide portion, so that twisting of the exposed region can be suppressed, and the absorbent article can be stably folded.
According to a preferred aspect, the outer edge of the first fin may have a curved bulging portion bulging outward in a plan view, and the curvature of the bulging portion of the exposed region may be smaller than the curvature of the bulging portion of a region other than the exposed region of the first fin. According to this aspect, since the curvature of the bulging portion of the exposed region is small, the bulging portion that bulges locally is formed in the exposed region. The user can easily pinch the bulge portion to improve the operability during wearing.
According to a preferred aspect, the first fin may have a plurality of the bulging portions and a recessed portion recessed inward in a plan view between the bulging portions, and at least a part of the recessed portion may be provided in a region other than the exposed region of the first fin. According to this aspect, the exposed region is less likely to be distorted with the recessed portion as a base point, as compared with a structure in which the recessed portion is provided in the exposed region. By suppressing the twisting of the exposed region, the twisting of the first flap can be suppressed when the absorbent article is pinched and torn, and the absorbent article can be stably folded when individually packaged.
According to a preferred aspect, the absorbent core may have a central raised portion having a thickness greater than the surrounding area, and in the first folded state, the central raised portion may be disposed in a region that does not overlap with the inner edge of the first flap in the unfolded state but overlaps with the exposed region. According to this aspect, in the first folded state, the exposed region of the first flap overlaps the intermediate boss portion, and is disposed closer to the skin surface side than the inner edge of the first flap that does not overlap the intermediate boss portion. Thus, the tip side of the first fin is more likely to float than the root side. The user easily grips the front end of the first flap when wearing the garment.
According to a preferred aspect, at least a part of the exposed region may be folded back toward an outer surface of the first region in the second folded state, and may be disposed between the first region and the second region. According to this aspect, in the first folded state in the process of opening the individual package, the folded portion of the exposed region is disposed on the outer surface side of the package sheet and is easily recognized by the user. Further, the portion folded back toward the outer surface side of the first region is easily floated from the packaging sheet. This makes it easy for the user to pinch the front end of the first flap when wearing the garment.
According to a preferred aspect, at least a part of the perfume may be disposed in an area not covered by the first area and covered by the second area in the second folded state. According to this aspect, when the package sheet is unfolded from the folded state, the region not covered by the first region but covered by the second region is exposed, and the fragrance can be emitted. In addition, in the state before use, the second region can suppress the emission of the perfume, and thus the deterioration of the perfume can be suppressed.
According to a preferred aspect, in the second folded state, a seal portion to be joined to an outer surface of the package sheet of the first region may be provided on an inner surface of the package sheet of the second region, a convex portion protruding to an outer surface side in the first folded state and a concave portion located on an inner surface side of the convex portion may be provided on the first region of the package sheet, and the convex portion and the concave portion may overlap with the seal portion of the second region in the second folded state. According to this aspect, since the sealing portion provided in the second region overlaps the concave portion and the convex portion, the contact area of the second region of the sealing portion with the first region is reduced as compared with a structure in which the concave portion and the convex portion are not formed. This makes it easy to peel off the seal portion during use, and improves the ease of handling during wearing.
According to a preferred aspect, in the second folded state, a seal portion that is joined to an outer surface of the first region may be provided on an inner surface of the second region, and a peeling portion that is subjected to a peeling process may be provided on a region of an inner surface of the package sheet that does not overlap with the seal portion. According to this aspect, since the peeling section is provided, the flap bonding section can be covered with the wrapping sheet in a peelable manner without providing a separate peeling sheet. Further, since the peeling portion is provided in a region not overlapping with the sealing portion, the sealed state can be easily maintained, a defect that the package is accidentally opened before use can be suppressed, and the package can be sanitarily conveyed.
According to a preferred aspect, a flap engagement portion for engaging the first flap to a wearing article may be provided on a non-skin surface of the first flap, and the first package side edge may be located further outward in the width direction than the flap engagement portion in the expanded state. According to this aspect, the flap bonding portion can be covered by the first region of the packaging sheet, and deterioration of the flap bonding portion before use can be suppressed without providing a release sheet.
The absorbent article of the present embodiment may be referred to as an absorbent article
Hereinafter, an absorbent article according to an embodiment will be described with reference to the drawings. In the following embodiments, a disposable sanitary napkin will be described as an example of an absorbent article. In the following description of the drawings, the same or similar parts are denoted by the same or similar reference numerals. However, it should be noted that the drawings are schematic drawings, and the proportions of the respective dimensions and the like may be different from those in actual cases. Therefore, specific dimensions and the like should be determined with reference to the following description. Further, the drawings include portions having different dimensional relationships or ratios from each other.
(2) General structure of absorbent article
Fig. 1 is a plan view of an absorbent article according to an embodiment. Fig. 2 is a cross-sectional view of the absorbent article taken alongline 2A-2A shown in fig. 1. Fig. 3 is a view for explaining a folded state of the package of the absorbent article. Fig. 4 is an enlarged view of thefirst fin 3A shown in fig. 1. Fig. 5 is a sectional view of the absorbent article package taken alongline 5B-5B shown in fig. 3 (B). In fig. 2, the components constituting the absorbent article are separated in the thickness direction for the convenience of explanation, but in an actual product, the components are in contact with each other. The absorbent article package 100 has a front-back direction L and a width direction W that are orthogonal to each other, and has a thickness direction T extending from the skin surface side T1 of the wearer to the non-skin surface side T2. The skin surface side T1 corresponds to a side facing the skin of the wearer when in use. The non-skin-surface side T2 corresponds to the side opposite to the skin surface side T1 in use, i.e., the side facing away from the skin of the wearer.
The absorbent article package 100 includes anabsorbent article 1 and apackage sheet 70. Thepackaging sheet 70 individually packages theabsorbent articles 1. The absorbent article package 100 can individually package theabsorbent article 1 with thepackage sheet 70 by folding theabsorbent article 1 and thepackage sheet 70 together. The folded form of the absorbent article package 100 will be described in detail later. Theabsorbent article 1 has a crotch region S1, a front region S2, and a rear region S3. The crotch region S1 is a region facing an excretory opening of the wearer, such as a vaginal opening. When theabsorbent article 1 is worn as a wearing article, the crotch region S1 is a region disposed in the crotch portion of the wearing article and between the legs of the wearer. The front region S2 is located more frontward than the crotch region S1. The front end edge of the front side region S2 defines the front end edge of theabsorbent article 1. The rear side region S3 is located rearward of the crotch region S1. The rear end edge of the rear region S3 defines the rear end edge of theabsorbent article 1.
Theabsorbent article 1 hasflaps 3. Thefins 3 extend outward in the width direction W from theabsorbent core 31. Thefin 3 may have: afirst flap 3A extending on the side of a first fold FL1 described later on one side in the width direction W than theabsorbent core 31; and asecond flap 3B extending further toward the other side in the width direction W than theabsorbent core 31 on the side of a second fold FL2 described later. Thefirst flap 3A and thesecond flap 3B may constitute both flaps disposed at least in the crotch region S1. The wings are disposed on the non-skin surface side of the wearing article when worn, and are not disposed so as to face the excretory opening of the wearer when worn.
The leading edge of thefin 3 is defined by the root of thefin 3 and corresponds to the portion located on the front side among the 2 portions recessed innermost in the width direction W. The front end edge of theflap 3 may define the boundary between the crotch region S1 and the front region S2. The rear end edge of thevane 3 is defined by the root of thevane 3 and corresponds to a portion located on the rear side out of 2 portions recessed innermost in the width direction W. The rear end edge of theflap 3 may define the boundary between the crotch region S1 and the rear region S3. The root of thevane 3 constitutes the inner edge of the vane. The outer portion in the present invention is a portion that occupies a certain range in the width direction W including an outer edge in the width direction W, and the outer edge is an outer edge in the width direction W. The inner side portion of the present invention is a portion occupying a certain range in the width direction W including an inner edge in the width direction W, and the inner edge is the inner edge in the width direction W. The front end portion and the rear end portion of the present invention are portions that occupy a certain range in the front-rear direction L including edges in the front-rear direction L, and the front end edge and the rear end edge are edges in the front-rear direction L. The outer end portion comprises a front end portion and a rear end portion.
Theflap 3 may have a hip flap disposed at least in the rear region S3. The hip flap is disposed on the skin surface side of the wearing article when worn, and is disposed so as to face the skin surface of the wearer when worn. Thefirst fin 3A of the present embodiment is a fin having an exposed region described later, and thesecond fin 3B of the present embodiment is a fin provided in a pair with thefirst fin 3A and having no exposed region. Both the pair of hip flaps of the present embodiment are positioned further inward in the width direction than the flaps constituting both the flaps, and have no exposed area. However, in the modified example, thefirst fin 3A and thesecond fin 3B may be fins that constitute hip fins disposed in the rear region, instead of the fins that constitute both fins, or may be fins disposed in the front region. In another modification, the fin may include both thefirst fin 3A and thesecond fin 3B constituting both fins and thefirst fin 3A and thesecond fin 3B constituting the hip fin.
Theabsorbent article 1 may have at least anabsorbent core 31,side sheets 20, anintermediate sheet 15, atop sheet 10, and aback sheet 25. Theabsorbent core 31 is disposed at least in the crotch region S1 and the rear region S3, and may be disposed from the front region S2 to the rear region S3. Theabsorbent core 31 has an absorbent material that absorbs liquid. This embodiment may have the pulp and the SAP as the absorbent material. Theabsorbent core 31 may have a central risingportion 35 that is thicker than the periphery. The central raisedpart 35 may be provided not at the outer side part of theabsorbent core 31 but at the center in the width direction W of theabsorbent core 31. The central risingportion 35 may be a portion where the amount per unit area of the absorbent material is higher than the surroundings.
Theside sheet 20 is disposed on the skin surface side T1 with respect to theabsorbent core 31. Theside sheet 20 of the present embodiment may be disposed between atissue paper layer 32 and thetop sheet 10, which will be described later. Theside sheet 20 constitutes the skin surface of thewing piece 3. Theouter edge 20E of theside sheet 20 is disposed at the outer edge of theflap 3, and is positioned at the outer edge of the absorbent article in a state where theflap 3 is not folded back toward the non-skin surface side of the wearing article. Theside sheet 20 may be provided in a pair of left and right sides with a gap in the width direction W. Theside sheet 20 may be formed of a nonwoven fabric, and the surface thereof may be subjected to a hydrophobic treatment.
Theintermediate sheet 15 is disposed on the skin surface side T1 with respect to theside sheets 20. Theintermediate sheet 15 of the present embodiment is disposed between thetop sheet 10 and thetissue layer 32. The surface of theintermediate sheet 15 on the skin surface side T1 is entirely covered with thetop sheet 10. The surface of theintermediate sheet 15 on the non-skin surface side T2 is entirely covered with thetissue layer 32.
Thetop sheet 10 covers the skin surface side T1 of theintermediate sheet 15. Thetop sheet 10 is a sheet to be in contact with the skin, and may be composed of a liquid-permeable nonwoven fabric. Thetissue paper layer 32 covers the skin surface side T1 of theabsorbent core 31. In the region on the outer side in the width direction than theabsorbent core 31, thetissue layer 32 covers the skin surface of thesheet layer 33. In the region on the outer side in the width direction than theintermediate sheet 15, thetissue layer 32 covers the surface of theside sheet 20 on the non-skin surface side T2.
Thesheet layer 33 is positioned between theabsorbent core 31 and theback sheet 25, and covers the surface of the non-skin surface side T2 of theabsorbent core 31. In the region on the outer side in the width direction W than theabsorbent core 31 and thetissue layer 32, thesheet layer 33 covers the surface of theside sheet 20 on the non-skin surface side T2. Thesheet layer 33 may be a sheet made of air-laid slurry (absorbent sheet formed by bonding slurry to each other with an adhesive).
Theback sheet 25 is disposed over the entire absorbent article and is provided on the side closest to the non-skin surface in the thickness direction. Theback sheet 25 is disposed on the non-skin surface side T2 of thesheet layer 33. Theback sheet 25 is disposed on the non-skin surface side of theside sheet 20 in the region on the outer side in the width direction than thesheet layer 33. Theback sheet 25 constitutes the non-skin side of thewing panel 3. Theouter edge 20E of theback sheet 25 is disposed at the outer edge of theflap 3, and is positioned at the outer edge of the absorbent article in a state where theflap 3 is not folded back toward the non-skin surface side of the wearing article.
As shown in fig. 4, thefin 3 may be provided with asheet compressing portion 41 that compresses the sheet constituting thefin 3 in the thickness direction. Thesheet pressing portion 41 compresses at least one of theside sheet 20 and theback sheet 25 constituting thefin 3 in the thickness direction T. Thesheet compressing portion 41 may be provided to at least thefirst fin 3A of thefirst fin 3A and thesecond fin 3B. The region of thefirst fin 3A where thesheet compressing portion 41 is arranged may have anarrow portion 42 and awide portion 43 longer than thenarrow portion 42 in the width direction. Thesheet pressing portions 41 are dot-shaped and arranged with a space in a plan view. The number of dot-shapedsheet compressing portions 41 of thewide width portion 43 arranged in the width direction (number of rows) may be larger than the number of dot-shapedsheet compressing portions 41 of thenarrow width portion 42 arranged in the width direction (number of rows). In another mode, thesheet pressing portion 41 may be continuous in the front-rear direction L. In this other aspect, the number of rows of thesheet compressing portions 41 of thewide portions 43 may be larger than the number of rows of thesheet compressing portions 41 of thenarrow portions 42. In another embodiment, the area of thesheet pressing portion 41 of thewide width portion 43 may be larger than the area of thesheet pressing portion 41 of thenarrow width portion 42. That is, the region where thewide portion 43 is provided may have higher rigidity than the region where thenarrow portion 42 is provided.
The outer edge of thefin 3 may have a curved bulging portion bulging outward in a plan view. The bulging portion may be provided to at least thefirst fin 3A of thefirst fin 3A and thesecond fin 3B. The bulge portion may be provided in plural in eachfin 3. In the configuration in which a plurality of the bulging portions are formed, the first bulgingportion 51 and the second bulgingportion 52 located inward in the width direction W from the first bulgingportion 51 may be provided. The other projection portion such as the third projection portion located on the inner side in the width direction than thesecond projection portion 52 may be provided. Aconcave portion 53 that is concave inward in a plan view may be provided between the plurality of bulging portions.
Aflap engagement portion 63 for engaging thefirst flap 3A with a wearing article may be provided on the non-skin surface of theflap 3. Thefin engaging portion 63 may be provided to at least thefirst fin 3A of thefirst fin 3A and thesecond fin 3B. Theflap engagement portion 63 may be a portion provided with an HMA type adhesive. Further, abody joining section 61 for joining the region overlapping theabsorbent core 31 to the wearing article may be provided on the non-skin surface of the region overlapping theabsorbent core 31.
Thepackaging sheet 70 is a substantially rectangular sheet. As shown in fig. 3 and the like, thepackage sheet 70 has aninner surface 70X facing the absorbent article and anouter surface 70Y opposite to theinner surface 70X. In the folded state of the absorbent article package 100, theinner surface 70X is an inward surface, and theouter surface 70Y is an outward surface. In the unfolded state shown in fig. 1, the wrappingsheet 70 has a first region R71 disposed at a position further outward in the width direction than the first fold FL1, a second region R72 disposed at a position further outward in the width direction W than the second fold FL2, a firstwrapping side edge 701 which is an outer side edge of the first region R71, and a secondwrapping side edge 702 which is an outer side edge of the second region. The firstpackage side edge 701 and the secondpackage side edge 702 are side edges extending in the front-rear direction L.
(3) Folded form of absorbent article package 100
Next, a folded configuration of the absorbent article package 100 will be described with reference to fig. 4. The absorbent article package 100 is folded via a plurality of folds in a state before use. The absorbent article package 100 has at least a pair of first fold line FL1 and second fold line FL2 for folding the absorbent article so that the skin surface sides T1 of the absorbent article face each other.
Fig. 1 shows a developed state in which the package 100 of the absorbent article is developed. The unfolded state is a state in which theabsorbent article 1 and thepackage sheet 70 are overlapped and not folded with all the fold lines (in the present embodiment, the first fold line FL1 to the fourth fold line FL4, and in the embodiment having only the first fold line FL1 and the second fold line FL2, the first fold line FL1 and the second fold line FL2) as base points. The unfolded state is a state in which the folded absorbent article package 100 is unfolded or a state before the absorbent article package 100 is folded. In the unfolded state, the non-skin surface of theabsorbent article 1 faces theinner surface 70X of thepackage sheet 70.
As shown in fig. 3, theabsorbent article 1 and thewrapping sheet 70 are folded together in a state where the absorbent article and the wrapping sheet are overlapped. Specifically, in the unfolded state (the state shown in fig. 1) in which theabsorbent article 1 and thepackage sheet 70 are overlapped and not folded with the first fold line FL1 and the second fold line FL2 as base points, one outer side edge of theabsorbent article 1 and one outer side edge of thepackage sheet 70 are folded with the first fold line FL1 as a base point. The first fold FL1 is a fold for folding along the front-back direction L so that the skin surface sides T1 of the absorbent article face each other. Fig. 3(a) shows a first folded state folded with the first fold line FL1 as a base point. One outer edge of theabsorbent article 1 is an outer edge 3AE of thefirst flap 3A in the unfolded state. One outer edge of thepackaging sheet 70 is a firstpackaging side edge 701.
Theabsorbent article 1 and thepackage sheet 70 are folded in the first folded state with the other outer edge of theabsorbent article 1 and the other outer edge of thepackage sheet 70 being folded from the second fold FL2 as a base point. The second fold FL2 is a fold for folding in the front-back direction L so that the skin surface sides T1 of the absorbent article face each other. Fig. 3(b) shows a second folded state where the second fold FL2 is folded at a base point. The other outer side edge of theabsorbent article 1 is the outer side edge 3BE of thesecond flap 3B in the unfolded state. The other outer edge of thepackaging sheet 70 is a secondpackaging side edge 702. In the second folded state, theabsorbent article 1 is wrapped by the wrappingsheet 70 and is contained in thewrapping sheet 70. In the second folded state, the sealingpart 75 engaged with the outer surface of the first region R71 may be provided at theinner surface 70X of thepacking sheet 70 of the second region R72. Theseal 75 is a portion joining the inner surface of the second region R72 and the outer surface of the first region R71, and may be a portion provided with an HMA type adhesive, for example.
The regions (regions on both sides of the first fold FL 1) disposed with the first fold FL1 in the unfolded state face each other on the skin-facing side in the folded state. Similarly, the regions (regions on both sides of the first fold FL2) disposed with the second fold FL2 interposed therebetween in the unfolded state face each other on the skin surface side in the folded state. The state in which the skin surfaces face each other is a state in which one skin surface faces the other skin surface, and is a concept including a state in which another member is disposed between the one skin surface and the other skin surface.
Theabsorbent article 1 and thepackage sheet 70 can be folded in the second folded state with the third fold line FL3 and the fourth fold line FL4 as base points. The third fold and the fourth fold FL4 extend in the width direction W. Fig. 3(c) shows a state where the third fold FL3 and the fourth fold FL4 are folded from the base point. First fold line FL1 and second fold line FL2 may be disposed at intervals in the width direction W, and third fold line FL3 and fourth fold line FL4 may be disposed at intervals in the front-rear direction L. By folding in this way, the length of theabsorbent article 1 in the width direction W and the length in the front-rear direction L are shortened, and downsizing is achieved. This enables compact portability. In the modification, the absorbent article package 100 may not be folded with the third fold line FL3 and the fourth fold line FL4 as base points.
(4) Sanitary securing of an absorbent article
The absorbent article package 100 of the present embodiment can hygienically transport the absorbent article before use, and can ensure hygiene when worn. Next, the securing of the hygiene of the absorbent article will be described in detail. As shown in fig. 1 and 4, in the unfolded state, the region of the absorbent article on the outer side in the width direction than the first fold FL1 extends outward in the width direction W from thepackage sheet 70, and the region of the absorbent article on the outer side in the width direction than the second fold FL2 does not extend outward in the width direction W from thepackage sheet 70. Specifically, in the unfolded state, the firstpackage side edge 701 is located between the inner edge 3AI of thefirst flap 3A and the outer edge 3AE of thefirst flap 3A, and the secondpackage side edge 702 is located further outward in the width direction W than the outer edge 3BE of thesecond flap 3B. Thus, a part of thefirst flap 3A extends outward in the width direction from thepackage sheet 70, and thesecond flap 3B does not extend outward in the width direction from thepackage sheet 70. Thefirst flap 3A has an exposed region R11 that is not covered by the first region R71 but is exposed in the first folded state, and a non-exposed region (region other than the exposed region of thefirst flap 3A) R12 that is covered by the first region R71. The exposed region R11 is a region that extends outward in the width direction from the first package side edge in the unfolded state. As shown in fig. 3(a), in the first folded state, the exposed region R11 of thefirst flap 3A is exposed.
When opening the individual package, the user unfolds the individual package from the second folded state to the first folded state, and then unfolds theabsorbent article 1 from the first folded state to the unfolded state to tear theabsorbent article 1 from thepackage sheet 70. That is, the operation of tearing theabsorbent article 1 from the wrappingsheet 70 is performed in the unfolded state, which is the first folded state before one stage of the unfolded state. Therefore, in the first folded state, the user is easily aware of the operation of tearing theabsorbent article 1 from the wrappingsheet 70. In the first folded state, the exposed region R11 is exposed from thepackaging sheet 70. The user can recognize the exposed region R11 and can perform an operation of pinching the exposed region R11 and tearing theabsorbent article 1 from thepackage sheet 70. In particular, in the case where the firstpackage side edge 701 of the package sheet is linear extending in the front-rear direction, the exposed region R11 extending from the firstpackage side edge 701 is easily conspicuous. The exposed region is more easily recognized by the user, and the exposed region R11 is easily pinched when the user wears the garment. Thefirst flap 3A extends outward in the width direction W from theabsorbent core 31 and is not directly in contact with the excretion portion. By pinching the portion not directly contacting the excretory opening when worn, the area of the portion directly contacting the excretory opening or the skin when worn can be reduced, and the hygiene of the portion contacting the skin can be ensured.
Thefirst fin 3A may be a fin constituting both wings. When worn, both wings are folded back toward the non-skin side of the undergarment, and neither the skin surface of both wings nor the non-skin surface of both wings is in direct contact with the crotch of the wearer. Therefore, the hygiene of the absorbent article can be further ensured. In the second folded state, the secondpackage side edge 702 is positioned closer to the first fold FL1 side than the firstpackage side edge 701, and the exposed region R11 is covered by the second region R72. Thus, the exposed region R11 is not exposed in the second folded state, and the absorbent article can be contained in thepackaging sheet 70. Theabsorbent article 1 can be carried sanitarily before use. For example, in order to ensure hygiene of the absorbent article before use, the wrappingsheet 70 may be extended outward in the width direction from thefirst flap 3A and thewrapping sheet 70 may be extended outward in the width direction W from thesecond flap 3B. However, if the length of thepackage sheet 70 in the width direction W is longer than the length of theabsorbent article 1 in the width direction W, the material cost of thepackage sheet 70 increases. According to the present embodiment, the length of thepackage sheet 70 in the width direction W can be made shorter than the length of theabsorbent article 1 in the width direction W, and the material cost can be reduced.
When theabsorbent article 1 is folded and individually wrapped as shown in fig. 3, the absorbent article is folded from the unfolded state with the first fold line FL1 as a base point. At this time, if the entirefirst flap 3A (the entirefirst flap 3A including the outer edge 3AE from the inner edge 3AI thereof) is disposed at a position outside the firstpackage side edge 701 in the width direction W, the base portion (the inner edge 3AI) of thefirst flap 3A cannot be folded together with thepackage sheet 70 when the first fold FL1 is used as a base point. Therefore, thefirst flap 3A may be accidentally twisted, and the entirefirst flap 3A may not be stably folded. However, since the firstpackage side edge 701 is located between the inner edge 3AI of thefirst flap 3A and the outer edge 3AE of thefirst flap 3A, when the first fold FL1 is used as a base point for folding, the inner edge 3AI of thefirst flap 3A can be folded together with the first region R71 of thepackage sheet 70, and thefirst flap 3A can be easily folded so as to follow the entirefirst flap 3A. This can suppress thefirst flaps 3A from being accidentally twisted during folding, and can stably fold theabsorbent article 1.
At least a part of thewide portion 43 of thefirst flap 3A may be disposed in the exposed region R11. The rigidity of the exposed region R11 can be increased by thewide portion 43, and theabsorbent article 1 can be easily torn off through the exposed region R11 when the exposed region R11 is pinched during wearing. Moreover, the rigidity of the exposed region R11 can be increased by thewide portion 43, so that twisting of the exposed region R11 can be suppressed, and the absorbent article can be stably folded when individually packaged. Thewide portion 43 may be disposed only in the exposed region R11, or may extend over the exposed region R11 and the non-exposed region R12.
The curvature of the bulged portion of the exposed region R11 may be smaller than the curvature of the bulged portion of the non-exposed region R12. The curvature of the bulge portion at least partially disposed in the exposure region R11 may be smaller than the curvature of the bulge portion at least partially disposed in the non-exposure region R12. In the present embodiment, the first bulgingportion 51 is disposed across the exposure region R11 and the non-exposure region R12, and the second bulgingportion 52 is disposed only in the non-exposure region R12. The curvature of thefirst bulge 51 may be smaller than the curvature of thesecond bulge 52. Since the curvature of the expanded portion of the exposed region R11 is small, an expanded portion that expands locally is formed in the exposed region R11. The user can easily pinch the bulging portion, and the operability during wearing can be improved.
At least a part of therecess 53 may be provided to the non-exposed region R12. In the case where there are 1recess 53 of thefirst fin 3A, the 1 recess may be provided in the non-exposed region R12, and in the case where there are a plurality of recesses of thefirst fin 3A, at least a part of the plurality of recesses may be provided in the non-exposed region R12. More preferably, all of the plurality of recessed portions may be provided in the non-exposed region R12. Compared with a structure in which the entire recess is provided in the exposed region R11, the exposed region R11 is less likely to be distorted with the recess as a base point. By suppressing the distortion of the exposed region R11, the distortion of thefirst flap 3A can be suppressed when the absorbent article is pinched and torn, and the absorbent article can be stably folded when individually packaged.
As shown in fig. 5, in the first folded state, themiddle protrusion 35 may be disposed in a region that does not overlap with the inner edge 3AI of thefirst flap 3A in the unfolded state but overlaps with the exposed region R11. At least a part of themiddle protrusion 35 may be disposed in a region overlapping the exposure region R11. In the first folded state, the exposed region R11 of thefirst flap 3A overlaps theintermediate boss 35 and is disposed closer to the skin surface side T1 than the inner edge 3AI of thefirst flap 3A that does not overlap theintermediate boss 35. Thus, the tip end side of thefirst fin 3A is more likely to float than the root side. The user easily grips the front end of thefirst flap 3A when wearing the garment.
At least a part of the exposed region R11 of thefirst flap 3A may be folded back toward theouter surface 70Y of thepackaging sheet 70 in the first region R71. The folded-back portion 3C folded back to the outer surface side may be disposed between the first region R71 and the second region R72, or may be folded back with the firstpackage side edge 701 as a base point. In the first folded state in the process of opening the individual package, the folded backportion 3C of the exposed region R11 is disposed on the outer surface side of thepackage sheet 70 and is easily recognized by the user. Moreover, the foldedportion 3C is easily lifted up from thepackaging sheet 70. This makes it easy for the user to pinch the front end of thefirst flap 3A when wearing the garment.
The area not covered by the first region R71 and covered by the second region R72 in the second folded state may be provided with at least a portion of a fragrance. The region not covered by the first region R71 but covered by the second region R72 in the second folded state is located between the firstwrapping side edge 701 and the second fold FL2 in the second folded state. The fragrance may be provided on theabsorbent article 1 or on theinner surface 70X of thepackaging sheet 70. In the first folded state in the process of opening the individual package, the region covered with the second region R72 is exposed, and the perfume can be discharged. In addition, in the state before use, the second region R72 can suppress the emission of perfume and suppress the deterioration of perfume. At least a part of the perfume may be disposed in an area not covered by the first area R71 but covered by the second area R72, and the perfume may be disposed in an area covered by the first area R71. By providing the perfume in the region covered by the first region R71, the perfume can be further released when the folded state is unfolded from the first folded state to the unfolded state. In addition, in the state before use, the emission of the perfume can be suppressed by both the first region R71 and the second region R72, and the deterioration of the perfume can be suppressed.
As shown in fig. 3, a peelingportion 77 subjected to a peeling process may be provided in a region of theinner surface 70X of thepackaging sheet 70 that does not overlap theseal portion 75. Since thepeeling section 77 is provided, thetab bonding section 63 can be covered with the wrappingsheet 70 in a detachable manner without providing a separate peeling sheet. Further, since the peelingportion 77 is provided in a region not overlapping with the sealingportion 75, the sealed state is easily maintained, a defect that the package 100 is accidentally opened before use is suppressed, and the package 100 can be sanitarily conveyed.
In the unfolded state, the firstpackage side edge 701 may be positioned further outward in the width direction W than theflap engagement portion 63. In the case of the aspect in which the plurality offlap engagement portions 63 are provided in thefirst flap 3A, the firstpackage side edge 701 may be positioned on the outer side in the width direction W than theflap engagement portion 63 positioned on the outermost side in the width direction W. Theflap bonding portion 63 can be covered by the first region R71 of thepackaging sheet 70, and deterioration of theflap bonding portion 63 before use can be suppressed without providing a release sheet. In the absorbent article package 100 of the present embodiment, theflap bonding portions 63 come into contact with thepackage sheet 70, and deterioration before use can be suppressed. However, in another embodiment, a release sheet may be disposed between theflap bonding portion 63 and thepackaging sheet 70, and theflap bonding portion 63 may be covered with the release sheet, so that deterioration before use can be suppressed.
As shown in fig. 6, in the first region R71 of thepackaging sheet 70, aconvex portion 78 protruding toward the outer surface side in the first folded state and aconcave portion 79 located on the inner surface side of theconvex portion 78 may be provided. Fig. 6 is an enlarged view of aportion 6C shown in fig. 2. Theconvex portion 78 and theconcave portion 79 may be provided in a region overlapping with thefin engagement portion 63. In the present embodiment, theflap bonding portion 63 is an HMA type adhesive, and thepackaging sheet 70 is formed of a film. Thus, when the HMA type adhesive agent constituting theflap bonding portion 63 comes into contact with thepackaging sheet 70, thepackaging sheet 70 is deformed by the heat of the HMA type adhesive agent, and fine irregularities are formed on thepackaging sheet 70. In the embodiment having the release sheet according to the modified example, theconvex portion 78 and theconcave portion 79 may be provided in a region where the release sheet and the packaging sheet overlap the joint portion. The joint portion for joining the release sheet and the packaging sheet may be not only an HMA type adhesive but also heat welding or ultrasonic welding. In either case, fine wrinkles are formed in the packaging sheet by the joining method.
Both theconvex portion 78 and theconcave portion 79 may overlap theseal portion 75 of the second region R72 in the second folded state. By theseal portion 75 of the second region R72 overlapping theconcave portion 79 and theconvex portion 78, the contact area of the second region R72 of theseal portion 75 with the first region R71 is reduced compared to a structure in which theconcave portion 79 and theconvex portion 78 are not formed. This makes it easy to peel off theseal portion 75 during use, and improves the ease of handling during wearing.
Next, theconvex portion 78X and theconcave portion 79X of the modification will be described based on fig. 7. In the modification, theconcave portion 79X is provided in a region overlapping with the finjoint portion 63, and theconvex portion 78X is provided in a region not overlapping with the finjoint portion 63. The region of thepackaging sheet 70 that contacts thetab bonding portion 63 is recessed by abutting against thetab bonding portion 63, and the region of thepackaging sheet 70 that does not contact thetab bonding portion 63 floats up relative to thetab bonding portion 63. In the embodiment having the release sheet, a concave portion is provided in a region overlapping with a joint portion where the release sheet and the packaging sheet are joined, and a convex portion is provided in a region not overlapping with the joint portion. In this modification, since the sealing portion of the second region overlaps the concave portion and the convex portion, the contact area of the second region of the sealing portion with the first region is also reduced as compared with a structure in which the concave portion and the convex portion are not formed. This makes it easy to peel off the seal portion during use, and improves the ease of handling during wearing.
The present invention has been described in detail with reference to the above embodiments, but it is obvious to those skilled in the art that the present invention is not limited to the embodiments described in the present specification. The present invention can be implemented as modifications and variations without departing from the spirit and scope of the present invention defined by the claims. Therefore, the description of the present specification is for illustrative purposes, and the present invention is not limited thereto.
The entire contents of japanese patent application No. 2019-029799, filed on 21/2/2019, are incorporated herein by reference.
[ INDUSTRIAL APPLICABILITY ]
Provided is a package of an absorbent article which is folded with a pair of creases in the front-rear direction as base points, wherein the absorbent article can be hygienically conveyed before use, and the hygiene can be ensured when worn.
[ description of reference ]
100: packaging body for absorbent article, 1: absorbent article, 3: vane, 3A: first vane, 3 AE: outer edge, 3 AI: inner rim, 3B: second fin, 3C: folded-back portion, R11: exposed region, R12: non-exposed region, 31: absorbent core, 35: middle boss, 41: sheet pressing portion, 42: narrow portion, 43: wide portion, 51: first bulge, 52: second bulge, 53: recessed portion, 63: tab engaging portion, 70: packaging sheet, 701: first package side edge, 702: second package side edge, 70X: inner surface, 70Y: outer surface, R71: first region, R72: second region, 75: sealing portion, 77: peeling section, 78X: convex portion, 79X: recess, L: front-rear direction, W: width direction, T: thickness direction, T1: skin surface side, T2: non-skin surface side, FL 1: first fold, FL 2: and a second fold.

Claims (10)

CN202010103398.7A2019-02-212020-02-20Package for absorbent articleActiveCN111588548B (en)

Applications Claiming Priority (2)

Application NumberPriority DateFiling DateTitle
JP2019-0297992019-02-21
JP2019029799AJP7018409B2 (en)2019-02-212019-02-21 Packaging for absorbent articles

Publications (2)

Publication NumberPublication Date
CN111588548Atrue CN111588548A (en)2020-08-28
CN111588548B CN111588548B (en)2022-12-16

Family

ID=72181225

Family Applications (1)

Application NumberTitlePriority DateFiling Date
CN202010103398.7AActiveCN111588548B (en)2019-02-212020-02-20Package for absorbent article

Country Status (2)

CountryLink
JP (1)JP7018409B2 (en)
CN (1)CN111588548B (en)

Families Citing this family (1)

* Cited by examiner, † Cited by third party
Publication numberPriority datePublication dateAssigneeTitle
WO2023277013A1 (en)*2021-06-302023-01-05ユニ・チャーム株式会社Absorbent article

Citations (6)

* Cited by examiner, † Cited by third party
Publication numberPriority datePublication dateAssigneeTitle
CN1174021A (en)*1996-08-081998-02-25尤尼佳股份有限公司Diaper
CN102164568A (en)*2008-07-302011-08-24金伯利-克拉克环球有限公司Packaged body adhering absorbent article
JP2012205709A (en)*2011-03-292012-10-25Unicharm CorpWrapping material for absorbent article
CN103932843A (en)*2008-12-252014-07-23尤妮佳股份有限公司Thin absorptive article
JP2015182815A (en)*2014-03-262015-10-22ユニ・チャーム株式会社 Container
JP2018015239A (en)*2016-07-272018-02-01大王製紙株式会社Absorbent article

Family Cites Families (1)

* Cited by examiner, † Cited by third party
Publication numberPriority datePublication dateAssigneeTitle
JP6238847B2 (en)2014-06-302017-11-29ユニ・チャーム株式会社 Absorbent articles

Patent Citations (6)

* Cited by examiner, † Cited by third party
Publication numberPriority datePublication dateAssigneeTitle
CN1174021A (en)*1996-08-081998-02-25尤尼佳股份有限公司Diaper
CN102164568A (en)*2008-07-302011-08-24金伯利-克拉克环球有限公司Packaged body adhering absorbent article
CN103932843A (en)*2008-12-252014-07-23尤妮佳股份有限公司Thin absorptive article
JP2012205709A (en)*2011-03-292012-10-25Unicharm CorpWrapping material for absorbent article
JP2015182815A (en)*2014-03-262015-10-22ユニ・チャーム株式会社 Container
JP2018015239A (en)*2016-07-272018-02-01大王製紙株式会社Absorbent article

Also Published As

Publication numberPublication date
CN111588548B (en)2022-12-16
JP2020130735A (en)2020-08-31
JP7018409B2 (en)2022-02-10

Similar Documents

PublicationPublication DateTitle
KR100197848B1 (en) Napkin packing for sanitary napkins
JP3916466B2 (en) Hygiene products
JP2012135449A (en)Package for absorbent article, and method for folding the same
JP3824556B2 (en) Absorbent packaging structure
JP3532575B2 (en) Absorbent articles packaged individually
CN111588548B (en)Package for absorbent article
CZ2001821A3 (en)Winged absorbent article with cohesively bonded bridging unit
JP2011120650A (en)Individual package for absorbent article
KR100474147B1 (en) Individually Wrapped Sanitary Napkins
JP3457333B2 (en) Absorbent article wrapper with side flap fastener cover
CN214129062U (en)Package for absorbent article
JP2002362624A (en) Absorbent article packaging structure
CN214511526U (en)Package for absorbent article
CN110087597B (en)Absorbent article and method for manufacturing absorbent article
JP2567607Y2 (en) Sanitary napkins in individual bags
CN1253488A (en)Absorbent article wrapper comprising side flap fastener cover
JP2004148102A (en) Absorbent articles
JP6689891B2 (en) Absorbent article
JP3237241U (en) Package
JP4762085B2 (en) Absorbent packaging structure
KR100840841B1 (en) Packaging pack for absorbent pads and tooth-absorbent pads with detachable peel strips at one time
JPH09234218A (en)Sanitary napkin
JP4762057B2 (en) Absorbent packaging structure
KR20220000596U (en)Package and manufacturing device of package
CN110087603B (en)Absorbent article

Legal Events

DateCodeTitleDescription
PB01Publication
PB01Publication
SE01Entry into force of request for substantive examination
SE01Entry into force of request for substantive examination
GR01Patent grant
GR01Patent grant

[8]ページ先頭

©2009-2025 Movatter.jp