Movatterモバイル変換


[0]ホーム

URL:


CN111503019A - Centrifugal blower - Google Patents

Centrifugal blower
Download PDF

Info

Publication number
CN111503019A
CN111503019ACN202010338092.XACN202010338092ACN111503019ACN 111503019 ACN111503019 ACN 111503019ACN 202010338092 ACN202010338092 ACN 202010338092ACN 111503019 ACN111503019 ACN 111503019A
Authority
CN
China
Prior art keywords
side plate
end portion
air
centrifugal blower
radius
Prior art date
Legal status (The legal status is an assumption and is not a legal conclusion. Google has not performed a legal analysis and makes no representation as to the accuracy of the status listed.)
Pending
Application number
CN202010338092.XA
Other languages
Chinese (zh)
Inventor
宇佐美宏行
酒井雅晴
小坂翔
神谷洋平
Current Assignee (The listed assignees may be inaccurate. Google has not performed a legal analysis and makes no representation or warranty as to the accuracy of the list.)
Denso Corp
Original Assignee
Denso Corp
Priority date (The priority date is an assumption and is not a legal conclusion. Google has not performed a legal analysis and makes no representation as to the accuracy of the date listed.)
Filing date
Publication date
Application filed by Denso CorpfiledCriticalDenso Corp
Publication of CN111503019ApublicationCriticalpatent/CN111503019A/en
Pendinglegal-statusCriticalCurrent

Links

Images

Classifications

Landscapes

Abstract

A centrifugal blower includes a rotary shaft (20), an impeller (3), and a housing. The impeller includes a plurality of blades (31) and a side plate (32). The housing houses the impeller and includes an air intake (41) positioned adjacent to the side plate. The intake portion includes a downstream end portion (411) and an inner wall surface (412). The side plate includes an upstream end portion (321) and an inner plate surface (323) that is an inner surface of the side plate. The downstream end portion and the upstream end portion face each other at a distance in a certain angular range. The difference between the minimum inner diameter (Db) of the inner wall surface of the air intake portion and the minimum inner diameter (Ds) of the inner plate surface is less than or equal to the thickness of the side plate within the angular range.

Description

Centrifugal blower
The present application is a divisional application of an invention patent application having an application number of 201611153891.X and a title of "centrifugal blower" filed on 2016, 12, month, 14.
Technical Field
The present invention relates to a centrifugal blower that sucks in internal air from one side in an axial direction of a rotating shaft and discharges the sucked air outward in a radial direction of the rotating shaft.
Background
Conventionally, a centrifugal blower in which air leakage from a gap between a bell mouth and a cover of a centrifugal fan is reduced in order to reduce separation noise on a negative pressure surface of a blade due to interference of a main flow has been proposed (for example, refer to patent document 1: JP2001-115991 a).Patent document 1 discloses a labyrinth seal portion provided in a portion of an intake side end portion of a bell mouth in a region of a shroud facing a negative pressure surface of a vane.
Disclosure of Invention
According to the study of the inventors of the present invention, inpatent document 1, the cover is positioned radially outside the bell mouth, and a head difference is formed between the bell mouth and the cover in the radial direction. Thus, the air flowing along the inner surface of the bell mouth is separated therefrom at the downstream end of the bell mouth, and the air may not flow along the inner surface of the cover. Accordingly, turbulence is generated in the air flowing from the surface of the bell mouth into the vicinity of the shroud of the fan. When the air moves to the downstream side of the fan, turbulence increases and may cause an increase in noise and a decrease in blowing efficiency.
An object of the present invention is to provide a centrifugal blower capable of reducing noise and improving blowing efficiency.
According to an aspect of the invention, a centrifugal blower comprises: a rotating shaft; an impeller that has a cylindrical shape and rotates around an axis of the rotary shaft so as to suck internal air in an axis direction of the rotary shaft and discharge the air outward in a radial direction of the rotary shaft, the impeller including a plurality of blades arranged radially around the axis of the rotary shaft and a side plate having an annular shape and connecting end portions of the plurality of blades in the axis direction of the rotary shaft; and a housing that houses the impeller and includes an air intake portion positioned adjacent to the side plate, the air intake portion having a bell mouth shape through which the drawn air is guided to an inside of the impeller. The air intake portion includes: a downstream end portion that is an end portion of the air intake portion located downstream of the air flow; and an inner wall surface located inside the air intake portion in a radial direction of the rotation shaft. The side plate includes: an upstream end portion which is an end portion of the side plate located upstream of the air flow; and an inner plate surface that is an inner surface of the side plate located inside the side plate in a radial direction of the rotation axis. The downstream end portion and the upstream end portion face each other at a spacing in the axial direction of the rotary shaft at least within a certain angular range in the rotational direction. The difference between the minimum inner diameter of the inner wall surface of the air intake portion and the minimum inner diameter of the inner plate surface is smaller than or equal to the thickness of the side plate at least in the angular range.
Thus, since the difference between the minimum inner diameter of the inner wall surface of the air intake portion and the minimum inner diameter of the inner panel surface is smaller than or equal to the thickness of the side panel at least in the angular range, there is substantially no head difference in the radial direction between the inner wall surface of the air intake portion and the inner panel surface portion of the side panel. Therefore, the air flowing along the intake portion can smoothly flow to the side plate. Thereby, the centrifugal blower can reduce noise and improve blowing efficiency. The air intake portion having a bell mouth shape means a bell mouth-shaped air intake portion in which the diameter of the air intake portion becomes larger toward the upstream side of the airflow.
Drawings
The invention, together with additional objects, features and advantages thereof, will best be understood from the following description, the appended claims and the accompanying drawings, in which:
fig. 1 is a sectional view taken in an axial direction illustrating a centrifugal blower according to a first embodiment of the invention;
fig. 2 is a sectional view illustrating a centrifugal blower according to the first embodiment;
fig. 3 is a sectional view illustrating a centrifugal blower according to the first embodiment;
fig. 4 is a sectional view illustrating a centrifugal blower according to a comparative example;
fig. 5 is a sectional view illustrating a centrifugal blower according to the first embodiment;
FIG. 6 is a graph showing the relationship between the air flow rate and the air blowing efficiency of the centrifugal blowers of the first embodiment and the comparative example;
fig. 7 is a graph showing a relationship between an air flow rate and a specific noise level (specific noise level) of the centrifugal blowers of the first embodiment and the comparative example;
fig. 8 is a sectional view illustrating a centrifugal blower according to a first modification of the first embodiment;
fig. 9 is a sectional view illustrating a centrifugal blower according to a first modification of the first embodiment;
fig. 10 is a sectional view illustrating a centrifugal blower according to a second modification of the first embodiment;
fig. 11 is a sectional view illustrating a centrifugal blower according to a second modification of the first embodiment;
fig. 12 is a sectional view illustrating a centrifugal blower according to a second embodiment;
fig. 13 is a sectional view illustrating a centrifugal blower according to a second embodiment;
fig. 14 is a sectional view illustrating a centrifugal blower according to a second embodiment;
fig. 15 is a sectional view illustrating a centrifugal blower according to a second embodiment;
fig. 16 is a sectional view illustrating a centrifugal blower according to a third embodiment;
fig. 17 is a sectional view illustrating a centrifugal blower according to a third embodiment;
fig. 18 is a sectional view illustrating a centrifugal blower according to a fourth embodiment;
FIG. 19 is a sectional view taken along line XIX-XIX of FIG. 18;
fig. 20 is a top view illustrating the centrifugal blower as viewed in the direction of arrow XX of fig. 18;
fig. 21 is a top view illustrating a centrifugal blower according to the first embodiment;
fig. 22 is a sectional view taken along line XXII-XXII of fig. 21;
fig. 23 is a sectional view taken along line XXIII-XXIII of fig. 21;
fig. 24 is a sectional view taken along line XXIV-XXIV of fig. 20;
fig. 25 is a sectional view taken along line XXV-XXV of fig. 20; and
fig. 26 is a sectional view illustrating a centrifugal blower according to the fourth embodiment.
Detailed Description
Embodiments of the present invention will be explained hereinafter with reference to the accompanying drawings. In these embodiments, portions corresponding to the matters described in the previous embodiments may be assigned the same reference numerals, and repeated descriptions for the portions may be omitted. While only a part of the configuration is explained in the embodiment, another previous embodiment may be applied to other parts of the configuration. These parts may be combined even if there is no explicit indication that these parts may be combined. These embodiments may be partially combined if there is no harm in the combination, even if it is not explicitly stated that these embodiments may be combined.
(first embodiment)
The first embodiment will be explained below with reference to fig. 1 to 7. Thecentrifugal blower 1 of the present embodiment shown in fig. 1 is used in an air blowing unit that sends air to an internal unit of an air conditioning apparatus such as a vehicle.
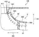
Thecentrifugal blower 1 includes amotor 2 having arotary shaft 20, animpeller 3 rotationally driven by themotor 2 to discharge air, and acasing 4 housing theimpeller 3, arrow AX shown in fig. 1 indicates an axial direction along an axis C L of therotary shaft 20, arrow CD shown in fig. 2 indicates a rotational direction of therotary shaft 20, arrow RD shown in fig. 2 indicates a radial direction perpendicular to the axial direction AX of therotary shaft 20, which are the same in other drawings.
Theimpeller 3 has a cylindrical shape and rotates about an axis C L of therotating shaft 20 theimpeller 3 includes a plurality ofblades 31 arranged radially about the rotatingshaft 20, aside plate 32 having a circular ring shape and connecting end portions of the plurality of blades on one side in the axis direction AX, and amain plate 33 having a disk shape and connecting end portions of the plurality of blades on the other side in the axis direction AX.
Theimpeller 3 of the present embodiment includes a multi-blade centrifugal fan (sirocco fan) in which each of theblades 31 is a forward curved blade theblades 31 are radially arranged about the axis C L of therotary shaft 20.
Theside plate 32 is formed of a circular ring-shaped member having an opening at a central portion. In order to reduce the weight, the thickness Th of theside plate 32 of the present embodiment is set within 1-3mm, for example.
Theside plate 32 of the present embodiment includes: afirst end 321, which is the end upstream of the gas flow; and asecond end 322, which is the end located downstream of the gas flow. In addition, theside plate 32 includes: an innerplate surface portion 323 that is an inner surface in the radial direction RD of therotary shaft 20; and anouter surface portion 324, which is an outer surface in the radial direction RD. In the present embodiment, thefirst end 321 of theside plate 32 is the upstream end. Theside plate 32 is connected to an end portion of theblade 31 on one side in the axial direction AX. The innerpanel surface portion 323 may be an inner panel surface of theside panel 32.
The innerplate surface portion 323 defines a guide opening that guides air drawn from theair intake portion 41 of thehousing 4 into theimpeller 3. The innerplate surface portion 323 of the present embodiment is inwardly convex in the radial direction RD of therotary shaft 20 so that the air sucked in the axial direction AX of therotary shaft 20 is outwardly directed in the radial direction RD of therotary shaft 20. Specifically, the radius of the innerpanel surface portion 323 gradually increases in size from thefirst end 321 toward thesecond end 322. In the present embodiment, the radius at thefirst end 321 is the smallest in the innerpanel surface portion 323.
Themain plate 33 is connected to therotation shaft 20 at a central portion thereof. A portion of themain plate 33 facing theside plate 32 is connected to an end portion of the other side of theblade 31 in the axial direction AX. Themain plate 33 of the present embodiment has a flat circular shape. Themain plate 33 may have a conical shape that is convex toward theside plate 32 in the axis direction AX.
Thehousing 4 accommodates theimpeller 3. Thehousing 4 of the present embodiment is a scroll-shaped housing defining anair flow channel 40 having a spiral shape outside theimpeller 3. Thehousing 4 includes anair intake portion 41 having a bell mouth shape and guiding air into theimpeller 3.
Theintake portion 41 is provided in a portion of thecase 4 on one side in the axial direction AX, the portion being adjacent to theside plate 32 of theimpeller 3. Theintake portion 41 includes: adownstream end 411, which is the end located downstream of the gas flow; and an innerwall surface portion 412 which is an inner wall in the radial direction RD of therotation shaft 20. The innerwall surface portion 412 may be an inner wall surface of theair intake portion 41.
Theintake portion 41 of the present embodiment is provided in thecase 4 such that thedownstream end portion 411 is spaced from thefirst end portion 321 of theside plate 32 in the axial direction AX and faces thefirst end portion 321. Therefore, theintake portion 41 does not overlap theside plate 32 in the radial direction RD of therotary shaft 20.
The innerwall surface portion 412 is inwardly convex to guide air into theimpeller 3. Specifically, the radius of the innerwall surface portion 412 is gradually reduced in size from the upstream side toward thedownstream end portion 411 of the gas flow. In the present embodiment, the radius at thedownstream end 411 of theintake portion 41 is the smallest in the innerwall surface portion 412.
In thecentrifugal blower 1 of the present embodiment, there is substantially no head difference between theair intake portion 41 and theside plate 32 in the radial direction RD, thereby restricting separation of the main flow of air flowing from theair intake portion 41 toward theside plate 32. The separation may mean that air is separated from theintake portion 41 or theside panel 32.
As shown in fig. 2, the dimensional difference between the radius Db of the portion of theair intake part 41 having the smallest radius in the innerwall surface part 412 and the radius Ds of the portion of theside panel 32 having the smallest radius in the innerpanel surface part 323 is set to be equal to or smaller than the thickness Th. of theside panel 32, the radius of the innerwall surface part 412 of theair intake part 41 means the distance (e.g., radius) from the innerwall surface part 412 of theair intake part 41 to the axis C L of therotary shaft 20. the radius of the innerpanel surface part 323 of theside panel 32 means the distance (e.g., radius) between the innerpanel surface part 323 of theside panel 32 and the axis C L of therotary shaft 20. the radius Db may be a first radius and the radius Ds may be a second radius in a cross section including therotary shaft 20 taken in the axial direction, the first radius may be the smallest radius in the innerwall surface part 412, and in the cross section, the smallest radius Db may be the smallest inner diameter of the innerpanel surface part 323.
In the present embodiment, as described above, a portion of theintake portion 41 having the smallest radius among the innerwall surface portions 412 is thedownstream end portion 411, and a portion of theside plate 32 having the smallest radius among the innerplate surface portions 323 is thefirst end portion 321.
Thereby, the dimensional difference between the radius Db of thedownstream end portion 411 of theair intake portion 41 and the radius Ds of thefirst end portion 321 of theside plate 32 is set to be equal to or smaller than the thickness Th of theside plate 32. The thickness Th of theside plate 32 is the thickness of a portion of theside plate 32 adjacent to theintake portion 41.
In the present embodiment, the radius Db of thedownstream end portion 411 of theair intake portion 41 is set to be equal to or smaller than the radius Ds of thefirst end portion 321 of theside plate 32 in the entire dimension in the rotation direction CD. Specifically, the radius Db of thedownstream end portion 411 of theair intake portion 41 is set to be substantially equal in overall size in the rotation direction CD to the radius Ds of thefirst end portion 321 of theside plate 32.
Theair intake portion 41 and theside plate 32 are set such that a tangent to theair intake portion 41 at thedownstream end 411 and a tangent to theside plate 32 at thefirst end 321 are substantially parallel. Specifically, in the present embodiment, a tangent to theintake portion 41 at thedownstream end portion 411 and a tangent to theside plate 32 at thefirst end portion 321 are both set to extend along the axial direction AX of therotary shaft 20. Thereby, even if the air flow separation occurs at thedownstream end portion 411 of theair intake portion 41, the separated air flow can be reattached at thefirst end portion 321 of theside plate 32.
The intake side of theimpeller 3 and the exhaust side of theimpeller 3 communicate with each other through the gap between theintake portion 41 and theside plate 32. Therefore, the air discharged from the exhaust side of theimpeller 3 can be returned to the intake side of theimpeller 3 through the gap between theintake portion 41 and theside plate 32. In the present embodiment, the gap between theintake portion 41 and theside plate 32 is a return passage through which air flows from the exhaust side to the intake side of theimpeller 3.
In the present embodiment, a portion of thedownstream end portion 411 facing thefirst end portion 321 extends in the radial direction RD of therotary shaft 20. Thefirst end 321 of theside plate 32 of the present embodiment faces thedownstream end 411 of theair intake portion 41 and extends in the radial direction RD of therotary shaft 20. Thereby, the gap between theintake portion 41 and theside plate 32 as the return passage extends in the radial direction RD of therotary shaft 20.
Next, the action of thecentrifugal blower 1 of the present embodiment will be explained below. Theimpeller 3 of thecentrifugal blower 1 rotates in accordance with the rotation of therotary shaft 20 of themotor 2. Therefore, the air drawn into theimpeller 3 from one side in the axial direction AX of therotary shaft 20 is discharged outward in the radial direction RD of therotary shaft 20 by the centrifugal force, as shown in fig. 3.
Fig. 4 illustrates the air flow near theside plate 32 of the centrifugal blower CE according to the comparative example of the present invention. The centrifugal blower CE is different from thecentrifugal blower 1 of the present embodiment in that: theside plate 32 is positioned outside theintake portion 41 in the radial direction RD.
In the centrifugal blower CE of the comparative example, air is drawn from one side of the axis direction AX of therotary shaft 20 into theimpeller 3 by the rotation of theimpeller 3. In the centrifugal blower CE of the comparative example, since there is no large head difference between theintake portion 41 and theside plate 32 in the radial direction RD, the air flowing along the surface of theintake portion 41 is separated at thedownstream end portion 411 of theintake portion 41. Thereby, turbulence including parallel vortices is generated in the air flowing from the surface of theintake portion 41 into the vicinity of theside plate 32 of theimpeller 3. As the airflow moves to the downstream side of theimpeller 3, turbulence increases. Therefore, noise may be increased, and blowing efficiency may be reduced. A parallel vortex is a vortex having a central axis of rotation that intersects the flow direction of the main flow of air.
On the other hand, in thecentrifugal blower 1 of the present invention, the dimensional difference between the radius Db of the portion having the smallest dimension in the innerwall surface portion 412 of theair intake portion 41 and the radius Ds of the portion having the smallest dimension in the innerplate surface portion 323 of theside plate 32 is set to be equal to or smaller than the thickness Th.
Therefore, in thecentrifugal blower 1 of the present embodiment, the air flowing along the surface of theair intake portion 41 reattaches to theside plate 32 after separating from thedownstream end portion 411 of theair intake portion 41, as shown in fig. 5. The airflow near theside panel 32 flows along theside panel 32 without being separated from theside panel 32. In thecentrifugal blower 1 of the present embodiment, the air flowing along theair intake portion 41 can smoothly flow to theside plate 32.
Fig. 6 is a graph showing the relationship between the discharged air amount and the air blowing efficiency of thecentrifugal blower 1 of the present embodiment and the centrifugal blower CE of the comparative example. In fig. 6, the air blowing efficiency of the centrifugal blower CE of the comparative example is illustrated by a solid line a, and the air blowing efficiency of thecentrifugal blower 1 of the present embodiment is illustrated by a broken line B.
Fig. 7 is a graph showing a relationship between the amount of air discharged and a specific noise level of thecentrifugal blower 1 of the present embodiment and the centrifugal blower CE of the comparative example. In fig. 7, the specific noise level of the centrifugal blower CE of the comparative example is illustrated by a solid line a, and the specific noise level of thecentrifugal blower 1 of the present embodiment is illustrated by a broken line B.
As shown in fig. 6, the blowing efficiency of thecentrifugal blower 1 of the present embodiment is higher than that of the centrifugal blower CE of the comparative example over the entire range of the discharged air amount. As shown in fig. 7, thecentrifugal blower 1 of the present embodiment generates less noise over the entire range of the air volume than the noise generated by the centrifugal blower CE of the comparative example. Thecentrifugal blower 1 of the present embodiment can reduce noise and improve blowing efficiency.
In thecentrifugal blower 1 of the present embodiment, the difference in size between the radius of a portion of the innerwall surface portion 412 of theair intake portion 41 having the smallest radius of the innerwall surface portion 412 and the radius of a portion of the innerplate surface portion 323 of theside plate 32 having the smallest radius of the innerplate surface portion 323 is equal to or smaller than the thickness Th of theside plate 32, as described above.
Thereby, there is substantially no head difference in the radial direction RD between the innerwall surface portion 412 of theintake portion 41 and the innerplate surface portion 323 of theside plate 32. Accordingly, the air flowing along theintake portion 41 can smoothly flow to theside plate 32. Therefore, according to thecentrifugal blower 1 of the present embodiment, it is possible to reduce noise and improve air blowing efficiency.
Further, in thecentrifugal blower 1 of the present embodiment, the radius Db of thedownstream end portion 411 of theair intake portion 41 and the radius Ds of thefirst end portion 321 of theside plate 32 are set to be equal in size to each other. Accordingly, since the air flowing along theintake portion 41 is prevented from impacting theside plate 32, the air flowing along theintake portion 41 can flow more smoothly to theside plate 32.
(first modification of the first embodiment)
A first modification of the first embodiment will be explained below with reference to fig. 8 and 9. In the first modification, the radius of a portion of the innerwall surface portion 412 having the smallest radius is different in size from the radius of a portion of the innerpanel surface portion 323 having the smallest radius.
In this modification, the radius Db of thedownstream end portion 411 of theair intake portion 41 is set smaller than the radius Ds of thefirst end portion 321 of the side plate 32 (Db < Ds), as shown in fig. 8. Also in this modification, the dimensional difference Δ D between the radius of the portion having the smallest radius in the innerwall surface portion 412 of theintake portion 41 and the radius of the portion having the smallest radius in the innerplate surface portion 323 of theside panel 32 is set to be equal to or smaller than the thickness Th of theside panel 32.
The other configuration is the same as that of the first embodiment. In thecentrifugal blower 1 of this modification, the air flowing along the surface of theair intake portion 41 reattaches to theside plate 32 after separating from thedownstream end portion 411 of theair intake portion 41, and the air flows along theside plate 32 without separating from theside plate 32, as shown in fig. 9. Thereby, thecentrifugal blower 1 of this modification can also reduce noise and improve air blowing efficiency.
(second modification of the first embodiment)
In the second modification of the present embodiment, the shapes of the innerwall surface portion 412 and the innerpanel surface portion 323 of theside panel 32 are modified, as shown in fig. 10 and 11.
In theintake portion 41 of this modification, a portion of the innerwall surface portion 412 having the smallest radius is positioned upstream of thedownstream end portion 411, as shown in fig. 10. Thus, the radius of thedownstream end portion 411 is larger than the radius of a portion of the innerwall surface portion 412 located upstream of thedownstream end portion 411.
In theside panel 32 of this modification, a portion of the innerpanel surface portion 323 having the smallest radius is positioned between thefirst end 321 and thesecond end 322. Thus, in the innerpanel surface part 323 of this modification, the radius of thefirst end 321 or thesecond end 322 of this modification is larger than the radius of a portion between thefirst end 321 and thesecond end 322.
The difference in size between the radius Db of the portion having the smallest radius in the innerwall surface portion 412 of theair intake part 41 and the radius Ds of the portion having the smallest radius in the innerpanel surface portion 323 of theside panel 32 is set to be equal to or smaller than the thickness Th of theside panel 32.
In this modification, a tangent to theintake portion 41 at a portion having the smallest radius in the innerwall surface portion 412 and a tangent to theside plate 32 at a portion having the smallest radius in the innerplate surface portion 323 are set to be substantially parallel to each other. Specifically, in this modification, both a tangent to a portion having the smallest radius in the innerwall surface portion 412 and a tangent to a portion having the smallest radius in the innerpanel surface portion 323 are set to extend in the direction along the axial direction AX of therotary shaft 20.
The other configuration of this modification is the same as that of the first embodiment. The air flowing along theintake portion 41 is reattached to theside plate 32 after being separated from thedownstream end portion 411 of theintake portion 41, and the air flows along theside plate 32 without being separated from theside plate 32, as shown in fig. 11. Thereby, thecentrifugal blower 1 of this modification can reduce noise and improve air blowing efficiency.
(second embodiment)
A second embodiment of the present invention will be explained below with reference to fig. 12 and 13. In the present embodiment, the direction of the backflow flowing in the gap between theintake portion 41 and theside plate 32 is deflected to be closer to the direction of the main flow.
In thecentrifugal blower 1 of the present embodiment, the deflectingpassage 5 is provided between theair intake portion 41 and theside plate 32, as shown in fig. 12. The deflectingpassage 5 deflects the backflow flowing through the gap between thedownstream end 411 of theintake portion 41 and thefirst end 321 of theside plate 32 so that the direction of the backflow becomes closer to the direction of the main flow. This backflow is an airflow from the gap between thedownstream end portion 411 of theintake portion 41 and thefirst end portion 321 of theside plate 32 toward the intake side of theimpeller 3. The main flow is an airflow from theintake portion 41 to the intake side of theimpeller 3.
Thedeflection channel 5 comprises: anupstream passage 51 defined between theouter surface portion 324 of theside plate 32 and the inner wall surface of thecasing 4; and adownstream passage 52 defined between thedownstream end 411 of theintake portion 41 and thefirst end 321 of theside plate 32.
Thedownstream end portion 411 of theair intake portion 41 according to this embodiment is inclined toward the innerwall surface portion 412 such that a radius of a part of thedownstream end portion 411 is reduced in size toward thefirst end portion 321. A portion of thedownstream end portion 411 facing thefirst end portion 321 of theside plate 32 is inclined at an acute angle to intersect the innerwall surface portion 412.
In theupstream passage 51 of the present embodiment, a part of the inner wall surface of thehousing 4 connected to thedownstream end portion 411 is inclined toward the innerwall surface portion 412, similarly to a part of thedownstream end portion 411 facing thefirst end portion 321 of theside plate 32.
A portion of thefirst end 321 of theside plate 32 facing thedownstream end 411 of theair intake portion 41 extends in the radial direction RD of therotary shaft 20. Thereby, the cross-sectional area of thedownstream passage 52 decreases in size toward the downstream side of the airflow.
The other configuration is the same as that of the first embodiment. In thecentrifugal blower 1 of the present embodiment, the air flowing along theair intake portion 41 flows along theside plate 32 without being separated from theside plate 32, as shown in fig. 13.
In addition, in thecentrifugal blower 1 of the present embodiment, the deflectingpassage 5 is provided between theair intake portion 41 and theside plate 32, and thedeflecting passage 5 deflects the backflow from the gap between thedownstream end portion 411 of theair intake portion 41 and thefirst end portion 321 of theside plate 32 so that the backflow becomes closer to the main flow.
Therefore, the direction of the backflow from the gap between theintake portion 41 and theside plate 32 becomes the direction along the main flow, whereby interference of the main flow and the backflow can be restricted. Thereby, the air flow along theair intake portion 41 becomes able to smoothly flow to theside plate 32, and therefore it is possible to reduce noise and improve the air blowing efficiency.
(modification of the second embodiment)
In this modification, an example in which the deflectingchannel 5 of thedownstream channel 52 of the second embodiment is modified will be explained below with reference to fig. 14 and 15.
When the cross-sectional area of thedownstream passage 52 is reduced in size toward the downstream side of the gas flow as described in the second embodiment, the passage of the backflow is throttled, whereby turbulence may be generated in the backflow. This can result in the main flow being disturbed when the main flow and the backflow are combined.
In this modification, a part of thefirst end portion 321 of theside plate 32 facing thedownstream end portion 411 is inclined toward the innerplate surface portion 323, as shown in fig. 14. Specifically, the radius of a portion of thefirst end 321 facing thedownstream end 411 of this modification increases in size toward thedownstream end 411. A portion of thefirst end 321 of theside plate 32 facing thedownstream end 411 is inclined to intersect the innerpanel surface portion 323 at an obtuse angle. Thus, thedownstream passage 52 has a cross section whose area size on the upstream side is similar to that on the downstream side.
The other configuration is the same as that of the second embodiment. In thecentrifugal blower 1 of this modification, the air flowing along the surface of theair intake portion 41 flows along theside plate 32 without being separated from theside plate 32, as shown in fig. 15.
In thecentrifugal blower 1 of this modification, thedownstream passage 52 of thedeflecting passage 5 has a cross section whose area size on the upstream side is similar to that on the downstream side. Since the turbulence of the backflow flowing through the gap between theintake portion 41 and theside plate 32 is restricted, the turbulence of the main flow generated when the main flow and the backflow are combined together can be effectively restricted.
(third embodiment)
A third embodiment will be explained below with reference to fig. 16 and 17. In the present embodiment, the shape of thedeflection duct 5 is different from that of the second embodiment.
In thecentrifugal blower 1 of the present embodiment, theupstream passage 51 of thedeflecting passage 5 has a circular shape, and theupstream passage 51 is located between theouter surface portion 324 of theside plate 32 and the inner wall surface of thehousing 4, as shown in fig. 16.
Specifically, the inner wall surface of thehousing 4 defining theupstream passage 51 has a semicircular shape protruding to one side of therotation shaft 20. Thefirst end 321 of theside plate 32 facing thedownstream end 411 of theair intake part 41 has a circular shape.
The other configuration is the same as that of the second embodiment. In thecentrifugal blower 1 of the present embodiment, the air flowing along the surface of theair intake portion 41 flows along theside plate 32 without being separated from theside plate 32, as shown in fig. 17.
In thecentrifugal blower 1 of the present embodiment, theupstream passage 51 of thedeflecting passage 5 has a circular shape. Therefore, the backflow can smoothly flow into theupstream passage 51 of thedeflecting passage 5. Since the turbulence of the backflow flowing through the gap between theintake portion 41 and theside plate 32 is restricted, the turbulence of the main flow generated when the main flow and the backflow are combined together can be effectively restricted.
(fourth embodiment)
A fourth embodiment will be explained below with reference to fig. 18 to 26. In thecentrifugal blower 1A of the present embodiment, the difference in size between the radius of a portion of the innerwall surface portion 412 of theair intake portion 41 having the smallest radius of the innerwall surface portion 412 and the radius of a portion of the innerplate surface portion 323 of theside plate 32 having the smallest radius of the innerplate surface portion 323 is set to be equal to or smaller than the thickness Th of theside plate 32 in the rotational direction CD. A portion of the innerwall surface portion 412 and a portion of the innerpanel surface portion 323 may face each other.
Similar to thecentrifugal blower 1 of the first embodiment, thehousing 4 of thecentrifugal blower 1A according to this embodiment is a curl-shaped housing that includes aside wall portion 43, theside wall portion 43 defining theair flow passage 40 having a spiral shape outside theimpeller 3, as shown in fig. 18 to 20. Thehousing 4 includes anose 42 as a starting point of the airflow path.
Theside wall portion 43 of thehousing 4 extends from thecurl start portion 431 to thecurl end portion 432, which are positioned at thenose portion 42 of theside wall portion 43, such that the distance (radius) from the axis C L of therotary shaft 20 increases in a logarithmic spiral shape, the cross-sectional area of thehousing 4 increases in size from thecurl start portion 431 of theside wall portion 43 toward thecurl end portion 432, thecurl start portion 431 may be a curl start point, and thecurl end portion 432 may be a curl end point.
When thecasing 4 is configured by a scroll-shaped casing as in the present embodiment, the distance between the trailing edge of theblade 31 of theimpeller 3 and theside wall portion 43 increases from thecurl start portion 431 toward thecurl end portion 432. Specifically, the distance between the trailing edge of theblade 31 and theside wall portion 43 is shortest at thecurl start portion 431 of theside wall portion 43 and greatest at thecurl end portion 432.
Therefore, in thehousing 4 of the present embodiment, a region where the air flow is likely to be disturbed and a region where the air flow on the exhaust side of theimpeller 3 in the rotation direction CD is less likely to be disturbed are included.
For example, because theside wall portion 43 constitutes resistance to the airflow in the region SE1 extending from thecurl start portion 431 to theintermediate portion 433 in the rotation direction CD, as shown in fig. 19 and 20, the airflow on the exhaust side of theimpeller 3 may generate turbulence. Themiddle portion 433 may be a middle point.
On the other hand, since theside wall portion 43 hardly constitutes resistance to the airflow in the area SE2 from theintermediate portion 433 to thecurl end portion 432, as shown in fig. 19 and 20, the airflow on the exhaust side of theimpeller 3 is less likely to generate turbulence.
As described in the first embodiment, thecentrifugal blower 1 of the first embodiment can reduce noise and improve air blowing efficiency as compared with the centrifugal blower CE of the comparative example.
In order to further reduce the noise, the inventors of the present invention made studies on the loudness of the noise generated in thecentrifugal blower 1. As a result, the inventors found that the noise in the vicinity of thecurl end portion 432 of theside wall portion 43 as shown in fig. 21 is larger than the noise in the area SE1 extending from thecurl start portion 431 to theintermediate portion 433 of theside wall portion 43 in the rotation direction CD.
Next, the inventors made studies on the air flow in the region SE1 extending from thecurl start portion 431 to themiddle portion 433 of theside wall portion 43 in the rotation direction CD and in the vicinity of thecurl end portion 432 of theside wall portion 43.
As a result, the inventors found that, in thecentrifugal blower 1 of the first embodiment, the air flowing into the vicinity of the surface of theair intake portion 41 flows along theside plate 32 in the area SE1 extending from thecurl start portion 431 of theside wall portion 43 in the rotational direction CD, as shown in fig. 22.
The inventors further found that, in the region SE1 extending from thecurl start portion 431 of theside wall portion 43 to theintermediate portion 433 in the rotation direction CD, a part of the air discharged from the exhaust side of theimpeller 3 easily flows back to the intake side of theimpeller 3 through the gap between theintake portion 41 and theside plate 32. This is because, as described above, theside plate 32 constitutes resistance to the airflow in the region SE1 extending from thecurl start portion 431 to theintermediate portion 433 in the rotation direction CD.
On the other hand, the inventors found that the air flowing into the vicinity of the surface of theintake portion 41 flows along theside plate 32 in the vicinity of thecurl end portion 432 of theside wall portion 43.
In addition, the inventors found that a part of the air flowing into the vicinity of the surface of theintake portion 41 easily flows to the exhaust side of theimpeller 3 through the gap between theintake portion 41 and theside plate 32 in the vicinity of thecurl end portion 432 of theside wall portion 43. This is because the number of elements constituting the resistance on the exhaust side of theimpeller 3 in the vicinity of thecurl end portion 432 of theside wall portion 43 is small compared to the region SE1 extending from thecurl start portion 431 to theintermediate portion 433 of theside wall portion 43 in the rotation direction CD.
The inventors have further found that the air flowing into the vicinity of theintake portion 41 and the air flowing through the gap between theintake portion 41 and theside plate 32 easily collide with each other in the separation area DA where the airflow near theside plate 32 may be separated. Air flow collisions like this may cause noise.
According to the study of the inventors of the present invention, the direction of the air flowing through the gap between theintake portion 41 and theside plate 32 is easily changed according to the rotation direction CD.
According to the results of the investigation by the inventors of the present invention, it is inferred that noise may be large in the vicinity of the curled endingportion 432 of theside wall portion 43 because the airflows that are opposite to each other collide with each other in the separation region DA.
In thecentrifugal blower 1A of the present embodiment, there is substantially no head difference in the radial direction RD between theair intake portion 41 and theside plate 32 in the rotational direction.
Specifically, in thecentrifugal blower 1A according to the present embodiment, in the region SE1 extending from thecurl start portion 431 to theintermediate portion 433 of theside wall portion 43 in the rotational direction CD, there is substantially no head difference between theair intake portion 41 and theside plate 32 in the radial direction RD, as shown in fig. 19 and 20. In thecentrifugal blower 1A of the present embodiment, in the region SE1 extending from thecurl start portion 431 to theintermediate portion 433 of theside wall portion 43 in the rotational direction CD, the difference in size between the radius Db1 of thedownstream end portion 411 of theair intake portion 41 and the radius Ds of thefirst end portion 321 of theside plate 32 is equal to or smaller than the thickness Th of theside plate 32.
On the other hand, in thecentrifugal blower 1A of the present embodiment, there is no head difference in the radial direction RD between theair intake portion 41 and theside plate 32 in a part in the rotation direction CD of therotary shaft 20.
Specifically, in the vicinity of thecurl end portion 432 of theside wall portion 43 of thecentrifugal blower 1A according to the present embodiment as shown in fig. 19 and 20, there is a head difference between theair intake portion 41 and theside plate 32, as shown in fig. 25. In the vicinity of thecurl end portion 432 of theside wall portion 43 of thecentrifugal blower 1A according to the present embodiment, the difference in size between the radius Db2 of thedownstream end portion 411 of theair intake portion 41 and the radius Ds of thefirst end portion 321 of theside plate 32 is larger than the thickness Th of theside plate 32. The radius Db2 of thedownstream end 411 of theintake portion 41 is sized smaller than the radius Ds of thefirst end 321 of theside plate 32.
In thecentrifugal blower 1A according to the present embodiment, in the region SE2 from theintermediate portion 433 of theside wall portion 43 to the vicinity of thecurl end portion 432, the difference in size between the radius Db of thedownstream end portion 411 of theair intake portion 41 and the radius Ds of thefirst end portion 321 of theside plate 32 continuously increases in the rotational direction CD of therotary shaft 20.
In thecentrifugal blower 1A according to the present embodiment, in the region extending from thecurl end portion 432 to thecurl start portion 431 of theside wall portion 43 in the rotational direction CD, the difference in size between the radius Db of thedownstream end portion 411 of theair intake portion 41 and the radius Ds of thefirst end portion 321 of theside plate 32 continuously decreases in the rotational direction CD. The difference in size between the radius Db of thedownstream end portion 411 of theintake part 41 and the radius Ds of thefirst end portion 321 of theside plate 32 may vary discontinuously, rather than continuously.
Next, the action of thecentrifugal blower 1A of the present embodiment will be explained below with reference to fig. 26. In fig. 26, a cross section near thecurl start portion 431 of theside wall portion 43 is shown on the right-hand side, and a cross section near thecurl end portion 432 of theside wall portion 43 is shown on the left-hand side.
As shown in fig. 26, in the vicinity of thecurl start portion 431 of thecentrifugal blower 1A according to the present embodiment, the dimensional difference between the radius Db1 of thedownstream end portion 411 of theair intake portion 41 and the radius Ds of thefirst end portion 321 of theside plate 32 is equal to or smaller than the thickness Th of theside plate 32.
Therefore, in the vicinity of thecurl start portion 431 of thecentrifugal blower 1A according to the present embodiment, the air flowing along theair intake portion 41 can smoothly flow to theside plate 32. In addition, in the vicinity of thecurl start portion 431 of thecentrifugal blower 1A according to the present embodiment, the airflow on the exhaust side of theimpeller 3 flows back to the intake side of theimpeller 3 through the gap between theintake portion 41 and theside plate 32.
In the vicinity of thecurl end portion 432 of thecentrifugal blower 1A according to the present embodiment, the dimensional difference between the radius Db2 of thedownstream end portion 411 of theair intake portion 41 and the radius Ds of thefirst end portion 321 of theside plate 32 is larger than theside plate 32 thickness Th.
Thus, in the vicinity of thecurl completion portion 432 of theside wall portion 43, the air flowing along theintake portion 41 is separated from theside plate 32, but the airflow in the vicinity of the surface of theintake portion 41 does not flow to the exhaust side of theimpeller 3 through the gap between theintake portion 41 and theside plate 32. In the vicinity of thecurl end portion 432 of thecentrifugal blower 1A according to the present embodiment, air on the exhaust side of theimpeller 3 flows back to the intake side of theimpeller 3 through the gap between theintake portion 41 and theside plate 32.
The other configuration is the same as that of the first embodiment. Therefore, thecentrifugal blower 1A can obtain the effects obtained by the same configuration as the first embodiment. In thecentrifugal blower 1A according to the present embodiment, in the region SE1 extending from thecurl start portion 431 to theintermediate portion 433 of theside wall portion 43 in the rotation direction CD, the difference in size between the radius of a portion of the innerwall surface portion 412 of theair intake portion 41 having the smallest radius of the innerwall surface portion 412 and the radius of a portion of the innerwall surface portion 323 of theside plate 32 having the smallest radius of the innerwall surface portion 323 is equal to or smaller than the thickness Th of theside plate 32.
Accordingly, in the region SE1 where turbulence of the air flow is likely to occur, extending from thecurl start portion 431 of theside wall portion 43 to theintermediate portion 433 in the rotational direction CD, there is substantially no head difference in the radial direction RD between the innerwall surface portion 412 of theair intake portion 41 and the innerplate surface portion 323 of theside plate 32. Thereby, since the air flowing along theair intake portion 41 can smoothly flow to theside plate 32 in the region of thehousing 4 where the turbulent flow of the air flow is likely to be generated, it is possible to reduce noise in thecentrifugal blower 1A and improve the blowing efficiency.
In thecentrifugal blower 1A of the present embodiment, in the vicinity of thecurl end portion 432 of theside wall portion 43, the difference in size between the portion having the smallest radius in theair intake portion 41 and the portion having the smallest radius in theside plate 32 is larger than the difference in size in the region extending from thecurl start portion 431 to theintermediate portion 433 in the rotational direction CD. A dimensional difference between a portion having the smallest radius in theintake portion 41 and a portion having the smallest radius in theside plate 32 in a cross section taken along the axial direction including therotary shaft 20 and thecurl end portion 432 is larger than the dimensional difference in a cross section taken along the axial direction including therotary shaft 20 and a portion of theregion SE 1.
In the vicinity of thecurl end portion 432 of theside wall portion 43, there is a level difference in the radial direction RD between the innerwall surface portion 412 of theintake portion 41 and the innerplate surface portion 323 of theside plate 32. Therefore, the flow of air flowing to the exhaust side of theimpeller 3 through the gap in the axial direction between theintake portion 41 and theside plate 32 in the vicinity of theintake portion 41 can be restricted. In thecentrifugal blower 1A of the present embodiment, noise caused by collision of the air flows in the vicinity of thecurl end portion 432 of theside wall portion 43 can be restricted. Thus, thecentrifugal blower 1A of the present embodiment can reduce noise compared to thecentrifugal blower 1 of the first embodiment.
In the vicinity of thecurl end portion 432 of thecentrifugal blower 1A according to the present embodiment, the difference in size between the radius of a portion of the innerwall surface portion 412 of theair intake portion 41 having the smallest radius of the innerwall surface portion 412 and the radius of a portion of the innerplate surface portion 323 of theside plate 32 having the smallest radius of the innerplate surface portion 323 is larger than the thickness Th of theside plate 32.
Accordingly, in the vicinity of thecurl end portion 432 of theside wall portion 43, a difference in the radial direction RD between the innerwall surface portion 412 of theintake portion 41 and the innerplate surface portion 323 of theside plate 32 is larger than the thickness Th of theside plate 32. Therefore, the flow of air flowing to the exhaust side through theintake portion 41 and theside plate 32 near the surface of theintake portion 41 can be further restricted.
In the present embodiment, an example is explained in which, in the vicinity of thecurl end portion 432, the difference in size between the radius of a portion having the smallest radius in the innerwall surface portion 412 and the radius of a portion having the smallest radius in the innerpanel surface portion 323 is larger than the thickness Th of theside panel 32. However, the present invention is not limited thereto. For example, the difference in size between the radius of the portion having the smallest radius in the innerwall surface portion 412 and the radius of the portion having the smallest radius in the innerpanel surface portion 323 may be equal to or smaller than the thickness Th of theside panel 32 as long as there is a head difference in the radial direction between theintake portion 41 and theside panel 32 in the vicinity of thecurl end portion 432.
While the present invention has been fully described in connection with the preferred embodiments and with reference to the accompanying drawings, it is to be noted that various changes and modifications will be apparent to those skilled in the art.
In the above-described embodiments, thecentrifugal blower 1, 1A is used in the air blowing unit of the air conditioner for a vehicle. However, the present invention is not limited thereto. For example, thecentrifugal blower 1, 1A may be used in a seat air conditioner of a vehicle. In addition, thecentrifugal blower 1, 1A is not limited to use for vehicles, but may be used in stationary air conditioners or ventilators.
In the above-described embodiment, theimpeller 3 is formed of a multi-blade centrifugal fan (sirocco fan) in which blades bent in the forward direction are used as theblades 31, but theimpeller 3 is not limited thereto. Theimpeller 3 may be formed of a turbo fan using backward curved blades as eachblade 31.
In the above embodiment, thecase 4 is a curl-shaped case, however, thecase 4 is not limited thereto. A 360 degree blow-off type housing 4 may be employed. When thehousing 4 is configured by a 360-degree blow-off type housing, the direction of air flowing through the gap between theair intake portion 41 and theside plate 32 is less likely to change to the rotation direction of therotation shaft 20. Therefore, when thehousing 4 is constructed of a 360-degree blow-off type housing, it is preferable that there is substantially no head difference between theair intake portion 41 and theside plate 32 in the entire rotational direction, as in the first to third embodiments.
The radius Db of thedownstream end portion 411 of theair intake portion 41 may preferably be equal to or smaller than the radius Ds of thefirst end portion 321 of theside plate 32, as in the first to third embodiments. However, the present invention is not limited thereto. The radius Db of thedownstream end portion 411 may be set to a size larger than the radius Ds of thefirst end portion 321 as long as the size difference between the radius size of the minimum radius of the innerwall surface portion 412 and the radius size of the minimum radius of the innerpanel surface portion 323 is equal to or smaller than the thickness Th.
A tangent to thedownstream end portion 411 of theintake portion 41 and a tangent to thefirst end portion 321 of theside plate 32 may both be preferably set to extend in a direction along the axial direction AX of therotary shaft 20. However, the present invention is not limited thereto. A tangent to thedownstream end portion 411 of theintake portion 41 and a tangent to thefirst end portion 321 of theside plate 32 may both extend in a direction slightly inclined with respect to the axial direction AX of therotary shaft 20.
In the second and third embodiments, thedeflector channel 5 is provided between theintake portion 41 and theside plate 32. However, the present invention is not limited thereto. For example, a backflow restricting portion, such as a labyrinth seal, may be provided between theintake portion 41 and theside plate 32.
Except where expressly specified or clearly necessary in principle, it is needless to say that no components in the embodiments described above are necessary.
In the above-described embodiments, when the number, value, amount, numerical range, and the like of components are mentioned, it is not intended to be limited to a specific number except in a case where it is obvious that the components are limited to the specific number in principle or where it is necessary to explicitly describe.
Further, in the above-described embodiments, when the shape, positional relationship, and the like of the components are mentioned, it is not intended to be limited to a specific shape or positional relationship except in the case where the components are apparently limited to the specific shape or positional relationship or are explicitly described as being necessary in principle.
According to the first aspect of some or all of the embodiments described above, in the centrifugal blower, the downstream end portion of the air intake portion and the upstream end portion of the side plate are spaced apart from each other in the axial direction of the rotary shaft and face each other in the axial direction. A dimension difference between a radius of a portion of the inner wall surface portion having the smallest radius and a radius of a portion of the inner panel surface portion having the smallest radius is set to be equal to or smaller than a thickness of the side panel.
According to the second aspect, the radius of a portion of the inner wall surface portion having the smallest radius is set to a size equal to or smaller than the radius of a portion of the inner panel surface portion. Accordingly, the air flowing along the intake portion can be restricted from colliding with the side panel.
According to a third aspect, a casing of a centrifugal blower is configured by a scroll-shaped casing including a side wall portion defining an air flow passage having a spiral shape outside an impeller. In at least a part of a region extending from the curl starting portion to the intermediate portion in the rotational direction, a dimensional difference between a radius of a portion having a smallest radius in the inner wall surface portion and a radius of a portion having a smallest radius in the inner panel surface portion is set to be equal to or smaller than a thickness of the side panel.
Accordingly, in at least a part of the region extending from the curl start portion to the intermediate portion in the rotational direction, there is substantially no head difference in the radial direction between the inner wall surface portion and the inner panel surface portion, and the at least a part may generate turbulence of the air flow. Since the air flowing along the air intake portion can smoothly flow to the side plate in a portion of the case where turbulence may be generated, it is possible to reduce noise and improve blowing efficiency.
According to the fourth aspect, in the vicinity of the curl ending portion of the side wall portion, the difference in size between the portion having the smallest radius in the air intake portion and the portion having the smallest radius in the side plate is larger than the difference in size in the region extending from the curl starting portion to the intermediate portion in the rotational direction.
Accordingly, in the vicinity of the curl finishing portion of the side wall portion, a difference in level in the radial direction is provided between the inner wall surface portion of the air intake portion and the inner plate surface portion of the side plate. Therefore, it is possible to reduce the flow of the air near the surface of the intake portion to the exhaust side of the impeller through the gap between the intake portion and the side plate. Since noise in the vicinity of the curl end portion caused by collision of the air flow can be restrained, noise in the centrifugal blower can be further reduced.
According to the fifth aspect, in the portion of the side panel and the intake portion corresponding to the curl finish portion of the side wall portion, the difference in size between the radius of the portion having the smallest radius in the inner wall surface portion and the radius of the portion having the smallest radius in the inner panel surface portion is larger than the thickness of the side panel.
Accordingly, a position difference having a dimension larger than the thickness of the side plate in the radial direction is present in the vicinity of the curl end portion. Therefore, the airflow near the surface of the intake portion is further restricted from flowing to the exhaust side of the impeller through the gap between the intake portion and the side plate.
According to the sixth aspect, the deflecting passage is provided between the air intake portion and the side plate. The deflecting passage deflects a backflow flowing from a gap between the downstream end portion and the upstream end portion to an intake side of the impeller so as to be closer to a main flow flowing from the intake portion to the intake side of the impeller. When the deflecting portion deflects the backflow so as to be closer to the main flow, interference of the main flow and the backflow can be restricted. Since the air flowing along the air intake portion becomes able to smoothly flow to the side plate, noise can be reduced, and the blowing efficiency can be improved.
According to the seventh aspect, a specific configuration of the deflection channel is explained. Specifically, the deflection channel includes a gap between the downstream end and the upstream end. The downstream end portion is inclined toward the inner wall surface portion so that a radius of a portion facing the upstream end portion becomes smaller as the portion becomes closer to the upstream end portion.
If the facing surface of the upstream end facing the downstream end portion extends in the radial direction of the rotary shaft, the cross-sectional area of the gap between the upstream end portion and the downstream end portion becomes smaller toward the downstream. In this case, the backflow flowing in the gap between the upstream end portion and the downstream end portion may be disturbed.
In view of this, the upstream end portion is inclined such that the radius of a portion of the upstream end portion facing the downstream end portion becomes larger as the upstream end portion becomes closer to the downstream end portion. Accordingly, interference of the main flow and the backflow can be restricted because of turbulence of the backflow in the gap between the upstream end portion and the downstream end portion. Since the air flowing along the air intake portion becomes able to smoothly flow to the side plate, noise can be reduced, and the blowing efficiency can be improved.
Additional advantages and modifications will readily appear to those skilled in the art. Therefore, the broader concepts of the invention are not limited to the specific details, representative apparatus, and illustrative examples shown and described.

Claims (3)

CN202010338092.XA2015-12-162016-12-14Centrifugal blowerPendingCN111503019A (en)

Applications Claiming Priority (5)

Application NumberPriority DateFiling DateTitle
JP2015-2454282015-12-16
JP20152454282015-12-16
JP2016-0707222016-03-31
JP2016070722AJP6634929B2 (en)2015-12-162016-03-31 Centrifugal blower
CN201611153891.XACN106884804B (en)2015-12-162016-12-14 Centrifugal blower

Related Parent Applications (1)

Application NumberTitlePriority DateFiling Date
CN201611153891.XADivisionCN106884804B (en)2015-12-162016-12-14 Centrifugal blower

Publications (1)

Publication NumberPublication Date
CN111503019Atrue CN111503019A (en)2020-08-07

Family

ID=59079491

Family Applications (2)

Application NumberTitlePriority DateFiling Date
CN201611153891.XAExpired - Fee RelatedCN106884804B (en)2015-12-162016-12-14 Centrifugal blower
CN202010338092.XAPendingCN111503019A (en)2015-12-162016-12-14Centrifugal blower

Family Applications Before (1)

Application NumberTitlePriority DateFiling Date
CN201611153891.XAExpired - Fee RelatedCN106884804B (en)2015-12-162016-12-14 Centrifugal blower

Country Status (2)

CountryLink
JP (1)JP6634929B2 (en)
CN (2)CN106884804B (en)

Families Citing this family (4)

* Cited by examiner, † Cited by third party
Publication numberPriority datePublication dateAssigneeTitle
JP6635077B2 (en)2017-03-132020-01-22株式会社デンソー Centrifugal blower
WO2019082392A1 (en)*2017-10-272019-05-02三菱電機株式会社Centrifugal blower, air blower device, air conditioning device, and refrigeration cycle device
JP6844526B2 (en)*2017-12-262021-03-17パナソニックIpマネジメント株式会社 Multi-wing centrifugal fan
JP7130061B2 (en)*2018-12-272022-09-02三菱電機株式会社 Centrifugal blowers, blowers, air conditioners and refrigeration cycle devices

Citations (10)

* Cited by examiner, † Cited by third party
Publication numberPriority datePublication dateAssigneeTitle
US5511939A (en)*1992-02-191996-04-30Nippondenso Co., Ltd.Multi-blades fan device
JP2001115997A (en)*1999-10-142001-04-27Matsushita Seiko Co LtdMulti-blade fan
US20020106274A1 (en)*2001-02-072002-08-08Siegfried SumserCompressor, in particular for an internal combustion engine
JP2006207595A (en)*2006-04-282006-08-10Keihin Corp Centrifugal blower
JP2007046471A (en)*2005-08-052007-02-22Calsonic Kansei CorpCentrifugal multiple blade blower
JP2008267265A (en)*2007-04-192008-11-06Toshiba Home Technology CorpBlower device
JP2008280928A (en)*2007-05-102008-11-20Denso CorpBlower
JP2011226408A (en)*2010-04-212011-11-10Daikin Industries LtdMulti-blade fan
CN103958900A (en)*2011-11-282014-07-30日立空调·家用电器株式会社Multi-blade fan and air conditioner provided with same
KR20140139316A (en)*2013-05-272014-12-05한라비스테온공조 주식회사Blower of air conditioning system for automotive vehicles

Family Cites Families (9)

* Cited by examiner, † Cited by third party
Publication numberPriority datePublication dateAssigneeTitle
US3824028A (en)*1968-11-071974-07-16Punker GmbhRadial blower, especially for oil burners
DE4009869A1 (en)*1990-03-281991-10-02Mulfingen Elektrobau Ebm RADIAL BLOWER WITH INTERNAL SPIRAL
JPH07305696A (en)*1994-05-101995-11-21Daikin Ind Ltd Centrifugal blower
US5478201A (en)*1994-06-131995-12-26Carrier CorporationCentrifugal fan inlet orifice and impeller assembly
WO2006133577A1 (en)*2005-06-162006-12-21Egger Pumps Technology AgCentrifugal pump
JP5574628B2 (en)*2009-02-172014-08-20山洋電気株式会社 Centrifugal fan
JP5310404B2 (en)*2009-09-032013-10-09パナソニック株式会社 Multi-blade blower
EP2545766B1 (en)*2011-07-142014-07-09Black & Decker Inc.A debris blowing and/or vacuum appliance
TWI539082B (en)*2013-12-022016-06-21建準電機工業股份有限公司Gas blower

Patent Citations (10)

* Cited by examiner, † Cited by third party
Publication numberPriority datePublication dateAssigneeTitle
US5511939A (en)*1992-02-191996-04-30Nippondenso Co., Ltd.Multi-blades fan device
JP2001115997A (en)*1999-10-142001-04-27Matsushita Seiko Co LtdMulti-blade fan
US20020106274A1 (en)*2001-02-072002-08-08Siegfried SumserCompressor, in particular for an internal combustion engine
JP2007046471A (en)*2005-08-052007-02-22Calsonic Kansei CorpCentrifugal multiple blade blower
JP2006207595A (en)*2006-04-282006-08-10Keihin Corp Centrifugal blower
JP2008267265A (en)*2007-04-192008-11-06Toshiba Home Technology CorpBlower device
JP2008280928A (en)*2007-05-102008-11-20Denso CorpBlower
JP2011226408A (en)*2010-04-212011-11-10Daikin Industries LtdMulti-blade fan
CN103958900A (en)*2011-11-282014-07-30日立空调·家用电器株式会社Multi-blade fan and air conditioner provided with same
KR20140139316A (en)*2013-05-272014-12-05한라비스테온공조 주식회사Blower of air conditioning system for automotive vehicles

Also Published As

Publication numberPublication date
JP2017110626A (en)2017-06-22
CN106884804A (en)2017-06-23
JP6634929B2 (en)2020-01-22
CN106884804B (en)2020-08-25

Similar Documents

PublicationPublication DateTitle
CN107850083B (en) Blower and air conditioner equipped with the same
JP4946396B2 (en) Centrifugal blower
US20100092286A1 (en)Axial flow fan
CN112840128B (en)Diagonal flow ventilator with optimized diagonal flow impeller
CN111656019B (en)Axial flow blower
CN111503019A (en)Centrifugal blower
US10473113B2 (en)Centrifugal blower
JP3969354B2 (en) Centrifugal fan and its application
AU2007234497B2 (en)Multiblade centrifugal blower
JP7466683B2 (en) Multi-blade centrifugal blower
US7771169B2 (en)Centrifugal multiblade fan
JP5682751B2 (en) Multi-blade blower
US10995766B2 (en)Centrifugal blower
CN116648561B (en) blower
JP7413973B2 (en) Blower
JP2019127865A (en)Centrifugal fan
CN117242265A (en)Fan, in particular radial fan or diagonal fan
JP7466707B2 (en) Centrifugal Blower
JP7487854B1 (en) Blower
US12025148B2 (en)Turbofan
JP4915791B2 (en) Centrifugal multiblade blower
JP2010025030A (en)Centrifugal blower
JP6887073B2 (en) Multi-wing centrifugal fan
JP6771589B2 (en) Centrifugal blower
JP2017160807A (en) Blower

Legal Events

DateCodeTitleDescription
PB01Publication
PB01Publication
SE01Entry into force of request for substantive examination
SE01Entry into force of request for substantive examination
RJ01Rejection of invention patent application after publication
RJ01Rejection of invention patent application after publication

Application publication date:20200807


[8]ページ先頭

©2009-2025 Movatter.jp