








技术领域technical field
本发明涉及模拟数字转换器(analog-to-digital converter,ADC),特别涉及一种用于交替进行信号转换与比较器偏移校正并可同时减少空闲音产生的三角积分模拟数字转换器(sigma-delta ADC)。The present invention relates to an analog-to-digital converter (analog-to-digital converter, ADC), in particular to a delta-sigma analog-to-digital converter (sigma) for alternately performing signal conversion and comparator offset correction and simultaneously reducing idle tones. -delta ADC).
背景技术Background technique
三角积分模拟数字转换器的应用相当广泛,但其内部的比较器常因工艺差异(process deviation)而存在信号偏移(offset)的情况。若不校正三角积分模拟数字转换器的比较器偏移,将会严重影响三角积分模拟数字转换器的信噪比(signal-to-noise,SNR),以及总谐波失真加噪音(TotalHarmonic Distortion plus Noise,THDN)等相关效能。Delta-sigma analog-to-digital converters are widely used, but their internal comparators often have signal offsets due to process deviation. If the comparator offset of the delta-sigma ADC is not corrected, the signal-to-noise ratio (signal-to-noise, SNR) and total harmonic distortion plus noise (TotalHarmonic Distortion plus Noise, THDN) and other related performance.
另外,传统的三角积分模拟数字转换器的电路特性也容易产生空闲音(idletone)的问题。现有技术通常是在三角积分模拟数字转换器中设置额外的抖动信号产生电路来抑制空闲音的产生,但也因此会增加电路的复杂度。In addition, the circuit characteristic of the traditional delta-sigma analog-to-digital converter is also prone to produce the problem of idle tone (idle tone). In the prior art, an additional jitter signal generating circuit is usually provided in the delta-sigma analog-to-digital converter to suppress generation of idle tones, but this also increases the complexity of the circuit.
发明内容Contents of the invention
有鉴于此,如何用精简的电路减轻或消除三角积分模拟数字转换器的比较器偏移并同时减少空闲音产生,实为有待解决的问题。In view of this, how to reduce or eliminate the comparator offset of the delta-sigma analog-to-digital converter with a simplified circuit and at the same time reduce the generation of idle tones is a problem to be solved.
本说明书提供一种三角积分模拟数字转换器的实施例,其包含:一减法器,设置成从一模拟输入信号中减去一反馈信号;一回路滤波器,耦接于该减法器,设置成处理该减法器的输出信号以产生一滤波信号;一第一信号比较电路,耦接于该回路滤波器与一第一参考信号,设置成可选择性地操作在一偏移检测模式或一信号比较模式,其中,该第一信号比较电路操作在该偏移检测模式时会产生与该滤波信号及该第一参考信号的相对大小无关的一第一误差信号,而操作在该信号比较模式时则会产生与该滤波信号及该第一参考信号的相对大小对应的一第一比较信号;一偏移校正电路,耦接于该第一信号比较电路,设置成依据该第一误差信号校正该第一信号比较电路的偏移情况,并控制该第一信号比较电路在该偏移检测模式与该信号比较模式之间交替切换;以及一数字模拟转换器,耦接于该第一信号比较电路的输出端与该减法器,设置成依据该第一比较信号产生该反馈信号。This specification provides an embodiment of a delta-sigma analog-to-digital converter, which includes: a subtractor configured to subtract a feedback signal from an analog input signal; a loop filter coupled to the subtractor configured to processing the output signal of the subtractor to generate a filtered signal; a first signal comparison circuit, coupled to the loop filter and a first reference signal, configured to selectively operate in an offset detection mode or a signal A comparison mode, wherein the first signal comparison circuit generates a first error signal independent of the relative magnitudes of the filtered signal and the first reference signal when operating in the offset detection mode, and when operating in the signal comparison mode A first comparison signal corresponding to the relative magnitudes of the filtered signal and the first reference signal will be generated; an offset correction circuit, coupled to the first signal comparison circuit, is configured to correct the first error signal according to the first error signal Offset of the first signal comparison circuit, and control the first signal comparison circuit to alternately switch between the offset detection mode and the signal comparison mode; and a digital-to-analog converter coupled to the first signal comparison circuit The output terminal of the subtractor is set to generate the feedback signal according to the first comparison signal.
上述实施例的优点之一,是偏移校正电路可有效校正第一信号比较电路的信号偏移情况,所以能改善三角积分模拟数字转换器的整体效能。One of the advantages of the above embodiment is that the offset correction circuit can effectively correct the signal offset of the first signal comparison circuit, so the overall performance of the delta-sigma analog-to-digital converter can be improved.
上述实施例的另一优点,是偏移校正电路在进行第一信号比较电路的偏移校正时,可同时抑制空闲音的产生,因此无需设置额外的抖动信号产生电路,所以能简化三角积分模拟数字转换器的电路架构。Another advantage of the above embodiment is that the offset correction circuit can suppress the generation of idle tones at the same time when performing the offset correction of the first signal comparison circuit, so there is no need to set an additional jitter signal generation circuit, so the delta-sigma simulation can be simplified Circuit architecture of a digitizer.
本发明的其他优点将搭配以下的说明和附图进行更详细的解说。Other advantages of the present invention will be explained in more detail with the following description and accompanying drawings.
附图说明Description of drawings
图1为本发明第一实施例的三角积分模拟数字转换器简化后的功能方框图。FIG. 1 is a simplified functional block diagram of a delta-sigma analog-to-digital converter according to the first embodiment of the present invention.
图2为图1中的三角积分模拟数字转换器简化后的第一实施例运行时序图。FIG. 2 is a simplified operational timing diagram of the first embodiment of the delta-sigma analog-to-digital converter in FIG. 1 .
图3为图1中的信号比较电路的第一实施例简化后的功能图。FIG. 3 is a simplified functional diagram of the first embodiment of the signal comparison circuit in FIG. 1 .
图4至图6为图2中的信号比较电路操作在不同模式时的简化后运行示意图。4 to 6 are simplified operational schematic diagrams of the signal comparison circuit in FIG. 2 operating in different modes.
图7为图1中的三角积分模拟数字转换器简化后的第二实施例运行时序图。FIG. 7 is a simplified operational timing diagram of the second embodiment of the delta-sigma analog-to-digital converter in FIG. 1 .
图8为图1中的信号比较电路的第二实施例简化后的功能图。FIG. 8 is a simplified functional diagram of the second embodiment of the signal comparison circuit in FIG. 1 .
图9为图1中的信号比较电路的第三实施例简化后的功能图。FIG. 9 is a simplified functional diagram of a third embodiment of the signal comparison circuit in FIG. 1 .
符号说明Symbol Description
100 三角积分模拟数字转换器(Sigma-Delta analog-to-digital converter)100 Sigma-Delta analog-to-digital converter
110 减法器(subtractor)110 Subtractor (subtractor)
120 回路滤波器(loop filter)120 Loop filter (loop filter)
130 第一信号比较电路(first signal comparing circuit)130 First signal comparing circuit (first signal comparing circuit)
132 第一比较器(first comparator)132 first comparator (first comparator)
134 第一信号选择电路(first signal selection circuit)134 The first signal selection circuit (first signal selection circuit)
136 第一补偿电路(first compensation circuit)136 The first compensation circuit (first compensation circuit)
140 第二信号比较电路(second signal comparing circuit)140 Second signal comparing circuit (second signal comparing circuit)
142 第二比较器(second comparator)142 second comparator (second comparator)
144 第二信号选择电路(second signal selection circuit)144 Second signal selection circuit (second signal selection circuit)
146 第二补偿电路(second compensation circuit)146 Second compensation circuit (second compensation circuit)
150 偏移校正电路(offset calibration circuit)150 offset correction circuit (offset calibration circuit)
160 数字模拟转换器(digital-to-analog converter)160 digital-to-analog converter
322 第一输入端(first input terminal)322 First input terminal (first input terminal)
324 第二输入端(second input terminal)324 Second input terminal (second input terminal)
326 第三输入端(third input terminal)326 Third input terminal (third input terminal)
328 第四输入端(fourth input terminal)328 Fourth input terminal (fourth input terminal)
342 第一开关电路(first switch circuit)342 First switch circuit
344 第二开关电路(second switch circuit)344 Second switch circuit
362 补偿电容(compensation capacitor)362 Compensation capacitor
364 第一调整电路(first adjusting circuit)364 First adjusting circuit (first adjusting circuit)
366 第二调整电路(second adjusting circuit)366 Second adjusting circuit (second adjusting circuit)
368 第三开关电路(third switch circuit)368 Third switch circuit
具体实施方式Detailed ways
以下将配合相关附图来说明本发明的实施例。在附图中,相同的标号表示相同或类似的元件或方法流程。Embodiments of the present invention will be described below in conjunction with related drawings. In the drawings, the same reference numerals represent the same or similar elements or method flows.
图1为本发明第一实施例的三角积分模拟数字转换器100简化后的功能方框图。三角积分模拟数字转换器100可用于将一模拟输入信号Sin转换成相应的数字输出信号。FIG. 1 is a simplified functional block diagram of a delta-sigma analog-to-
如图1所示,三角积分模拟数字转换器100包含一减法器110、一回路滤波器120、一或多个信号比较电路(例如,图1中的示例性第一信号比较电路130与第二信号比较电路140)、一偏移校正电路150、以及一数字模拟转换器160。As shown in FIG. 1 , the delta-sigma analog-to-
减法器110耦接于模拟输入信号Sin,设置成从模拟输入信号Sin中减去一反馈信号Sfb。The
回路滤波器120耦接于减法器110,设置成处理减法器110的输出信号以产生一滤波信号SF。The
第一信号比较电路130耦接于回路滤波器120与一第一参考信号VR1,设置成可选择性地操作在一偏移检测模式或一信号比较模式。第一信号比较电路130操作在偏移检测模式时,会产生与滤波信号SF及第一参考信号VR1的相对大小无关的一第一误差信号ERR1。而第一信号比较电路130操作在信号比较模式时,则会产生与滤波信号SF及第一参考信号VR1的相对大小对应的一第一比较信号CMP1。The first
第二信号比较电路140耦接于回路滤波器120与一第二参考信号VRn,同样设置成可选择性地操作在偏移检测模式或信号比较模式。第二信号比较电路140操作在偏移检测模式时,会产生与滤波信号SF及第二参考信号VRn的相对大小无关的一第二误差信号ERRn。而第二信号比较电路140操作在信号比较模式时,则会产生与滤波信号SF及第二参考信号VRn的相对大小对应的一第二比较信号CMPn。The second
偏移校正电路150耦接于第一信号比较电路130与第二信号比较电路140,设置成依据第一误差信号ERR1校正第一信号比较电路130的偏移情况,并依据第二误差信号ERRn校正第二信号比较电路140的偏移情况。此外,偏移校正电路150还设置成控制第一信号比较电路130在偏移检测模式与信号比较模式之间交替切换,并且控制第二信号比较电路140在偏移检测模式与信号比较模式之间交替切换。The
数字模拟转换器160耦接于第一信号比较电路130的输出端、第二信号比较电路140的输出端以及减法器110,设置成依据第一比较信号CMP1与第二比较信号CMPn产生前述的反馈信号Sfb。The digital-to-
实作上,前述的减法器110可利用各种基于运算放大器架构的合适电路、或是其他具有模拟信号相减功能的现有电路来实现。回路滤波器120可利用各种具有噪声整形的合适积分电路来实现。偏移校正电路150可利用各种能够判读数字信号、进行数字运算、与产生控制信号的合适电路来实现。数字模拟转换器160则可用各种合适的现有数字至模拟转换电路来实现。In practice, the
另外,可将三角积分模拟数字转换器100中的所有信号比较电路设计成具有类似的电路架构与运行方式。例如,在图1的实施例中,第一信号比较电路130包含有一第一比较器132、一第一信号选择电路134、以及一第一补偿电路136。相仿地,第二信号比较电路140包含有一第二比较器142、一第二信号选择电路144、以及一第二补偿电路146。In addition, all the signal comparison circuits in the delta-sigma analog-to-
在第一信号比较电路130中,第一比较器132包含有四个输入端,并设置成依据这四个输入端的信号产生相应的输出信号。第一信号选择电路134耦接于回路滤波器120、第一比较器132、偏移校正电路150、第一参考信号VR1、与一第一固定电位信号VF1,并设置成依据偏移校正电路150的控制,选择性切换第一比较器132的输入端所耦接的信号。第一补偿电路136耦接于第一比较器132与偏移校正电路150,设置成依据偏移校正电路150的控制,对第一比较器132的至少其中一个输入端进行信号补偿。前述的第一固定电位信号VF1可以是第一比较器132的共模电压信号或是其他具有固定电压值的参考信号。In the first
在第二信号比较电路140中,第二比较器142设置成比较其输入端的信号以产生输出信号。第二信号选择电路144耦接于回路滤波器120、第二比较器142、偏移校正电路150、第二参考信号VRn、与一第二固定电位信号VFn,并设置成依据偏移校正电路150的控制,选择性切换第二比较器142的输入端所耦接的信号。第二补偿电路146耦接于第二比较器142与偏移校正电路150,设置成依据偏移校正电路150的控制,对第二比较器142的至少其中一个输入端进行信号补偿。前述的第二固定电位信号VFn可以是第二比较器142的共模电压信号或是其他具有固定电压值的参考信号。In the second
实作上,前述的第一固定电位信号VF1与第二固定电位信号VFn两者可以具有相同的电压值,也可以分别具有不同的电压值。In practice, both the aforementioned first fixed potential signal VF1 and the second fixed potential signal VFn may have the same voltage value, or may have different voltage values respectively.
请参考图2,其所示出为图1中的三角积分模拟数字转换器100简化后的第一实施例运行时序图。Please refer to FIG. 2 , which shows a simplified operation timing diagram of the first embodiment of the delta-sigma analog-to-
在运行时,偏移校正电路150可依据一工作时钟CLK进行运行,并在工作时钟CLK的每一预定数量的工作周期中,控制每个信号比较电路切换至偏移检测模式至少一次、也切换至信号比较模式至少一次。前述的预定数量,实作上可以是一个、两个、三个、或是其他的固定整数。During operation, the offset
例如,如图2所示,偏移校正电路150可在工作时钟CLK的每一工作周期中,控制前述的第一信号比较电路130与第二信号比较电路140先同步切换至偏移检测模式运行一段时间(例如,时段T21)、然后再同步切换至信号比较模式运行一段时间(例如,时段T22)。在本实施例中,时段T21与时段T22的长度都是工作时钟CLK的半个工作周期。For example, as shown in FIG. 2 , the offset
在偏移检测模式中,第一信号选择电路134会将第一比较器132的输入端耦接至第一固定电位信号VF1,使第一比较器132产生前述的第一误差信号ERR1,而第二信号选择电路144则会将第二比较器142的输入端耦接至第二固定电位信号VFn,使第二比较器142产生前述的第二误差信号ERRn。In the offset detection mode, the first
在信号比较模式中,第一信号选择电路134会改为将第一比较器132的输入端分别耦接至滤波信号SF与第一参考信号VR1,使第一比较器132产生前述的第一比较信号CMP1,而第二信号选择电路144则会改为将第二比较器142的输入端分别耦接至滤波信号SF与第二参考信号VRn,使第二比较器142产生前述的第二比较信号CMPn。In the signal comparison mode, the first
偏移校正电路150可依据第一误差信号ERR1调整第一补偿电路136的信号补偿量,以校正第一比较器132的信号偏移情况。同样地,偏移校正电路150可依据第二误差信号ERRn调整第二补偿电路146的信号补偿量,以校正第二比较器142的信号偏移情况。The offset
由前述说明可知,前述三角积分模拟数字转换器100中的每个信号比较电路会间歇地进行滤波信号SF与相应参考信号的比较动作,以实现三角积分模拟数字转换器100的模拟至数字转换功能。It can be seen from the foregoing description that each signal comparison circuit in the aforementioned delta-sigma analog-to-
另一方面,前述三角积分模拟数字转换器100中的每个信号比较电路也会间歇地切换至偏移检测模式,使偏移校正电路150得以依据每个比较器在偏移检测模式时所输出的误差信号判断个别比较器的信号偏移情况,并控制前述的补偿电路校正相应比较器的信号偏移情况。On the other hand, each signal comparison circuit in the aforementioned delta-sigma analog-to-
前述三角积分模拟数字转换器100中的多个信号比较电路共同扮演一量化器(quantizer)的角色,而这些信号比较电路所产生的比较信号(例如,前述的第一比较信号CMP1与第二比较信号CMPn)共同形成三角积分模拟数字转换器100的数字输出信号,可供后级的数字处理电路(图中未示出)做进一步处理。A plurality of signal comparison circuits in the aforementioned delta-sigma analog-to-
前述回路滤波器120的运行可对三角积分模拟数字转换器100的量化噪声(quantization noise)进行噪声整形(noise shaping),将量化噪声移往人耳较无法感受的高频频段,以借此提升输出音频的品质。The operation of the
另外,同一个信号比较电路在每个工作周期中操作于偏移检测模式的时间长度,并不限定于要与操作于信号比较模式的时间长度相等。例如,在某些实施例中,可将同一个信号比较电路在每个工作周期中操作于偏移检测模式的时间长度,调整成比操作于信号比较模式的时间长度更长。又例如,在另一些实施例中,则可将同一个信号比较电路在每个工作周期中操作于偏移检测模式的时间长度,调整成比操作于信号比较模式的时间长度更短。In addition, the length of time that the same signal comparison circuit operates in the offset detection mode in each duty cycle is not limited to be equal to the time length of operation in the signal comparison mode. For example, in some embodiments, the length of time that the same signal comparison circuit operates in the offset detection mode can be adjusted to be longer than the time length of operation in the signal comparison mode in each duty cycle. For another example, in some other embodiments, the duration of the same signal comparison circuit operating in the offset detection mode in each working cycle can be adjusted to be shorter than the duration of operation in the signal comparison mode.
如前所述,三角积分模拟数字转换器100中的所有信号比较电路可设计成具有类似的电路架构与运行方式。以下将以第一信号比较电路130为例,并搭配图3至图5来进一步说明每个信号比较电路的实施方式与运行方式。As mentioned above, all signal comparison circuits in the delta-sigma analog-to-
图3为图1中的第一信号比较电路130的第一实施例简化后的功能图。图4为第一信号比较电路130操作在偏移检测模式时的简化后运行示意图。图5为第一信号比较电路130操作在信号比较模式时的简化后运行示意图。FIG. 3 is a simplified functional diagram of the first embodiment of the first
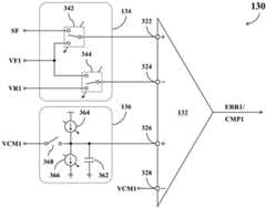
在图3的实施例中,第一信号比较电路130的第一比较器132包含有一第一输入端322、一第二输入端324、一第三输入端326、与一第四输入端328。第一信号选择电路134包含有一第一开关电路342与一第二开关电路344。第一补偿电路136包含有一补偿电容362、一第一调整电路364、一第二调整电路366、与一第三开关电路368。In the embodiment of FIG. 3 , the
在第一比较器132中,第一输入端322与第二输入端324耦接于第一信号选择电路134,第三输入端326耦接于第一补偿电路136,第四输入端328则耦接于一第一共模信号VCM1。第一比较器132设置成比较第一输入端322与第二输入端324的信号、并同时比较第三输入端326与第四输入端328的信号,以产生一相应的输出信号。第一比较器132的每个输入信号都可以用单端信号(single-ended signal)或差分式信号(differentialsignal)的形式实现。在运行时,前述的第一输入端322、第二输入端324、第三输入端326、与第四输入端328的信号会同时影响第一比较器132所产生的输出信号。实作上,第一比较器132可用各种合适的既有四输入比较器来实现,且第一共模信号VCM1可用第三输入端326与第四输入端328两者之间的共模电压(common mode voltage)信号来实现。In the
在第一信号选择电路134中,第一开关电路342耦接于回路滤波器120、第一固定电位信号VF1、与第一比较器132的一第一输入端322之间,并设置成可依据偏移校正电路150的控制,切换第一输入端322所耦接的信号。第二开关电路344耦接于第一参考信号VR1、第一固定电位信号VF1、与第一比较器132的一第二输入端324之间,并设置成可依据偏移校正电路150的控制,切换第二输入端324所耦接的信号。In the first
在第一补偿电路136中,补偿电容362的第一端耦接于第三输入端326,且补偿电容362的第二端耦接于一固定电位端(例如,接地端)。第一调整电路364耦接于补偿电容362的第一端,设置成在偏移校正电路150的控制下,对补偿电容362进行充电。第二调整电路366耦接于补偿电容362的第一端,设置成在偏移校正电路150的控制下,对补偿电容362进行放电。第三开关电路368设置成在偏移校正电路150的控制下,选择性地将第一比较器132的第三输入端326耦接至前述的第一共模信号VCM1。In the
实作上,前述的第一比较器132可用各种合适的既有四输入比较器来实现。第一共模信号VCM1可用第三输入端326与第四输入端328两者之间的共模电压(common modevoltage)信号来实现。第一开关电路342与第二开关电路344皆可用各种合适的晶体管组合来实现。补偿电容362可用各种合适的电容器或电路内部的寄生电容来实现。第三开关电路368可用各种合适的单一晶体管或晶体管组合来实现。第一调整电路364可用合适的电流源(current source)电路来实现。第二调整电路366则可用合适的电流槽(current sink)电路来实现。In practice, the aforementioned
如图4所示,在三角积分模拟数字转换器100开始运行时,偏移校正电路150可将第一信号比较电路130先设置成操作在偏移检测模式一段时间(例如,时段T21)。在这段期间,偏移校正电路150可控制第一开关电路342将第一输入端322耦接至第一固定电位信号VF1,控制第二开关电路344将第二输入端324耦接至第一固定电位信号VF1。在第一信号比较电路130第一次操作在偏移检测模式期间,偏移校正电路150还会导通(turn on)第三开关电路368以将第三输入端326耦接至前述的第一共模信号VCM1。因此,第一比较器132的第一输入端322与第二输入端324在这段期间内会形成短路,且第三输入端326与第四输入端328在这段期间内也会形成短路。在此情况下,第一比较器132会比较第一输入端322的信号与第二输入端324的信号,也会比较第三输入端326的信号与第四输入端328的信号,并根据前述的两种比较结果产生与滤波信号SF及第一参考信号VR1的相对大小无关的相应误差信号,亦即前述的第一误差信号ERR1。As shown in FIG. 4 , when the delta-
在第一信号比较电路130操作在偏移检测模式的期间(例如,时段T21),偏移校正电路150根据当次操作产生出的第一误差信号ERR1的极性控制第一调整电路364对补偿电容362进行充电、或是控制第二调整电路366对补偿电容362进行放电,以对第一比较器132的第三输入端326施加一补偿信号,以校正第一比较器132的信号偏移情况。在运行时,偏移校正电路150可将第一调整电路364每次的充电量设置为一固定量、和/或将第二调整电路366每次的放电量设置为一固定量。During the period when the first
接着,如图5所示,偏移校正电路150可将第一信号比较电路130切换至信号比较模式运行一段时间(例如,时段T22)。在这段期间,偏移校正电路150可控制第一开关电路342将第一输入端322耦接至滤波信号SF,控制第二开关电路344将第二输入端324耦接至第一参考信号VR1,并关断(turn off)第三开关电路368。另一方面,控制偏移校正电路150在这段期间会控制第一调整电路364与第二调整电路366停止对补偿电容362进行充电/放电运行。在信号比较模式中,第一比较器132会比较滤波信号SF与第一参考信号VR1,以产生与滤波信号SF及第一参考信号VR1的相对大小对应的一第一比较信号CMP1。在这段期间,第一补偿电路136也会持续对第三输入端326的信号进行补偿,所以第一比较器132所产生的第一比较信号CMP1的极性,在某种程度上也会反映出第三输入端326被施加补偿信号后的信号偏移情况。Next, as shown in FIG. 5 , the offset
之后,如图6所示,偏移校正电路150可将第一信号比较电路130切换至偏移检测模式运行一段时间(例如,时段T23)。在这段期间,偏移校正电路150对于第一信号选择电路134与第一补偿电路136的控制方式,大致上与前一次将第一信号比较电路130设置成偏移检测模式时类似。差别在于,偏移校正电路150在前述第一次将第一信号比较电路130设置成偏移检测模式时,会将第三开关电路368导通,但在那之后每次偏移校正电路150将第一信号比较电路130切换至偏移检测模式时,都会关断第三开关电路368。换言之,在时段T23中,第三开关电路368会处于关断状态。Afterwards, as shown in FIG. 6 , the offset
在时段T23中,第一比较器132的第一输入端322与第二输入端324同样会形成短路,但第三输入端326与第四输入端328并不会形成短路。在这段期间,第一补偿电路136会持续对第三输入端326进行信号补偿。In the time period T23 , the
同样地,第一比较器132在时段T23中会比较第一输入端322的信号与第二输入端324的信号,也会比较第三输入端326的信号与第四输入端328的信号,并根据前述的两种比较结果产生与滤波信号SF及第一参考信号VR1的相对大小无关的第一误差信号ERR1。Similarly, the
偏移校正电路150通过检测第一信号比较电路130于每次偏移检测模式中所输出的第一误差信号ERR1的极性来决定每次的补偿方向,例如当本次偏移检测模式产生的第一误差信号ERR1的极性为负,偏移校正电路150便控制第一调整电路364对补偿电容362进行充电;若本次偏移检测模式产生的第一误差信号ERR1的极性为正,偏移校正电路150便控制第二调整电路366对补偿电容362进行放电,从而调整对第一比较器132的第三输入端326所施加的信号补偿量,借此降低第一比较器132的信号偏移情况。The offset
接下来,在后续三角积分模拟数字转换器100进行模拟至数字转换的信号处理过程中,偏移校正电路150可反复进行前述时段T22与时段T23的运行,以间歇性检测并动态校正第一信号比较电路130中的第一比较器132的信号偏移情况。Next, during the signal processing process of the subsequent analog-to-digital conversion by the delta-sigma analog-to-
同样地,偏移校正电路150可采用前述方式,间歇性检测第二信号比较电路140中的第二比较器142的信号偏移情况,并动态控制第二补偿电路146对第二比较器142的输入端施加补偿信号,以校正第二比较器142的信号偏移情况。Similarly, the offset
由前述说明可知,偏移校正电路150会间歇性检测每个信号比较电路中的比较器的信号偏移情况,并动态控制个别补偿电路对相应比较器的输入端施加补偿信号,以校正三角积分模拟数字转换器100中的比较器的信号偏移情况。It can be seen from the foregoing description that the offset
由于不同比较器的信号偏移情况有所不同,所以在同一时间点中,前述的第一补偿电路136对第一比较器132的输入端所施加的补偿信号量,很可能会与前述的第二补偿电路146对第二比较器142的输入端所施加的补偿信号量不同。Since the signal offsets of different comparators are different, at the same time point, the amount of compensation signal applied by the aforementioned
另一方面,由于偏移校正电路150在每次信号比较电路操作在偏移检测模式时,都会对该信号比较电路中的补偿电路进行调整,且调整的方向可能与前一次相同、也可能与前一次不同。因此,同一个比较器所接收到的输入信号补偿量,并非固定不变,而是会随着时间呈现持续略微波动的变化,且其变化方式类似于噪声。On the other hand, because the offset
例如,前述第一补偿电路136对于第一比较器132的输入端施加补偿信号的运行,在某种程度上恰好可等效为是在第一比较器132的输入端施加类似噪声的抖动信号(dithering signal)。For example, the aforementioned operation of the first compensating
又例如,前述第二补偿电路146对于第二比较器142的输入端施加补偿信号的运行,在某种程度恰好上也可等效为是在第二比较器142的输入端施加类似噪声的抖动信号。As another example, the operation of the aforementioned
因此,在前述三角积分模拟数字转换器100的第一信号比较电路130与回路滤波器120之间的信号路径上,无需耦接任何传统的抖动信号产生电路(dither signalgenerating circuit),便可有效避免或减轻第一比较器132输出空闲音(idle tone)的可能性。Therefore, on the signal path between the first
同样地,在第二信号比较电路140与回路滤波器120之间的信号路径上,无需耦接任何传统的抖动信号产生电路,便可有效避免或减轻第二比较器142输出空闲音的可能性。Likewise, on the signal path between the second
在前述的实施例中,偏移校正电路150会将第一信号比较电路130与第二信号比较电路140同步切换至偏移检测模式,也会将第一信号比较电路130与第二信号比较电路140同步切换至信号比较模式。但这只是一示例性运行方式,而非局限本发明的实际实施方式。In the foregoing embodiments, the offset
例如,图7所示出为图1中的三角积分模拟数字转换器100简化后的第二实施例运行时序图。For example, FIG. 7 shows a simplified operational timing diagram of the second embodiment of the delta-sigma analog-to-
在图7的实施例中,偏移校正电路150会控制所有信号比较电路在相同的时段同步操作在信号比较模式,但会把不同信号比较电路操作在偏移检测模式的时段设置成不相同。例如,如图7所示,偏移校正电路150可在时段T71将第一信号比较电路130设置成操作在偏移检测模式,并在之后的时段T72才把第二信号比较电路140设置成操作在偏移检测模式。接着,在时段T73中,偏移校正电路150会控制所有信号比较电路都操作在信号比较模式。在另一实施例中,偏移校正电路150可在时段T71将第一信号比较电路130设置成操作在偏移检测模式,接着在时段T73中控制所有信号比较电路都操作在信号比较模式,并在下一个工作时钟周期中的时段T74才把第二信号比较电路140设置成操作在偏移检测模式。In the embodiment of FIG. 7 , the offset
接下来,偏移校正电路150可在时段T74将第一信号比较电路130设置成操作在偏移检测模式,并在之后的时段T75才把第二信号比较电路140设置成操作在偏移检测模式。Next, the offset
换言之,第一信号比较电路130与第二信号比较电路140被切换至偏移检测模式的时序可以有所不同,而且处于偏移检测模式的时间长度也可以有所不同。这样的运行方式可减轻偏移校正电路150在同一时段中的运算负担,可降低对于偏移校正电路150的运算能力要求,所以偏移校正电路150可用较精简的电路架构来实现。In other words, the timing at which the first
另外,在前述的实施例中,第一补偿电路136会包含有补偿电容362、第一调整电路364、第二调整电路366、与第三开关电路368。但这只是一示例性架构,而非局限本发明的实施方式。In addition, in the foregoing embodiments, the
例如,图8为图1中的第一信号比较电路130的第二实施例简化后的功能图。在图8的实施例中,第一补偿电路136中省略了前述的第三开关电路368。For example, FIG. 8 is a simplified functional diagram of the second embodiment of the first
在此情况下,偏移校正电路150可在第一次将第一信号比较电路130设置成偏移检测模式时,控制第一调整电路364对补偿电容362进行充电、或是控制第二调整电路366对补偿电容362进行放电,以对第一比较器132的第三输入端326施加一预定的信号补偿量。通过反复进行前述时段T22与时段T23的运行,同样可有效校正第一信号比较电路130中的第一比较器132的信号偏移情况,但达到稳态所需的时间可能会比前图3的实施例略长一些。In this case, the offset
又例如,图9为图1中的第一信号比较电路130的第三实施例简化后的功能图。在图9的实施例中,第一补偿电路136中省略了前述的第二调整电路366与第三开关电路368。For another example, FIG. 9 is a simplified functional diagram of the third embodiment of the first
在此情况下,偏移校正电路150可在第一次将第一信号比较电路130设置成偏移检测模式时,控制第一调整电路364对补偿电容362进行充电,以对第一比较器132的第三输入端326施加一预定的信号补偿量。通过反复进行前述时段T22与时段T23的运行,同样可校正第一信号比较电路130中的第一比较器132的信号偏移情况,但达到稳态的时间所需的时间可能会比前述图8的实施例稍长一些。In this case, the offset
请注意,三角积分模拟数字转换器100中的信号比较电路的数量并不局限于前述实施例。实作上,可依电路需求增加三角积分模拟数字转换器100中的信号比较电路数量。在某些实施例中,亦可将三角积分模拟数字转换器100中的信号比较电路的数量减少至只有一个,以简化整体电路的架构。Please note that the number of signal comparison circuits in the delta-sigma analog-to-
此外,各个信号比较电路中的比较器(例如,前述的第一比较器132、第二比较器142)的输入端数量,可依电路需求扩充到更多个数,而不局限于前述实施例中的4个。In addition, the number of input terminals of the comparators (for example, the aforementioned
在某些实施例中,亦可在前述第一比较器132的第四输入端328额外耦接一组与第一补偿电路136架构相同、但补偿方向相反的补偿电路。在某些实施例中,亦可将前述的第一补偿电路136改为耦接于第一比较器132的第四输入端328。在某些实施例中,亦可改为将第一比较器132的第三输入端326与第四输入端328同时耦接于能够提供类似前述第一补偿电路136的信号补偿功能的切换式电容(switched-capacitor)电路。同样地,其他信号比较电路中的比较器的输入端所耦接的补偿电路,亦可按照前述变化方式加以修改。In some embodiments, a set of compensation circuits having the same structure as the
由前述说明可知,偏移校正电路150可有效校正三角积分模拟数字转换器100中的每个信号比较电路的信号偏移情况,所以能改善三角积分模拟数字转换器100的整体效能。It can be known from the foregoing description that the offset
另外,偏移校正电路150控制前述补偿电路对相关比较器的输入端施加补偿信号的动作,恰好可等效为是在比较器的输入端施加类似噪声的抖动信号,所以能同时有效避免或减轻三角积分模拟数字转换器100中的比较器输出空闲音的可能性。因此,在三角积分模拟数字转换器100中无需设置额外的抖动信号产生电路,可简化电路的复杂度。In addition, the action of the offset
在说明书及权利要求中使用了某些词汇来指称特定的元件,而本领域内的技术人员可能会用不同的名词来称呼同样的元件。本说明书及权利要求并不以名称的差异来作为区分元件的方式,而是以元件在功能上的差异来作为区分的基准。在说明书及权利要求中所提及的“包含”为开放式的用语,应解释成“包含但不限定于”。另外,“耦接”一词在此包含任何直接及间接的连接手段。因此,若文中描述第一元件耦接于第二元件,则代表第一元件可通过电性连接或无线传输、光学传输等信号连接方式而直接地连接于第二元件,或通过其它元件或连接手段间接地电性或信号连接至第二元件。Certain terms are used in the specification and claims to refer to specific elements, but those skilled in the art may use different terms to refer to the same element. The specification and claims do not use the difference in name as the way to distinguish components, but the difference in function of the components as the basis for distinction. The "comprising" mentioned in the description and the claims is an open term and should be interpreted as "including but not limited to". In addition, the term "coupled" herein includes any direct and indirect means of connection. Therefore, if it is described that the first element is coupled to the second element, it means that the first element can be directly connected to the second element through electrical connection or signal connection means such as wireless transmission or optical transmission, or through other elements or connections. The means is indirectly electrically or signally connected to the second element.
在说明书中所使用的“和/或”的描述方式,包含所列举的其中一个项目或多个项目的任意组合。另外,除非说明书中特别指明,否则任何单数的用语都同时包含复数的含义。The description of "and/or" used in the specification includes any combination of one or more of the listed items. In addition, unless otherwise specified in the specification, any singular terms include plural meanings at the same time.
说明书及权利要求中的“电压信号”,在实作上可采用电压形式或电流形式来实现。说明书及权利要求中的“电流信号”,在实作上也可用电压形式或电流形式来实现。The "voltage signal" in the specification and claims can be implemented in the form of voltage or current in practice. The "current signal" in the specification and claims can also be realized in the form of voltage or current in practice.
以上仅为本发明的优选实施例,凡依本发明权利要求所做的等效变化与修改,皆应属本发明的涵盖范围。The above are only preferred embodiments of the present invention, and all equivalent changes and modifications made according to the claims of the present invention shall fall within the scope of the present invention.
| Application Number | Priority Date | Filing Date | Title |
|---|---|---|---|
| CN201910071250.7ACN111490783B (en) | 2019-01-25 | 2019-01-25 | Delta-sigma analog-to-digital converter |
| Application Number | Priority Date | Filing Date | Title |
|---|---|---|---|
| CN201910071250.7ACN111490783B (en) | 2019-01-25 | 2019-01-25 | Delta-sigma analog-to-digital converter |
| Publication Number | Publication Date |
|---|---|
| CN111490783A CN111490783A (en) | 2020-08-04 |
| CN111490783Btrue CN111490783B (en) | 2023-03-31 |
| Application Number | Title | Priority Date | Filing Date |
|---|---|---|---|
| CN201910071250.7AActiveCN111490783B (en) | 2019-01-25 | 2019-01-25 | Delta-sigma analog-to-digital converter |
| Country | Link |
|---|---|
| CN (1) | CN111490783B (en) |
| Publication number | Priority date | Publication date | Assignee | Title |
|---|---|---|---|---|
| DE102006004212A1 (en)* | 2006-01-30 | 2007-08-09 | Xignal Technologies Ag | Delta-sigma-analog-digital-converter, has calibrating device connected with quantizer, and designed to determine and compensate offset error of comparator at predetermined time point |
| TW200810371A (en)* | 2006-08-01 | 2008-02-16 | Verigy Pte Ltd Singapore | Asynchronous sigma-delta digital-analog converter |
| CN104753536A (en)* | 2013-12-27 | 2015-07-01 | 瑞萨电子株式会社 | A/d converter circuit and semiconductor integrated circuit |
| CN104868701A (en)* | 2014-02-21 | 2015-08-26 | 立锜科技股份有限公司 | Hybrid compensation circuit of power converter |
| TW201622361A (en)* | 2011-08-19 | 2016-06-16 | 路梅戴尼科技公司 | Time domain switched analog-to-digital converter apparatus and methods |
| CN106105039A (en)* | 2014-01-21 | 2016-11-09 | 联发科技(新加坡)私人有限公司 | Triangular integration modulator, analog-to-digital conversion circuit, trigonometric integral modulating method and analog-digital conversion method |
| Publication number | Priority date | Publication date | Assignee | Title |
|---|---|---|---|---|
| WO2007120400A1 (en)* | 2006-04-16 | 2007-10-25 | Intrinsix Corporation | Mismatch-shaping dynamic element matching systems and methods for multi-bit sigma-delta data converters |
| Publication number | Priority date | Publication date | Assignee | Title |
|---|---|---|---|---|
| DE102006004212A1 (en)* | 2006-01-30 | 2007-08-09 | Xignal Technologies Ag | Delta-sigma-analog-digital-converter, has calibrating device connected with quantizer, and designed to determine and compensate offset error of comparator at predetermined time point |
| TW200810371A (en)* | 2006-08-01 | 2008-02-16 | Verigy Pte Ltd Singapore | Asynchronous sigma-delta digital-analog converter |
| TW201622361A (en)* | 2011-08-19 | 2016-06-16 | 路梅戴尼科技公司 | Time domain switched analog-to-digital converter apparatus and methods |
| CN104753536A (en)* | 2013-12-27 | 2015-07-01 | 瑞萨电子株式会社 | A/d converter circuit and semiconductor integrated circuit |
| CN106105039A (en)* | 2014-01-21 | 2016-11-09 | 联发科技(新加坡)私人有限公司 | Triangular integration modulator, analog-to-digital conversion circuit, trigonometric integral modulating method and analog-digital conversion method |
| CN104868701A (en)* | 2014-02-21 | 2015-08-26 | 立锜科技股份有限公司 | Hybrid compensation circuit of power converter |
| Publication number | Publication date |
|---|---|
| CN111490783A (en) | 2020-08-04 |
| Publication | Publication Date | Title |
|---|---|---|
| US10158369B2 (en) | A/D converter | |
| US9385740B2 (en) | SAR ADC and method thereof | |
| US7289054B1 (en) | Parallel oversampling algorithmic A/D converter and method of using the same | |
| US6967611B2 (en) | Optimized reference voltage generation using switched capacitor scaling for data converters | |
| US9077358B2 (en) | Successive approximation AD converter and noise generator | |
| JP5257955B2 (en) | Analog-to-digital converter with variable gain and method thereof | |
| TWI517596B (en) | Feedforward delta-sigma modulator | |
| US10250277B1 (en) | SAR-type analog-digital converter using residue integration | |
| CN106209104A (en) | Analog-digital converter | |
| KR20060052937A (en) | Space Efficient Low Power Periodic A / D Converter | |
| TW201933787A (en) | Analog to digital converter and a control mehtod thereof | |
| JP6206738B2 (en) | AD converter | |
| JP2009260605A (en) | DeltaSigma MODULATOR AND DeltaSigma TYPE A/D CONVERTER | |
| US6489906B2 (en) | ΔΣ type A/D converter | |
| CN116405031A (en) | Analog-to-digital converters and chips | |
| TWI674770B (en) | Sigma-delta analog-to-digital converter capable of reducing idle tones while alternately conducting signal conversion and comparator offset calibration | |
| Brewer et al. | A 100dB SNR 2.5 MS/s output data rate/spl Delta//spl Sigma/ADC | |
| US20060125676A1 (en) | Analog-to-digital converter in which settling time of amplifier circuit is reduced | |
| JP4662826B2 (en) | Switch control circuit, ΔΣ modulation circuit, and ΔΣ modulation AD converter | |
| CN111490783B (en) | Delta-sigma analog-to-digital converter | |
| US20100052961A1 (en) | Delta sigma analog-to-digital converter | |
| US11743647B2 (en) | Multi-rate integrated circuit connectable to a sensor | |
| CN118900132A (en) | Integrator Circuit | |
| US9525431B1 (en) | Feed forward sigma-delta ADC modulator | |
| CN116405032A (en) | Noise shaping successive approximation type analog-to-digital converter and control method |
| Date | Code | Title | Description |
|---|---|---|---|
| PB01 | Publication | ||
| PB01 | Publication | ||
| SE01 | Entry into force of request for substantive examination | ||
| SE01 | Entry into force of request for substantive examination | ||
| GR01 | Patent grant | ||
| GR01 | Patent grant |