Movatterモバイル変換


[0]ホーム

URL:


CN111474813B - Projection optical machine and electronic equipment - Google Patents

Projection optical machine and electronic equipment
Download PDF

Info

Publication number
CN111474813B
CN111474813BCN202010355648.6ACN202010355648ACN111474813BCN 111474813 BCN111474813 BCN 111474813BCN 202010355648 ACN202010355648 ACN 202010355648ACN 111474813 BCN111474813 BCN 111474813B
Authority
CN
China
Prior art keywords
light
unit
display
grating
reflection
Prior art date
Legal status (The legal status is an assumption and is not a legal conclusion. Google has not performed a legal analysis and makes no representation as to the accuracy of the status listed.)
Active
Application number
CN202010355648.6A
Other languages
Chinese (zh)
Other versions
CN111474813A (en
Inventor
杜鹏
Current Assignee (The listed assignees may be inaccurate. Google has not performed a legal analysis and makes no representation or warranty as to the accuracy of the list.)
Guangdong Oppo Mobile Telecommunications Corp Ltd
Original Assignee
Guangdong Oppo Mobile Telecommunications Corp Ltd
Priority date (The priority date is an assumption and is not a legal conclusion. Google has not performed a legal analysis and makes no representation as to the accuracy of the date listed.)
Filing date
Publication date
Application filed by Guangdong Oppo Mobile Telecommunications Corp LtdfiledCriticalGuangdong Oppo Mobile Telecommunications Corp Ltd
Priority to CN202010355648.6ApriorityCriticalpatent/CN111474813B/en
Publication of CN111474813ApublicationCriticalpatent/CN111474813A/en
Application grantedgrantedCritical
Publication of CN111474813BpublicationCriticalpatent/CN111474813B/en
Activelegal-statusCriticalCurrent
Anticipated expirationlegal-statusCritical

Links

Images

Classifications

Landscapes

Abstract

Translated fromChinese

本公开是关于一种投影光机及电子设备,所述投影光机包括:机体、第一光源组件、第一数字微镜器件和第二数字微镜器件,第一光源组件设于机体;第一数字微镜器件设于机体,第一数字微镜器件包括多个第一反射单元,第一反射单元用于接收并反射第一光源组件所发射的光,机体上设置有第一镜头孔,所述第一镜头孔被配置为能够将多个所述第一反射单元中的第一显示反射单元所反射的光射出;所述第二数字微镜器件被配置为能够接收多个所述第一反射单元中的第一空置反射单元所反射的光,所述机体上设置有第二镜头孔,第二镜头孔被配置为能够将第二数字微镜器件反射的显示光射出。能够投影光机的电子设备的寿命及降低投影光机的能耗。

Figure 202010355648

The present disclosure relates to a light projector and electronic equipment. The projector includes: a body, a first light source assembly, a first digital micromirror device, and a second digital micromirror device, wherein the first light source assembly is arranged on the body; A digital micromirror device is arranged on the body, the first digital micromirror device includes a plurality of first reflection units, the first reflection units are used to receive and reflect the light emitted by the first light source assembly, and the body is provided with a first lens hole, The first lens hole is configured to be able to emit light reflected by a first display reflection unit in the plurality of first reflection units; the second digital micromirror device is configured to be able to receive a plurality of the first display reflection units. For the light reflected by the first empty reflecting unit in the reflecting unit, the body is provided with a second lens hole, and the second lens hole is configured to be able to emit the display light reflected by the second digital micromirror device. The life of the electronic equipment capable of projecting the light machine and reducing the power consumption of the light machine.

Figure 202010355648

Description

Projection optical machine and electronic equipment
Technical Field
The utility model relates to a wearable equipment technical field particularly, relates to a projection ray apparatus and electronic equipment.
Background
With the development and progress of technology, augmented reality devices are gradually starting to be applied. The augmented reality device needs to be capable of displaying a virtual image, and augmented reality display is achieved through superposition of the virtual image and a display environment.
At present, in order to enable an augmented reality device to display a virtual image by projection, a projector is generally disposed in the augmented reality device. However, the existing projection light machine generates heat seriously in the using process, and the service life of the augmented reality equipment can be reduced on the one hand by the heat generation. And on the other hand, the energy consumption of the augmented reality equipment is larger.
It is to be noted that the information disclosed in the above background section is only for enhancement of understanding of the background of the present disclosure, and thus may include information that does not constitute prior art known to those of ordinary skill in the art.
Disclosure of Invention
The present disclosure is directed to a projection optical engine and an electronic device, so as to overcome the problem of serious heat generation of the projection optical engine in the using process at least to a certain extent.
According to one aspect of the present disclosure, there is provided a projection light engine, comprising:
a body;
the first light source component is arranged on the machine body;
the first digital micro-mirror device is arranged on the machine body and comprises a plurality of first reflecting units, the first reflecting units are used for receiving and reflecting light emitted by the first light source component, a first lens hole is formed in the machine body, and the first lens hole is configured to enable light reflected by a first display reflecting unit in the plurality of first reflecting units to be emitted;
a second digital micromirror device configured to receive light reflected by a first empty reflective unit of the plurality of first reflective units, the body having a second lens hole configured to emit display light reflected by the second digital micromirror device;
the first display reflection unit is a first reflection unit in a display deflection state at the current moment, and the first vacant reflection unit is a first reflection unit in a vacant deflection state at the current moment.
According to another aspect of the disclosure, an electronic device is provided, which includes the above-mentioned projector light machine.
The projection optical machine provided by the embodiment of the disclosure, the second digital micromirror device is configured to be able to receive light reflected by the first vacant reflection unit in the plurality of first reflection units, and to emit the display light reflected by the second digital micromirror device out of the second lens hole, so that the light emitted by the first vacant reflection unit in the first digital micromirror device is received by the second digital micromirror device, and the light reflected by the first vacant reflection unit is used for displaying, thereby preventing the light of the first vacant reflection unit from being directly absorbed and converted into heat, and being able to reduce the heat productivity of the projection optical machine. On the one hand, the service life of the projection optical machine can be prolonged, on the other hand, the light utilization rate of the projection optical machine is improved, the energy consumption of the projection optical machine is reduced, and the energy is saved.
It is to be understood that both the foregoing general description and the following detailed description are exemplary and explanatory only and are not restrictive of the disclosure.
Drawings
The accompanying drawings, which are incorporated in and constitute a part of this specification, illustrate embodiments consistent with the present disclosure and together with the description, serve to explain the principles of the disclosure. It is to be understood that the drawings in the following description are merely exemplary of the disclosure, and that other drawings may be derived from those drawings by one of ordinary skill in the art without the exercise of inventive faculty.
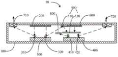
Fig. 1 is a schematic diagram of a first light projector according to an exemplary embodiment of the disclosure;
fig. 2 is a schematic diagram of a second light projector according to an exemplary embodiment of the disclosure;
FIG. 3 is a schematic diagram of a third light engine for projection according to an exemplary embodiment of the disclosure;
FIG. 4 is a diagram of a fourth light engine for projection provided in an exemplary embodiment of the present disclosure;
fig. 5 is a schematic view of a first light source assembly provided by exemplary embodiments of the present disclosure;
fig. 6 is a schematic view of another first light source assembly provided by exemplary embodiments of the present disclosure;
fig. 7 is a schematic diagram of an electronic device provided in an exemplary embodiment of the present disclosure;
fig. 8 is a schematic view of another electronic device provided in an exemplary embodiment of the present disclosure.
In the figure:
10. a projection light machine; 100. a body; 110. a first lens hole; 120. a second lens hole; 200. a first light source assembly; 210. a first light emitting unit; 220. a second light emitting unit; 230. a third light emitting unit; 240. a packaging layer; 250. a light directing film; 260. a light emitting unit; 270. a light adjusting plate; 271. a red light-transmitting region; 272. a green light-transmitting region; 273. a blue light-transmitting region; 300. a first digital micromirror device; 310. a first display reflection unit; 320. a first vacant reflection unit; 400. a second digital micromirror device; 410. a second vacant reflection unit; 420. a second display reflection unit; 500. a dimming component; 510. a mirror; 520. a light guide plate; 600. a second light source assembly; 710. a first lens assembly; 720. a second lens assembly;
20. a first optical waveguide; 21. a first incoupling grating; 22. a first out-coupling grating; 30. a second optical waveguide; 31. a second incoupling grating; 32. a second out-coupling grating; 40. and (5) installing the frame.
Detailed Description
Example embodiments will now be described more fully with reference to the accompanying drawings. Example embodiments may, however, be embodied in many different forms and should not be construed as limited to the embodiments set forth herein; rather, these embodiments are provided so that this disclosure will be thorough and complete, and will fully convey the concept of example embodiments to those skilled in the art. The same reference numerals in the drawings denote the same or similar structures, and thus their detailed description will be omitted.
Although relative terms, such as "upper" and "lower," may be used in this specification to describe one element of an icon relative to another, these terms are used in this specification for convenience only, e.g., in accordance with the orientation of the examples described in the figures. It will be appreciated that if the device of the icon were turned upside down, the element described as "upper" would become the element "lower". When a structure is "on" another structure, it may mean that the structure is integrally formed with the other structure, or that the structure is "directly" disposed on the other structure, or that the structure is "indirectly" disposed on the other structure via another structure.
The terms "a," "an," "the," "said" are used to indicate the presence of one or more elements/components/etc.; the terms "comprising" and "having" are intended to be inclusive and mean that there may be additional elements/components/etc. other than the listed elements/components/etc.; the terms "first," "second," and the like are used merely as labels, and are not limiting on the number of their objects. The dotted lines in the figure indicate light rays, and the arrows indicate the propagation direction of the light rays.
In an augmented reality device or a mixed reality device, a virtual image is usually displayed by a binocular imaging system, that is, two display devices are usually required for display. Therefore, the projection light machine in the augmented reality device or the mixed reality device also needs to be capable of realizing two paths of light emission.
The exemplary embodiment of the present disclosure first provides alight projector 10, as shown in fig. 1, thelight projector 10 includes: the liquid crystal display Device comprises abody 100, a firstlight source assembly 200, a first Digital Micromirror Device (DMD) 300 and asecond DMD 400, wherein the firstlight source assembly 200 is arranged in thebody 100; thefirst dmd 300 is disposed on thebody 100, thefirst dmd 300 includes a plurality of first reflecting units for receiving and reflecting light emitted from the firstlight source assembly 200, thebody 100 is disposed with afirst lens hole 110, and thefirst lens hole 110 is configured to emit light reflected by a firstdisplay reflecting unit 310 in the plurality of first reflecting units; the second digitalmicro-mirror device 400 is configured to receive light reflected by the firstempty reflection unit 320 of the plurality of first reflection units, thebody 100 is provided with asecond lens hole 120, and thesecond lens hole 120 is configured to emit display light reflected by the second digitalmicro-mirror device 400;
the firstdisplay reflection unit 310 is a first reflection unit in a display deflection state at the current time, and the firstidle reflection unit 320 is a first reflection unit in an idle deflection state at the current time. The first and second reflection units may each be a reflection unit at a pixel level.
In thelight projection engine 10 provided by the embodiment of the present disclosure, the second digitalmicro-mirror device 400 is configured to be capable of receiving light reflected by the firstempty reflection unit 320 in the plurality of first reflection units, and emit the display light reflected by the second digitalmicro-mirror device 400 out of thesecond lens hole 120, so that the light emitted by the firstempty reflection unit 320 in the firstdigital micro-mirror device 300 is received by the second digitalmicro-mirror device 400, and the light reflected by the firstempty reflection unit 320 is used for displaying, thereby preventing the light of the firstempty reflection unit 320 from being directly absorbed and converted into heat, and thus reducing the heat generation amount of thelight projection engine 10. On the one hand, the service life of the electronic equipment with the projectionoptical machine 10 can be prolonged, on the other hand, the light utilization rate of the projection optical machine is improved, the energy consumption of the projectionoptical machine 10 is reduced, and the energy is saved.
Further, as shown in fig. 2, thelight projector 10 provided in the embodiment of the present disclosure may further include: a secondlight source assembly 600 and alight adjusting assembly 500, wherein the secondlight source assembly 600 is disposed on thebody 100, and the secondlight source assembly 600 is used for providing a light source for the seconddigital micromirror device 400. Thelight adjustment assembly 500 is configured to transmit the light reflected by the first vacant reflectingunit 320 to the second digitalmicro-mirror device 400.
When the intensity of the light reflected by the firstdigital micromirror device 300 received by the seconddigital micromirror device 400 is insufficient, the secondlight source assembly 600 can be used for supplementing light to the seconddigital micromirror device 400, so that the influence on the display of the seconddigital micromirror device 400 due to insufficient light is avoided.
Further, as shown in fig. 3, the projectionoptical machine 10 provided in the embodiment of the present disclosure may further include afirst lens assembly 710 and asecond lens assembly 720, where thefirst lens assembly 710 is disposed in thefirst lens hole 110; thesecond lens assembly 720 is disposed in thesecond lens hole 120.
The light emitted from thefirst lens hole 110 is processed by thefirst lens assembly 710 to ensure the imaging quality of the light reflected by the firstdisplay reflection unit 310 of thefirst dmd 300. The light emitted from thesecond lens hole 120 is processed by thesecond lens assembly 720 to ensure the imaging quality of the light reflected by the seconddisplay reflection unit 420 of the second digitalmicro-mirror device 400.
Further, as shown in fig. 4, thelight projector 10 provided by the embodiment of the disclosure may further include alight absorption assembly 800, where thelight absorption assembly 800 is configured to absorb light reflected by the secondvacant reflection unit 410 in the plurality of second reflection units.
Thelight absorption assembly 800 can absorb the light reflected by the second emptyreflective unit 410 of the second digitalmicro-mirror device 400, so as to prevent the light reflected by the second emptyreflective unit 410 of the second digitalmicro-mirror device 400 from affecting the display.
The following will explain each part of theoptical projector 10 provided by the embodiment of the present disclosure in detail:
thehousing 100 may include a casing of theprojector engine 10 and a supporting structure disposed inside the casing, and thefirst lens hole 110 and thesecond lens hole 120 may be disposed in the casing. The firstlight source assembly 200, the firstdigital micro-mirror device 300, the secondlight source assembly 600, the second digitalmicro-mirror device 400, and thelight absorbing assembly 800 may be attached to a support structure.
The firstdigital micro-mirror device 300 may include a substrate and a plurality of first reflection units distributed in an array on the substrate, the first reflection units and the substrate being connected by hinges. The substrate is provided with a driving circuit, and the first reflecting unit can realize deflection through a driving signal provided by the driving circuit. Each first reflection unit is controlled independently, that is, each first reflection unit can rotate independently according to the driving signal.
A CMOS driving circuit is arranged on the substrate, and pulse signals are applied to the corresponding first reflection units through CMOS tubes. The CMOS driving circuit can apply a first driving signal and a second driving signal to the first reflecting unit, the first reflecting unit deflects relative to the substrate by an angle of + alpha when receiving the first driving signal, and the first reflecting unit deflects relative to the substrate by an angle of-alpha when receiving the second driving signal. For example, α may be 12 degrees.
For example, when the included angle between the first reflection unit and the substrate is + α, the first reflection unit may be considered to be in the display deflection state, the first reflection unit is the firstdisplay reflection unit 310, and thefirst lens hole 110 may be disposed on the reflection light path of the firstdisplay reflection unit 310. When the included angle between the second reflection unit and the substrate is- α, the first reflection unit can be considered to be in a vacant deflection state, and the first reflection unit is the firstvacant reflection unit 320.
It should be noted that the reflection optical path of the firstvacant reflection unit 320 may be a propagation path through which the firstvacant reflection unit 320 directly reflects the light emitted by the first light source. Or the above-mentioned reflected light path of the first vacant reflectingunit 320 may be a propagation path of light after the light emitted from the first light source reflected by the first vacant unit is changed by the optical element. For example, a traveling path of light reflected by the reflecting mirror 510 or a path of reflected light whose traveling direction is changed by the light guide plate 520.
It is noted that, in the embodiment of the disclosure, the firstdisplay reflection unit 310 refers to a first reflection unit at a first preset deflection angle at the current time, and the firstidle reflection unit 320 refers to a first reflection unit at a second preset deflection angle at the current time. That is, the display reflection unit and the vacant reflection unit are limitations on the operation state of the reflection unit, and it is not described that some of the first reflection units are fixed as the firstdisplay reflection unit 310, and some of the first reflection units are fixed as the firstvacant reflection unit 320.
The first reflective unit may include a highly reflective aluminum micromirror, which is connected to the substrate by a hinge. An elastic member, such as an elastic thimble, is disposed between the first reflecting unit and the substrate. When the first reflection unit is powered on, the first reflection unit deflects to present a display state or an idle state. When the first reflection unit is not powered on, the first reflection unit is reset through the elastic piece.
During projection, the intensity of light reflected by the firstdisplay reflection unit 310 can be controlled by the duration of the firstdisplay reflection unit 310 being in the display reflection state in a frame of picture, thereby realizing projection display of images with different gray scales.
The second digitalmicro-mirror device 400 may include a substrate on which a plurality of second reflection units are distributed in an array, and the second reflection units and the substrate are connected by hinges. The substrate is provided with a driving circuit, and the second reflecting unit can realize deflection through a driving signal provided by the driving circuit. Each second reflection unit is controlled independently, namely each second reflection unit can rotate independently according to the driving signal.
A CMOS driving circuit is arranged on the substrate, and pulse signals are applied to the corresponding second reflecting units through CMOS tubes. The CMOS driving circuit may apply a first driving signal and a second driving signal to the second reflecting unit, the second reflecting unit deflects by an angle of + alpha with respect to the substrate when receiving the first driving signal, and the second reflecting unit deflects by an angle of-alpha with respect to the substrate when receiving the second driving signal. For example, α may be 12 degrees.
For example, when the included angle between the second reflection unit and the substrate is + α, the second reflection unit may be considered to be in the display deflection state, the second reflection unit is the seconddisplay reflection unit 420, and thesecond lens hole 120 may be disposed on the reflection light path of the seconddisplay reflection unit 420. When the included angle between the second reflection unit and the substrate is- α, the second reflection unit may be considered to be in a vacant deflection state, the second reflection unit is the secondvacant reflection unit 410, and thelight absorption assembly 800 may be disposed on the reflection light path of the secondvacant reflection unit 410.
The reflection optical path of the secondvacant reflection unit 410 may be on the propagation path of the light reflected by the secondvacant reflection unit 410. Or the above-mentioned reflected light path of the second vacant reflectingunit 410 may be on the propagation path of the light after the light reflected by the second vacant unit is changed by the optical element. For example, a traveling path of light reflected by the reflecting mirror 510 or a path of reflected light whose traveling direction is changed by the light guide plate 520.
It is noted that in the embodiment of the disclosure, the seconddisplay reflection unit 420 refers to a second reflection unit at a first preset deflection angle at the current time, and the secondempty reflection unit 410 refers to a second reflection unit at a second preset deflection angle at the current time. That is, the display reflection unit and the vacant reflection unit are limitations on the operation state of the reflection unit, and it is not described that some of the plurality of second reflection units are fixed as the seconddisplay reflection unit 420, and some of the plurality of second reflection units are fixed as the secondvacant reflection unit 410.
The second reflective unit may include a highly reflective aluminum micromirror, which is connected to the substrate by a hinge. An elastic member, such as an elastic thimble, is disposed between the second reflecting unit and the substrate. When the second reflecting unit is powered on, the second reflecting unit deflects to present a display state or an idle state. When the second reflection unit is not powered on, the second reflection unit is reset through the elastic piece.
During projection, the intensity of light reflected by the seconddisplay reflection unit 420 can be controlled by the duration of the seconddisplay reflection unit 420 being in the display reflection state in a frame of picture, thereby realizing projection display of images with different gray scales.
Alight absorption assembly 800 may be disposed on the light path reflected by the secondempty reflection unit 410, where thelight absorption assembly 800 is configured to absorb the light reflected by the secondempty reflection unit 410, so as to prevent the light reflected by the secondempty reflection unit 410 from affecting the projection display.
It should be noted that the firstdigital micromirror device 300 and the seconddigital micromirror device 400 in the embodiments of the present disclosure are not limited to the number of digital micromirror devices. That is, in the disclosed embodiment, thelight projector 10 may include two or more digital micromirror devices. When theprojector 10 includes more digital micromirror devices, the next digital micromirror device of any two adjacent digital micromirror devices can display light by using the light reflected by the empty reflective unit of the previous digital micromirror device in the manner described above.
Since the binocular-corresponding display images need to enter the two glasses of the user respectively at the time of binocular vision imaging, the exit direction of the display light of the firstdisplay reflection unit 310 and the exit direction of the display light of the seconddisplay reflection unit 420 are the same (while facing the user direction). On this basis, theprojector engine 10 may further include: alight adjusting assembly 500, thelight adjusting assembly 500 being configured to transmit the light reflected by the first vacant reflectingunit 320 to the second digitalmicro-mirror device 400.
The light adjusting assembly may include a reflector 510 and a light guide plate 520, and the reflector 510 may be disposed on thebody 100, and is used for changing a propagation path of light reflected by the first vacant reflectingunit 320, so that the light reflected by the first vacant reflectingunit 320 can enter the second digitalmicro-mirror device 400 on the same side as the firstdigital micro-mirror device 300. The light guide plate 520 may be connected to thebody 100, and the light guide plate 520 is used for converting the light reflected by the first vacant reflectingunit 320 into uniform light to irradiate the second digitalmicro-mirror device 400. And the light guide plate 520 serves to mix the light emitted from the second light emitting assembly and the light reflected from the first vacant reflectingunit 320 into uniform light when the second light emitting assembly emits light.
Thefirst lens assembly 710 may include a plurality of combination optical mirrors that may adjust the exit form and the exit path of the light reflected by the firstdisplay reflection unit 310. Thesecond lens assembly 720 may include a plurality of combination optical mirrors that may adjust the exit form and the exit path of the light reflected by the seconddisplay reflection unit 420. For example, thefirst lens assembly 710 and thesecond lens assembly 720 may make the light reflected by the firstdisplay reflection unit 310 and the light reflected by the seconddisplay reflection unit 420 exit from the body in the same direction.
As shown in fig. 5, the firstlight source assembly 200 may include a firstlight emitting unit 210, a secondlight emitting unit 220, and a thirdlight emitting unit 230, the firstlight emitting unit 210 being provided to thebody 100, the firstlight emitting unit 210 being for emitting red light; the secondlight emitting unit 220 is disposed on thebody 100, and the secondlight emitting unit 220 is used for emitting green light; the thirdlight emitting unit 230 is disposed on thebody 100, and the thirdlight emitting unit 230 is used for emitting blue light. The firstlight emitting unit 210, the secondlight emitting unit 220, and the thirdlight emitting unit 230 may alternately emit light when in use.
Wherein the human eye has a delayed onset and release of light, and when the human eye is illuminated with periodic light pulses at a pulse repetition frequency sufficiently high, a perception of flicker is not perceived. Therefore, in thelight projector 10 provided by the embodiment of the present disclosure, projection can be realized through field sequential display. That is, one frame of picture is decomposed into three frames of red, green and blue, and the three frames are presented alternately and rapidly. Thereby realizing the display of different colors and avoiding the flicker of the picture.
The firstlight emitting unit 210 may be a red LED element, the secondlight emitting unit 220 may be a green LED element, and the thirdlight emitting unit 230 may be a blue LED element. When the first, second, and thirdlight emitting units 210, 220, and 230 sequentially cycle light emission, the light emission duration of the light emitting units of each color may be the same. Of course, in practical applications, when the firstlight emitting unit 210, the secondlight emitting unit 220, and the thirdlight emitting unit 230 sequentially emit light, the light emitting duration of each color light emitting unit may also be different, and this is not particularly limited in the embodiment of the present disclosure.
The firstlight source assembly 200 may further include anencapsulation layer 240 and alight guide film 250, and the firstlight emitting unit 210, the secondlight emitting unit 220, and the thirdlight emitting unit 230 may be sequentially arranged on theencapsulation layer 240. The light emitting directions of the firstlight emitting unit 210, the secondlight emitting unit 220 and the thirdlight emitting unit 230 are the same, thelight guiding film 250 is disposed on theencapsulation layer 240, and thelight guiding film 250 is located on the light emitting side of the firstlight emitting unit 210, the secondlight emitting unit 220 and the thirdlight emitting unit 230.
The secondlight source assembly 600 may include fourth, fifth, and sixth light-emitting units (the structure of the second light source assembly is similar to that of the first light source assembly, and the drawings of the second light source assembly are not provided in the embodiments of the present disclosure). A fourth light emitting unit is provided in thebody 100, the fourth light emitting unit being for emitting red light; the fifth light emitting unit is arranged on thebody 100 and is used for emitting green light; the sixth light emitting unit is disposed on thebody 100, and the sixth light emitting unit is configured to emit blue light. The fourth light emitting unit, the fifth light emitting unit and the sixth light emitting unit may alternately emit light when in use.
The fourth light emitting unit may be a red LED element, the fifth light emitting element may be a green LED element, and the sixth light emitting unit may be a blue LED element. When the fourth, fifth, and sixth light emitting units sequentially cycle light emission, the light emission duration of the light emitting unit of each color may be the same. Of course, in practical applications, when the fourth light emitting unit, the fifth light emitting unit and the sixth light emitting unit sequentially emit light circularly, the light emitting duration of each color light emitting unit may also be different, and this is not specifically limited in the embodiment of the present disclosure.
Among them, the firstlight emitting unit 210 may emit light in synchronization with the fourth light emitting unit, the secondlight emitting unit 220 may emit light in synchronization with the fifth light emitting unit, and the thirdlight emitting unit 230 may emit light in synchronization with the sixth light emitting unit.
It is understood that, as shown in fig. 6, the firstlight source assembly 200 may also include: alight emitting unit 260 and acolor palette 270, thelight emitting unit 260 being disposed on thebody 100, thelight emitting unit 260 emitting white light; thecolor palette 270 is disposed between thelight emitting unit 260 and thefirst dmd 300, thecolor palette 270 includes a redtransparent area 271, a greentransparent area 272, and a bluetransparent area 273, and thecolor palette 270 is rotatable such that light irradiated to thefirst dmd 300 through thecolor palette 270 exhibits periodic red, green, and blue colors.
Here, thepalette 270 may be rotated such that the red, green, and blue light-transmittingareas 271, 272, and 273 are sequentially opposite to the light-emittingunit 260. When the red light-transmittingarea 271 is opposite to the light-emittingunit 260, the white light emitted by the light-emittingunit 260 is converted into red light to irradiate the firstdigital micromirror device 300; when the greentransparent area 272 is opposite to thelight emitting unit 260, the white light emitted from thelight emitting unit 260 is converted into green light to be irradiated to the firstdigital micromirror device 300; when the blue light-transmittingregion 273 is opposite to the light-emittingunit 260, the white light emitted from the light-emittingunit 260 is converted into blue light to be irradiated to the firstdigital micromirror device 300.
The areas of the red, green and blue light-transmittingregions 271, 272, 273 may be the same in the light modulation panel, or the areas of the red, green and blue light-transmittingregions 271, 272, 273 may be different in the light modulation panel. In practical applications, the light modulation plate may also be provided with a light transmission region of another color, for example, a yellow light transmission region and a purple light transmission region, and the embodiments of the present disclosure are not limited thereto.
The second light emitting assembly may also include a light emitting unit and a color palette, the light emitting unit is disposed on thebody 100, and the light emitting unit emits white light; the color palette is disposed between the light emitting unit and the seconddigital micromirror device 400, and includes a red transparent area, a green transparent area, and a blue transparent area, and the color palette is rotatable so that light irradiated to the seconddigital micromirror device 400 through the color palette exhibits periodic red, green, and blue colors.
Wherein, red printing opacity district, green printing opacity district and blue printing opacity district can be relative with the luminescence unit in proper order when the palette rotates. When the red light-transmitting area is opposite to the light-emitting unit, the white light emitted by the light-emitting unit is converted into red light to irradiate the seconddigital micromirror device 400; when the green transparent area is opposite to the light emitting unit, the white light emitted by the light emitting unit is converted into green light to be irradiated to the seconddigital micromirror device 400; when the blue light-transmitting region is opposite to the light-emitting unit, the white light emitted from the light-emitting unit is converted into blue light to be irradiated to the seconddigital micromirror device 400.
The areas of the red, green and blue light-transmitting regions may be the same on the light-adjusting plate, or the areas of the red, green and blue light-transmitting regions may be different on the light-adjusting plate. In practical applications, the light modulation plate may also be provided with a light transmission region of another color, for example, a yellow light transmission region and a purple light transmission region, and the embodiments of the present disclosure are not limited thereto.
Wherein, the color palette in the firstlight source assembly 200 can rotate synchronously with the color palette in the secondlight source assembly 600.
The light intensity of the firstlight source module 200 can be determined according to the image to be projected by theprojector engine 10. The secondlight source assembly 600 is used for supplementing light to the second digitalmicro-mirror device 400, so that the light intensity of the secondlight source assembly 600 can be determined according to the light reflected by the first empty reflectingunit 320 and the image to be projected by theprojector engine 10.
It should be noted that, in the embodiments of the present disclosure, in order to reduce the loss of light during transmission, a light shielding device (e.g., a light shielding film) may be coated on the light transmission path. The light shielding film is filled with a light transmission medium, which may be air, glass, transparent plastic, and the like, and this is not particularly limited in this disclosure.
For example, the support structure may be provided with a first receiving portion and a second receiving portion, the firstdigital micro-mirror device 300 is mounted in the first receiving portion, and the second digitalmicro-mirror device 400 is mounted in the second receiving portion. In the initial state, the light emitting surface of thefirst dmd 300 and the light emitting surface of thesecond dmd 400 may be located on the same plane. The firstlight source assembly 200 is disposed opposite to the firstdigital micro-mirror device 300, and the secondlight source assembly 600 is disposed opposite to the second digitalmicro-mirror device 400. Thefirst lens hole 110 is provided in the housing, and thefirst lens hole 110 is located on a reflection light path of the firstdisplay reflection unit 310. Thesecond lens hole 120 is provided in the housing, and thesecond lens hole 120 is located on a reflection light path of the seconddisplay reflection unit 420. The reflecting mirror 510 is connected to the supporting structure, and the reflecting mirror 510 is located on a reflection light path of the first vacant reflectingunit 320. The light guide plate 520 is coupled to the support structure, and the light guide plate 520 is positioned between the reflective mirror 510 and the second digitalmicro-mirror device 400. The second light emitting assembly is disposed on the supporting mechanism, and the light guide plate 520 is away from a side of thesecond dmd 400.
In thelight projection engine 10 provided by the embodiment of the present disclosure, the second digitalmicro-mirror device 400 is configured to be capable of receiving light reflected by the firstempty reflection unit 320 in the plurality of first reflection units, and emit the display light reflected by the second digitalmicro-mirror device 400 out of thesecond lens hole 120, so that the light emitted by the firstempty reflection unit 320 in the firstdigital micro-mirror device 300 is received by the second digitalmicro-mirror device 400, and the light reflected by the firstempty reflection unit 320 is used for displaying, thereby preventing the light of the firstempty reflection unit 320 from being directly absorbed and converted into heat, and thus reducing the heat generation amount of thelight projection engine 10. On one hand, the service life of the electronic device with theoptical projection engine 10 can be prolonged, and on the other hand, the energy consumption of theoptical projection engine 10 is reduced, and the energy is saved.
The exemplary embodiment of the present disclosure also provides an electronic device including the above-described projectionoptical machine 10.
The electronic device provided by the embodiment of the disclosure receives the light emitted by the first vacant reflectingunit 320 in the firstdigital micromirror device 300 through the seconddigital micromirror device 400, and uses the light reflected by the first vacant reflectingunit 320 for displaying, so as to prevent the light of the first vacant reflectingunit 320 from being directly absorbed and converted into heat, thereby reducing the heat generation amount of the electronic device. On one hand, the service life of the electronic equipment can be prolonged, on the other hand, the energy consumption of the electronic equipment is reduced, and the energy is saved.
Further, the electronic device provided by the embodiment of the present disclosure may further include: the optical waveguide component is configured to receive the light emitted by theprojector engine 10 and display images.
As shown in fig. 7, the optical waveguide assembly includes a firstoptical waveguide 20 and a secondoptical waveguide 30, the firstoptical waveguide 20 has a first incoupling grating 21 and a first outcoupling grating 22, the first incoupling grating 21 is opposite to thefirst lens hole 110, the first incoupling grating 21 is used for receiving light emitted from thefirst lens hole 110, the first outcoupling grating 22 is disposed on one side of the first incoupling grating 21, and light received by the first incoupling grating 21 is emitted through the first outcoupling grating 22 to form a display image; the secondoptical waveguide 30 has a second incoupling grating 31 and a second outcoupling grating 32, the second incoupling grating 31 is opposite to thesecond lens hole 120, the second incoupling grating 31 is used for receiving the light emitted from thesecond lens hole 120, the second outcoupling grating 32 is disposed on one side of the second incoupling grating 31, and the light received by the second incoupling grating 31 is emitted through the second outcoupling grating 32 to form a display image.
The firstoptical waveguide 20 and the secondoptical waveguide 30 are disposed on the light-emitting side of theprojection light engine 10, the first incoupling grating 21 is disposed at one end of the firstoptical waveguide 20 close to the secondoptical waveguide 30, and the second incoupling grating 31 is disposed at one end of the secondoptical waveguide 30 close to the firstoptical waveguide 20.
Further, as shown in fig. 8, the electronic device further includes a mountingframe 40, the mountingframe 40 has a first mounting area for mounting the firstoptical waveguide 20 and a second mounting area for mounting the secondoptical waveguide 30, thebody 100 is mounted to the mountingframe 40, and thebody 100 is located between the first mounting area and the second mounting area. In practical applications, the mountingframe 40 and themain body 100 may be an integral structure, or the mountingframe 40 may serve as themain body 100 of theprojector engine 10.
The electronic device provided by the embodiment of the present disclosure may be augmented reality glasses, and the augmented reality glasses may include a first lens and a second lens, where the firstoptical waveguide 20 is disposed on the first lens, and the secondoptical waveguide 30 is disposed on the second lens. Theprojector 10 may be disposed at a position between the first lens and the second lens, for example, theprojector 10 may be disposed above the nose pads of the augmented reality glasses. The first lens and the second lens can display virtual environment images and can also transmit the function of real environment light.
Certainly, in practical applications, the electronic device provided in the embodiment of the present disclosure may also be an electronic device such as a mixed reality glasses, an augmented reality helmet, and a mixed reality helmet, and the embodiment of the present disclosure is not limited thereto.
Other embodiments of the disclosure will be apparent to those skilled in the art from consideration of the specification and practice of the disclosure disclosed herein. This application is intended to cover any variations, uses, or adaptations of the disclosure following, in general, the principles of the disclosure and including such departures from the present disclosure as come within known or customary practice within the art to which the disclosure pertains. It is intended that the specification and examples be considered as exemplary only, with a true scope and spirit of the disclosure being indicated by the following claims.

Claims (16)

1. A projection light engine, comprising:
a body;
the first light source assembly is arranged on the machine body;
the first digital micro-mirror device is arranged on the machine body and comprises a plurality of first reflecting units, the first reflecting units are used for receiving and reflecting light emitted by the first light source component, a first lens hole is formed in the machine body, and the first lens hole is configured to enable light reflected by a first display reflecting unit in the plurality of first reflecting units to be emitted;
a second digital micromirror device configured to receive light reflected by a first empty reflective unit of the plurality of first reflective units, the body having a second lens hole configured to emit display light reflected by the second digital micromirror device;
the first display reflection unit is a first reflection unit in a display deflection state at the current moment, and the first vacant reflection unit is a first reflection unit in a vacant deflection state at the current moment.
2. The optical-mechanical projector of claim 1, wherein the first lens hole is disposed on a reflection light path of the first display reflection unit.
3. The light projector of claim 1, wherein the second dmd comprises a plurality of second reflective units, the second lens hole is configured to emit light reflected by a second display reflective unit of the plurality of second reflective units, and the second display reflective unit is a second reflective unit in a display deflection state at a current time.
4. The light engine of claim 3, further comprising:
a light absorption assembly configured to be able to absorb light reflected by a second vacant reflection unit of the plurality of second reflection units, the second vacant reflection unit being a second reflection unit that is in a vacant deflection state at the present time.
5. The light engine of claim 4, wherein the light absorbing element is disposed on a reflection light path of the second empty reflective unit.
6. The optical-mechanical projector of claim 3, wherein the second lens hole is disposed on a reflection light path of the second display reflection unit.
7. The light engine of claim 6, further comprising:
the first lens assembly is arranged in the first lens hole;
the second lens assembly is arranged in the second lens hole.
8. The light engine of claim 3, wherein the exit direction of the light reflected by the first display reflection unit and the exit direction of the light reflected by the second display reflection unit both face a user;
the projection light engine further comprises:
a light conditioning assembly configured to transmit light reflected by the first vacant reflecting unit to the second digital micromirror device.
9. The light projector engine of claim 1 wherein the first light source module comprises:
the first light-emitting unit is arranged on the machine body and used for emitting red light;
the second light-emitting unit is arranged on the machine body and is used for emitting green light;
and the third light-emitting unit is arranged on the machine body and is used for emitting blue light.
10. The light projector engine of claim 1 wherein the first light source module comprises:
the light-emitting unit is arranged on the machine body and emits white light;
the palette, the palette is located the luminescence unit with between the first digital micro mirror device, the palette includes red printing opacity district, green printing opacity district and blue printing opacity district, the palette can rotate, so that see through the palette shine to the light of first digital micro mirror device presents periodic red, green and blue.
11. The light engine of any of claims 1-10, wherein the light engine further comprises:
and the second light source component is arranged on the machine body and is used for providing a light source for the second digital micro-mirror device.
12. An electronic device, characterized in that the electronic device comprises the light-projection engine of any one of claims 1-11.
13. The electronic device of claim 12, wherein the electronic device further comprises:
the optical waveguide component is configured to receive the light emitted by the projector light machine and display images.
14. The electronic device of claim 13, wherein the optical waveguide assembly comprises:
the first optical waveguide is provided with a first coupling-in grating and a first coupling-out grating, the first coupling-in grating is opposite to the first lens hole, the first coupling-in grating is used for receiving light emitted from the first lens hole, the first coupling-out grating is arranged on one side of the first coupling-in grating, and light received by the first coupling-in grating is emitted through the first coupling-out grating to form a display image;
the second optical waveguide is provided with a second coupling-in grating and a second coupling-out grating, the second coupling-in grating is opposite to the second lens hole, the second coupling-in grating is used for receiving light emitted from the second lens hole, the second coupling-out grating is arranged on one side of the second coupling-in grating, and light received by the second coupling-in grating is emitted through the second coupling-out grating to form a display image.
15. The electronic device according to claim 14, wherein the first optical waveguide and the second optical waveguide are disposed on a light exit side of the projection optical engine, and the first incoupling grating is disposed at an end of the first optical waveguide close to the second optical waveguide, and the second incoupling grating is disposed at an end of the second optical waveguide close to the first optical waveguide.
16. The electronic device of claim 14, wherein the electronic device further comprises:
the optical waveguide module comprises an installation frame, wherein the installation frame is provided with a first installation area and a second installation area, the first installation area is used for installing the first optical waveguide, the second installation area is used for installing the second optical waveguide, a machine body is installed on the installation frame, and the machine body is located between the first installation area and the second installation area.
CN202010355648.6A2020-04-292020-04-29Projection optical machine and electronic equipmentActiveCN111474813B (en)

Priority Applications (1)

Application NumberPriority DateFiling DateTitle
CN202010355648.6ACN111474813B (en)2020-04-292020-04-29Projection optical machine and electronic equipment

Applications Claiming Priority (1)

Application NumberPriority DateFiling DateTitle
CN202010355648.6ACN111474813B (en)2020-04-292020-04-29Projection optical machine and electronic equipment

Publications (2)

Publication NumberPublication Date
CN111474813A CN111474813A (en)2020-07-31
CN111474813Btrue CN111474813B (en)2021-09-28

Family

ID=71763026

Family Applications (1)

Application NumberTitlePriority DateFiling Date
CN202010355648.6AActiveCN111474813B (en)2020-04-292020-04-29Projection optical machine and electronic equipment

Country Status (1)

CountryLink
CN (1)CN111474813B (en)

Family Cites Families (22)

* Cited by examiner, † Cited by third party
Publication numberPriority datePublication dateAssigneeTitle
JPH1031168A (en)*1996-07-161998-02-03Kobe Steel LtdColor picture display device
JPH1039240A (en)*1996-07-291998-02-13Kobe Steel LtdColor picture display device
US6710909B2 (en)*2001-11-082004-03-23Seiko Epson CorporationProjector
KR100424766B1 (en)*2001-12-082004-03-30삼성전자주식회사Apparatus for projection image
US6965468B2 (en)*2003-07-032005-11-15Reflectivity, IncMicromirror array having reduced gap between adjacent micromirrors of the micromirror array
US7545555B2 (en)*2005-01-272009-06-09Hewlett-Packard Development Company, L.P.Projection device
JP2010085621A (en)*2008-09-302010-04-15Brother Ind LtdImage display device
JP2010191127A (en)*2009-02-182010-09-02Hitachi High-Technologies CorpExposure apparatus, exposure method, and method for manufacturing panel substrate for display
JP5691262B2 (en)*2010-06-252015-04-01カシオ計算機株式会社 Projection device
EP2834697B1 (en)*2012-04-032021-05-19Imax Theatres International LimitedColor dependent aperture stop
US9563113B2 (en)*2012-10-292017-02-07Young Optics Inc.Multi-projection system using a single illumination source and a single imaging device
US9024928B2 (en)*2013-03-132015-05-05Christie Digital Systems Usa, Inc.System and method for producing an image having high dynamic range
US9863595B2 (en)*2013-08-282018-01-09Sharp Kabushiki KaishaLight-emitting unit with optical plate reflecting excitation light and transmitting fluorescent light, and light-emitting device, illumination device, and vehicle headlight including the unit
IL313875A (en)*2013-11-272024-08-01Magic Leap Inc Virtual and augmented reality systems and methods
CN204989731U (en)*2015-08-262016-01-20南京先进激光技术研究院Single DMD projection arrangement of white light light source
CN109426052B (en)*2017-08-242021-04-06深圳光峰科技股份有限公司 Projection system
CN109799191B (en)*2017-11-172021-07-06南京理工大学 Optical non-contact detection device and method for acoustic disturbance on rough surface of solid material
CN110703545B (en)*2018-07-092022-02-01青岛海信激光显示股份有限公司Projector
CN110967828A (en)*2018-09-282020-04-07广东虚拟现实科技有限公司 Display system and head-mounted display device
CN109633977B (en)*2019-01-022022-07-29京东方科技集团股份有限公司Backlight module and display device
CN110426849A (en)*2019-06-262019-11-08华为技术有限公司A kind of optical projection system and augmented reality device
CN209962079U (en)*2019-06-282020-01-17合肥全色光显科技有限公司DLP (digital light processing) technology AR (augmented reality) glasses based on RGB (red, green and blue) laser

Also Published As

Publication numberPublication date
CN111474813A (en)2020-07-31

Similar Documents

PublicationPublication DateTitle
JP5092177B2 (en) Vehicle head-up display
JP4962685B2 (en) LIGHTING DEVICE AND LIQUID CRYSTAL DISPLAY DEVICE HAVING THE LIGHTING DEVICE
EP2960575B1 (en)Illumination apparatus and projection-type image display apparatus having the same
US6490104B1 (en)Illumination system for a micro display
US8016424B2 (en)Rear projector and projection system
JP6372346B2 (en) Head-up display
WO2014119407A1 (en)Head-up display device
US20080252863A1 (en)Projection display apparatus
CN109212877B (en)Optical unit and projector including the same
JP2006310367A5 (en)
JP2010152176A (en)Projection type display device
CN102906639A (en)Illumination optical system and projector using same
CN212160231U (en) Augmented reality display optics, systems, glasses and HUD display systems
US7854521B2 (en)Projector
CN111474813B (en)Projection optical machine and electronic equipment
TW202319807A (en)Image generating unit and head-up display therefor
EP3786705B1 (en)Projection device
JP2005274957A (en)Projector
CN219552792U (en)Backlight structure, display device and vehicle
CN116300212A (en)Backlight structure, display device and vehicle
JP2004185033A (en) Polarization exchange element, polarization illumination device, and display device and projection display device using the same
JP2011133583A (en)Liquid crystal display device
KR101167747B1 (en)An optical engine for micro projector
CN109521634A (en)projection device and projection system
WO2022019048A1 (en)Image generation apparatus and head-up display

Legal Events

DateCodeTitleDescription
PB01Publication
PB01Publication
SE01Entry into force of request for substantive examination
SE01Entry into force of request for substantive examination
GR01Patent grant
GR01Patent grant

[8]ページ先頭

©2009-2025 Movatter.jp