





























技术领域technical field
本申请涉及无线通信系统中的无线信号的传输方法和装置,尤其是支持蜂窝网的无线通信系统中的无线信号的传输方法和装置。The present application relates to a wireless signal transmission method and device in a wireless communication system, especially a wireless signal transmission method and device in a wireless communication system supporting a cellular network.
背景技术Background technique
传统的3GPP(3rd Generation Partner Project,第三代合作伙伴项目)LTE(Long-term Evolution,长期演进)系统中,数据传输只能发生在授权频谱上,然而随着业务量的急剧增大,尤其在一些城市地区,授权频谱可能难以满足业务量的需求。Release 13及Release 14中非授权频谱上的通信被蜂窝系统引入,并用于下行和上行数据的传输。为保证和其它非授权频谱上的接入技术兼容,LBT(Listen Before Talk,会话前侦听)技术被LAA(Licensed Assisted Access,授权频谱辅助接入)采纳以避免因多个发射机同时占用相同的频率资源而带来的干扰。LTE系统的发射机采纳准全向天线来执行LBT。In the traditional 3GPP (3rd Generation Partner Project, 3rd Generation Partnership Project) LTE (Long-term Evolution, long-term evolution) system, data transmission can only occur on the licensed spectrum. However, with the rapid increase of traffic, especially In some urban areas, licensed spectrum may be difficult to meet traffic demands. The communication on the unlicensed spectrum in Release 13 and Release 14 is introduced by the cellular system and used for downlink and uplink data transmission. In order to ensure compatibility with other access technologies on unlicensed spectrum, LBT (Listen Before Talk) technology is adopted by LAA (Licensed Assisted Access) to avoid multiple transmitters occupying the same interference caused by frequency resources. The transmitter of the LTE system employs a quasi-omnidirectional antenna to perform LBT.
目前,5G NR(New Radio Access Technology,新无线接入技术)的技术讨论正在进行中,其中大规模(Massive)MIMO(Multi-Input Multi-Output)成为下一代移动通信的一个研究热点。大规模MIMO中,多个天线通过波束赋形(Beamforming),形成指向一个特定空间方向的波束来提高通信质量,当考虑到波束赋形带来的覆盖特性时,传统的LAA技术需要被重新考虑,比如LBT方案。At present, technical discussions on 5G NR (New Radio Access Technology, new radio access technology) are underway, among which Massive (Massive) MIMO (Multi-Input Multi-Output) has become a research hotspot in the next generation of mobile communications. In massive MIMO, multiple antennas use beamforming (Beamforming) to form beams pointing to a specific spatial direction to improve communication quality. When considering the coverage characteristics brought by beamforming, the traditional LAA technology needs to be reconsidered , such as the LBT program.
发明内容Contents of the invention
发明人通过研究发现,5G系统中,波束赋形将会被大规模使用,如何提升基于波束赋形的上行无线信号的传输效率是需要解决的一个关键问题。The inventor found through research that beamforming will be used on a large scale in the 5G system, and how to improve the transmission efficiency of uplink wireless signals based on beamforming is a key problem that needs to be solved.
针对上述问题,本申请公开了一种解决方案。需要说明的是,在不冲突的情况下,本申请的UE(User Equipment,用户设备)中的实施例和实施例中的特征可以应用到基站中,反之亦然。进一步的,在不冲突的情况下,本申请的实施例和实施例中的特征可以任意相互组合。Aiming at the above problems, the present application discloses a solution. It should be noted that, if there is no conflict, the embodiments in the UE (User Equipment, user equipment) of this application and the features in the embodiments can be applied to the base station, and vice versa. Further, in the case of no conflict, the embodiments of the present application and the features in the embodiments can be combined with each other arbitrarily.
本申请公开了一种用于无线通信的用户设备中的方法,其特征在于,包括:The present application discloses a method in a user equipment for wireless communication, which is characterized in that it includes:
接收第一信息,所述第一信息包括第一功率配置信息,所述第一信息被用于确定第一子频带上的M个多载波符号,所述M是大于1的正整数;Receive first information, where the first information includes first power configuration information, where the first information is used to determine M multi-carrier symbols on the first sub-band, where M is a positive integer greater than 1;
从所述第一子频带上的M个多载波符号中确定M1个多载波符号;对于所述第一子频带上的M个多载波符号,仅在所述M1个多载波符号中分别发送M1个参考信号,所述M1是小于所述M的正整数;Determine M1 multi-carrier symbols from the M multi-carrier symbols on the first sub-band; for the M multi-carrier symbols on the first sub-band, only send M1 in the M1 multi-carrier symbols respectively a reference signal, the M1 is a positive integer smaller than the M;
接收第二信息,所述第二信息包括第二功率配置信息,所述第二信息被用于确定所述第一子频带上的P个多载波符号,所述P是大于1的正整数;Receive second information, where the second information includes second power configuration information, where the second information is used to determine P multi-carrier symbols on the first sub-frequency band, where P is a positive integer greater than 1;
在所述第一子频带上的P个多载波符号中的M2个多载波符号中分别发送M2个参考信号,所述M2是不大于所述P的正整数,所述M1与所述M2的和等于所述M;M2 reference signals are respectively sent in M2 multi-carrier symbols among the P multi-carrier symbols on the first sub-frequency band, the M2 is a positive integer not greater than the P, the M1 and the M2 and equal to said M;
其中,所述M2个参考信号的发送功率与所述第一功率配置信息有关且与所述第二功率配置信息无关。Wherein, the sending power of the M2 reference signals is related to the first power configuration information and not related to the second power configuration information.
作为一个实施例,本申请要解决的问题是:针对多个波束的上行无线信号的传输可能需要采用多个基于波束赋形的LBT的过程,而这多个LBT可能会产生多个波束中只有部分波束上的上行无线信号可以被发送,因此多个LBT下的如何实现所有波束的上行无线信号的传输是需要解决的一个关键问题。上述方案通过设计多个备选时频资源解决了这个问题,从而提高了上行无线信号的传输效率。As an embodiment, the problem to be solved in this application is: the transmission of uplink wireless signals for multiple beams may require the use of multiple beamforming-based LBT processes, and these multiple LBTs may generate only Uplink wireless signals on some beams can be sent, so how to realize the transmission of uplink wireless signals on all beams under multiple LBTs is a key problem that needs to be solved. The above solution solves this problem by designing multiple candidate time-frequency resources, thereby improving the transmission efficiency of uplink wireless signals.
作为一个实施例,上述方法的实质在于,基站指示两个非授权频谱上的备选时频资源供用户选择其中的M个多载波符号来发送M个参考信号,用于比如发送或接收波束扫描的目的;M1个参考信号和M2个参考信号分别属于这两个备选时频资源;为了获得公平的信道/波束质量的比较,M1个参考信号和M2个参考信号的发送功率要相同,且由同一个功率配置信息确定。采用上述方法的好处在于,通过配置多个备选时频资源,可以解决非授权频谱下只配置M个多载波符号用于M个参考信号传输可能带来的部分参考信号不能被发送的情况。As an embodiment, the essence of the above method is that the base station indicates two candidate time-frequency resources on the unlicensed spectrum for the user to select M multi-carrier symbols among them to send M reference signals, for example, for sending or receiving beam scanning purpose; M1 reference signals and M2 reference signals belong to these two candidate time-frequency resources respectively; in order to obtain a fair comparison of channel/beam quality, the transmission power of M1 reference signals and M2 reference signals should be the same, and Determined by the same power configuration information. The advantage of adopting the above method is that by configuring multiple candidate time-frequency resources, it can solve the situation that only M multi-carrier symbols are configured for the transmission of M reference signals in the unlicensed spectrum, which may cause some reference signals to be unable to be sent.
根据本申请的一个方面,上述方法的特征在于,所述第一信息还被用于确定所述第一子频带上的P1个多载波符号,所述M2个多载波符号属于所述第一子频带上的P1个多载波符号,所述第一子频带上的P1个多载波符号属于所述第一子频带上的P个多载波符号,所述P1是不大于所述P的正整数。According to one aspect of the present application, the above method is characterized in that the first information is also used to determine P1 multi-carrier symbols on the first sub-frequency band, and the M2 multi-carrier symbols belong to the first sub-frequency band The P1 multi-carrier symbols on the frequency band, the P1 multi-carrier symbols on the first sub-frequency band belong to the P multi-carrier symbols on the first sub-frequency band, and the P1 is a positive integer not greater than the P.
根据本申请的一个方面,上述方法的特征在于,包括:According to one aspect of the present application, the above method is characterized in that it includes:
执行K个第一接入检测,所述K是不大于2的正整数;Execute K first access detections, where K is a positive integer not greater than 2;
其中,所述K个第一接入检测被用于确定所述M1个多载波符号和所述M2个多载波符号。根据本申请的一个方面,上述方法的特征在于,包括:Wherein, the K first access detections are used to determine the M1 multi-carrier symbols and the M2 multi-carrier symbols. According to one aspect of the present application, the above method is characterized in that it includes:
根据本申请的一个方面,上述方法的特征在于,所述M1个参考信号和所述M2个参考信号的发送功率相同,所述第一功率配置信息被用于确定所述M1个参考信号和所述M2个参考信号的发送功率。According to one aspect of the present application, the above method is characterized in that the M1 reference signals and the M2 reference signals have the same transmission power, and the first power configuration information is used to determine the M1 reference signals and the M2 reference signals transmit power of the M2 reference signals.
根据本申请的一个方面,上述方法的特征在于,所述M1个参考信号中的至少一个参考信号所占用的空口资源被用于从所述第一子频带上的M个多载波符号中确定所述M1个多载波符号。According to one aspect of the present application, the above method is characterized in that the air interface resource occupied by at least one of the M1 reference signals is used to determine the M multi-carrier symbols on the first sub-band. The above M1 multi-carrier symbols.
作为一个实施例,上述方法的实质在于,基站在备选时频资源上检测信号,目标参考信号组是所述M1个参考信号中的至少一个参考信号,通过检测出目标参考信号组可以进一步检测出M1个参考信号中的其余参考信号;在目标参考信号组的检测中,基站分别采用S个备选空口资源进行检测,检测结果最好的一个备选空口资源就是目标参考信号组的空口资源。采用上述方法的好处在于,通过盲检M1个参考信号中的至少一个参考信号可以进一步检测出M1个参考信号中的其余参考信号,从而基站可以获知哪些参考信号的发送波束没有通过上行LBT。As an embodiment, the essence of the above method is that the base station detects the signal on the candidate time-frequency resource, the target reference signal group is at least one reference signal in the M1 reference signals, and can be further detected by detecting the target reference signal group In the detection of the target reference signal group, the base station uses S candidate air interface resources for detection, and the candidate air interface resource with the best detection result is the air interface resource of the target reference signal group . The advantage of adopting the above method is that by blindly detecting at least one of the M1 reference signals, the rest of the M1 reference signals can be further detected, so that the base station can know which reference signal transmission beams do not pass through the uplink LBT.
根据本申请的一个方面,上述方法的特征在于,包括:According to one aspect of the present application, the above method is characterized in that it includes:
接收第三信息;receive third information;
其中,所述第一信息被用于确定所述M1个参考信号和所述M2个参考信号的假定发送顺序,所述第三信息被用于确定所述M1个参考信号和所述M2个参考信号的发送顺序与所述假定发送顺序是否一致。Wherein, the first information is used to determine the assumed transmission order of the M1 reference signals and the M2 reference signals, and the third information is used to determine the M1 reference signals and the M2 reference signals Whether the sending order of the signals is consistent with the assumed sending order.
根据本申请的一个方面,上述方法的特征在于,包括:According to one aspect of the present application, the above method is characterized in that it includes:
在第一时频资源中发送第一无线信号;sending a first wireless signal in a first time-frequency resource;
其中,所述第二信息还包括所述第一无线信号的配置信息,所述第二功率配置信息被用于确定所述第一无线信号的发送功率,所述第一无线信号不包括所述M2个参考信号中的任一参考信号,所述第一无线信号所占用的时频资源包括所述第一时频资源中属于所述第一子频带上的P1个多载波符号且不属于所述M2个多载波符号的至少一个多载波符号。Wherein, the second information further includes configuration information of the first wireless signal, the second power configuration information is used to determine the transmission power of the first wireless signal, and the first wireless signal does not include the Any one of the M2 reference signals, the time-frequency resource occupied by the first wireless signal includes P1 multi-carrier symbols belonging to the first sub-frequency band in the first time-frequency resource and does not belong to all At least one multi-carrier symbol of the M2 multi-carrier symbols.
作为一个实施例,上述方法的实质在于,P1个多载波符号中不属于M2个多载波符号的多载波符号可以被用于其他无线信号的发送,比如数据、DMRS(解调参考信号,Demodulation Reference Signal)、SRS(Sounding Reference Signal,探测参考信号)、PTRS(Phase-Tracking Reference Signal,相位跟踪参考信号)等。采用上述方法的好处在于,尽可能的充分利用时频资源,以提高系统吞吐量。As an embodiment, the essence of the above method is that the multi-carrier symbols that do not belong to the M2 multi-carrier symbols in the P1 multi-carrier symbols can be used for sending other wireless signals, such as data, DMRS (demodulation reference signal, Demodulation Reference Signal), SRS (Sounding Reference Signal, sounding reference signal), PTRS (Phase-Tracking Reference Signal, phase tracking reference signal), etc. The advantage of adopting the above method is that time-frequency resources are fully utilized as much as possible to improve system throughput.
根据本申请的一个方面,上述方法的特征在于,包括:According to one aspect of the present application, the above method is characterized in that it includes:
接收第四信息;receiving the fourth message;
其中,所述第四信息被用于确定所述第一时频资源中属于所述第一子频带上的所述P1个多载波符号且不属于所述M2个多载波符号的至少一个多载波符号被所述第一无线信号占用。Wherein, the fourth information is used to determine at least one multi-carrier in the first time-frequency resource that belongs to the P1 multi-carrier symbols on the first sub-band and does not belong to the M2 multi-carrier symbols A symbol is occupied by the first wireless signal.
根据本申请的一个方面,上述方法的特征在于,包括:According to one aspect of the present application, the above method is characterized in that it includes:
接收第五信息;receiving the fifth message;
其中,所述第五信息被用于确定F个天线端口集合,所述F是正整数,所述F个天线端口集合中的任一天线端口集合包括正整数个天线端口组,一个天线端口组包括正整数个天线端口;所述M1个参考信号和所述M2个参考信号中的任一参考信号的发送天线端口组都属于所述F个天线端口集合中的同一个天线端口集合。Wherein, the fifth information is used to determine F antenna port sets, where F is a positive integer, any antenna port set in the F antenna port sets includes a positive integer number of antenna port groups, and one antenna port group includes A positive integer number of antenna ports; the transmitting antenna port group of any one of the M1 reference signals and the M2 reference signals belongs to the same antenna port set in the F antenna port sets.
本申请公开了一种用于无线通信的基站设备中的方法,其特征在于,包括:The present application discloses a method in a base station device for wireless communication, which is characterized in that it includes:
发送第一信息,所述第一信息包括第一功率配置信息,所述第一信息被用于确定第一子频带上的M个多载波符号,所述M是大于1的正整数;Sending first information, where the first information includes first power configuration information, where the first information is used to determine M multi-carrier symbols on the first sub-band, where M is a positive integer greater than 1;
在所述第一子频带上的M个多载波符号中的M1个多载波符号中分别接收M1个参考信号,所述M1是小于所述M的正整数;Receiving M1 reference signals respectively in M1 multi-carrier symbols among the M multi-carrier symbols on the first sub-frequency band, where M1 is a positive integer smaller than the M;
发送第二信息,所述第二信息包括第二功率配置信息,所述第二信息被用于确定所述第一子频带上的P个多载波符号,所述P是大于1的正整数;Sending second information, where the second information includes second power configuration information, where the second information is used to determine P multi-carrier symbols on the first sub-frequency band, where P is a positive integer greater than 1;
在所述第一子频带上的P个多载波符号中的M2个多载波符号中分别接收M2个参考信号,所述M2是不大于所述P的正整数,所述M1与所述M2的和等于所述M;M2 reference signals are respectively received in the M2 multi-carrier symbols among the P multi-carrier symbols on the first sub-frequency band, the M2 is a positive integer not greater than the P, and the M1 and the M2 are and equal to said M;
其中,所述M2个参考信号的发送功率与所述第一功率配置信息有关且与所述第二功率配置信息无关。Wherein, the sending power of the M2 reference signals is related to the first power configuration information and not related to the second power configuration information.
根据本申请的一个方面,上述方法的特征在于,所述第一信息还被用于确定所述第一子频带上的P1个多载波符号,所述M2个多载波符号属于所述第一子频带上的P1个多载波符号,所述第一子频带上的P1个多载波符号属于所述第一子频带上的P个多载波符号,所述P1是不大于所述P的正整数。According to one aspect of the present application, the above method is characterized in that the first information is also used to determine P1 multi-carrier symbols on the first sub-frequency band, and the M2 multi-carrier symbols belong to the first sub-frequency band The P1 multi-carrier symbols on the frequency band, the P1 multi-carrier symbols on the first sub-frequency band belong to the P multi-carrier symbols on the first sub-frequency band, and the P1 is a positive integer not greater than the P.
根据本申请的一个方面,上述方法的特征在于,所述M1个参考信号和所述M2个参考信号的发送功率相同,所述第一功率配置信息被用于确定所述M1个参考信号和所述M2个参考信号的发送功率。According to one aspect of the present application, the above method is characterized in that the M1 reference signals and the M2 reference signals have the same transmission power, and the first power configuration information is used to determine the M1 reference signals and the M2 reference signals transmit power of the M2 reference signals.
根据本申请的一个方面,上述方法的特征在于,所述M1个参考信号中的至少一个参考信号所占用的空口资源被用于从所述第一子频带上的M个多载波符号中确定所述M1个多载波符号。According to one aspect of the present application, the above method is characterized in that the air interface resource occupied by at least one of the M1 reference signals is used to determine the M multi-carrier symbols on the first sub-band. The above M1 multi-carrier symbols.
根据本申请的一个方面,上述方法的特征在于,包括:According to one aspect of the present application, the above method is characterized in that it includes:
发送第三信息;send a third message;
其中,所述第一信息被用于确定所述M1个参考信号和所述M2个参考信号的假定发送顺序,所述第三信息被用于确定所述M1个参考信号和所述M2个参考信号的发送顺序与所述假定发送顺序是否一致。Wherein, the first information is used to determine the assumed transmission order of the M1 reference signals and the M2 reference signals, and the third information is used to determine the M1 reference signals and the M2 reference signals Whether the sending order of the signals is consistent with the assumed sending order.
根据本申请的一个方面,上述方法的特征在于,包括:According to one aspect of the present application, the above method is characterized in that it includes:
在第一时频资源中接收第一无线信号;receiving a first wireless signal in a first time-frequency resource;
其中,所述第二信息还包括所述第一无线信号的配置信息,所述第二功率配置信息被用于确定所述第一无线信号的发送功率,所述第一无线信号不包括所述M2个参考信号中的任一参考信号,所述第一无线信号所占用的时频资源包括所述第一时频资源中属于所述第一子频带上的P1个多载波符号且不属于所述M2个多载波符号的至少一个多载波符号。Wherein, the second information further includes configuration information of the first wireless signal, the second power configuration information is used to determine the transmission power of the first wireless signal, and the first wireless signal does not include the Any one of the M2 reference signals, the time-frequency resource occupied by the first wireless signal includes P1 multi-carrier symbols belonging to the first sub-frequency band in the first time-frequency resource and does not belong to all At least one multi-carrier symbol of the M2 multi-carrier symbols.
根据本申请的一个方面,上述方法的特征在于,包括:According to one aspect of the present application, the above method is characterized in that it includes:
发送第四信息;send the fourth message;
其中,所述第四信息被用于确定所述第一时频资源中属于所述第一子频带上的所述P1个多载波符号且不属于所述M2个多载波符号的至少一个多载波符号被所述第一无线信号占用。Wherein, the fourth information is used to determine at least one multi-carrier in the first time-frequency resource that belongs to the P1 multi-carrier symbols on the first sub-band and does not belong to the M2 multi-carrier symbols A symbol is occupied by the first wireless signal.
根据本申请的一个方面,上述方法的特征在于,包括:According to one aspect of the present application, the above method is characterized in that it includes:
发送第五信息;send the fifth message;
其中,所述第五信息被用于确定F个天线端口集合,所述F是正整数,所述F个天线端口集合中的任一天线端口集合包括正整数个天线端口组,一个天线端口组包括正整数个天线端口;所述M1个参考信号和所述M2个参考信号中的任一参考信号的发送天线端口组都属于所述F个天线端口集合中的同一个天线端口集合。Wherein, the fifth information is used to determine F antenna port sets, where F is a positive integer, any antenna port set in the F antenna port sets includes a positive integer number of antenna port groups, and one antenna port group includes A positive integer number of antenna ports; the transmitting antenna port group of any one of the M1 reference signals and the M2 reference signals belongs to the same antenna port set in the F antenna port sets.
本申请公开了一种用于无线通信的用户设备,其特征在于,包括:The present application discloses a user equipment for wireless communication, which is characterized in that it includes:
第一接收机模块,接收第一信息,所述第一信息包括第一功率配置信息,所述第一信息被用于确定第一子频带上的M个多载波符号,所述M是大于1的正整数;接收第二信息,所述第二信息包括第二功率配置信息,所述第二信息被用于确定所述第一子频带上的P个多载波符号,所述P是大于1的正整数;The first receiver module receives first information, the first information includes first power configuration information, and the first information is used to determine M multi-carrier symbols on the first sub-band, where M is greater than 1 is a positive integer; receiving second information, the second information includes second power configuration information, the second information is used to determine P multi-carrier symbols on the first sub-band, and the P is greater than 1 a positive integer;
第一发射机模块,从所述第一子频带上的M个多载波符号中确定M1个多载波符号;对于所述第一子频带上的M个多载波符号,仅在所述M1个多载波符号中分别发送M1个参考信号,所述M1是小于所述M的正整数;在所述第一子频带上的P个多载波符号中的M2个多载波符号中分别发送M2个参考信号,所述M2是不大于所述P的正整数,所述M1与所述M2的和等于所述M;The first transmitter module determines M1 multi-carrier symbols from the M multi-carrier symbols on the first sub-band; for the M multi-carrier symbols on the first sub-band, only the M1 multi-carrier symbols M1 reference signals are respectively sent in carrier symbols, where M1 is a positive integer smaller than M; M2 reference signals are respectively sent in M2 multi-carrier symbols among the P multi-carrier symbols on the first sub-frequency band , the M2 is a positive integer not greater than the P, and the sum of the M1 and the M2 is equal to the M;
其中,所述M2个参考信号的发送功率与所述第一功率配置信息有关且与所述第二功率配置信息无关。Wherein, the sending power of the M2 reference signals is related to the first power configuration information and not related to the second power configuration information.
作为一个实施例,上述用户设备的特征在于,所述第一信息还被用于确定所述第一子频带上的P1个多载波符号,所述M2个多载波符号属于所述第一子频带上的P1个多载波符号,所述第一子频带上的P1个多载波符号属于所述第一子频带上的P个多载波符号,所述P1是不大于所述P的正整数。As an embodiment, the above user equipment is characterized in that the first information is further used to determine P1 multi-carrier symbols on the first sub-frequency band, and the M2 multi-carrier symbols belong to the first sub-frequency band The P1 multi-carrier symbols on the first sub-frequency band belong to the P multi-carrier symbols on the first sub-frequency band, and the P1 is a positive integer not greater than the P.
作为一个实施例,上述用户设备的特征在于,所述第一接收机模块还执行K个第一接入检测,所述K是不大于2的正整数;As an embodiment, the above user equipment is characterized in that the first receiver module further performs K first access detections, where K is a positive integer not greater than 2;
其中,所述K个第一接入检测被用于确定所述M1个多载波符号和所述M2个多载波符号。根据本申请的一个方面,上述方法的特征在于,包括:Wherein, the K first access detections are used to determine the M1 multi-carrier symbols and the M2 multi-carrier symbols. According to one aspect of the present application, the above method is characterized in that it includes:
作为一个实施例,上述用户设备的特征在于,所述M1个参考信号和所述M2个参考信号的发送功率相同,所述第一功率配置信息被用于确定所述M1个参考信号和所述M2个参考信号的发送功率。As an embodiment, the above user equipment is characterized in that the M1 reference signals and the M2 reference signals have the same transmit power, and the first power configuration information is used to determine the M1 reference signals and the M2 reference signals The transmission power of the M2 reference signals.
作为一个实施例,上述用户设备的特征在于,所述M1个参考信号中的至少一个参考信号所占用的空口资源被用于从所述第一子频带上的M个多载波符号中确定所述M1个多载波符号。As an embodiment, the above user equipment is characterized in that the air interface resource occupied by at least one of the M1 reference signals is used to determine the M1 multicarrier symbols.
作为一个实施例,上述用户设备的特征在于,所述第一接收机模块还接收第三信息;其中,所述第一信息被用于确定所述M1个参考信号和所述M2个参考信号的假定发送顺序,所述第三信息被用于确定所述M1个参考信号和所述M2个参考信号的发送顺序与所述假定发送顺序是否一致。As an embodiment, the above user equipment is characterized in that the first receiver module also receives third information; wherein the first information is used to determine the M1 reference signals and the M2 reference signals Assuming a sending order, the third information is used to determine whether the sending order of the M1 reference signals and the M2 reference signals is consistent with the assumed sending order.
作为一个实施例,上述用户设备的特征在于,所述第一发射机模块还在第一时频资源中发送第一无线信号;其中,所述第二信息还包括所述第一无线信号的配置信息,所述第二功率配置信息被用于确定所述第一无线信号的发送功率,所述第一无线信号不包括所述M2个参考信号中的任一参考信号,所述第一无线信号所占用的时频资源包括所述第一时频资源中属于所述第一子频带上的P1个多载波符号且不属于所述M2个多载波符号的至少一个多载波符号。As an embodiment, the above user equipment is characterized in that the first transmitter module also transmits the first wireless signal in the first time-frequency resource; wherein the second information also includes the configuration of the first wireless signal information, the second power configuration information is used to determine the transmission power of the first wireless signal, the first wireless signal does not include any reference signal in the M2 reference signals, and the first wireless signal The occupied time-frequency resources include at least one multi-carrier symbol in the first time-frequency resource that belongs to the P1 multi-carrier symbols on the first sub-frequency band and does not belong to the M2 multi-carrier symbols.
作为一个实施例,上述用户设备的特征在于,所述第一接收机模块还接收第四信息;其中,所述第四信息被用于确定所述第一时频资源中属于所述第一子频带上的所述P1个多载波符号且不属于所述M2个多载波符号的至少一个多载波符号被所述第一无线信号占用。As an embodiment, the above-mentioned user equipment is characterized in that the first receiver module further receives fourth information; wherein the fourth information is used to determine that the first time-frequency resource belongs to the first sub- At least one multi-carrier symbol of the P1 multi-carrier symbols on the frequency band that does not belong to the M2 multi-carrier symbols is occupied by the first wireless signal.
作为一个实施例,上述用户设备的特征在于,所述第一接收机模块还接收第五信息;其中,所述第五信息被用于确定F个天线端口集合,所述F是正整数,所述F个天线端口集合中的任一天线端口集合包括正整数个天线端口组,一个天线端口组包括正整数个天线端口;所述M1个参考信号和所述M2个参考信号中的任一参考信号的发送天线端口组都属于所述F个天线端口集合中的同一个天线端口集合。As an embodiment, the above user equipment is characterized in that the first receiver module further receives fifth information; wherein the fifth information is used to determine F antenna port sets, where F is a positive integer, and the Any antenna port set in the F antenna port sets includes a positive integer number of antenna port groups, and one antenna port group includes a positive integer number of antenna ports; any one of the M1 reference signals and the M2 reference signals The transmitting antenna port groups of all belong to the same antenna port set in the F antenna port sets.
本申请公开了一种用于无线通信的基站设备,其特征在于,包括:The present application discloses a base station device for wireless communication, which is characterized in that it includes:
第二发射机模块,发送第一信息,所述第一信息包括第一功率配置信息,所述第一信息被用于确定第一子频带上的M个多载波符号,所述M是大于1的正整数;发送第二信息,所述第二信息包括第二功率配置信息,所述第二信息被用于确定所述第一子频带上的P个多载波符号,所述P是大于1的正整数;The second transmitter module sends first information, the first information includes first power configuration information, and the first information is used to determine M multi-carrier symbols on the first sub-band, where M is greater than 1 is a positive integer; send second information, the second information includes second power configuration information, the second information is used to determine P multi-carrier symbols on the first sub-band, and the P is greater than 1 a positive integer;
第二接收机模块,在所述第一子频带上的M个多载波符号中的M1个多载波符号中分别接收M1个参考信号,所述M1是小于所述M的正整数;在所述第一子频带上的P个多载波符号中的M2个多载波符号中分别接收M2个参考信号,所述M2是不大于所述P的正整数,所述M1与所述M2的和等于所述M;The second receiver module receives M1 reference signals respectively in M1 multi-carrier symbols among M multi-carrier symbols on the first sub-band, where M1 is a positive integer smaller than M; in the M2 reference signals are respectively received in the M2 multi-carrier symbols in the P multi-carrier symbols on the first sub-band, the M2 is a positive integer not greater than the P, and the sum of the M1 and the M2 is equal to the Describe M;
其中,所述M2个参考信号的发送功率与所述第一功率配置信息有关且与所述第二功率配置信息无关。Wherein, the sending power of the M2 reference signals is related to the first power configuration information and not related to the second power configuration information.
作为一个实施例,上述基站设备的特征在于,所述第一信息还被用于确定所述第一子频带上的P1个多载波符号,所述M2个多载波符号属于所述第一子频带上的P1个多载波符号,所述第一子频带上的P1个多载波符号属于所述第一子频带上的P个多载波符号,所述P1是不大于所述P的正整数。As an embodiment, the above-mentioned base station device is characterized in that the first information is also used to determine P1 multi-carrier symbols on the first sub-frequency band, and the M2 multi-carrier symbols belong to the first sub-frequency band The P1 multi-carrier symbols on the first sub-frequency band belong to the P multi-carrier symbols on the first sub-frequency band, and the P1 is a positive integer not greater than the P.
作为一个实施例,上述基站设备的特征在于,所述M1个参考信号和所述M2个参考信号的发送功率相同,所述第一功率配置信息被用于确定所述M1个参考信号和所述M2个参考信号的发送功率。As an embodiment, the above-mentioned base station device is characterized in that the M1 reference signals and the M2 reference signals have the same transmission power, and the first power configuration information is used to determine the M1 reference signals and the M2 reference signals The transmission power of the M2 reference signals.
作为一个实施例,上述基站设备的特征在于,所述M1个参考信号中的至少一个参考信号所占用的空口资源被用于从所述第一子频带上的M个多载波符号中确定所述M1个多载波符号。As an embodiment, the above-mentioned base station device is characterized in that the air interface resources occupied by at least one of the M1 reference signals are used to determine the M1 multicarrier symbols.
作为一个实施例,上述基站设备的特征在于,所述第二发射机模块还发送第三信息;其中,所述第一信息被用于确定所述M1个参考信号和所述M2个参考信号的假定发送顺序,所述第三信息被用于确定所述M1个参考信号和所述M2个参考信号的发送顺序与所述假定发送顺序是否一致。As an embodiment, the above-mentioned base station device is characterized in that the second transmitter module also sends third information; wherein, the first information is used to determine the M1 reference signals and the M2 reference signals Assuming a sending order, the third information is used to determine whether the sending order of the M1 reference signals and the M2 reference signals is consistent with the assumed sending order.
作为一个实施例,上述基站设备的特征在于,所述第二接收机模块还在第一时频资源中接收第一无线信号;其中,所述第二信息还包括所述第一无线信号的配置信息,所述第二功率配置信息被用于确定所述第一无线信号的发送功率,所述第一无线信号不包括所述M2个参考信号中的任一参考信号,所述第一无线信号所占用的时频资源包括所述第一时频资源中属于所述第一子频带上的P1个多载波符号且不属于所述M2个多载波符号的至少一个多载波符号。As an embodiment, the above-mentioned base station device is characterized in that the second receiver module also receives the first wireless signal in the first time-frequency resource; wherein, the second information also includes the configuration of the first wireless signal information, the second power configuration information is used to determine the transmission power of the first wireless signal, the first wireless signal does not include any reference signal in the M2 reference signals, and the first wireless signal The occupied time-frequency resources include at least one multi-carrier symbol in the first time-frequency resource that belongs to the P1 multi-carrier symbols on the first sub-frequency band and does not belong to the M2 multi-carrier symbols.
作为一个实施例,上述基站设备的特征在于,所述第二发射机模块还发送第四信息;其中,所述第四信息被用于确定所述第一时频资源中属于所述第一子频带上的所述P1个多载波符号且不属于所述M2个多载波符号的至少一个多载波符号被所述第一无线信号占用。As an embodiment, the above-mentioned base station device is characterized in that the second transmitter module also sends fourth information; wherein, the fourth information is used to determine that the first time-frequency resource belongs to the first sub At least one multi-carrier symbol of the P1 multi-carrier symbols on the frequency band that does not belong to the M2 multi-carrier symbols is occupied by the first wireless signal.
作为一个实施例,上述基站设备的特征在于,所述第二发射机模块还发送第五信息;其中,所述第五信息被用于确定F个天线端口集合,所述F是正整数,所述F个天线端口集合中的任一天线端口集合包括正整数个天线端口组,一个天线端口组包括正整数个天线端口;所述M1个参考信号和所述M2个参考信号中的任一参考信号的发送天线端口组都属于所述F个天线端口集合中的同一个天线端口集合。As an embodiment, the above-mentioned base station device is characterized in that the second transmitter module also sends fifth information; wherein, the fifth information is used to determine F antenna port sets, where F is a positive integer, and the Any antenna port set in the F antenna port sets includes a positive integer number of antenna port groups, and one antenna port group includes a positive integer number of antenna ports; any one of the M1 reference signals and the M2 reference signals The transmitting antenna port groups of all belong to the same antenna port set in the F antenna port sets.
作为一个实施例,相比现有公开技术,本申请具有如下主要技术优势:As an embodiment, compared with the existing disclosed technology, the present application has the following main technical advantages:
-.通过配置更多的备选时频资源供用户选择来发送上行参考信号,可以解决非授权频谱下只配置M个多载波符号用于M个参考信号传输可能带来的部分参考信号不能被发送的情况。-. By configuring more candidate time-frequency resources for users to choose to send uplink reference signals, it can solve the problem that some reference signals that may be caused by only configuring M multi-carrier symbols for the transmission of M reference signals in the unlicensed spectrum cannot be used The situation of sending.
-.对不同备选时频资源中发送的上行参考信号使用相同的发送功率,且由同一个功率配置信息确定,以进行公平的信道/波束质量的比较。-. Use the same transmit power for uplink reference signals sent in different candidate time-frequency resources, and be determined by the same power configuration information, so as to perform fair channel/beam quality comparison.
-.基站通过盲检多个参考信号中的至少一个参考信号可以进一步检测出其余参考信号,从而基站可以获知哪些参考信号的发送波束没有通过上行LBT。-. The base station can further detect the rest of the reference signals by blindly detecting at least one of the multiple reference signals, so that the base station can know which reference signal transmission beams do not pass through the uplink LBT.
-.备选时频资源中未被用于发送上行参考信号的资源可以被用于其他无线信号的发送,比如数据、DMRS、SRS、PTRS等,因此通过尽可能的充分利用时频资源,以提高系统吞吐量。-. Among the candidate time-frequency resources, resources that are not used to send uplink reference signals can be used to send other wireless signals, such as data, DMRS, SRS, PTRS, etc., so by making full use of time-frequency resources as much as possible, to Improve system throughput.
附图说明Description of drawings
通过阅读参照以下附图中的对非限制性实施例所作的详细描述,本申请的其它特征、目的和优点将会变得更加明显:Other characteristics, objects and advantages of the present application will become more apparent by reading the detailed description of non-limiting embodiments with reference to the following drawings:
图1示出了根据本申请的一个实施例的第一信息、第二信息、M1个参考信号和M2个参考信号的流程图;FIG. 1 shows a flowchart of first information, second information, M1 reference signals and M2 reference signals according to an embodiment of the present application;
图2示出了根据本申请的一个实施例的网络架构的示意图;FIG. 2 shows a schematic diagram of a network architecture according to an embodiment of the present application;
图3示出了根据本申请的一个实施例的用户平面和控制平面的无线协议架构的实施例的示意图;FIG. 3 shows a schematic diagram of an embodiment of a wireless protocol architecture of a user plane and a control plane according to an embodiment of the present application;
图4示出了根据本申请的一个实施例的演进节点和UE的示意图;FIG. 4 shows a schematic diagram of an evolved node and a UE according to an embodiment of the present application;
图5示出了根据本申请的一个实施例的无线传输的流程图;FIG. 5 shows a flowchart of wireless transmission according to an embodiment of the present application;
图6示出了根据本申请的另一个实施例的无线传输的流程图;FIG. 6 shows a flowchart of wireless transmission according to another embodiment of the present application;
图7A-7B示出了根据本申请的一个实施例的第一信息与M1个多载波符号和M2个多载波符号的关系的示意图;7A-7B show a schematic diagram of the relationship between the first information and M1 multi-carrier symbols and M2 multi-carrier symbols according to an embodiment of the present application;
图8A-8C分别示出了根据本申请的一个实施例的给定第一接入检测和N个多载波符号的关系的示意图;8A-8C are schematic diagrams respectively showing the relationship between a given first access detection and N multi-carrier symbols according to an embodiment of the present application;
图9A-9B分别示出了根据本申请的一个实施例的给定接入检测和给定无线信号的空间关系的示意图;Figures 9A-9B respectively show a schematic diagram of a given access detection and a given wireless signal's spatial relationship according to an embodiment of the present application;
图10A-10C分别示出了根据本申请的一个实施例的一次接入检测的示意图;10A-10C respectively show a schematic diagram of an access detection according to an embodiment of the present application;
图11示出了根据本申请的一个实施例的第一功率配置信息和M1个参考信号以及M2个参考信号的发送功率的关系的示意图;FIG. 11 shows a schematic diagram of the relationship between the first power configuration information and the transmission power of M1 reference signals and M2 reference signals according to an embodiment of the present application;
图12示出了根据本申请的一个实施例的X个参考信号中的至少一个参考信号所占用的空口资源被用于从Y个多载波符号中确定X个多载波符号的示意图;FIG. 12 shows a schematic diagram of air interface resources occupied by at least one reference signal among X reference signals being used to determine X multi-carrier symbols from Y multi-carrier symbols according to an embodiment of the present application;
图13A-13B分别示出了根据本申请的一个实施例的M1个参考信号和M2个参考信号的发送顺序与第一信息的关系的示意图;13A-13B respectively show a schematic diagram of the relationship between the sending order of M1 reference signals and M2 reference signals and the first information according to an embodiment of the present application;
图14A-14E分别示出了根据本申请的一个实施例的N个多载波符号、N1个天线端口组和Z个参考信号的关系的示意图;14A-14E respectively show schematic diagrams of the relationship between N multi-carrier symbols, N1 antenna port groups and Z reference signals according to an embodiment of the present application;
图15示出了根据本申请的一个实施例的天线端口和天线端口组的示意图;Fig. 15 shows a schematic diagram of an antenna port and an antenna port group according to an embodiment of the present application;
图16A-16B分别示出了根据本申请的一个实施例的给定无线信号的发送功率与G2个分量的关系的示意图;16A-16B respectively show a schematic diagram of the relationship between the transmission power of a given wireless signal and the G2 components according to an embodiment of the present application;
图17示出了根据本申请的一个实施例的UE中的处理装置的结构框图;FIG. 17 shows a structural block diagram of a processing device in a UE according to an embodiment of the present application;
图18示出了根据本申请的一个实施例的基站设备中的处理装置的结构框图;Fig. 18 shows a structural block diagram of a processing device in a base station device according to an embodiment of the present application;
具体实施方式detailed description
下文将结合附图对本申请的技术方案作进一步详细说明,需要说明的是,在不冲突的情况下,本申请的实施例和实施例中的特征可以任意相互组合。The technical solution of the present application will be described in further detail below in conjunction with the accompanying drawings. It should be noted that, in the case of no conflict, the embodiments of the present application and the features in the embodiments can be combined arbitrarily.
实施例1Example 1
实施例1示例了第一信息、第二信息、M1个参考信号和M2个参考信号的流程图,如附图1所示。
在实施例1中,本申请中的所述用户设备接收第一信息,所述第一信息包括第一功率配置信息,所述第一信息被用于确定第一子频带上的M个多载波符号,所述M是大于1的正整数;从所述第一子频带上的M个多载波符号中确定M1个多载波符号;对于所述第一子频带上的M个多载波符号,仅在所述M1个多载波符号中分别发送M1个参考信号,所述M1是小于所述M的正整数;接收第二信息,所述第二信息包括第二功率配置信息,所述第二信息被用于确定所述第一子频带上的P个多载波符号,所述P是大于1的正整数;在所述第一子频带上的P个多载波符号中的M2个多载波符号中分别发送M2个参考信号,所述M2是不大于所述P的正整数,所述M1与所述M2的和等于所述M;其中,所述M2个参考信号的发送功率与所述第一功率配置信息有关且与所述第二功率配置信息无关。In
作为一个实施例,所述第一信息是动态配置的。As an embodiment, the first information is dynamically configured.
作为一个实施例,所述第一信息由物理层信令承载。As an embodiment, the first information is carried by physical layer signaling.
作为一个实施例,所述第一信息属于DCI(下行控制信息,Downlink ControlInformation)。As an embodiment, the first information belongs to DCI (Downlink Control Information).
作为一个实施例,所述第一信息是一个DCI中的一个域(Field),所述域包括正整数个比特。As an embodiment, the first information is a field (Field) in a DCI, and the field includes a positive integer number of bits.
作为一个实施例,所述第一信息由一个DCI中的多个域(Field)组成,所述域包括正整数个比特。As an embodiment, the first information is composed of multiple fields (Fields) in one DCI, and the fields include a positive integer number of bits.
作为一个实施例,所述第一信息由下行物理层控制信道(即仅能用于承载物理层信令的下行信道)承载。As an embodiment, the first information is carried by a downlink physical layer control channel (that is, a downlink channel that can only be used to bear physical layer signaling).
作为一个实施例,所述第一信息由PDCCH(Physical Downlink Control Channel,物理下行控制信道)承载。As an embodiment, the first information is carried by a PDCCH (Physical Downlink Control Channel, Physical Downlink Control Channel).
作为一个实施例,所述第一信息由sPDCCH(short PDCCH,短PDCCH)承载。As an embodiment, the first information is carried by a sPDCCH (short PDCCH, short PDCCH).
作为一个实施例,所述第一信息由NR-PDCCH(New Radio PDCCH,新无线PDCCH)承载。As an embodiment, the first information is carried by an NR-PDCCH (New Radio PDCCH, new radio PDCCH).
作为一个实施例,所述第一信息由NB-PDCCH(Narrow Band PDCCH,窄带PDCCH)承载。As an embodiment, the first information is carried by an NB-PDCCH (Narrow Band PDCCH, narrowband PDCCH).
作为一个实施例,所述第二信息是动态配置的。As an embodiment, the second information is dynamically configured.
作为一个实施例,所述第二信息由物理层信令承载。As an embodiment, the second information is carried by physical layer signaling.
作为一个实施例,所述第二信息属于DCI(下行控制信息,Downlink ControlInformation)。As an embodiment, the second information belongs to DCI (Downlink Control Information).
作为一个实施例,所述第二信息是一个DCI中的一个域(Field),所述域包括正整数个比特。As an embodiment, the second information is a field (Field) in a DCI, and the field includes a positive integer number of bits.
作为一个实施例,所述第二信息由一个DCI中的多个域(Field)组成,所述域包括正整数个比特。As an embodiment, the second information is composed of multiple fields (Fields) in one DCI, and the fields include a positive integer number of bits.
作为一个实施例,所述第二信息由下行物理层控制信道(即仅能用于承载物理层信令的下行信道)承载。As an embodiment, the second information is carried by a downlink physical layer control channel (that is, a downlink channel that can only be used to bear physical layer signaling).
作为一个实施例,所述第二信息由PDCCH(Physical Downlink Control Channel,物理下行控制信道)承载。As an embodiment, the second information is carried by a PDCCH (Physical Downlink Control Channel, physical downlink control channel).
作为一个实施例,所述第二信息由sPDCCH(short PDCCH,短PDCCH)承载。As an embodiment, the second information is carried by a sPDCCH (short PDCCH, short PDCCH).
作为一个实施例,所述第二信息由NR-PDCCH(New Radio PDCCH,新无线PDCCH)承载。As an embodiment, the second information is carried by an NR-PDCCH (New Radio PDCCH, new radio PDCCH).
作为一个实施例,所述第二信息由NB-PDCCH(Narrow Band PDCCH,窄带PDCCH)承载。As an embodiment, the second information is carried by an NB-PDCCH (Narrow Band PDCCH, narrowband PDCCH).
作为一个实施例,所述第二信息还显式的指示所述第一子频带上的P个多载波符号。As an embodiment, the second information also explicitly indicates the P multi-carrier symbols on the first sub-frequency band.
作为一个实施例,所述第二信息还隐式的指示所述第一子频带上的P个多载波符号。As an embodiment, the second information also implicitly indicates P multi-carrier symbols on the first sub-frequency band.
作为一个实施例,所述第二功率配置信息所适用的上行无线信号所占的多载波符号是所述第一子频带上的P个多载波符号。As an embodiment, the multi-carrier symbols occupied by uplink wireless signals to which the second power configuration information applies are P multi-carrier symbols on the first sub-frequency band.
作为一个实施例,所述第二功率配置信息所适用的上行无线信号所占的多载波符号包括所述第一子频带上的P个多载波符号。As an embodiment, the multi-carrier symbols occupied by uplink wireless signals to which the second power configuration information applies include P multi-carrier symbols on the first sub-frequency band.
作为一个实施例,所述第二功率配置信息所适用的上行无线信号所占的多载波符号属于所述第一子频带上的P个多载波符号。As an embodiment, the multi-carrier symbols occupied by uplink wireless signals to which the second power configuration information applies belong to the P multi-carrier symbols on the first sub-frequency band.
作为一个实施例,所述P等于一个时隙(slot)所包括的多载波符号的数目。As an embodiment, the P is equal to the number of multi-carrier symbols included in one slot (slot).
作为一个实施例,所述P等于14。As an example, said P is equal to 14.
作为一个实施例,所述P等于一个时隙(slot)中除了控制信道所占的多载波符号之外的所有多载波符号的数目。As an embodiment, the P is equal to the number of all multi-carrier symbols in a slot (slot) except the multi-carrier symbols occupied by the control channel.
作为一个实施例,所述P等于12。As an example, said P is equal to 12.
作为一个实施例,所述第一信息和所述第二信息分别属于二个DCI。As an embodiment, the first information and the second information respectively belong to two DCIs.
作为一个实施例,所述第一信息和所述第二信息分别在两个时隙(slot)中发送,所述时隙由A个多载波符号组成,所述A是大于1的正整数。As an embodiment, the first information and the second information are respectively sent in two time slots (slots), where the time slots consist of A multi-carrier symbols, where A is a positive integer greater than 1.
作为一个实施例,所述P满足P≥M-M1。As an embodiment, the P satisfies P≧M-M1.
作为一个实施例,所述P满足P=M-M1。As an embodiment, the P satisfies P=M-M1.
作为一个实施例,所述P大于所述M。As an example, the P is greater than the M.
作为一个实施例,所述P等于所述M。As an example, said P is equal to said M.
作为一个实施例,所述M2小于所述P。As an example, the M2 is smaller than the P.
作为一个实施例,所述P是不小于所述M的正整数。As an embodiment, the P is a positive integer not smaller than the M.
作为一个实施例,所述用户设备自行从所述第一子频带上的M个多载波符号中确定所述M1个多载波符号。As an embodiment, the user equipment determines the M1 multi-carrier symbols from the M multi-carrier symbols on the first sub-frequency band by itself.
作为一个实施例,所述M1个参考信号的接收者通过盲检从所述第一子频带上的M个多载波符号中确定所述M1个多载波符号。As an embodiment, the receiver of the M1 reference signals determines the M1 multi-carrier symbols from the M multi-carrier symbols on the first sub-frequency band through blind detection.
作为一个实施例,所述M2个参考信号的接收者通过盲检从所述第一子频带上的P个多载波符号中确定所述M2个多载波符号。As an embodiment, the receiver of the M2 reference signals determines the M2 multi-carrier symbols from the P multi-carrier symbols on the first sub-frequency band through blind detection.
作为一个实施例,所述M1个参考信号的接收者通过在所述第一子频带上的M个多载波符号中盲检所述M1个参考信号中的至少一个参考信号所占用的空口资源来确定所述M1个多载波符号。As an embodiment, the receiver of the M1 reference signals blindly detects the air interface resources occupied by at least one of the M1 reference signals in the M multi-carrier symbols on the first sub-frequency band Determine the M1 multi-carrier symbols.
作为一个实施例,所述M2个参考信号的接收者通过盲检所述M2个参考信号中的至少一个参考信号所占用的空口资源来确定所述M2个多载波符号。As an embodiment, the receiver of the M2 reference signals determines the M2 multi-carrier symbols by blindly detecting an air interface resource occupied by at least one of the M2 reference signals.
作为一个实施例,所述M1个参考信号和所述M2个参考信号包括SRS(SoundingReference Signal,探测参考信号)和上行PTRS(Phase-Tracking Reference Signal,相位跟踪参考信号)中的一种或多种。As an embodiment, the M1 reference signals and the M2 reference signals include one or more of SRS (Sounding Reference Signal, sounding reference signal) and uplink PTRS (Phase-Tracking Reference Signal, phase tracking reference signal) .
作为一个实施例,所述M1个参考信号和所述M2个参考信号包括SRS。As an embodiment, the M1 reference signals and the M2 reference signals include SRSs.
作为一个实施例,所述M1个参考信号和所述M2个参考信号包括PTRS。As an embodiment, the M1 reference signals and the M2 reference signals include PTRS.
作为一个实施例,所述M1个参考信号和所述M2个参考信号包括SRS和上行PTRS。As an embodiment, the M1 reference signals and the M2 reference signals include SRS and uplink PTRS.
作为一个实施例,所述第一子频带包括正整数个PRB(Physical Resource Block,物理资源块)。As an embodiment, the first sub-frequency band includes a positive integer number of PRBs (Physical Resource Block, physical resource block).
作为一个实施例,所述第一子频带包括正整数个连续的PRB。As an embodiment, the first sub-frequency band includes a positive integer number of consecutive PRBs.
作为一个实施例,所述第一子频带包括正整数个RB(Resource Block,资源块)。As an embodiment, the first sub-frequency band includes a positive integer number of RBs (Resource Block, resource block).
作为一个实施例,所述第一子频带包括正整数个连续的RB。As an embodiment, the first sub-frequency band includes a positive integer number of consecutive RBs.
作为一个实施例,所述第一子频带包括正整数个连续的子载波。As an embodiment, the first sub-frequency band includes a positive integer number of continuous sub-carriers.
作为一个实施例,所述第一子频带包括的连续子载波数目等于12的正整数倍。As an embodiment, the number of consecutive subcarriers included in the first sub-frequency band is equal to a positive integer multiple of 12.
作为一个实施例,所述第一子频带部署于非授权频谱。As an embodiment, the first sub-frequency band is deployed in an unlicensed frequency spectrum.
作为一个实施例,所述第一子频带包括一个载波(Carrier)。As an embodiment, the first sub-frequency band includes a carrier (Carrier).
作为一个实施例,所述第一子频带包括一个BWP(Bandwidth Part,带宽分量)。As an embodiment, the first sub-frequency band includes a BWP (Bandwidth Part, bandwidth component).
作为一个实施例,所述多载波符号是OFDM(Orthogonal Frequency-DivisionMultiplexing,正交频分复用)符号。As an embodiment, the multi-carrier symbol is an OFDM (Orthogonal Frequency-Division Multiplexing, Orthogonal Frequency Division Multiplexing) symbol.
作为一个实施例,所述多载波符号是SC-FDMA(Single-Carrier Frequency-Division Multiple Access,单载波频分多址)符号。As an embodiment, the multi-carrier symbol is an SC-FDMA (Single-Carrier Frequency-Division Multiple Access, Single-Carrier Frequency-Division Multiple Access) symbol.
作为一个实施例,所述多载波符号是FBMC(Filter Bank Multi Carrier,滤波组多载波)符号。As an embodiment, the multi-carrier symbol is an FBMC (Filter Bank Multi Carrier, filter bank multi-carrier) symbol.
作为一个实施例,所述多载波符号包括CP(Cyclic Prefix,循环前缀)。As an embodiment, the multi-carrier symbol includes a CP (Cyclic Prefix, cyclic prefix).
实施例2Example 2
实施例2示例了网络架构的示意图,如附图2所示。
实施例2示例了根据本申请的一个网络架构的示意图,如附图2所示。图2是说明了NR 5G,LTE(Long-Term Evolution,长期演进)及LTE-A(Long-Term Evolution Advanced,增强长期演进)系统网络架构200的图。NR 5G或LTE网络架构200可称为EPS(EvolvedPacket System,演进分组系统)200某种其它合适术语。EPS 200可包括一个或一个以上UE(User Equipment,用户设备)201,NG-RAN(下一代无线接入网络)202,EPC(Evolved PacketCore,演进分组核心)/5G-CN(5G-Core Network,5G核心网)210,HSS(Home SubscriberServer,归属签约用户服务器)220和因特网服务230。EPS可与其它接入网络互连,但为了简单未展示这些实体/接口。如图所示,EPS提供包交换服务,然而所属领域的技术人员将容易了解,贯穿本申请呈现的各种概念可扩展到提供电路交换服务的网络或其它蜂窝网络。NG-RAN包括NR节点B(gNB)203和其它gNB204。gNB203提供面向UE201的用户和控制平面协议终止。gNB203可经由Xn接口(例如,回程)连接到其它gNB204。gNB203也可称为基站、基站收发台、无线电基站、无线电收发器、收发器功能、基本服务集合(BSS)、扩展服务集合(ESS)、TRP(发送接收点)或某种其它合适术语。gNB203为UE201提供对EPC/5G-CN210的接入点。UE201的实例包括蜂窝式电话、智能电话、会话起始协议(SIP)电话、膝上型计算机、个人数字助理(PDA)、卫星无线电、非地面基站通信、卫星移动通信、全球定位系统、多媒体装置、视频装置、数字音频播放器(例如,MP3播放器)、相机、游戏控制台、无人机、飞行器、窄带物理网设备、机器类型通信设备、陆地交通工具、汽车、可穿戴设备,或任何其它类似功能装置。所属领域的技术人员也可将UE201称为移动台、订户台、移动单元、订户单元、无线单元、远程单元、移动装置、无线装置、无线通信装置、远程装置、移动订户台、接入终端、移动终端、无线终端、远程终端、手持机、用户代理、移动客户端、客户端或某个其它合适术语。gNB203通过S1/NG接口连接到EPC/5G-CN210。EPC/5G-CN210包括MME/AMF/UPF211、其它MME(MobilityManagement Entity,移动性管理实体)/AMF(Authent ication Management Field,鉴权管理域)/UPF(User Plane Function,用户平面功能)214、S-GW(Service Gateway,服务网关)212以及P-GW(Packet Date Network Gateway,分组数据网络网关)213。MME/AMF/UPF211是处理UE201与EPC/5G-CN210之间的信令的控制节点。大体上,MME/AMF/UPF211提供承载和连接管理。所有用户IP(Internet Protocal,因特网协议)包是通过S-GW212传送,S-GW212自身连接到P-GW213。P-GW213提供UE IP地址分配以及其它功能。P-GW213连接到因特网服务230。因特网服务230包括运营商对应因特网协议服务,具体可包括因特网、内联网、IMS(IPMultimedia Subsystem,IP多媒体子系统)和PS串流服务(PSS)。
作为一个实施例,所述UE201对应本申请中的所述用户设备。As an embodiment, the UE201 corresponds to the user equipment in this application.
作为一个实施例,所述gNB203对应本申请中的所述基站。As an embodiment, the gNB203 corresponds to the base station in this application.
作为一个实施例,所述UE201支持在非授权频谱上进行数据传输的无线通信。As an embodiment, the
作为一个实施例,所述gNB203支持在非授权频谱上进行数据传输的无线通信。As an embodiment, the gNB203 supports wireless communication for data transmission on an unlicensed frequency spectrum.
作为一个实施例,所述UE201支持大规模MIMO的无线通信。As an embodiment, the
作为一个实施例,所述gNB203支持大规模MIMO的无线通信。As an embodiment, the gNB203 supports massive MIMO wireless communication.
实施例3Example 3
实施例3示出了根据本申请的一个用户平面和控制平面的无线协议架构的实施例的示意图,如附图3所示。
附图3是说明用于用户平面和控制平面的无线电协议架构的实施例的示意图,图3用三个层展示用于用户设备(UE)和基站设备(gNB或eNB)的无线电协议架构:层1、层2和层3。层1(L1层)是最低层且实施各种PHY(物理层)信号处理功能。L1层在本文将称为PHY301。层2(L2层)305在PHY301之上,且负责通过PHY301在UE与gNB之间的链路。在用户平面中,L2层305包括MAC(Medium Access Control,媒体接入控制)子层302、RLC(Radio LinkControl,无线链路层控制协议)子层303和PDCP(Packet Data Convergence Protocol,分组数据汇聚协议)子层304,这些子层终止于网络侧上的gNB处。虽然未图示,但UE可具有在L2层305之上的若干上部层,包括终止于网络侧上的P-GW处的网络层(例如,IP层)和终止于连接的另一端(例如,远端UE、服务器等等)处的应用层。PDCP子层304提供不同无线电承载与逻辑信道之间的多路复用。PDCP子层304还提供用于上部层数据包的标头压缩以减少无线电发射开销,通过加密数据包而提供安全性,以及提供gNB之间的对UE的越区移交支持。RLC子层303提供上部层数据包的分段和重组装,丢失数据包的重新发射以及数据包的重排序以补偿由于HARQ造成的无序接收。MAC子层302提供逻辑与输送信道之间的多路复用。MAC子层302还负责在UE之间分配一个小区中的各种无线电资源(例如,资源块)。MAC子层302还负责HARQ操作。在控制平面中,用于UE和gNB的无线电协议架构对于物理层301和L2层305来说大体上相同,但没有用于控制平面的标头压缩功能。控制平面还包括层3(L3层)中的RRC(Radio Resource Control,无线电资源控制)子层306。RRC子层306负责获得无线电资源(即,无线电承载)且使用gNB与UE之间的RRC信令来配置下部层。Accompanying drawing 3 is a schematic diagram illustrating an embodiment of a radio protocol architecture for a user plane and a control plane, and Fig. 3 shows the radio protocol architecture for a user equipment (UE) and a base station device (gNB or eNB) with three layers:
作为一个实施例,附图3中的无线协议架构适用于本申请中的所述用户设备。As an embodiment, the wireless protocol architecture in Fig. 3 is applicable to the user equipment in this application.
作为一个实施例,附图3中的无线协议架构适用于本申请中的所述基站。As an embodiment, the wireless protocol framework in Fig. 3 is applicable to the base station in this application.
作为一个实施例,本申请中的所述第一信息生成于所述PHY301。As an embodiment, the first information in this application is generated by the PHY301.
作为一个实施例,本申请中的所述第二信息生成于所述PHY301。As an embodiment, the second information in this application is generated by the PHY301.
作为一个实施例,本申请中的所述M1个参考信号生成于所述PHY301。As an embodiment, the M1 reference signals in this application are generated by the PHY301.
作为一个实施例,本申请中的所述M2个参考信号生成于所述PHY301。As an embodiment, the M2 reference signals in this application are generated by the PHY301.
作为一个实施例,本申请中的所述K个第一接入检测生成于所述PHY301。As an embodiment, the K first access detections in this application are generated by the PHY301.
作为一个实施例,本申请中的所述第一无线信号生成于所述PHY301。As an embodiment, the first wireless signal in this application is generated by the PHY301.
作为一个实施例,本申请中的所述第三信息生成于所述PHY301。As an embodiment, the third information in this application is generated by the PHY301.
作为一个实施例,本申请中的所述第三信息生成于所述RRC子层306。As an embodiment, the third information in this application is generated in the
作为一个实施例,本申请中的所述第三信息生成于所述MAC子层302。As an embodiment, the third information in this application is generated in the
作为一个实施例,本申请中的所述第四信息生成于所述PHY301。As an embodiment, the fourth information in this application is generated by the PHY301.
作为一个实施例,本申请中的所述第四信息生成于所述RRC子层306。As an embodiment, the fourth information in this application is generated in the
作为一个实施例,本申请中的所述第四信息生成于所述MAC子层302。As an embodiment, the fourth information in this application is generated in the
作为一个实施例,本申请中的所述第五信息生成于所述RRC子层306。As an embodiment, the fifth information in this application is generated in the
作为一个实施例,本申请中的所述第五信息生成于所述MAC子层302。As an embodiment, the fifth information in this application is generated in the
实施例4Example 4
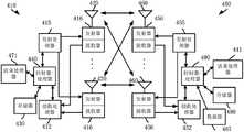
实施例4示出了根据本申请的一个基站设备和用户设备的示意图,如附图4所示。图4是在接入网络中与UE450通信的gNB410的框图。
基站设备(410)包括控制器/处理器440,存储器430,接收处理器412,发射处理器415,发射器/接收器416和天线420。The base station equipment (410) includes a controller/
用户设备(450)包括控制器/处理器490,存储器480,数据源467,发射处理器455,接收处理器452,发射器/接收器456和天线460。User equipment ( 450 ) includes controller/
在下行传输中,与基站设备(410)有关的处理包括:In downlink transmission, the processing related to the base station equipment (410) includes:
-控制器/处理器440,上层包到达,控制器/处理器440提供包头压缩、加密、包分段连接和重排序以及逻辑与传输信道之间的多路复用解复用,来实施用于用户平面和控制平面的L2层协议;上层包中可以包括数据或者控制信息,例如DL-SCH(Downlink SharedChannel,下行共享信道);- Controller/
控制器/处理器440,与存储程序代码和数据的存储器430相关联,存储器430可以为计算机可读媒体;a controller/
控制器/处理器440,包括调度单元以传输需求,调度单元用于调度与传输需求对应的空口资源;The controller/
波束处理器471,确定第一信息、以及确定第二信息;a
发射处理器415,接收控制器/处理器440的输出比特流,实施用于L1层(即物理层)的各种信号发射处理功能包括编码、交织、加扰、调制、功率控制/分配和物理层控制信令(包括PBCH,PDCCH,PHICH,PCFICH,参考信号)生成等;Transmit
发射器416,用于将发射处理器415提供的基带信号转换成射频信号并经由天线420发射出去;每个发射器416对各自的输入符号流进行采样处理得到各自的采样信号流。每个发射器416对各自的采样流进行进一步处理(比如数模转换,放大,过滤,上变频等)得到下行信号。The
在下行传输中,与用户设备(450)有关的处理可以包括:In downlink transmission, the processing related to the user equipment (450) may include:
接收器456,用于将通过天线460接收的射频信号转换成基带信号提供给接收处理器452;The
接收处理器452,实施用于L1层(即,物理层)的各种信号接收处理功能包括解码、解交织、解扰、解调和物理层控制信令提取等;The receiving
波束处理器441,确定第一信息、以及确定第二信息;The
控制器/处理器490,接收接收处理器452输出的比特流,提供包头解压缩、解密、包分段连接和重排序以及逻辑与传输信道之间的多路复用解复用,来实施用于用户平面和控制平面的L2层协议;The controller/
控制器/处理器490与存储程序代码和数据的存储器480相关联。存储器480可以为计算机可读媒体。A controller/
在UL(Uplink,上行)中,与基站设备(410)有关的处理包括:In UL (Uplink, uplink), the processing related to the base station equipment (410) includes:
接收器416,通过其相应天线420接收射频信号,把接收到的射频信号转化成基带信号,并把基带信号提供到接收处理器412;The
接收处理器412,实施用于L1层(即,物理层)的各种信号接收处理功能包括解码、解交织、解扰、解调和物理层控制信令提取等;The receiving
控制器/处理器440,实施L2层功能,以及与存储程序代码和数据的存储器430相关联;controller/
控制器/处理器440提供输送与逻辑信道之间的多路分用、包重组装、解密、标头解压缩、控制信号处理以恢复来自UE450的上层数据包;来自控制器/处理器440的上层数据包可提供到核心网络;Controller/
波束处理器471,确定M1个参考信号、以及确定M2个参考信号;The
在UL(Uplink,上行)中,与用户设备(450)有关的处理包括:In UL (Uplink, uplink), the processing related to the user equipment (450) includes:
数据源467,将上层数据包提供到控制器/处理器490。数据源467表示L2层之上的所有协议层;A
发射器456,通过其相应天线460发射射频信号,把基带信号转化成射频信号,并把射频信号提供到相应天线460;The
发射处理器455,实施用于L1层(即,物理层)的各种信号接收处理功能包括解码、解交织、解扰、解调和物理层控制信令提取等;The transmit
控制器/处理器490基于gNB410的无线资源分配来实施标头压缩、加密、包分段和重排序以及逻辑与输送信道之间的多路复用,实施用于用户平面和控制平面的L2层功能;Controller/
控制器/处理器490还负责HARQ操作、丢失包的重新发射,和到gNB410的信令;Controller/
波束处理器441,确定M1个参考信号、以及确定M2个参考信号;The
作为一个子实施例,所述UE450装置包括:至少一个处理器以及至少一个存储器,所述至少一个存储器包括计算机程序代码;所述至少一个存储器和所述计算机程序代码被配置成与所述至少一个处理器一起使用,所述UE450装置至少:接收第一信息,所述第一信息包括第一功率配置信息,所述第一信息被用于确定第一子频带上的M个多载波符号,所述M是大于1的正整数;从所述第一子频带上的M个多载波符号中确定M1个多载波符号;对于所述第一子频带上的M个多载波符号,仅在所述M1个多载波符号中分别发送M1个参考信号,所述M1是小于所述M的正整数;接收第二信息,所述第二信息包括第二功率配置信息,所述第二信息被用于确定所述第一子频带上的P个多载波符号,所述P是大于1的正整数;在所述第一子频带上的P个多载波符号中的M2个多载波符号中分别发送M2个参考信号,所述M2是不大于所述P的正整数,所述M1与所述M2的和等于所述M;其中,所述M2个参考信号的发送功率与所述第一功率配置信息有关且与所述第二功率配置信息无关。As a sub-embodiment, the UE450 device includes: at least one processor and at least one memory, the at least one memory includes computer program code; the at least one memory and the computer program code are configured to communicate with the at least one used together with a processor, the UE450 device at least: receives first information, the first information includes first power configuration information, and the first information is used to determine M multi-carrier symbols on the first sub-frequency band, so The M is a positive integer greater than 1; M1 multi-carrier symbols are determined from the M multi-carrier symbols on the first sub-frequency band; for the M multi-carrier symbols on the first sub-frequency band, only in the Send M1 reference signals respectively in M1 multi-carrier symbols, where M1 is a positive integer smaller than M; receive second information, where the second information includes second power configuration information, and the second information is used for Determining P multi-carrier symbols on the first sub-band, where P is a positive integer greater than 1; sending M2 in M2 multi-carrier symbols among the P multi-carrier symbols on the first sub-band reference signals, the M2 is a positive integer not greater than the P, and the sum of the M1 and the M2 is equal to the M; wherein, the transmission power of the M2 reference signals is related to the first power configuration information Relevant and irrelevant to the second power configuration information.
作为一个子实施例,所述UE450包括:一种存储计算机可读指令程序的存储器,所述计算机可读指令程序在由至少一个处理器执行时产生动作,所述动作包括:接收第一信息,所述第一信息包括第一功率配置信息,所述第一信息被用于确定第一子频带上的M个多载波符号,所述M是大于1的正整数;从所述第一子频带上的M个多载波符号中确定M1个多载波符号;对于所述第一子频带上的M个多载波符号,仅在所述M1个多载波符号中分别发送M1个参考信号,所述M1是小于所述M的正整数;接收第二信息,所述第二信息包括第二功率配置信息,所述第二信息被用于确定所述第一子频带上的P个多载波符号,所述P是大于1的正整数;在所述第一子频带上的P个多载波符号中的M2个多载波符号中分别发送M2个参考信号,所述M2是不大于所述P的正整数,所述M1与所述M2的和等于所述M;其中,所述M2个参考信号的发送功率与所述第一功率配置信息有关且与所述第二功率配置信息无关。As a sub-embodiment, the UE450 includes: a memory storing a computer-readable instruction program, the computer-readable instruction program generates an action when executed by at least one processor, and the action includes: receiving first information, The first information includes first power configuration information, and the first information is used to determine M multi-carrier symbols on the first sub-band, where M is a positive integer greater than 1; from the first sub-band M1 multi-carrier symbols are determined among the M multi-carrier symbols on the first sub-band; for the M multi-carrier symbols on the first sub-frequency band, only M1 reference signals are sent respectively in the M1 multi-carrier symbols, and the M1 is a positive integer less than the M; second information is received, the second information includes second power configuration information, and the second information is used to determine P multi-carrier symbols on the first sub-frequency band, so The P is a positive integer greater than 1; M2 reference signals are respectively sent in the M2 multi-carrier symbols among the P multi-carrier symbols on the first sub-frequency band, and the M2 is a positive integer not greater than the P , the sum of the M1 and the M2 is equal to the M; wherein, the transmit power of the M2 reference signals is related to the first power configuration information and has nothing to do with the second power configuration information.
作为一个子实施例,所述gNB410装置包括:至少一个处理器以及至少一个存储器,所述至少一个存储器包括计算机程序代码;所述至少一个存储器和所述计算机程序代码被配置成与所述至少一个处理器一起使用。所述gNB410装置至少:发送第一信息,所述第一信息包括第一功率配置信息,所述第一信息被用于确定第一子频带上的M个多载波符号,所述M是大于1的正整数;在所述第一子频带上的M个多载波符号中的M1个多载波符号中分别接收M1个参考信号,所述M1是小于所述M的正整数;发送第二信息,所述第二信息包括第二功率配置信息,所述第二信息被用于确定所述第一子频带上的P个多载波符号,所述P是大于1的正整数;在所述第一子频带上的P个多载波符号中的M2个多载波符号中分别接收M2个参考信号,所述M2是不大于所述P的正整数,所述M1与所述M2的和等于所述M;其中,所述M2个参考信号的发送功率与所述第一功率配置信息有关且与所述第二功率配置信息无关。As a sub-embodiment, the gNB410 device includes: at least one processor and at least one memory, the at least one memory includes computer program code; the at least one memory and the computer program code are configured to communicate with the at least one processor used together. The gNB410 device at least: transmits first information, the first information includes first power configuration information, and the first information is used to determine M multi-carrier symbols on the first sub-frequency band, where M is greater than 1 is a positive integer; respectively receive M1 reference signals in M1 multi-carrier symbols in the M multi-carrier symbols on the first sub-band, and the M1 is a positive integer smaller than the M; send the second information, The second information includes second power configuration information, and the second information is used to determine P multi-carrier symbols on the first sub-band, where P is a positive integer greater than 1; in the first M2 reference signals are respectively received in the M2 multi-carrier symbols in the P multi-carrier symbols on the sub-band, the M2 is a positive integer not greater than the P, and the sum of the M1 and the M2 is equal to the M ; Wherein, the transmit power of the M2 reference signals is related to the first power configuration information and not related to the second power configuration information.
作为一个子实施例,所述gNB410包括:一种存储计算机可读指令程序的存储器,所述计算机可读指令程序在由至少一个处理器执行时产生动作,所述动作包括:发送第一信息,所述第一信息包括第一功率配置信息,所述第一信息被用于确定第一子频带上的M个多载波符号,所述M是大于1的正整数;在所述第一子频带上的M个多载波符号中的M1个多载波符号中分别接收M1个参考信号,所述M1是小于所述M的正整数;发送第二信息,所述第二信息包括第二功率配置信息,所述第二信息被用于确定所述第一子频带上的P个多载波符号,所述P是大于1的正整数;在所述第一子频带上的P个多载波符号中的M2个多载波符号中分别接收M2个参考信号,所述M2是不大于所述P的正整数,所述M1与所述M2的和等于所述M;其中,所述M2个参考信号的发送功率与所述第一功率配置信息有关且与所述第二功率配置信息无关。As a sub-embodiment, the gNB410 includes: a memory storing a computer-readable instruction program, the computer-readable instruction program generates actions when executed by at least one processor, and the actions include: sending first information, The first information includes first power configuration information, and the first information is used to determine M multi-carrier symbols on the first sub-band, where M is a positive integer greater than 1; in the first sub-band M1 reference signals are respectively received in the M1 multi-carrier symbols in the M multi-carrier symbols above, the M1 is a positive integer smaller than the M; the second information is sent, and the second information includes the second power configuration information , the second information is used to determine P multi-carrier symbols on the first sub-band, where P is a positive integer greater than 1; among the P multi-carrier symbols on the first sub-band M2 reference signals are respectively received in the M2 multi-carrier symbols, the M2 is a positive integer not greater than the P, and the sum of the M1 and the M2 is equal to the M; wherein, the transmission of the M2 reference signals The power is related to the first power configuration information and not related to the second power configuration information.
作为一个子实施例,UE450对应本申请中的用户设备。As a sub-embodiment, UE450 corresponds to the user equipment in this application.
作为一个子实施例,gNB410对应本申请中的基站。As a sub-embodiment, gNB410 corresponds to the base station in this application.
作为一个子实施例,接收器456、接收处理器452和控制器/处理器490中的至少前两者被用于接收本申请中的所述第一信息。As a sub-embodiment, at least the former two of the
作为一个子实施例,发射器416、发射处理器415和控制器/处理器440中的至少前两者被用于发送本申请中的所述第一信息。As a sub-embodiment, at least the former two of the
作为一个子实施例,接收器456、接收处理器452和控制器/处理器490中的至少前两者被用于接收本申请中的所述第二信息。As a sub-embodiment, at least the former two of the
作为一个子实施例,发射器416、发射处理器415和控制器/处理器440中的至少前两者被用于发送本申请中的所述第二信息。As a sub-embodiment, at least the former two of the
作为一个子实施例,接收器456、接收处理器452和控制器/处理器490中的至少前两者被用于接收本申请中的所述第三信息。As a sub-embodiment, at least the former two of the
作为一个子实施例,发射器416、发射处理器415和控制器/处理器440中的至少前两者被用于发送本申请中的所述第三信息。As a sub-embodiment, at least the first two of the
作为一个子实施例,接收器456、接收处理器452和控制器/处理器490中的至少前两者被用于接收本申请中的所述第四信息。As a sub-embodiment, at least the former two of the
作为一个子实施例,发射器416、发射处理器415和控制器/处理器440中的至少前两者被用于发送本申请中的所述第四信息。As a sub-embodiment, at least the first two of the
作为一个子实施例,接收器456、接收处理器452和控制器/处理器490中的至少前两者被用于接收本申请中的所述第五信息。As a sub-embodiment, at least the former two of the
作为一个子实施例,发射器416、发射处理器415和控制器/处理器440中的至少前两者被用于发送本申请中的所述第五信息。As a sub-embodiment, at least the first two of the
作为一个子实施例,发射器456、发射处理器455和控制器/处理器490中的至少前两者被用于发送本申请中的所述M1个参考信号。As a sub-embodiment, at least the first two of the
作为一个子实施例,接收器416、接收处理器412和控制器/处理器440中的至少前两者被用于接收本申请中的所述M1个参考信号。As a sub-embodiment, at least the former two of the
作为一个子实施例,发射器456、发射处理器455和控制器/处理器490中的至少前两者被用于发送本申请中的所述M2个参考信号。As a sub-embodiment, at least the first two of the
作为一个子实施例,接收器416、接收处理器412和控制器/处理器440中的至少前两者被用于接收本申请中的所述M2个参考信号。As a sub-embodiment, at least the former two of the
作为一个子实施例,发射器456、发射处理器455和控制器/处理器490中的至少前两者被用于发送本申请中的所述第一无线信号。As a sub-embodiment, at least the first two of the
作为一个子实施例,接收器416、接收处理器412和控制器/处理器440中的至少前两者被用于接收本申请中的所述第一无线信号。As a sub-embodiment, at least the former two of the
作为一个子实施例,接收器456、接收处理器452和控制器/处理器490中的至少前两者被用于执行本申请中的所述K个第一接入检测。As a sub-embodiment, at least the first two of the
实施例5Example 5
实施例5示例了一个无线传输的流程图,如附图5所示。在附图5中,基站N01是用户设备U02的服务小区维持基站。附图5中,方框F1、F2和F3是可选的。
对于N01,在步骤S10中发送第五信息;在步骤S11中发送第四信息;在步骤S12中发送第三信息;在步骤S13中发送第一信息;在步骤S14中接收M1个参考信号;在步骤S15中发送第二信息;在步骤S16中接收M2个参考信号;在步骤S17中接收第一无线信号。For N01, send the fifth message in step S10; send the fourth message in step S11; send the third message in step S12; send the first message in step S13; receive M1 reference signals in step S14; In step S15, the second information is sent; in step S16, M2 reference signals are received; in step S17, the first wireless signal is received.
对于U02,在步骤S20中接收第五信息;在步骤S21中接收第四信息;在步骤S22中接收第三信息;在步骤S23中接收第一信息;在步骤S24中执行K个第一接入检测;在步骤S25中发送M1个参考信号;在步骤S26中接收第二信息;在步骤S27中发送M2个参考信号;在步骤S28中发送第一无线信号。For U02, receive fifth information in step S20; receive fourth information in step S21; receive third information in step S22; receive first information in step S23; perform K first accesses in step S24 Detection; sending M1 reference signals in step S25; receiving second information in step S26; sending M2 reference signals in step S27; sending the first wireless signal in step S28.
在实施例5中,所述第一信息包括第一功率配置信息,所述第一信息被所述U02用于确定第一子频带上的M个多载波符号,所述M是大于1的正整数;所述U02从所述第一子频带上的M个多载波符号中确定M1个多载波符号;对于所述第一子频带上的M个多载波符号,所述U02仅在所述M1个多载波符号中分别发送M1个参考信号,所述M1是小于所述M的正整数;所述第二信息包括第二功率配置信息,所述第二信息被所述U02用于确定所述第一子频带上的P个多载波符号,所述P是大于1的正整数;所述U02在所述第一子频带上的P个多载波符号中的M2个多载波符号中分别发送M2个参考信号,所述M2是不大于所述P的正整数,所述M1与所述M2的和等于所述M;所述M2个参考信号的发送功率与所述第一功率配置信息有关且与所述第二功率配置信息无关。所述K等于1;所述K个第一接入检测被所述U02用于确定所述M1个多载波符号和所述M2个多载波符号。所述第一信息被所述U02用于确定所述M1个参考信号和所述M2个参考信号的假定发送顺序,所述第三信息被所述U02用于确定所述M1个参考信号和所述M2个参考信号的发送顺序与所述假定发送顺序是否一致。所述第二信息还包括所述第一无线信号的配置信息,所述第二功率配置信息被所述U02用于确定所述第一无线信号的发送功率,所述第一无线信号不包括所述M2个参考信号中的任一参考信号,所述第一无线信号所占用的时频资源包括所述第一时频资源中属于所述第一子频带上的P1个多载波符号且不属于所述M2个多载波符号的至少一个多载波符号。所述第四信息被所述U02用于确定所述第一时频资源中属于所述第一子频带上的所述P1个多载波符号且不属于所述M2个多载波符号的至少一个多载波符号被所述第一无线信号占用。所述第五信息被所述U02用于确定F个天线端口集合,所述F是正整数,所述F个天线端口集合中的任一天线端口集合包括正整数个天线端口组,一个天线端口组包括正整数个天线端口;所述M1个参考信号和所述M2个参考信号中的任一参考信号的发送天线端口组都属于所述F个天线端口集合中的同一个天线端口集合。In
作为一个实施例,所述K等于1,所述M1个多载波符号和所述M2个多载波符号之间的所有多载波符号都被所述用户设备占用。As an embodiment, the K is equal to 1, and all multi-carrier symbols between the M1 multi-carrier symbols and the M2 multi-carrier symbols are occupied by the user equipment.
作为一个实施例,所述K等于1,所述K个第一接入检测被用于确定一个上行突发,所述M1个多载波符号和所述M2个多载波符号都属于所述一个上行突发。As an embodiment, the K is equal to 1, the K first access detections are used to determine an uplink burst, and the M1 multi-carrier symbols and the M2 multi-carrier symbols all belong to the one uplink sudden.
作为一个实施例,一个上行突发包括在时间上连续的一组多载波符号和在频域上连续的一组子载波,所述上行突发中的所有多载波符号都被所述用户设备占用。As an embodiment, an uplink burst includes a group of continuous multi-carrier symbols in time and a group of continuous subcarriers in frequency domain, and all multi-carrier symbols in the uplink burst are occupied by the user equipment .
作为一个实施例,所述第一子频带被部署于非授权频谱。As an embodiment, the first frequency sub-band is deployed in an unlicensed frequency spectrum.
作为一个实施例,所述M1个参考信号中任一参考信号的发送天线端口组与所在的所述第一子频带上的M个多载波符号中之一被分配的天线端口组相同。As an embodiment, the antenna port group for transmitting any one of the M1 reference signals is the same as the antenna port group allocated to one of the M multi-carrier symbols on the first sub-band.
作为一个实施例,所述M2个参考信号中任一参考信号的发送天线端口组与所在的M2个多载波符号中之一被分配的天线端口组相同。As an embodiment, the transmitting antenna port group of any one of the M2 reference signals is the same as the antenna port group allocated to one of the M2 multi-carrier symbols.
作为一个实施例,所述M1个参考信号被同一个天线端口组发送。As an embodiment, the M1 reference signals are sent by the same antenna port group.
作为一个实施例,所述M1个参考信号分别被M1个天线端口组发送。As an embodiment, the M1 reference signals are respectively sent by the M1 antenna port groups.
作为一个实施例,所述M2个参考信号被同一个天线端口组发送。As an embodiment, the M2 reference signals are sent by the same antenna port group.
作为一个实施例,所述M2个参考信号分别被M2个天线端口组发送。As an embodiment, the M2 reference signals are respectively sent by the M2 antenna port groups.
作为一个实施例,所述M1个参考信号和所述M2个参考信号被同一个天线端口组发送。As an embodiment, the M1 reference signals and the M2 reference signals are sent by the same antenna port group.
作为一个实施例,所述M1个参考信号和所述M2个参考信号分别被M1+M2个天线端口组发送。As an embodiment, the M1 reference signals and the M2 reference signals are respectively sent by M1+M2 antenna port groups.
作为一个实施例,所述K等于1,所述K个第一接入检测被用于确定所述第一子频带上的M个多载波符号中只有所述M1个多载波符号能被用于上行传输,且所述第一子频带上的P1个多载波符号中只有所述M2个多载波符号能被用于上行传输。As an embodiment, the K is equal to 1, and the K first access detections are used to determine that only the M1 multi-carrier symbols among the M multi-carrier symbols on the first sub-band can be used for Uplink transmission, and only the M2 multi-carrier symbols among the P1 multi-carrier symbols on the first sub-frequency band can be used for uplink transmission.
作为一个实施例,所述第三信息是半静态配置的。As an embodiment, the third information is configured semi-statically.
作为一个实施例,所述第三信息由更高层信令承载。As an embodiment, the third information is carried by higher layer signaling.
作为一个实施例,所述第三信息由RRC(Radio Resource Control,无线电资源控制)信令承载。As an embodiment, the third information is carried by RRC (Radio Resource Control, radio resource control) signaling.
作为一个实施例,所述第三信息是一个RRC信令中的一个IE(InformationElement,信息单元)的全部或一部分。As an embodiment, the third information is all or part of an IE (InformationElement, information element) in one RRC signaling.
作为一个实施例,所述第三信息由MAC(Medium Acess Control,媒体接入控制)CE(Control Element,控制单元)信令承载。As an embodiment, the third information is carried by MAC (Medium Access Control, Medium Access Control) CE (Control Element, Control Element) signaling.
作为一个实施例,所述第三信息在SIB(System Information Block,系统信息块)中传输。As an embodiment, the third information is transmitted in a SIB (System Information Block, system information block).
作为一个实施例,所述第三信息是动态配置的。As an embodiment, the third information is dynamically configured.
作为一个实施例,所述第三信息由物理层信令承载。As an embodiment, the third information is carried by physical layer signaling.
作为一个实施例,所述第三信息属于DCI。As an embodiment, the third information belongs to DCI.
作为一个实施例,所述第三信息是一个DCI中的一个域,所述域包括正整数个比特。As an embodiment, the third information is a field in a DCI, and the field includes a positive integer number of bits.
作为一个实施例,所述第三信息由下行物理层控制信道承载。As an embodiment, the third information is carried by a downlink physical layer control channel.
作为一个实施例,所述第三信息由PDCCH承载。As an embodiment, the third information is carried by a PDCCH.
作为一个实施例,所述第三信息由sPDCCH承载。As an embodiment, the third information is carried by sPDCCH.
作为一个实施例,所述第三信息由NR-PDCCH承载。As an embodiment, the third information is carried by NR-PDCCH.
作为一个实施例,所述第三信息由NB-PDCCH承载。As an embodiment, the third information is carried by the NB-PDCCH.
作为一个实施例,所述第一信息和所述第三信息属于同一个DCI。As an embodiment, the first information and the third information belong to the same DCI.
作为一个实施例,所述第一信息和所述第三信息分别是一个DCI中的第一域和第二域。As an embodiment, the first information and the third information are respectively a first field and a second field in a DCI.
作为一个实施例,所述第一时频资源所占的频域资源包括正整数个PRB。As an embodiment, the frequency domain resource occupied by the first time-frequency resource includes a positive integer number of PRBs.
作为一个实施例,所述第一时频资源所占的频域资源包括正整数个连续的PRB。As an embodiment, the frequency domain resource occupied by the first time-frequency resource includes a positive integer number of consecutive PRBs.
作为一个实施例,所述第一时频资源所占的频域资源包括正整数个RB。As an embodiment, the frequency domain resource occupied by the first time-frequency resource includes a positive integer number of RBs.
作为一个实施例,所述第一时频资源所占的频域资源包括正整数个连续的RB。As an embodiment, the frequency domain resource occupied by the first time-frequency resource includes a positive integer number of consecutive RBs.
作为一个实施例,所述第一时频资源所占的频域资源包括正整数个连续的子载波。As an embodiment, the frequency domain resource occupied by the first time-frequency resource includes a positive integer number of consecutive subcarriers.
作为一个实施例,所述第一时频资源所占的频域资源包括的连续子载波数目等于12的正整数倍。As an embodiment, the number of consecutive subcarriers included in the frequency domain resource occupied by the first time-frequency resource is equal to a positive integer multiple of 12.
作为一个实施例,所述第一时频资源所占的频域资源部署于非授权频谱。As an embodiment, the frequency domain resource occupied by the first time-frequency resource is deployed in an unlicensed spectrum.
作为一个实施例,所述第一时频资源所占的频域资源包括一个载波。As an embodiment, the frequency domain resource occupied by the first time-frequency resource includes a carrier.
作为一个实施例,所述第一时频资源所占的频域资源包括一个BWP。As an embodiment, the frequency domain resource occupied by the first time-frequency resource includes a BWP.
作为一个实施例,所述第一时频资源所占的频域资源包括所述第一子频带。As an embodiment, the frequency domain resource occupied by the first time-frequency resource includes the first sub-frequency band.
作为一个实施例,所述第一时频资源所占的频域资源和所述第一子频带相同。As an embodiment, the frequency domain resource occupied by the first time-frequency resource is the same as that of the first sub-frequency band.
作为一个实施例,所述第一无线信号的所述配置信息所指示的时域资源是所述第一子频带上的P个多载波符号。As an embodiment, the time-domain resources indicated by the configuration information of the first wireless signal are P multi-carrier symbols on the first sub-frequency band.
作为一个实施例,所述第一无线信号的所述配置信息所指示的时域资源包括所述第一子频带上的P个多载波符号。As an embodiment, the time-domain resource indicated by the configuration information of the first wireless signal includes P multi-carrier symbols on the first sub-frequency band.
作为一个实施例,所述第一无线信号的所述配置信息所指示的时域资源属于所述第一子频带上的P个多载波符号。As an embodiment, the time-domain resource indicated by the configuration information of the first wireless signal belongs to P multi-carrier symbols on the first sub-frequency band.
作为一个实施例,所述第一无线信号包括数据、DMRS、SRS和PTRS中的至少之一。As an embodiment, the first wireless signal includes at least one of data, DMRS, SRS and PTRS.
作为一个实施例,所述第一无线信号包括数据。As an embodiment, the first wireless signal includes data.
作为一个实施例,所述第一无线信号包括DMRS。As an embodiment, the first wireless signal includes DMRS.
作为一个实施例,所述第一无线信号包括数据和DMRS。As an embodiment, the first wireless signal includes data and DMRS.
作为一个实施例,所述第一无线信号包括SRS。As an embodiment, the first wireless signal includes an SRS.
作为一个实施例,所述第一无线信号包括PTRS。As an embodiment, the first wireless signal includes PTRS.
作为一个实施例,所述第一无线信号所占用的时频资源包括所述第一时频资源中属于所述第一子频带上的P个多载波符号且不属于所述M2个多载波符号的至少一个多载波符号。As an embodiment, the time-frequency resource occupied by the first wireless signal includes P multi-carrier symbols belonging to the first sub-frequency band in the first time-frequency resource and not belonging to the M2 multi-carrier symbols at least one multicarrier symbol of .
作为一个实施例,所述第一无线信号所占用的时频资源包括所述第一时频资源中属于所述第一子频带上的P1个多载波符号且不属于所述M2个多载波符号的所有多载波符号。As an embodiment, the time-frequency resource occupied by the first wireless signal includes P1 multi-carrier symbols belonging to the first sub-frequency band in the first time-frequency resource and not belonging to the M2 multi-carrier symbols All multicarrier symbols for .
作为一个实施例,所述第四信息是半静态配置的。As an embodiment, the fourth information is configured semi-statically.
作为一个实施例,所述第四信息由更高层信令承载。As an embodiment, the fourth information is carried by higher layer signaling.
作为一个实施例,所述第四信息由RRC信令承载。As an embodiment, the fourth information is carried by RRC signaling.
作为一个实施例,所述第四信息是一个RRC信令中的一个IE的全部或一部分。As an embodiment, the fourth information is all or a part of one IE in one RRC signaling.
作为一个实施例,所述第四信息由MAC CE信令承载。As an embodiment, the fourth information is carried by MAC CE signaling.
作为一个实施例,所述第四信息在SIB中传输。As an embodiment, the fourth information is transmitted in the SIB.
作为一个实施例,所述第四信息是动态配置的。As an embodiment, the fourth information is dynamically configured.
作为一个实施例,所述第四信息由物理层信令承载。As an embodiment, the fourth information is carried by physical layer signaling.
作为一个实施例,所述第四信息属于DCI。As an embodiment, the fourth information belongs to DCI.
作为一个实施例,所述第四信息是一个DCI中的一个域,所述域包括正整数个比特。As an embodiment, the fourth information is a field in a DCI, and the field includes a positive integer number of bits.
作为一个实施例,所述第四信息由下行物理层控制信道承载。As an embodiment, the fourth information is carried by a downlink physical layer control channel.
作为一个实施例,所述第四信息由PDCCH承载。As an embodiment, the fourth information is carried by a PDCCH.
作为一个实施例,所述第四信息由sPDCCH承载。As an embodiment, the fourth information is carried by the sPDCCH.
作为一个实施例,所述第四信息由NR-PDCCH承载。As an embodiment, the fourth information is carried by NR-PDCCH.
作为一个实施例,所述第四信息由NB-PDCCH承载。As an embodiment, the fourth information is carried by the NB-PDCCH.
作为一个实施例,所述第二信息和所述第四信息属于同一个DCI。As an embodiment, the second information and the fourth information belong to the same DCI.
作为一个实施例,所述第二信息和所述第四信息分别是一个DCI中的第一域和第二域。As an embodiment, the second information and the fourth information are respectively a first field and a second field in a DCI.
作为一个实施例,所述第一信息和所述第四信息属于同一个DCI。As an embodiment, the first information and the fourth information belong to the same DCI.
作为一个实施例,所述第一信息和所述第四信息分别是一个DCI中的第一域和第三域。As an embodiment, the first information and the fourth information are respectively a first field and a third field in a DCI.
作为一个实施例,所述第一信息、所述第三信息和所述第四信息属于同一个DCI。As an embodiment, the first information, the third information, and the fourth information belong to the same DCI.
作为一个实施例,所述第一信息、所述第三信息和所述第四信息分别是一个DCI中的第一域、第二域和第三域。As an embodiment, the first information, the third information, and the fourth information are respectively a first field, a second field, and a third field in a DCI.
作为一个实施例,所述第四信息指示所述第一时频资源中属于所述第一子频带上的P1个多载波符号且不属于所述M2个多载波符号的至少一个多载波符号是否可以被不包括所述M2参考信号的上行无线信号所占用。As an embodiment, the fourth information indicates whether at least one multi-carrier symbol in the first time-frequency resource that belongs to the P1 multi-carrier symbols on the first sub-band and does not belong to the M2 multi-carrier symbols It may be occupied by uplink wireless signals that do not include the M2 reference signal.
作为一个实施例,所述第四信息指示所述第一时频资源中属于所述第一子频带上的P1个多载波符号且不属于所述M2个多载波符号的所有多载波符号是否可以被不包括所述M2参考信号的上行无线信号所占用。As an embodiment, the fourth information indicates whether all multi-carrier symbols belonging to the P1 multi-carrier symbols on the first sub-frequency band and not belonging to the M2 multi-carrier symbols in the first time-frequency resource can Occupied by uplink wireless signals that do not include the M2 reference signal.
作为一个实施例,所述第五信息是半静态配置的。As an embodiment, the fifth information is configured semi-statically.
作为一个实施例,所述第五信息由更高层信令承载。As an embodiment, the fifth information is carried by higher layer signaling.
作为一个实施例,所述第五信息由RRC信令承载。As an embodiment, the fifth information is carried by RRC signaling.
作为一个实施例,所述第五信息是一个RRC信令中的一个IE的全部或一部分。As an embodiment, the fifth information is all or part of one IE in one RRC signaling.
作为一个实施例,所述第五信息由MAC CE信令承载。As an embodiment, the fifth information is carried by MAC CE signaling.
作为一个实施例,所述第五信息在SIB中传输。As an embodiment, the fifth information is transmitted in the SIB.
作为一个实施例,所述M1个参考信号中的至少一个参考信号所占用的空口资源被所述M1个参考信号的接收者用于从所述第一子频带上的M个多载波符号中确定所述M1个多载波符号。As an embodiment, the air interface resource occupied by at least one of the M1 reference signals is used by the receiver of the M1 reference signals to determine from the M multi-carrier symbols on the first sub-frequency band The M1 multi-carrier symbols.
作为一个实施例,所述M2个参考信号中的至少一个参考信号所占用的空口资源被用于从所述第一子频带上的P1个多载波符号中确定所述M2个多载波符号。As an embodiment, an air interface resource occupied by at least one of the M2 reference signals is used to determine the M2 multi-carrier symbols from the P1 multi-carrier symbols on the first sub-frequency band.
作为一个实施例,所述M2个参考信号中的至少一个参考信号所占用的空口资源被所述M2个参考信号的接收者用于从所述第一子频带上的P1个多载波符号中确定所述M2个多载波符号。As an embodiment, the air interface resource occupied by at least one of the M2 reference signals is used by the receiver of the M2 reference signals to determine from the P1 multi-carrier symbols on the first sub-frequency band The M2 multi-carrier symbols.
实施例6Example 6
实施例6示例了另一个无线传输的流程图,如附图6所示。在附图6中,基站N03是用户设备U04的服务小区维持基站。附图6中,方框F4、F5和F6是可选的。
对于N03,在步骤S30中发送第五信息;在步骤S31中发送第四信息;在步骤S32中发送第三信息;在步骤S33中发送第一信息;在步骤S34中接收M1个参考信号;在步骤S35中发送第二信息;在步骤S36中接收M2个参考信号;在步骤S37中接收第一无线信号。For N03, send the fifth message in step S30; send the fourth message in step S31; send the third message in step S32; send the first message in step S33; receive M1 reference signals in step S34; In step S35, the second information is sent; in step S36, M2 reference signals are received; in step S37, the first wireless signal is received.
对于U04,在步骤S40中接收第五信息;在步骤S41中接收第四信息;在步骤S42中接收第三信息;在步骤S43中接收第一信息;在步骤S44中执行K个第一接入检测中的第一个第一接入检测;在步骤S45中发送M1个参考信号;在步骤S46中接收第二信息;在步骤S47中执行K个第一接入检测中的第二个第一接入检测;在步骤S48中发送M2个参考信号;在步骤S49中发送第一无线信号。For U04, the fifth message is received in step S40; the fourth message is received in step S41; the third message is received in step S42; the first message is received in step S43; K first accesses are performed in step S44 The first of the first access detections in the detection; M1 reference signals are sent in step S45; the second information is received in step S46; the second first of the K first access detections is performed in step S47 Access detection; sending M2 reference signals in step S48; sending the first wireless signal in step S49.
在实施例6中,所述第一信息包括第一功率配置信息,所述第一信息被所述U04用于确定第一子频带上的M个多载波符号,所述M是大于1的正整数;所述U04从所述第一子频带上的M个多载波符号中确定M1个多载波符号;对于所述第一子频带上的M个多载波符号,所述U04仅在所述M1个多载波符号中分别发送M1个参考信号,所述M1是小于所述M的正整数;所述第二信息包括第二功率配置信息,所述第二信息被所述U04用于确定所述第一子频带上的P个多载波符号,所述P是大于1的正整数;所述U04在所述第一子频带上的P个多载波符号中的M2个多载波符号中分别发送M2个参考信号,所述M2是不大于所述P的正整数,所述M1与所述M2的和等于所述M;所述M2个参考信号的发送功率与所述第一功率配置信息有关且与所述第二功率配置信息无关。所述K等于2;所述K个第一接入检测被所述U04用于确定所述M1个多载波符号和所述M2个多载波符号。所述第一信息被所述U04用于确定所述M1个参考信号和所述M2个参考信号的假定发送顺序,所述第三信息被所述U04用于确定所述M1个参考信号和所述M2个参考信号的发送顺序与所述假定发送顺序是否一致。所述第二信息还包括所述第一无线信号的配置信息,所述第二功率配置信息被所述U04用于确定所述第一无线信号的发送功率,所述第一无线信号不包括所述M2个参考信号中的任一参考信号,所述第一无线信号所占用的时频资源包括所述第一时频资源中属于所述第一子频带上的P1个多载波符号且不属于所述M2个多载波符号的至少一个多载波符号。所述第四信息被所述U04用于确定所述第一时频资源中属于所述第一子频带上的所述P1个多载波符号且不属于所述M2个多载波符号的至少一个多载波符号被所述第一无线信号占用。所述第五信息被所述U04用于确定F个天线端口集合,所述F是正整数,所述F个天线端口集合中的任一天线端口集合包括正整数个天线端口组,一个天线端口组包括正整数个天线端口;所述M1个参考信号和所述M2个参考信号中的任一参考信号的发送天线端口组都属于所述F个天线端口集合中的同一个天线端口集合。In
作为一个实施例,所述K等于2,所述M1个多载波符号和所述M2个多载波符号之间存在至少一个未被所述用户设备占用的多载波符号。As an embodiment, the K is equal to 2, and there is at least one multi-carrier symbol not occupied by the user equipment between the M1 multi-carrier symbols and the M2 multi-carrier symbols.
作为一个实施例,所述K等于2,所述K个第一接入检测分别被用于确定两个上行突发,所述M1个多载波符号和所述M2个多载波符号分别属于所述两个上行突发,所述两个上行突发之间存在至少一个多载波符号未被所述用户设备占用。As an embodiment, the K is equal to 2, the K first access detections are respectively used to determine two uplink bursts, and the M1 multi-carrier symbols and the M2 multi-carrier symbols respectively belong to the Two uplink bursts, at least one multi-carrier symbol not occupied by the user equipment exists between the two uplink bursts.
作为一个实施例,所述K等于2,所述K个第一接入检测中的第一个第一接入检测被用于确定所述第一子频带上的M个多载波符号中只有所述M1个多载波符号能被用于上行传输,所述K个第一接入检测中的第二个第一接入检测被用于确定所述第一子频带上的P1个多载波符号中只有所述M2个多载波符号能被用于上行传输。As an embodiment, the K is equal to 2, and the first first access detection among the K first access detections is used to determine that only all of the M multi-carrier symbols on the first sub-band The M1 multi-carrier symbols can be used for uplink transmission, and the second one of the K first access detections is used to determine the P1 multi-carrier symbols on the first sub-band Only the M2 multi-carrier symbols can be used for uplink transmission.
实施例7Example 7
图7A至图7B分别示例了一个第一信息与M1个多载波符号和M2个多载波符号的关系的示意图。7A to 7B are schematic diagrams respectively illustrating the relationship between a piece of first information and M1 multi-carrier symbols and M2 multi-carrier symbols.
在实施例7中,本申请中的所述第一信息被用于确定第一子频带上的M个多载波符号,所述M是大于1的正整数;从所述第一子频带上的M个多载波符号中确定M1个多载波符号;对于所述第一子频带上的M个多载波符号,仅在所述M1个多载波符号中分别发送M1个参考信号,所述M1是小于所述M的正整数。所述第一信息还被用于确定所述第一子频带上的P1个多载波符号,所述M2个多载波符号属于所述第一子频带上的P1个多载波符号,所述第一子频带上的P1个多载波符号属于所述第一子频带上的P个多载波符号,所述P1是不大于所述P的正整数。In
作为一个实施例,所述第一信息显式的指示第一子频带上的M个多载波符号。As an embodiment, the first information explicitly indicates M multi-carrier symbols on the first sub-frequency band.
作为一个实施例,所述第一信息隐式的指示第一子频带上的M个多载波符号。As an embodiment, the first information implicitly indicates M multi-carrier symbols on the first sub-frequency band.
作为一个实施例,所述第一信息还包括所述M1个参考信号和所述M2个参考信号的配置信息,以及备选时域资源集,所述用户设备在所述备选时域资源集中选择部分时域资源来发送所述M1个参考信号和所述M2个参考信号。As an embodiment, the first information further includes configuration information of the M1 reference signals and the M2 reference signals, and a set of candidate time domain resources, and the user equipment is in the set of candidate time domain resources Select part of time domain resources to send the M1 reference signals and the M2 reference signals.
作为一个实施例,所述第一子频带上的M个多载波符号属于所述备选时域资源集中的一个备选时域资源。As an embodiment, the M multi-carrier symbols on the first sub-frequency band belong to one candidate time domain resource in the candidate time domain resource set.
作为一个实施例,所述第一子频带上的P1个多载波符号属于所述备选时域资源集中的一个备选时域资源。As an embodiment, the P1 multi-carrier symbols on the first sub-frequency band belong to one candidate time domain resource in the candidate time domain resource set.
作为一个实施例,所述备选时域资源集包括所述第一子频带上的M个多载波符号和所述第一子频带上的P1个多载波符号。As an embodiment, the candidate time-domain resource set includes M multi-carrier symbols on the first sub-frequency band and P1 multi-carrier symbols on the first sub-frequency band.
作为一个实施例,所述第一信息还包括所述M1个参考信号和所述M2个参考信号的配置信息、所述M1个参考信号和所述M2个参考信号在所述第一子频带上的M个多载波符号中的时域位置以及所述第一子频带上的P1个多载波符号相对于所述第一子频带上的M个多载波符号的时间偏移。As an embodiment, the first information further includes configuration information of the M1 reference signals and the M2 reference signals, and the configuration information of the M1 reference signals and the M2 reference signals on the first sub-frequency band The time domain positions in the M multi-carrier symbols of , and the time offset of the P1 multi-carrier symbols on the first sub-frequency band relative to the M multi-carrier symbols on the first sub-frequency band.
作为一个实施例,所述第一子频带上的所述P1个多载波符号相对于所述第一子频带上的M个多载波符号的时间偏移由一个或多个多载波符号组成。As an embodiment, the time offset of the P1 multi-carrier symbols on the first sub-frequency band relative to the M multi-carrier symbols on the first sub-frequency band consists of one or more multi-carrier symbols.
作为一个实施例,所述第一子频带上的所述P1个多载波符号相对于所述第一子频带上的M个多载波符号的时间偏移由一个或多个时隙(slot)组成,所述时隙由A个多载波符号组成,所述A是大于1的正整数。As an embodiment, the time offset of the P1 multi-carrier symbols on the first sub-band relative to the M multi-carrier symbols on the first sub-band consists of one or more time slots (slots) , the time slot consists of A multi-carrier symbols, where A is a positive integer greater than 1.
作为一个实施例,所述M1个参考信号和所述M2个参考信号的配置信息包括所占的频域资源、码域资源、天线端口组和发送序列(sequence)。As an embodiment, the configuration information of the M1 reference signals and the M2 reference signals includes occupied frequency domain resources, code domain resources, antenna port groups, and transmission sequences (sequence).
作为一个实施例,所述M1个参考信号和所述M2个参考信号的配置信息包括所占的频域资源、码域资源、天线端口组和发送序列(sequence)中的至少之一。As an embodiment, the configuration information of the M1 reference signals and the M2 reference signals includes at least one of occupied frequency domain resources, code domain resources, antenna port groups, and transmission sequences.
作为一个实施例,所述天线端口组是指:所占用的天线端口组是多个天线端口组中的一个。As an embodiment, the antenna port group means that the occupied antenna port group is one of multiple antenna port groups.
作为一个实施例,所述天线端口组是指:所占用的天线端口组在多个天线端口组中的索引。As an embodiment, the antenna port group refers to: an index of the occupied antenna port group in multiple antenna port groups.
作为一个实施例,所述频域资源是指:所占用的子载波是多个子载波中的一个或多个子载波。As an embodiment, the frequency domain resources refer to: the occupied subcarriers are one or more subcarriers in multiple subcarriers.
作为一个实施例,所述频域资源是指:所占用的子载波在多个子载波中的索引。As an embodiment, the frequency domain resource refers to: indexes of occupied subcarriers in multiple subcarriers.
作为一个实施例,所述频域资源是指:所占用的RB和在其中每个RB中所占的子载波,所述所占用的RB是多个RB中的一个或多个RB,所述在其中每个RB中所占的子载波是一个RB包括的所有子载波中的一个或多个子载波。As an embodiment, the frequency domain resources refer to: occupied RBs and subcarriers occupied in each of the RBs, the occupied RBs are one or more RBs in multiple RBs, the The subcarriers occupied by each RB are one or more subcarriers among all the subcarriers included in one RB.
作为一个实施例,所述频域资源是指:所占用的RB的索引和在其中每个RB中所占的子载波的索引,所述所占用的RB的索引是所占用的RB在多个RB中的索引,所述在其中每个RB中所占的子载波的索引是所述在其中每个RB中所占的子载波在一个RB包括的所有子载波中的索引。As an embodiment, the frequency domain resource refers to: the index of the occupied RB and the index of the subcarrier occupied in each RB, and the index of the occupied RB is the index of the occupied RB in multiple An index in an RB, where the index of a subcarrier occupied in each RB is an index of the subcarrier occupied in each RB among all subcarriers included in one RB.
作为一个实施例,所述频域资源是指:所占用的RB的索引,以及在其中每个RB中所占的梳齿(comb)和子载波偏移,所述所占用的RB的索引是所占用的RB在多个RB中的索引。As an embodiment, the frequency domain resource refers to: the index of the occupied RB, and the comb (comb) and subcarrier offset occupied in each RB, and the index of the occupied RB is the Indexes of the occupied RB among multiple RBs.
作为一个实施例,在给定RB中所占的梳齿C和子载波偏移c1表示在所述给定RB中占用一组等间隔均匀分布的子载波,所述一组等间隔均匀分布的子载波中的任意两个相邻的子载波之间的间隔都等于C,所述一组等间隔均匀分布的子载波中的第一个子载波是所述给定RB中的第c1+1个子载波,所述C是正整数,所述c1是不小于0且小于所述C的整数。As an example, the comb tooth C and subcarrier offset c1 occupied in a given RB indicate that a group of equally spaced and uniformly distributed subcarriers are occupied in the given RB, and the group of equally spaced and uniformly distributed subcarriers The interval between any two adjacent subcarriers in the carrier is equal to C, and the first subcarrier in the group of equally spaced and uniformly distributed subcarriers is the c1+1th subcarrier in the given RB Carrier, the C is a positive integer, and the c1 is an integer not less than 0 and smaller than C.
作为一个实施例,在给定RB中所占的梳齿C和子载波偏移c1表示在所述给定RB中占用一组等间隔均匀分布的子载波,所述一组等间隔均匀分布的子载波中的任意两个相邻的子载波之间的间隔都等于C,所述一组等间隔均匀分布的子载波中的最后一个子载波是所述给定RB中的第c1+1个子载波,所述C是正整数,所述c1是不小于0且小于所述C的整数。As an example, the comb tooth C and subcarrier offset c1 occupied in a given RB indicate that a group of equally spaced and uniformly distributed subcarriers are occupied in the given RB, and the group of equally spaced and uniformly distributed subcarriers The interval between any two adjacent subcarriers in the carrier is equal to C, and the last subcarrier in the group of equally spaced and uniformly distributed subcarriers is the c1+1th subcarrier in the given RB , the C is a positive integer, and the c1 is an integer not less than 0 and less than the C.
作为一个实施例,所述码域资源是指:所占用的特征序列是多个候选特征序列中之一。As an embodiment, the code domain resources refer to: the occupied feature sequence is one of multiple candidate feature sequences.
作为一个实施例,所述码域资源是指:所占用的特征序列在多个候选特征序列中的索引。As an embodiment, the code domain resource refers to: an index of the occupied feature sequence in multiple candidate feature sequences.
作为一个实施例,所述发送序列是指:所使用的是发送序列是多个发送序列中之一。As an embodiment, the sending sequence means: the used sending sequence is one of multiple sending sequences.
作为一个实施例,所述发送序列是指:所使用的是发送序列在多个发送序列中的索引。As an embodiment, the sending sequence refers to: what is used is an index of the sending sequence in multiple sending sequences.
作为一个实施例,所述M2小于所述P1。As an example, the M2 is smaller than the P1.
作为一个实施例,所述P1小于所述P。As an example, the P1 is smaller than the P.
作为一个实施例,所述P1等于所述M。As an example, the P1 is equal to the M.
作为一个实施例,所述第一信息还显式的指示所述第一子频带上的P1个多载波符号。As an embodiment, the first information also explicitly indicates P1 multi-carrier symbols on the first sub-frequency band.
作为一个实施例,所述第一信息还隐式的指示所述第一子频带上的P1个多载波符号。As an embodiment, the first information also implicitly indicates P1 multi-carrier symbols on the first sub-frequency band.
作为一个实施例,所述M2个参考信号的接收者通过盲检从所述第一子频带上的P1个多载波符号中确定所述M2个多载波符号。As an embodiment, the receiver of the M2 reference signals determines the M2 multi-carrier symbols from the P1 multi-carrier symbols on the first sub-frequency band through blind detection.
作为一个实施例,所述M2个参考信号的接收者通过在所述第一子频带上的P1个多载波符号中盲检所述M2个参考信号中的至少一个参考信号所占用的空口资源来确定所述M2个多载波符号。As an embodiment, the receiver of the M2 reference signals blindly detects the air interface resources occupied by at least one of the M2 reference signals in the P1 multi-carrier symbols on the first sub-frequency band Determine the M2 multi-carrier symbols.
作为一个实施例,所述图7A对应所述M1个多载波符号或所述M2个多载波符号中存在至少两个相邻的多载波符号在时间上不连续的所述第一信息与所述M1个多载波符号和所述M2个多载波符号的关系的示意图。As an example, the first information in FIG. 7A corresponds to the fact that there are at least two adjacent multi-carrier symbols that are discontinuous in time among the M1 multi-carrier symbols or the M2 multi-carrier symbols. A schematic diagram of the relationship between the M1 multi-carrier symbols and the M2 multi-carrier symbols.
作为一个实施例,所述图7B对应所述M1个多载波符号在时间上是连续的且所述M2个多载波符号在时间上也是连续的所述第一信息与所述M1个多载波符号和所述M2个多载波符号的关系的示意图。As an embodiment, the first information and the M1 multi-carrier symbols corresponding to the first information and the M1 multi-carrier symbols are continuous in time and the M2 multi-carrier symbols are also continuous in time in Fig. 7B A schematic diagram of a relationship with the M2 multi-carrier symbols.
实施例8Example 8
图8A至图8C分别示例了一个给定第一接入检测和N个多载波符号的关系的示意图。所述给定第一接入检测对应本申请中的所述K个第一接入检测中任意一个第一接入检测,所述N个多载波符号对应本申请中的所述第一子频带上的M个多载波符号或所述第一子频带上的所述P1个多载波符号。FIG. 8A to FIG. 8C respectively illustrate a schematic diagram of a relationship between a given first access detection and N multi-carrier symbols. The given first access detection corresponds to any one of the K first access detections in this application, and the N multi-carrier symbols correspond to the first sub-band in this application M multi-carrier symbols on or the P1 multi-carrier symbols on the first sub-frequency band.
在实施例8中,本申请中的所述给定第一接入检测包括N2次接入检测,所述N2次接入检测中任意一次接入检测被用于确定所述N个多载波符号中的至少一个多载波符号能否被用于上行发送,并且所述N个多载波符号中的任一多载波符号能否被用于上行发送都被所述N2次接入检测中之一确定,所述N2是不大于所述N的正整数,所述N个多载波符号被分配给N1个天线端口组,所述N1是不大于所述N的正整数。In
作为一个实施例,所述N1等于所述N。As an example, the N1 is equal to the N.
作为一个实施例,所述N1等于1。As an example, the N1 is equal to 1.
作为一个实施例,所述N1大于1且小于所述N。As an embodiment, the N1 is greater than 1 and smaller than the N.
作为一个实施例,所述N2等于所述N,所述N1等于所述N,所述N2次接入检测分别被用于确定所述N个多载波符号能否被用于上行发送。As an embodiment, the N2 is equal to the N, the N1 is equal to the N, and the N2 access detections are respectively used to determine whether the N multi-carrier symbols can be used for uplink transmission.
作为一个实施例,所述N2等于1,所述N2次接入检测被用于确定所述N个多载波符号能否被用于上行发送。As an embodiment, the N2 is equal to 1, and the N2 access detections are used to determine whether the N multi-carrier symbols can be used for uplink transmission.
作为一个实施例,所述N2大于1且小于所述N,所述N1不等于1,所述N2次接入检测中之一被用于确定所述N个多载波符号中的至少两个多载波符号能否被用于上行发送。As an embodiment, the N2 is greater than 1 and smaller than the N, the N1 is not equal to 1, and one of the N2 access detections is used to determine at least two multi-carrier symbols among the N multi-carrier symbols Whether the carrier symbol can be used for uplink transmission.
作为一个实施例,所述N2大于1,所述N2次接入检测的多天线相关的接收互不相同。As an embodiment, the N2 is greater than 1, and the multi-antenna correlation receptions of the N2 access detections are different from each other.
作为一个实施例,所述N1个天线端口组的多天线相关的发送与所述N2次接入检测的多天线相关的接收有关。As an embodiment, the multi-antenna related sending of the N1 antenna port groups is related to the multi-antenna related receiving of the N2 times of access detection.
作为一个实施例,所述N1等于所述N2,所述N1个天线端口组的多天线相关的发送分别被用于确定所述N2次接入检测的多天线相关的接收。As an embodiment, the N1 is equal to the N2, and the multi-antenna related transmissions of the N1 antenna port groups are respectively used to determine the multi-antenna related receptions of the N2 access detections.
作为一个实施例,所述N1等于所述N2,所述N2次接入检测的多天线相关的接收分别包括所述N1个天线端口组的多天线相关的发送。As an embodiment, the N1 is equal to the N2, and the multi-antenna related receptions of the N2 times of access detection respectively include the multi-antenna related sendings of the N1 antenna port groups.
作为一个实施例,所述N1等于所述N2,所述N1个天线端口组的多天线相关的发送分别与所述N2次接入检测的多天线相关的接收相同。As an embodiment, the N1 is equal to the N2, and the multi-antenna related transmissions of the N1 antenna port groups are respectively the same as the multi-antenna related receptions of the N2 times of access detection.
作为一个实施例,所述N1大于所述N2,所述N2次接入检测的多天线相关的接收分别由所述N1个天线端口组中的至少一个天线端口组的多天线相关的发送确定。As an embodiment, the N1 is greater than the N2, and the multi-antenna related receptions of the N2 access detections are respectively determined by the multi-antenna related transmissions of at least one antenna port group in the N1 antenna port groups.
作为一个实施例,所述N1大于所述N2,所述N2次接入检测中任一次接入检测的多天线相关的接收包括所述N1个天线端口组中的至少一个天线端口组的多天线相关的发送。As an embodiment, the N1 is greater than the N2, and the multi-antenna related reception of any one of the N2 access detections includes the multi-antenna of at least one antenna port group in the N1 antenna port groups related send.
作为一个实施例,所述N1大于所述N2,所述N2次接入检测中任一次接入检测的多天线相关的接收与所述N1个天线端口组中的至少一个天线端口组的多天线相关的发送相同。As an embodiment, the N1 is greater than the N2, and the multi-antenna related reception of any one of the N2 access detections is related to the multi-antenna of at least one antenna port group in the N1 antenna port groups The related sending is the same.
作为一个实施例,所述N1大于所述N2,所述N2次接入检测中至少一次接入检测的多天线相关的接收由所述N1个天线端口组中的至少两个天线端口组的多天线相关的发送确定。As an embodiment, the N1 is greater than the N2, and the multi-antenna correlation reception of at least one access detection in the N2 access detections is performed by the multiple antenna port groups of at least two antenna port groups in the N1 antenna port groups Antenna dependent transmission determination.
作为一个实施例,所述N1大于所述N2,所述N2次接入检测中至少一次接入检测的多天线相关的接收包括所述N1个天线端口组中的至少两个天线端口组的多天线相关的发送。As an embodiment, the N1 is greater than the N2, and the multi-antenna correlation reception of at least one access detection in the N2 access detections includes multiple antenna port groups of at least two antenna port groups in the N1 antenna port groups Antenna-dependent transmissions.
作为一个实施例,所述N1大于所述N2,所述N2次接入检测中至少一次接入检测的多天线相关的接收与所述N1个天线端口组中的至少两个天线端口组的多天线相关的发送相同。As an embodiment, the N1 is greater than the N2, and the multi-antenna-related reception of at least one access detection in the N2 access detections is related to the multi-antenna reception of at least two antenna port groups in the N1 antenna port groups The antenna-related transmissions are the same.
作为一个实施例,所述一次接入检测被用于确定所述第一子频带是否闲置(Idle)。As an embodiment, the one access detection is used to determine whether the first sub-frequency band is idle (Idle).
作为一个实施例,所述一次接入检测被用于确定能否在所述第一子频带上使用与所述一次接入检测的多天线相关的接收相同的多天线相关的发送进行上行传输。As an embodiment, the one-time access detection is used to determine whether the same multi-antenna-related transmission as the multi-antenna-related reception of the one-time access detection can be used for uplink transmission on the first sub-frequency band.
作为一个实施例,所述多天线相关的接收是空间接收参数(Spatial Rxparameters)。As an embodiment, the multi-antenna related reception is spatial reception parameters (Spatial Rxparameters).
作为一个实施例,所述多天线相关的接收是接收波束。As an embodiment, the multi-antenna related reception is a reception beam.
作为一个实施例,所述多天线相关的接收是接收波束赋型矩阵。As an embodiment, the multi-antenna related reception is a reception beamforming matrix.
作为一个实施例,所述多天线相关的接收是接收模拟波束赋型矩阵。As an embodiment, the multi-antenna correlation receiving is receiving an analog beamforming matrix.
作为一个实施例,所述多天线相关的接收是接收波束赋型向量。As an embodiment, the multi-antenna related reception is a reception beamforming vector.
作为一个实施例,所述多天线相关的接收是接收空间滤波(spatial filtering)。As an embodiment, the multi-antenna correlation reception is reception spatial filtering (spatial filtering).
作为一个实施例,所述多天线相关的发送是空间发送参数(Spatial Txparameters)。As an embodiment, the multi-antenna related transmission is spatial transmission parameters (Spatial Txparameters).
作为一个实施例,所述多天线相关的发送是发送波束。As an embodiment, the multi-antenna related transmission is a transmission beam.
作为一个实施例,所述多天线相关的发送是发送波束赋型矩阵。As an embodiment, the multi-antenna related transmission is a transmission beamforming matrix.
作为一个实施例,所述多天线相关的发送是发送模拟波束赋型矩阵。As an embodiment, the multi-antenna related sending is sending an analog beamforming matrix.
作为一个实施例,所述多天线相关的发送是发送波束赋型向量。As an embodiment, the multi-antenna related sending is sending a beamforming vector.
作为一个实施例,所述多天线相关的发送是发送空间滤波。As an embodiment, the multi-antenna related sending is sending spatial filtering.
作为一个实施例,所述图8A对应所述N2等于所述N1的所述给定第一接入检测和所述N个多载波符号的关系的示意图。As an embodiment, FIG. 8A is a schematic diagram corresponding to a relationship between the given first access detection and the N multi-carrier symbols in which N2 is equal to the N1.
作为一个实施例,所述图8B对应所述N2小于所述N1的所述给定第一接入检测和所述N个多载波符号的关系的示意图。As an embodiment, FIG. 8B is a schematic diagram corresponding to a relationship between the given first access detection and the N multi-carrier symbols in which the N2 is smaller than the N1.
作为一个实施例,所述图8C对应所述N2等于1的所述给定第一接入检测和所述N个多载波符号的关系的示意图。As an embodiment, FIG. 8C is a schematic diagram corresponding to the relationship between the given first access detection with N2 equal to 1 and the N multi-carrier symbols.
实施例9Example 9
图9A至图9B分别示例了一个给定接入检测和给定无线信号的空间关系的示意图。9A to 9B respectively illustrate schematic diagrams of a given access detection and a given wireless signal's spatial relationship.
在实施例9中,所述给定接入检测对应本申请中的所述K个第一接入检测中任意一个第一接入检测中的一次接入检测,所述给定无线信号对应本申请中的所述M1个参考信号和所述M2个参考信号中与所述给定接入检测有关的至少一个参考信号。In Embodiment 9, the given access detection corresponds to an access detection in any one of the K first access detections in this application, and the given wireless signal corresponds to an access detection in this application. At least one reference signal related to the given access detection among the M1 reference signals and the M2 reference signals in the application.
作为一个实施例,所述给定接入检测所使用的多天线相关的接收能被用于推断出所述给定无线信号的多天线相关的发送。As an embodiment, the multi-antenna correlated reception used for the given access detection can be used to infer the multi-antenna correlated transmission of the given radio signal.
作为一个实施例,所述给定接入检测所使用的多天线相关的接收和所述给定无线信号的多天线相关的发送相同。As an embodiment, the multi-antenna correlation reception used for the given access detection is the same as the multi-antenna correlation transmission of the given wireless signal.
作为一个实施例,所述给定接入检测所使用的多天线相关的接收和所述给定无线信号的多天线相关的发送不同。As an embodiment, the multi-antenna correlation reception used for the given access detection is different from the multi-antenna correlation transmission of the given wireless signal.
作为一个实施例,所述给定接入检测所使用的接收波束赋型矩阵对应的波束宽度大于所述给定无线信号的发送波束赋型矩阵对应的波束宽度。As an embodiment, the beamwidth corresponding to the receive beamforming matrix used for the given access detection is greater than the beamwidth corresponding to the transmit beamforming matrix of the given wireless signal.
作为一个实施例,所述给定接入检测所使用的接收波束赋型矩阵对应的波束方向包括所述给定无线信号的发送波束赋型矩阵对应的波束方向。As an embodiment, the beam direction corresponding to the receive beamforming matrix used for the given access detection includes the beam direction corresponding to the transmit beamforming matrix of the given wireless signal.
作为一个实施例,所述给定接入检测所使用的接收波束对应的波束宽度大于所述给定无线信号的发送波束对应的波束宽度。As an embodiment, the beam width corresponding to the receiving beam used for the given access detection is larger than the beam width corresponding to the sending beam of the given wireless signal.
作为一个实施例,所述给定接入检测所使用的接收波束包括所述给定无线信号的发送波束。As an embodiment, the receiving beam used for the given access detection includes a sending beam of the given wireless signal.
作为一个实施例,所述给定接入检测所使用的天线数目小于所述给定无线信号的发送天线数目。As an embodiment, the number of antennas used for the given access detection is smaller than the number of antennas used for sending the given wireless signal.
作为一个实施例,所述给定接入检测所使用的天线数目大于1。As an embodiment, the number of antennas used for the given access detection is greater than one.
作为一个实施例,所述给定接入检测所使用的天线数目等于1。As an embodiment, the number of antennas used for the given access detection is equal to one.
作为一个实施例,所述给定无线信号的发送天线数目大于1。As an embodiment, the number of transmitting antennas for the given wireless signal is greater than one.
作为一个实施例,所述图9A对应所述给定接入检测所使用的接收波束和所述给定无线信号的发送波束相同的示意图。As an embodiment, FIG. 9A corresponds to a schematic diagram in which the receiving beam used for the given access detection is the same as the sending beam of the given wireless signal.
作为一个实施例,所述图9B对应所述给定接入检测所使用的接收波束包括所述给定无线信号的发送波束的示意图。As an embodiment, the receiving beam used for the given access detection in FIG. 9B includes a schematic diagram of a sending beam of the given wireless signal.
实施例10Example 10
图10A至图10C分别示例了一个一次接入检测的示意图。FIG. 10A to FIG. 10C respectively illustrate a schematic diagram of primary access detection.
在实施例10中,本申请中的所述一次接入检测包括:在T个时间子池中分别执行T次能量检测,得到T个检测值;其中,所述T个检测值中的T1个检测值都低于第一阈值;所述T是正整数,所述T1是不大于所述T的正整数。In Embodiment 10, the one-time access detection in this application includes: performing T times of energy detection in T time subpools to obtain T detection values; wherein, T1 of the T detection values The detection values are all lower than the first threshold; the T is a positive integer, and the T1 is a positive integer not greater than the T.
作为一个实施例,所述一次接入检测是LBT,所述LBT的具体定义和实现方式参见3GPP TR36.889。As an embodiment, the primary access detection is LBT, and for the specific definition and implementation of the LBT, refer to 3GPP TR36.889.
作为一个实施例,所述一次接入检测是CCA(Clear Channel Assessment,空闲信道评估),所述CCA的具体定义和实现方式参见3GPP TR36.889。As an embodiment, the one-time access detection is CCA (Clear Channel Assessment, Clear Channel Assessment). For the specific definition and implementation of the CCA, refer to 3GPP TR36.889.
作为一个实施例,所述一次接入检测是上行接入检测。As an embodiment, the one access detection is uplink access detection.
作为一个实施例,所述一次接入检测是通过3GPP TS36.213中的15.2章节所定义的方式实现的。As an embodiment, the one-time access detection is implemented through the method defined in Section 15.2 of 3GPP TS36.213.
作为一个实施例,所述T1等于所述T。As an example, the T1 is equal to the T.
作为一个实施例,所述T1小于所述T。As an example, the T1 is smaller than the T.
作为一个实施例,所述T个检测值和所述第一阈值的单位都是dBm(毫分贝)。As an embodiment, units of the T detection values and the first threshold are both dBm (milli-decibel).
作为一个实施例,所述T个检测值和所述第一阈值的单位都是毫瓦(mW)。As an embodiment, units of the T detection values and the first threshold are milliwatts (mW).
作为一个实施例,所述T个检测值和所述第一阈值的单位是焦耳。As an embodiment, units of the T detection values and the first threshold are joules.
作为一个实施例,所述第一阈值等于或小于-72dBm。As an embodiment, the first threshold is equal to or less than -72dBm.
作为一个实施例,所述第一阈值是等于或小于第一给定值的任意值。As an embodiment, the first threshold is any value equal to or smaller than the first given value.
作为一个实施例,所述第一阈值是由所述用户设备在等于或小于第一给定值的条件下自由选择的。As an embodiment, the first threshold is freely selected by the user equipment under the condition that it is equal to or smaller than a first given value.
作为一个实施例,所述第一给定值是预定义的。As an embodiment, the first given value is predefined.
作为一个实施例,所述第一给定值是由更高层信令配置的。As an embodiment, the first given value is configured by higher layer signaling.
作为一个实施例,所述T个检测值中不属于所述T1个检测值的检测值中至少有一个检测值低于所述第一阈值。As an embodiment, at least one detection value among the T detection values that do not belong to the T1 detection values is lower than the first threshold.
作为一个实施例,所述第一子频带所属的频域资源块是所述第一子频带。As an embodiment, the frequency domain resource block to which the first sub-frequency band belongs is the first sub-frequency band.
作为一个实施例,所述第一子频带所属的频域资源块是一个BWP。As an embodiment, the frequency domain resource block to which the first sub-frequency band belongs is a BWP.
作为一个实施例,所述第一子频带所属的频域资源块是一个载波。As an embodiment, the frequency domain resource block to which the first sub-frequency band belongs is a carrier.
作为一个实施例,所述第一子频带所属的频域资源块包括一组连续的RB。As an embodiment, the frequency-domain resource block to which the first sub-frequency band belongs includes a group of continuous RBs.
作为一个实施例,所述第一子频带所属的频域资源块包括一组连续的PRB。As an embodiment, the frequency-domain resource block to which the first sub-frequency band belongs includes a group of continuous PRBs.
作为一个实施例,所述第一子频带所属的频域资源块包括一组连续的子载波。As an embodiment, the frequency-domain resource block to which the first sub-frequency band belongs includes a group of continuous sub-carriers.
作为一个实施例,所述T个检测值分别是所述用户设备在T个时间单元中在所述第一子频带所属的频域资源块上感知(Sense)所有无线信号的功率,并在时间上平均,以获得的接收功率;所述T个时间单元分别是所述T个时间子池中的一个持续时间段。As an embodiment, the T detection values are respectively the powers of all wireless signals sensed (Sense) by the user equipment on the frequency domain resource block to which the first sub-frequency band belongs in T time units, and at time The received power is obtained by averaging the above T time units; the T time units are respectively a continuous period of time in the T time subpools.
作为上述实施例的一个子实施例,所述T个时间单元中的任一时间单元的持续时间不短于4微秒。As a sub-embodiment of the foregoing embodiment, the duration of any time unit in the T time units is not shorter than 4 microseconds.
作为一个实施例,所述T个检测值分别是所述用户设备在T个时间单元中在所述第一子频带所属的频域资源块上感知(Sense)所有无线信号的能量,并在时间上平均,以获得的接收能量;所述T个时间单元分别是所述T个时间子池中的一个持续时间段。As an embodiment, the T detection values are respectively the energy of all wireless signals that the user equipment senses (Senses) on the frequency-domain resource block to which the first sub-frequency band belongs in T time units, and at time The received energy is obtained by taking an average of above; the T time units are respectively a duration period in the T time subpools.
作为一个实施例,所述一次接入检测在T个时间子池上使用的多天线相关的接收都相同,所述T个检测值分别是所述用户设备在T个时间单元中用所述多天线相关的接收在所述第一子频带所属的频域资源块上感知(Sense)所有无线信号,并在时间上平均,以获得的接收功率或者接收能量;所述T个时间单元分别是所述T个时间子池中的一个持续时间段。As an embodiment, the one-time access detection uses the same multi-antenna-related reception on T time sub-pools, and the T detection values are respectively Related receiving senses (Senses) all wireless signals on the frequency domain resource block to which the first sub-frequency band belongs, and averages them in time to obtain received power or received energy; the T time units are respectively the A duration period in T temporal subpools.
作为一个实施例,所述T次能量检测中的任意一次给定能量检测是指:所述用户设备在给定时间单元中监测接收功率,所述给定时间单元是所述T个时间子池中和所述给定能量检测对应的时间子池中的一个持续时间段。As an embodiment, any given energy detection in the T times of energy detection refers to: the user equipment monitors the received power in a given time unit, and the given time unit is the T time subpools A time duration in the time subpool corresponding to the given energy detection is neutralized.
作为一个实施例,所述T次能量检测中的任意一次给定能量检测是指:所述用户设备在给定时间单元中监测接收能量,所述给定时间单元是所述T个时间子池中和所述给定能量检测对应的时间子池中的一个持续时间段。As an embodiment, any given energy detection in the T times of energy detection refers to: the user equipment monitors received energy in a given time unit, and the given time unit is the T time subpools A time duration in the time subpool corresponding to the given energy detection is neutralized.
作为一个实施例,所述T次能量检测中的任意一次给定能量检测是指:所述用户设备在给定时间单元中针对所述第一子频带所属的频域资源块上的所有无线信号进行感知(Sense)以获得给定功率;所述给定时间单元是所述T个时间子池中和所述给定能量检测对应的时间子池中的一个持续时间段。As an embodiment, any given energy detection in the T times of energy detection refers to: the user equipment detects all wireless signals on the frequency domain resource block to which the first sub-frequency band belongs in a given time unit Perform sensing (Sense) to obtain a given power; the given time unit is a duration period in a time subpool corresponding to the given energy detection in the T time subpools.
作为上述实施例的一个子实施例,所述T个检测值中和所述给定能量检测对应的检测值是所述给定功率。As a sub-embodiment of the foregoing embodiment, the detection value corresponding to the given energy detection among the T detection values is the given power.
作为一个实施例,所述T次能量检测中的任意一次给定能量检测是指:所述用户设备在给定时间单元中针对所述第一子频带所属的频域资源块上的所有无线信号进行感知(Sense)以获得给定能量;所述给定时间单元是所述T个时间子池中和所述给定能量检测对应的时间子池中的一个持续时间段。As an embodiment, any given energy detection in the T times of energy detection refers to: the user equipment detects all wireless signals on the frequency domain resource block to which the first sub-frequency band belongs in a given time unit Perform sensing (Sense) to obtain a given energy; the given time unit is a duration period in a time subpool corresponding to the given energy detection in the T time subpools.
作为上述实施例的一个子实施例,所述T个检测值中和所述给定能量检测对应的检测值是所述给定能量。As a sub-embodiment of the foregoing embodiment, the detection value corresponding to the detection of the given energy among the T detection values is the given energy.
作为一个实施例,所述一次接入检测在T个时间子池上使用的多天线相关的接收都相同,所述T个检测值分别是所述用户设备在T个时间单元中用所述多天线相关的接收在所述第一子频带所属的频域资源块上感知(Sense)所有无线信号,并在时间上平均,以获得的接收功率或者接收能量;所述T个时间单元分别是所述T个时间子池中的一个持续时间段。As an embodiment, the one-time access detection uses the same multi-antenna-related reception on T time sub-pools, and the T detection values are respectively Related receiving senses (Senses) all wireless signals on the frequency domain resource block to which the first sub-frequency band belongs, and averages them in time to obtain received power or received energy; the T time units are respectively the A duration period in T temporal subpools.
作为一个实施例,所述T次能量检测中的任意一次给定能量检测是指:所述用户设备在给定时间单元中用给定多天线相关的接收对所述第一子频带所属的频域资源块上的所有无线信号进行感知(Sense)以获得给定功率或给定能量;所述给定时间单元是所述T个时间子池中和所述给定能量检测对应的时间子池中的一个持续时间段。As an embodiment, any given energy detection in the T times of energy detection refers to: the user equipment uses a given multi-antenna correlation reception in a given time unit to detect the frequency to which the first sub-frequency band belongs Sensing (Sense) all wireless signals on the domain resource block to obtain given power or given energy; the given time unit is the time subpool corresponding to the given energy detection in the T time subpools A period of time in .
作为上述实施例的一个子实施例,所述T个检测值中和所述给定能量检测对应的检测值是所述给定功率或给定能量。As a sub-embodiment of the foregoing embodiment, the detection value corresponding to the detection of the given energy among the T detection values is the given power or the given energy.
作为上述实施例的一个子实施例,所述一次接入检测在T个时间子池上使用的多天线相关的接收都相同,所述多天线相关的接收是所述给定多天线相关的接收。As a sub-embodiment of the foregoing embodiment, the multi-antenna related receptions used in the T time subpools for the one-time access detection are all the same, and the multi-antenna related receptions are the given multi-antenna related receptions.
作为一个实施例,所述T次能量检测中的任意一次能量检测是通过3GPP TS36.213中的15章节所定义的方式实现的。As an embodiment, any one of the energy detections in the T times of energy detection is implemented by means defined in section 15 of 3GPP TS36.213.
作为一个实施例,所述T次能量检测中的任意一次能量检测是通过LTE LAA中的能量检测方式实现的。As an embodiment, any one of the energy detections in the T times of energy detection is implemented by means of energy detection in LTE LAA.
作为一个实施例,所述T次能量检测中的任意一次能量检测是LBT过程中的能量检测。As an embodiment, any energy detection in the T times of energy detection is an energy detection in a LBT process.
作为一个实施例,所述T次能量检测中的任意一次能量检测是CCA过程中的能量检测。As an embodiment, any energy detection in the T times of energy detection is an energy detection in a CCA process.
作为一个实施例,所述T次能量检测中的任意一次能量检测是通过WiFi中的能量检测方式实现的。As an embodiment, any one of the energy detections in the T times of energy detection is implemented by means of energy detection in WiFi.
作为一个实施例,所述T次能量检测中的任意一次能量检测是通过对RSSI(Received Signal Strength Indication,接收信号强度指示)进行测量实现的。As an embodiment, any energy detection in the T times of energy detection is realized by measuring RSSI (Received Signal Strength Indication, received signal strength indication).
作为一个实施例,所述T个时间子池中的任一时间子池占用的时域资源是连续的。As an embodiment, time domain resources occupied by any one of the T time subpools are continuous.
作为一个实施例,所述T个时间子池在时域上是两两相互正交(不重叠)的。As an embodiment, the T time subpools are mutually orthogonal (non-overlapping) in the time domain.
作为一个实施例,所述T个时间子池中的任一时间子池的持续时间是16微秒和9微秒中之一。As an embodiment, the duration of any time subpool in the T time subpools is one of 16 microseconds and 9 microseconds.
作为一个实施例,所述T个时间子池中至少存在两个时间子池的持续时间不相等。As an embodiment, durations of at least two time subpools among the T time subpools are unequal.
作为一个实施例,所述T个时间子池中任意两个时间子池的持续时间都相等。As an embodiment, durations of any two time subpools in the T time subpools are equal.
作为一个实施例,所述T个时间子池占用的时域资源是连续的。As an embodiment, the time domain resources occupied by the T time subpools are continuous.
作为一个实施例,所述T个时间子池中至少存在两个时间子池占用的时域资源是不连续。As an embodiment, time domain resources occupied by at least two time subpools among the T time subpools are discontinuous.
作为一个实施例,所述T个时间子池中任意两个时间子池占用的时域资源是不连续。As an embodiment, time domain resources occupied by any two time subpools in the T time subpools are discontinuous.
作为一个实施例,所述T个时间子池中任一时间子池是一个时隙(slot)。As an embodiment, any time subpool in the T time subpools is a time slot (slot).
作为一个实施例,所述T个时间子池中任一时间子池是Tsl,所述Tsl是一个时隙长度(slot duration),所述Tsl的具体定义参见3GPP TS36.213中的15.2章节。As an embodiment, any time subpool in the T time subpools is Tsl , and the Tsl is a slot duration. For the specific definition of the Tsl , refer to 3GPP TS36.213 Section 15.2.
作为一个实施例,所述T个时间子池中除了最早的时间子池以外的任一时间子池是一个时隙(slot)。As an embodiment, any time subpool in the T time subpools except the earliest time subpool is a time slot (slot).
作为一个实施例,所述T个时间子池中除了最早的时间子池以外的任一时间子池是Tsl,所述Tsl是一个时隙长度(slot duration),所述Tsl的具体定义参见3GPP TS36.213中的15.2章节。As an embodiment, any time subpool in the T time subpools except the earliest time subpool is Tsl , and the Tsl is a slot duration (slot duration), and the specific time subpool of the Tsl For definition, refer to Section 15.2 in 3GPP TS36.213.
作为一个实施例,所述T个时间子池中至少存在一个持续时间为16微秒的时间子池。As an embodiment, at least one time subpool with a duration of 16 microseconds exists in the T time subpools.
作为一个实施例,所述T个时间子池中至少存在一个持续时间为9微秒的时间子池。As an embodiment, at least one time subpool with a duration of 9 microseconds exists in the T time subpools.
作为一个实施例,所述T个时间子池中的最早的时间子池的持续时间为16微秒。As an embodiment, the duration of the earliest time subpool among the T time subpools is 16 microseconds.
作为一个实施例,所述T个时间子池中的最晚的时间子池的持续时间为9微秒。As an embodiment, the duration of the latest time subpool among the T time subpools is 9 microseconds.
作为一个实施例,所述T个时间子池包括Cat 4(第四类)LBT中的监听时间。As an embodiment, the T time subpools include listening time in Cat 4 (fourth category) LBT.
作为一个实施例,所述T个时间子池包括Cat 4(第四类)LBT中的延时时段(DeferDuration)中的时隙和回退时间(Back-off Time)中的时隙。As an embodiment, the T time subpools include time slots in a delay period (DeferDuration) and time slots in a back-off time (Back-off Time) in Cat 4 (fourth category) LBT.
作为一个实施例,所述T个时间子池包括Cat 2(第二类)LBT中的监听时间。As an embodiment, the T time subpools include listening time in Cat 2 (the second type) LBT.
作为一个实施例,所述T个时间子池包括Type 1UL channel access procedure(第一类上行信道接入过程)中的延时时段(Defer Duration)中的时隙和回退时间(Back-off Time)中的时隙。As an embodiment, the T time subpools include time slots and back-off time (Back-off Time) in the delay period (Defer Duration) in the
作为一个实施例,所述T个时间子池包括Type 2UL channel access procedure(第二类上行信道接入过程)中的感知时间间隔(sensing interval)中的时隙,所述感知时间间隔的具体定义参见3GPP TS36.213中的15.2章节。As an embodiment, the T time subpools include time slots in the sensing interval (sensing interval) in the
作为上述实施例的一个子实施例,所述感知时间间隔的持续时间是25微秒。As a sub-embodiment of the foregoing embodiment, the duration of the sensing time interval is 25 microseconds.
作为一个实施例,所述T个时间子池包括Type 2UL channel access procedure(第二类上行信道接入过程)中的感知时间间隔(sensing interval)中的Tf和Tsl,所述Tf和所述Tsl是两个时间间隔,所述Tf和所述Tsl的具体定义参见3GPP TS36.213中的15.2章节。As an embodiment, the T time subpools include Tf and Tsl in the sensing interval (sensing interval) in the
作为上述实施例的一个子实施例,所述Tf的持续时间是16微秒。As a sub-embodiment of the above-mentioned embodiment, the duration of Tf is 16 microseconds.
作为上述实施例的一个子实施例,所述Tsl的持续时间是9微秒。As a sub-embodiment of the foregoing embodiment, the duration of Tsl is 9 microseconds.
作为一个实施例,所述T个时间子池包括了初始CCA和eCCA(Enhanced ClearChannel Assessment,增强的空闲信道评估)中的时隙。As an embodiment, the T time subpools include time slots in initial CCA and eCCA (Enhanced Clear Channel Assessment, enhanced clear channel assessment).
作为一个实施例,T1个时间子池中的任意两个时间子池的持续时间都相等,所述T1个时间子池是所述T个时间子池中分别和所述T1个检测值对应的时间子池。As an embodiment, the durations of any two time subpools in the T1 time subpools are equal, and the T1 time subpools are the T1 time subpools corresponding to the T1 detection values respectively. time pool.
作为一个实施例,T1个时间子池中至少存在两个时间子池的持续时间不相等,所述T1个时间子池是所述T个时间子池中分别和所述T1个检测值对应的时间子池。As an embodiment, there are at least two time subpools with unequal durations in the T1 time subpools, and the T1 time subpools are the T1 time subpools respectively corresponding to the T1 detection values time pool.
作为一个实施例,T1个时间子池占用的时域资源是连续的,所述T1个时间子池是所述T个时间子池中分别和所述T1个检测值对应的时间子池。As an embodiment, time domain resources occupied by the T1 time subpools are continuous, and the T1 time subpools are time subpools respectively corresponding to the T1 detection values among the T time subpools.
作为一个实施例,T1个时间子池中至少存在两个时间子池占用的时域资源是不连续的,所述T1个时间子池是所述T个时间子池中分别和所述T1个检测值对应的时间子池。As an embodiment, the time-domain resources occupied by at least two time sub-pools in the T1 time sub-pools are discontinuous, and the T1 time sub-pools are the T time sub-pools and the T1 time sub-pools respectively. The time subpool corresponding to the detection value.
作为一个实施例,T1个时间子池中任意两个时间子池占用的时域资源是不连续的,所述T1个时间子池是所述T个时间子池中分别和所述T1个检测值对应的时间子池。As an embodiment, the time-domain resources occupied by any two time sub-pools in the T1 time sub-pools are discontinuous, and the T1 time sub-pools are respectively detected in the T time sub-pools and the T1 time sub-pools The time subpool to which the value corresponds.
作为一个实施例,T1个时间子池中包括所述T个时间子池中的最晚的时间子池,所述T1个时间子池是所述T个时间子池中分别和所述T1个检测值对应的时间子池。As an embodiment, the T1 time subpools include the latest time subpool of the T time subpools, and the T1 time subpools are the T1 time subpools and the T1 time subpools respectively. The time subpool corresponding to the detection value.
作为一个实施例,T1个时间子池只包括了eCCA中的时隙,所述T1个时间子池是所述T个时间子池中分别和所述T1个检测值对应的时间子池。As an embodiment, the T1 time subpools only include time slots in the eCCA, and the T1 time subpools are time subpools respectively corresponding to the T1 detection values among the T time subpools.
作为一个实施例,所述T个时间子池包括T1个时间子池和T2个时间子池,所述T1个时间子池是所述T个时间子池中分别和所述T1个检测值对应的时间子池,所述T2个时间子池中的任一时间子池不属于所述T1个时间子池;所述T2是不大于所述T减所述T1的正整数。As an embodiment, the T time subpools include T1 time subpools and T2 time subpools, and the T1 time subpools are respectively corresponding to the T1 detection values in the T time subpools any time subpool in the T2 time subpools does not belong to the T1 time subpools; the T2 is a positive integer not greater than the T minus the T1.
作为上述实施例的一个子实施例,所述T2个时间子池在所述T个时间子池中的位置是连续的。As a sub-embodiment of the foregoing embodiment, positions of the T2 time sub-pools in the T time sub-pools are continuous.
作为上述实施例的一个子实施例,所述T2个时间子池包括了初始CCA中的时隙。As a sub-embodiment of the foregoing embodiment, the T2 time subpools include time slots in the initial CCA.
作为一个实施例,T1个时间子池是所述T个时间子池中分别和所述T1个检测值对应的时间子池,所述T1个时间子池分别属于T1个子池集合,所述T1个子池集合中的任一子池集合包括所述T个时间子池中的正整数个时间子池;所述T1个子池集合中的任一时间子池对应的检测值小于所述第一阈值。As an embodiment, the T1 time subpools are the time subpools corresponding to the T1 detection values in the T time subpools, and the T1 time subpools respectively belong to the T1 subpool set, and the T1 Any sub-pool set in the T sub-pool sets includes a positive integer number of time sub-pools in the T time sub-pools; the detection value corresponding to any time sub-pool in the T1 sub-pool sets is less than the first threshold .
作为上述实施例的一个子实施例,所述T1个子池集合中至少存在一个子池集合包括的时间子池的数量等于1。As a sub-embodiment of the foregoing embodiment, the number of time sub-pools included in at least one sub-pool set is equal to 1 in the T1 sub-pool sets.
作为上述实施例的一个子实施例,所述T1个子池集合中至少存在一个子池集合包括的时间子池的数量大于1。As a sub-embodiment of the foregoing embodiment, at least one sub-pool set includes more than one time sub-pool in the T1 sub-pool sets.
作为上述实施例的一个子实施例,所述T1个子池集合中至少存在两个子池集合包括的时间子池的数量是不相等的。As a sub-embodiment of the foregoing embodiment, at least two sub-pool sets in the T1 sub-pool sets include unequal numbers of time sub-pools.
作为上述实施例的一个子实施例,所述T个时间子池中不存在一个时间子池同时属于所述T1个子池集合中的两个子池集合。As a sub-embodiment of the foregoing embodiment, none of the T time sub-pools belongs to two sub-pool sets in the T1 sub-pool sets at the same time.
作为上述实施例的一个子实施例,所述T1个子池集合中至少存在一个子池集合中的所有时间子池属于同一个延时时段(Defer Duration)。As a sub-embodiment of the foregoing embodiment, all time sub-pools in at least one sub-pool set in the T1 sub-pool sets belong to the same delay period (Defer Duration).
作为上述子实施例的一个参考实施例,一个延时时段(Defer Duration)的持续时间是16微秒再加上正整数个9微秒。As a reference embodiment of the above sub-embodiment, the duration of a delay period (Defer Duration) is 16 microseconds plus a positive integer number of 9 microseconds.
作为上述实施例的一个子实施例,所述T个时间子池中不属于所述T1个子池集合的时间子池中至少存在一个时间子池对应的检测值小于所述第一阈值。As a sub-embodiment of the foregoing embodiment, among the time sub-pools of the T time sub-pools that do not belong to the set of T1 sub-pools, there is at least one time sub-pool whose detection value is smaller than the first threshold.
作为一个实施例,所述图10A对应所述T个时间子池占用的时域资源是连续的一次接入检测的示意图。As an embodiment, FIG. 10A is a schematic diagram corresponding to one access detection in which the time domain resources occupied by the T time subpools are continuous.
作为一个实施例,所述图10B对应所述T个时间子池中至少存在两个时间子池占用的时域资源是不连续的一次接入检测的示意图。As an embodiment, FIG. 10B corresponds to a schematic diagram of an access detection in which time domain resources occupied by at least two time subpools among the T time subpools are discontinuous.
作为一个实施例,所述图10C对应所述T个时间子池中任意两个时间子池占用的时域资源是不连续的一次接入检测的示意图。As an embodiment, FIG. 10C corresponds to a schematic diagram of an access detection in which the time domain resources occupied by any two time subpools in the T time subpools are discontinuous.
实施例11Example 11
实施例11示例了一个第一功率配置信息和M1个参考信号以及M2个参考信号的发送功率的关系的示意图,如附图11所示。Embodiment 11 illustrates a schematic diagram of the relationship between the first power configuration information and the transmission power of M1 reference signals and M2 reference signals, as shown in FIG. 11 .
在实施例11中,本申请中的所述M1个参考信号和所述M2个参考信号的发送功率相同,所述第一功率配置信息被用于确定所述M1个参考信号和所述M2个参考信号的发送功率。In Embodiment 11, the transmission power of the M1 reference signals and the M2 reference signals in this application is the same, and the first power configuration information is used to determine the M1 reference signals and the M2 reference signals The transmit power of the reference signal.
作为一个实施例,所述M1个参考信号和所述M2个参考信号的发送时间都属于第一时间窗。As an embodiment, the sending times of the M1 reference signals and the M2 reference signals all belong to the first time window.
作为一个实施例,属于第一时间窗的上行参考信号的发送功率相同,所述上行参考信号包括所述M1个参考信号和所述M2个参考信号。As an embodiment, the transmission powers of the uplink reference signals belonging to the first time window are the same, and the uplink reference signals include the M1 reference signals and the M2 reference signals.
作为一个实施例,所述第一时间窗在时域上包括所述M个多载波符号和所述P1个多载波符号。As an embodiment, the first time window includes the M multi-carrier symbols and the P1 multi-carrier symbols in the time domain.
作为一个实施例,所述第一时间窗在时域上包括多个多载波符号。As an embodiment, the first time window includes multiple multi-carrier symbols in the time domain.
作为一个实施例,所述第一时间窗在时域上包括多个时隙(slot)。As an embodiment, the first time window includes multiple time slots (slots) in the time domain.
作为一个实施例,所述第一时间窗在时域上包括一个或多个上行突发。As an embodiment, the first time window includes one or more uplink bursts in the time domain.
作为一个实施例,所述第一时间窗是预定义的。As an embodiment, the first time window is predefined.
作为一个实施例,所述第一时间窗是由更高层信令配置的。As an embodiment, the first time window is configured by higher layer signaling.
作为一个实施例,所述第一时间窗是由物理层信令配置的。As an embodiment, the first time window is configured by physical layer signaling.
作为一个实施例,所述M1个参考信号的发送与所述M2个参考信号的发送都为了同一个测量过程。As an embodiment, the sending of the M1 reference signals and the sending of the M2 reference signals are all for the same measurement process.
作为上述实施例的一个子实施例,所述同一个测量过程是波束管理(BeamManagement)或信道估计。As a sub-embodiment of the foregoing embodiment, the same measurement process is beam management (Beam Management) or channel estimation.
作为一个实施例,所述M1个参考信号和所述M2个参考信号的所述发送功率与G1个分量线性相关,所述第一功率配置信息与所述G1个分量中之一有关,所述M1个参考信号和所述M2个参考信号分别对应的所述G1个分量都相同,所述G1是正整数。As an embodiment, the transmission powers of the M1 reference signals and the M2 reference signals are linearly related to G1 components, the first power configuration information is related to one of the G1 components, and the The G1 components respectively corresponding to the M1 reference signals and the M2 reference signals are the same, and the G1 is a positive integer.
实施例12Example 12
实施例12示例了一个X个参考信号中的至少一个参考信号所占用的空口资源被用于从Y个多载波符号中确定X个多载波符号的示意图,如附图12所示。所述X个参考信号对应本申请中的所述M1个参考信号,所述X个多载波符号对应本申请中的所述M1个多载波符号,所述Y个多载波符号对应本申请中的所述第一子频带上的M个多载波符号;所述X个参考信号对应本申请中的所述M2个参考信号,所述X个多载波符号对应本申请中的所述M2个多载波符号,所述Y个多载波符号对应本申请中的所述第一子频带上的P1个多载波符号。Embodiment 12 illustrates a schematic diagram in which an air interface resource occupied by at least one of the X reference signals is used to determine X multi-carrier symbols from Y multi-carrier symbols, as shown in FIG. 12 . The X reference signals correspond to the M1 reference signals in this application, the X multi-carrier symbols correspond to the M1 multi-carrier symbols in this application, and the Y multi-carrier symbols correspond to the M1 multi-carrier symbols in this application. M multi-carrier symbols on the first sub-band; the X reference signals correspond to the M2 reference signals in this application, and the X multi-carrier symbols correspond to the M2 multi-carriers in this application symbols, the Y multi-carrier symbols correspond to the P1 multi-carrier symbols on the first sub-frequency band in this application.
在实施例12中,本申请中的目标参考信号组所占用的空口资源被所述X个参考信号的接收者用于从所述Y个多载波符号中确定所述X个多载波符号,所述目标参考信号组包括所述X个参考信号中的一个或者多个参考信号;所述X个参考信号分别在所述X个多载波符号中发送;所述目标参考信号组所占用的空口资源是S个备选空口资源之一,所述S个备选空口资源分别被用于确定S个多载波符号组,所述S个多载波符号组中任一多载波符号组都由所述Y个多载波符号中的一个或多个多载波符号组成,所述S是大于1的正整数。In embodiment 12, the air interface resource occupied by the target reference signal group in this application is used by the receiver of the X reference signals to determine the X multi-carrier symbols from the Y multi-carrier symbols, so The target reference signal group includes one or more reference signals in the X reference signals; the X reference signals are respectively sent in the X multi-carrier symbols; the air interface resources occupied by the target reference signal group is one of S candidate air interface resources, and the S candidate air interface resources are respectively used to determine S multi-carrier symbol groups, and any multi-carrier symbol group in the S multi-carrier symbol groups is determined by the Y One or more multi-carrier symbols in multi-carrier symbols, the S is a positive integer greater than 1.
作为一个实施例,目标参考信号组所占用的空口资源被所述X个参考信号的接收者隐式的从所述Y个多载波符号中确定所述X个多载波符号。As an embodiment, the air interface resource occupied by the target reference signal group is implicitly determined by the receiver of the X reference signals from the Y multi-carrier symbols to determine the X multi-carrier symbols.
作为一个实施例,所述目标参考信号组包括所述X个参考信号。As an embodiment, the target reference signal group includes the X reference signals.
作为一个实施例,所述目标参考信号组包括所述X个参考信号中部分参考信号。As an embodiment, the target reference signal group includes part of the X reference signals.
作为一个实施例,所述目标参考信号组包括所述X个参考信号中的第一个参考信号。As an embodiment, the target reference signal group includes a first reference signal among the X reference signals.
作为一个实施例,所述目标参考信号组包括所述X个参考信号中的最后一个参考信号。As an embodiment, the target reference signal group includes the last reference signal among the X reference signals.
作为一个实施例,所述目标参考信号组包括所述X个参考信号中的一个给定参考信号。As an embodiment, the target reference signal group includes a given reference signal among the X reference signals.
作为上述实施例的一个子实施例,所述给定参考信号是预定义的。As a sub-embodiment of the foregoing embodiment, the given reference signal is predefined.
作为上述实施例的一个子实施例,所述给定参考信号是由更高层信令配置的。As a sub-embodiment of the foregoing embodiment, the given reference signal is configured by higher layer signaling.
作为上述实施例的一个子实施例,所述给定参考信号是由物理层信令配置的。As a sub-embodiment of the foregoing embodiment, the given reference signal is configured by physical layer signaling.
作为一个实施例,所述空口资源包括时域资源、频域资源、码域资源、天线端口组和发送序列(sequence)中的至少之一。As an embodiment, the air interface resource includes at least one of a time domain resource, a frequency domain resource, a code domain resource, an antenna port group, and a transmission sequence (sequence).
作为一个实施例,所述空口资源包括时域资源。As an embodiment, the air interface resources include time domain resources.
作为一个实施例,所述空口资源包括频域资源。As an embodiment, the air interface resources include frequency domain resources.
作为一个实施例,所述空口资源包括码域资源。As an embodiment, the air interface resources include code domain resources.
作为一个实施例,所述空口资源包括天线端口组。As an embodiment, the air interface resource includes an antenna port group.
作为一个实施例,所述空口资源包括发送序列。As an embodiment, the air interface resource includes a sending sequence.
作为一个实施例,所述S个多载波符号组包括的多载波符号数目互不相同。As an embodiment, the numbers of multi-carrier symbols included in the S multi-carrier symbol groups are different from each other.
作为一个实施例,所述S个多载波符号组包括的多载波符号互不相同。As an embodiment, the multi-carrier symbols included in the S multi-carrier symbol groups are different from each other.
作为一个实施例,所述S个多载波符号组中不包括两个完全相同的多载波符号组。As an embodiment, the S multi-carrier symbol groups do not include two identical multi-carrier symbol groups.
作为一个实施例,所述S个多载波符号组中任意两个多载波符号组包括至少一个不相同的多载波符号。As an embodiment, any two multi-carrier symbol groups in the S multi-carrier symbol groups include at least one different multi-carrier symbol.
作为一个实施例,所述S个多载波符号组中任意两个多载波符号组不包括相同的多载波符号。As an embodiment, any two multi-carrier symbol groups in the S multi-carrier symbol groups do not include the same multi-carrier symbol.
作为一个实施例,所述S个多载波符号组分别被分配给S个子天线端口集合,所述S个备选空口资源分别和所述S个子天线端口集合一一对应。As an embodiment, the S multi-carrier symbol groups are respectively assigned to S sub-antenna port sets, and the S candidate air interface resources correspond to the S sub-antenna port sets respectively.
作为一个实施例,所述S个子天线端口集合属于所述F个天线端口集合中的同一个天线端口集合,所述S个子天线端口集合中任一子天线端口集合包括一个或多个天线端口组。As an embodiment, the S sub-antenna port sets belong to the same antenna port set in the F antenna port sets, and any sub-antenna port set in the S sub-antenna port sets includes one or more antenna port groups .
作为一个实施例,所述X个多载波符号属于所述S个多载波符号组中之一。As an embodiment, the X multi-carrier symbols belong to one of the S multi-carrier symbol groups.
作为一个实施例,所述X个多载波符号属于所述目标参考信号组所占用的空口资源所对应的所述S个多载波符号组中之一。As an embodiment, the X multi-carrier symbols belong to one of the S multi-carrier symbol groups corresponding to the air interface resource occupied by the target reference signal group.
作为一个实施例,目标参考信号组所占用的空口资源被所述X个参考信号的接收者用于从所述S个多载波符号组中确定一个多载波符号组。As an embodiment, the air interface resource occupied by the target reference signal group is used by the receiver of the X reference signals to determine a multi-carrier symbol group from the S multi-carrier symbol groups.
作为一个实施例,目标参考信号组所占用的空口资源被所述X个参考信号的接收者用于从所述S个子天线端口集合中确定一个子天线端口集合。As an embodiment, the air interface resources occupied by the target reference signal group are used by receivers of the X reference signals to determine a sub-antenna port set from the S sub-antenna port sets.
作为一个实施例,所述S个备选空口资源和S个多载波符号组的一一对应关系是预定义的。As an embodiment, the one-to-one correspondence between the S candidate air interface resources and the S multi-carrier symbol groups is predefined.
作为一个实施例,根据上述所述的方法,其特征在于,包括:As an embodiment, according to the method described above, it is characterized in that it includes:
接收第六信息;receiving the sixth message;
其中,所述第六信息被用于确定所述S个备选空口资源分别和所述S个多载波符号组一一对应。Wherein, the sixth information is used to determine the one-to-one correspondence between the S candidate air interface resources and the S multi-carrier symbol groups respectively.
作为一个实施例,所述第六信息是半静态配置的。As an embodiment, the sixth information is configured semi-statically.
作为一个实施例,所述第六信息由更高层信令承载。As an embodiment, the sixth information is carried by higher layer signaling.
作为一个实施例,所述第六信息由RRC信令承载。As an embodiment, the sixth information is carried by RRC signaling.
作为一个实施例,所述第六信息是一个RRC信令中的一个IE的全部或一部分。As an embodiment, the sixth information is all or part of one IE in one RRC signaling.
作为一个实施例,所述第六信息由MAC CE信令承载。As an embodiment, the sixth information is carried by MAC CE signaling.
作为一个实施例,所述第六信息在SIB中传输。As an embodiment, the sixth information is transmitted in the SIB.
作为一个实施例,所述第六信息显式的指示所述S个备选空口资源分别和S个多载波符号组一一对应。As an embodiment, the sixth information explicitly indicates that the S candidate air interface resources are in one-to-one correspondence with the S multi-carrier symbol groups respectively.
作为一个实施例,所述第六信息隐式的指示所述S个备选空口资源分别和S个多载波符号组一一对应。As an embodiment, the sixth information implicitly indicates that the S candidate air interface resources are respectively in one-to-one correspondence with the S multi-carrier symbol groups.
作为一个实施例,所述第六信息被用于确定所述S个备选空口资源分别和所述S个子天线端口集合一一对应。As an embodiment, the sixth information is used to determine a one-to-one correspondence between the S candidate air interface resources and the S sub-antenna port sets respectively.
作为一个实施例,所述第六信息显式的指示所述S个备选空口资源分别和所述S个子天线端口集合一一对应。As an embodiment, the sixth information explicitly indicates that the S candidate air interface resources are in one-to-one correspondence with the S sub-antenna port sets respectively.
作为一个实施例,所述第六信息隐式的指示所述S个备选空口资源分别和所述S个子天线端口集合一一对应。As an embodiment, the sixth information implicitly indicates that the S candidate air interface resources are respectively in one-to-one correspondence with the S sub-antenna port sets.
实施例13Example 13
图13A至图13B分别示例了一个所述M1个参考信号和所述M2个参考信号的发送顺序与第一信息的关系的示意图。13A to 13B respectively illustrate a schematic diagram of the relationship between the sending order of the M1 reference signals and the M2 reference signals and the first information.
在实施例13中,本申请中的所述第一信息被用于确定所述M1个参考信号和所述M2个参考信号的假定发送顺序,所述M1个参考信号和所述M2个参考信号的发送顺序与所述假定发送顺序有关。In Embodiment 13, the first information in this application is used to determine the assumed transmission order of the M1 reference signals and the M2 reference signals, and the M1 reference signals and the M2 reference signals The sending order of is related to the assumed sending order.
作为一个实施例,所述M等于所述P1。As an example, the M is equal to the P1.
作为一个实施例,所述第一信息显式的指示所述M1个参考信号和所述M2个参考信号的假定发送顺序。As an embodiment, the first information explicitly indicates the assumed sending order of the M1 reference signals and the M2 reference signals.
作为一个实施例,所述第一信息隐式的指示所述M1个参考信号和所述M2个参考信号的假定发送顺序。As an embodiment, the first information implicitly indicates the assumed sending order of the M1 reference signals and the M2 reference signals.
作为一个实施例,所述第一信息被用于确定所述M1个参考信号和所述M2个参考信号在所述第一子频带上的M个多载波符号中的时域位置,所述假定发送顺序是根据所述时域位置由先到后的所述M1个参考信号和所述M2个参考信号的先后顺序。As an embodiment, the first information is used to determine the time domain positions of the M1 reference signals and the M2 reference signals in the M multi-carrier symbols on the first sub-band, the assumption The sending sequence is the sequence of the M1 reference signals and the M2 reference signals from first to last according to the time domain positions.
作为一个实施例,所述第一信息还包括所述M1个参考信号和所述M2个参考信号在所述第一子频带上的M个多载波符号中的时域位置,所述假定发送顺序是根据所述时域位置由先到后的所述M1个参考信号和所述M2个参考信号的先后顺序。As an embodiment, the first information further includes the time-domain positions of the M1 reference signals and the M2 reference signals in the M multi-carrier symbols on the first sub-band, and the assumed transmission order It is the sequence of the M1 reference signals and the M2 reference signals from the first to the last according to the time domain position.
作为一个实施例,所述M1个参考信号和所述M2个参考信号的发送顺序与所述假定发送顺序一致。As an embodiment, the sending order of the M1 reference signals and the M2 reference signals is consistent with the assumed sending order.
作为一个实施例,所述M1个参考信号和所述M2个参考信号的发送顺序与所述假定发送顺序不一致,所述M1个参考信号和所述M2个参考信号的发送顺序和假定发送顺序以及所述M1个多载波符号以及所述M2个多载波符号有关。As an embodiment, the sending order of the M1 reference signals and the M2 reference signals is inconsistent with the assumed sending order, and the sending order of the M1 reference signals and the M2 reference signals and the assumed sending order and The M1 multi-carrier symbols are related to the M2 multi-carrier symbols.
作为一个实施例,所述M1个参考信号和所述M2个参考信号的发送顺序与所述假定发送顺序不一致,目标参考信号是所述M1个参考信号和所述M2个参考信号中任一参考信号,所述目标参考信号只在根据假定发送顺序所述目标参考信号所对应的多载波符号上发送。As an embodiment, the sending order of the M1 reference signals and the M2 reference signals is inconsistent with the assumed sending order, and the target reference signal is any one of the M1 reference signals and the M2 reference signals signal, the target reference signal is only sent on the multi-carrier symbols corresponding to the target reference signal according to the assumed sending order.
作为一个实施例,所述图13A对应所述M等于所述P1,所述M等于8,参考信号1-8是所述M1个参考信号和所述M2个参考信号,所述M1个参考信号和所述M2个参考信号的发送顺序与所述假定发送顺序一致的示意图。As an example, in FIG. 13A, the M is equal to the P1, the M is equal to 8, and the reference signals 1-8 are the M1 reference signals and the M2 reference signals, and the M1 reference signals A schematic diagram showing that the sending order of the M2 reference signals is consistent with the assumed sending order.
作为一个实施例,所述图13B对应所述M等于所述P1,所述M等于8,参考信号1-8是所述M1个参考信号和所述M2个参考信号,所述M1个参考信号和所述M2个参考信号的发送顺序与所述假定发送顺序不一致的示意图。As an example, the FIG. 13B corresponds to the fact that the M is equal to the P1, the M is equal to 8, and the reference signals 1-8 are the M1 reference signals and the M2 reference signals, and the M1 reference signals and a schematic diagram showing that the sending order of the M2 reference signals is inconsistent with the assumed sending order.
实施例14Example 14
图14A至图14E分别示例了一个N个多载波符号、N1个天线端口组和Z个参考信号的关系的示意图。所述N个多载波符号对应本申请中的所述第一子频带上的M个多载波符号,所述Z个参考信号对应本申请中的所述M1个参考信号;所述N个多载波符号对应本申请中的所述第一子频带上的所述P1个多载波符号,所述Z个参考信号对应本申请中的所述M2个参考信号。FIG. 14A to FIG. 14E respectively illustrate schematic diagrams of a relationship among N multi-carrier symbols, N1 antenna port groups and Z reference signals. The N multi-carrier symbols correspond to the M multi-carrier symbols on the first sub-frequency band in this application, and the Z reference signals correspond to the M1 reference signals in this application; the N multi-carrier The symbols correspond to the P1 multi-carrier symbols on the first sub-frequency band in this application, and the Z reference signals correspond to the M2 reference signals in this application.
在实施例7中,本申请中的所述N个多载波符号被分配给N1个天线端口组,所述N1是不大于所述N的正整数,所述Z个参考信号被所述N1个天线端口组中的U1个天线端口组发送,所述Z是不大于所述N的正整数,所述U1是不大于所述Z的正整数。In
作为一个实施例,所述N1个天线端口组中任一天线端口组对应所述N个多载波符号中的至少一个多载波符号,所述N个多载波符号中任一多载波符号对应所述N1个天线端口组中之一,所述N1不小于所述N2且不大于所述N的正整数。As an embodiment, any antenna port group in the N1 antenna port groups corresponds to at least one multi-carrier symbol in the N multi-carrier symbols, and any multi-carrier symbol in the N multi-carrier symbols corresponds to the One of N1 antenna port groups, where N1 is a positive integer not less than N2 and not greater than N.
作为一个实施例,所述N1等于所述N,所述N个多载波符号分别被分配给所述N1个天线端口组。As an embodiment, the N1 is equal to the N, and the N multi-carrier symbols are allocated to the N1 antenna port groups respectively.
作为一个实施例,所述N1等于1,所述N个多载波符号被分配给同一个天线端口组。As an embodiment, the N1 is equal to 1, and the N multi-carrier symbols are allocated to the same antenna port group.
作为一个实施例,所述N1大于1且小于所述N,所述N个多载波符号中至少两个连续的多载波符号被分配给所述N1个天线端口组中的同一个天线端口组。As an embodiment, the N1 is greater than 1 and smaller than the N, and at least two consecutive multi-carrier symbols in the N multi-carrier symbols are allocated to the same antenna port group in the N1 antenna port groups.
作为一个实施例,所述U1等于所述Z,所述Z个参考信号分别被U1个天线端口组发送。As an embodiment, the U1 is equal to the Z, and the Z reference signals are respectively sent by the U1 antenna port groups.
作为一个实施例,所述U1等于1,所述Z个参考信号被同一个天线端口组发送,所述N个多载波符号在时域上是连续的。As an embodiment, the U1 is equal to 1, the Z reference signals are sent by the same antenna port group, and the N multi-carrier symbols are continuous in the time domain.
作为一个实施例,所述U1大于1且小于所述Z,所述Z个参考信号中至少两个在时域上占用连续的多载波符号的参考信号被所述U1个天线端口组中的同一个天线端口组发送。As an embodiment, the U1 is greater than 1 and smaller than the Z, and at least two reference signals occupying consecutive multi-carrier symbols in the time domain among the Z reference signals are used by the same antenna port groups of the U1 An antenna port group transmits.
作为一个实施例,所述图14A对应所述N1等于所述N,所述U1等于所述Z的所述N个多载波符号、所述N1个天线端口组和所述Z个参考信号的关系的示意图。As an example, the Figure 14A corresponds to the relationship between the N multicarrier symbols, the N1 antenna port groups, and the Z reference signals in which N1 is equal to the N and U1 is equal to the Z schematic diagram.
作为一个实施例,所述图14B对应所述N1等于1,所述U1等于1的所述N个多载波符号、所述N1个天线端口组和所述Z个参考信号的关系的示意图。As an embodiment, FIG. 14B is a schematic diagram corresponding to the relationship between the N multi-carrier symbols in which N1 is equal to 1 and U1 is equal to 1, the N1 antenna port groups, and the Z reference signals.
作为一个实施例,所述图14C对应所述N1大于1且小于所述N,所述U1等于所述Z的所述N个多载波符号、所述N1个天线端口组和所述Z个参考信号的关系的示意图。As an example, the Figure 14C corresponds to the N1 being greater than 1 and less than the N, the U1 being equal to the N multicarrier symbols of the Z, the N1 antenna port groups, and the Z reference Schematic diagram of the signal relationship.
作为一个实施例,所述图14D对应所述N1大于1且小于所述N,所述U1等于1的所述N个多载波符号、所述N1个天线端口组和所述Z个参考信号的关系的示意图。As an example, the Figure 14D corresponds to the N multi-carrier symbols, the N1 antenna port groups, and the Z reference signals for which the N1 is greater than 1 and less than the N, and the U1 is equal to 1. A schematic diagram of the relationship.
作为一个实施例,所述图14E对应所述N1大于1且小于所述N,所述U1大于1且小于所述Z的所述N个多载波符号、所述N1个天线端口组和所述Z个参考信号的关系的示意图。As an example, the Figure 14E corresponds to the N multi-carrier symbols, the N1 antenna port groups, and the N1 greater than 1 and less than the N, the U1 greater than 1 and less than the Z Schematic diagram of the relationship of Z reference signals.
实施例15Example 15
实施例15示例了一个天线端口和天线端口组的示意图,如附图15所示。Embodiment 15 illustrates a schematic diagram of an antenna port and an antenna port group, as shown in FIG. 15 .
在实施例15中,一个天线端口组包括正整数个天线端口;一个天线端口由正整数个天线组中的天线通过天线虚拟化(Virtualization)叠加而成;一个天线组包括正整数根天线。一个天线组通过一个RF(Radio Frequency,射频)chain(链)连接到基带处理器,不同天线组对应不同的RF chain。给定天线端口包括的正整数个天线组内的所有天线到所述给定天线端口的映射系数组成所述给定天线端口对应的波束赋型向量。所述给定天线端口包括的正整数个天线组内的任一给定天线组包括的多根天线到所述给定天线端口的映射系数组成所述给定天线组的模拟波束赋型向量。所述正整数个天线组对应的模拟波束赋型向量对角排列构成所述给定天线端口对应的模拟波束赋型矩阵。所述正整数个天线组到所述给定天线端口的映射系数组成所述给定天线端口对应的数字波束赋型向量。所述给定天线端口对应的波束赋型向量是由所述给定天线端口对应的模拟波束赋型矩阵和数字波束赋型向量的乘积得到的。一个天线端口组中的不同天线端口由相同的天线组构成,同一个天线端口组中的不同天线端口对应不同的波束赋型向量。In Embodiment 15, an antenna port group includes a positive integer number of antenna ports; an antenna port is formed by stacking antennas in a positive integer number of antenna groups through antenna virtualization; and an antenna group includes a positive integer number of antennas. An antenna group is connected to the baseband processor through an RF (Radio Frequency, radio frequency) chain (chain), and different antenna groups correspond to different RF chains. The mapping coefficients of all the antennas in the positive integer number of antenna groups included in the given antenna port to the given antenna port form the beamforming vector corresponding to the given antenna port. The mapping coefficients of multiple antennas included in any given antenna group within the positive integer number of antenna groups included in the given antenna port to the given antenna port form an analog beamforming vector of the given antenna group. The analog beamforming vectors corresponding to the positive integer number of antenna groups are arranged diagonally to form an analog beamforming matrix corresponding to the given antenna port. The mapping coefficients of the positive integer number of antenna groups to the given antenna port form a digital beamforming vector corresponding to the given antenna port. The beamforming vector corresponding to the given antenna port is obtained by multiplying the analog beamforming matrix and the digital beamforming vector corresponding to the given antenna port. Different antenna ports in one antenna port group are composed of the same antenna group, and different antenna ports in the same antenna port group correspond to different beamforming vectors.
附图15中示出了两个天线端口组:天线端口组#0和天线端口组#1。其中,所述天线端口组#0由天线组#0构成,所述天线端口组#1由天线组#1和天线组#2构成。所述天线组#0中的多个天线到所述天线端口组#0的映射系数组成模拟波束赋型向量#0,所述天线组#0到所述天线端口组#0的映射系数组成数字波束赋型向量#0。所述天线组#1中的多个天线和所述天线组#2中的多个天线到所述天线端口组#1的映射系数分别组成模拟波束赋型向量#1和模拟波束赋型向量#2,所述天线组#1和所述天线组#2到所述天线端口组#1的映射系数组成数字波束赋型向量#1。所述天线端口组#0中的任一天线端口对应的波束赋型向量是由所述模拟波束赋型向量#0和所述数字波束赋型向量#0的乘积得到的。所述天线端口组#1中的任一天线端口对应的波束赋型向量是由所述模拟波束赋型向量#1和所述模拟波束赋型向量#2对角排列构成的模拟波束赋型矩阵和所述数字波束赋型向量#1的乘积得到的。Figure 15 shows two antenna port groups: antenna
作为一个实施例,一个天线端口组包括一个天线端口。例如,附图15中的所述天线端口组#0包括一个天线端口。As an embodiment, one antenna port group includes one antenna port. For example, the antenna
作为上述实施例的一个子实施例,所述一个天线端口对应的模拟波束赋型矩阵降维成模拟波束赋型向量,所述一个天线端口对应的数字波束赋型向量降维成一个标量,所述一个天线端口对应的波束赋型向量等于所述一个天线端口对应的模拟波束赋型向量。例如,附图15中的所述数字波束赋型向量#0降维成一个标量,所述天线端口组#0中的天线端口对应的波束赋型向量是所述模拟波束赋型向量#0。As a sub-embodiment of the above embodiment, the dimensionality of the analog beamforming matrix corresponding to the one antenna port is reduced into an analog beamforming vector, and the dimensionality of the digital beamforming vector corresponding to the one antenna port is reduced into a scalar, so The beamforming vector corresponding to the one antenna port is equal to the analog beamforming vector corresponding to the one antenna port. For example, the dimensionality of the digital
作为一个实施例,一个天线端口组包括多个天线端口。例如,附图15中的所述天线端口组#1包括多个天线端口。As an embodiment, one antenna port group includes multiple antenna ports. For example, the antenna
作为上述实施例的一个子实施例,所述多个天线端口对应相同的模拟波束赋型矩阵。As a sub-embodiment of the foregoing embodiment, the multiple antenna ports correspond to the same analog beamforming matrix.
作为上述实施例的一个子实施例,所述多个天线端口中至少两个天线端口对应相同的模拟波束赋型矩阵。As a sub-embodiment of the foregoing embodiment, at least two antenna ports among the plurality of antenna ports correspond to the same analog beamforming matrix.
作为上述实施例的一个子实施例,所述多个天线端口中至少两个天线端口对应不同的模拟波束赋型矩阵。As a sub-embodiment of the foregoing embodiment, at least two antenna ports among the plurality of antenna ports correspond to different analog beamforming matrices.
作为上述实施例的一个子实施例,所述多个天线端口对应不同的数字波束赋型向量。As a sub-embodiment of the foregoing embodiment, the multiple antenna ports correspond to different digital beamforming vectors.
作为上述实施例的一个子实施例,所述多个天线端口中至少两个天线端口对应相同的数字波束赋型向量。As a sub-embodiment of the foregoing embodiment, at least two antenna ports among the plurality of antenna ports correspond to the same digital beamforming vector.
作为上述实施例的一个子实施例,所述多个天线端口中至少两个天线端口对应不同的数字波束赋型向量。As a sub-embodiment of the foregoing embodiment, at least two antenna ports among the plurality of antenna ports correspond to different digital beamforming vectors.
作为一个实施例,不同的天线端口组中的任意两个天线端口对应不同的模拟波束赋型矩阵。As an embodiment, any two antenna ports in different antenna port groups correspond to different analog beamforming matrices.
作为一个实施例,不同的天线端口组中的至少两个天线端口对应不同的模拟波束赋型矩阵。As an embodiment, at least two antenna ports in different antenna port groups correspond to different analog beamforming matrices.
作为一个实施例,不同的天线端口组中的至少两个天线端口对应相同的模拟波束赋型矩阵。As an embodiment, at least two antenna ports in different antenna port groups correspond to the same analog beamforming matrix.
作为一个实施例,两个不同的天线端口组是QCL(Quasi Co-Located,准共址)。As an embodiment, the two different antenna port groups are QCL (Quasi Co-Located, quasi-co-located).
作为一个实施例,两个不同的天线端口组不是QCL。As an example, two different groups of antenna ports are not QCLs.
作为一个实施例,一个天线端口组中的任意两个天线端口是QCL。As an embodiment, any two antenna ports in an antenna port group are QCLs.
作为一个实施例,一个天线端口组中的任意两个天线端口不是QCL。As an embodiment, any two antenna ports in an antenna port group are not QCLs.
作为一个实施例,一个天线端口组中的至少两个天线端口是QCL。As an embodiment, at least two antenna ports in one antenna port group are QCLs.
作为一个实施例,一个天线端口组中的至少两个天线端口不是QCL。As an embodiment, at least two antenna ports in one antenna port group are not QCL.
作为一个实施例,一个天线端口组中的任意两个天线端口是spatial QCL。As an embodiment, any two antenna ports in an antenna port group are spatial QCLs.
作为一个实施例,一个天线端口组中的任意两个天线端口不是spatial QCL。As an embodiment, any two antenna ports in an antenna port group are not spatial QCLs.
作为一个实施例,一个天线端口组中的至少两个天线端口是spatial QCL。As an embodiment, at least two antenna ports in one antenna port group are spatial QCLs.
作为一个实施例,一个天线端口组中的至少两个天线端口不是spatial QCL。As an embodiment, at least two antenna ports in an antenna port group are not spatial QCLs.
作为一个实施例,两个天线端口是QCL是指:能够从所述两个天线端口中的一个天线端口上发送的无线信号的全部或者部分大尺度(large-scale)特性(properties)推断出两个天线端口中的另一个天线端口上发送的无线信号的全部或者部分大尺度特性。As an embodiment, the two antenna ports being QCL means: it is possible to infer two All or part of the large-scale characteristics of the wireless signal transmitted on the other one of the two antenna ports.
作为一个实施例,两个天线端口是QCL是指:所述两个天线端口至少有一个相同的QCL参数(QCL parameter),所述QCL参数包括多天线相关的QCL参数和多天线无关的QCL参数。As an embodiment, the two antenna ports are QCL means: the two antenna ports have at least one same QCL parameter (QCL parameter), and the QCL parameter includes multi-antenna related QCL parameters and multi-antenna independent QCL parameters .
作为一个实施例,两个天线端口是QCL是指:能够从所述两个天线端口中的一个天线端口的至少一个QCL参数推断出所述两个天线端口中的另一个天线端口的至少一个QCL参数。As an embodiment, the two antenna ports are QCL means: at least one QCL of the other antenna port of the two antenna ports can be deduced from at least one QCL parameter of one of the two antenna ports parameter.
作为一个实施例,两个天线端口是QCL是指:能够从所述两个天线端口中的一个天线端口上发送的无线信号的多天线相关的接收推断出所述两个天线端口中的另一个天线端口上发送的无线信号的多天线相关的接收。As an embodiment, the two antenna ports are QCL means: the other of the two antenna ports can be deduced from the multi-antenna correlation reception of the wireless signal sent on one of the two antenna ports Multi-antenna dependent reception of radio signals transmitted on antenna ports.
作为一个实施例,两个天线端口是QCL是指:能够从所述两个天线端口中的一个天线端口上发送的无线信号的多天线相关的发送推断出所述两个天线端口中的另一个天线端口上发送的无线信号的多天线相关的发送。As an embodiment, the two antenna ports are QCL means: the other of the two antenna ports can be deduced from the multi-antenna related transmission of the wireless signal sent on one of the two antenna ports Multi-antenna correlated transmission of radio signals transmitted on antenna ports.
作为一个实施例,两个天线端口是QCL是指:能够从所述两个天线端口中的一个天线端口上发送的无线信号的多天线相关的接收推断出所述两个天线端口中的另一个天线端口上发送的无线信号的多天线相关的发送,所述两个天线端口中的一个天线端口上发送的无线信号的接收者和所述两个天线端口中的另一个天线端口上发送的无线信号的发送者相同。As an embodiment, the two antenna ports are QCL means: the other of the two antenna ports can be deduced from the multi-antenna correlation reception of the wireless signal sent on one of the two antenna ports Multi-antenna correlated transmission of wireless signals transmitted on antenna ports, receivers of wireless signals transmitted on one of the two antenna ports and wireless signals transmitted on the other of the two antenna ports The sender of the signal is the same.
作为一个实施例,两个天线端口不是QCL是指:不能够从所述两个天线端口中的一个天线端口上发送的无线信号的全部或者部分大尺度(large-scale)特性(properties)推断出两个天线端口中的另一个天线端口上发送的无线信号的全部或者部分大尺度特性。As an embodiment, the fact that the two antenna ports are not QCL means that it cannot be deduced from all or part of the large-scale (large-scale) characteristics (properties) of the wireless signal transmitted on one of the two antenna ports. All or part of the large-scale properties of the wireless signal transmitted on the other of the two antenna ports.
作为一个实施例,两个天线端口不是QCL是指:所述两个天线端口至少有一个不同的QCL参数(QCL parameter),所述QCL参数包括多天线相关的QCL参数和多天线无关的QCL参数。As an embodiment, the two antenna ports are not QCL means: the two antenna ports have at least one different QCL parameter (QCL parameter), and the QCL parameter includes multi-antenna related QCL parameters and multi-antenna independent QCL parameters .
作为一个实施例,两个天线端口不是QCL是指:不能够从所述两个天线端口中的一个天线端口的至少一个QCL参数推断出所述两个天线端口中的另一个天线端口的至少一个QCL参数。As an embodiment, the two antenna ports are not QCL means: at least one of the other antenna ports of the two antenna ports cannot be deduced from at least one QCL parameter of one of the two antenna ports QCL parameters.
作为一个实施例,两个天线端口不是QCL是指:不能够从所述两个天线端口中的一个天线端口上发送的无线信号的多天线相关的接收推断出所述两个天线端口中的另一个天线端口上发送的无线信号的多天线相关的接收。As an embodiment, the fact that the two antenna ports are not QCL means that the other antenna port of the two antenna ports cannot be deduced from the multi-antenna related reception of the wireless signal sent on one of the two antenna ports. Multi-antenna correlated reception of radio signals transmitted on one antenna port.
作为一个实施例,两个天线端口不是QCL是指:不能够从所述两个天线端口中的一个天线端口上发送的无线信号的多天线相关的发送推断出所述两个天线端口中的另一个天线端口上发送的无线信号的多天线相关的发送。As an embodiment, the fact that the two antenna ports are not QCL means that the other of the two antenna ports cannot be deduced from the multi-antenna related transmission of the wireless signal sent on one of the two antenna ports. Multi-antenna correlated transmission of radio signals transmitted on one antenna port.
作为一个实施例,两个天线端口不是QCL是指:不能够从所述两个天线端口中的一个天线端口上发送的无线信号的多天线相关的接收推断出所述两个天线端口中的另一个天线端口上发送的无线信号的多天线相关的发送,所述两个天线端口中的一个天线端口上发送的无线信号的接收者和所述两个天线端口中的另一个天线端口上发送的无线信号的发送者相同。As an embodiment, the fact that the two antenna ports are not QCL means that the other antenna port of the two antenna ports cannot be deduced from the multi-antenna related reception of the wireless signal sent on one of the two antenna ports. Multi-antenna correlated transmission of a wireless signal transmitted on one antenna port, a receiver of a wireless signal transmitted on one of the two antenna ports and a receiver of the wireless signal transmitted on the other of the two antenna ports The sender of the wireless signal is the same.
作为一个实施例,多天线相关的QCL参数包括:到达角(angle of arrival)、离开角(angle of departure)、空间相关性、多天线相关的发送、多天线相关的接收中的一种或多种。As an embodiment, the multi-antenna related QCL parameters include: one or more of: angle of arrival (angle of arrival), angle of departure (angle of departure), spatial correlation, multi-antenna related transmission, and multi-antenna related reception. kind.
作为一个实施例,多天线无关的QCL参数包括:延时扩展(delay spread)、多普勒扩展(Doppler spread)、多普勒移位(Doppler shift)、路径损耗(path loss)、平均增益(average gain)中的一种或多种。As an embodiment, multi-antenna irrelevant QCL parameters include: delay spread (delay spread), Doppler spread (Doppler spread), Doppler shift (Doppler shift), path loss (path loss), average gain ( one or more of average gain).
作为一个实施例,两个天线端口是spatial QCL是指:能够从所述两个天线端口中的一个天线端口上发送的无线信号的全部或者部分多天线相关的大尺度(large-scale)特性(propert ies)推断出两个天线端口中的另一个天线端口上发送的无线信号的全部或者部分多天线相关的大尺度特性。As an embodiment, the two antenna ports being spatial QCL refers to: all or part of the multi-antenna related large-scale (large-scale) characteristics ( properties) infer all or part of the multi-antenna-dependent large-scale properties of the wireless signal transmitted on the other of the two antenna ports.
作为一个实施例,两个天线端口是spatial QCL是指:所述两个天线端口至少有一个相同的多天线相关的QCL参数(spatial QCL parameter)。As an embodiment, the two antenna ports being spatial QCL means that the two antenna ports have at least one same multi-antenna related QCL parameter (spatial QCL parameter).
作为一个实施例,两个天线端口是spatial QCL的是指:能够从所述两个天线端口中的一个天线端口的至少一个多天线相关的QCL参数推断出所述两个天线端口中的另一个天线端口的至少一个多天线相关的QCL参数。As an embodiment, the fact that the two antenna ports are spatial QCL means that the other of the two antenna ports can be deduced from at least one multi-antenna related QCL parameter of one of the two antenna ports At least one multi-antenna related QCL parameter of the antenna port.
作为一个实施例,两个天线端口是spatial QCL是指:能够从所述两个天线端口中的一个天线端口上发送的无线信号的多天线相关的接收推断出所述两个天线端口中的另一个天线端口上发送的无线信号的多天线相关的接收。As an embodiment, the two antenna ports being spatial QCL means: it can be deduced from the multi-antenna correlation reception of the wireless signal sent on one of the two antenna ports that the other of the two antenna ports Multi-antenna correlated reception of radio signals transmitted on one antenna port.
作为一个实施例,两个天线端口是spatial QCL是指:能够从所述两个天线端口中的一个天线端口上发送的无线信号的多天线相关的发送推断出所述两个天线端口中的另一个天线端口上发送的无线信号的多天线相关的发送。As an embodiment, the two antenna ports being spatial QCL means: it can be deduced from the multi-antenna related transmission of the wireless signal sent on one of the two antenna ports that the other of the two antenna ports Multi-antenna correlated transmission of radio signals transmitted on one antenna port.
作为一个实施例,两个天线端口是spatial QCL是指:能够从所述两个天线端口中的一个天线端口上发送的无线信号的多天线相关的接收推断出所述两个天线端口中的另一个天线端口上发送的无线信号的多天线相关的发送,所述两个天线端口中的一个天线端口上发送的无线信号的接收者和所述两个天线端口中的另一个天线端口上发送的无线信号的发送者相同。As an embodiment, the two antenna ports being spatial QCL means: it can be deduced from the multi-antenna correlation reception of the wireless signal sent on one of the two antenna ports that the other of the two antenna ports Multi-antenna correlated transmission of a wireless signal transmitted on one antenna port, a receiver of a wireless signal transmitted on one of the two antenna ports and a receiver of the wireless signal transmitted on the other of the two antenna ports The sender of the wireless signal is the same.
作为一个实施例,两个天线端口不是spatial QCL是指:不能够从所述两个天线端口中的一个天线端口上发送的无线信号的全部或者部分多天线相关的大尺度(large-scale)特性(properties)推断出两个天线端口中的另一个天线端口上发送的无线信号的全部或者部分多天线相关的大尺度特性。As an embodiment, the fact that the two antenna ports are not spatial QCL refers to: all or part of the multi-antenna related large-scale (large-scale) characteristics of the wireless signal that cannot be transmitted from one of the two antenna ports (properties) infer all or part of the multi-antenna-related large-scale properties of the wireless signal transmitted on the other antenna port of the two antenna ports.
作为一个实施例,两个天线端口不是spatial QCL是指:所述两个天线端口至少有一个不同的多天线相关的QCL参数(spatial QCL parameter)。As an embodiment, the fact that the two antenna ports are not spatial QCL means that the two antenna ports have at least one different multi-antenna related QCL parameter (spatial QCL parameter).
作为一个实施例,两个天线端口不是spatial QCL的是指:不能够从所述两个天线端口中的一个天线端口的至少一个多天线相关的QCL参数推断出所述两个天线端口中的另一个天线端口的至少一个多天线相关的QCL参数。As an embodiment, the fact that the two antenna ports do not have spatial QCL means that the other of the two antenna ports cannot be deduced from at least one multi-antenna related QCL parameter of one of the two antenna ports. At least one multi-antenna related QCL parameter of an antenna port.
作为一个实施例,两个天线端口不是spatial QCL是指:不能够从所述两个天线端口中的一个天线端口上发送的无线信号的多天线相关的接收推断出所述两个天线端口中的另一个天线端口上发送的无线信号的多天线相关的接收。As an example, the fact that the two antenna ports are not spatial QCL means that it cannot be deduced from the multi-antenna correlation reception of the wireless signal sent on one of the two antenna ports that the Multi-antenna correlated reception of radio signals transmitted on another antenna port.
作为一个实施例,两个天线端口不是spatial QCL是指:不能够从所述两个天线端口中的一个天线端口上发送的无线信号的多天线相关的发送推断出所述两个天线端口中的另一个天线端口上发送的无线信号的多天线相关的发送。As an example, the fact that the two antenna ports are not spatial QCL means that it cannot be deduced from the multi-antenna related transmission of the wireless signal sent on one of the two antenna ports that the Multi-antenna correlated transmission of radio signals transmitted on another antenna port.
作为一个实施例,两个天线端口不是spatial QCL是指:不能够从所述两个天线端口中的一个天线端口上发送的无线信号的多天线相关的接收推断出所述两个天线端口中的另一个天线端口上发送的无线信号的多天线相关的发送,所述两个天线端口中的一个天线端口上发送的无线信号的接收者和所述两个天线端口中的另一个天线端口上发送的无线信号的发送者相同。As an example, the fact that the two antenna ports are not spatial QCL means that it cannot be deduced from the multi-antenna correlation reception of the wireless signal sent on one of the two antenna ports that the multi-antenna correlated transmission of a radio signal transmitted on another antenna port, a receiver of a radio signal transmitted on one of said two antenna ports and a radio signal transmitted on the other of said two antenna ports The sender of the wireless signal is the same.
作为一个实施例,给定无线信号的多天线相关的大尺度特性包括到达角(angleof arrival)、离开角(angle of departure)、空间相关性、多天线相关的发送、多天线相关的接收中的一种或者多种。As an example, the multi-antenna related large-scale characteristics of a given wireless signal include angle of arrival (angle of arrival), angle of departure (angle of departure), spatial correlation, multi-antenna related transmission, and multi-antenna related reception. One or more.
实施例16Example 16
实施例16示例了一个给定无线信号的发送功率与G2个分量的关系的示意图,如附图16A-16B所示。所述给定无线信号对应本申请中的所述M1个参考信号和所述M2个参考信号;所述给定无线信号对应本申请中的所述第一无线信号;所述G2对应实施例11中的所述G1;本申请中的所述第一功率配置信息与所述G2个分量中之一有关;本申请中的所述第二功率配置信息与所述G2个分量中之一有关。Embodiment 16 illustrates a schematic diagram of the relationship between the transmission power of a given wireless signal and the G2 components, as shown in FIGS. 16A-16B . The given wireless signal corresponds to the M1 reference signals and the M2 reference signals in this application; the given wireless signal corresponds to the first wireless signal in this application; the G2 corresponds to Embodiment 11 The G1 in this application; the first power configuration information in this application is related to one of the G2 components; the second power configuration information in this application is related to one of the G2 components.
在实施例16中,本申请中的所述给定无线信号的发送功率与所述G2个分量线性相关,所述G2是正整数。In Embodiment 16, the transmission power of the given wireless signal in this application is linearly related to the G2 components, and the G2 is a positive integer.
作为一个实施例,所述给定无线信号的发送功率的单位是dBm。As an embodiment, the unit of the sending power of the given wireless signal is dBm.
作为一个实施例,所述第一功率是PPUSCH,c(i),所述PPUSCH,c(i)是索引为c的服务小区中第i个子帧中PUSCH(Physical Uplink Shared CHannel,物理上行共享信道)上UE的传输功率,所述给定无线信号在索引为c的服务小区上传输。所述PPUSCH,c(i)的具体定义参见TS36.213。As an embodiment, the first power is PPUSCH,c (i), and the PPUSCH,c (i) is the PUSCH (Physical Uplink Shared CHannel, physical uplink The transmission power of the UE on the shared channel), and the given wireless signal is transmitted on the serving cell with the index c. For the specific definition of the PPUSCH,c (i), refer to TS36.213.
作为一个实施例,所述第一功率是PPUSCH,f,c(i,j,qd,l),所述PPUSCH,f,c(i,j,qd,l)是在索引为c的服务小区中采用索引为j的参数集配置和索引为l的PUSCH功率控制调整状态在索引为f的载波上的第i个PUSCH传输期间(transmission period)中PUSCH(PhysicalUplink Shared CHannel,物理上行共享信道)上UE的传输功率,所述给定无线信号在索引为c的服务小区上传输。所述PPUSCH,f,c(i,j,qd,l)的具体定义参见TS38.213。As an example, the first power is PPUSCH,f,c (i,j,qd ,l), and the PPUSCH,f,c (i,j,qd ,l) is indexed at In the serving cell of c, the parameter set configuration with index j and the PUSCH power control adjustment state with index l are adopted. In the i-th PUSCH transmission period (transmission period) on the carrier with index f, PUSCH (PhysicalUplink Shared CHannel, physical uplink The transmission power of the UE on the shared channel), and the given wireless signal is transmitted on the serving cell with the index c. For the specific definition of PPUSCH,f,c (i,j,qd ,l), refer to TS38.213.
作为一个实施例,所述给定无线信号的发送功率是PSRS,c(i),所述PSRS,c(i)是索引为c的服务小区中第i个子帧中UE发送SRS使用的传输功率,所述给定无线信号在索引为c的服务小区上传输。所述PSRS,c(i)的具体定义参见TS36.213。As an embodiment, the transmission power of the given wireless signal isPSRS,c (i), and thePSRS,c (i) is used by the UE to transmit the SRS in the i-th subframe in the serving cell with the index c Transmission power, the given wireless signal is transmitted on the serving cell with index c. For the specific definition of the PSRS,c (i), refer to TS36.213.
作为一个实施例,所述给定无线信号的发送功率是PSRS,f,c(i,qs,l),所述PSRS,f,c(i,qs,l)是在索引为c的服务小区中采用索引为l的SRS功率控制调整状态在第i个SRS传输期间中UE发送SRS使用的传输功率,所述给定无线信号在索引为c的服务小区上传输。所述PSRS,f,c(i,qs,l)的具体定义参见TS38.213。As an embodiment, the transmission power of the given wireless signal isPSRS,f,c (i,qs ,l), and thePSRS,f,c (i,qs ,l) is indexed at In the serving cell of c, the SRS power control with
作为一个实施例,所述给定无线信号的发送功率和第一分量线性相关,所述第一分量和所述给定无线信号占用的带宽相关。As an embodiment, the transmission power of the given wireless signal is linearly related to the first component, and the first component is related to the bandwidth occupied by the given wireless signal.
作为上述实施例的一个子实施例,所述给定无线信号的发送功率与所述第一分量之间的线性系数是1。As a sub-embodiment of the foregoing embodiment, a linear coefficient between the transmission power of the given wireless signal and the first component is 1.
作为上述实施例的一个子实施例,所述给定无线信号的发送功率与所述第一分量之间的线性系数是10log10(2μ),所述μ的具体定义参见TS38.213。As a sub-embodiment of the above-mentioned embodiment, the linear coefficient between the transmission power of the given wireless signal and the first component is 10log10 (2μ ), and the specific definition of μ refers to TS38.213.
作为上述实施例的一个子实施例,所述第一分量是10log10(MPUSCH,c(i)),所述MPUSCH,c(i)是索引为c的服务小区中第i个子帧中PUSCH分配到的以RB为单位的带宽,所述给定无线信号在索引为c的服务小区上传输。所述MPUSCH,c(i)的具体定义参见TS36.213。As a sub-embodiment of the above-mentioned embodiment, the first component is 10log10 (MPUSCH,c (i)), and the MPUSCH,c (i) is the i-th subframe in the serving cell with index c The bandwidth allocated by the PUSCH in units of RB, and the given wireless signal is transmitted on the serving cell with the index c. For the specific definition of the MPUSCH,c (i), refer to TS36.213.
作为上述实施例的一个子实施例,所述第一分量是所述是索引为c的服务小区中在索引为f的载波上的第i个PUSCH传输期间中PUSCH分配到的以RB为单位的带宽,所述给定无线信号在索引为c的服务小区上传输。所述的具体定义参见TS38.213。As a sub-embodiment of the above-mentioned embodiment, the first component is said is the bandwidth in units of RB allocated by PUSCH during the ith PUSCH transmission period on the carrier with index f in the serving cell with index c, and the given wireless signal is transmitted on the serving cell with index c. said See TS38.213 for the specific definition.
作为上述实施例的一个子实施例,所述第一分量是10log10(MSRS,c),所述MSRS,c是索引为c的服务小区中第i个子帧中SRS分配到的以RB为单位的带宽,所述给定无线信号在索引为c的服务小区上传输。所述MSRS,c的具体定义参见TS36.213。As a sub-embodiment of the above-mentioned embodiment, the first component is 10log10 (MSRS,c ), and the MSRS,c is the RB allocated to the SRS in the i-th subframe in the serving cell with index c is the unit of bandwidth, and the given wireless signal is transmitted on the serving cell with index c. For the specific definition of the MSRS,c , refer to TS36.213.
作为上述实施例的一个子实施例,所述第一分量是10log10(MSRS,f,c(i)),所述MSRS,f,c(i)是索引为c的服务小区中在索引为f的载波上的第i个SRS传输期间中SRS分配到的以RB为单位的带宽,所述给定无线信号在索引为c的服务小区上传输。所述MSRS,f,c(i)的具体定义参见TS38.213。As a sub-embodiment of the above-mentioned embodiment, the first component is 10log10 (MSRS, f, c (i)), and the MSRS, f, c (i) is in the serving cell with index c The bandwidth in units of RB allocated to the SRS in the i-th SRS transmission period on the carrier with the index f, and the given wireless signal is transmitted on the serving cell with the index c. For the specific definition of the MSRS,f,c (i), refer to TS38.213.
作为一个实施例,所述给定无线信号的发送功率和第二分量线性相关,所述第二分量和PUSCH对应的调度类型相关。所述给定无线信号的发送功率与所述第二分量之间的线性系数是1。As an embodiment, the transmission power of the given wireless signal is linearly related to the second component, and the second component is related to the scheduling type corresponding to the PUSCH. A linear coefficient between the transmission power of the given wireless signal and the second component is 1.
作为上述实施例的一个子实施例,所述调度类型包括半静态授予(semi-persistent grant)、动态调度授予(dynamic scheduled grant)和随机接入响应授予(random access response grant)。As a sub-embodiment of the foregoing embodiment, the scheduling type includes a semi-persistent grant, a dynamic scheduled grant, and a random access response grant.
作为上述实施例的一个子实施例,所述第二分量是PO_PUSCH,c(j),所述PO_PUSCH,c(j)是在索引为c的服务小区上和索引为j的所述调度类型相关的功率偏移量,所述给定无线信号在索引为c的服务小区上传输。所述PO_PUSCH,c(j)的具体定义参见TS36.213。As a sub-embodiment of the above-mentioned embodiment, the second component is PO_PUSCH,c (j), and the PO_PUSCH,c (j) is the scheduling on the serving cell with index c and index j type-dependent power offset, the given radio signal is transmitted on the serving cell with index c. For the specific definition of the PO_PUSCH,c (j), refer to TS36.213.
作为上述实施例的一个子实施例,所述第二分量是由高层信令配置的。As a sub-embodiment of the foregoing embodiment, the second component is configured by high-layer signaling.
作为上述实施例的一个子实施例,所述第二分量是小区公共的。As a sub-embodiment of the foregoing embodiment, the second component is common to cells.
作为一个实施例,所述给定无线信号的发送功率和第三分量线性相关,所述第三分量和所述UE到所述给定无线信号的接收者之间的信道质量相关。As an embodiment, the sending power of the given wireless signal is linearly related to the third component, and the third component is related to the channel quality between the UE and the receiver of the given wireless signal.
作为上述实施例的一个子实施例,所述给定无线信号的发送功率与所述第三分量之间的线性系数是小于或者等于1的非负数。As a sub-embodiment of the foregoing embodiment, a linear coefficient between the transmission power of the given wireless signal and the third component is a non-negative number less than or equal to 1.
作为上述实施例的一个子实施例,所述给定无线信号的发送功率与所述第三分量之间的线性系数是αc(j),所述αc(j)是在索引为c的服务小区中和索引为j的所述调度类型相关的部分路损补偿因子,所述给定无线信号在索引为c的服务小区上传输。所述αc(j)的具体定义参见TS36.213。As a sub-embodiment of the above-mentioned embodiment, the linear coefficient between the transmission power of the given wireless signal and the third component is αc (j), and the αc (j) is in the index c A partial path loss compensation factor related to the scheduling type with index j in the serving cell, and the given wireless signal is transmitted on the serving cell with index c. For the specific definition of αc (j), refer to TS36.213.
作为上述实施例的一个子实施例,所述给定无线信号的发送功率与所述第三分量之间的线性系数是αSRS,c。所述αSRS,c的具体定义参见TS36.213。As a sub-embodiment of the foregoing embodiment, a linear coefficient between the transmission power of the given wireless signal and the third component is αSRS,c . For the specific definition of the αSRS,c , refer to TS36.213.
作为上述实施例的一个子实施例,所述给定无线信号的发送功率与所述第三分量之间的线性系数是由高层信令配置的。As a sub-embodiment of the foregoing embodiment, the linear coefficient between the transmission power of the given wireless signal and the third component is configured by high-layer signaling.
作为上述实施例的一个子实施例,所述给定无线信号的发送功率与所述第三分量之间的线性系数是小区公共的。As a sub-embodiment of the foregoing embodiment, the linear coefficient between the transmission power of the given wireless signal and the third component is common to all cells.
作为上述实施例的一个子实施例,所述第三分量是PLc,所述PLc是在索引为c的服务小区中所述UE的以dB为单位的路损估计值,所述给定无线信号在索引为c的服务小区上传输。所述PLc的具体定义参见TS36.213。As a sub-embodiment of the above-mentioned embodiment, the third component is PLc , and the PLc is an estimated path loss value in dB of the UE in the serving cell with index c, and the given Radio signals are transmitted on the serving cell with index c. For the specific definition of the PLc , refer to TS36.213.
作为上述实施例的一个子实施例,所述给定无线信号的发送功率与所述第三分量之间的线性系数是αf,c(j),所述第三分量是PLf,c(qd),所述PLf,c(qd)是在索引为c的服务小区中在索引为f的载波上所述UE在参考信号qd上计算出的以dB为单位的路损估计值,所述给定无线信号在索引为c的服务小区上传输。所述αf,c(j)和所述PLf,c(qd)的具体定义参见TS38.213。As a sub-embodiment of the foregoing embodiment, the linear coefficient between the transmission power of the given wireless signal and the third component is αf,c (j), and the third component is PLf,c ( qd ), the PLf,c (qd ) is the path loss estimate in dB calculated by the UE on the reference signal qd on the carrier with the index f in the serving cell with the index c value, the given wireless signal is transmitted on the serving cell with index c. For the specific definitions of the αf,c (j) and the PLf,c (qd ), refer to TS38.213.
作为上述实施例的一个子实施例,所述给定无线信号的发送功率与所述第三分量之间的线性系数是αSRS,f,c(qs),所述第三分量是PLf,c(qs),所述PLf,c(qs)是在索引为c的服务小区中在索引为f的载波上所述UE在SRS资源集qs上计算出的以dB为单位的路损估计值,所述给定无线信号在索引为c的服务小区上传输。所述αSRS,f,c(qs)和所述PLf,c(qs)的具体定义参见TS38.213。As a sub-embodiment of the above-mentioned embodiment, the linear coefficient between the transmission power of the given wireless signal and the third component is αSRS,f,c (qs ), and the third component is PLf ,c (qs ), the PLf,c (qs ) is calculated by the UE on the SRS resource set qs in the serving cell with the index c on the carrier with the index f The path loss estimation value of , the given wireless signal is transmitted on the serving cell with index c. For the specific definitions of the αSRS,f,c (qs ) and the PLf,c (qs ), refer to TS38.213.
作为一个实施例,所述给定无线信号的发送功率和第四分量线性相关。所述给定无线信号的发送功率与所述第四分量之间的线性系数是1。As an embodiment, the transmission power of the given wireless signal is linearly related to the fourth component. A linear coefficient between the transmission power of the given wireless signal and the fourth component is 1.
作为上述实施例的一个子实施例,所述第四分量和PUSCH的MCS(Modulation andCoding Scheme)相关。As a sub-embodiment of the foregoing embodiment, the fourth component is related to an MCS (Modulation and Coding Scheme) of the PUSCH.
作为上述实施例的一个子实施例,所述第四分量是ΔTF,c(i),所述ΔTF,c(i)是索引为c的服务小区中第i个子帧中和所述UE的MCS相关的功率偏移量,所述给定无线信号在索引为c的服务小区上传输。所述ΔTF,c(i)的具体定义参见TS36.213。As a sub-embodiment of the above-mentioned embodiment, the fourth component is ΔTF,c (i), and the ΔTF,c (i) is the i-th subframe in the serving cell with index c and the UE The power offset related to the MCS of the given radio signal is transmitted on the serving cell with index c. For the specific definition of ΔTF,c (i), refer to TS36.213.
作为上述实施例的一个子实施例,所述第四分量是PSRS_OFFSET,c(i),所述PSRS_OFFSET,c(i)是索引为c的服务小区中第i个子帧中SRS的发送功率相对PUSCH的偏移量,所述给定无线信号在索引为c的服务小区上传输。所述PSRS_OFFSET,c(i)的具体定义参见TS36.213。As a sub-embodiment of the above-mentioned embodiment, the fourth component isPSRS_OFFSET,c (i), and thePSRS_OFFSET,c (i) is the transmission power of the SRS in the i-th subframe in the serving cell with the index c Relative to the offset of the PUSCH, the given wireless signal is transmitted on the serving cell with the index c. For the specific definition of thePSRS_OFFSET,c (i), refer to TS36.213.
作为上述实施例的一个子实施例,所述第四分量和所述给定无线信号的目标接收功率相关。As a sub-embodiment of the foregoing embodiment, the fourth component is related to the target received power of the given wireless signal.
作为上述实施例的一个子实施例,所述第四分量是PO_SRS,c(m),所述PO_SRS,c(m)的具体定义参见TS36.213。As a sub-embodiment of the foregoing embodiment, the fourth component is PO_SRS,c (m), and for a specific definition of the PO_SRS,c (m), refer to TS36.213.
作为上述实施例的一个子实施例,所述第四分量是PO_SRS,f,c(qs),所述PO_SRS,c(m)的具体定义参见TS38.213。As a sub-embodiment of the foregoing embodiment, the fourth component is PO_SRS,f,c (qs ), and for a specific definition of PO_SRS,c (m), refer to TS38.213.
作为上述实施例的一个子实施例,所述第四分量是PO_PUSCH,f,c(j),所述PO_PUSCH,f,c(j)的具体定义参见TS38.213。As a sub-embodiment of the foregoing embodiment, the fourth component isPO_PUSCH,f,c (j), and for a specific definition ofPO_PUSCH,f,c (j), refer to TS38.213.
作为上述实施例的一个子实施例,所述第四分量由高层信令配置。As a sub-embodiment of the foregoing embodiment, the fourth component is configured by high-layer signaling.
作为上述实施例的一个子实施例,所述第四分量是小区公共的。As a sub-embodiment of the foregoing embodiment, the fourth component is common to cells.
作为上述实施例的一个子实施例,所述第四分量是UE特有的。As a sub-embodiment of the foregoing embodiment, the fourth component is UE-specific.
作为一个实施例,所述给定无线信号的发送功率和第五分量线性相关,所述给定无线信号的发送功率与所述第五分量之间的线性系数是1。As an embodiment, the transmission power of the given wireless signal is linearly related to the fifth component, and a linear coefficient between the transmission power of the given wireless signal and the fifth component is 1.
作为上述实施例的一个子实施例,所述第五分量是fc(i),所述fc(i)是索引为c的服务小区中第i个子帧中PUSCH上功率控制调整的状态,所述给定无线信号在索引为c的服务小区上传输。所述fc(i)的具体定义参见TS36.213。As a sub-embodiment of the above-mentioned embodiment, the fifth component is fc (i), and the fc (i) is the state of power control adjustment on PUSCH in the i-th subframe in the serving cell with index c, The given wireless signal is transmitted on the serving cell with index c. For the specific definition of fc (i), refer to TS36.213.
作为上述实施例的一个子实施例,所述第五分量是fSRS,c(i),所述fSRS,c(i)是索引为c的服务小区中第i个子帧中SRS上功率控制调整的状态,所述给定无线信号在索引为c的服务小区上传输。所述fSRS,c(i)的具体定义参见TS36.213。As a sub-embodiment of the above-mentioned embodiment, the fifth component is fSRS,c (i), and the fSRS,c (i) is the power control on SRS in the i-th subframe in the serving cell with index c In an adjusted state, the given wireless signal is transmitted on the serving cell with index c. For the specific definition of fSRS,c (i), refer to TS36.213.
作为上述实施例的一个子实施例,所述第五分量是ff,c(i,l),所述ff,c(i,l)是索引为c的服务小区中在索引为f的载波上第i个PUSCH传输期间中PUSCH上功率控制调整的状态,所述给定无线信号在索引为c的服务小区上传输。所述ff,c(i,l)的具体定义参见TS38.213。As a sub-embodiment of the above-mentioned embodiment, the fifth component is ff,c (i,l), and the ff,c (i,l) is in the serving cell with index c in the cell with index f The status of the power control adjustment on the PUSCH during the i-th PUSCH transmission period on the carrier, and the given wireless signal is transmitted on the serving cell with the index c. For the specific definition of ff,c (i,l), refer to TS38.213.
作为上述实施例的一个子实施例,所述第五分量是hf,c(i,l),所述hf,c(i,l)是索引为c的服务小区中在索引为f的载波上第i个SRS传输期间中SRS上功率控制调整的状态,所述给定无线信号在索引为c的服务小区上传输。所述hf,c(i,l)的具体定义参见TS38.213。As a sub-embodiment of the above-mentioned embodiment, the fifth component is hf,c (i,l), and the hf,c (i,l) is the cell with index f in the serving cell with index c The status of the power control adjustment on the SRS during the i-th SRS transmission period on the carrier, and the given wireless signal is transmitted on the serving cell with the index c. For the specific definition of hf,c (i,l), refer to TS38.213.
作为一个实施例,所述给定无线信号的发送功率等于PCMAX,c(i),所述PCMAX,c(i)是索引为c的服务小区中第i个子帧中所述UE配置的发送功率最高门限,所述给定无线信号在索引为c的服务小区上传输。所述PCMAX,c(i)的具体定义参见TS36.213。As an embodiment, the transmission power of the given wireless signal is equal toPCMAX,c (i), and thePCMAX,c (i) is configured by the UE in the i-th subframe in the serving cell with the index c The highest threshold of sending power, the given wireless signal is transmitted on the serving cell with index c. For the specific definition of PCMAX,c (i), refer to TS36.213.
作为一个实施例,所述给定无线信号的发送功率小于PCMAX,c(i)。As an embodiment, the sending power of the given wireless signal is less than PCMAX,c (i).
作为一个实施例,所述给定无线信号的发送功率等于PCMAX,c(i)和参考发送功率中的最小值,所述参考发送功率等于所述第一分量、所述第二分量、所述第三分量、所述第四分量以及所述第五分量的线性叠加。As an embodiment, the transmission power of the given wireless signal is equal to the minimum value ofPCMAX,c (i) and a reference transmission power, and the reference transmission power is equal to the first component, the second component, the A linear superposition of the third component, the fourth component, and the fifth component.
作为一个实施例,所述给定无线信号的发送功率等于PCMAX,c(i)和参考发送功率中的最小值,所述参考发送功率等于所述第一分量、所述第三分量、所述第四分量以及所述第五分量的线性叠加。As an embodiment, the transmission power of the given wireless signal is equal to the minimum value ofPCMAX,c (i) and a reference transmission power, and the reference transmission power is equal to the first component, the third component, the The linear superposition of the fourth component and the fifth component.
作为一个实施例,所述给定无线信号的发送功率等于PCMAX,f,c(i),所述PCMAX,f,c(i)是索引为c的服务小区中在索引为f的载波上第i个PUSCH传输期间中所述UE配置的发送功率最高门限,所述给定无线信号在索引为c的服务小区上传输。所述PCMAX,f,c(i)的具体定义参见TS38.213。As an embodiment, the transmission power of the given wireless signal is equal toPCMAX, f, c (i), and thePCMAX, f, c (i) is the carrier with the index f in the serving cell with the index c The highest transmit power threshold configured by the UE in the last ith PUSCH transmission period, and the given radio signal is transmitted on the serving cell with index c. For the specific definition of PCMAX,f,c (i), refer to TS38.213.
作为一个实施例,所述给定无线信号的发送功率等于PCMAX,f,c(i),所述PCMAX,f,c(i)是索引为c的服务小区中在索引为f的载波上第i个SRS传输期间中所述UE配置的发送功率最高门限,所述给定无线信号在索引为c的服务小区上传输。所述PCMAX,f,c(i)的具体定义参见TS38.213。As an embodiment, the transmission power of the given wireless signal is equal toPCMAX, f, c (i), and thePCMAX, f, c (i) is the carrier with the index f in the serving cell with the index c The highest transmit power threshold configured by the UE in the last ith SRS transmission period, and the given wireless signal is transmitted on the serving cell with index c. For the specific definition of PCMAX,f,c (i), refer to TS38.213.
作为一个实施例,所述给定无线信号的发送功率小于PCMAX,f,c(i)。As an embodiment, the sending power of the given wireless signal is less than PCMAX,f,c (i).
作为一个实施例,所述给定无线信号的发送功率等于PCMAX,f,c(i)和参考发送功率中的最小值,所述参考发送功率等于所述第一分量、所述第三分量、所述第四分量以及所述第五分量的线性叠加。As an embodiment, the transmission power of the given wireless signal is equal to the minimum value ofPCMAX,f,c (i) and a reference transmission power, and the reference transmission power is equal to the first component, the third component , the linear superposition of the fourth component and the fifth component.
作为一个实施例,所述G2个分量包括所述第一分量、所述第二分量、所述第三分量、所述第四分量以及所述第五分量。As an embodiment, the G2 components include the first component, the second component, the third component, the fourth component, and the fifth component.
作为一个实施例,所述G2个分量包括所述第一分量、所述第三分量、所述第四分量以及所述第五分量。As an embodiment, the G2 components include the first component, the third component, the fourth component, and the fifth component.
作为一个实施例,本申请中的所述第一功率配置信息指示一个功率偏移量,所述第五分量和所述功率偏移量线性相关,所述第五分量和所述功率偏移量之间的线性系数是1。As an embodiment, the first power configuration information in this application indicates a power offset, the fifth component is linearly related to the power offset, and the fifth component and the power offset The linear coefficient between is 1.
作为一个实施例,本申请中的所述第二功率配置信息指示一个功率偏移量,所述第五分量和所述功率偏移量线性相关,所述第五分量和所述功率偏移量之间的线性系数是1。As an embodiment, the second power configuration information in this application indicates a power offset, the fifth component is linearly related to the power offset, and the fifth component and the power offset The linear coefficient between is 1.
作为一个实施例,所述图16A对应所述G2等于5,所述G2个分量包括第一分量、第二分量、第三分量、第四分量以及第五分量的所述给定无线信号的发送功率与所述G2个分量的关系的示意图。As an example, the Figure 16A corresponds to the G2 equal to 5, and the G2 components include the transmission of the given wireless signal of the first component, the second component, the third component, the fourth component and the fifth component Schematic diagram of the relationship between power and the G2 components.
作为一个实施例,所述图16B对应所述G2等于4,所述G2个分量包括第一分量、第三分量、第四分量以及第五分量的所述给定无线信号的发送功率与所述G2个分量的关系的示意图。As an example, in FIG. 16B , the G2 is equal to 4, and the G2 components include the first component, the third component, the fourth component and the fifth component, and the transmission power of the given wireless signal is the same as the Schematic representation of the relationship of the G2 components.
实施例17Example 17
实施例17示例了一个UE中的处理装置的结构框图,如附图17所示。附图17中,UE处理装置1200主要由第一接收机模块1201和第一发射机模块1202组成。Embodiment 17 illustrates a structural block diagram of a processing device in a UE, as shown in FIG. 17 . In FIG. 17 , a
作为一个实施例,所述第一接收机模块1201包括实施例4中的接收器456、接收处理器452和控制器/处理器490。As an embodiment, the
作为一个实施例,所述第一接收机模块1201包括实施例4中的接收器456、接收处理器452和控制器/处理器490中的至少前二者。As an embodiment, the
作为一个实施例,所述第一发射机模块1202包括实施例4中的发射器456、发射处理器455和控制器/处理器490。As an embodiment, the
作为一个实施例,所述第一发射机模块1202包括实施例4中的发射器456、发射处理器455和控制器/处理器490中的至少前二者。As an embodiment, the
-第一接收机模块1201:接收第一信息,所述第一信息包括第一功率配置信息,所述第一信息被用于确定第一子频带上的M个多载波符号;接收第二信息,所述第二信息包括第二功率配置信息,所述第二信息被用于确定所述第一子频带上的P个多载波符号;- the first receiver module 1201: receive first information, the first information includes first power configuration information, and the first information is used to determine M multi-carrier symbols on the first sub-band; receive second information , the second information includes second power configuration information, and the second information is used to determine P multi-carrier symbols on the first sub-band;
-第一发射机模块1202:从所述第一子频带上的M个多载波符号中确定M1个多载波符号;对于所述第一子频带上的M个多载波符号,仅在所述M1个多载波符号中分别发送M1个参考信号;在所述第一子频带上的P个多载波符号中的M2个多载波符号中分别发送M2个参考信号。- the first transmitter module 1202: determine M1 multi-carrier symbols from the M multi-carrier symbols on the first sub-band; for the M multi-carrier symbols on the first sub-band, only in the M1 M1 reference signals are respectively sent in the multi-carrier symbols; M2 reference signals are respectively sent in the M2 multi-carrier symbols in the P multi-carrier symbols on the first sub-frequency band.
在实施例17中,所述M是大于1的正整数,所述P是大于1的正整数,所述M1是小于所述M的正整数,所述M2是不大于所述P的正整数,所述M1与所述M2的和等于所述M,所述M2个参考信号的发送功率与所述第一功率配置信息有关且与所述第二功率配置信息无关。In embodiment 17, said M is a positive integer greater than 1, said P is a positive integer greater than 1, said M1 is a positive integer smaller than said M, and said M2 is a positive integer not greater than said P , the sum of the M1 and the M2 is equal to the M, and the transmit power of the M2 reference signals is related to the first power configuration information and not related to the second power configuration information.
作为一个实施例,所述第一信息还被用于确定所述第一子频带上的P1个多载波符号,所述M2个多载波符号属于所述第一子频带上的P1个多载波符号,所述第一子频带上的P1个多载波符号属于所述第一子频带上的P个多载波符号,所述P1是不大于所述P的正整数。As an embodiment, the first information is also used to determine the P1 multi-carrier symbols on the first sub-frequency band, and the M2 multi-carrier symbols belong to the P1 multi-carrier symbols on the first sub-frequency band , the P1 multi-carrier symbols on the first sub-frequency band belong to the P multi-carrier symbols on the first sub-frequency band, and the P1 is a positive integer not greater than the P.
作为一个实施例,所述第一接收机模块1201还执行K个第一接入检测,所述K是不大于2的正整数;其中,所述K个第一接入检测被用于确定所述M1个多载波符号和所述M2个多载波符号。根据本申请的一个方面,上述方法的特征在于,包括:As an embodiment, the
作为一个实施例,所述M1个参考信号和所述M2个参考信号的发送功率相同,所述第一功率配置信息被用于确定所述M1个参考信号和所述M2个参考信号的发送功率。As an embodiment, the transmit powers of the M1 reference signals and the M2 reference signals are the same, and the first power configuration information is used to determine the transmit power of the M1 reference signals and the M2 reference signals .
作为一个实施例,所述M1个参考信号中的至少一个参考信号所占用的空口资源被用于从所述第一子频带上的M个多载波符号中确定所述M1个多载波符号。As an embodiment, an air interface resource occupied by at least one of the M1 reference signals is used to determine the M1 multi-carrier symbols from the M multi-carrier symbols on the first sub-frequency band.
作为一个实施例,所述第一接收机模块1201还接收第三信息;其中,所述第一信息被用于确定所述M1个参考信号和所述M2个参考信号的假定发送顺序,所述第三信息被用于确定所述M1个参考信号和所述M2个参考信号的发送顺序与所述假定发送顺序是否一致。As an embodiment, the
作为一个实施例,所述第一发射机模块1202还在第一时频资源中发送第一无线信号;其中,所述第二信息还包括所述第一无线信号的配置信息,所述第二功率配置信息被用于确定所述第一无线信号的发送功率,所述第一无线信号不包括所述M2个参考信号中的任一参考信号,所述第一无线信号所占用的时频资源包括所述第一时频资源中属于所述第一子频带上的P1个多载波符号且不属于所述M2个多载波符号的至少一个多载波符号。As an embodiment, the
作为一个实施例,所述第一接收机模块1201还接收第四信息;其中,所述第四信息被用于确定所述第一时频资源中属于所述第一子频带上的所述P1个多载波符号且不属于所述M2个多载波符号的至少一个多载波符号被所述第一无线信号占用。As an embodiment, the
作为一个实施例,所述第一接收机模块1201还接收第五信息;其中,所述第五信息被用于确定F个天线端口集合,所述F是正整数,所述F个天线端口集合中的任一天线端口集合包括正整数个天线端口组,一个天线端口组包括正整数个天线端口;所述M1个参考信号和所述M2个参考信号中的任一参考信号的发送天线端口组都属于所述F个天线端口集合中的同一个天线端口集合。As an embodiment, the
实施例18Example 18
实施例18示例了一个基站设备中的处理装置的结构框图,如附图18所示。附图18中,基站设备中的处理装置1300主要由第二发射机模块1301和第二接收机模块1302组成。Embodiment 18 illustrates a structural block diagram of a processing device in a base station device, as shown in FIG. 18 . In FIG. 18 , the
作为一个子实施例,所述第二发射机模块1301包括实施例4中的发射器416、发射处理器415和控制器/处理器440。As a sub-embodiment, the
作为一个子实施例,所述第二发射机模块1301包括实施例4中的发射器416、发射处理器415和控制器/处理器440中的至少前二者。As a sub-embodiment, the
作为一个子实施例,所述第二接收机模块1302包括实施例4中的接收器416、接收处理器412和控制器/处理器440。As a sub-embodiment, the
作为一个子实施例,所述第二接收机模块1302包括实施例4中的接收器416、接收处理器412和控制器/处理器440中的至少前二者。As a sub-embodiment, the
-第二发射机模块1301:发送第一信息,所述第一信息包括第一功率配置信息,所述第一信息被用于确定第一子频带上的M个多载波符号;发送第二信息,所述第二信息包括第二功率配置信息,所述第二信息被用于确定所述第一子频带上的P个多载波符号;- The second transmitter module 1301: send first information, the first information includes first power configuration information, and the first information is used to determine M multi-carrier symbols on the first sub-band; send second information , the second information includes second power configuration information, and the second information is used to determine P multi-carrier symbols on the first sub-band;
-第二接收机模块1302:在所述第一子频带上的M个多载波符号中的M1个多载波符号中分别接收M1个参考信号;在所述第一子频带上的P个多载波符号中的M2个多载波符号中分别接收M2个参考信号。- The second receiver module 1302: respectively receive M1 reference signals in M1 multi-carrier symbols among the M multi-carrier symbols on the first sub-band; P multi-carriers on the first sub-band The M2 reference signals are respectively received in the M2 multi-carrier symbols in the symbol.
在实施例18中,所述M是大于1的正整数,所述P是大于1的正整数,所述M1是小于所述M的正整数,所述M2是不大于所述P的正整数,所述M1与所述M2的和等于所述M,所述M2个参考信号的发送功率与所述第一功率配置信息有关且与所述第二功率配置信息无关。In embodiment 18, said M is a positive integer greater than 1, said P is a positive integer greater than 1, said M1 is a positive integer smaller than said M, and said M2 is a positive integer not greater than said P , the sum of the M1 and the M2 is equal to the M, and the transmit power of the M2 reference signals is related to the first power configuration information and not related to the second power configuration information.
作为一个实施例,所述第一信息还被用于确定所述第一子频带上的P1个多载波符号,所述M2个多载波符号属于所述第一子频带上的P1个多载波符号,所述第一子频带上的P1个多载波符号属于所述第一子频带上的P个多载波符号,所述P1是不大于所述P的正整数。As an embodiment, the first information is also used to determine the P1 multi-carrier symbols on the first sub-frequency band, and the M2 multi-carrier symbols belong to the P1 multi-carrier symbols on the first sub-frequency band , the P1 multi-carrier symbols on the first sub-frequency band belong to the P multi-carrier symbols on the first sub-frequency band, and the P1 is a positive integer not greater than the P.
作为一个实施例,所述M1个参考信号和所述M2个参考信号的发送功率相同,所述第一功率配置信息被用于确定所述M1个参考信号和所述M2个参考信号的发送功率。As an embodiment, the transmit powers of the M1 reference signals and the M2 reference signals are the same, and the first power configuration information is used to determine the transmit power of the M1 reference signals and the M2 reference signals .
作为一个实施例,上述基站设备的特征在于,所述M1个参考信号中的至少一个参考信号所占用的空口资源被用于从所述第一子频带上的M个多载波符号中确定所述M1个多载波符号。As an embodiment, the above-mentioned base station device is characterized in that the air interface resources occupied by at least one of the M1 reference signals are used to determine the M1 multicarrier symbols.
作为一个实施例,所述第二发射机模块1301还发送第三信息;其中,所述第一信息被用于确定所述M1个参考信号和所述M2个参考信号的假定发送顺序,所述第三信息被用于确定所述M1个参考信号和所述M2个参考信号的发送顺序与所述假定发送顺序是否一致。As an embodiment, the
作为一个实施例,所述第二接收机模块1302还在第一时频资源中接收第一无线信号;其中,所述第二信息还包括所述第一无线信号的配置信息,所述第二功率配置信息被用于确定所述第一无线信号的发送功率,所述第一无线信号不包括所述M2个参考信号中的任一参考信号,所述第一无线信号所占用的时频资源包括所述第一时频资源中属于所述第一子频带上的P1个多载波符号且不属于所述M2个多载波符号的至少一个多载波符号。As an embodiment, the
作为一个实施例,所述第二发射机模块1301还发送第四信息;其中,所述第四信息被用于确定所述第一时频资源中属于所述第一子频带上的所述P1个多载波符号且不属于所述M2个多载波符号的至少一个多载波符号被所述第一无线信号占用。As an embodiment, the
作为一个实施例,所述第二发射机模块1301还发送第五信息;其中,所述第五信息被用于确定F个天线端口集合,所述F是正整数,所述F个天线端口集合中的任一天线端口集合包括正整数个天线端口组,一个天线端口组包括正整数个天线端口;所述M1个参考信号和所述M2个参考信号中的任一参考信号的发送天线端口组都属于所述F个天线端口集合中的同一个天线端口集合。As an embodiment, the
本领域普通技术人员可以理解上述方法中的全部或部分步骤可以通过程序来指令相关硬件完成,所述程序可以存储于计算机可读存储介质中,如只读存储器,硬盘或者光盘等。可选的,上述实施例的全部或部分步骤也可以使用一个或者多个集成电路来实现。相应的,上述实施例中的各模块单元,可以采用硬件形式实现,也可以由软件功能模块的形式实现,本申请不限于任何特定形式的软件和硬件的结合。本申请中的UE或者终端包括但不限于手机,平板电脑,笔记本,上网卡,低功耗设备,eMTC设备,NB-IoT设备,车载通信设备等无线通信设备。本申请中的基站或者网络侧设备包括但不限于宏蜂窝基站,微蜂窝基站,家庭基站,中继基站,eNB,gNB,传输接收节点TRP等无线通信设备。Those skilled in the art can understand that all or part of the steps in the above method can be completed by instructing related hardware through a program, and the program can be stored in a computer-readable storage medium, such as a read-only memory, a hard disk or an optical disk. Optionally, all or part of the steps in the foregoing embodiments may also be implemented using one or more integrated circuits. Correspondingly, each module unit in the above-mentioned embodiments may be implemented in the form of hardware, or may be implemented in the form of software function modules, and the present application is not limited to any specific combination of software and hardware. The UE or terminal in this application includes but is not limited to wireless communication devices such as mobile phones, tablet computers, notebooks, network cards, low-power devices, eMTC devices, NB-IoT devices, and vehicle-mounted communication devices. The base station or network side equipment in this application includes but not limited to macrocell base station, microcell base station, home base station, relay base station, eNB, gNB, transmission and receiving node TRP and other wireless communication equipment.
以上所述,仅为本申请的较佳实施例而已,并非用于限定本申请的保护范围。凡在本申请的精神和原则之内,所做的任何修改,等同替换,改进等,均应包含在本申请的保护范围之内。The above descriptions are only preferred embodiments of the present application, and are not intended to limit the protection scope of the present application. Any modifications, equivalent replacements, improvements, etc. made within the spirit and principles of this application shall be included within the protection scope of this application.
| Application Number | Priority Date | Filing Date | Title | 
|---|---|---|---|
| PCT/CN2017/118612WO2019127012A1 (en) | 2017-12-26 | 2017-12-26 | Method and apparatus used in user equipment and base station for wireless communication | 
| Publication Number | Publication Date | 
|---|---|
| CN111133813A CN111133813A (en) | 2020-05-08 | 
| CN111133813Btrue CN111133813B (en) | 2022-12-27 | 
| Application Number | Title | Priority Date | Filing Date | 
|---|---|---|---|
| CN201780094864.6AActiveCN111133813B (en) | 2017-12-26 | 2017-12-26 | Method and device used in user equipment and base station for wireless communication | 
| Country | Link | 
|---|---|
| CN (1) | CN111133813B (en) | 
| WO (1) | WO2019127012A1 (en) | 
| Publication number | Priority date | Publication date | Assignee | Title | 
|---|---|---|---|---|
| CN115664607A (en)* | 2020-02-08 | 2023-01-31 | 上海朗帛通信技术有限公司 | Method and apparatus in a node used for wireless communication | 
| CN117081896A (en)* | 2022-05-09 | 2023-11-17 | 中兴通讯股份有限公司 | Communication method, apparatus, and storage medium | 
| CN120282250A (en)* | 2023-12-29 | 2025-07-08 | 上海朗帛通信技术有限公司 | Method and apparatus in a node for wireless communication | 
| Publication number | Priority date | Publication date | Assignee | Title | 
|---|---|---|---|---|
| CN1972266A (en)* | 2005-11-23 | 2007-05-30 | 西门子(中国)有限公司 | Subcarrier allocation method in multicarrier wireless communication system | 
| CN101547518A (en)* | 2008-03-25 | 2009-09-30 | 三星电子株式会社 | Equipment and method for allocating distributed channel | 
| CN107466112B (en)* | 2016-06-03 | 2022-08-12 | 北京三星通信技术研究有限公司 | Uplink data transmission method, random access method and corresponding terminal and base station | 
| Publication number | Publication date | 
|---|---|
| WO2019127012A1 (en) | 2019-07-04 | 
| CN111133813A (en) | 2020-05-08 | 
| Publication | Publication Date | Title | 
|---|---|---|
| CN111133824B (en) | Method and device used in user equipment and base station for wireless communication | |
| CN111279779B (en) | A method and apparatus in a user equipment, base station used for wireless communication | |
| CN114390573B (en) | User equipment, method and device in base station for wireless communication | |
| WO2019134656A1 (en) | Method and apparatus for use in user equipment and base station for wireless communication | |
| CN111818639B (en) | Method and device used in user equipment and base station for wireless communication | |
| CN110120860A (en) | A kind of user equipment that be used to wirelessly communicate, the method and apparatus in base station | |
| CN110391826A (en) | Method and device used in user equipment and base station for wireless communication | |
| CN110248368B (en) | Method and device in user equipment, base station for wireless communication | |
| CN111133813B (en) | Method and device used in user equipment and base station for wireless communication | |
| WO2019184710A1 (en) | Method and device used in user equipment and base station for wireless communication | |
| CN111345054B (en) | Method and device used in user equipment and base station for wireless communication | |
| CN110582118B (en) | Method and device used in user equipment and base station for wireless communication | |
| WO2020134910A1 (en) | Method and apparatus used in user equipment and base station for wireless communication | |
| CN111512689B (en) | Method and device used in user equipment and base station for wireless communication | |
| CN111264074B (en) | Method and device used in user equipment and base station for wireless communication | |
| WO2019218134A1 (en) | Method and apparatus used in user equipment of wireless communication and base station | |
| CN111512690B (en) | Method and device used in user equipment and base station for wireless communication | |
| CN111543074B (en) | Method and device used in user equipment and base station for wireless communication | |
| WO2019213852A1 (en) | Method and device for user equipment and base station used for wireless communication | |
| CN113133124B (en) | Method and device used in node of wireless communication | |
| CN110098902A (en) | Method and device used in user equipment and base station for wireless communication | |
| CN109842438B (en) | Method and device used in user equipment and base station for wireless communication | |
| CN111108797B (en) | Method and device used in user equipment and base station for wireless communication | 
| Date | Code | Title | Description | 
|---|---|---|---|
| PB01 | Publication | ||
| PB01 | Publication | ||
| SE01 | Entry into force of request for substantive examination | ||
| SE01 | Entry into force of request for substantive examination | ||
| GR01 | Patent grant | ||
| GR01 | Patent grant | ||
| TR01 | Transfer of patent right | ||
| TR01 | Transfer of patent right | Effective date of registration:20230629 Address after:Room A2117, Building B, 555 Dongchuan Road, Minhang District, Shanghai, 200240 Patentee after:SHANGHAI LANGBO COMMUNICATION TECHNOLOGY Co.,Ltd. Address before:226300 266 Century Avenue, Nantong hi tech Zone, Nantong, Jiangsu Patentee before:NANTONG LANGHENG COMMUNICATION TECHNOLOGY Co.,Ltd. |