Movatterモバイル変換


[0]ホーム

URL:


CN111081288A - Small-size database storage cabinet that can promptly maintain - Google Patents

Small-size database storage cabinet that can promptly maintain
Download PDF

Info

Publication number
CN111081288A
CN111081288ACN202010080864.4ACN202010080864ACN111081288ACN 111081288 ACN111081288 ACN 111081288ACN 202010080864 ACN202010080864 ACN 202010080864ACN 111081288 ACN111081288 ACN 111081288A
Authority
CN
China
Prior art keywords
cavity
fixed
heat dissipation
worm
wall
Prior art date
Legal status (The legal status is an assumption and is not a legal conclusion. Google has not performed a legal analysis and makes no representation as to the accuracy of the status listed.)
Granted
Application number
CN202010080864.4A
Other languages
Chinese (zh)
Other versions
CN111081288B (en
Inventor
不公告发明人
Current Assignee (The listed assignees may be inaccurate. Google has not performed a legal analysis and makes no representation or warranty as to the accuracy of the list.)
Qingdao Juju Shaohua Intelligent Technology Co ltd
Original Assignee
Binzhou Fangxin Computer Co Ltd
Priority date (The priority date is an assumption and is not a legal conclusion. Google has not performed a legal analysis and makes no representation as to the accuracy of the date listed.)
Filing date
Publication date
Application filed by Binzhou Fangxin Computer Co LtdfiledCriticalBinzhou Fangxin Computer Co Ltd
Priority to CN202010080864.4ApriorityCriticalpatent/CN111081288B/en
Publication of CN111081288ApublicationCriticalpatent/CN111081288A/en
Application grantedgrantedCritical
Publication of CN111081288BpublicationCriticalpatent/CN111081288B/en
Activelegal-statusCriticalCurrent
Anticipated expirationlegal-statusCritical

Links

Images

Classifications

Landscapes

Abstract

Translated fromChinese

本发明公开了一种可紧急维护的小型数据库储存柜,包括柜体,所述柜体内开设有储存腔,所述储存腔的底壁上转动设有两个左右对称的竖轴,两个所述竖轴的外周上均固设有三组放置盘,所述放置盘内均设有开口向上的放置腔,所述放置腔内可存放并安装数据硬盘,六组所述放置盘上下交叉排列,本发明可通过爆炸型展开柜体三侧封闭门的方式来把储存盒转动至外界散热,极大的增加了散热空间,并且还能控制散热风扇由吸热向上吹风变换成倾斜向外吹风,有效加强的散热效果,极大的增加了数据硬盘的使用寿命,保护数据硬盘不会因为储存柜内温度过高导致损坏。

Figure 202010080864

The invention discloses a small database storage cabinet capable of emergency maintenance, comprising a cabinet body, a storage cavity is opened in the cabinet, and two left-right symmetrical vertical shafts are rotated on the bottom wall of the storage cavity. Three sets of placement trays are fixed on the outer circumference of the vertical shaft. The placement trays are all provided with placement cavities with upward openings. The placement cavities can store and install data hard disks. The invention can rotate the storage box to the outside to dissipate heat by exploding the three-side closed doors of the cabinet, greatly increasing the heat dissipation space, and can also control the cooling fan to change from absorbing heat to blowing upwards to blowing obliquely outwards. The effectively enhanced heat dissipation effect greatly increases the service life of the data hard disk and protects the data hard disk from damage due to excessive temperature in the storage cabinet.

Figure 202010080864

Description

Small-size database storage cabinet that can promptly maintain
Technical Field
The invention relates to the technical field of databases, in particular to a small database storage cabinet capable of being maintained emergently.
Background
At present, along with the continuous improvement of technological level, more and more thing and thing meeting and data take the relation in the life, big data era, because the continuous increase of data volume, then especially important to data storage's security, still there are a lot of now because the cabinet heat dissipation is unqualified is stored to the database, the data hard disk that leads to storing inside damages, and then lead to a large amount of database data to lose, if these data importance levels are very high, then the loss is very big, the cabinet is stored to database on general market all dispels the heat at cabinet internal portion, to this kind of narrow and small space of the cabinet body, no matter dispel the heat has much, still there is the risk of intensification.
Disclosure of Invention
The object of the present invention is to provide a small database storage cabinet which can be maintained urgently, so as to overcome the above-mentioned defects in the prior art.
According to the embodiment of the invention, the small-sized database storage cabinet capable of emergency maintenance comprises a cabinet body, wherein a storage cavity is formed in the cabinet body, two bilaterally symmetrical vertical shafts are rotatably arranged on the bottom wall of the storage cavity, three groups of placing discs are fixedly arranged on the peripheries of the two vertical shafts, placing cavities with upward openings are respectively formed in the placing discs, data hard disks can be stored and installed in the placing cavities, the six groups of placing discs are arranged in a vertically crossed manner, first closing doors capable of closing the storage cavity are rotatably arranged on the left side and the right side of the storage cavity, a second closing door capable of closing the storage cavity is rotatably arranged on the front side of the storage cavity, an unfolding mechanism capable of controlling the first closing doors to be opened towards the left side and the right side and controlling the placing discs to rotate to the outside is arranged in the storage cavity, a heat dissipation cavity is communicated with the upper side of the storage cavity, and a heat dissipation mechanism capable of dissipating heat upwards on the data hard disks in the storage cavity is arranged in the heat dissipation cavity, store the rear side in chamber and open and be equipped with the power chamber, the power intracavity is equipped with steerable the vertical axis rotates, and is steerable simultaneously expansion mechanism operation, and can control heat dissipation mechanism leans out and outside power unit of blowing, the front side in heat dissipation chamber is opened and is equipped with the slave chamber, the slave chamber with heat dissipation chamber intercommunication, the right wall of slave chamber is gone up the gliding and is equipped with the rack, be equipped with in the slave chamber and work as during the power unit operation, can by the vertical axis drives rack rebound controls the second seals the door and is in the mechanism of opening that can open the state.
According to the technical scheme, a signal contact is fixedly arranged on the rear wall of the placing cavity and electrically connected with an external processor, and a heat sensor is fixedly arranged on the inner wall of the placing cavity.
According to the technical scheme, the unfolding mechanism comprises two rotating shafts which are rotatably arranged on the rear wall of the storage cavity and are bilaterally symmetrical, the first sealing door is fixedly arranged on the periphery of the rotating shafts, two bilaterally symmetrical gear cavities are formed in the lower side of the storage cavity, the downward extending part of the vertical shaft extends into the gear cavities, first bevel gears are fixedly arranged on the bottom surfaces of the vertical shaft and the gear cavities, transmission shafts are rotatably arranged on the rear wall of the gear cavities, second bevel gears are fixedly arranged on the peripheries of the transmission shafts and are meshed with the first bevel gears, and first anti-collision blocks are fixedly arranged on the first sealing door close to the outer side surface.
According to a further technical scheme, the heat dissipation mechanism comprises two left and right separation nets, two bilaterally symmetrical heat dissipation openings are communicated and arranged at the upper sides of the heat dissipation cavities, the separation nets are fixedly arranged in the heat dissipation openings, the heat dissipation openings are communicated with the outside, fixed columns are fixedly arranged on the top walls of the heat dissipation cavities, fixed blocks are fixedly arranged on the bottom surfaces of the fixed columns, two bilaterally symmetrical sliding cavities are formed in the fixed blocks, hinge blocks are arranged on the inner walls of the sliding cavities in a left-right sliding mode, screw sleeves are vertically and slidably arranged on the left and right walls of the heat dissipation cavities, screw rods are fixedly arranged on the top surfaces of the vertical shafts, upward extending portions of the screw rods extend into the heat dissipation cavities and are in threaded connection with the screw sleeves, a ring body is hinged between the screw sleeves and the hinge blocks on the same side, two bilaterally symmetrical support rods are fixedly arranged on the inner ring wall of the ring body, and a, and two fan blades which are symmetrical left and right are arranged on the lower side of the fan motor in a power connection mode.
A further technical scheme is that the power mechanism comprises a power motor fixedly arranged on the rear wall of the power cavity, a controller is fixedly arranged on the top wall of the power cavity and electrically connected with the power motor, the controller is electrically connected with the heat sensor, the controller is electrically connected with the fan motor through a signal layer, when the heat sensor detects that the temperature of the data hard disk is too high, the controller can control the power motor to run and control the fan motor to rotate reversely, the left side surface and the right side surface of the power motor are both provided with a first worm in a power connection mode, the other side surface of the first worm is connected with the inner wall of the power cavity in a rotating mode, the left wall and the right wall of the power cavity are both provided with a second worm in a rotating mode, the second worms are fixedly connected with each other, the first worm threads are opposite, and the second worm threads are opposite, the rotation axis with the transmission shaft all stretches into the power intracavity, and all set firmly the worm wheel on its periphery, be located the upside the worm wheel with first worm meshing is located the downside the worm wheel with the second worm meshing is located the right side first worm with all set firmly the band pulley on the periphery of second worm, two the transmission is connected between the band pulley and is equipped with the belt.
The technical scheme is that the door opening mechanism comprises an insertion block fixedly arranged on the side face, close to the storage cavity, of the second closed door, a limiting groove with a rightward opening is formed in the insertion block, a second anti-collision block is fixedly arranged on the side face, close to the outside, of the second closed door, a rotating cavity is formed in the lower side of the storage cavity in a communicated mode, a cross shaft is arranged between the left wall and the right wall of the rotating cavity in a rotating mode, the second closed door is fixedly arranged on the periphery of the cross shaft, a limiting cavity is formed in the left side of the driven cavity in a communicated mode, a limiting cavity is formed in the left side of the elastic cavity in a communicated mode, the insertion block can be inserted into the limiting cavity, a sliding block is arranged on the inner wall of the elastic cavity in a sliding mode in a left-right sliding mode, a, the right flank fixed connection of sliding block is equipped with the stay cord.
According to the technical scheme, the backward extending part of the rack extends into the heat dissipation cavity and is fixedly connected with the threaded sleeve positioned on the right side, a short shaft is arranged on the rear wall of the driven cavity in a rotating mode, a third bevel gear is fixedly arranged on the periphery of the short shaft and meshed with the rack, a line shaft is rotatably arranged on the bottom wall of the driven cavity, a fourth bevel gear is fixedly arranged on the top surface of the line shaft and meshed with the third bevel gear, a line wheel is fixedly arranged on the periphery of the line shaft, and the rightward extending part of the pull rope extends into the driven cavity and is connected with the line wheel in a winding mode.
The invention has the beneficial effects that: the invention can rotate the storage box to the outside for heat dissipation by an explosion type unfolding cabinet three-side closed door mode, greatly increases the heat dissipation space, and can also control the heat dissipation fan to change from heat absorption upward blowing to inclined outward blowing, effectively enhances the heat dissipation effect, greatly prolongs the service life of the data hard disk, protects the data hard disk from being damaged due to overhigh temperature in the storage cabinet, and has high transmission performance in the device, wherein the unfolding mechanism can enable the closed doors at the left side and the right side to be unfolded to the outside, and controls the vertical shaft to drive the placing disc to rotate to the outside, the heat dissipation mechanism can change from heat absorption upward blowing to inclined outward blowing, the power mechanism can control the unfolding mechanism and the heat dissipation mechanism to operate, and the door opening mechanism can control the front side to be in an open state.
Drawings
FIG. 1 is a schematic view of the overall internal structure of the present invention;
FIG. 2 is a schematic view of the interior of the slave chamber and a second closure door of the present invention;
FIG. 3 is a schematic view of the internal structure of the power chamber of the present invention;
FIG. 4 is a top view of the tray of the present invention;
FIG. 5 is a schematic view of the fit between the fixed block and the hinge block of the present invention;
FIG. 6 is an enlarged view of the internal structure of the insert block of the present invention;
FIG. 7 is an enlarged schematic view of the internal structure of the confinement and spring chambers of the present invention;
fig. 8 is a diagram of the operating state of the present invention.
Detailed Description
The invention will now be described in detail with reference to fig. 1-8, for the sake of convenience, the orientations described hereinafter being defined as follows: the up, down, left, right, and front-back directions described below correspond to the up, down, left, right, and front-back directions in the projection relationship of fig. 1 itself.
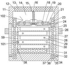
Referring to fig. 1 to 8, a small database storage cabinet capable of emergency maintenance according to an embodiment of the present invention includes acabinet body 11, astorage cavity 38 is formed in thecabinet body 11, twovertical shafts 27 that are bilaterally symmetric are rotatably formed on a bottom wall of thestorage cavity 38, three sets of placingtrays 59 are fixedly disposed on peripheries of the twovertical shafts 27, placingtrays 30 with upward openings are disposed in the placingtrays 59, datahard disks 31 can be stored and mounted in the placingtrays 30, six sets of placingtrays 59 are arranged in a vertical crossing manner,first closing doors 25 capable of closing thestorage cavity 38 are rotatably disposed on left and right sides of thestorage cavity 38,second closing doors 48 capable of closing thestorage cavity 38 are rotatably disposed on front sides of thestorage cavity 38, anunfolding mechanism 101 capable of controlling thefirst closing doors 25 to be opened to left and right sides and controlling the placingtrays 59 to rotate to the outside is disposed in thestorage cavity 38, store the upside intercommunication ofchamber 38 and be equipped withheat dissipation chamber 14, it can be right to be equipped with in theheat dissipation chamber 14 store in thechamber 38 datahard disk 31 carries out the radiatingheat dissipation mechanism 102 that makes progress, the rear side ofstoring chamber 38 is opened and is equipped withpower chamber 52, be equipped with in thepower chamber 52 steerablevertical shaft 27 rotates, and is steerable simultaneouslydeployment mechanism 101 operates, and can controlheat dissipation mechanism 102 leans out and outside thepower unit 103 of blowing, the front side ofheat dissipation chamber 14 is opened and is equipped with drivenchamber 39, drivenchamber 39 withheat dissipation chamber 14 intercommunication, the right wall of drivenchamber 39 is gone up and down to slide and is equipped withrack 43, be equipped with in the drivenchamber 39 and work as during the operation ofpower unit 103, can byvertical shaft 27 drivesrack 43 rebound controls the second sealsdoor opening mechanism 104 thatdoor 48 is in openable state.
In addition, in one embodiment, asignal contact 29 is fixedly arranged on the rear wall of theplacing cavity 30, thesignal contact 29 is electrically connected with an external processor, and aheat sensor 28 is fixedly arranged on the inner wall of theplacing cavity 30, so that whether the temperature of the datahard disk 31 is too high can be detected through theheat sensor 28.
In addition, in one embodiment, theunfolding mechanism 101 includes tworotating shafts 32 which are rotatably disposed on the rear wall of thestorage cavity 38 and are bilaterally symmetrical, thefirst closing door 25 is fixedly disposed on the outer periphery of therotating shafts 32, two bilaterallysymmetrical gear cavities 37 are disposed on the lower side of thestorage cavity 38, the downward extending portion of thevertical shaft 27 extends into thegear cavities 37, afirst bevel gear 34 is fixedly disposed on the bottom surface of thevertical shaft 27, atransmission shaft 36 is rotatably disposed on the rear wall of thegear cavities 37, asecond bevel gear 35 is fixedly disposed on the outer periphery of thetransmission shaft 36, thesecond bevel gear 35 is engaged with thefirst bevel gear 34, a firstanti-collision block 26 is fixedly disposed on the outer side surface of thefirst closing door 25, and the two rotatingshafts 36 and the two rotatingshafts 32 rotate in opposite directions at the same time, so that thefirst closing door 25 can be opened to both sides, and the twovertical shafts 27 can rotate in opposite directions, further, the placingtray 59 can be rotated to the outside, so that the placingtray 59 can achieve the effect of radiating heat from the outside.
In addition, in one embodiment, theheat dissipation mechanism 102 includes two left andright separation nets 13, two left and right symmetricheat dissipation openings 12 are provided on the upper side of theheat dissipation cavity 14 in communication, theseparation nets 13 are fixedly disposed in theheat dissipation openings 12, theheat dissipation openings 12 are communicated with the outside, afixing column 15 is fixedly disposed on the top wall of theheat dissipation cavity 14, afixing block 62 is fixedly disposed on the bottom surface of thefixing column 15, two left and right symmetricsliding cavities 63 are disposed in thefixing block 62,hinge blocks 61 are slidably disposed on the inner walls of the slidingcavities 63 in the left and right directions,screw sleeves 21 are slidably disposed on the left and right walls of theheat dissipation cavity 14 in the up and down direction, ascrew rod 23 is fixedly disposed on the top surface of thevertical shaft 27, an upward extending portion of thescrew rod 23 extends into theheat dissipation cavity 14 and is in threaded connection with thescrew sleeves 21, acircular ring body 20 is hinged between thescrew sleeves 21, two bilaterallysymmetrical support rods 19 are fixedly arranged on the inner ring wall of thering body 20, afan motor 18 is fixedly arranged between the twosupport rods 19, two bilaterallysymmetrical fan blades 24 are dynamically connected to the lower side of thefan motor 18, thefan blades 24 can blow air to the outside through the forward rotation of thefan motor 18, then the heat in thestorage cavity 38 can be conveyed to the outside through theisolation net 13, thescrew 23 can drive the threadedsleeve 21 to move upwards through the rotation of thevertical shaft 27, and thefan motor 18 and thefan blades 24 can be electrically driven by thering body 20 to incline to the outside.
In addition, in one embodiment, thepower mechanism 103 includes apower motor 58 fixed on the rear wall of thepower cavity 52, acontroller 51 is fixed on the top wall of thepower cavity 52, thecontroller 51 is electrically connected to thepower motor 58, thecontroller 51 is electrically connected to thethermal sensor 28, thecontroller 51 is electrically connected to thefan motor 18 through asignal layer 16, when thethermal sensor 28 detects that the temperature of the datahard disk 31 is too high, thecontroller 51 can control thepower motor 58 to operate and control thefan motor 18 to rotate reversely, the left and right side surfaces of thepower motor 58 are both provided with afirst worm 53 in a power connection manner, the other side surface of thefirst worm 53 is rotatably connected to the inner wall of thepower cavity 52, the left and right walls of thepower cavity 52 are both provided with asecond worm 55 in a rotation manner, and the twosecond worms 55 are fixedly connected to each other, the threads of the twofirst worms 53 are opposite, the threads of the twosecond worms 55 are opposite, the backward extending parts of therotating shaft 32 and thetransmission shaft 36 both extend into thepower cavity 52, the peripheries of the rotating shaft and the transmission shaft are fixedly provided withworm wheels 54, theworm wheel 54 positioned at the upper side is meshed with thefirst worm 53, theworm wheel 54 positioned at the lower side is meshed with thesecond worm 55, the peripheries of thefirst worm 53 and thesecond worm 55 positioned at the right side are fixedly provided withbelt wheels 56, abelt 57 is connected between the twobelt wheels 56 in a transmission manner, thefirst worm 53 and thesecond worm 55 can simultaneously rotate through the operation of thepower motor 58, so that the rotatingshaft 32 and thetransmission shaft 36 can simultaneously rotate, when the temperature of the datahard disk 31 is detected by theheat sensor 28 to be overhigh, thecontroller 51 controls thepower motor 58 to operate, and thefan motor 18 controls thefan blades 24 to reversely blow air to the outside.
In addition, in one embodiment, thedoor opening mechanism 104 includes aninsertion block 64 fixedly installed on thesecond closing door 48 near the side of thestorage cavity 38, arestriction groove 65 with a rightward opening is installed in theinsertion block 64, a secondanti-collision block 47 is fixedly installed on the side of thesecond closing door 48 near the outside, arotation cavity 50 is communicated with the lower side of thestorage cavity 38, ahorizontal shaft 49 is rotatably installed between the left and right walls of therotation cavity 50, thesecond closing door 48 is fixedly installed on the outer circumference of thehorizontal shaft 49, arestriction cavity 66 is communicated with the left side of the drivencavity 39, theelastic cavity 68, arestriction cavity 66 is communicated with the left side of theelastic cavity 68, theinsertion block 64 can be inserted into therestriction cavity 66, asliding block 69 is slidably installed on the inner wall of theelastic cavity 68 from left to right, arestriction pin 67 is fixedly installed on the left side surface of thesliding block 69, and therestriction pin 67 can be inserted into therestriction groove 65, aspring 70 is fixedly installed between the right side surface of the slidingblock 69 and the right wall of theelastic cavity 68, apull rope 46 is fixedly connected to the right side surface of thesliding block 69, when thesecond closing door 48 is manually rotated upwards and theinsertion block 64 is inserted into the limitingcavity 66, the limitingpin 67 can be inserted into thelimiting groove 65, so that thesecond closing door 48 can close thestorage cavity 38, and the limitingpin 67 can be separated from thelimiting groove 65 by the effect of pulling thepull rope 46 to the right, so that thesecond closing door 48 can be in an open state.
In addition, in one embodiment, a rearward extension portion of therack 43 extends into theheat dissipation chamber 14 and is fixedly connected with thescrew sleeve 21 located at the right side, ashort shaft 41 is rotatably provided on the rear wall of the drivenchamber 39, athird bevel gear 40 is fixedly provided on the outer periphery of theshort shaft 41, thethird bevel gear 40 is engaged with therack 43, areel shaft 44 is rotatably provided on the bottom wall of the drivenchamber 39, afourth bevel gear 42 is fixedly provided on the top surface of thereel shaft 44, thefourth bevel gear 42 is engaged with thethird bevel gear 40, apulley 45 is fixedly provided on the outer periphery of thereel shaft 44, a rightward extension portion of thepull rope 46 extends into the drivenchamber 39 and is wound and connected with thepulley 45, when thevertical shaft 27 rotates, thescrew sleeve 21 can drive therack 43 to move upward, so that theshort shaft 41 can drive thereel shaft 44 to rotate, and thepulley 45 can be caused to pull thepull rope 46.
In the initial state, theplacing plate 59 is located in thestorage cavity 38, thefirst closing door 25 and thesecond closing door 48 are in the state of closing thestorage cavity 38, thecircular ring body 20 is in the horizontal state, thefan blade 24 is in the upward blowing state, and thescrew sleeve 21 and therack 43 are located at the bottom side.
When the datahard disk 31 is used, whether the temperature of the datahard disk 31 is overhigh can be detected through theheat sensor 28, thefirst closing door 25 can be opened towards two sides through the simultaneous opposite rotation of the twotransmission shafts 36 and the two rotatingshafts 32, the twovertical shafts 27 can be rotated towards each other, the placingdisk 59 can be rotated to the outside, the effect of heat dissipation at the outside can be achieved through the placingdisk 59, thefan blades 24 can be blown towards the outside through the forward rotation of thefan motor 18, then the heat in thestorage cavity 38 can be conveyed to the outside through theisolation net 13, thescrew 23 can drive thescrew sleeve 21 to move upwards through the rotation of thevertical shafts 27, theelectric fan motor 18 and thefan blades 24 of thering body 20 can be inclined towards the outside, thefirst worm 53 and thesecond worm 55 can be rotated simultaneously through the operation of thepower motor 58, so that the rotatingshafts 32 and thetransmission shafts 36 can be rotated simultaneously, when the temperature of the datahard disk 31 is overhigh is detected by theheat sensor 28, thecontroller 51 controls thepower motor 58 to operate, thefan motor 18 controls thefan blades 24 to reversely blow air to the outside, when thevertical shaft 27 rotates, thescrew sleeve 21 can drive therack 43 to move upwards, so that theshort shaft 41 can drive thereel shaft 44 to rotate, thereel 45 can drive thepull rope 46, when thesecond closing door 48 is manually rotated upwards and theinsertion block 64 is inserted into the limitingcavity 66, the limitingpin 67 can be inserted into thelimiting groove 65, thesecond closing door 48 can close thestorage cavity 38, the limitingpin 67 can be separated from thelimiting groove 65 through the effect of pulling thepull rope 46 rightwards, and thesecond closing door 48 can be in an open state.
The invention has the beneficial effects that: the invention can rotate the storage box to the outside for heat dissipation by an explosion type unfolding cabinet three-side closed door mode, greatly increases the heat dissipation space, and can also control the heat dissipation fan to change from heat absorption upward blowing to inclined outward blowing, effectively enhances the heat dissipation effect, greatly prolongs the service life of the data hard disk, protects the data hard disk from being damaged due to overhigh temperature in the storage cabinet, and has high transmission performance in the device, wherein the unfolding mechanism can enable the closed doors at the left side and the right side to be unfolded to the outside, and controls the vertical shaft to drive the placing disc to rotate to the outside, the heat dissipation mechanism can change from heat absorption upward blowing to inclined outward blowing, the power mechanism can control the unfolding mechanism and the heat dissipation mechanism to operate, and the door opening mechanism can control the front side to be in an open state.
It will be apparent to those skilled in the art that various modifications may be made to the above embodiments without departing from the general spirit and concept of the invention. All falling within the scope of protection of the present invention. The protection scheme of the invention is subject to the appended claims.

Claims (7)

Translated fromChinese
1.一种可紧急维护的小型数据库储存柜,包括柜体,其特征在于:所述柜体内开设有储存腔,所述储存腔的底壁上转动设有两个左右对称的竖轴,两个所述竖轴的外周上均固设有三组放置盘,所述放置盘内均设有开口向上的放置腔,所述放置腔内可存放并安装数据硬盘,六组所述放置盘上下交叉排列,所述储存腔的左右两侧均转动设有可封闭所述储存腔的第一封闭门,所述储存腔的前侧转动设有可封闭所述储存腔的第二封闭门,所述储存腔内设有可控制所述第一封闭门向左右两侧打开,并控制所述放置盘转动至外界的展开机构,所述储存腔的上侧连通设有散热腔,所述散热腔内设有可对所述储存腔内的所述数据硬盘进行向上散热的散热机构;1. A small database storage cabinet that can be urgently maintained, comprising a cabinet, characterized in that: a storage cavity is opened in the cabinet, and two left-right symmetrical vertical shafts are rotated on the bottom wall of the storage cavity, and the two Three sets of placement trays are fixed on the outer circumference of each of the vertical shafts, and each of the placement trays is provided with a placement cavity with an upward opening. The placement cavity can store and install data hard disks. Six sets of the placement trays cross up and down. Arrangement, the left and right sides of the storage cavity are rotatably provided with a first closed door that can close the storage cavity, and the front side of the storage cavity is rotated with a second closed door that can close the storage cavity. The storage cavity is provided with an unfolding mechanism that can control the opening of the first closed door to the left and right sides, and control the rotation of the placing tray to the outside world. A heat dissipation mechanism capable of upward heat dissipation for the data hard disk in the storage cavity is provided;所述储存腔的后侧开设有动力腔,所述动力腔内设有可控制所述竖轴转动,同时可控制所述展开机构运转,且能控制所述散热机构向外倾斜并向外吹风的动力机构,所述散热腔的前侧开设有从动腔,所述从动腔与所述散热腔连通,所述从动腔的右壁上上下滑动设有齿条,所述从动腔内设有当所述动力机构运转时,可由所述竖轴带动所述齿条向上移动,来控制所述第二封闭门处于可打开状态的开门机构。The rear side of the storage chamber is provided with a power chamber, and the power chamber is provided with a power chamber that can control the rotation of the vertical shaft, control the operation of the unfolding mechanism, and control the heat dissipation mechanism to incline outward and blow air outward. A driven cavity is opened on the front side of the heat dissipation cavity, the driven cavity is communicated with the heat dissipation cavity, the right wall of the driven cavity is slid up and down with a rack, and the driven cavity When the power mechanism is running, the rack can be driven to move upward by the vertical shaft, so as to control the opening mechanism of the second closed door to be in an openable state.2.根据权利要求1所述的一种可紧急维护的小型数据库储存柜,其特征在于:所述放置腔的后壁上固设有信号触头,所述信号触头与外界处理器电性连接,所述放置腔的内壁上固设有感热器。2 . The small database storage cabinet capable of emergency maintenance according to claim 1 , wherein a signal contact is fixed on the rear wall of the placement cavity, and the signal contact is electrically connected to an external processor. 3 . connected, a heat sensor is fixed on the inner wall of the placement cavity.3.根据权利要求2所述的一种可紧急维护的小型数据库储存柜,其特征在于:所述展开机构包括两个转动设在所述储存腔后壁上且左右对称的旋转轴,所述第一封闭门固设在所述旋转轴的外周上,所述储存腔的下侧开设有两个左右对称的齿轮腔,所述竖轴向下延伸部分伸入所述齿轮腔内,且其底面固设有第一锥齿轮,所述齿轮腔的后壁上转动设有传动轴,所述传动轴的外周上固设有第二锥齿轮,所述第二锥齿轮与所述第一锥齿轮啮合,所述第一封闭门靠近外侧面固设有第一防撞块。3 . The small database storage cabinet capable of emergency maintenance according to claim 2 , wherein the unfolding mechanism comprises two rotating shafts that are rotatably arranged on the rear wall of the storage cavity and are symmetrical to each other. 4 . The first closing door is fixed on the outer circumference of the rotating shaft, two left-right symmetrical gear cavities are opened on the lower side of the storage cavity, and the downward extending part of the vertical shaft extends into the gear cavity, and its A first bevel gear is fixed on the bottom surface, a transmission shaft is rotated on the rear wall of the gear cavity, a second bevel gear is fixed on the outer circumference of the transmission shaft, and the second bevel gear is connected with the first bevel gear. The gears are engaged, and the first closing door is fixed with a first anti-collision block close to the outer side.4.根据权利要求3所述的一种可紧急维护的小型数据库储存柜,其特征在于:所述散热机构包括两个左右的隔离网,所述散热腔的上侧连通设有两个左右对称的散热口,所述隔离网固设在所述散热口内,所述散热口与外界连通,所述散热腔的顶壁上固设有固定柱,所述固定柱的底面固设有固定块,所述固定块内开设有两个左右对称的滑动腔,所述滑动腔的内壁上左右滑动设有铰接块,所述散热腔的左右壁上均上下滑动设有螺套,所述竖轴的顶面固设有螺杆,所述螺杆向上延伸部分伸入所述散热腔内,并与所述螺套螺纹连接,同侧的所述螺套和所述铰接块之间铰接设有圆环体,所述圆环体的内圈壁上固设有两个左右对称的支撑杆,两个所述支撑杆之间固设有风扇电机,所述风扇电机的下侧动力连接设有两个左右对称的风扇叶。4. A small database storage cabinet capable of emergency maintenance according to claim 3, characterized in that: the heat dissipation mechanism comprises two left and right isolation nets, and the upper side of the heat dissipation cavity is connected with two left and right symmetrical the heat dissipation port, the isolation net is fixed in the heat dissipation port, the heat dissipation port is communicated with the outside world, the top wall of the heat dissipation cavity is fixed with a fixed column, and the bottom surface of the fixed column is fixed with a fixed block, The fixed block is provided with two left-right symmetrical sliding cavities, the inner wall of the sliding cavity is provided with a hinge block to slide left and right, the left and right walls of the heat dissipation cavity are provided with screw sleeves that slide up and down, and the vertical shaft is provided with a screw sleeve. A screw rod is fixed on the top surface, and the upwardly extending part of the screw rod extends into the heat dissipation cavity and is threadedly connected with the screw sleeve, and a ring body is hinged between the screw sleeve and the hinge block on the same side , two left and right symmetrical support rods are fixed on the inner ring wall of the annular body, a fan motor is fixed between the two support rods, and the lower side of the fan motor is powered with two left and right support rods. Symmetrical fan blades.5.根据权利要求4所述的一种可紧急维护的小型数据库储存柜,其特征在于:所述动力机构包括固设在所述动力腔后壁上的动力电机,所述动力腔的顶壁上固设有控制器,所述控制器与所述动力电机电性连接,所述控制器与所述感热器电性连接,所述控制器与所述风扇电机之间通过信号层电性连接,当所述感热器检测到所述数据硬盘温度过高时,所述控制器可控制所述动力电机运转,同时可控制所述风扇电机反转,所述动力电机的左右两侧面均动力连接设有第一蜗杆,所述第一蜗杆的另一侧面与所述动力腔的内壁转动连接,所述动力腔的左右壁上均转动设有第二蜗杆,两个所述第二蜗杆相互固定连接,两个所述第一蜗杆螺纹相反,两个所述第二蜗杆螺纹相反,所述旋转轴和所述传动轴向后延伸部分均伸入所述动力腔内,且其外周上均固设有蜗轮,位于上侧所述蜗轮与所述第一蜗杆啮合,位于下侧所述蜗轮与所述第二蜗杆啮合,位于右侧所述第一蜗杆和所述第二蜗杆的外周上均固设有带轮,两个所述带轮之间传动连接设有皮带。5. A small database storage cabinet capable of emergency maintenance according to claim 4, wherein the power mechanism comprises a power motor fixed on the rear wall of the power chamber, and the top wall of the power chamber comprises a power motor. A controller is fixed on the top, the controller is electrically connected with the power motor, the controller is electrically connected with the heat sensor, and the controller and the fan motor are electrically connected through a signal layer connection, when the thermal sensor detects that the temperature of the data hard disk is too high, the controller can control the power motor to run, and can control the fan motor to reverse at the same time, the left and right sides of the power motor are The power connection is provided with a first worm, the other side of the first worm is rotatably connected with the inner wall of the power cavity, and the left and right walls of the power cavity are rotatably provided with a second worm, two of the second worms They are fixedly connected to each other, the two first worm screw threads are opposite, the two second worm screw threads are opposite, the rear extension parts of the rotating shaft and the transmission shaft both extend into the power chamber, and the outer circumference of the two Both are fixed with a worm wheel, the worm wheel on the upper side is engaged with the first worm, the worm wheel on the lower side is engaged with the second worm, and the outer circumference of the first worm and the second worm on the right Pulleys are fixed on both, and a belt is provided for driving connection between the two pulleys.6.根据权利要求5所述的一种可紧急维护的小型数据库储存柜,其特征在于:所述开门机构包括固设在所述第二封闭门靠近所述储存腔侧面的插块,所述插块内设有开口向右的限制槽,所述第二封闭门靠近外界侧面固设有第二防撞块,所述储存腔的下侧连通设有转动腔,所述转动腔的左右壁间转动设有横轴,所述第二封闭门固设在所述横轴的外周上,所述从动腔的左侧连通设有限制腔,所述弹性腔,所述弹性腔的左侧连通设有限制腔,所述插块可插入所述限制腔内,所述弹性腔的内壁上左右滑动设有滑动块,所述滑动块的左侧面固设有限制销,所述限制销可插入所述限制槽内,所述滑动块的右侧面与所述弹性腔右壁之间固定安装有弹簧,所述滑动块的右侧面固定连接设有拉绳。6. A small database storage cabinet with emergency maintenance according to claim 5, characterized in that: the door opening mechanism comprises an insert block fixed on the side of the second closed door close to the storage cavity, the The insert block is provided with a restricting groove opening to the right, a second anti-collision block is fixed on the side of the second closed door close to the outside, the lower side of the storage cavity is communicated with a rotating cavity, and the left and right walls of the rotating cavity are connected with each other. A horizontal shaft is provided for rotation between the two sides, the second closing door is fixed on the outer circumference of the horizontal shaft, the left side of the driven cavity is connected with a restricting cavity, the elastic cavity, the left side of the elastic cavity A restriction cavity is communicated with each other, the insert block can be inserted into the restriction cavity, a sliding block is arranged on the inner wall of the elastic cavity to slide left and right, and a restriction pin is fixed on the left side of the sliding block. It can be inserted into the restriction groove, a spring is fixedly installed between the right side of the sliding block and the right wall of the elastic cavity, and a pull rope is fixedly connected to the right side of the sliding block.7.根据权利要求6所述的一种可紧急维护的小型数据库储存柜,其特征在于:所述齿条向后延伸部分伸入所述散热腔内,并与位于右侧所述螺套固定连接,所述从动腔的后壁上转动设有短轴,所述短轴的外周上固设有第三锥齿轮,所述第三锥齿轮与所述齿条啮合,所述从动腔的底壁上转动设有线轮轴,所述线轮轴的顶面固设有第四锥齿轮,所述第四锥齿轮与所述第三锥齿轮啮合,所述线轮轴的外周上固设有线轮,所述拉绳向右延伸部分伸入所述从动腔内,并与所述线轮绕装连接。7 . The small database storage cabinet for emergency maintenance according to claim 6 , wherein the rearward extension of the rack extends into the heat dissipation cavity and is fixed with the screw sleeve on the right side. 8 . A short shaft is rotated on the rear wall of the driven cavity, a third bevel gear is fixed on the outer circumference of the short shaft, and the third bevel gear meshes with the rack, and the driven cavity There is a spool shaft on the bottom wall of the spool, a fourth bevel gear is fixed on the top surface of the spool shaft, the fourth bevel gear meshes with the third bevel gear, and a spool is fixed on the outer circumference of the spool shaft , the rightward extension part of the pulling rope extends into the driven cavity, and is wound and connected with the reel.
CN202010080864.4A2020-02-052020-02-05 A small database storage cabinet for emergency maintenanceActiveCN111081288B (en)

Priority Applications (1)

Application NumberPriority DateFiling DateTitle
CN202010080864.4ACN111081288B (en)2020-02-052020-02-05 A small database storage cabinet for emergency maintenance

Applications Claiming Priority (1)

Application NumberPriority DateFiling DateTitle
CN202010080864.4ACN111081288B (en)2020-02-052020-02-05 A small database storage cabinet for emergency maintenance

Publications (2)

Publication NumberPublication Date
CN111081288Atrue CN111081288A (en)2020-04-28
CN111081288B CN111081288B (en)2020-10-30

Family

ID=70324184

Family Applications (1)

Application NumberTitlePriority DateFiling Date
CN202010080864.4AActiveCN111081288B (en)2020-02-052020-02-05 A small database storage cabinet for emergency maintenance

Country Status (1)

CountryLink
CN (1)CN111081288B (en)

Cited By (3)

* Cited by examiner, † Cited by third party
Publication numberPriority datePublication dateAssigneeTitle
CN111712096A (en)*2020-07-062020-09-25永康串行电子有限公司Electric appliance cabinet convenient to installation is adjusted
CN111883187A (en)*2020-06-242020-11-03吴淑芳Storage device for farm intelligent agriculture big data and using method thereof
CN112203446A (en)*2020-09-112021-01-08王春宇Information security monitoring storage device with anti-theft function

Citations (4)

* Cited by examiner, † Cited by third party
Publication numberPriority datePublication dateAssigneeTitle
CN104869770A (en)*2015-05-212015-08-26北京无线电测量研究所Compact anti-seismic radar electronic device cabinet
CN207427675U (en)*2017-10-252018-05-29中山市华顺电器有限公司 An expandable heat dissipation electrical cabinet
CN208755524U (en)*2018-01-282019-04-19新昌县希克自动化设备有限公司It is a kind of can multi-faceted displaying VR glasses sale case
CN209948374U (en)*2019-06-052020-01-14天津辰星迎晖电气自动化工程有限公司Control cabinet based on air cooling technology

Patent Citations (4)

* Cited by examiner, † Cited by third party
Publication numberPriority datePublication dateAssigneeTitle
CN104869770A (en)*2015-05-212015-08-26北京无线电测量研究所Compact anti-seismic radar electronic device cabinet
CN207427675U (en)*2017-10-252018-05-29中山市华顺电器有限公司 An expandable heat dissipation electrical cabinet
CN208755524U (en)*2018-01-282019-04-19新昌县希克自动化设备有限公司It is a kind of can multi-faceted displaying VR glasses sale case
CN209948374U (en)*2019-06-052020-01-14天津辰星迎晖电气自动化工程有限公司Control cabinet based on air cooling technology

Cited By (4)

* Cited by examiner, † Cited by third party
Publication numberPriority datePublication dateAssigneeTitle
CN111883187A (en)*2020-06-242020-11-03吴淑芳Storage device for farm intelligent agriculture big data and using method thereof
CN111883187B (en)*2020-06-242021-09-10吴淑芳Storage device for farm intelligent agriculture big data and using method thereof
CN111712096A (en)*2020-07-062020-09-25永康串行电子有限公司Electric appliance cabinet convenient to installation is adjusted
CN112203446A (en)*2020-09-112021-01-08王春宇Information security monitoring storage device with anti-theft function

Also Published As

Publication numberPublication date
CN111081288B (en)2020-10-30

Similar Documents

PublicationPublication DateTitle
CN111081288A (en)Small-size database storage cabinet that can promptly maintain
CN109996402B (en) A multimedia device for smart home
CN109980830B (en)Damping device of motor
JP2020184288A (en)Mainframe
CN211182302U (en) A shock-absorbing and anti-collision new energy battery box
CN207232861U (en)A kind of computer host box of intelligence for heat dissipation
CN108958397A (en)A kind of computer equipment carrying out CFD numerical simulation
CN210924322U (en)Computer heat dissipation base convenient to adjust inclination
CN112527064A (en)Convenient computer machine case that removes and dispel heat soon
CN205946432U (en)Power conversion device
CN215898287U (en)Heat radiator for energy-conserving high-efficient electromechanical device
CN118367864B (en)Photovoltaic energy storage charging equipment
CN220648689U (en) A kind of medicine refrigerator
CN216852887U (en)Protective box for comprehensive wiring system
CN117896927A (en) A PLC automation control cabinet with heat dissipation guarantee
CN216087332U (en)Exhibition room light effect controlgear
CN210155580U (en)Dustproof operation machine case of touch all-in-one heat dissipation
CN212563939U (en) A hydraulic pump station that can efficiently cool down and dissipate heat
CN209730460U (en)A kind of power equipment case of good dustproof effect
CN115459080A (en) Vibration-isolated power distribution cabinet with sunshade structure
CN115581020A (en)Machine learning data storage module protector
CN114567146A (en)Frequency converter for integrated variable frequency motor with alarming and automatic heat dissipation mechanism
CN117651379B (en)Protection device for equipment cabinet equipment of data center machine room
CN104207659A (en)Built-in oven
CN221857045U (en) An air circulation device based on double fans

Legal Events

DateCodeTitleDescription
PB01Publication
PB01Publication
SE01Entry into force of request for substantive examination
SE01Entry into force of request for substantive examination
GR01Patent grant
GR01Patent grant
TA01Transfer of patent application right

Effective date of registration:20201014

Address after:362000 Third Floor of Wanshun Mansion, Front Village, Luocheng Town, Hui'an County, Quanzhou City, Fujian Province

Applicant after:QUANZHOU JINGJIANG ELECTRONIC TECHNOLOGY Co.,Ltd.

Address before:256600 North Ring Road, Wudi County, Binzhou City, Shandong Province, 27

Applicant before:Binzhou Fangxin Computer Co.,Ltd.

TA01Transfer of patent application right
PE01Entry into force of the registration of the contract for pledge of patent right
PE01Entry into force of the registration of the contract for pledge of patent right

Denomination of invention:A small database storage cabinet for emergency maintenance

Effective date of registration:20201216

Granted publication date:20201030

Pledgee:Quanzhou Shengyuan Trading Co.,Ltd.

Pledgor:QUANZHOU JINGJIANG ELECTRONIC TECHNOLOGY Co.,Ltd.

Registration number:Y2020980009418

PC01Cancellation of the registration of the contract for pledge of patent right
PC01Cancellation of the registration of the contract for pledge of patent right

Date of cancellation:20210630

Granted publication date:20201030

Pledgee:Quanzhou Shengyuan Trading Co.,Ltd.

Pledgor:QUANZHOU JINGJIANG ELECTRONIC TECHNOLOGY Co.,Ltd.

Registration number:Y2020980009418

TR01Transfer of patent right

Effective date of registration:20250818

Address after:266400Shandong ProvinceQingdao CityHuangdao DistrictXinghai Beach Road 111Room 501, Building 9, Qingdao International Virtual Reality Industrial Park

Patentee after:Qingdao Juju Shaohua Intelligent Technology Co.,Ltd.

Country or region after:China

Address before:362000 Third Floor of Wanshun Building, Front Village, Luocheng Town, Hui'an County, Quanzhou City, Fujian Province

Patentee before:QUANZHOU JINGJIANG ELECTRONIC TECHNOLOGY CO.,LTD.

Country or region before:China


[8]ページ先頭

©2009-2025 Movatter.jp