Movatterモバイル変換


[0]ホーム

URL:


CN111035547A - An abdominal massager for preventing constipation - Google Patents

An abdominal massager for preventing constipation
Download PDF

Info

Publication number
CN111035547A
CN111035547ACN201911181538.6ACN201911181538ACN111035547ACN 111035547 ACN111035547 ACN 111035547ACN 201911181538 ACN201911181538 ACN 201911181538ACN 111035547 ACN111035547 ACN 111035547A
Authority
CN
China
Prior art keywords
band
preventing constipation
abdominal
massage
massager
Prior art date
Legal status (The legal status is an assumption and is not a legal conclusion. Google has not performed a legal analysis and makes no representation as to the accuracy of the status listed.)
Granted
Application number
CN201911181538.6A
Other languages
Chinese (zh)
Other versions
CN111035547B (en
Inventor
顾玉炎
Current Assignee (The listed assignees may be inaccurate. Google has not performed a legal analysis and makes no representation or warranty as to the accuracy of the list.)
Zhejiang Cancer Hospital
Original Assignee
Zhejiang Cancer Hospital
Priority date (The priority date is an assumption and is not a legal conclusion. Google has not performed a legal analysis and makes no representation as to the accuracy of the date listed.)
Filing date
Publication date
Application filed by Zhejiang Cancer HospitalfiledCriticalZhejiang Cancer Hospital
Priority to CN201911181538.6ApriorityCriticalpatent/CN111035547B/en
Publication of CN111035547ApublicationCriticalpatent/CN111035547A/en
Application grantedgrantedCritical
Publication of CN111035547BpublicationCriticalpatent/CN111035547B/en
Expired - Fee Relatedlegal-statusCriticalCurrent
Anticipated expirationlegal-statusCritical

Links

Images

Classifications

Landscapes

Abstract

Translated fromChinese

本发明涉及腹部按摩设备技术领域,具体为一种预防便秘的腹部按摩器,包括固定带,所述固定带上设有按摩机构,所述固定带的两端通过针线缝合连接有弹力带,所述弹力带远离所述固定带的一端通过针线缝合连接有连接带,位于左侧的所述连接带的前侧面上紧密粘接有毛面魔术贴;该预防便秘的腹部按摩器通过设有的固定带、弹力带和连接带等,便于固定于患者腰部,同时设有的按摩机构,即气泵带动多个气囊依次鼓起,从而使患者的腹部受到向前的推动力,起到按摩的效果,该按摩可刺激肠蠕动,促进排便,改善肠道功能,起到一定程度的预防便秘的效果,解决了市场上缺少用于预防便秘的腹部按摩设备的问题。

Figure 201911181538

The invention relates to the technical field of abdominal massage equipment, in particular to an abdominal massager for preventing constipation. One end of the elastic band away from the fixing band is connected with a connecting band by needle thread stitching, and the front side of the connecting band on the left side is tightly adhered with a velcro; the abdominal massager for preventing constipation is provided with a Fixed belt, elastic belt and connecting belt, etc., are easy to be fixed on the patient's waist. At the same time, there is a massage mechanism, that is, the air pump drives multiple airbags to inflate in turn, so that the patient's abdomen is pushed forward and has the effect of massage. , The massage can stimulate peristalsis, promote defecation, improve intestinal function, play a certain degree of effect of preventing constipation, and solve the problem of lack of abdominal massage equipment for preventing constipation in the market.

Figure 201911181538

Description

Belly massager for preventing constipation
Technical Field
The invention relates to the technical field of abdomen massage equipment, in particular to an abdomen massager for preventing constipation.
Background
Chronic constipation can lead to the following diseases: 1. constipation can cause anorectal diseases, and when feces stay in the rectum for too long, the feces can be fermented excessively, and toxic substances ceaselessly stimulate the rectum, thereby often causing proctitis. The more excrement is accumulated in the rectum, the bigger and bigger excrement can be discharged, blood vessels near the anal canal can be extruded, even muscles at the anus are torn, and anal fissure, hemorrhoid and the like are caused. 2. Resulting in dysfunction of gastrointestinal nerves and prolonged fecal consumption, which can cause abdominal distention, inappetence, belching, bitter taste in mouth, and excessive anus exhaust. In addition, the gastrointestinal function is weakened, the food in the stomach and intestine can not be normally digested, and the food residue accumulated in the intestine can be accumulated into halitosis with hot smell. 3. Colitis results, frequent constipation often leads to ulcerative colitis, and ulceration, perforation or bleeding of the colon. 4. Causing high incidence of colon cancer, and the carcinogenic substances in the intestines can not be discharged for a long time, thereby causing the probability of suffering from the colon cancer to be obviously increased;
for the elderly and other patients with reduced gastrointestinal function, the abdomen massage device can effectively stimulate gastrointestinal peristalsis and improve defecation, while most of the existing abdomen massages are artificial massages and lack abdomen massage equipment for preventing constipation, and therefore, the abdomen massage device for preventing constipation is provided.
Disclosure of Invention
The present invention is directed to provide an abdominal massage apparatus for preventing constipation, which solves the problem of the lack of an abdominal massage apparatus for preventing constipation in the market proposed in the background art.
In order to achieve the purpose, the invention provides the following technical scheme:
an abdomen massager for preventing constipation comprises a fixing band, wherein a massage mechanism is arranged on the fixing band, two ends of the fixing band are connected with an elastic band through needle thread sewing, one end of the elastic band, far away from the fixing band, is connected with a connecting band through needle thread sewing, a hair surface magic tape is tightly bonded on the front side surface of the connecting band on the left side, and a thorn surface magic tape is tightly bonded on the rear side surface of the connecting band on the right side; massage mechanism include with the air pump that the leading flank of fixed band closely bonded, massage mechanism still include with a plurality of gasbags that the trailing flank of fixed band closely bonded, air pump and one of them be equipped with the trachea between the gasbag, two are adjacent be equipped with the connecting pipe between the gasbag, and two are adjacent the gasbag passes through the connecting pipe is linked together, the air pump passes through trachea and one of them the gasbag is linked together.
Preferably, the fixing strap and the connecting strap are both nylon straps.
Preferably, the connecting pipe is made of silica gel.
Preferably, the air tube, the air bag and the connecting tube are of an integrally formed structure.
Preferably, a plurality of the air bags are distributed along the rear side surface of the fixing belt in a curve shape.
Preferably, the width of the fixing band is 30 cm.
Compared with the prior art, the invention has the beneficial effects that: this belly massager of prevention constipation is through the fixed band that is equipped with, elastic webbing and connecting band etc, be convenient for be fixed in patient's waist, the massage mechanism who is equipped with simultaneously, the air pump drives a plurality of gasbags and swells in proper order promptly, thereby make patient's belly receive forward driving force, and then play the effect of massage, intestinal peristalsis can be amazing in this massage, promote defecation, improve the intestinal function, play the effect of the prevention constipation of certain degree, the problem that lacks the belly massage equipment that is used for the prevention constipation on the market has been solved.
Drawings
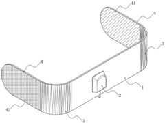
FIG. 1 is a schematic view of the overall structure of the present invention;
FIG. 2 is a second schematic view of the overall structure of the present invention;
FIG. 3 is an elevational view of the overall construction of the present invention;
FIG. 4 is a rear elevational view of the overall construction of the present invention;
FIG. 5 is a schematic view of the massage mechanism of the present invention;
fig. 6 is an enlarged schematic view of the structure at a in the present invention.
In the figure: 1. fixing belts; 2. a massage mechanism; 21. an air pump; 22. an air tube; 23. an air bag; 24. a connecting pipe; 3. an elastic band; 4. a connecting belt; 41. a thorn face magic tape; 42. a hair surface magic tape.
Detailed Description
The technical solutions in the embodiments of the present invention will be clearly and completely described below with reference to the drawings in the embodiments of the present invention, and it is obvious that the described embodiments are only a part of the embodiments of the present invention, and not all of the embodiments. All other embodiments, which can be derived by a person skilled in the art from the embodiments given herein without making any creative effort, shall fall within the protection scope of the present invention.
In the description of the present invention, it is to be understood that the terms "center", "longitudinal", "lateral", "length", "width", "thickness", "upper", "lower", "front", "rear", "left", "right", "vertical", "horizontal", "top", "bottom", "inner", "outer", "clockwise", "counterclockwise", and the like, indicate orientations and positional relationships based on those shown in the drawings, and are used only for convenience of description and simplicity of description, and do not indicate or imply that the equipment or element being referred to must have a particular orientation, be constructed and operated in a particular orientation, and thus, should not be considered as limiting the present invention.
Further, in the description of the present invention, "a plurality" means two or more unless specifically defined otherwise.
Example 1
An abdomen massager for preventing constipation, as shown in fig. 1 to 6, comprises a fixing band 1, amassage mechanism 2 is arranged on the fixing band 1, two ends of the fixing band 1 are connected with anelastic band 3 through needle thread sewing, one end of theelastic band 3 far away from the fixing band 1 is connected with a connecting band 4 through needle thread sewing, a hairsurface magic tape 42 is closely adhered on the front side surface of the connecting band 4 on the left side, and a thornsurface magic tape 41 is closely adhered on the rear side surface of the connecting band 4 on the right side; themassage mechanism 2 comprises an air pump 21 tightly bonded with the front side face of the fixing band 1, themassage mechanism 2 further comprises a plurality ofair bags 23 tightly bonded with the rear side face of the fixing band 1, anair pipe 22 is arranged between the air pump 21 and one of theair bags 23, a connectingpipe 24 is arranged between twoadjacent air bags 23, the twoadjacent air bags 23 are communicated through the connectingpipe 24, and the air pump 21 is communicated with one of theair bags 23 through theair pipe 22.
In this embodiment, fixed band 1 and connecting band 4 are the nylon tape, and the nylon tape has the advantage that structural strength is high, uses this material to make fixed band 1 and connecting band 4 have higher life.
In this embodiment, the connectingtube 24 is made of silicone material, which is soft and does not cause discomfort to the abdomen of the patient.
In this embodiment, theair tube 22, theair bag 23 and the connectingtube 24 are integrally formed, and the integrally formed structure has better structural strength.
Furthermore, a plurality ofair bags 23 are distributed along the rear side surface of the fixing band 1 in a curve shape, the curve distribution is consistent with the rectum distribution of the abdomen of the patient, and the rectum peristalsis is facilitated through theair bags 23.
In addition, the width of the fixing band 1 is 30cm, which is convenient to fix on the abdomen of the patient for massage.
It needs to supplement that, the viscose has all been smeared to the inner wall of connectingpipe 24 in this embodiment near upper and lower both ends department, and whengasbag 23 was for aerifing, the laminating was thought to upper and lower inner wall of connectingpipe 24 under the effect of viscose, and when gasbag 23 aerifyd, connectingpipe 24 was unblocked under the effect of high pressure, and a plurality ofgasbags 23 of being convenient for of this setting are bloated in proper order to promote the intestinal peristalsis.
It should be noted that the air pump 21 in this embodiment may be a silent air pump with model number AP-080 manufactured by shenzhen mystery aquatic culture limited, and its supporting circuit and power module may also be provided by the manufacturer.
Before the abdomen massager for preventing constipation is used, a user firstly attaches the fixing band 1 to the abdomen of a patient, simultaneously stretches theelastic band 3 to a proper length and surrounds the waist of the patient, and then the user tightly adheres the hook-and-loop fastener 41 to the hair surface hook-and-loop fastener 42 to complete fixation;
when the abdomen massager for preventing constipation of the present embodiment is used, a user connects the power supply of the ventilation pump 21, the air pump 21 starts to operate, at this time, air enters one of theair bags 23 through theair tube 22, at this time, theair bag 23 swells, at the same time, the air enters theadjacent air bag 23 through theconnecting tube 24, theadjacent air bag 23 swells, when the air pump 21 is continuously inflated, theair bags 23 swell in sequence, and at this time, theair bags 23 swelling in sequence massage the abdomen of the patient.
The foregoing shows and describes the general principles, essential features, and advantages of the invention. It will be understood by those skilled in the art that the present invention is not limited to the embodiments described above, and the preferred embodiments of the present invention are described in the above embodiments and the description, and are not intended to limit the present invention. The scope of the invention is defined by the appended claims and equivalents thereof.

Claims (6)

1. The utility model provides a belly massager of prevention constipation, includes fixed band (1), its characterized in that: the massage mechanism (2) is arranged on the fixing band (1), the two ends of the fixing band (1) are connected with the elastic band (3) through needle thread sewing, one end, far away from the fixing band (1), of the elastic band (3) is connected with the connecting band (4) through needle thread sewing, a hair magic tape (42) is tightly bonded on the front side surface of the connecting band (4) on the left side, and a thorn magic tape (41) is tightly bonded on the rear side surface of the connecting band (4) on the right side; massage mechanism (2) include with air pump (21) that the leading flank of fixed band (1) closely bonds, massage mechanism (2) still include with a plurality of gasbags (23) that the trailing flank of fixed band (1) closely bonds, air pump (21) and one of them be equipped with trachea (22) between gasbag (23), two adjacent be equipped with connecting pipe (24) between gasbag (23), and two adjacent gasbag (23) pass through connecting pipe (24) are linked together, air pump (21) are passed through trachea (22) and one of them gasbag (23) are linked together.
2. The abdominal massager for preventing constipation according to claim 1, wherein: the fixing belt (1) and the connecting belt (4) are both nylon belts.
3. The abdominal massager for preventing constipation according to claim 1, wherein: the connecting pipe (24) is made of silica gel.
4. The abdominal massager for preventing constipation according to claim 1, wherein: the air pipe (22), the air bag (23) and the connecting pipe (24) are of an integrally formed structure.
5. The abdominal massager for preventing constipation according to claim 1, wherein: the air bags (23) are distributed along the rear side surface of the fixing belt (1) in a curve shape.
6. The abdominal massager for preventing constipation according to claim 1, wherein: the width of the fixing belt (1) is 30 cm.
CN201911181538.6A2019-11-272019-11-27Belly massager for preventing constipationExpired - Fee RelatedCN111035547B (en)

Priority Applications (1)

Application NumberPriority DateFiling DateTitle
CN201911181538.6ACN111035547B (en)2019-11-272019-11-27Belly massager for preventing constipation

Applications Claiming Priority (1)

Application NumberPriority DateFiling DateTitle
CN201911181538.6ACN111035547B (en)2019-11-272019-11-27Belly massager for preventing constipation

Publications (2)

Publication NumberPublication Date
CN111035547Atrue CN111035547A (en)2020-04-21
CN111035547B CN111035547B (en)2022-04-08

Family

ID=70233763

Family Applications (1)

Application NumberTitlePriority DateFiling Date
CN201911181538.6AExpired - Fee RelatedCN111035547B (en)2019-11-272019-11-27Belly massager for preventing constipation

Country Status (1)

CountryLink
CN (1)CN111035547B (en)

Cited By (1)

* Cited by examiner, † Cited by third party
Publication numberPriority datePublication dateAssigneeTitle
CN111671633A (en)*2020-06-192020-09-18昆明医科大学第一附属医院 An intelligent massager for promoting postpartum lochia discharge

Citations (8)

* Cited by examiner, † Cited by third party
Publication numberPriority datePublication dateAssigneeTitle
CN103908397A (en)*2014-03-192014-07-09河南科技大学第一附属医院Air bag compression thermal insulation magnetic massage strip
CN204208023U (en)*2014-10-292015-03-18王辉Inflated type abdominal physiotherapy device
CN205814626U (en)*2016-04-012016-12-21刘芬Lactogenic masseur
CN207084929U (en)*2017-01-222018-03-13广州肖恩生物科技有限公司A kind of bedsore heating mattress
CN109806130A (en)*2019-04-022019-05-28四川大学华西第二医院 A pressurized and heated abdominal massage device
CN109876285A (en)*2019-03-042019-06-14孙尚锋A kind of anti-infection protection pad device of anorectal surgical
CN209645380U (en)*2018-11-292019-11-19来娇A kind of wave abdominal massaging instrument
CN211410054U (en)*2019-11-272020-09-04浙江省肿瘤医院Belly massager for preventing constipation

Patent Citations (8)

* Cited by examiner, † Cited by third party
Publication numberPriority datePublication dateAssigneeTitle
CN103908397A (en)*2014-03-192014-07-09河南科技大学第一附属医院Air bag compression thermal insulation magnetic massage strip
CN204208023U (en)*2014-10-292015-03-18王辉Inflated type abdominal physiotherapy device
CN205814626U (en)*2016-04-012016-12-21刘芬Lactogenic masseur
CN207084929U (en)*2017-01-222018-03-13广州肖恩生物科技有限公司A kind of bedsore heating mattress
CN209645380U (en)*2018-11-292019-11-19来娇A kind of wave abdominal massaging instrument
CN109876285A (en)*2019-03-042019-06-14孙尚锋A kind of anti-infection protection pad device of anorectal surgical
CN109806130A (en)*2019-04-022019-05-28四川大学华西第二医院 A pressurized and heated abdominal massage device
CN211410054U (en)*2019-11-272020-09-04浙江省肿瘤医院Belly massager for preventing constipation

Cited By (1)

* Cited by examiner, † Cited by third party
Publication numberPriority datePublication dateAssigneeTitle
CN111671633A (en)*2020-06-192020-09-18昆明医科大学第一附属医院 An intelligent massager for promoting postpartum lochia discharge

Also Published As

Publication numberPublication date
CN111035547B (en)2022-04-08

Similar Documents

PublicationPublication DateTitle
JP2005522269A5 (en)
CA3086135C (en)System for gastrointestinal and vascular atrophy engineering to restore normal youthful bodily functions
CN111035547A (en) An abdominal massager for preventing constipation
CN211410054U (en)Belly massager for preventing constipation
CN205514768U (en)Help stool pot suitable for type constipation is blocked in export
CN204562094U (en)Colonoscopy auxiliary pressure abdominal organ
CN213250226U (en) Disposable stoma stenosis dilation catheter
CN219126984U (en)Wound nursing ostomy abdominal belt
CN215080622U (en)Special binder of intestines stoma postoperative
CN211244451U (en)Constipation therapeutic instrument
CN106943172A (en)It is a kind of to help closet suitable for Treatment of Outlet Obstruction Type Constipation
CN101919758A (en) artificial anal toilet
CN205903516U (en)Closed intestines fistulization pipe of gasbag
CN213911333U (en) Bianstone constipation treatment instrument
CN210785899U (en)Medical multifunctional anal tube
CN206273287U (en)A kind of disposable abdominal stoma enteroclysm device
CN201743812U (en)Artificial anus feces collector
CN110916878A (en) An emergency fixation device for pelvic injury
CN2465734Y (en)Multifunctional gastrointestinal tube
CN216908657U (en)Stomach tube fixer
CN102772275A (en)Inflatable pressing type bellyband for relaxing bowels
CN213941460U (en)Application for improving constipation
CN213123495U (en)Colorectal cancer operation teaching model
CN210784907U (en)Inflatable pelvis fixing device
CN222640930U (en) A gastrostomy tube

Legal Events

DateCodeTitleDescription
PB01Publication
PB01Publication
SE01Entry into force of request for substantive examination
SE01Entry into force of request for substantive examination
GR01Patent grant
GR01Patent grant
CF01Termination of patent right due to non-payment of annual fee
CF01Termination of patent right due to non-payment of annual fee

Granted publication date:20220408


[8]ページ先頭

©2009-2025 Movatter.jp