Movatterモバイル変換


[0]ホーム

URL:


CN110961691B - An orthopedic drill sight - Google Patents

An orthopedic drill sight
Download PDF

Info

Publication number
CN110961691B
CN110961691BCN202010008471.2ACN202010008471ACN110961691BCN 110961691 BCN110961691 BCN 110961691BCN 202010008471 ACN202010008471 ACN 202010008471ACN 110961691 BCN110961691 BCN 110961691B
Authority
CN
China
Prior art keywords
plate
rod
fixedly connected
fixing
fixed
Prior art date
Legal status (The legal status is an assumption and is not a legal conclusion. Google has not performed a legal analysis and makes no representation as to the accuracy of the status listed.)
Expired - Fee Related
Application number
CN202010008471.2A
Other languages
Chinese (zh)
Other versions
CN110961691A (en
Inventor
何福友
王雪竹
Current Assignee (The listed assignees may be inaccurate. Google has not performed a legal analysis and makes no representation or warranty as to the accuracy of the list.)
Individual
Original Assignee
Individual
Priority date (The priority date is an assumption and is not a legal conclusion. Google has not performed a legal analysis and makes no representation as to the accuracy of the date listed.)
Filing date
Publication date
Application filed by IndividualfiledCriticalIndividual
Priority to CN202010008471.2ApriorityCriticalpatent/CN110961691B/en
Publication of CN110961691ApublicationCriticalpatent/CN110961691A/en
Application grantedgrantedCritical
Publication of CN110961691BpublicationCriticalpatent/CN110961691B/en
Expired - Fee Relatedlegal-statusCriticalCurrent
Anticipated expirationlegal-statusCritical

Links

Images

Classifications

Landscapes

Abstract

Translated fromChinese

本发明公开了一种骨科钻孔瞄准器,包括顶板、第一驱动马达和第二驱动马达,所述顶板的内部右端连接有安装板,所述第一驱动马达的输出端固定有螺纹杆,所述顶板的上表面左端固定有第一支板,所述横板的下表面固定连接有支杆,所述支杆的底端焊接有载板,且载板的上表面右端焊接有顶端与顶板固定的第二支板,所述第二支板的内部穿插有基座,所述第二驱动马达的输出端固定连接有连接杆,所述连接块的上表面固定连接有外壳,所述连接块的前后两端表面均卡合有侧板,且侧板的内端固定连接有第二固定板。该骨科钻孔瞄准器,适用范围广,便于对不同形状的物体进行固定,且早进行瞄准时,便于对瞄准的位置进行调整。

Figure 202010008471

The invention discloses an orthopaedic drilling sight, comprising a top plate, a first driving motor and a second driving motor, a mounting plate is connected to the inner right end of the top plate, and a threaded rod is fixed at the output end of the first driving motor, The left end of the upper surface of the top plate is fixed with a first support plate, the lower surface of the horizontal plate is fixedly connected with a support rod, the bottom end of the support rod is welded with a carrier plate, and the right end of the upper surface of the support plate is welded with a top end and a support rod. The second support plate fixed on the top plate, the inside of the second support plate is inserted with a base, the output end of the second drive motor is fixedly connected with a connecting rod, the upper surface of the connecting block is fixedly connected with a casing, the Both the front and rear end surfaces of the connecting block are clamped with side plates, and the inner ends of the side plates are fixedly connected with a second fixing plate. The orthopedic drilling sight has a wide range of applications, is convenient for fixing objects of different shapes, and is convenient for adjusting the aiming position when aiming early.

Figure 202010008471

Description

Orthopedics drilling sight
Technical Field
The invention relates to the technical field of orthopedic surgery equipment, in particular to an orthopedic drilling sighting device.
Background
When some small orthopedic workpieces are produced and machined, sometimes, in order to facilitate positioning and connection among the workpieces, drilling needs to be carried out on the surfaces of the workpieces, and in order to prevent deviation of the positions of the drilled holes, a small orthopedic drilling sighting device is used for auxiliary drilling;
however, when the existing orthopedic drilling sighting device in the market is used, workpieces in different shapes are not convenient to fix, the application range is not enough, and the aiming position is not convenient to adjust when positioning and aiming are carried out, so that an orthopedic drilling sighting device is developed at present to solve the problems.
Disclosure of Invention
The invention aims to provide an orthopedic drilling sighting device, which solves the problems that the existing orthopedic drilling sighting device in the market in the background art is inconvenient to fix workpieces with different shapes, has insufficient application range and is inconvenient to adjust the aiming position when positioning and aiming are carried out.
In order to achieve the purpose, the invention provides the following technical scheme: an orthopedic drilling sighting device comprises a top plate, a first driving motor and a second driving motor, wherein the right end inside the top plate is connected with a mounting plate, the surface of the left end of the mounting plate is fixedly connected with the first driving motor, a first fixing rod is arranged on the inner side of the first driving motor, a threaded rod is fixed at the output end of the first driving motor, a connecting plate is sleeved on the outer surface of the threaded rod, a guide sleeve is welded at the inner end of the connecting plate, a first supporting plate is fixed at the left end of the upper surface of the top plate, a transverse plate is connected to the surface of the inner end of the first supporting plate, and a supporting rod is fixedly connected to the lower;
the bottom welding of branch has the support plate, and the upper surface right-hand member welding of support plate has the second extension board of top and roof fixed, the inside interlude of second extension board has the base, and the right-hand member surface of base is connected with second driving motor, second driving motor's output fixedly connected with connecting rod, and the surface of connecting rod has cup jointed the connecting block, the last fixed surface of connecting block is connected with the shell, and the inside of shell is provided with first fixed plate to the lower surface of first fixed plate is connected with the second dead lever, the equal block in both ends surface has the curb plate around the connecting block, and the inner fixedly connected with second fixed plate of curb plate.
Preferably, the upper surface of the top plate is of a rectangular hollow structure, the threaded rod is located inside the hollow structure, and the connecting plate is of a sliding structure on the threaded rod.
Preferably, the left end of the upper surface of the carrier plate is in a rectangular convex structure, and the upper surface of the convex structure is flush with the bottom end surface of the second fixing plate.
Preferably, the outer surface of the connecting rod is of a thread structure, the connecting rod is connected with the base through a bearing, and the base is fixed with the second support plate in a bolt connection mode.
Preferably, the housing and the second fixing plate are arranged in an up-down symmetrical manner about the connecting rod, and the longitudinal section of the second fixing plate is of an arc structure.
Compared with the prior art, the invention has the beneficial effects that: the orthopedic drilling sighting device is wide in application range, facilitates fixing of objects in different shapes, and facilitates adjustment of the sighting position when sighting is performed early;
1. the longitudinal section of the second fixing plate is of an arc-shaped structure and is fixedly connected with the side plates, and the distance between the second fixing plate monomers is changed by sliding the side plates on the connecting blocks, so that workpieces with different sizes and arc-shaped surfaces can be conveniently fixed;
2. the second fixing rod is screwed manually to rotate on the shell so as to push the first fixing plate to slide, so that the workpiece in a rectangular structure is extruded and fixed, and is fixed in the shell stably;
3. the upper surface of roof is rectangle fretwork column structure, and the guide pin bushing is located this fretwork structure's inside, through rotating the threaded rod for the connecting plate slides, can drive the guide pin bushing and slide, thereby changes the position of aiming.
Drawings
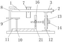
FIG. 1 is a schematic front view of the present invention;
FIG. 2 is a schematic top view of the top plate of the present invention;
FIG. 3 is a side view of the housing of the present invention.
In the figure: 1. a top plate; 2. mounting a plate; 3. a first drive motor; 4. a first fixing lever; 5. a threaded rod; 6. a connecting plate; 7. a guide sleeve; 8. a first support plate; 9. a transverse plate; 10. a strut; 11. a carrier plate; 12. a second support plate; 13. a base; 14. a second drive motor; 15. a connecting rod; 16. connecting blocks; 17. a housing; 18. a first fixing plate; 19. a second fixing bar; 20. a side plate; 21. and a second fixing plate.
Detailed Description
In the following, the technical solutions in the embodiments of the present invention will be clearly and completely described with reference to the drawings in the embodiments of the present invention, and it is obvious that the described embodiments are only a part of the embodiments of the present invention, and not all of the embodiments. All other embodiments, which can be derived by a person skilled in the art from the embodiments given herein without making any creative effort, shall fall within the protection scope of the present invention.
Referring to fig. 1-3, the present invention provides a technical solution: an orthopedic drilling sighting device comprises atop plate 1, amounting plate 2, afirst driving motor 3, a first fixing rod 4, a threadedrod 5, a connecting plate 6, aguide sleeve 7, a first supportingplate 8, atransverse plate 9, a supportingrod 10, a supportingplate 11, a second supportingplate 12, abase 13, asecond driving motor 14, a connectingrod 15, a connectingblock 16, ashell 17, afirst fixing plate 18, asecond fixing rod 19, aside plate 20 and asecond fixing plate 21, wherein themounting plate 2 is connected with the right end inside thetop plate 1, thefirst driving motor 3 is fixedly connected with the surface of the left end of themounting plate 2, the first fixing rod 4 is arranged on the inner side of thefirst driving motor 3, the threadedrod 5 is fixed to the output end of thefirst driving motor 3, the connecting plate 6 is sleeved on the outer surface of the threadedrod 5, theguide sleeve 7 is welded to the inner end of the connecting plate 6, the first supportingplate 8 is fixed to the left end of, the lower surface of thetransverse plate 9 is fixedly connected with a supportingrod 10;
asupport plate 11 is welded at the bottom end of thesupport rod 10, asecond support plate 12 with the top end fixed with thetop plate 1 is welded at the right end of the upper surface of thesupport plate 11, the left end of the upper surface of thesupport plate 11 is in a rectangular convex structure, the upper surface of the convex structure is flush with the bottom end surface of asecond fixing plate 21, so that an object needing to be drilled is conveniently supported, abase 13 is inserted into thesecond support plate 12, asecond driving motor 14 is connected to the right end surface of thebase 13, aconnecting rod 15 is fixedly connected to the output end of thesecond driving motor 14, a connectingblock 16 is sleeved on the outer surface of the connectingrod 15, the outer surface of the connectingrod 15 is in a thread structure, theconnecting rod 15 is connected with thebase 13 through a bearing, thebase 13 is fixed with thesecond support plate 12 through a bolt connection mode, through rotation, the objects in different shapes are conveniently fixed, ashell 17, and the inside ofshell 17 is provided with firstfixed plate 18 to the lower surface of firstfixed plate 18 is connected with seconddead lever 19, andshell 17 and secondfixed plate 21 set up about connectingrod 15 longitudinal symmetry, and the vertical section of secondfixed plate 21 is the arc structure, and it is fixed to be convenient for like this to carry out the centre gripping to the curved object to the surface, and the equal block in both ends surface hascurb plate 20 around connectingblock 16, and the inner fixedly connected with secondfixed plate 21 ofcurb plate 20.
As shown in the figures 1 and 2, the upper surface of thetop plate 1 is in a rectangular hollow structure, the threadedrod 5 is located inside the hollow structure, the connecting plate 6 is in a sliding structure on the threadedrod 5, and the position of theguide sleeve 7 is indicated and changed through the sliding of the connecting plate 6, so that the drilling aiming is carried out at different positions.
The working principle is as follows: when the orthopedic drilling sighting device is used, an object to be drilled is firstly placed on a convex structure of thesupport plate 11, if the surface of the object is curved, the connectingrod 15 is controlled to rotate by thesecond driving motor 14 shown in fig. 1 on thebase 13, so that theside plate 20 faces downwards as shown in fig. 3, at the moment, the object can be pushed to slide, the object is positioned on the inner side of thesecond fixing plate 21, then theside plate 20 is slid on the connectingblock 16, so that thesecond fixing plates 21 are close to each other, the object is clamped, and after the object is clamped and fixed, thesecond fixing plate 21 is singly fixed by using bolts;
if the object to be punched is rectangular, thehousing 17 shown in fig. 3 can be made to face downward, then the object is slidably inserted into the inner side of thehousing 17, and thesecond fixing rod 19 is manually screwed, so that thefirst fixing plate 18 is pushed down to clamp and fix the object;
after the object is fixed, thefirst driving motor 3 shown in fig. 2 is started at this time, so that the threadedrod 5 rotates, the connecting plate 6 drives theguide sleeve 7 to slide on thetop plate 1, and thus the position for aiming the drill hole is adjusted, and after the position is adjusted, objects such as a drill rod and the like are inserted from the inside of theguide sleeve 7, so that the positioning and drilling can be performed, which is the whole process of using the orthopedic drilling aiming device, and the content which is not described in detail in the specification belongs to the prior art known by the skilled person in the art.
The standard parts used in the invention can be purchased from the market, the special-shaped parts can be customized according to the description of the specification and the accompanying drawings, the specific connection mode of each part adopts conventional means such as bolts, rivets, welding and the like mature in the prior art, the machines, the parts and equipment adopt conventional models in the prior art, and the circuit connection adopts the conventional connection mode in the prior art, so that the detailed description is omitted.
Although embodiments of the present invention have been shown and described, it will be appreciated by those skilled in the art that changes, modifications, substitutions and alterations can be made in these embodiments without departing from the principles and spirit of the invention, the scope of which is defined in the appended claims and their equivalents.

Claims (1)

Translated fromChinese
1.一种骨科钻孔瞄准器,包括顶板(1)、第一驱动马达(3)和第二驱动马达(14),其特征在于:所述顶板(1)的内部右端连接有安装板(2),且安装板(2)的左端表面固定连接有第一驱动马达(3),并且第一驱动马达(3)的内侧设置有第一固定杆(4),所述第一驱动马达(3)的输出端固定有螺纹杆(5),且螺纹杆(5)的外表面套接有连接板(6),并且连接板(6)的内端焊接有导套(7),所述顶板(1)的上表面左端固定有第一支板(8),且第一支板(8)的内端表面连接有横板(9),所述横板(9)的下表面固定连接有支杆(10);1. An orthopedic drilling sight, comprising a top plate (1), a first drive motor (3) and a second drive motor (14), characterized in that: the inner right end of the top plate (1) is connected with a mounting plate ( 2), and the left end surface of the mounting plate (2) is fixedly connected with a first drive motor (3), and the inner side of the first drive motor (3) is provided with a first fixing rod (4), the first drive motor ( 3) The output end of the threaded rod (5) is fixed, and the outer surface of the threaded rod (5) is sleeved with a connecting plate (6), and the inner end of the connecting plate (6) is welded with a guide sleeve (7). The left end of the upper surface of the top plate (1) is fixed with a first support plate (8), and the inner end surface of the first support plate (8) is connected with a transverse plate (9), and the lower surface of the transverse plate (9) is fixedly connected There are struts (10);所述支杆(10)的底端焊接有载板(11),且载板(11)的上表面右端焊接有顶端与顶板(1)固定的第二支板(12),所述第二支板(12)的内部穿插有基座(13),且基座(13)的右端表面连接有第二驱动马达(14),所述第二驱动马达(14)的输出端固定连接有连接杆(15),且连接杆(15)的外表面套接有连接块(16),所述连接块(16)的上表面固定连接有外壳(17),且外壳(17)的内部设置有第一固定板(18),并且第一固定板(18)的下表面连接有第二固定杆(19),所述连接块(16)的前后两端表面均卡合有侧板(20),且侧板(20)的内端固定连接有第二固定板(21),所述顶板(1)的上表面呈矩形镂空状结构,且螺纹杆(5)位于该镂空结构的内部,并且连接板(6)在螺纹杆(5)上为滑动结构,所述载板(11)的上表面左端呈矩形凸出状结构,且该凸出状结构的上表面与第二固定板(21)的底端表面平齐,所述连接杆(15)的外表面呈螺纹状结构,且连接杆(15)通过轴承与基座(13)连接,并且基座(13)通过螺栓连接的方式与第二支板(12)固定,所述外壳(17)和第二固定板(21)关于连接杆(15)上下对称设置,且第二固定板(21)的纵切面呈弧形结构。A carrier plate (11) is welded to the bottom end of the support rod (10), and a second support plate (12) whose top end is fixed to the top plate (1) is welded to the right end of the upper surface of the support plate (11). A base (13) is inserted through the inside of the support plate (12), and a second drive motor (14) is connected to the right end surface of the base (13), and the output end of the second drive motor (14) is fixedly connected with a connection A rod (15), and a connecting block (16) is sleeved on the outer surface of the connecting rod (15), the upper surface of the connecting block (16) is fixedly connected with a casing (17), and the interior of the casing (17) is provided with A first fixing plate (18), and a second fixing rod (19) is connected to the lower surface of the first fixing plate (18), and side plates (20) are engaged with the front and rear end surfaces of the connecting block (16) , and the inner end of the side plate (20) is fixedly connected with a second fixing plate (21), the upper surface of the top plate (1) has a rectangular hollow structure, and the threaded rod (5) is located inside the hollow structure, and The connecting plate (6) has a sliding structure on the threaded rod (5), the left end of the upper surface of the carrier plate (11) is a rectangular protruding structure, and the upper surface of the protruding structure is connected to the second fixing plate (21). ) is flush with the bottom end surface of the connecting rod (15), the outer surface of the connecting rod (15) is in a threaded structure, and the connecting rod (15) is connected with the base (13) through a bearing, and the base (13) is connected by bolts. Fixed with the second support plate (12), the casing (17) and the second fixing plate (21) are arranged symmetrically up and down with respect to the connecting rod (15), and the longitudinal section of the second fixing plate (21) is in an arc structure.
CN202010008471.2A2020-01-062020-01-06 An orthopedic drill sightExpired - Fee RelatedCN110961691B (en)

Priority Applications (1)

Application NumberPriority DateFiling DateTitle
CN202010008471.2ACN110961691B (en)2020-01-062020-01-06 An orthopedic drill sight

Applications Claiming Priority (1)

Application NumberPriority DateFiling DateTitle
CN202010008471.2ACN110961691B (en)2020-01-062020-01-06 An orthopedic drill sight

Publications (2)

Publication NumberPublication Date
CN110961691A CN110961691A (en)2020-04-07
CN110961691Btrue CN110961691B (en)2021-04-13

Family

ID=70038028

Family Applications (1)

Application NumberTitlePriority DateFiling Date
CN202010008471.2AExpired - Fee RelatedCN110961691B (en)2020-01-062020-01-06 An orthopedic drill sight

Country Status (1)

CountryLink
CN (1)CN110961691B (en)

Citations (8)

* Cited by examiner, † Cited by third party
Publication numberPriority datePublication dateAssigneeTitle
CN201879773U (en)*2010-08-292011-06-29顾全霞Sighting type hand drill with ruler for orthopedics department
CN104905846A (en)*2015-05-272015-09-16常州市康辉医疗器械有限公司Orthopaedics department hole drilling sighting device
CN205514766U (en)*2016-01-292016-08-31丽水市人民医院Spacing type orthopedics sight
CN205697925U (en)*2016-04-292016-11-23李前凯A kind of boring sight of bone surgery
CN106137409A (en)*2016-08-092016-11-23泰州市人民医院A kind of positioning auxiliary device for fracture of neck of femur and using method thereof
CN108095796A (en)*2017-12-132018-06-01张赫A kind of orthopaedics perforating device of precise positioning
CN209153863U (en)*2018-04-112019-07-26苏启旭A kind of adjustable orthopaedics drill hole sighting device using angle
CN209332184U (en)*2018-12-182019-09-03文华军A kind of orthopaedics drilling sighting device

Family Cites Families (2)

* Cited by examiner, † Cited by third party
Publication numberPriority datePublication dateAssigneeTitle
US9468449B2 (en)*2010-12-022016-10-18Smith & Nephew, Inc.Reconstructive joint tunnel drilling locator
US10010333B2 (en)*2014-09-302018-07-03Medos International SàrlSide-loading carriage for use in surgical guide

Patent Citations (8)

* Cited by examiner, † Cited by third party
Publication numberPriority datePublication dateAssigneeTitle
CN201879773U (en)*2010-08-292011-06-29顾全霞Sighting type hand drill with ruler for orthopedics department
CN104905846A (en)*2015-05-272015-09-16常州市康辉医疗器械有限公司Orthopaedics department hole drilling sighting device
CN205514766U (en)*2016-01-292016-08-31丽水市人民医院Spacing type orthopedics sight
CN205697925U (en)*2016-04-292016-11-23李前凯A kind of boring sight of bone surgery
CN106137409A (en)*2016-08-092016-11-23泰州市人民医院A kind of positioning auxiliary device for fracture of neck of femur and using method thereof
CN108095796A (en)*2017-12-132018-06-01张赫A kind of orthopaedics perforating device of precise positioning
CN209153863U (en)*2018-04-112019-07-26苏启旭A kind of adjustable orthopaedics drill hole sighting device using angle
CN209332184U (en)*2018-12-182019-09-03文华军A kind of orthopaedics drilling sighting device

Also Published As

Publication numberPublication date
CN110961691A (en)2020-04-07

Similar Documents

PublicationPublication DateTitle
CN109604678A (en)A kind of plate-shape metal product drilling device
CN112847175B (en)Cylinder clamp convenient for fine adjustment of spacing
CN209936865U (en)Adjustable rotatory thing processing base station that carries in inclination
CN111360469A (en)Multifunctional rotary workbench for welding equipment
CN110961691B (en) An orthopedic drill sight
CN215746557U (en)Special-shaped part clamping tool with high-precision drilling function
CN110711876A (en)Steel pipe machining equipment based on PLC control
CN211162074U (en)Surface drilling device for machine parts
CN108907242A (en)One kind being used for lathe feeding auxiliary device
CN116276725A (en)Double-station safe clamping tool for machining mechanical accessories
CN208276211U (en)A kind of stainless steel standard part drilling equipment
CN111299662A (en)High-precision bench drilling machine
CN216176816U (en)Turnover punching device for processing electronic parts
CN213319100U (en)Drilling machine with illumination structure for hardware processing
CN211413728U (en)Drilling device based on crankshaft mounting hole
US2734737A (en)Flame cutting machine
CN208427849U (en) A laser engraving device capable of multi-faceted processing
CN220797367U (en)Workbench for hardware installation of switch socket
CN206104898U (en)A can change movable support for axle processing
CN222178271U (en)Basin hole drilling machine
CN219748273U (en)Building block toy threading hole punching equipment
CN219788262U (en)Auxiliary platform for machining
CN221621520U (en)Wearable equipment perforating device
CN218699569U (en)Quick drilling device is used in processing of PCB board
CN220880189U (en)Diameter-increasing reaming device for metal product processing

Legal Events

DateCodeTitleDescription
PB01Publication
PB01Publication
SE01Entry into force of request for substantive examination
SE01Entry into force of request for substantive examination
GR01Patent grant
GR01Patent grant
CF01Termination of patent right due to non-payment of annual fee
CF01Termination of patent right due to non-payment of annual fee

Granted publication date:20210413


[8]ページ先頭

©2009-2025 Movatter.jp