Movatterモバイル変換


[0]ホーム

URL:


CN110948373A - Grinding process control system applicable to grinding machine - Google Patents

Grinding process control system applicable to grinding machine
Download PDF

Info

Publication number
CN110948373A
CN110948373ACN201910446290.5ACN201910446290ACN110948373ACN 110948373 ACN110948373 ACN 110948373ACN 201910446290 ACN201910446290 ACN 201910446290ACN 110948373 ACN110948373 ACN 110948373A
Authority
CN
China
Prior art keywords
grinding
module
parameters
outline
wheel
Prior art date
Legal status (The legal status is an assumption and is not a legal conclusion. Google has not performed a legal analysis and makes no representation as to the accuracy of the status listed.)
Granted
Application number
CN201910446290.5A
Other languages
Chinese (zh)
Other versions
CN110948373B (en
Inventor
曾彦皓
陈永诚
钟林树
Current Assignee (The listed assignees may be inaccurate. Google has not performed a legal analysis and makes no representation or warranty as to the accuracy of the list.)
Hejing Technology Co ltd
Original Assignee
Hejing Technology Co ltd
Priority date (The priority date is an assumption and is not a legal conclusion. Google has not performed a legal analysis and makes no representation as to the accuracy of the date listed.)
Filing date
Publication date
Application filed by Hejing Technology Co ltdfiledCriticalHejing Technology Co ltd
Publication of CN110948373ApublicationCriticalpatent/CN110948373A/en
Application grantedgrantedCritical
Publication of CN110948373BpublicationCriticalpatent/CN110948373B/en
Activelegal-statusCriticalCurrent
Anticipated expirationlegal-statusCritical

Links

Images

Classifications

Landscapes

Abstract

Translated fromChinese

本发明涉及一种可应用于研磨机的研磨工艺控制系统,可经由计算机执行后产生研磨程序供研磨机使用,使该研磨机可以通过其至少一砂轮来研磨出零件的外形轮廓;该研磨工艺控制系统主要利用绘制待磨件的外形轮廓尺寸图搭配各尺寸节点的2D断面图,并设定砂轮尺寸、待磨件夹持位置等,再选用合适的研磨类别与研磨工程,同时设定研磨顺序、待研磨部位及工程参数,来产生相对应的研磨程序,并进行待磨件与研磨机的3D动态仿真,以检视研磨结果是否正确及研磨过程中是否产生碰撞;所述研磨类别更可供使用者自由编辑以增、减或调整变动该研磨顺序。

Figure 201910446290

The present invention relates to a grinding process control system that can be applied to a grinding machine. It can be executed by a computer to generate a grinding program for use by the grinding machine, so that the grinding machine can grind the outline of a part through at least one grinding wheel; the grinding process The control system mainly draws the outline size diagram of the part to be ground and matches the 2D cross-sectional view of each size node, and sets the grinding wheel size, clamping position of the part to be ground, etc., then selects the appropriate grinding category and grinding process, and sets the grinding The sequence, parts to be ground and engineering parameters are used to generate corresponding grinding procedures, and a 3D dynamic simulation of the parts to be ground and the grinding machine is performed to check whether the grinding results are correct and whether collisions occur during the grinding process; the grinding categories can also be Users can freely edit to increase, decrease or adjust the grinding order.

Figure 201910446290

Description

Grinding process control system applicable to grinding machine
Technical Field
The present invention relates to computer program products, and more particularly to a grinding process control system for a grinding machine.
Background
SmartCam is a computer program product applied to milling machine machining, and some grinding manufacturers also use SmartCam software to grind parts with simple profile in order to save software cost, but cannot grind parts with complex profile, especially when the section is changed or special.
In addition, some polishing manufacturers use special parts to polish by means of a master, but usually have to make many special master parts, so the manufacturing cost is high, the manufacturing time of the master parts is long, and the grinding precision is not comparable to that of special software, and is not easy to control.
Some grinder manufacturers write grinding modules with built-in specific simple profile in controller Macro syntax for users to directly operate, but when the profile other than the built-in grinding module needs to be ground, the users cannot build the grinding module by themselves, and the grinder manufacturers must be entrusted to assist in addition, so that the construction cost is increased, the communication and construction time are consumed, and the grinding modules are lack of timeliness, convenience and flexibility compared with dedicated software. Meanwhile, if a user develops a part with a special profile or section shape by himself, the grinding technique or procedure of the part must be exposed to the manufacturer of the grinding machine, and the confidentiality cannot be maintained.
Although there are computer program products dedicated for grinding machines in the market, it is still the same that several grinding modules with different cross-sectional shapes and styles are built in for users to choose, so users cannot build grinding modules with other cross-sectional shapes and styles according to their own needs, and the software developer must be entrusted to assist the new addition, and there are various problems similar to those encountered by the grinding machine manufacturer with built-in grinding modules in the controller Macro syntax.
Disclosure of Invention
The invention provides a grinding process control system applicable to a grinding machine, which can generate a grinding program for the grinding machine after being executed by a computer, so that the grinding machine can grind the outline of a part by at least one grinding wheel; the grinding process control system mainly utilizes a 2D section diagram for drawing an outline dimension diagram of a to-be-ground part and matching with each dimension node, sets the size of a grinding wheel, the clamping position of the to-be-ground part and the like, selects a proper grinding type and grinding engineering, sets a grinding sequence, a to-be-ground part and engineering parameters at the same time to generate a corresponding grinding program, and carries out 3D dynamic simulation on the to-be-ground part and the grinding machine so as to inspect whether a grinding result is correct or not and whether collision is generated in the grinding process or not; the polishing type can be edited freely by the user to increase, decrease or adjust the polishing sequence.
The grinding process control system applicable to the grinding machine can be used for a user to draw and construct various simple or complex appearance outlines and corresponding section shapes according to the requirement of the user, and provide a plurality of grinding categories for the user to set grinding sequences, so that a grinding program is generated for the grinding machine to use, therefore, the user does not need to rely on an external manufacturer to assist in construction, and the grinding process control system is more flexible and elastic in use, so that the grinding operation can be fast and convenient; meanwhile, if a user develops a part with a special outline or section shape by himself, the confidentiality of the grinding technology or process of the part can be kept by himself through the self-construction mode, and the part cannot be leaked to the outside.
Drawings
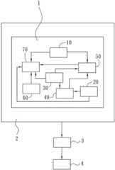
FIG. 1 is a block diagram of the modules of the grinding process control system of the present invention, showing the connection relationship between the modules and the computer and the grinding machine.
FIG. 2 is a schematic diagram of the outline of the material to be ground drawn by the outline module according to the present invention.
Fig. 3 is a perspective view of a member to be ground corresponding to a material to be ground drawn in the outline module of the present invention.
FIG. 4 is a perspective view of a part to be ground according to the present invention.
FIG. 5 is a side plan view of a part to be ground according to the present invention.
FIG. 6(a) shows the outline of the portion to be polished according to the present invention.
FIG. 6(b) is a cross-sectional shape selection window for each node of the outline of FIG. 6 (a).
FIG. 6(c) is a cross-sectional shape and size of each node displayed after the window of FIG. 6(b) is selected.
FIG. 7 is a window for establishing the desired cross-sectional shape and size of each node of the outline of FIG. 6 (a).
FIG. 8(a) is a perspective view of a part ground by a plurality of grinding types according to the present invention.
FIG. 8(b) is a side plan view of a part being ground by a plurality of grinding types according to the present invention.
Fig. 9(a) is a perspective view of the material before polishing in fig. 8 (a).
FIG. 9(b) is a perspective view of the rough blank after the material of FIG. 9(a) is subjected to step-difference grinding.
Fig. 10(a) is a perspective view of the green part of fig. 9(b) after the green part has been ground to remove most of the thickness (first removal).
FIG. 10(b) is a perspective view of the rough part of FIG. 10(a) after being ground one turn in cross-sectional profile shape.
Fig. 10(c) is a perspective view of the green part of fig. 10(b) after removal of most of the thickness (secondary removal) by lateral displacement.
FIG. 10(d) is a perspective view of the rough part of FIG. 10(c) after being ground one more turn according to the profile shape of the cross section.
FIG. 11(a) is a perspective view of the blank part of FIG. 10(d) after being ground by spiral grinding in a cross-sectional profile shape for one turn.
FIG. 11(b) is a side plan view of the rough part of FIG. 11(a) after spiral grinding in accordance with the profile shape of the cross-section.
FIG. 11(c) is a perspective view of the rough part of FIG. 11(b) after being ground one more turn according to the profile shape of the cross section.
FIG. 12 is a perspective view of the rough part of FIG. 11(c) after being ground in a stepwise manner and ground once in accordance with the profile shape of the cross section.
FIG. 13 is a perspective view of a virtual 3D grinder constructed according to the physical dimensions of the grinder according to the present invention.
FIG. 14 is an operation interface presented by the 3D simulation module of the present invention.
Reference numerals
1 grinding process control system
2 computer
3 grinding procedure
4 grinding machine
10 machine parameter module
100 contour of material to be ground
101 round bar
102 parts
103 profile of the profile
104 parts
20 grinding wheel module
30 profile module
31 part to be ground
40 grinding process module
50 grinding program generating module
603D grinder building block
703D simulation module
200 material
201 blank part
202 blank part
203 blank part
204 rough blank part
205 rough blank part
206 blank part
207 blank part
208 rough blank part
209 blank part
300 virtual 3D grinder
400 operation interface
401 picture
402 frame
403 pictures
404 frame
500 grinding wheel
R arc angle
Position P1
Position P2
S1 first node
S2 second node
S3 third node
P end face
t1 center point
Point t2
Point t3
Detailed Description
As shown in fig. 1, the present invention provides a grinding process control system applicable to a grinding machine, wherein the grindingprocess control system 1, after being executed by acomputer 2, can generate a grinding program 3(NC Code) for a grinding machine 4, the grinding program 3 being generated by a controller of different syntax on the grinding machine 4, so that the grinding machine 4 can grind the contour of a part by at least one grinding wheel thereof; the grindingprocess control system 1 comprises amachine parameter module 10, agrinding wheel module 20, aprofile module 30, a grindingprocess module 40, a grinding 7program generation module 50, a 3D grindingmachine construction module 60 and a3D simulation module 70; wherein:
themachine parameter module 10 is used for inputting various parameters of the grinding machine, wherein the parameters at least comprise positive and negative limits of each shaft of the grinding machine, a program processing origin and a part offset.
Thegrinding wheel module 20 is used for inputting various parameters of the grinding wheel, wherein the parameters at least comprise diameter, thickness, angle, axial position, rotating speed and forward and reverse rotation.
Theoutline module 30 draws the outline of the material, the outline of the part to be ground and the size of the part to be ground according to the point coordinates, generates at least two nodes on the line segment after the outline is drawn, and also establishes at least one section shape and the size of the required section shape according to the point coordinates, and a user can select the established section shape and the size of the section shape at each node so as to display the section shape and the size corresponding to each node.
For example, a user can first draw a contour 100 of a material to be ground by using point coordinates, as shown in fig. 2, a circular rod 101 with substantially the same diameter can be used as a material to be ground, as shown in fig. 3, and grind a part 102 by using the circular rod 101, as shown in fig. 4 and 5, at this time, the user can further draw a contour 103 and its size to be ground of the portion 31 to be ground by using the contour module 30, as shown in fig. 6(a), it is clear that the contour 103 can generate three nodes on its line segment after completing the drawing, including a first node S1, a second node S2 and a third node S3, the first node S1 is substantially a center point t1 of the outer side end surface P of the portion 31 to be ground of fig. 5, the second node S2 is substantially a point t2 of the radial outer edge at the end surface P of the portion 31 to be ground of fig. 5, which is a point in this embodiment located at the vertical height, the third node S3 is substantially a point t3 of the radial outer edge of the portion to be polished 31 of fig. 5 on the other side with respect to the end face P, and is also a point at the vertical height in the present embodiment. It is emphasized that the portion to be polished 31 may essentially consist ofseveral profile profiles 103, and that eachprofile 103 may be assigned a profile number.
After the user finishes drawing the material contour, the outline contour to be ground and the size of the outline contour, the part to be ground is ground to form at least one required section shape and size according to the point coordinates, in the embodiment, the part to be ground 31 has two section parts which are respectively positioned at the second node S2 and the third node S3, and the section shapes of the section parts are different, so that the user can finish the section shapes and sizes corresponding to the second node S2 and the third node S3 by two steps; in the first step, the cross-sectional shapes of the second node S2 and the third node S3 are first established, that is, the two cross-sectional shapes of the cross-sectional number 1 and the cross-sectional number 2 shown in fig. 7 are respectively, and in the second step, the cross-sectional number corresponding to each node is clicked in fig. 6(b), in this embodiment, the cross-sectional number corresponding to the second node S2 is 1, so that when the user clicks the cross-sectional number 1, the cross-sectional shape as the left side of fig. 6(c) is displayed immediately, and similarly, the cross-sectional number corresponding to the third node S3 is 2, so that when the user clicks the cross-sectional number 2, the cross-sectional shape as the right side of fig. 6(c) is displayed immediately, and thus, the drawing operation of the cross-sectional shapes and the sizes corresponding to at least two nodes in the outline is completed. In other words, if the cross-sectional shapes of the second node S2 and the third node S3 are the same, the user only needs to establish a cross-sectional shape and its size and assign a cross-sectional number.
The grindingprocess module 40 provides a plurality of grinding categories for a user to set a grinding sequence and engineering parameters of each grinding category for forming the contour and the cross-sectional shape drawn by thecontour module 30, wherein the grinding categories include step grinding, material removal grinding, spiral grinding and stepped grinding. It should be noted that, when setting the grinding sequence, each grinding category can be used once or more, and each grinding category belongs to one grinding process, and is assigned with one process number.
For example, when a user wants to grind thepart 104 shown in fig. 8(a) and (b), the step grinding, the material removing grinding, the spiral grinding and the stepped grinding can be sequentially performed. Specifically, theround bar material 200 in fig. 9(a) can be ground into the profile and size of the roughblank part 201 in fig. 9(b) by the step grinding, during grinding, thematerial 200 is clamped on the collet chuck and driven by the transmission shaft to rotate, after the grinding wheel is fed (fed) to a predetermined size along the radial direction of thematerial 200, and then is moved to a predetermined size along the axial direction of the X axis, the step grinding can be completed, and the grinding mode is similar to the processing mode of a traditional lathe.
After that, the outline and size of the roughblank part 202 as shown in fig. 10(d) are finished by material-removing grinding, and it should be noted that, since the cross section of the roughblank part 202 after grinding is an ellipse in this embodiment, in order to improve the grinding efficiency, most of the thickness of the meat must be removed first on both sides of the minor axis of the ellipse, as shown in fig. 10(a), and then ground for one circle according to the cross-sectional outline shape, as shown in fig. 10(b), only a small amount of the material to be ground is reserved for fine grinding, which is the main grinding characteristic of the material-removing grinding.
To be more specific, during the grinding, the transmission shaft of the step grinding must be switched to the servo shaft to servo-position the roughblank part 201, the grinding wheel is fed (fed) to a predetermined size along the radial direction of the roughblank part 201 to remove most of the thickness (first material removal), such as the roughblank part 203 shown in fig. 10(a), and ground once and then moved back according to the profile shape of the cross section, such as the roughblank part 204 shown in fig. 10(b), and the above actions are repeated according to the number of times of transverse movement set by the user, so that the roughblank part 205 shown in fig. 10(c) and the roughblank part 202 shown in fig. 10(d) can be ground in sequence by setting only one transverse movement, and the material removal grinding is completed.
Next, the roughblank part 202 is ground by using spiral grinding to form the profile and size of the roughblank part 206 shown in fig. 11(c), in the grinding, the grinding wheel is fed (fed) to a predetermined size along the radial direction of the roughblank part 202, and is rotated by a servo to grind one circle according to the profile shape of the cross section to form the profile of the roughblank part 207 shown in fig. 11(a), the grinding wheel is laterally displaced according to the set number of spiral turns, and is ground in a spiral manner according to the profile shape of the cross section to form the roughblank part 208 shown in fig. 11(b), and finally, one circle is ground according to the profile shape of the cross section to form the profile and size of the roughblank part 206 shown in fig. 11(c), thereby completing the spiral grinding.
Then, therough part 206 is ground into the circular arc angle R by using the step grinding to form the outline and the size of thepart 104 as shown in (a) and (b) of FIG. 8, the grinding wheel is first fed (plunged) radially along thegreen part 206 to a set size, grinding one turn according to the profile shape of the cross section by servo rotation to form the profile of therough part 209 as shown in FIG. 12, grinding by stepwise feed with the servo rotation in sequence using a grinding wheel, the radius R can be ground, it should be emphasized that the grinding process of the radius R is substantially from the circular contour at the position P1 to the elliptical contour at the position P2 by stepwise gradual grinding, in other words, the contour shape ground every turn between the positions P1 and P2, it has a more circular profile closer to position P1 and an elliptical profile closer to position P2.
The grindingprogram generating module 50 can generate a grinding path according to each parameter inputted or set by themachine parameter module 10, thegrinding wheel module 20, theoutline module 30 and the grindingprocess module 40, and then generate the grinding program 3 according to different grammars of the controller, and the grinding program 3 can be transmitted in a file manner.
The 3Dmill building module 60 builds avirtual 3D mill 300 based on the physical dimensions of the mill, as shown in fig. 13, and it is specifically noted that thevirtual 3D mill 300 is typically built into the millprocess control system 1 by the millprocess control system 1 builder based on the physical dimensions of the mill.
The3D simulation module 70 is configured to simulate a grinding path on the virtual3D grinding machine 300 constructed by the 3D grindingmachine construction module 60 according to parameters input or set by themachine parameter module 10, thegrinding wheel module 20, and theoutline module 30, and the grinding program 3 generated by the grindingprogram generation module 50, so as to determine whether the outline, the cross-sectional shape, and the size of the ground outline are correct, and simultaneously, to inspect whether a collision phenomenon occurs during the grinding process.
As shown in fig. 14, the operation interface 400 presented by the3D simulation module 70,screen 401, displays thevirtual 3D grinder 300 loaded from the 3Dgrinder construction module 60, grinder parameters loaded from themachine parameter module 10, grindingwheel 500 parameters loaded from thegrinding wheel module 20, andmaterial 200 loaded from theoutline module 30.
Theframe 402 shows the polishing process and the final polishing result of the material 200 in the simulation state, and the user can view the polishing process at different viewing angles or arbitrarily rotate the material; during the grinding process, once the grinding wheel collides with the mechanical parts or the object to be ground, a collision message is generated, for example, the grinding wheel and the object to be ground can be displayed in red for warning in thescreen 401, and a collision message frame is displayed for the user to inspect the collision situation.
Theframe 403 shows the polishing program generated by the polishingprogram generation module 50, and it should be particularly emphasized that the polishing program is synchronized with the polishing process in theframe 402, for example, when the polishing program is executed in any row of programs, the polishing action corresponding to the row of instructions is synchronously displayed in theframe 402.
Thescreen 404 displays the coordinates of each axis, the polishing rate, and the control commands corresponding to any row of programs in thescreen 403 synchronously.
In this embodiment, each parameter of themachine parameter module 10 further includes a probe measurement function, which can be selected by a user to determine whether the offset of the component is obtained by manual input or automatic measurement.
In this embodiment, the parameters of thewheel module 20 further include a wheel type, which is selected by the user from a standard wheel and a non-standard formed wheel, and if a formed wheel is selected, the user can draw the shape of the periphery of the formed wheel.
In this embodiment, thecontour module 30 is configured to display the corresponding dimension of each node, including at least the axial length and the diameter, the extending angle and the arc radius of each node relative to the next node, and the length of the track between each node and the center point of the end face along the contour.
In the present embodiment, the engineering parameters of each polishing type of thepolishing process module 40 include an identification parameter, an exterior parameter, a polishing parameter, and a tool advancing and retracting parameter; the identification parameters are mainly used for setting the color displayed by each grinding project in the 3D simulation process; the shape parameters are mainly used for setting the shape number and the grinding wheel number of each grinding project; the grinding parameters are mainly used for setting the grinding amount and the grinding rate of each grinding process; the feeding and retracting parameters are mainly used for setting the feeding and retracting sequence of each shaft in each grinding process, wherein the feeding and retracting sequence comprises the feeding and retracting of a grinding wheel, the preparation position of the rapid feeding of each shaft and the stop position after the retracting.
In this embodiment, thepolishing process module 40 further includes an editing function, so that a user can increase, decrease or adjust and change the polishing sequence after setting the polishing sequence and completing the polishing parameters of each polishing type.
In this embodiment, the3D simulation module 70 further includes a measurement function for measuring the outline dimensions of the simulated part.
As can be seen from the above description, the computer grindingprocess control system 1 of the present invention can allow a user to draw and construct various simple or complex outline and corresponding cross-sectional shapes according to his own needs, and provide a plurality of grinding categories for the user to set the grinding sequence, and further generate a grinding program for the grinder to use, so that the user does not need to rely on an external manufacturer to assist in construction, and thus the use is more flexible and flexible, and the grinding operation can be fast and convenient; meanwhile, if a user develops a part with a special outline or section shape by himself, the confidentiality of the grinding technology or process of the part can be kept by himself through the self-construction mode, and the part cannot be leaked to the outside.
In summary, the present invention has excellent creation practicability in similar products, and meanwhile, the technical scheme that the same structure is disclosed before is not found after the related technical data or patent documents inside and outside the world are searched, so that the present invention has the patent requirements, and the application is legally proposed. Meanwhile, the above description is only a part of the possible embodiments of the present invention, and all the equivalent structural changes that are made by applying the present invention to the specification and claims should be included in the protection scope of the present invention.

Claims (10)

1. A grinding process control system applicable to a grinding machine is characterized in that after being executed by a computer, a grinding program can be generated for the grinding machine, the grinding program is generated according to controllers with different grammars on the grinding machine, so that the grinding machine can grind the outline of a part through at least one grinding wheel of the grinding machine; the grinding process control system comprises:
the machine parameter module is used for inputting various parameters of the grinding machine, and the parameters input by the machine parameter module at least comprise a program processing origin and a part offset;
the grinding wheel module is used for inputting various parameters corresponding to the grinding wheel, and the parameters input by the grinding wheel module at least comprise a diameter, a thickness, an angle, an axial position and a rotating speed;
the outline module is used for drawing the material outline, the outline to be formed by grinding the part to be ground and the size of the outline according to the point coordinates, at least two nodes can be generated on the line segment of the outline after the outline is drawn, at least one section shape and the size of the section shape can be established according to the point coordinates, and a user can select the established section shape and the size of the section shape at each node so as to display the section shape and the size corresponding to each node;
a grinding procedure module, which provides a plurality of grinding categories for a user to set a grinding sequence and engineering parameters of each grinding category so as to form the outline and the section shape drawn by the outline module; when the grinding sequence is set, each grinding type can be used for one time or multiple times, each time of use belongs to one grinding project, and each grinding project is assigned with one project number;
a grinding program generating module which can generate a grinding path according to various parameters input or set by the machine parameter module, the grinding wheel module, the outline module and the grinding procedure module and generate a grinding program according to different grammars of the controller;
a 3D grinder construction module for constructing a virtual 3D grinder according to the physical size of the grinder;
and the 3D simulation module is used for simulating a grinding path on the virtual 3D grinding machine constructed by the 3D grinding machine construction module by matching with various parameters input or set by the machine parameter module, the grinding wheel module and the outline module and according to the grinding program generated by the grinding program generation module, so as to determine whether the ground outline, the cross section shape and the size of the ground outline are correct or not and simultaneously inspect whether a collision phenomenon is generated in the grinding process or not.
2. The system of claim 1, wherein the parameters inputted into the grinder by the machine parameter module further include positive and negative limits for each axis of the grinder.
3. The system of claim 1, wherein the parameters of the tool parameter module further comprise a probe measurement function, and a user can select whether the probe measurement function is available to determine whether the part offset is obtained by manual input or automatic measurement.
4. The system of claim 1, wherein the grinding wheel module is configured to input a grinding wheel number of the grinding wheel, and then input parameters corresponding to the grinding wheel number, and the parameters corresponding to the grinding wheel number further include a positive and negative rotation.
5. The system of claim 1, wherein the parameters of the wheel module further include a wheel type selected by a user from a standard wheel and a non-standard formed wheel, and if a formed wheel is selected, the shape of the periphery of the formed wheel.
6. The system of claim 1, wherein the profile module is configured to display the corresponding dimensions of each node, including at least the axial length and diameter, the angle of extension of each node relative to its next node, the radius of the arc, and the length of the path between each node and the center point of the end surface along the profile.
7. The system of claim 1, wherein the plurality of grinding process modules provide grinding categories including step grinding, material removal grinding, auger grinding, and cascade grinding.
8. The system of claim 1, wherein the engineering parameters of each polishing type of the polishing process module include identification parameters, profile parameters, polishing parameters, and feeding and retracting parameters; the identification parameters are mainly used for setting the color displayed by each grinding project in the 3D simulation process; the shape parameters are mainly used for setting the shape number and the grinding wheel number of each grinding project; the grinding parameters are mainly used for setting the grinding amount and the grinding rate of each grinding process; the feeding and retracting parameters are mainly used for setting the feeding and retracting sequence of each shaft in each grinding process, wherein the feeding and retracting sequence comprises the feeding and retracting of a grinding wheel, the preparation position of the rapid feeding of each shaft and the stop position after the rapid feeding of each shaft.
9. The system of claim 1, wherein the polishing process module further comprises an editing function for allowing a user to change the polishing sequence by increasing, decreasing or adjusting the polishing sequence after the polishing sequence and the polishing parameters of each polishing type are set.
10. The system of claim 1, wherein the 3D simulation module further comprises a measurement function for measuring the dimensions of the simulated profile of the part.
CN201910446290.5A2018-09-262019-05-27 Grinding process control system applicable to grinding machinesActiveCN110948373B (en)

Applications Claiming Priority (2)

Application NumberPriority DateFiling DateTitle
TW107133705ATWI704978B (en)2018-09-262018-09-26 Computer programming products that can be applied to the grinder
TW1071337052018-09-26

Publications (2)

Publication NumberPublication Date
CN110948373Atrue CN110948373A (en)2020-04-03
CN110948373B CN110948373B (en)2021-05-28

Family

ID=69975479

Family Applications (1)

Application NumberTitlePriority DateFiling Date
CN201910446290.5AActiveCN110948373B (en)2018-09-262019-05-27 Grinding process control system applicable to grinding machines

Country Status (2)

CountryLink
CN (1)CN110948373B (en)
TW (1)TWI704978B (en)

Citations (11)

* Cited by examiner, † Cited by third party
Publication numberPriority datePublication dateAssigneeTitle
JP2000310590A (en)*1999-04-262000-11-07Super Silicon Kenkyusho:KkMethod for evaluating slurry for slicing and slurry
CN1369355A (en)*2001-01-312002-09-18株式会社拓普康Lapping liquid feeder of lens abrasive working appts
CN1452036A (en)*2002-04-162003-10-29山崎马扎克株式会社Three-D linear processing device
US20050106998A1 (en)*2003-11-172005-05-19Wen-Jong LinMethod of determining shape data
CN1677292A (en)*2004-03-312005-10-05山崎马扎克公司Method and device for generation of machining program
CN101134296A (en)*2006-09-012008-03-05鼎维工业股份有限公司Man-machine interface of multi-axial tool grinder NC program code generation software
JP4461371B2 (en)*2004-08-062010-05-12マツダ株式会社 Machining condition setting method of machine tool, machining condition setting program thereof, and recording medium recording the machining condition setting program
TWI399626B (en)*2010-03-012013-06-21
CN103889655A (en)*2011-11-072014-06-25信越半导体株式会社Double-sided polishing method
TWI448357B (en)*2009-07-172014-08-11Hon Hai Prec Ind Co LtdMethod for grinding cutting tools and grinding machine
CN105209992A (en)*2013-05-152015-12-30三菱电机株式会社Numerical-control-machining-program creation device

Family Cites Families (1)

* Cited by examiner, † Cited by third party
Publication numberPriority datePublication dateAssigneeTitle
TWI625615B (en)*2016-11-292018-06-01財團法人工業技術研究院Prediction model building method and associated predicting method and computer software product

Patent Citations (11)

* Cited by examiner, † Cited by third party
Publication numberPriority datePublication dateAssigneeTitle
JP2000310590A (en)*1999-04-262000-11-07Super Silicon Kenkyusho:KkMethod for evaluating slurry for slicing and slurry
CN1369355A (en)*2001-01-312002-09-18株式会社拓普康Lapping liquid feeder of lens abrasive working appts
CN1452036A (en)*2002-04-162003-10-29山崎马扎克株式会社Three-D linear processing device
US20050106998A1 (en)*2003-11-172005-05-19Wen-Jong LinMethod of determining shape data
CN1677292A (en)*2004-03-312005-10-05山崎马扎克公司Method and device for generation of machining program
JP4461371B2 (en)*2004-08-062010-05-12マツダ株式会社 Machining condition setting method of machine tool, machining condition setting program thereof, and recording medium recording the machining condition setting program
CN101134296A (en)*2006-09-012008-03-05鼎维工业股份有限公司Man-machine interface of multi-axial tool grinder NC program code generation software
TWI448357B (en)*2009-07-172014-08-11Hon Hai Prec Ind Co LtdMethod for grinding cutting tools and grinding machine
TWI399626B (en)*2010-03-012013-06-21
CN103889655A (en)*2011-11-072014-06-25信越半导体株式会社Double-sided polishing method
CN105209992A (en)*2013-05-152015-12-30三菱电机株式会社Numerical-control-machining-program creation device

Also Published As

Publication numberPublication date
TW202012099A (en)2020-04-01
CN110948373B (en)2021-05-28
TWI704978B (en)2020-09-21

Similar Documents

PublicationPublication DateTitle
US9573202B2 (en)Workpiece machining method, machine tool, tool path-generating device and tool path-generating program
JP6719790B1 (en) Automatic operation device for machining center based on CAD data
JP7004262B2 (en) Grinding wheel feedback dressing system and method
KR20140115371A (en)Workpiece machining surface display method, workpiece machining surface display device, tool path generation device and workpiece machining surface display program
CN105538097B (en)A kind of furniture surface technique for grinding for production line of being polished based on full-automatic machine people
CN112170864B (en) A kind of turning machining method of workpiece with equidistant profile
CN107407926B (en) Tool path generation method and tool path generation device
CN110948373B (en) Grinding process control system applicable to grinding machines
CN105700471A (en)Secondary correction method of aircraft skin numerical control machining program
CN105700469A (en)Cutter location point solving method oriented to triangular mesh curved surface numerical control processing
CN113574481A (en) Method and apparatus for cycle-based programming of control programs for numerically controlled machine tools
JP3440528B2 (en) 3D model creation method
PETER et al.COMPARISON OF PROGRAMMING PRODUCTION OF THIN WALLED PARTS USING DIFFERENT CAM SYSTEMS.
CN114453836B (en)Method for processing J-shaped groove of series tube seat holes on thin-wall irregular spherical sealing head
JP7338339B2 (en) Spectacle lens processing device, spectacle lens processing method, and spectacle lens processing program
Stănăşel et al.Reverse engineering and CAD-CAM approach for manufacturing of spare parts. Case study
CN106354099A (en)Numerical control processing, modeling and implementing method of yellow mud drum national handcraft
JP2005169581A (en)Grooving method, grooving device, and method of preparing numerical control program for grooving
JP2018075711A (en)Gear machining method, system and device
JPH0631591A (en)Preparation of transfer passage for nc working tool
CN119087919B (en)Machining tool path control method
CN105921953B (en)The numerical-control processing method of more curved face type tires
CN102650863B (en) The Method of Importing CAD Files to Generate CNC Program Code of Spinning Machine
US20200033634A1 (en)Spectacle lenses and methods for producing the same from a single semi finished lens
Hoesen et al.Novrinaldi; Hanifah, U.; Rofik, NA A CNC Turning Process Simulation for a Polygonal Shaft Using CAM ESPRIT Software. Eng. Proc. 2024, 63, 20

Legal Events

DateCodeTitleDescription
PB01Publication
PB01Publication
SE01Entry into force of request for substantive examination
SE01Entry into force of request for substantive examination
GR01Patent grant
GR01Patent grant

[8]ページ先頭

©2009-2025 Movatter.jp