Movatterモバイル変換


[0]ホーム

URL:


CN110934598A - Blood oxygen probe - Google Patents

Blood oxygen probe
Download PDF

Info

Publication number
CN110934598A
CN110934598ACN201811114148.2ACN201811114148ACN110934598ACN 110934598 ACN110934598 ACN 110934598ACN 201811114148 ACN201811114148 ACN 201811114148ACN 110934598 ACN110934598 ACN 110934598A
Authority
CN
China
Prior art keywords
clamping
clamping body
blood oxygen
section
fixing
Prior art date
Legal status (The legal status is an assumption and is not a legal conclusion. Google has not performed a legal analysis and makes no representation as to the accuracy of the status listed.)
Pending
Application number
CN201811114148.2A
Other languages
Chinese (zh)
Inventor
徐子千
杨崧
焦坤
Current Assignee (The listed assignees may be inaccurate. Google has not performed a legal analysis and makes no representation or warranty as to the accuracy of the list.)
Shenzhen Mairui Technology Co Ltd
Shenzhen Mindray Bio Medical Electronics Co Ltd
Shenzhen Mindray Scientific Co Ltd
Original Assignee
Shenzhen Mairui Technology Co Ltd
Shenzhen Mindray Bio Medical Electronics Co Ltd
Priority date (The priority date is an assumption and is not a legal conclusion. Google has not performed a legal analysis and makes no representation as to the accuracy of the date listed.)
Filing date
Publication date
Application filed by Shenzhen Mairui Technology Co Ltd, Shenzhen Mindray Bio Medical Electronics Co LtdfiledCriticalShenzhen Mairui Technology Co Ltd
Priority to CN201811114148.2ApriorityCriticalpatent/CN110934598A/en
Publication of CN110934598ApublicationCriticalpatent/CN110934598A/en
Pendinglegal-statusCriticalCurrent

Links

Images

Classifications

Landscapes

Abstract

The invention provides a blood oxygen probe which is used for being clamped on a finger head to measure the oxygen saturation of blood, and is characterized by comprising a clamping head and an adjusting part, wherein the clamping head comprises a first clamping body and a second clamping body which are oppositely arranged, and the adjusting part is assembled on the clamping head and used for adjusting the clamping force between the first clamping body and the second clamping body. This application blood oxygen probe is through adopting the regulation part is adjusted first clamping body with clamp force between the second clamping body can adjust the clamp force according to the size of finger in the measurement process, can not press from both sides too tightly, also can not press from both sides too pine, has not only improved the comfort level of patient's blood oxygen measurement in-process, has still improved the measuring degree of accuracy.

Description

Blood oxygen probe
Technical Field
The invention relates to the field of medical instruments, in particular to a blood oxygen probe.
Background
The blood oxygen saturation is one of the important basic data in clinical medical treatment, and is an important physiological parameter reflecting the respiratory function of a human body and whether the oxygen content in blood is normal or not. By measuring the blood oxygen saturation, the blood oxygen content of the patient can be known in time, the health state of the patient is monitored, and the method has great clinical value.
Currently, medical staff mainly adopt a finger clip type blood oxygen sensor to measure the blood oxygen saturation of a human body. Adopt and indicate double-layered formula blood oxygen sensor to measure oxyhemoglobin saturation's in-process, mainly rely on the torsional spring among the sensor structure to provide the clamping force, because the clamping force that presss from both sides the spring and provide is adjustable, because the clamping force that the torsional spring provided is adjustable, too tightly can cause the crushing wound, too pine causes the sensor to drop again easily, causes the measurement structure inaccurate, has brought very big difficulty for blood oxygen measurement process.
Disclosure of Invention
The invention aims to provide a blood oxygen probe which can adjust clamping force and improve the comfort level and the accuracy of the test.
This application blood oxygen probe includes clamping head and adjustment portion, the clamping head is including the relative first clamping body and the second clamping body that sets up, the adjustment portion assemble in on the clamping head, be used for adjusting first clamping body with clamping-force between the second clamping body.
Wherein the adjusting part includes a binding band wound around the first clamping body and the second clamping body to adjust a clamping force between the first clamping body and the second clamping body.
The adjusting portion comprises two limiting arms, a first locking body and a second locking body, one ends of the limiting arms are respectively arranged on two opposite sides of the first clamping body or the second clamping body, the other ends of the limiting arms are respectively provided with the first locking body, the second clamping body or two opposite sides of the first clamping body are provided with the second locking body, and the first locking body and the second locking body are detachably locked.
The adjusting part comprises a plurality of adjusting positions and a control ring, the adjusting positions are sequentially arranged on the surface, deviating from the second clamping body, of the first clamping body, the control ring is arranged on the second clamping body, or the control ring is arranged on the surface, deviating from the second clamping body, of the first clamping body, the adjusting positions are sequentially arranged on the second clamping body, and the control ring is clamped on any adjusting position to adjust the clamping force of the clamping head.
The bandage comprises two opposite connecting ends, the adjusting portion further comprises a rotating shaft, the rotating shaft is rotatably assembled on the surface, deviating from the first clamping body, of the second clamping body or the surface, deviating from the second clamping body, of the first clamping body, the two connecting ends of the bandage are respectively fixed on the rotating shaft, and the bandage is driven to be locked or unfolded when the rotating shaft rotates.
Wherein the adjusting part includes an adjusting knob which is fitted on the rotating shaft to adjust the rotating shaft to rotate.
The binding band comprises a winding section and a fixing section, wherein the fixing section extends from one end of the winding section, the winding section is wound on the first clamping body and the second clamping body, and the fixing section is at least partially wound on the winding section.
Wherein the strap includes a fastener for detachably locking the securing section to the wrapping section.
The winding section is provided with a through ring, and the fixing section penetrates through the through ring to be locked with the winding section.
Wherein, blood oxygen probe includes the cable fixed band, the cable fixed band be used for with blood oxygen probe's wire is fixed in the wrist.
This application blood oxygen probe is through adopting the regulation part is adjusted first clamping body with clamp force between the second clamping body can adjust the clamp force according to the size of finger in the measurement process, can not press from both sides too tightly, also can not press from both sides too pine, has not only improved the comfort level of patient's blood oxygen measurement in-process, has still improved the measuring degree of accuracy.
Drawings
In order to more clearly illustrate the embodiments of the present invention or the technical solutions in the prior art, the drawings used in the description of the embodiments or the prior art will be briefly described below, it is obvious that the drawings in the following description are only some embodiments of the present invention, and for those skilled in the art, other drawings can be obtained according to the drawings without creative efforts.
Fig. 1 is a schematic diagram of the structure of the blood oxygen probe of the present application.
Fig. 2 is a schematic structural diagram of a first embodiment of the blood oxygen probe according to the present application.
Fig. 3 is a schematic structural view of the strap and the rotating shaft of the blood oxygen probe shown in fig. 2.
Fig. 4 is a schematic structural diagram of a second embodiment of the blood oxygen probe according to the present application.
Fig. 5 is a schematic diagram of the structure of the strap of the first embodiment of the blood oxygen probe shown in fig. 4.
Fig. 6 is a schematic diagram of the structure of the strap of the second embodiment of the blood oxygen probe shown in fig. 4.
Fig. 7 is a schematic view of the structure of the strap of the third embodiment of the blood oxygen probe shown in fig. 4.
Fig. 8 is a schematic structural diagram of a fourth embodiment of the blood oxygen probe shown in fig. 4.
Fig. 9 is a schematic view of the structure of the strap in the blood oxygen probe shown in fig. 8.
Fig. 10 is a schematic structural diagram of a fifth embodiment of the blood oxygen probe shown in fig. 4.
Fig. 11 is a schematic structural diagram of a sixth embodiment of the blood oxygen probe shown in fig. 4.
Fig. 12 is a schematic diagram of another embodiment of the blood oxygen probe shown in fig. 11.
Fig. 13 is a schematic structural diagram of a third embodiment of the blood oxygen probe according to the present application.
Fig. 14 is a schematic structural diagram of a fourth embodiment of the blood oxygen probe according to the present application.
Fig. 15 is a schematic sectional view of the holder of the blood oxygen probe shown in fig. 1.
Fig. 16 is a schematic cross-sectional view of the first and second leads of the blood oxygen probe of fig. 1 in the first chamber.
Fig. 17 is a schematic structural diagram of a light shielding sheet in the blood oxygen probe shown in fig. 1.
Fig. 18 is a schematic structural diagram of a cable fixing strap in the blood oxygen probe according to the present application.
Detailed Description
The technical solutions in the embodiments of the present invention will be clearly and completely described below with reference to the drawings in the embodiments of the present invention, and it is obvious that the described embodiments are only a part of the embodiments of the present invention, and not all of the embodiments. All other embodiments, which can be derived by a person skilled in the art from the embodiments given herein without making any creative effort, shall fall within the protection scope of the present invention.
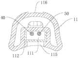
Referring to fig. 1, the present invention provides ablood oxygen probe 100, which is clamped on the finger (finger or toe) of a patient to measure the blood oxygen saturation of the patient.Blood oxygen probe 100 includes a holder head 10 and an adjustment portion (not shown). The clamping head 10 includes afirst clamping body 11 and asecond clamping body 12 which are oppositely disposed, and an adjusting portion is assembled on the clamping head 10 to adjust a clamping force between thefirst clamping body 11 and thesecond clamping body 12.Blood oxygen probe 100 further includes a light emitter (not shown) and a light receiver (not shown). The light emitter is embedded in thefirst holder 11 and emits light to the finger between thefirst holder 11 and thesecond holder 12, and thelight receiver 20 is embedded in thesecond holder 12 and receives light passing through the finger. It should be noted that the light emitted from the light emitter is received by the light receiver after passing through the finger, and converted into an electrical signal to be transmitted to the monitor, so that the monitor calculates the blood oxygen saturation level in the blood of the patient according to the absorption amount of the light.
When utilizing this applicationblood oxygen probe 100 to carry out blood oxygen measurement, the finger is put into betweenfirst clamping body 11 and thesecond clamping body 12, and the regulation part is through the size of adjusting the angle between first clampingbody 11 and thesecond clamping body 12 in order to adjust elasticitycentre gripping chamber 14, and then adjusts the clamping-force of clamping head 10 to the finger, until pressing from both sides the finger tightly in elasticitycentre gripping chamber 14. This applicationblood oxygen probe 100 can adjust the clamp force according to the size of finger through adopting the clamping force between first clampingbody 11 and thesecond clamping body 12 of regulating part regulation, can not press from both sides too tightly in the measurement process, also can not press from both sides too pine, has not only improved the comfort level of patient's blood oxygen measurement in-process, has still improved the measuring degree of accuracy.
In this application, the clamping head 10 is made by soft materials such as silica gel, because silica gel is nontoxic, and has better biocompatibility with human skin, when the clamping head 10 was worn on the finger, soft silica gel increased the comfort level when the clamping head 10 centre gripping finger. Further, the gripping head 10 further comprises abending section 13 connected between the first grippingbody 11 and the second grippingbody 12. Thefirst clamping body 11, thesecond clamping body 12 and thebending section 13 enclose anelastic clamping cavity 14, theelastic clamping cavity 14 is a U-shaped cavity matched with the shape of a finger, one side of theelastic clamping cavity 14 far away from thebending section 13 is in an opening direction, and the finger enters theelastic clamping cavity 14 from the opening direction.
Referring to fig. 2, in the first embodiment of theblood oxygen probe 100 of the present application, the adjusting portion includes astrap 200, and thestrap 200 is wound around thefirst clamping body 11 and thesecond clamping body 12 to adjust the clamping force between thefirst clamping body 11 and thesecond clamping body 12. Wherein,bandage 200 is made by silica gel, not only can improvebandage 200's compliance, can also used repeatedly many times, avoids extravagant. It will be appreciated that thestrap 200 may be integrally formed with the gripping head 10 when the gripping head 10 is made of silicone. It should be noted that in other embodiments, thestrap 200 may also be made of other materials such as cloth, and may be replaced during use to avoid cross infection.
Bandage 200 includesfirst side 213, andfirst side 213 extends towards the direction of keeping away frombandage 200 haslight shield 214, andbandage 200 twines on clamping head 10, and the extending direction oflight shield 214 is opposite with the opening direction of clamping head 10 to shelter from external environment light, prevent that external environment light from getting into in the elasticitycentre gripping chamber 14. Specifically, the light-shielding sheet 214 includes two sub light-shielding sheets, and when thebinding band 200 is wound around the clamping head 10, the two sub light-shielding sheets are arranged oppositely, and the distance between the two sub light-shielding sheets gradually decreases along the extending direction of the light-shielding sheet 214, that is, the two sub light-shielding sheets are in a folded state, so as to improve the light-shielding effect. It should be noted that, when thestrap 200 is not yet assembled to the holder 10, the two sub-light shielding sheets tend to close each other, and the width of the opening between the two sub-light shielding sheets is smaller than the width of theblood oxygen probe 100. Whenbandage 200 assembles on the clamping head 10, two sub-gobo pieces can laminate completely in the both sides of clamping head 10 to when makingbandage 200 assemble on clamping head 10,gobo piece 214 wraps up the both sides in elasticity centre gripping chamber completely, and furthest realizes the separation to the external light who comes from three directions in clamping head 10 rear, top and below, improves blood oxygen measurement's precision. When the holding head 10 holds fingers of different thickness, the two sub light shields will change according to the change of the opening angle of theblood oxygen probe 100, and always keep the state of being attached to the outer surface of the holding head 10, so as to achieve the effect of light shielding. It can be appreciated that compared with the design of the light shielding structure directly on the clamping head 10, the present application designs thelight shielding sheet 214 on thestrap 200 to make theblood oxygen probe 100 have better air permeability, which increases the wearing comfort.
Thefirst clamping body 11 comprises asecond face 114 facing away from thesecond clamping body 12. Thesecond surface 114 is provided with agroove 116, the width of thegroove 116 is not less than the width of thebinding band 200, and the part of thebinding band 200 wound on thefirst clamping body 11 is positioned in thegroove 116 to limit thebinding band 200 and prevent thebinding band 200 from deviating. It is to be understood that the portion of theband 200 located in thegroove 116 is non-detachably or detachably fitted to thefirst clamping body 11, which is not particularly limited in the present application. The non-detachable manner includes integrally forming the band with thefirst clamping body 11 or fixing the band with thefirst clamping body 11 in thegroove 116 by gluing, etc. to increase the stability between theband 200 and thefirst clamping body 11. The detachable mode includes using a hook and loop fastener or a snap fastener or directly sleeving thehidden groove 116 to facilitate the replacement of thebinding band 200.
The surface of thesecond clamping body 12 facing away from thefirst clamping body 11 is convexly provided with apositioning ring 125, thebandage 200 passes through thepositioning ring 125 to be wound on thesecond clamping body 12 and thefirst clamping body 11, thepositioning ring 125 defines and fixes thebandage 200, and thebandage 200 is prevented from being displaced and falling off. Specifically, thepositioning ring 125 is located at one end of thesecond clamping body 12 near the bendingsection 13, and the width of thepositioning ring 125 is not less than the width of thebinding band 200, so that thebinding band 200 can easily pass through thepositioning ring 125. Further, a retainingring 125 is disposed in correspondence with thegroove 116 to retain thestrap 200 together. In this embodiment, thepositioning ring 125 is integrally formed with the mountingseat 121. It is understood that in other embodiments of theblood oxygen probe 100 of the present application, thepositioning ring 125 may also be integrally formed with thesecond holding body 12, which effectively ensures the connection stability between thepositioning ring 125 and thesecond holding body 12.
Referring to fig. 3, in the present embodiment, the adjusting portion further includes arotating shaft 202, therotating shaft 202 is rotatably mounted on a surface of thesecond clamping body 12 facing away from thefirst clamping body 11 or a surface of thefirst clamping body 11 facing away from thesecond clamping body 12, two connectingends 201 of thebinding band 200 are respectively fixed on therotating shaft 202, and thebinding band 200 is driven to be locked or expanded when therotating shaft 202 rotates. Specifically, two connecting ends 21 are provided at opposite ends of theband 200, theband 200 includes aninner surface 203 and anouter surface 204 which are oppositely disposed, theband 200 is wound around the holder 10, and theinner surface 203 is attached to the surface of the holder 10. Theinner surface 203 comprises afirst fixing area 203a on one connectingend 201, theouter surface 203 comprises asecond fixing area 204a on the other connectingend 201, and thefirst fixing area 203a and thesecond fixing area 204a are fixed on therotating shaft 202 at intervals so as to enable therotating shaft 202 to drive the bindingband 200 to be locked or expanded when rotating. In the present embodiment, when therotating shaft 202 rotates clockwise, thestrap 200 is loosened, and when therotating shaft 202 rotates counterclockwise, thestrap 200 is tightened.
The adjusting portion further includes an adjustingknob 205, and the adjustingknob 205 is fitted to therotation shaft 202 to adjust the rotation of therotation shaft 202. Specifically, therotating shaft 202 is rotatably fitted on thepositioning ring 125 of thesecond clamping body 12. Further, therotating shaft 202 includes a first end and a second end, which are oppositely disposed, the first end is rotatably assembled in thepositioning ring 125, the second end extends out of thepositioning ring 125, and the adjustingknob 202 is fixed on the outer surface of the second end, so that therotating shaft 202 is rotated by rotating the adjustingknob 205, thereby adjusting thebinding band 200. In this embodiment, the adjustingknob 205 is located at the end of therotation shaft 202 away from the opening of theelastic clamping cavity 14, so that when the finger is located in theelastic clamping cavity 14, the adjustingknob 205 will not press the skin near the finger.
Referring to fig. 4, in the second embodiment of theblood oxygen probe 100 of the present embodiment, the difference from the first embodiment is that thestrap 200 includes a windingsection 210 and afixing section 220 extending from one end of the windingsection 210. The windingsection 210 is wound around the outer surface of the gripping head 10, and thefixing section 220 is at least partially wound around the windingsection 210. Specifically, the windingsection 210 includes afirst surface 211 and asecond surface 212 that are oppositely disposed. When the windingsection 210 is wound around the gripping head 10, thefirst surface 211 is attached to the outer surface of the gripping head 10. The fixingsection 220 includes athird surface 221 located on the same surface as thefirst surface 211, and when the fixingsection 220 is wound on the windingsection 210, thethird surface 221 is attached to thesecond surface 212. Wherein, the windingsection 210 and thefixing section 220 are integrally formed by silica gel. It will be appreciated that thestrap 200 may be integrally formed with the gripping head 10 when the gripping head 10 is also made of silicone.
It will be appreciated that in other embodiments ofstrap 200 of the present embodiment, wrappingsection 210 includes a U-shaped cavity that receives gripping head 10. Specifically,first surface 211 is the surface matched with U profile with the surface of holding head 10, when usingbandage 200, can directly overlap windingsection 210 at the surface of holding head 10, again with the windingsection 220 winding on windingsection 210, realizebandage 200 and holding head 10's rapid Assembly, improve work efficiency.
Furthermore, the surface of the windingsection 210 attached to the clamping head 10 is provided with twoprotrusions 215 arranged at intervals, and when the windingsection 210 is wound on the clamping head 10, the twoprotrusions 215 are respectively accommodated at two opposite sides of theelastic clamping cavity 14 in the clamping head 10 so as to fix the fingers in theelastic clamping cavity 14, thereby increasing the wearing stability of the clamping head 10. Specifically, twoprotrusions 215 are disposed on thefirst surface 211, and when the windingsection 210 is wound on the clamping head 10, the twoprotrusions 215 are disposed on two sides of theelastic clamping cavity 14, respectively. When the measured finger is thin, the twoprotrusions 215 play a role in reducing theelastic clamping cavity 14, so that the finger is fixed in theelastic clamping cavity 14, the finger is prevented from deviating, and the phenomena of light fleeing and falling of the clamping head 10 are reduced. It should be understood that cross-talk is the light from the light emitter in thefinger oximeter probe 100 that is reflected directly through the wall of theflexible clamping chamber 14 into thelight receiver 20 without passing through the finger, and thus affects the result of blood oximetry measurement.
Preferably, theprotrusion 215 is a hollow structure, so that when a finger is placed in theelastic clamping cavity 14, theprotrusion 215 can avoid crushing the finger, and when thehollow protrusion 215 is deformed by being squeezed, the contact area between the finger and theelastic clamping cavity 14 can be increased, the friction force is increased, and the risk that the finger falls off when the clamping head 10 is worn on the finger is further reduced. It is understood that in other embodiments of the present application, the cavity of theprotrusion 215 may be filled with an elastic filler such as cotton, so that theprotrusion 215 has a solid structure and can also function as an elastic fixing finger. It should be noted that, a plurality ofprotrusions 215 may also be disposed on thefirst surface 211, and when the windingsection 210 is wound around the clamping head 10, the plurality ofprotrusions 215 are symmetrically distributed on two sides of theelastic clamping cavity 14, so as to prevent fingers in theelastic clamping cavity 14 from deviating.
The fixingsection 220 is connected with the windingsection 210. Securingsegment 220 includes alayer 223 of tensile material to protectband 200 and preventband 200 from deforming with multiple uses, thereby increasing the life ofband 200. Specifically,tensile material layer 223 is disposed onthird surface 221, andtensile material layer 223 is made of a soft nylon material or other cloth material, so as to ensure the overall flexibility ofband 200 to the maximum extent without increasing the hardness ofband 200. It is understood that the tensile material layer is fixed on thethird surface 221 by gluing or other means, which is not particularly limited in this embodiment. In other embodiments of the present embodiment, thetensile material layer 223 may also be disposed on thefourth surface 222, or formed in the middle of the fixingsegment 220 by silicone molding or injection molding, so as to form a sandwich-like structure.
Further, thestrap 200 includes a fastener for detachably fastening thefastening section 220 to the windingsection 210.
Referring to fig. 5, in an embodiment of the present embodiment, the fixing element is a Hook and Loop fastener, the Hook and Loop fastener includes aHook surface 231a and aHook surface 231b, theHook surface 231b and theHook surface 231a are respectively disposed on the windingsection 210 and thefixing section 220, that is, the windingsection 210 and thefixing section 220 are combined by using the principle that the Hook and Loop fastener can be repeatedly attached and used. It should be noted that "respectively disposed" herein does not limit the order of the disposed positions, that is, the description that thehook surface 231b and theblank surface 231a are respectively disposed on the windingsection 210 and thefixing section 220 does not limit the specific positions of thehook surface 231b and theblank surface 231a, that is, thehook surface 231b may be disposed on the windingsection 210 or thefixing section 220, and theblank surface 231a is correspondingly disposed on thefixing section 220 or the windingsection 210.
It is understood that theloop surface 231a of the hook and loop fastener is a fine and soft fiber surface, and when theloop surface 231a is provided on theband 200, the softness of theband 200 is not affected. Thehook surface 231b is provided on thethird surface 221, and thehook surface 231b is a hard and barbed surface, and in order to reduce the influence of thehook surface 231b on the flexibility of theband 200, thehook surface 231b includes a plurality ofsub-hook surfaces 231c arranged at intervals. It should be noted that in other embodiments, the hair side may also include a plurality of sub-hair sides spaced apart to further increase the flexibility of thestrap 200.
In the present embodiment, the roughenedsurface 231a is provided on thesecond surface 212. Specifically, therough surface 231a partially covers thesecond surface 212, and therough surface 231a is disposed at an end of thesecond surface 212 facing away from the fixingsection 220. Further, thetextured surface 231a includes a first end a1 and a second end (not shown) disposed opposite to each other. The first end a1 is located at the end of thetextured surface 231a facing away from the fixedsegment 220 and the second end is located at the end of thetextured surface 231a facing the fixedsegment 220. It should be noted that, in other embodiments, therough surface 231a may also be completely laid on thesecond surface 212, and a user may adjust the area ratio of therough surface 231a on thesecond surface 212 according to different requirements, which is not limited in this embodiment.
Thehook surface 231b is disposed on thethird surface 221. Specifically, thehook surface 231b is located at one end of thethird surface 221 away from the windingsection 210, so that no excess part of the fixingsection 220 is not wound on theblood oxygen probe 100 after thehook surface 231b is attached to thehair surface 231a, thereby improving the smoothness during use. When thesub-hook surface 231c farthest from the windingsection 210 is attached to the first end a1, the area enclosed by thebinding band 200 is the largest, and the size of theelastic clamping cavity 14 in the clamping head 10 is the largest, that is, theelastic clamping cavity 14 can clamp the thickest finger. When thesub-hook surface 231c nearest to the windingsection 210 is engaged with the second end, the area enclosed by theband 200 is the smallest, and the size of theelastic clamping cavity 14 of the clamping head 10 is the smallest, that is, theelastic clamping cavity 14 can clamp the finest finger. In other embodiments, thehook surface 231b may also be disposed at an end of thethird surface 221 facing the windingsection 210, and a receiving ring is additionally disposed on thesecond surface 212, so that after thehook surface 231b is attached to thehair surface 231a, a portion of the fixingsection 220 that is not wound on theblood oxygen probe 100 is received by the receiving ring, which may also improve the smoothness during use.
It is understood that, in other embodiments, thehook surface 231b may also be disposed on thesecond surface 212, and therough surface 231a is correspondingly disposed on thethird surface 221, and the detachable combination between the windingsection 210 and thefixing section 220 can also be achieved, and other specific structures of thebinding band 200 are similar to those of the above embodiments, and will not be described herein again.
Referring to fig. 6, in a second embodiment of the present embodiment, the difference from the first embodiment is that the fixing member includes a fixingring 232, the fixingring 232 is disposed on the surface of the windingsection 210 or thefixing section 220, the fixingring 232 is used for thefixing section 220 or the windingsection 210 to pass through, and the height of the inner ring in the fixingring 232 is less than or equal to the thickness of the fixingsection 220 or the windingsection 210. The fixingring 232 and thebinding band 200 are integrally formed, and the friction force between the silicone rubber and the fixingring 232 is large, so that when the fixingsection 220 or the windingsection 210 penetrates through the fixingring 232, the fixingsection 220 or the windingsection 210 is tightened in the fixingring 232 by the friction force generated between the fixingsection 220 and the windingsection 210, namely, the principle that the windingsection 210 and thefixing section 220 are locked by the friction force is combined. Note that the height of the inner ring in the fixingring 232 refers to the distance between the inner wall of the inner ring of the fixingring 232 disposed opposite to theband 200 and theband 200.
In this embodiment, the fixingring 232 is disposed on thesecond surface 212 of the windingsection 210, and when the fixingsection 220 passes through the fixingring 232, a friction force is generated between the fixingring 232 and the fixingring 232 to lock thefixing section 220 in the fixingring 232. It should be noted that, in other embodiments, the fixingring 232 may be multiple, the fixing rings 232 are disposed on thesecond surface 212 at intervals, and thefixing section 220 sequentially passes through the fixing rings 232 to increase friction force and improve the bonding force between the fixingsection 220 and the windingsection 210. It can be understood that, as long as the width of onefixing ring 232 is smaller than the width of the fixingsection 220, the friction locking structure between the fixingsection 220 and the windingsection 210 can be realized, and the rest fixing rings 232 can accommodate the redundant parts of the fixingsection 220, so as to improve the neatness of the binding band in the using process.
Referring to fig. 7, in the third embodiment of the present embodiment, the difference from the two embodiments is that the fixing member includes abuckle 233a and a plurality of first throughholes 233b, thebuckle 233a and the plurality of first throughholes 233b are respectively disposed on the windingsection 210 and thefixing section 220, and thebuckle 233a can be clamped with the first throughholes 233 b. Thebuckle 233a and thebinding band 200 are integrally formed, thebuckle 233a includes a clampingend 233c facing away from thebinding band 200, and the clampingend 233c is larger than the first throughhole 233b, so that after thebuckle 233a passes through the first throughhole 233b, the clamping end 215b cannot easily pass through the first throughhole 233b to cause thefixing section 220 to fall off from the windingsection 210, thereby ensuring the combination stability between the fixingsection 220 and the windingsection 210. It will be appreciated that in other embodiments, the clasp could be fitted to the strap rather than being integrally formed with the strap.
In this embodiment, thelatch 233a is disposed on thesecond surface 212, and the plurality of first throughholes 233b are disposed on thefixing section 220. When thebuckle 233a passes through the first throughhole 233b closest to the windingsection 211, the area enclosed by theband 200 is the smallest, and at this time, the size of theelastic clamping cavity 14 in the clamping head 10 is the smallest, that is, theelastic clamping cavity 14 can clamp the finest finger; when thesnap 233a passes through the first throughhole 233b farthest from the windingsection 211, the area surrounded by theband 200 is smallest, and the size of theelastic grip cavity 14 in the grip head 10 is largest, that is, the state where theelastic grip cavity 14 can grip the thickest finger.
Further, the fixing member further includes a receivingring 233d, and the receivingring 233d is located between thecatch 233a and the plurality of first throughholes 233b to receive the fixing section. After the first throughhole 233b of the fixingsection 220 is fastened to thebuckle 233a, the remaining portion of the fixingsection 220 passes through the receivingring 233d so that the fixingsection 220 is entirely wound around the windingsection 210, thereby improving the smoothness of theband 200 during use. It can be understood that when the height of the inner ring of the receivingring 233d is less than the thickness of the fixingsegment 220, when the fixingsegment 220 passes through the receivingring 233d, friction is generated between the two, increasing the coupling force between the fixingsegment 220 and the windingsegment 210.
It is understood that in other embodiments, thelatch 233a may be disposed on thethird surface 221 of the fixingsection 220, the plurality of first throughholes 233b are correspondingly disposed on the windingsection 210, and when thelatch 233a is engaged with the first throughholes 233b, the holdingend 233c of thelatch 233a is held against the surface of the clamping head 10, so as to achieve the detachable connection between the windingsection 210 and thefixing section 220. In view of the fact that the structure of the other portion between the windingsection 210 and thefixing section 220 in this embodiment is similar to that in the above embodiment, it will not be described herein too much.
Referring to fig. 8, in the fourth embodiment of the present embodiment, the difference from the three embodiments is that a throughring 234 is disposed on the windingsection 210, and thefixing section 220 passes through the throughring 234 and is locked with the windingsection 210. The throughring 234 penetrates through thefirst surface 211 and thesecond surface 212, and the width of the throughring 234 is not smaller than that of the fixingsection 220, so that the fixingsection 220 can conveniently wind on the windingsection 210 after passing through the throughring 234 from thefirst surface 211. It is understood that the width of the throughring 234 may also be slightly smaller than the width of the fixingsegment 220, so that when the fixingsegment 220 passes through the throughring 234, a friction force is generated between the fixingsegment 220 and the windingsegment 210, thereby ensuring the stability of the combination between the fixingsegment 220 and the windingsegment 210. It should be noted that the shape of the through-ring 234 in this embodiment may be square, circular, or elliptical, as long as the fixingsegment 220 can pass through the through-ring 234.
Referring to fig. 9, in the present embodiment, when the fixingsegment 220 passes through the throughring 234 and is wound on the windingsegment 210, thethird surface 221 of the fixingsegment 220 is attached to thesecond surface 212. Further, a throughring 234 is disposed at an end of the windingsection 210 facing away from the fixingsection 220. It should be noted that in the present embodiment, the fixingsection 220 is completely wound around the windingsection 210 to ensure the smoothness of thestrap 200 during use. It is understood that in other embodiments, the throughring 234 may be disposed at other positions of the windingsection 210, and a receiving ring may be disposed at a position of thesecond surface 212 close to thefixing section 220 to improve the cleanliness. It should be noted that, in the present embodiment, the specific structure of the fixing member includes, but is not limited to, the cases listed in the first to third embodiments, so that the fixingsection 220 is detachably mounted on the windingsection 210. Since the specific structure of thestrap 200 is the same as that described in the above three embodiments in the case of different fasteners, it will not be described in detail.
Referring to fig. 10, a fifth embodiment of the present embodiment is different from the fourth embodiment in that the fixingsection 220 includes afourth surface 222 disposed opposite to thethird surface 221, thefourth surface 222 and thefirst surface 211 are disposed on the same surface, and when the fixingsection 220 passes through the throughring 234 and is wound on the windingsection 210, thefourth surface 222 and thesecond surface 212 are attached to each other. To facilitate understanding of the present embodiment,band 200 of the present embodiment will be described by taking an example in whichrough surface 231a is provided onsecond surface 212 andhook surface 231b is provided onfourth surface 222.
Specifically, the roughenedsurface 231a is disposed at an end of thesecond surface 212 facing the fixingsection 220. When asub-hook surface 231c nearest to the windingsection 210 is combined with the first end a1, the area enclosed by thebinding band 200 is the smallest, and at this time, the size of theelastic clamping cavity 14 of the clamping head 10 is the smallest, that is, theelastic clamping cavity 14 can clamp the thinnest finger; when thesub-hook surface 231c farthest from the windingsection 210 is combined with the second end a2, the area enclosed by thebinding band 200 is the largest, and the size of theelastic clamping cavity 14 in the clamping head 10 is the largest, that is, theelastic clamping cavity 14 can clamp the thickest finger. It is understood that when the fixing member of the present embodiment includes the fixingring 232 or the fixing member includes thesnap 233a and the plurality of first throughholes 233b, the maximum and minimum state of the area surrounded by theband 200 is similar to the case where the fixing member includes the hook and loop fastener, which will not be described herein too much.
Referring to fig. 11, the sixth embodiment of the present invention is different from the fourth and fifth embodiments in that the windingsection 210 is partially fixed on the surface of thefirst clamping body 11 or thesecond clamping body 12. The portion of the windingsection 210 fixed to thefirst clamping body 11 or thesecond clamping body 12 may be integrally formed with the clamping head 10, or fixed to the clamping head 10 by gluing or the like.
In this embodiment, one end of the windingsection 210 far from the fixingsection 220 is fixed on the surface of thefirst clamping body 11 far from thesecond clamping body 12, and the throughring 234 extends out of thefirst clamping body 210. Specifically, one end of thefirst surface 211, which is away from the fixingsection 220, is fixed to a surface of thefirst clamping body 11, which is away from thesecond clamping body 12, the fixingsection 220 passes through the throughring 234 from thefirst surface 211 and then is wound on the windingsection 210, and thethird surface 221 is attached to thesecond surface 212. It is understood that in other embodiments, the fixingsegment 220 is wound on the windingsegment 210 through the through-ring 234, and thefourth surface 222 is attached to thesecond surface 212, as shown in fig. 12.
It should be noted that, in the present embodiment, the fixing element in thebinding band 200 may further include other structures to enable the windingsection 210 and thefixing section 220 to be detachably combined, and the above embodiments are only some embodiments of the present application. In addition, the windingsection 210 and thefixing section 220 can be combined together by direct knotting to wind around the outer surface of the gripping head 10, which is not listed here in view of the feasibility of the method.
Referring to fig. 13, in the third embodiment of theblood oxygen probe 100 of the present application, the difference between the two embodiments is that the adjusting portion includes two limitingarms 235, a first locking body and a second locking body, one end of each of the two limitingarms 235 is respectively disposed on two opposite sides of thefirst clamping body 11 or thesecond clamping body 12, the other end of each of the two limitingarms 235 is disposed with a first locking body, two opposite sides of thesecond clamping body 12 or thefirst clamping body 11 are disposed with a second locking body, and the first locking body and the second locking body are detachably locked. Specifically, the adjusting part further includes a main body (not shown) connected between the twostopper arms 235, the main body being assembled to thefirst clamping body 11 or thesecond clamping body 12,
in one embodiment of this embodiment, the body is fixed to the surface of thefirst clamping body 11 facing away from thesecond clamping body 12, and the twostopper arms 235 extend out of thefirst clamping body 11. The first locking body is disposed on the surface of the limitingarm 235 facing the first holdingbody 11, and the second locking body is disposed on the surface of thesecond holding body 12 facing away from the first holdingbody 11. It can be understood that there are various locking manners of the first locking body and the second locking body, including the locking manner of the hook and loop fastener, the friction locking manner, or the locking manner of the buckle hole, which are listed in the second embodiment, and for facilitating understanding of the structure of this embodiment, the detailed description is given by taking the first locking body as therough surface 236a of the hook and loop fastener, and the second locking body as the hook andloop surface 236b of the hook and loop fastener.
Specifically, thehair surface 236a includes afront end 236c and arear end 236d which are oppositely arranged, thefront end 236c is a terminal end of thehair surface 236a extending to thesecond clamping body 12, and therear end 236d is the other end of thehair surface 236a departing from the terminal end. The outer surface of thesecond clamping body 12 opposite to the limitingarm 235 is provided with ahook surface 236b, and when thefront end 236c is attached to the end of thehook surface 236b closest to thefirst clamping body 11, the clamping head 10 can clamp the thickest finger; when therear end 236d is engaged with the end of the hook surface 236 farthest from thefirst clamping body 11, the clamping head 10 can clamp the thinnest finger. Further, thehook surface 236b may be assembled on the surface of thesecond clamping body 12 facing away from thefirst clamping body 11 by gluing or the like. Thehook surface 236b may be partially or completely laid on the surface of thesecond clamping body 12 away from thefirst clamping body 11, and a user may adaptively adjust the size of thehook surface 236b according to different requirements. It can be understood that, in this embodiment, the structures of the first locking bodies on the two limitingarms 235 may be the same or different, as long as the structures of the second locking bodies correspondingly engaged therewith are changed accordingly.
Referring to fig. 14, in the fourth embodiment of theblood oxygen probe 100 of the present embodiment, the difference from the above three embodiments is that the adjusting portion includes a plurality of adjustingpositions 237 and acontrol ring 238, the plurality of adjustingpositions 237 are sequentially arranged on the surface of the first holdingbody 11 away from thesecond holding body 12, thecontrol ring 238 is disposed on thesecond holding body 12, and thecontrol ring 238 is clamped on any one of the adjustingpositions 237 to adjust the clamping force of the holding head 10. Specifically, a plurality ofprotrusions 237a are disposed on a surface of thefirst clamping body 11 facing away from thesecond clamping body 12, an adjustingposition 237 is formed between twoadjacent protrusions 237a, and thecontrol ring 238 is held at the adjustingposition 237, i.e., thecontrol ring 238 abuts against theprotrusions 237 a. Thecontrol ring 238 comprises two oppositely disposedsupport rods 238a and a clampingrod 238b connecting the twosupport rods 238a, wherein one end of each of the twosupport rods 238a is fixed on the opposite sides of thesecond clamping body 12, and the other end of each of the twosupport rods 238a extends out of thesecond clamping body 12 and is fixedly connected with the clampingrod 238 b. When the engagingrod 238b is clamped at the adjustingposition 237 farthest from thefirst clamping body 11, the opening of the included angle between thefirst clamping body 11 and thesecond clamping body 12 is the minimum, and the state is the thinnest finger that can be clamped by the clamping head 10; when the engagingrod 238b is retained at the adjustingposition 237 closest to thefirst clamping body 11, the angle between thefirst clamping body 11 and thesecond clamping body 12 is expanded to the maximum, which is the thickest finger that can be clamped by the clamping head 10. It will be appreciated that in other embodiments, the control ring may be disposed on a surface of the first clamping body facing away from the second clamping body, and accordingly, a plurality of adjustment positions are sequentially arranged on the second clamping body, and the control ring is clamped at any one of the adjustment positions to adjust the clamping force of the clamping head.
In the present application, referring to fig. 15, afirst cavity 101 is disposed in thefirst clamping body 11 of the clamping head 10, the light emitter is accommodated in thefirst cavity 101 and emits light to theelastic clamping cavity 14, and thelight receiver 20 is embedded in thesecond clamping body 12 and receives the light emitted by the light emitter.
The surface of thefirst clamping body 11 facing thesecond clamping body 12 is provided with a first mountinggroove 111, the light emitter is fixed in the first mountinggroove 111, and the light emitter is mounted and positioned in the first mountinggroove 111 to prevent the light emitter from being displaced. Specifically, afirst cavity 101 communicated with thetransition cavity 103 is arranged in thefirst clamping body 11, the first mountinggroove 111 is communicated with thefirst cavity 101, thefirst clamping body 11 comprises a first mountingseat 112, the first mountingseat 112 is fixed on one side of thefirst cavity 101 close to theelastic clamping cavity 14, and the first mountinggroove 111 is arranged in the first mountingseat 112.
Further, thefirst clamping body 11 comprises afirst face 113 facing thesecond clamping body 12. Thefirst face 113 is shaped to fit the cover of the finger so that when the finger is positioned within the resilient grippingchamber 14, the skin adjacent the cover of the finger will fit snugly against thefirst face 113. Further, thefirst surface 113 is provided with a first mountinghole 115 communicated with the first mountinggroove 111, and when the light emitter is fixed in the first mountinggroove 111, the emitting surface of the light emitter is located in the first mountinghole 115 and flush with thefirst surface 113 so as to emit light to the fingers in theelastic clamping cavity 14. Wherein, be equipped with two light emitting component in the light emitter, a light emitting component is to the finger transmission infrared light, and another is to the red light of finger transmission, and the absorption rate to infrared light and red light is different according to the hemoglobin of oxygen-containing and the hemoglobin that does not contain oxygen finally calculates the proportion of these two kinds of hemoglobin to the blood oxygen saturation of human body is calculated.
Thefirst clamping body 11 comprises awire segment 117 facing away from thebent segment 13, and thewire segment 117 tilts towards a direction facing away from thesecond clamping body 12. Specifically, theline segment 117 extends out of thesecond clamping body 12, when some patients have upward-warped fingers or toes, the fingers are clamped in theelastic clamping cavity 14, so that the phenomenon that theline segment 117 presses the skin near the fingers can be effectively avoided, the pressure injury phenomenon is reduced, and the comfort level in the blood oxygen measurement process is improved.
Thesecond clamping body 12 is disposed opposite to thefirst clamping body 11. The surface of thesecond clamping body 12 facing thefirst clamping body 11 is provided with asecond mounting groove 121, the second mountinggroove 121 is disposed opposite to the first mountinggroove 111, thelight receiver 20 is fixed in the second mounting groove, and the second mountinggroove 122 positions thelight receiver 20 to prevent thelight receiver 20 from being displaced. Preferably, the second mountinggroove 121 is disposed opposite to the first mountinggroove 111 to ensure that theoptical receiver 20 can be aligned with the optical transmitter to accurately receive the optical signal of the optical transmitter. Specifically, a second mountingseat 122 is embedded in thesecond clamping body 12, and the second mountinggroove 121 is disposed in the second mountingseat 122.
Further, thesecond clamping body 12 includes athird face 123 facing thefirst clamping body 11. Thethird surface 123 is a U-shaped surface that fits the finger pulp of the finger so that the finger pulp fits thethird surface 123 when the finger is located in the elastic holdingcavity 14. When thelight receiver 20 is fixed in the second mountinggroove 122, the receiving surface of thelight receiver 20 is flush with thethird surface 123 to receive the light emitted from thelight emitter 20. In this embodiment, theoptical receiver 20 is opposite to theoptical transmitter 20 to accurately receive the optical signal after the light emitted from theoptical reflector 20 penetrates the finger.
It should be noted that thesecond clamping body 12 is provided with thesecond chamber 102 therein, after the second mountingseat 122 is installed in thesecond chamber 102, thelight receiver 20 is fixed in the second mountinggroove 122, and then thesecond chamber 102 is filled by glue filling, so as to fix thelight receiver 20 and the second mountingseat 122 in thesecond chamber 102, and at this time, thesecond clamping body 12 is a solid structure, which can reduce the thickness of theblood oxygen probe 100, thereby improving the compactness of theblood oxygen probe 100.
Thebent section 13 connects thefirst clamping body 11 and thesecond clamping body 12. The surface of thebending section 13 located in theelastic clamping cavity 14 is convexly provided with aprotrusion 131, theprotrusion 131 is close to thesecond clamping body 12 and is used for abutting against a finger inserted into theelastic clamping cavity 14, so that when the clamping head 10 is worn on the finger, theprotrusion 131 can be well attached to the finger abdomen, light rays emitted by the light emitter are prevented from being directly reflected to thelight receiver 20 through the cavity wall of theelastic clamping cavity 14, and the blood oxygen measurement accuracy is improved. Furthermore, atransition cavity 103 is arranged in thebending section 13, and thetransition cavity 103 is communicated with thefirst cavity 101 so as to form a buffer in the process that the finger is clamped in theelastic clamping cavity 14, thereby improving the comfort level of the clamped finger. It will be appreciated thattransition lumen 103 may also allow for routing ofoximetry probe 100 for electrical connection withoptical receiver 20.
Referring to fig. 16, a throughhole 118 is disposed in thefirst clamping body 11 and is in communication with the outside, theblood oxygen probe 100 includes a firstconductive wire 40 and a secondconductive wire 50, the firstconductive wire 40 extends into the first mountinggroove 111 from the throughhole 118 and is electrically connected to the light emitter, and the secondconductive wire 50 extends into the second mountinggroove 121 from the outside of the throughhole 118 and is electrically connected to thelight receiver 20. Specifically, the throughhole 118 is disposed on an end surface of therouting segment 117 facing away from the bendingsegment 13 and is communicated with thefirst cavity 101, thefirst wire 40 passes through thefirst cavity 101 from the throughhole 118 to the first mountinggroove 111 and is connected with the optical transmitter to transmit an electrical signal to the optical transmitter, and thesecond wire 50 passes through thefirst cavity 101 from the throughhole 118, the first mountinggroove 111, thetransition cavity 103 to the second mountinggroove 121 and is electrically connected with theoptical receiver 20 to transmit an electrical signal to theoptical receiver 20. In this embodiment, the size of the first mountinggroove 111 is larger than that of the light emitter, and the width of the light emitter is larger than the sum of the widths of the first and secondconductive wires 40 and 50. After the light emitter is placed in the first mountinggroove 111, the light emitter is fixed in the first mountinggroove 111 in a glue pouring manner, and compared with the case that thefirst wire 40 and thesecond wire 50 are wired from the upper side or both sides of the first mountinggroove 111, thefirst wire 40 and thesecond wire 50 are wired from the first mountinggroove 111, so that the width and the thickness of thefirst clamping body 11 are effectively reduced. It should be noted that, when the size of the first mountinggroove 111 is just the same as the size of the light emitter, and the light emitter is placed in the first mountinggroove 111, the light emitter does not need to be fixed by glue filling, and at this time, thefirst wire 40 and the second wire may be routed through the first mountinggroove 111, or may be routed through the top or both sides of the first mountinggroove 111.
Further, the ends of the first andsecond wires 40 and 50 facing away from the first holder 10 extend out of the holder 10 and are connected to a connector (not shown), which can be connected to the blood oxygen main cable or monitor to transmit the detection signal to the blood oxygen main cable or monitor. It should be understood that, in this embodiment, the specific structure of the connector is not limited, and the connector may also be made into a USB or mini USB interface to connect with the mobile terminal.
Referring to fig. 17, at least twolight blocking sheets 30 mounted on thebending section 13 are disposed on the clamping head 10, and thelight blocking sheets 30 extend from the bendingsection 13 to the opening direction of theelastic clamping cavity 14 and partially block theelastic clamping cavity 14, so as to block the external ambient light outside theelastic clamping cavity 14. Specifically, the surface of eachlight barrier 30 attached to the clamping head 10 is an arc surface, so that when twolight barriers 30 are assembled on thebending section 13, the twolight barriers 30 are in a folded state, and the light shielding effect of thelight barriers 30 on theelastic clamping cavity 14 is improved. Further, theblood oxygen probe 100 further comprises a connectingsheet 31 for connecting the twolight blocking sheets 30, the connectingsheet 31 is assembled on one side of thebending section 13 departing from the opening of theelastic clamping cavity 14, and the connectingsheet 31 and the twolight blocking sheets 30 are integrally formed by elastic materials. When thelight blocking sheet 30 and the connectingsheet 31 are not assembled on thebending section 13, the twolight blocking sheets 30 tend to be folded inwards, the radian of the twolight blocking sheets 30 is larger than that of the two light blocking sheets assembled on thebending section 13, when the light blocking sheets are assembled on thebending section 13, the radians of the twolight blocking sheets 30 can be reduced to be tightly attached to the surface of thebending section 13, when the light blocking sheets are seen from top to bottom from the view angle of fig. 1, the light blocking sheets are C-shaped, when theblood oxygen probe 100 is used for measurement, the twolight blocking sheets 30 are completely attached to the clamping head 10, and the light leakage risk is reduced. It is understood that, in the present application, thelight blocking sheet 30 and thelight shielding sheet 214 on thestrap 200 may be present separately or simultaneously. When only thelight blocking sheet 30 exists, thefirst side edge 213 can block the external ambient light outside theelastic clamping cavity 14 as long as it covers the end of the sublight blocking sheet 31 facing theelastic clamping cavity 14.
Referring to fig. 18, in the present application, theblood oxygen probe 100 further includes acable fixing strap 300, and thecable fixing strap 300 fixes the wires of theblood oxygen probe 100 to the wrist. Specifically, thecable fixing band 300 fixes the ends of the first andsecond wires 50 and 60 away from the gripping head 10 at a wrist (wrist or ankle). It can be understood that, during the blood oxygen measurement, the ends of the first andsecond wires 50 and 60 extending out of the holding head 10 are in an unstable state, and are easily torn to cause the holding head 10 to fall off the fingers, and thecable fixing band 300 fixes the unstable portions of the first andsecond wires 50 and 60 on the wrist to reduce the risk of falling off the holding head 10. It should be noted that, when the bloodoxygen measuring probe 100 is not performing blood oxygen measurement, thecable fixing strap 200 can also store the portions of thefirst conducting wire 50 and the second conducting wire 60 extending out of the holder 10, so as to improve the smoothness.
Thecable fixing band 300 is made of silica gel, so that the cable fixing band can be repeatedly used for many times and is beneficial to improving the comfort level in the use process. Specifically, thecable retention strap 300 includes a first section 310, asecond section 320 connected to the first section 310, and a binder. The first section 310 is wound around the wrist, and a fixing portion is disposed on a surface of the first section 310 facing away from the wrist, and the fixing portion fixes thefirst lead 50 and the second lead 60. Thesecond section 320 is wrapped around the first end 310 and a coupling removably attaches thesecond section 320 to the first section 310. The fifth surface 312 is provided with fixing portions 3121 and third coupling members disposed at intervals.
In this embodiment, the fixing portion is a fixingring 311, and the fixingring 311 and thecable fixing band 300 are integrally formed to increase the stability between the fixingring 311 and thecable fixing band 300. Specifically, the opening direction of the fixingring 311 is perpendicular to the length direction of thecable fixing band 300, and the width of the fixingring 311 is not greater than the sum of the widths of thefirst conducting wire 50 and the second conducting wire 60, so that thefirst conducting wire 50 and the second conducting wire 60 can be restrained after passing through the fixingring 311. In other embodiments, the fixing portion 3121 may also be configured to fix a wire, which is not specifically limited in this application.
The combining component comprises a fixingbuckle 331 and a plurality of second throughholes 332, wherein the fixingbuckle 331 and the plurality of second throughholes 332 are respectively arranged on the first section 310 and thesecond section 320, so that the first section 310 and thesecond section 320 are combined in a hole buckle-like manner and wound on the wrist. In one embodiment of the present invention, thefixing button 331 and the fixingring 311 are disposed on the same surface. Specifically, the fixingbuckle 331 is disposed on a side of the fixingring 311 away from thesecond section 320, the fixingbuckle 331 and the first section 310 are integrally formed, and the plurality of second throughholes 332 are disposed on thesecond section 320 at intervals. The fixingbuckle 331 includes a fixing end facing away from thecable fixing band 300, and the size of the fixing end is larger than that of the second throughhole 332, so that after the fixingbuckle 331 passes through the second throughhole 332, the fixing end cannot easily pass through the second throughhole 332, and thecable fixing band 300 falls off from the wrist. It can be understood that thefixing button 331 passes through the second throughhole 332 at different positions to make the area surrounded by thecable fixing band 300 have different sizes, so that thecable fixing band 300 can be worn on the wrist with different thickness. When the fixingbuckle 331 passes through the second throughhole 332 closest to the first segment 310, the area surrounded by thecable fixing band 300 is the smallest, and at this time, the thinnest wrist state that thecable fixing band 300 can be worn is obtained; when the fixingbuckle 332 passes through the second throughhole 332 farthest from the first segment 310, the area surrounded by thecable fixing band 300 is the smallest, and this is the thinnest wrist state that thecable fixing band 300 can be worn.
Further, the joint further comprises a receivingring 333 positioned on a side of the fixingring 311 away from the fixingbuckle 331. After the fixingbuckle 331 is fastened to the second throughhole 332, the remaining portion of thesecond section 320 passes through the receivingring 333 and is wound around the wrist, so as to improve the cleanliness of thecable fixing band 300 during use.
It should be noted that the coupling member of the present embodiment may also be another structure that allows the first section 310 and thesecond section 320 to be detachably coupled, such as a hook and loop fastener or a friction coupling structure as used in the above-mentionedbinding band 200, and since the structure of thecable fixing band 300 is substantially the same in other embodiments, it will not be described herein too much.
While the invention has been described with reference to a preferred embodiment, it will be understood by those skilled in the art that various changes in form and detail may be made therein without departing from the spirit and scope of the invention.

Claims (10)

CN201811114148.2A2018-09-252018-09-25Blood oxygen probePendingCN110934598A (en)

Priority Applications (1)

Application NumberPriority DateFiling DateTitle
CN201811114148.2ACN110934598A (en)2018-09-252018-09-25Blood oxygen probe

Applications Claiming Priority (1)

Application NumberPriority DateFiling DateTitle
CN201811114148.2ACN110934598A (en)2018-09-252018-09-25Blood oxygen probe

Publications (1)

Publication NumberPublication Date
CN110934598Atrue CN110934598A (en)2020-03-31

Family

ID=69904833

Family Applications (1)

Application NumberTitlePriority DateFiling Date
CN201811114148.2APendingCN110934598A (en)2018-09-252018-09-25Blood oxygen probe

Country Status (1)

CountryLink
CN (1)CN110934598A (en)

Cited By (1)

* Cited by examiner, † Cited by third party
Publication numberPriority datePublication dateAssigneeTitle
CN114073521A (en)*2020-08-172022-02-22深圳迈瑞生物医疗电子股份有限公司 Blood oxygen sensor assembly and blood oxygen measuring device

Citations (20)

* Cited by examiner, † Cited by third party
Publication numberPriority datePublication dateAssigneeTitle
US5339810A (en)*1993-05-031994-08-23Marquette Electronics, Inc.Pulse oximetry sensor
US5511546A (en)*1993-09-201996-04-30Hon; Edward H.Finger apparatus for measuring continuous cutaneous blood pressure and electrocardiogram electrode
US5709205A (en)*1994-08-231998-01-20Hewlett-Packard CompanyPulsoximetry sensor
US6154667A (en)*1997-12-262000-11-28Nihon Kohden CorporationPulse oximeter probe
US20040249252A1 (en)*2003-06-032004-12-09Orsense Ltd.Method and system for use in non-invasive optical measurements of blood parameters
CN1809293A (en)*2003-06-302006-07-26矿井安全装置公司Communications device for a protective helmet
US20070078317A1 (en)*2005-09-302007-04-05Matlock George LFolding medical sensor and technique for using the same
CN101797158A (en)*2009-02-102010-08-11深圳迈瑞生物医疗电子股份有限公司Blood oxygen sensor
CN102368918A (en)*2009-03-312012-03-073M创新有限公司Wrist brace
CN202553428U (en)*2012-02-022012-11-28东莞市劲丰电子有限公司Shoe tying device
CN202619661U (en)*2012-06-202012-12-26金进精密泵业制品(深圳)有限公司Miniature adult blood oxygen probe
CN103797672A (en)*2011-09-162014-05-14Cmp产品有限公司 Cable clamping device
CN203815464U (en)*2014-04-232014-09-10深圳市科瑞康实业有限公司Pulse oximeter, wrap-type blood oxygen probe and regulating structure of wrap-type blood oxygen probe
CN204883054U (en)*2015-07-232015-12-16北京中创华影科技有限公司Head mounted display
US20160074649A1 (en)*2014-09-162016-03-17Nuraleve Inc.Cranial Position Determination System
CN205729375U (en)*2016-06-032016-11-30北京大学第一医院A kind of oxygen saturation line fixing device
CN107019502A (en)*2017-05-182017-08-08北京安易康科技有限公司A kind of glove-type blood oxygen collecting device
CN107847190A (en)*2015-07-102018-03-27皇家飞利浦有限公司For keeping the apparatus of biosensor
CN207461514U (en)*2017-11-022018-06-08东莞市远峰科技有限公司Adjuster, elastic band and intelligent helmet
CN108508610A (en)*2018-05-162018-09-07青岛小鸟看看科技有限公司Wearable device

Patent Citations (20)

* Cited by examiner, † Cited by third party
Publication numberPriority datePublication dateAssigneeTitle
US5339810A (en)*1993-05-031994-08-23Marquette Electronics, Inc.Pulse oximetry sensor
US5511546A (en)*1993-09-201996-04-30Hon; Edward H.Finger apparatus for measuring continuous cutaneous blood pressure and electrocardiogram electrode
US5709205A (en)*1994-08-231998-01-20Hewlett-Packard CompanyPulsoximetry sensor
US6154667A (en)*1997-12-262000-11-28Nihon Kohden CorporationPulse oximeter probe
US20040249252A1 (en)*2003-06-032004-12-09Orsense Ltd.Method and system for use in non-invasive optical measurements of blood parameters
CN1809293A (en)*2003-06-302006-07-26矿井安全装置公司Communications device for a protective helmet
US20070078317A1 (en)*2005-09-302007-04-05Matlock George LFolding medical sensor and technique for using the same
CN101797158A (en)*2009-02-102010-08-11深圳迈瑞生物医疗电子股份有限公司Blood oxygen sensor
CN102368918A (en)*2009-03-312012-03-073M创新有限公司Wrist brace
CN103797672A (en)*2011-09-162014-05-14Cmp产品有限公司 Cable clamping device
CN202553428U (en)*2012-02-022012-11-28东莞市劲丰电子有限公司Shoe tying device
CN202619661U (en)*2012-06-202012-12-26金进精密泵业制品(深圳)有限公司Miniature adult blood oxygen probe
CN203815464U (en)*2014-04-232014-09-10深圳市科瑞康实业有限公司Pulse oximeter, wrap-type blood oxygen probe and regulating structure of wrap-type blood oxygen probe
US20160074649A1 (en)*2014-09-162016-03-17Nuraleve Inc.Cranial Position Determination System
CN107847190A (en)*2015-07-102018-03-27皇家飞利浦有限公司For keeping the apparatus of biosensor
CN204883054U (en)*2015-07-232015-12-16北京中创华影科技有限公司Head mounted display
CN205729375U (en)*2016-06-032016-11-30北京大学第一医院A kind of oxygen saturation line fixing device
CN107019502A (en)*2017-05-182017-08-08北京安易康科技有限公司A kind of glove-type blood oxygen collecting device
CN207461514U (en)*2017-11-022018-06-08东莞市远峰科技有限公司Adjuster, elastic band and intelligent helmet
CN108508610A (en)*2018-05-162018-09-07青岛小鸟看看科技有限公司Wearable device

Cited By (1)

* Cited by examiner, † Cited by third party
Publication numberPriority datePublication dateAssigneeTitle
CN114073521A (en)*2020-08-172022-02-22深圳迈瑞生物医疗电子股份有限公司 Blood oxygen sensor assembly and blood oxygen measuring device

Similar Documents

PublicationPublication DateTitle
US20210345966A1 (en)Physiological measurement device
US12042298B2 (en)Gear for holding a physiological sensor
US5999834A (en)Disposable adhesive wrap for use with reusable pulse oximetry sensor and method of making
US6149481A (en)Extended life disposable pulse oximetry sensor and method of making
CA2876628C (en)Photoplethysmography sensors
ES2357240T3 (en) HEAD TAPE WITH VOLTAGE INDICATOR.
ES2349633T3 (en) USE OF A HEAD TAPE TO INDICATE THE TENSION AND SYSTEM THAT INCLUDES AN OXYMETRY SENSOR AND A HEAD TAPE.
EP0959757B1 (en)Infant/neonatal pulse oximeter sensor
US20080208023A1 (en)Foldable sensor device and method of using same
JP2005110816A (en)Probe of oximeter, probe cover and probe with cover
CN111902083A (en)Blood oxygen probe
CN110934598A (en)Blood oxygen probe
KR102374658B1 (en)Wearable blood pressure measuring device with multi-array pressure sensors
US11134894B2 (en)Device and method for measuring a physiological parameter of a human limb
US8688185B2 (en)Device for measuring blood, tissue, and skin parameters
CN111885958A (en)Bandage for blood oxygen probe and blood oxygen probe
CN216675745U (en)Binding structure of newborn blood oxygen probe and newborn blood oxygen probe
CN221180418U (en)Binding structure of disposable blood oxygen probe

Legal Events

DateCodeTitleDescription
PB01Publication
PB01Publication
SE01Entry into force of request for substantive examination
SE01Entry into force of request for substantive examination
RJ01Rejection of invention patent application after publication

Application publication date:20200331

RJ01Rejection of invention patent application after publication

[8]ページ先頭

©2009-2025 Movatter.jp