Movatterモバイル変換


[0]ホーム

URL:


CN110917472A - Inflatable device with etched finish - Google Patents

Inflatable device with etched finish
Download PDF

Info

Publication number
CN110917472A
CN110917472ACN201911365744.2ACN201911365744ACN110917472ACN 110917472 ACN110917472 ACN 110917472ACN 201911365744 ACN201911365744 ACN 201911365744ACN 110917472 ACN110917472 ACN 110917472A
Authority
CN
China
Prior art keywords
laser
region
modification
leg
body region
Prior art date
Legal status (The legal status is an assumption and is not a legal conclusion. Google has not performed a legal analysis and makes no representation as to the accuracy of the status listed.)
Pending
Application number
CN201911365744.2A
Other languages
Chinese (zh)
Inventor
P·周
B·田
Y·M·朱
Current Assignee (The listed assignees may be inaccurate. Google has not performed a legal analysis and makes no representation or warranty as to the accuracy of the list.)
Edwards Lifesciences Corp
Original Assignee
Edwards Lifesciences Corp
Priority date (The priority date is an assumption and is not a legal conclusion. Google has not performed a legal analysis and makes no representation as to the accuracy of the date listed.)
Filing date
Publication date
Application filed by Edwards Lifesciences CorpfiledCriticalEdwards Lifesciences Corp
Publication of CN110917472ApublicationCriticalpatent/CN110917472A/en
Pendinglegal-statusCriticalCurrent

Links

Images

Classifications

Landscapes

Abstract

Disclosed are inflatable devices comprising a surface having a network of polymer chains and configured to be inflatable into a therapeutically or diagnostically useful shape; and at least one ultrashort laser pulse formed modification on the surface. The network can, for example, comprise a network morphology that is substantially unchanged by modification with the ultrashort pulse laser. The ultrashort laser pulse can be a laser pulse having a duration equal to or less than 1000 picoseconds. Advantageously, the etching process uses a relatively low thermal laser to avoid significant heating of the surrounding polymer while modifying the surface (and other structures) of the device. The process is configured such that the proximity-modified polymer chain morphology is substantially unaffected by the low-heat laser. The resulting inflatable device has customized surface features while still maintaining a substantially uniform polymer network morphology. This maintains the elasticity, in particular the surface elasticity, of the inflatable device.

Description

Inflatable device with etched finish
This application is a divisional application of chinese patent application 201580062260.4(PCT/US2015/060443) entitled "modified inflatable device with etching" filed 11, 12/2015.
Technical Field
The present invention relates to the field of expandable medical devices for diagnostic and therapeutic applications, in particular expandable medical devices designed for expansion within an anatomical space.
Background
Inflatable devices are used in many surgical and Minimally Invasive Surgical (MIS) techniques and settings. Medical balloons with thinner walls, higher strength and lower profile are designed to withstand high inflation pressures and are well suited for a wide range of diagnostic and therapeutic procedures. The medical balloon can be manufactured in a variety of lengths, diameters, and shapes, including complex custom shapes for specific applications, and provided with specialized coatings to increase performance. In a typical MIS procedure, an unexpanded device is positioned within the anatomical space and then filled with air or fluid to augment the device and possibly the anatomical space itself. The procedure is used to deliver a prosthetic heart valve or stent to a heart or vascular structure. Alternatively, an expandable device can be used to dilate an anatomical structure, such as in an angioplasty procedure. Other surgical procedures incorporating the use of inflatable devices include, for example, kyphoplasty, nephrostomy, gastric balloon placement, endometrial ablation, laparoscopic hernia repair, and renal sympathetic denervation. In addition, inflatable devices can be used for occlusion, expansion, and/or stenting within the following anatomical structures: sinuses, intestines, lacrimal ducts, carpal tunnel, eustachian tube, uterus, ureters, bile ducts, trachea, esophagus, urethra, and nasal passages. This list does not include all procedures for using inflatable devices, but is intended to show the breadth of relevance of the present invention.
For example, expandable devices are used in transcatheter aortic heart valve delivery procedures. In this procedure, a guidewire is delivered through the femoral artery, through the patient's vasculature to the native aortic valve, and placed within the left ventricle. A first balloon mounted on a catheter is inserted over the guidewire into the aortic valve and inflated to enlarge the structure. The first balloon is withdrawn over the guidewire. Delivering the second folded balloon carrying the new prosthetic heart valve to the diseased aortic valve of the patient. Alternatively, the prosthetic heart valve may be moved onto the balloon once inside the patient. Once positioned, the folded balloon is inflated and the previously crimped valve expands to its large diameter. The stent is placed within the native heart valve while the crimped valve is at its large diameter. The second balloon is deflated and is directed back along the patient's vasculature and out of the femoral artery over the guidewire, leaving the new valve in place.
In view of the role of inflatable devices in treating a range of patient conditions, improvements in such inflatable devices are highly desirable.
Disclosure of Invention
The present inventors advantageously use a low thermal laser, such as an ultrashort pulse laser, to modify the surface (and other structures) of an inflatable device, such as a balloon, while avoiding significant heating of the polymer surrounding the modification. The inventors have configured this process so that the network morphology surrounding the modified polymer chains is substantially unaffected by thermal effects. The resulting inflatable device has customized surface features while still maintaining the modified substantially unaltered polymer network morphology formed around the low heat laser. This maintains the elasticity and other mechanical properties of the inflatable device.
In one embodiment, the ultrashort laser pulse can be a laser pulse having a duration equal to or less than 1000 picoseconds. In another embodiment, the duration of the ultrashort laser pulse can be equal to or less than 1000 femtoseconds.
In one embodiment, an inflatable device has a wall with a surface. The wall is configured to be expandable into a therapeutically useful shape. The wall also has at least one low thermal (or ultra-short) laser-formed modification on the surface. The wall is at least partially formed of a polymer and thus has a network of polymer chains. The network of polymer chains can have a network morphology. The modified network morphology formed around the low heat laser is substantially unaffected by thermal effects.
Therapeutically useful shapes can include body regions, leg regions, and cone regions. These regions are disposed along a longitudinal axis extending through them.
The modification made by the laser can be on the inner surface of the wall of the device. For example, the low heat laser formed modification can be on the inner surface of the leg region.
In other embodiments, the device can have multiple layers, such as an inner layer and an outer layer. The low heat laser formed modification can include a recess formed in the outer layer. The outer layer can be radiopaque to facilitate positioning of the outer layer during a surgical procedure.
The low heat laser formed modification can be, for example, one or more recesses in the surface. The recesses can, for example, increase friction on the surface of the inflatable device. The recesses can have different configurations. For example, the recess can extend parallel to the longitudinal axis of the device. The recesses can be in a spaced parallel arrangement and extend circumferentially around the body region.
The device can include a circumferential perimeter. The recess in the surface extends around at least a portion of the circumferential perimeter. The recess can even extend completely or completely around the circumferential periphery. The inflatable device can include a plurality of circumferentially extending recesses. They can be spaced apart from each other and in a parallel arrangement, forming a striped pattern.
In another embodiment, the recess can be etched into a cone region of the device. For example, the recess can extend from near the leg region to the body region. Also, the recess can continue over the axial length of the body region. In embodiments with two cone regions, the recess can extend over both cone regions as well as the body region.
The inflatable device can include a plurality of recesses. The recess can extend over the cone region and only partially between the leg region and the body region. The recesses themselves can vary in width, such as tapering as they extend toward the leg regions.
The plurality of recesses can have a geometric shape, such as a circle. For example, the circle can be etched in a pattern on the body region of the device.
The method includes manufacturing an inflatable device by applying a low thermal laser pulse to a surface of the inflatable device. Furthermore, low thermal laser pulses can be applied to render the network morphology surrounding the modification substantially unaffected by thermal effects.
The method can also include forming the body region, the leg region, and the cone region about a longitudinal axis extending through the body region, the leg region, and the cone region. A low heat shock pulse can be applied to increase or decrease the friction of the surface.
The low heat shock light pulses can be applied to the inner or outer surface of the inflatable device. For example, the inner surface can be partially ablated (abllate) to remove material.
In a multi-layer wall, a low heat shock pulse of light can be used to reveal an inner layer beneath an outer layer. In this way, excess material of the outer layer that does not have a functional benefit can be removed.
Different regions, such as the cone region, body region, and leg region, can also be selectively ablated for desired performance parameters. For example, the method can include ablating circumferentially around the body of the inflatable device to form a strip or ribbon.
The application of the low thermal laser pulse can include applying an ultrashort laser pulse having a duration equal to or less than 1000 picoseconds. In another embodiment, the duration of the ultrashort laser pulse can be equal to or less than 1000 femtoseconds.
The modification by ultrashort laser pulses enables tighter folds, more predictable burst pressures, better bonding with external devices such as catheters (bond), the ability to coordinate the expansion of portions of the device, the addition of frictional or physical features that prevent sliding of surfaces located above (e.g., valves or stents), the removal of additional surface layers from selected regions of the device, and/or the addition of markings that will assist during folding or during surgery.
These and other features and advantages of embodiments of the present disclosure will become more readily apparent to those skilled in the art from consideration of the following detailed description and accompanying drawings, which describe preferred and alternative embodiments of the present disclosure.
Drawings
FIGS. 1A-1C are schematic illustrations of an inflatable device prior to modification by low thermal laser pulses;
FIG. 1D is an enlarged view of various layers of the inflatable device of FIG. 1C prior to modification by low thermal laser pulses;
FIG. 2A is a schematic view of an inflatable device after modification with a low heat shock light pulse;
FIG. 2B is an enlarged view of the region of interest from FIG. 2A;
FIG. 3 is a schematic view of another inflatable device after modification with low heat shock light pulses;
FIG. 4A depicts a cone region of an inflatable device prior to modification with a low heat shock light pulse;
FIG. 4B depicts an inflatable device having a modification of low thermal laser pulse formation in the pyramidal region;
FIG. 5A depicts a leg region of an inflatable device prior to modification with a low heat shock light pulse;
FIGS. 5B-5D illustrate an inflatable device with modification of the leg region by low thermal laser pulse formation;
FIG. 6 is a schematic view of an inflatable device with modification of low thermal laser pulse formation of a cone region;
FIGS. 7A-7C are schematic illustrations of an inflatable device having a modification of a body region by low thermal laser pulse formation;
FIGS. 8A-8C are schematic views of a modified inflatable device with low thermal shock pulse formation along a longitudinal axis;
FIG. 9 is a schematic view of an inflatable device;
fig. 10 is a schematic view of an inflatable device.
Detailed Description
Disclosed herein are embodiments of expandable devices having particular surface features created or facilitated by modification by low-heat or ultrashort laser pulses. Embodiments of the present disclosure will now be described more fully. Indeed, these embodiments may be embodied in many different forms and should not be construed as limited to the embodiments set forth herein; rather, these embodiments are provided so that this disclosure will satisfy applicable legal requirements. The following description of certain examples of inflatable devices should not be taken to limit the scope. Other examples, features, aspects, embodiments, and advantages of the expandable medical device will become apparent to those skilled in the art from the following description. As will be appreciated, the inflatable device can have additional aspects, all without departing from the spirit of the inflatable device. Accordingly, the drawings and description are to be regarded as illustrative in nature, and not as restrictive.
For the purposes of this specification, certain aspects, advantages and novel features of the embodiments of the disclosure are described herein. The described methods, systems, and devices should not be construed as limiting in any way. Rather, the present disclosure is directed to all novel and non-obvious features and aspects of the various disclosed embodiments, alone or in various combinations and subcombinations with one another. The disclosed methods, systems, and apparatus are not limited to any specific aspect, feature, or combination thereof, nor do the disclosed methods, systems, and apparatus require that any one or more specific advantages be present or problems be solved.
Features, integers, characteristics, compounds, chemical moieties or groups described in conjunction with a particular aspect, embodiment or example of the invention are to be understood to be applicable to any other aspect, embodiment or example described herein unless incompatible therewith. All of the features disclosed in this specification (including any accompanying claims, abstract and drawings), and/or all of the steps of any method or process so disclosed, may be combined in any combination, except combinations where at least some of such features and/or steps are mutually exclusive. The invention is not limited by the details of any of the foregoing embodiments. The invention extends to any novel one, or any novel combination, of the features disclosed in this specification (including any accompanying claims, abstract and drawings), or to any novel one, or any novel combination, of the steps of any method or process so disclosed.
It should be understood that any patent, publication, or other disclosure material, in whole or in part, that is said to be incorporated by reference herein is incorporated herein only to the extent that the incorporated material does not conflict with existing definitions, statements, or other disclosure material set forth in this disclosure. Thus, and to the extent necessary, the present disclosure as explicitly set forth herein supersedes any conflicting material incorporated herein by reference. Any material, or portion thereof, that is said to be incorporated by reference herein, but which does not conflict with existing definitions, statements, or other disclosure material set forth herein is only incorporated to the extent that no conflict exists between that incorporated material and the existing disclosure material.
As used in the specification and the appended claims, the singular forms "a", "an", and "the" include plural referents unless the context clearly dictates otherwise. As used herein, the term "comprising" and variations thereof is used synonymously with the term "comprising" and variations thereof, and is an open, non-limiting term.
As used herein, an inflatable device includes a medical balloon. For example, the expandable device includes a medical balloon, such as a medical balloon used for therapeutic or diagnostic procedures.
As used herein, ablation or etching is a process that uses a laser to remove material. Modifications to the inflatable device, such as those created by low thermal laser pulses, can be created by ablation or etching.
The inventors have noted several disadvantages of prior art inflatable devices. They attempt to address these shortcomings by implementing the principles of the present invention. Surface modification of expandable devices is desirable for a number of reasons, as will be described in more detail below. However, modification using laser pulses can overheat the polymer, thereby disorienting the network orientation around the modified polymer chains. This disorientation reduces the overall strength of the device.
The present inventors have devised a process in which modification by a relatively low thermal laser (e.g., an ultrashort pulse laser) does not heat the surrounding polymer. Additional details of such low-heat lasers or ultrashort pulse lasers are disclosed in U.S. patent application publication No.2013/0110097, filed 9, 17, 2012, which is incorporated herein by reference. The polymer chain network morphology in the modified region formed around the laser pulse is substantially unaffected by thermal effects, thereby preserving the strength of the device. A low thermal or ultrashort laser pulse as used herein is defined as a laser pulse having a duration of less than 1000 picoseconds. In some embodiments, the duration of the low thermal or ultrashort laser pulse can be less than 1000 femtoseconds.
The inventors have recognized or determined several design considerations during the development of embodiments of the present invention. Procedures using expandable devices benefit from passing through a narrow anatomical space in an unexpanded state. To achieve this, expandable devices can benefit from a tight fold under an external device such as a valve or stent. The device in its folded state should generally have a narrow profile. This enables it to enter smaller anatomical spaces, thereby reducing tissue damage. It also enables easier delivery with lower friction.
However, some manufacturing processes create unnecessary volume. For example, one method of making an inflatable device is to blow mold a polymeric tube into a balloon shape. This creates a thinner region that will eventually expand to a wider dimension, thereby forming the body of the device. The area outside the mold is not intended to expand. These become the legs of the device. The transition from the thinner body region to the thicker leg region is the taper of the device. In this region, the wall is thicker from thin to thick. If the walls in these regions can be thinned, the overall profile of the folded inflatable device will be thinner and able to fit in a narrower anatomical space. The low thermal laser pulse created modification can be used for even post-molded wall thicknesses, thereby improving the consistency of bond strength of the expandable device to an external device such as a catheter. Further, the low heat laser can be used to newly create features that enhance the bonding with external devices.
Precise targeted placement and orientation of the valve or stent along the expandable device is one factor in the success of the procedure and patient safety. Proper inflation time is important to reduce expansion of the valve or stent ends. Similarly, the valve or stent has increased resistance to expansion, and the area around the outer device of the expandable device can expand first. This produces an undesirable dog bone shape. Improvements in valve stability and inflation time would be highly beneficial, as would improvements in visualization of the inflatable device during delivery for assisting in valve/stent orientation.
The inventors have further observed that inflatable devices may benefit from increased predictability of burst pressure. The ability to create an inflatable device with a consistent wall thickness will enhance the prediction of burst pressure. In addition, the ability to thin specific areas of the expandable device will enable the prediction of the precise burst location and position it to an area that will cause minimal tissue damage. The precise manufacture can even allow for the design of inflatable devices that leak slowly and gently rather than burst.
The present inventors have addressed these problems by using a low heat laser to remove material from the precise location of the inflatable device. Methods of laser ablating excess material after molding have been disclosed in the prior art, such as in U.S. patent No.6,719,774. However, the utility of such methods is limited because the heat generated by the laser causes disorientation of the nearby polymer network, which increases the chance of bursting at lower expansion pressures. In contrast, the alignment of the network of polymer chains is associated with increased blast resistance. Therefore, for inflatable devices, maintenance of the oriented configuration is desirable.
The present inventors have determined that ultrashort laser pulses have non-thermal laser material coupling that prevents deleterious effects on the polymer network adjacent to the laser modification. The term "low thermal laser" as defined herein includes a laser operable to ablate a polymer wall composition at a temperature below that at which adjacent polymer wall compositions and/or tissue begin to degrade. Generally, most bioabsorbable and many biocompatible polymers have melting points below 100 degrees celsius. The low thermal laser can be, for example, a near infrared laser system having a maximum pulse energy of 40 microjoules, with a pulse duration of less than 400 femtoseconds at 200 KHz. Another example system has a maximum pulse energy of 200 microjoules with a pulse duration of 10 picoseconds. Yet another example system is a fiber-based ultrafast laser that is mode-locked and capable of generating ultrashort pulses centered at about 1552.2 nanometers. The power of the system can be 5, 10 or 20 watts. The pulses generated can be less than 800 femtoseconds.
Fig. 1A-1D illustrate an example of an inflatable device prior to modification by a low heat laser. These exemplary devices are manufactured by molding a polymeric tube into the shape of a balloon. This manufacturing process results in certain properties that are improved by the modifications disclosed herein. The inflatable device can be made to fit a variety of anatomical structures without detracting from the functionality of the device.
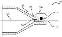
In fig. 1A and 1D, aninflatable device 101 is shown that has not been modified by ultrashort laser pulses. As used herein, the terms "modified", "modified" and "modifying" refer to the action of ultrashort laser pulses on the surface of an inflatable device. The term "unmodified" refers to a preformed inflatable device that has not been modified by ultrashort laser pulses. Theinflatable device 101 of fig. 1A includes abody region 108, a pair ofleg regions 104, and a pair ofcone regions 106. These regions define alongitudinal axis 103 that extends generally in the direction of a guidewire (not shown) supporting the device. Each of thecone regions 106 has anend 109 adjacent theleg region 104. The inflatable device further comprises awall 121 having anouter surface 105 and aninner surface 107.Regions 104, 106 and 108 are sub-portions ofwall 121.
Embodiments of theexpandable device 101 disclosed herein can be used alone or in combination with other devices, including but not limited to prosthetic heart valves and stents. In this manner, theprosthetic valve 102 or other device can be delivered to a relatively inaccessible location in the body, such as percutaneously to a non-functional native heart valve, along with the expandable device 101 (both in a compressed configuration). Thedevice 101 is then expanded to expand thevalve 102 into an expanded state. For example, in fig. 1A, the expandedvalve 102 is positioned around the expandedbody region 108 of theexpandable device 101.
Referring again to FIG. 1A,body region 108 is positioned adjacent tocone regions 106 and extends betweencone regions 106. Thebody region 108 has an elongated shape (as shown in the longitudinal cross-section shown in fig. 1A) extending in the direction of thelongitudinal axis 103. Thebody region 108 of theinflatable device 101 also has a cross-section (not shown) extending perpendicular to thelongitudinal axis 103. The cross-section can have an extruded symmetrical shape, such as a circular or square shape, or some other geometric or irregular shape, depending on the desired application.
In general, the length and diameter of thebody region 108 and the rest of the device can be adjusted to fit various anatomies or perform various functions. For example, fig. 1B illustrates the variation in the size of thebody region 108. The length of thebody region 108 of the embodiment of FIG. 1B is, for example, shorter than the length of thebody region 108 of the embodiment shown in FIG. 1A. On the other hand, the diameter of thebody region 108 is larger in fig. 1B than in fig. 1A. The size of the inflatable device can also vary when the inflatable device is in its rolled folded state.
Thebody region 108 of theinflatable device 101 shown in fig. 1A can have a slight variation inwall thickness 118 prior to modification with ultrashort laser pulses. These minor variations are caused by the manufacturing process. In some examples, the thickness of the wall may vary gradually along the length of thebody region 108.
Referring again to fig. 1A-1D, the unmodifiedinflatable device 101 also includes acone region 106. Each of thecone regions 106 extends from a wide end adjacent thebody region 108 to anarrow end 109 adjacent theleg region 104. Thecone region 106 has a frustoconical shape disposed circumferentially about thelongitudinal axis 103. The diameter of thecone region 106 extends perpendicular to thelongitudinal axis 103.
As described above for the body region, the size of thecone region 106 varies depending on the application. Thecone region 106 of theexpandable device 101 shown in fig. 1A has a coneregion wall thickness 116, the coneregion wall thickness 116 tapering as one moves away from thenarrow end 109. This change occurs during the blow molding process because the central region of the polymeric tube (which becomes the body region 108) is stretched to a greater extent than the edges of the tube. For example, the coneregion wall thickness 116 of the unmodifiedexpandable device 101 may be thicker at thenarrow end 109 adjacent the leg region than at theend 108 adjacent the body region. Similar to the body region, the manufacturing process can also result in small local variations in thewall thickness 116 in the cone region.
As shown in fig. 1A,inflatable device 101 includes a pair ofleg regions 104 at opposite ends of the inflatable device. In this embodiment, the leg region is the non-inflatable end of thewall material 121 used to construct the inflatable device. The leg region can be compressed onto a guidewire for delivery into the anatomical space. The inflatable device is mounted to a guide wire or catheter (not shown) via anaxial opening 112.
Although the embodiments discussed herein include a pair of leg regions, the inflatable device can be manufactured with a single leg region and cone region. Other embodiments can have a range of shapes formed by thewalls 121, such as square, spherical, or irregular shapes that do not necessarily include theparticular regions 104, 106, and 108 of the illustrated embodiment. These alternative embodiments still benefit from the formation of modifications thereto.
Theleg region 104 extends from acone region end 109 away from thebody region 108 to afree end 110. Theleg region 104 has a length in the direction of thelongitudinal axis 103 and a cross-section extending perpendicular to thelongitudinal axis 103. In general, the diameter and wall thickness can be a reflection of the original polymer tube used to form theinflatable device 101. The manufacturing process can result in slight variations in legregion wall thickness 114 along its length.
Theinflatable device 101 shown in fig. 1A has awall 121, thewall 121 having anouter surface 105 and aninner surface 107. Theouter surface 105 is further from thelongitudinal axis 103 than theinner surface 107. The outer surface typically contacts an overlying surface of an external device mounted thereon, including, for example, an inner surface of theprosthetic heart valve 102 or stent.
Part of the function of thebody region 108 of theexpandable device 101 is to allow axial positioning of the device or structure being augmented with theexpandable device 101. To this end, the interface between the surface and the external device generates an improved frictional retention via modification of the surface. Another way to understand the effect of friction is to quantify the surface roughness of theinflatable device 101.
Typically, thesurfaces 105, 107 and thewall 121 of the inflatable device are at least partially formed of a polymeric material. The polymeric material inherently includes a network of polymer chains having a network morphology. It should be understood that the elasticity and other mechanical properties ofwall 121 are affected by the network morphology of the polymer chains that make upsurface 105,surface 107,wall 121, or portions thereof. Without being bound by theory, it can also be understood that network morphology is influenced by polymer chain orientation.
While a range of materials (and combinations of materials) are capable of expanding under the pressures required to perform their functions, polymeric materials for layers or compounds are particularly suitable for use in applications. They have flexibility to shrink to small diameters and elasticity to expand without bursting. Polymeric materials include, for example, thermoplastic and thermoset polymers. Such polymers include, for example, PET, nylon, Pebax, polyurethane, polyether urethane PVP, PEO, HDPE, and LDPE.
To manufacture theinflatable device 101, the polymer can be blow molded into the shape of a hollow balloon. The central region of the hollow polymer has athinner body region 108 and thebody region 108 will eventually expand to a wider dimension. Thecone region 106 and its taperedwall 116 are the product of the molding process. Theleg regions 104 are not molded and therefore do not substantially expand. Theleg region 104 can be bonded to the catheter tube by fitting the device around theopening 112 and bonding the leg material to the catheter tube. The bond can have a bond strength that varies with size and application. The bond strength can be measured by a tensile test. In these examples, the low heat laser modification is performed after the molding process. However, low heat laser modification can also be performed prior to the molding process without departing from the inventive concept.
As seen in fig. 1C, in another embodiment,expandable device 101 has a plurality of wall layers 120, 121 prior to modification by ultrashort laser pulses. Theouter layer 120 is the layer furthest from thelongitudinal axis 103 and theinner layer 121 is closest to thelongitudinal axis 103. An enlarged version of the multi-surfaceinflatable device 101 is shown in fig. 1D.
The additional surface layer can have several functions. For example, the additional surface layer can be designed to increase friction, reduce friction, or increase the radiopacity of the device. Moreover, as described below, the presence of multiple layers allows them to be selectively etched away and/or revealed to create unique customized characteristics for theinflatable device 101.
The surface roughness of theinflatable device 101 can affect functionality. Theouter layer 120 can be included to alter the surface roughness, such as by using a material that is inherently rougher than theinner layer 121. Also, in areas where reduced roughness is desired (such as oncone region 106 for easier insertion into a body cavity),outer layer 120 can be etched away.
Similar multi-layer embodiments are not limited to the two layers shown in fig. 1C. Rather, three, four, or more layers can be used to tailor the characteristics of theinflatable device 101 for different applications and different etching effects. These layers can be made of materials such as nylon, Pebax, PET, polyurethane, polyether urethane, PVP, PEO, HDPE, LDPE. Radiopacity can be incorporated into the outer layer by mixing the polymer solution with milk inclusions (pacifier) such as tungsten powder prior to manufacture. Platinum, gold, palladium, iridium, magnesium, zinc, tungsten, tantalum, iron, iodine salts, bismuth salts, or barium salts can also be incorporated into the outer layer to create a radiopaque inflatable device.
Fig. 2A shows theinflatable device 201 of fig. 1A, wherein the recess is formed by an ultra-short laser pulse or some other low-heat laser. Specifically, in this embodiment, theouter surface 105 of thebody region 208 has been partially ablated by the ultrashort laser pulses. The ablation creates one ormore recesses 211 in the outer surface. Therecess 211 has a length extending parallel to thelongitudinal axis 203. Therecess 211 also extends around the circumference of thebody 208 of the inflatable device 201-mainly forming a negative space of tubular shape in thewall 221. The length of therecess 211 in the axial direction can be adapted to a specific function or application. For example, the length can be largely coextensive with the stent orvalve 202. In this manner, additional clearance is provided for crimpingvalve 202 down to a smaller diameter for ease of delivery.
Fig. 2B shows an enlarged portion of fig. 2A with an ultrashort laser pulse formedrecess 211 in thebody region 208. Thewall 221 of the body region has anoriginal thickness 218 and anablated wall thickness 219.Original thickness 218 corresponds tothickness 118 of unmodifiedinflatable device 101 shown in fig. 1A. Theablated wall thickness 219 can vary depending on the particular desired application, but in the case of an expandable device for expanding a stent-mounted heart valve, theablated wall thickness 219 can be about 1-40% of theoriginal wall thickness 218.
Therecess 211 shown in fig. 2A-2B expands to a larger diameter than the unmodified area of thebody region 108 because of its lower resistance to the gas pressure within the inflatable device. This reduces the dog bone effect at the ends and reduces the likelihood of damage to surrounding tissue. At the same time, the recesses formed by the ultrashort laser pulses leave the adjacent surface polymer network morphology substantially unaffected by thermal effects.
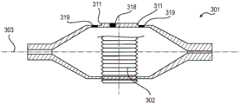
Fig. 3 shows anotherinflatable device 301 with arecess 311, wherein therecess 311 is formed by an ultra short laser pulse. In this embodiment, an outer portion of the surface of the body region 308 has been ablated by ultrashort laser pulses in order to create tworecesses 311 in the surface of the body region. Therecess 311 has a length extending parallel to thelongitudinal axis 303. Therecess 311 extends completely around the circumference, forming two cylindrical strips on opposite sides of thevalve 302. The walls of the body region have anoriginal thickness 318 and anablated wall thickness 319. Theoriginal thickness 318 corresponds to thethickness 118 of the unmodifiedinflatable device 101 shown in fig. 1A.
Certain areas of the body region of an unmodified expandable device (such as the expandable device shown in fig. 1A) can expand before others, which can result in slight axial movement of the valve or stent. Therecesses 311 formed by the ultrashort laser pulses of fig. 3 have a lower resistance to the gas pressure inside the inflatable device. They are amplified to a wider diameter than the unmodified region of the body region. They also expand before the region under the valve orstent 302. These aspects reduce axial movement of the valve orstent 302 during expansion.
Fig. 4A shows an enlarged view of thecone region 106 andleg region 104 of theinflatable device 101 shown in fig. 1A. Fig. 4B showsinflatable device 401 after modification of theouter surface 405 ofcone region 406 by ultra-short laser pulse formation. In this embodiment, excess material is ablated completely cylindrically around the perimeter of theouter surface 405 of thecone region 406. Advantageously, the reducedcone thickness 416 facilitates more compact folding of the inflatable device. This enables the device to be used in narrower anatomical spaces.
FIG. 5A shows an enlarged view of the unmodified inflatable device shown in FIG. 1A. Notably, theinner surface 107 of theleg region 104 has a tapered shape defining anaxial opening 112.
Fig. 5B-5D showinflatable device 501 after modification ofleg region 104 by ultrashort laser pulse formation. In particular, fig. 5B shows the originalouter surface 105 of theablated leg region 104, resulting in a reduced legregion wall thickness 514. The ablation of the excess material extends circumferentially around the periphery of theleg region 504. The reduced thickness of the legs allows for a tighter folding of the inflatable device.
As described above and shown in fig. 5A, the necking process can result in non-uniformity of thewall 121 along the length of the leg region. In the embodiment shown in fig. 5C, a low thermal laser pulse has been directed through the outer surface of the leg region to ablate the originalinner surface 107 of theleg region 104. This results in a thinnedinner surface 507 and a reduced legregion wall thickness 514. This allows larger wires or other mating parts to fit within theopening 507 for better bonding. In addition to enabling tighter folds, ablation also produces a smootherinner surface 507 to improve bond strength with external devices such as catheters and guidewires. In addition, leg materials of less consistent and/or more consistent thickness will produce a more consistent heating profile (and better bonding) during, for example, a hot melt bonding process. Laser etching of the leg material can occur before or after bonding. After etching the inner surface of the inflatable device, the device can be subjected to a cleaning process, such as ultrasonic cleaning, to remove debris prior to use by the patient.
Fig. 5D shows anotherinflatable device 501 having abinding feature 511 in theleg region 504. Bonding features 511 are created by ablating a portion ofinner surface 507 with ultrashort laser pulses. Thecoupling feature 511 extends from theend 510 of the leg region along thelongitudinal axis 503. The shape of the bonding features 511 can be, for example, frustoconical, wedge, tapered, or hook-shaped, or can be some increase in surface roughness. The bonding features 511 reduce longitudinal slippage of an external device, such as a catheter or guidewire, that has been bonded to theinner surface 507 of the expandable device. For example, the wedge shape of theengagement feature 511 in fig. 5D can mate with a flare at the end of the catheter or guidewire, thereby increasing the force required to separate the catheter or guidewire from the expandable device.
Fig. 6 shows aninflatable device 601 having an ultrashort laser pulse formedrecess 622 in theinflatable device 101 of fig. 1A. In this embodiment,recess 622 is formed oncone region 606. Therecess 622 can extend proximally from anend 609 of thecone region 606 in the direction of thebody region 608. The width of therecess 622 can taper gradually from a larger end near thebody region 608 towards the end of thecone region 609. Therecess 622 facilitates folding at a specific location, thereby better organizing the folds and thus more tightly folding.
Fig. 7A-7C illustrate an embodiment for increasing the friction between aninflatable device 701 and an overlying surface. Therecess 724 is ablated onto thebody region 708 using ultrashort laser pulses. The increased friction caused by these recesses reduces the movement of the valve or stent along the body region of the expandable device, thereby improving the consistency and safety of the procedure.
Fig. 7A showsinflatable device 701 having acircular recess 724 formed by an ultrashort laser pulse for increased friction. The plurality ofrecesses 724 can be evenly or randomly spaced around theouter surface 705 of thebody region 708. Although the recesses of this embodiment are shown as circles, therecesses 724 can be other shapes, such as square, rectangular, or triangular. These recesses prevent both axial and circumferential sliding of the valve or stent. Different patterns of different types of recesses may be employed on different portions of the inflatable device, such as a circle of one diameter on the body region and a circle of another diameter on the cone region.
The embodiment shown in fig. 7B has a plurality ofrecesses 724 formed by ultrashort laser pulses that extend circumferentially around the periphery of the device. The recess has a width in a direction parallel to thelongitudinal axis 703 and has a depth into anouter portion 705 of the surface of the body region. Therecesses 724 are spaced apart along thelongitudinal axis 703. The circumferential orientation of therecess 724 helps prevent slippage of the stent or other device in the direction of thelongitudinal axis 703.
The embodiment shown in fig. 7C has a plurality of ultrashort laser pulse formedrecesses 724 extending across thebody region 708 in the direction of thelongitudinal axis 703. The recesses are spaced around the circumference of thebody region 708. The longitudinal orientation of the recesses helps prevent slippage of the stent or other device around the circumference of thebody region 708.
Fig. 8A-8C illustrate aninflatable device 801 designed to burst at a particular location if inflated beyond a predetermined pressure. In particular, the modification formed by the ultrashort laser pulse is modulated to weaken the wall in a particular pattern. This results in a predictable burst pattern when the inflatable device is over-inflated, which can make it easier to retrieve the ruptured device. In the event of over-expansion, the recess can also promote a slow and gentle leak of air (or other liquid) as opposed to bursting.
In the embodiment of fig. 8A, therecess 826 formed by the ultrashort laser pulse extends adjacent to theend 809 of thecone region 806 in the direction of thebody region 808. In the embodiment of fig. 8B, therecess 826 formed by the ultrashort laser pulse extends from theend 809 of thecone region 806 adjacent and across thebody region 808. In the embodiment of fig. 8C, therecess 826 extends from theend 809 of thecone region 806, across thebody region 808, and towards the end of thesecond cone region 807.
In fig. 8A-8C, a burst pattern will be created in the longitudinal direction. This facilitates retrieval of the ruptured inflatable device. Alternatively, a longitudinally etched recess would result in a gentle leak as opposed to a burst. Another advantage is that theaxial recess 826 can facilitate axial blood perfusion, allowing blood or drug flow around the inflatable device during and after inflation.
Fig. 9 shows aninflatable device 901 having a modification of a multi-layered inflatable device, such asdevice 101 of fig. 1C. Portions of theouter layer 920 have been removed by the ultra-short laser pulses, exposing theinner layer 921. The remainingouter layer 920 extends as a circumferential tubular layer around the perimeter of theinflatable device 901. The length of theouter layer 920, as measured parallel to the longitudinal axis 903, can be formed to substantially match the length of an external device, such as the stentedheart valve 902. Theouter layer 920 of fig. 9 can have different properties than theinner layer 921. For example, theouter layer 920 can alter the frictional characteristics between theinflatable device 901 and an overlying surface. At the same time, ablation of excess outer surface material allows for tighter folding ofinflatable device 901.
Fig. 10 shows aninflatable device 1001 with apocket 1028 formed by ultra-short laser pulses to serve as an identification mark. Thedepressions 1028 can be located on thebody region 1008, as seen in fig. 10. Therecess 1028 can also (additionally or alternatively) be located on a cone region or a leg region. In fig. 10, thepocket 1028 extends circumferentially around the perimeter of thebody region 1008. These recesses can be used as identification marks to assist in assembling the inflatable device. Markings on the legs of the inflatable device can help determine, for example, cut length or weld band. They can also assist in the alignment of the stent or valve during anatomical implantation. As another example, the indicia can have markings to identify the part, product model, and inflatable device size.
The embodiment of fig. 10 can also have multiple layers, such as a radiopaqueouter layer 1020. Therecesses 1028 in the outer layer selectively remove, for example, the radiopaqueouter layer 1020 to reveal its orientation on the radiological instrument during a medical procedure.
The modification of ultrashort laser pulse formation disclosed herein has the advantages of: with little or no thermal influence on the inflatable device walls. The absence of significant thermal influence preserves the characteristics of the inflatable device. For example, ultrashort lasers are used to maintain uniformity of polymer orientation of the polymer walls.
Advantageously, the expandable devices disclosed herein can be used to improve medical procedures based on various expandable devices, such as for delivering a prosthetic heart valve during a transcatheter valve replacement procedure. As another example, the device can be used to deliver a stent during a percutaneous procedure. As another advantage, the laser etching procedure disclosed herein allows the thickness of the cone and body of the device to be independently varied, facilitating variations in amplification characteristics. Furthermore, uniform wall thickness facilitates folding, retrieval and better general performance. For example, the legs of the inflatable device need to be thicker to allow stretching of the body without damaging the inflatable device. Laser etching allows thinning of the legs to achieve a smaller profile, thereby reducing friction on the arterial wall during deployment and retrieval.
The various recess etch patterns disclosed herein have a series of advantages. The reduction in the wall thickness of the body results in resistance to the formation of a dumbbell (or dog bone) shape during stent or valve expansion, resulting in more accurate final outer diameter of the device being delivered. This can be useful for aortic applications. Selectively ablating one end can result in a mushroom shape, which can facilitate mitral valve repair. The reduction in thickness of the cone region reduces the extraction force of the inflatable device. Ablating a shallow ring in the body at one or both ends facilitates early expansion of the ring portion to limit axial movement of the stent or valve. Ablating a shaped pattern in the outer surface of the expandable device wall increases the friction between the implantable device and the expandable device. Removing wall material in the axial direction (or other location) can create a desired point, spot or pattern for failure of the inflatable device. Reducing the leg thickness can reduce the bonding profile and improve the efficiency of the bonding process. In addition, the shaping of the leg regions can increase the bond strength and accuracy.
Further, in a multilayer inflatable device, a low heat laser can be used to remove undesired layers from various locations. The bilayer can remain in the body region to increase puncture resistance and increase (or decrease) friction between the inflatable device and the stent, but the bilayer is removed from the cone region and leg region to reduce contouring and stickiness. The expandable device can also be modified to create a "witness line" or midline to improve alignment of the expandable device and the stent or valve during crimping or other assembly steps. Alternatively, the inflatable device can be etched with various identifying indicia.
Removing the wall material from the central or body section reduces outward expansion of the stent or valve frame rim, thereby reducing the impact on surrounding tissue during delivery. Tapered wall expandable devices can also be created to form a tapered outer or inner diameter in the vasculature, stent, or valve frame to fit a tapered anatomical structure, such as, for example, in the peripheral vasculature.
Many modifications and other embodiments of the inventions set forth herein will come to mind to one skilled in the art to which these inventions pertain having the benefit of the teachings presented in the foregoing descriptions. Therefore, it is to be understood that the inventions are not to be limited to the specific embodiments disclosed and that modifications and other embodiments are intended to be included within the scope of the appended claims. Although specific terms are employed herein, they are used in a generic and descriptive sense only and not for purposes of limitation.

Claims (19)

Translated fromChinese
1.一种用于制造具有可膨胀球囊的经导管装置的方法,所述方法包括:1. A method for making a transcatheter device with an inflatable balloon, the method comprising:获得由沿着纵向轴线具有内表面和外表面的壁限定的聚合物管,该聚合物包括具有均匀的网络形态的聚合物链的网络;obtaining a polymer tube defined by a wall having an inner surface and an outer surface along a longitudinal axis, the polymer comprising a network of polymer chains having a uniform network morphology;将所述聚合物管吹塑成中空球囊形状,该中空球囊形状具有中心的主体区域、在所述球囊形状的相反端上的一对腿部区域以及在所述主体区域和所述腿部区域之间延伸的一对锥体区域,所述一对腿部区域径向上小于所述中心的主体区域并且限定从中通过的轴向开口;blow molding the polymer tube into a hollow balloon shape having a central body region, a pair of leg regions on opposite ends of the balloon shape, and a body region and the a pair of cone regions extending between the leg regions, the pair of leg regions being radially smaller than the central body region and defining an axial opening therethrough;将低热激光器脉冲施加到所述锥体区域的外表面以形成激光器形成的修饰,所述脉冲的持续时间小于1000皮秒以便从该外表面烧蚀掉材料,所述低热激光器脉冲被配置成使所述激光器形成的修饰周围的所述聚合物网络形态基本不变;The laser-formed modification is formed by applying low heat laser pulses to the outer surface of the cone region, the pulses having a duration of less than 1000 picoseconds to ablate material from the outer surface, the low heat laser pulses being configured to cause The morphology of the polymer network around the modification formed by the laser is substantially unchanged;折叠所述球囊;以及folding the balloon; and绕被折叠的球囊的所述主体区域卷曲心脏瓣膜。The heart valve is crimped around the body region of the folded balloon.2.根据权利要求1所述的方法,其中所述脉冲的持续时间小于10皮秒。2. The method of claim 1, wherein the duration of the pulse is less than 10 picoseconds.3.根据权利要求2所述的方法,其中所述脉冲的持续时间小于800飞秒。3. The method of claim 2, wherein the duration of the pulse is less than 800 femtoseconds.4.根据权利要求1所述的方法,其中所述施加步骤包括在所述可膨胀球囊的纵向轴线的方向上烧蚀。4. The method of claim 1, wherein the applying step comprises ablating in the direction of a longitudinal axis of the inflatable balloon.5.根据权利要求1所述的方法,其中所述激光器形成的修饰产生纵向凹部。5. The method of claim 1, wherein the laser-formed modification creates longitudinal recesses.6.根据权利要求5所述的方法,其中所述纵向凹部朝向所述主体区域从较窄宽度渐变成较宽宽度。6. The method of claim 5, wherein the longitudinal recess tapers from a narrower width to a wider width toward the body region.7.根据权利要求1所述的方法,其中所述施加步骤在所述吹塑步骤之前完成。7. The method of claim 1, wherein the applying step is completed before the blowing step.8.根据权利要求1所述的方法,其中所述脉冲具有40微焦耳的最大脉冲能量。8. The method of claim 1, wherein the pulses have a maximum pulse energy of 40 microjoules.9.根据权利要求1所述的方法,其中所述脉冲具有200微焦耳的最大脉冲能量。9. The method of claim 1, wherein the pulses have a maximum pulse energy of 200 microjoules.10.根据权利要求1所述的方法,其中所述激光器形成的修饰平行于所述纵向轴线延伸。10. The method of claim 1, wherein the laser-formed modification extends parallel to the longitudinal axis.11.根据权利要求1所述的方法,其中所述激光器形成的修饰围绕所述锥体区域的圆周周边延伸。11. The method of claim 1, wherein the laser-formed modification extends around a circumferential perimeter of the pyramidal region.12.根据权利要求1所述的方法,其中所述激光器形成的修饰平行于所述纵向轴线并且围绕所述锥体区域的圆周周边延伸。12. The method of claim 1, wherein the laser-formed modification is parallel to the longitudinal axis and extends around a circumferential perimeter of the cone region.13.根据权利要求1所述的方法,进一步包括形成第二激光器形成的修饰,其包括所述腿部区域的内表面上的楔形、锥形或表面粗糙度的增加。13. The method of claim 1, further comprising forming a second laser-formed modification comprising a wedge, taper, or increase in surface roughness on the inner surface of the leg region.14.根据权利要求1所述的方法,进一步包括形成产生所述腿部区域的减小的壁厚的第二激光器形成的修饰。14. The method of claim 1, further comprising forming a second laser-formed modification that produces a reduced wall thickness of the leg region.15.一种用于制造具有可膨胀球囊的经导管装置的方法,所述方法包括:15. A method for making a transcatheter device with an inflatable balloon, the method comprising:获得由沿着纵向轴线具有内表面和外表面的壁限定的聚合物管,该聚合物包括具有均匀的网络形态的聚合物链的网络;obtaining a polymer tube defined by a wall having an inner surface and an outer surface along a longitudinal axis, the polymer comprising a network of polymer chains having a uniform network morphology;将所述聚合物管吹塑成中空球囊形状,该中空球囊形状具有中心的主体区域、在所述球囊形状的相反端上的一对腿部区域以及在所述主体区域和所述腿部区域之间延伸的一对锥体区域,所述一对腿部区域径向上小于所述中心的主体区域并且限定从中通过的轴向开口;blow molding the polymer tube into a hollow balloon shape having a central body region, a pair of leg regions on opposite ends of the balloon shape, and the body region and the a pair of cone regions extending between the leg regions, the pair of leg regions being radially smaller than the central body region and defining an axial opening therethrough;将低热激光器脉冲施加到所述腿部区域以形成激光器形成的修饰,所述脉冲的持续时间小于1000皮秒以便从所述腿部区域烧蚀掉材料,所述低热激光器脉冲被配置成使所述激光器形成的修饰周围的所述聚合物网络形态基本不变;The laser-formed modification is formed by applying low heat laser pulses to the leg region, the pulses having a duration of less than 1000 picoseconds to ablate material from the leg region, the low heat laser pulses being configured to cause all The morphology of the polymer network around the modification formed by the laser is substantially unchanged;折叠所述球囊;以及folding the balloon; and绕被折叠的球囊的所述主体区域卷曲心脏瓣膜。The heart valve is crimped around the body region of the folded balloon.16.根据权利要求15所述的方法,其中所述脉冲的持续时间小于10皮秒。16. The method of claim 15, wherein the duration of the pulse is less than 10 picoseconds.17.根据权利要求16所述的方法,其中所述脉冲的持续时间小于800飞秒。17. The method of claim 16, wherein the duration of the pulse is less than 800 femtoseconds.18.根据权利要求15所述的方法,其中所述激光器形成的修饰包括所述腿部区域的内表面上的楔形、锥形或表面粗糙度的增加。18. The method of claim 15, wherein the laser-formed modification comprises a wedge, taper, or increase in surface roughness on the inner surface of the leg region.19.根据权利要求15所述的方法,其中所述激光器形成的修饰产生所述腿部区域的减小的壁厚。19. The method of claim 15, wherein the laser-formed modification results in a reduced wall thickness of the leg region.
CN201911365744.2A2014-11-202015-11-12Inflatable device with etched finishPendingCN110917472A (en)

Applications Claiming Priority (5)

Application NumberPriority DateFiling DateTitle
US201462082241P2014-11-202014-11-20
US62/082,2412014-11-20
US14/938,761US20160144156A1 (en)2014-11-202015-11-11Inflatable device with etched modifications
US14/938,7612015-11-11
CN201580062260.4ACN107106821A (en)2014-11-202015-11-12 Inflatable device with etched decoration

Related Parent Applications (1)

Application NumberTitlePriority DateFiling Date
CN201580062260.4ADivisionCN107106821A (en)2014-11-202015-11-12 Inflatable device with etched decoration

Publications (1)

Publication NumberPublication Date
CN110917472Atrue CN110917472A (en)2020-03-27

Family

ID=56009181

Family Applications (2)

Application NumberTitlePriority DateFiling Date
CN201580062260.4APendingCN107106821A (en)2014-11-202015-11-12 Inflatable device with etched decoration
CN201911365744.2APendingCN110917472A (en)2014-11-202015-11-12Inflatable device with etched finish

Family Applications Before (1)

Application NumberTitlePriority DateFiling Date
CN201580062260.4APendingCN107106821A (en)2014-11-202015-11-12 Inflatable device with etched decoration

Country Status (5)

CountryLink
US (6)US20160144156A1 (en)
EP (1)EP3220995B1 (en)
CN (2)CN107106821A (en)
CA (1)CA2966506A1 (en)
WO (1)WO2016081279A1 (en)

Families Citing this family (1)

* Cited by examiner, † Cited by third party
Publication numberPriority datePublication dateAssigneeTitle
US20160144156A1 (en)*2014-11-202016-05-26Edwards Lifesciences CorporationInflatable device with etched modifications

Citations (5)

* Cited by examiner, † Cited by third party
Publication numberPriority datePublication dateAssigneeTitle
US5733301A (en)*1996-01-111998-03-31Schneider (Usa) Inc.Laser ablation of angioplasty catheters and balloons
US20020065553A1 (en)*2000-11-282002-05-30Scimed Life System, Inc.Method for manufacturing a medical device having a coated portion by laser ablation
US20060033240A1 (en)*2004-08-132006-02-16Jan WeberMethod and apparatus for forming a feature in a workpiece by laser ablation with a laser beam having an adjustable intensity profile to redistribute the energy density impinging on the workpiece
US20060182873A1 (en)*2005-02-172006-08-17Klisch Leo MMedical devices
US20130197353A1 (en)*2012-01-272013-08-01Randolf Von OepenRadiopaque marker for a catheter

Family Cites Families (75)

* Cited by examiner, † Cited by third party
Publication numberPriority datePublication dateAssigneeTitle
US4035849A (en)1975-11-171977-07-19William W. AngellHeart valve stent and process for preparing a stented heart valve prosthesis
US4592340A (en)1984-05-021986-06-03Boyles Paul WArtificial catheter means
US4878495A (en)1987-05-151989-11-07Joseph GrayzelValvuloplasty device with satellite expansion means
US4796629A (en)1987-06-031989-01-10Joseph GrayzelStiffened dilation balloon catheter device
US4994077A (en)1989-04-211991-02-19Dobben Richard LArtificial heart valve for implantation in a blood vessel
US4986830A (en)1989-09-221991-01-22Schneider (U.S.A.) Inc.Valvuloplasty catheter with balloon which remains stable during inflation
US5059177A (en)1990-04-191991-10-22Cordis CorporationTriple lumen balloon catheter
DK124690D0 (en)1990-05-181990-05-18Henning Rud Andersen FAT PROTECTION FOR IMPLEMENTATION IN THE BODY FOR REPLACEMENT OF NATURAL FLEET AND CATS FOR USE IN IMPLEMENTING A SUCH FAT PROTECTION
US5411552A (en)1990-05-181995-05-02Andersen; Henning R.Valve prothesis for implantation in the body and a catheter for implanting such valve prothesis
CA2125258C (en)1993-08-051998-12-22Dinah B QuiachonMulticapsule intraluminal grafting system and method
US5545209A (en)1993-09-301996-08-13Texas Petrodet, Inc.Controlled deployment of a medical device
US5728068A (en)1994-06-141998-03-17Cordis CorporationMulti-purpose balloon catheter
US5554185A (en)1994-07-181996-09-10Block; Peter C.Inflatable prosthetic cardiovascular valve for percutaneous transluminal implantation of same
US5599305A (en)1994-10-241997-02-04Cardiovascular Concepts, Inc.Large-diameter introducer sheath having hemostasis valve and removable steering mechanism
US5639274A (en)1995-06-021997-06-17Fischell; Robert E.Integrated catheter system for balloon angioplasty and stent delivery
DE19532846A1 (en)1995-09-061997-03-13Georg Dr BergValve for use in heart
US5591195A (en)1995-10-301997-01-07Taheri; SydeApparatus and method for engrafting a blood vessel
US6217585B1 (en)1996-08-162001-04-17Converge Medical, Inc.Mechanical stent and graft delivery system
JP3968444B2 (en)1996-08-232007-08-29ボストン サイエンティフィック サイムド,インコーポレイテッド Stent delivery mechanism with stent fixation device
US5968068A (en)1996-09-121999-10-19Baxter International Inc.Endovascular delivery system
EP0850607A1 (en)1996-12-311998-07-01Cordis CorporationValve prosthesis for implantation in body channels
EP0935978A1 (en)1998-02-161999-08-18Medicorp S.A.Angioplasty and stent delivery catheter
US6174327B1 (en)1998-02-272001-01-16Scimed Life Systems, Inc.Stent deployment apparatus and method
US6527979B2 (en)1999-08-272003-03-04Corazon Technologies, Inc.Catheter systems and methods for their use in the treatment of calcified vascular occlusions
DE19907646A1 (en)1999-02-232000-08-24Georg BergValve for blood vessels uses flap holders and counterpart holders on stent to latch together in place and all channeled for guide wire.
FR2800984B1 (en)1999-11-172001-12-14Jacques Seguin DEVICE FOR REPLACING A HEART VALVE PERCUTANEOUSLY
US7018406B2 (en)1999-11-172006-03-28Corevalve SaProsthetic valve for transluminal delivery
FR2815844B1 (en)2000-10-312003-01-17Jacques Seguin TUBULAR SUPPORT FOR THE PERCUTANEOUS POSITIONING OF A REPLACEMENT HEART VALVE
US6458153B1 (en)1999-12-312002-10-01Abps Venture One, Ltd.Endoluminal cardiac and venous valve prostheses and methods of manufacture and delivery thereof
US6652568B1 (en)*1999-12-222003-11-25Advanced Cardiovascular Systems, Inc.Radiopaque balloon
US6719774B1 (en)*1999-12-232004-04-13Advanced Cardiovascular Systems, Inc.Method for forming low profile balloon and low profile balloon for use with a catheter
MXPA02007426A (en)2000-01-312003-10-14Cook Biotech IncStent valves and uses of same.
US6454799B1 (en)2000-04-062002-09-24Edwards Lifesciences CorporationMinimally-invasive heart valves and methods of use
WO2002022054A1 (en)2000-09-122002-03-21Gabbay SValvular prosthesis and method of using same
US7510572B2 (en)2000-09-122009-03-31Shlomo GabbayImplantation system for delivery of a heart valve prosthesis
US6461382B1 (en)2000-09-222002-10-08Edwards Lifesciences CorporationFlexible heart valve having moveable commissures
EP1341487B1 (en)2000-12-152005-11-23Angiomed GmbH & Co. Medizintechnik KGStent with valve
US6733525B2 (en)2001-03-232004-05-11Edwards Lifesciences CorporationRolled minimally-invasive heart valves and methods of use
US7374571B2 (en)2001-03-232008-05-20Edwards Lifesciences CorporationRolled minimally-invasive heart valves and methods of manufacture
US7556646B2 (en)2001-09-132009-07-07Edwards Lifesciences CorporationMethods and apparatuses for deploying minimally-invasive heart valves
US6893460B2 (en)2001-10-112005-05-17Percutaneous Valve Technologies Inc.Implantable prosthetic valve
US7137184B2 (en)2002-09-202006-11-21Edwards Lifesciences CorporationContinuous heart valve support frame and method of manufacture
US20050070996A1 (en)*2003-04-082005-03-31Dinh Thomas Q.Drug-eluting stent for controlled drug delivery
AU2004233848B2 (en)2003-04-242010-03-04Cook Medical Technologies LlcArtificial valve prosthesis with improved flow dynamics
CA2813136A1 (en)2004-02-272005-09-15Aortx, Inc.Prosthetic heart valve delivery systems and methods
BRPI0510107A (en)2004-04-232007-09-253F Therapeutics Inc implantable protein valve
US7462191B2 (en)2004-06-302008-12-09Edwards Lifesciences Pvt, Inc.Device and method for assisting in the implantation of a prosthetic valve
US7704277B2 (en)2004-09-142010-04-27Edwards Lifesciences AgDevice and method for treatment of heart valve regurgitation
SE531468C2 (en)2005-04-212009-04-14Edwards Lifesciences Ag An apparatus for controlling blood flow
JP4912395B2 (en)2005-05-242012-04-11エドワーズ ライフサイエンシーズ コーポレイション Rapid placement prosthetic heart valve
US7780723B2 (en)2005-06-132010-08-24Edwards Lifesciences CorporationHeart valve delivery system
US7967836B2 (en)*2005-06-172011-06-28Abbott LaboratoriesDilatation balloon having reduced rigidity
US8167932B2 (en)2005-10-182012-05-01Edwards Lifesciences CorporationHeart valve delivery system with valve catheter
US7785366B2 (en)2005-10-262010-08-31Maurer Christopher WMitral spacer
US8778017B2 (en)2005-10-262014-07-15Cardiosolutions, Inc.Safety for mitral valve implant
US8449606B2 (en)2005-10-262013-05-28Cardiosolutions, Inc.Balloon mitral spacer
EP1959864B1 (en)2005-12-072018-03-07Medtronic, Inc.Connection systems for two piece prosthetic heart valve assemblies
US8147541B2 (en)2006-02-272012-04-03Aortx, Inc.Methods and devices for delivery of prosthetic heart valves and other prosthetics
EP2397108B1 (en)2006-09-082013-08-07Edwards Lifesciences CorporationApparatus for treating a defective heart valve
US20080299408A1 (en)*2006-09-292008-12-04University Of RochesterFemtosecond Laser Pulse Surface Structuring Methods and Materials Resulting Therefrom
US8029556B2 (en)2006-10-042011-10-04Edwards Lifesciences CorporationMethod and apparatus for reshaping a ventricle
US20080294230A1 (en)2007-05-242008-11-27Cook IncorporatedApparatus and methods for deploying self-expanding stents
ES2781686T3 (en)2007-12-142020-09-04Edwards Lifesciences Corp Leaflet Junction Frame for a Prosthetic Valve
US20090276040A1 (en)2008-05-012009-11-05Edwards Lifesciences CorporationDevice and method for replacing mitral valve
US9061119B2 (en)2008-05-092015-06-23Edwards Lifesciences CorporationLow profile delivery system for transcatheter heart valve
US8323335B2 (en)2008-06-202012-12-04Edwards Lifesciences CorporationRetaining mechanisms for prosthetic valves and methods for using
US8652202B2 (en)2008-08-222014-02-18Edwards Lifesciences CorporationProsthetic heart valve and delivery apparatus
US8052638B2 (en)*2008-11-262011-11-08Abbott Cardiovascular Systems, Inc.Robust multi-layer balloon
CA2961053C (en)2009-04-152019-04-30Edwards Lifesciences Cardiaq LlcVascular implant and delivery system
US8439970B2 (en)*2009-07-142013-05-14Edwards Lifesciences CorporationTransapical delivery system for heart valves
US9345602B2 (en)*2010-09-232016-05-24Abbott Cardiovascular Systems Inc.Processes for making crush recoverable polymer scaffolds
DK4233795T3 (en)2010-10-052024-08-26Edwards Lifesciences Corp Prosthetic heart valve
WO2012156914A2 (en)*2011-05-152012-11-22By-Pass, Inc.Microporous balloon catheter, delivery system, and methods of manufacture and use
US20150273188A1 (en)*2014-03-262015-10-01Resonetics, LLCSystem and method for manufacturing catheter balloons
US20160144156A1 (en)*2014-11-202016-05-26Edwards Lifesciences CorporationInflatable device with etched modifications

Patent Citations (5)

* Cited by examiner, † Cited by third party
Publication numberPriority datePublication dateAssigneeTitle
US5733301A (en)*1996-01-111998-03-31Schneider (Usa) Inc.Laser ablation of angioplasty catheters and balloons
US20020065553A1 (en)*2000-11-282002-05-30Scimed Life System, Inc.Method for manufacturing a medical device having a coated portion by laser ablation
US20060033240A1 (en)*2004-08-132006-02-16Jan WeberMethod and apparatus for forming a feature in a workpiece by laser ablation with a laser beam having an adjustable intensity profile to redistribute the energy density impinging on the workpiece
US20060182873A1 (en)*2005-02-172006-08-17Klisch Leo MMedical devices
US20130197353A1 (en)*2012-01-272013-08-01Randolf Von OepenRadiopaque marker for a catheter

Also Published As

Publication numberPublication date
US12076513B2 (en)2024-09-03
CN107106821A (en)2017-08-29
EP3220995A1 (en)2017-09-27
CA2966506A1 (en)2016-05-26
US11813422B2 (en)2023-11-14
US20160144156A1 (en)2016-05-26
US20220241563A1 (en)2022-08-04
US11305098B2 (en)2022-04-19
EP3220995A4 (en)2017-12-13
US20200353227A1 (en)2020-11-12
US20240382720A1 (en)2024-11-21
US20180071500A1 (en)2018-03-15
US10722693B2 (en)2020-07-28
US20240033489A1 (en)2024-02-01
EP3220995B1 (en)2021-06-02
WO2016081279A1 (en)2016-05-26

Similar Documents

PublicationPublication DateTitle
US7226472B2 (en)Catheter balloon with advantageous cone design
EP2833844B1 (en)Control of balloon inflation rate during deployment of scaffold
JP4361217B2 (en) Balloon catheter and stent deployment catheter system
JP6758031B2 (en) Balloon catheter
CN109475724B (en) high pressure dilatation catheter balloon
JP6267214B2 (en) Method for crimping a bioresorbable stent
JP2005525138A (en) Stent delivery catheter with grooved balloon and method of manufacturing the same
JP2009515647A (en) Balloon folding design, manufacturing apparatus and manufacturing method thereof
JP2007521878A (en) Balloon catheter with spiral fold
CN104780873A (en)Systems and methods for attaining a predetermined porosity of a vascular device
US20240382720A1 (en)Catheter balloons with laser formed modifications
US20070235899A1 (en)Dimple Forming Process for Stent Deployment Balloon
JP2007135880A (en)Stent delivery system and its manufacturing method
HK1206584B (en)Control of balloon inflation rate during deployment of scaffold

Legal Events

DateCodeTitleDescription
PB01Publication
PB01Publication
SE01Entry into force of request for substantive examination
SE01Entry into force of request for substantive examination

[8]ページ先頭

©2009-2025 Movatter.jp