Movatterモバイル変換


[0]ホーム

URL:


CN110916746A - Pusher and intervene conveying system - Google Patents

Pusher and intervene conveying system
Download PDF

Info

Publication number
CN110916746A
CN110916746ACN202010096333.4ACN202010096333ACN110916746ACN 110916746 ACN110916746 ACN 110916746ACN 202010096333 ACN202010096333 ACN 202010096333ACN 110916746 ACN110916746 ACN 110916746A
Authority
CN
China
Prior art keywords
pushing device
core wire
pushing
spring
axial direction
Prior art date
Legal status (The legal status is an assumption and is not a legal conclusion. Google has not performed a legal analysis and makes no representation as to the accuracy of the status listed.)
Granted
Application number
CN202010096333.4A
Other languages
Chinese (zh)
Other versions
CN110916746B (en
Inventor
李�瑞
闫伟
龚善石
赵丹儒
Current Assignee (The listed assignees may be inaccurate. Google has not performed a legal analysis and makes no representation or warranty as to the accuracy of the list.)
Shanghai Pushi Medical Equipment Co ltd
Original Assignee
Shanghai Interventional Medical Equipment Co Ltd
Priority date (The priority date is an assumption and is not a legal conclusion. Google has not performed a legal analysis and makes no representation as to the accuracy of the date listed.)
Filing date
Publication date
Application filed by Shanghai Interventional Medical Equipment Co LtdfiledCriticalShanghai Interventional Medical Equipment Co Ltd
Priority to CN202010096333.4ApriorityCriticalpatent/CN110916746B/en
Publication of CN110916746ApublicationCriticalpatent/CN110916746A/en
Application grantedgrantedCritical
Publication of CN110916746BpublicationCriticalpatent/CN110916746B/en
Activelegal-statusCriticalCurrent
Anticipated expirationlegal-statusCritical

Links

Images

Classifications

Landscapes

Abstract

The invention provides a pushing device and an intervention conveying system comprising the pushing device, wherein the pushing device comprises a pushing main body part extending along the axial direction of the pushing device and an instrument connecting part arranged at the far end of the pushing main body part, the pushing main body part comprises a hollow outer layer spring, an inner layer core wire arranged in the outer layer spring in a penetrating mode and an interlayer gap formed between the outer layer spring and the inner layer core wire, the outer layer spring and the inner layer core wire are fixed with the instrument connecting part at the far end of the pushing main body part, and the outer layer spring and the inner layer core wire can relatively slide along the axial direction of the pushing device at the near end of the pushing main body part. The rigidity and the compliance of pusher in this application are adjustable to make pusher become more controllable to the influence of implanting the apparatus, do benefit to and keep implanting the apparatus reliably in the position of implanting, reduce the treatment risk of interventional therapy.

Description

Pusher and intervene conveying system
Technical Field
The present invention relates to the field of medical devices.
The invention particularly relates to a pushing device.
The invention also particularly relates to an interventional delivery system comprising the pushing device.
Background
The interventional therapy depends on the guidance of medical imaging equipment, diagnoses and treats diseases by utilizing puncture needles, catheters and other interventional devices, and has the characteristics of accurate positioning, small wound, few complications, high curative effect, quick response, strong repeatability and the like. Interventional therapy has become the third major clinical treatment means in parallel with medical and surgical treatment. Interventional therapy is a wide variety of techniques, and can be divided into intravascular interventional techniques and non-vascular interventional techniques.
The endovascular intervention technology is to apply selective or super-selective angiography, to determine the location, property, range and degree of lesion, and to perform embolization, endovascular angioplasty, drug perfusion and other treatments via a catheter inserted into the blood vessel according to the indication. With intravascular interventional techniques, a wide variety of materials, instruments and drugs can be placed into the heart and arteriovenous vessels of the human body. For example, transseptal needles, valve repair devices, heart block devices, vascular stents, vascular filters, and the like may be placed at selected locations by interventional techniques.
In endovascular interventional techniques, the operator uses an interventional delivery system to deliver the relevant instrument to the site of the lesion. At present, an interventional delivery system mainly includes a hollow sheath tube and a pushing rod (i.e., a pushing device) movably disposed through the sheath tube, such as the pushing device disclosed in paragraphs [ 0112 ] to [ 0113 ] of the chinese patent application No. 201610565731. In the using process of the interventional delivery system, a delivery passage is established by the hollow sheath, the pushing device is connected with the implantation instrument, the implantation instrument is pushed into the human body, the implantation instrument is controlled to find the optimum position in the human body, the pushing device is separated from the implantation instrument after the implantation instrument is implanted, and the operator generally completes the process by operating the near end of the pushing device. Thus, the pusher device in an interventional delivery system plays an important role in interventional therapy. The challenge often encountered with current pushers used clinically is how to balance the compliance and stiffness of the pushers.
After the pushing device enters the human body, due to different human body structures, even if the same operation is performed, the generated movement may not be expected, and then the corresponding influence is generated on the implanted instrument. For example, before the implantation instrument is separated from the pushing device, the implantation instrument may be kept at the implantation position only under the influence of external force such as pulling force or pushing force generated by the rigidity of the pushing device, and during or after the separation of the implantation instrument from the pushing device, the external force of the pushing device on the implantation instrument is changed or lost, and the implantation instrument may greatly deviate or even fall off from the optimum implantation position, thereby causing the failure of the interventional operation. While increasing the compliance of the pusher helps alleviate the above problems, it increases the difficulty of pushing the implant device through the transvascular pathway.
The above-mentioned problems are faced by the difficulties faced by the various treatment regimens using endovascular intervention techniques, which may increase not only the pain of the patient, but also the medical risks of such treatments.
Disclosure of Invention
In view of the above-mentioned drawbacks of the prior art, it is an object of the present invention to provide a push device, the stiffness and compliance of which can be adjusted.
In order to achieve the above object, the present invention provides a pushing device, including a pushing main body portion extending along an axial direction of the pushing device, and an instrument connecting portion disposed at a distal end of the pushing main body portion, wherein the pushing main body portion includes a hollow outer spring, an inner core wire penetrating through the outer spring, and an interlayer gap formed between the outer spring and the inner core wire, the outer spring and the inner core wire are both fixed to the instrument connecting portion at the distal end of the pushing main body portion, and the outer spring and the inner core wire can relatively slide along the axial direction of the pushing device at a proximal end of the pushing main body portion.
Further, the outer-layer spring is provided with a plurality of connecting rings which are connected in sequence, and an included angle α between each connecting ring and the axial direction of the pushing device ranges from 50 degrees to 80 degrees.
Further, the outer spring is formed by spirally winding a single first metal wire.
Further, along the axial direction of the pushing device, the winding density of the first metal wire is 10-20 circles/cm.
Further, the cross section of the first metal wire is circular, and the diameter of the first metal wire is 0.3 mm-0.9 mm.
Further, the cross section of the first metal wire is rectangular, the width of the first metal wire is 0.6 mm-1 mm, and the thickness of the first metal wire is 0.3 mm-0.9 mm.
Further, the first wire has a width to thickness ratio of 4: 3.
Further, the inner core wire is formed by twisting a plurality of second metal wires.
Furthermore, the instrument connecting portion comprises a connecting transition section and a connecting stud section connected to the far end of the connecting transition section, the connecting stud section is detachably connected with the implantation instrument, and the near end of the connecting transition section, the far end of the outer layer spring and the far end of the inner layer core wire are fixed together.
Furthermore, the pushing device further comprises an operating part arranged at the near end of the pushing main body part, the operating part comprises a shell, a core wire fixing part and a control valve for driving the core wire fixing part to move, a core wire channel and a first sliding groove which is communicated with the near end of the core wire channel and extends along the axial direction of the pushing device are arranged in the shell, the near end of the outer layer spring is fixed with the shell, the near end of the inner layer core wire can be slidably arranged in the core wire channel in a penetrating mode and is fixed with the core wire fixing part, and the core wire fixing part is in sliding fit with the first sliding groove.
Further, the operating portion further comprises a valve connecting piece, a second sliding groove which is communicated with the first sliding groove and extends along the axial direction of the pushing device is further formed in the shell, the valve connecting piece is arranged in the second sliding groove in a penetrating mode and in sliding fit with the second sliding groove, and two ends of the valve connecting piece are fixed with the control valve and the core wire fixing piece respectively.
Furthermore, a spring fixing piece is fixedly arranged at the far end of the shell, the near end of the outer layer spring is fixed with the far end of the spring fixing piece, and the core wire channel penetrates through the spring fixing piece along the axial direction of the pushing device.
The application also provides an intervention conveying system, including hollow sheath pipe and as above pusher, pusher's propelling movement main part and apparatus connecting portion all wear to establish in the sheath pipe along pusher's axially movably.
As described above, the pushing device and the interventional delivery system according to the present invention have the following advantageous effects:
in the pushing device, when the inner core wire moves towards the near end relative to the outer spring, the outer spring is continuously compressed, and the rigidity and the flexibility of the pushing device are increased and reduced; when the inner core wire moves towards the far end relative to the outer spring, the outer spring is continuously loosened, and the rigidity and the flexibility of the pushing device are reduced and increased. Therefore, the rigidity and flexibility of the pushing device in the application can be adjusted, so that the influence of the pushing device on the implantation instrument can be controlled, the implantation instrument can be reliably kept at the implantation position, and the treatment risk of interventional therapy is reduced.
Drawings
Fig. 1 is a schematic structural diagram of a pushing device according to a first embodiment of the present application.
Fig. 2 is a schematic structural diagram of the pushing main body part in fig. 1.
Fig. 3 is an enlarged view of circle a of fig. 1.
Fig. 4 is a schematic usage diagram of a pushing device according to a first embodiment of the present application.
Fig. 5 is another schematic diagram of a pushing device according to an embodiment of the present application.
Fig. 6 is a schematic structural diagram of a second pushing device in the present application.
Fig. 7 is a schematic diagram of the connection between the pushing body and the operation unit in fig. 6.
Fig. 8 is a schematic structural view of the operation part in fig. 6.
Fig. 9 is a schematic structural view of a housing of the operation portion in fig. 6.
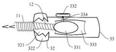
Element number description: 10. a pushing main body part; 11. an outer spring; 111. A connecting ring; 12. an inner core filament; 13. interlayer gaps; 14. a first wire; 15. a second wire; 20. an instrument connection portion; 21. connecting the transition sections; 22. Connecting the stud sections; 30. Anoperation unit 31 and a housing; 32. operating the distal section; 321. a core wire channel; 322. a spring mount; 33. operating the proximal end portion; 331. a core filament mount; 332. a control valve; 333. a first chute; 334. a valve connector; 335. a second chute; 40. an implantation instrument; 50. a sheath tube.
Detailed Description
The following description of the embodiments of the present invention is provided for illustrative purposes, and other advantages and effects of the present invention will become apparent to those skilled in the art from the present disclosure.
It should be understood that the structures, proportions, and dimensions shown in the drawings and described herein are for illustrative purposes only and are not intended to limit the scope of the present invention, which is defined by the claims, but rather by the claims. In addition, the terms such as "upper", "lower", "left", "right", "middle" and "one" used in the present specification are for convenience of description only and are not intended to limit the scope of the present invention, and changes or modifications of the relative relationship thereof may be made without substantial technical changes and modifications.
The application provides an intervene conveying system, includinghollow sheath 50 and pusher, this pusher's rigidity and compliance are adjustable, do benefit to the treatment risk that reduces the intervention therapy. Two preferred embodiments of the pusher device are provided below, and reference to "proximal" in the embodiments described below refers to the end proximal to the operator and reference to "distal" refers to the end distal to the operator.
Embodiment one of the pushing device
As shown in fig. 1, the pushing device comprises a pushingmain body part 10 extending along the axial direction of the pushing device, and aninstrument connecting part 20 arranged at the distal end of the pushingmain body part 10; the pushingmain body part 10 and theinstrument connecting part 20 are movably arranged in thesheath 50 along the axial direction of the pushing device, so the axial direction of the pushing device is also the moving direction of the pushing device in thesheath 50, that is, the pushing direction of the pushing device for pushing theimplantation instrument 40; the distal end of thedevice connecting part 20 is used for detachably connecting with an implantingdevice 40, and the implantingdevice 40 can be various devices suitable for the transvascular intervention technology such as structural heart disease, heart rhythm, cerebrovascular disease and the like, for example: theimplantation device 40 is a left atrial appendage occluder, an ventricular septal defect occluder, or the like.
Specifically, as shown in fig. 1 and 2, the pushingbody portion 10 includes a hollowouter spring 11, aninner core wire 12 inserted into theouter spring 11, and aninterlayer space 13 formed between an inner periphery of theouter spring 11 and an outer periphery of theinner core wire 12. Both theouter spring 11 and theinner core wire 12 extend in the axial direction of the pusher. Theouter spring 11 and theinner core wire 12 are fixed to theinstrument connecting part 20 at the distal end of the pushingbody 10, so that the distal end of theouter spring 11 and the distal end of theinner core wire 12 are fixed together without relative sliding movement therebetween in the axial direction of the pushing device. The position of the proximal end of theouter spring 11 is fixed in the axial direction of the pushing device, the proximal end of theinner core wire 12 and the proximal end of theouter spring 11 are not connected, and the proximal end of theinner core wire 12 can move in the axial direction of the pushing device relative to the proximal end of theouter spring 11, so that theouter spring 11 and theinner core wire 12 can relatively slide in the axial direction of the pushing device at the proximal end of the pushingbody 10, thereby adjusting the stiffness and softness of the pushingbody 10, that is, adjusting the stiffness and softness of the pushing device. In addition, in a state where there is no operation, or in other words, the pushingmain body portion 10 is in a free state, the pushingmain body portion 10 has elasticity and is flexible.
In use, the distal end of thedevice connecting portion 20 is connected to theimplantation device 40, and as shown in fig. 4, when the operator pulls the pushingbody 10 of the pushing device in the proximal direction, the pushingbody 10 moves proximally as a whole, i.e. in the direction of the right arrow in fig. 4, and theimplantation device 40 is pulled into thesheath 50. Thereafter, theimplantation instrument 40 is delivered to an implantation site within the human body using an interventional delivery system. Thereafter, the operator pushes the pushingbody 10 of the pushing device in a distal direction, so that the pushingbody 10 is moved distally as a whole, i.e., in the direction of the left arrow in fig. 4, to push theimplantation instrument 40 out of thesheath 50 and release it, as shown in fig. 5. Then, the pushingmain body part 10 of the pushing device is operated to adjust the implantation position of theimplantation instrument 40, after theimplantation instrument 40 is successfully implanted, the connection between the distal end of theinstrument connecting part 20 and theimplantation instrument 40 is released, the interventional delivery system is removed from the human body, and the interventional operation of theimplantation instrument 40 is completed. In the process of the above interventional operation, in the stage that the pushing device pushes theimplantation instrument 40 into the human body, the operator moves theinner core wire 12 of the pushing device towards the proximal end of the pushing device, because the distal end of theouter core wire 11 and the distal end of theinner core wire 12 are fixed together and the position of the proximal end of theouter core wire 11 is also fixed, the proximal end of theinner core wire 12 moves towards the direction close to the operator, so that theouter core wire 11 is continuously compressed, the stiffness and flexibility of the pushing device are increased and reduced, and the operator accordingly increases the stiffness of the pushing device, so as to overcome the resistance possibly brought by the tortuosity of the conveying path and smoothly push theimplantation instrument 40 into the human body. When theimplantation instrument 40 reaches the vicinity of the implantation position, the operator moves theinner core wire 12 of the pushing device towards the distal end at the proximal end of the pushing device, because the distal end of theouter spring 11 and the distal end of theinner core wire 12 are fixed together and the position of the proximal end of theouter spring 11 is also fixed, the movement of the proximal end of theinner core wire 12 away from the operator can continuously loosen theouter spring 11, the rigidity and flexibility of the pushing device are reduced and increased, so that the operator increases the flexibility of the pushing device, reduces the movement potential energy of the pushing device in the human body, reduces the influence force of the pushing device on theimplantation instrument 40, and facilitates the operator to judge the fitting condition of the instrument and the implantation position better. In addition, as shown in fig. 5, when theimplantation device 40 reaches the implantation position under the control of the pushing device, the pushing device is adjusted to the most flexible state, so that theimplantation device 40 is matched with the lesion position in a state of being basically free from external force, the operator can judge whether theimplantation device 40 is the best choice or not, and if not, the operator can still replace theimplantation device 40 or continue to adjust the implantation position without increasing the pain and treatment risk of the patient.
Therefore, the rigidity and flexibility of the pushing device in the application are adjustable, and the operator can control the rigidity and flexibility of the pushing device by operating the movement of the proximal end of theinner core wire 12 in the axial direction of the pushing device in the process of interventional operation, so that the influence of the pushing device on theimplantation instrument 40 is more controllable, theimplantation instrument 40 is reliably kept at the implantation position, and the treatment risk of interventional treatment is reduced.
Further, as shown in fig. 1, theinstrument connection portion 20 includes aconnection transition section 21 and aconnection stud section 22 connected to the distal end of theconnection transition section 21, theconnection transition section 21 and theconnection stud section 22 both extend along the axial direction of the pushing device, threads are provided on the outer peripheral surface of theconnection stud section 22, theconnection stud section 22 is detachably connected to theimplantation instrument 40, the proximal end of theconnection transition section 21, the distal end of theouter spring 11 and the distal end of theinner core wire 12 are fixed, and theinstrument connection portion 20 is connected to the distal end of the pushingbody portion 10 through theconnection transition section 21. The connectingscrew column section 22 is in threaded connection with theimplantation instrument 40, and the main pushingbody part 10 is rotated to push the main pushingbody part 10 to drive theinstrument connecting part 20 to rotate together, so that the connectingscrew column section 22 can be connected with theimplantation instrument 40, or the connectingscrew column section 22 is disconnected with theimplantation instrument 40. In the rotating process, the operator can also operate the proximal end of theinner core wire 12 to move towards the proximal end of the pushing device in the axial direction of the pushing device, so that the rigidity of the pushing device is increased, and the rotation synchronism of the pushing device is improved, namely, the rotation of the proximal end of the pushing device is instantly transmitted to the connectingpart 20 at the distal end of the pushing device, so that the movement of the pushing device in the human body is more controllable, and the human body is not damaged or the implanted instrument is not influenced by unexpected movement. Theinstrument connecting part 20, theouter spring 11 and theinner core wire 12 are all made of metal, so that the near end of the connectingtransition section 21, the far end of theouter spring 11 and the far end of theinner core wire 12 can be welded and fixed into a whole, or the near end of the connectingtransition section 21, the far end of theouter spring 11 and the far end of theinner core wire 12 can be fixedly connected into a whole in an injection molding mode.
Further, as shown in fig. 1 and 3, the outer layer spring 11 is spiral, the outer layer spring 11 has a plurality of connecting rings 111 connected in sequence, an included angle α between the connecting rings 111 and the axial direction of the pusher is 50 ° to 80 °, as shown in fig. 2, the outer layer spring 11 is formed by spirally winding a single first wire 14 around the inner core wire 12 as an axis, the outer layer spring 11 surrounds the outer periphery of the inner core wire 12, the first wire 14 is densely wound when spirally wound, the winding density of the first wire 14 is 10 to 20 turns/cm, that is, the first wire 14 is wound 10 to 20 turns per 1 cm in the axial direction of the pusher, the cross section of the first wire 14 is circular, rectangular, or elliptical, when the cross section of the first wire 14 is circular, the diameter of the first wire 14 is 0.3mm to 0.9mm, preferably 0.6mm, when the cross section of the first wire 14 is rectangular, the width of the first wire 14 is 0.6mm, the thickness of the first wire 14 is 0.3mm to 0.9mm, and the ratio of the minor axis to the first wire thickness is 0.6mm, preferably 0.14 mm, and the first wire is a stainless steel material having a minor axis to 4.8 mm thickness.
Further, as shown in fig. 2, theinner core wire 12 is formed by twisting a plurality ofsecond metal wires 15, and the number of thesecond metal wires 15 is preferably 3 to 9, and more preferably 8.
Second embodiment of the pushing device
As shown in fig. 6, the second embodiment of the pushing device is added with theoperation part 30 arranged at the proximal end of the pushingmain body part 10 on the basis of the first embodiment of the pushing device, so that the second embodiment of the pushing device includes all the technical features of the first embodiment of the pushing device, and the second embodiment of the pushing device enables the operator to conveniently operate the axial movement of the proximal end of theinner core wire 12 in the pushing device and the overall rotation of the pushing device through theoperation part 30, thereby correspondingly controlling the rigidity and flexibility of the pushing device and the detachable connection between the distal end of theinstrument connecting part 20 and theimplantation instrument 40.
As shown in fig. 6, in the second embodiment of the pushing device, theinstrument connecting portion 20, the pushingmain body portion 10 and the operatingportion 30 are connected in sequence in a distal-to-proximal direction, the operatingportion 30 has an operatingdistal end portion 32 and an operatingproximal end portion 33, the operatingdistal end portion 32 is used for connecting to theouter layer spring 11 in the pushingmain body portion 10 at the proximal end in the pushingmain body portion 10, the operatingproximal end portion 33 is used for connecting to the innerlayer core wire 12 in the pushingmain body portion 10 and controlling the movement of the innerlayer core wire 12, and the housing of the operatingdistal end portion 32 is connected to the housing of the operatingproximal end portion 33 and constitutes thehousing 31 of the operatingportion 30.
Specifically, as shown in fig. 7 to 9, the proximal end of theouter layer spring 11 is fixed to the housing of the operationdistal end portion 32, so as to maintain and fix the position of the proximal end of theouter layer spring 11 in the axial direction of the pushing device, acore wire passage 321 is formed in the housing of the operationdistal end portion 32, and the proximal end of the innerlayer core wire 12 is freely movably inserted into thecore wire passage 321 without being connected therebetween. The operationproximal portion 33 includes a corewire fixing member 331 and acontrol valve 332 for driving the corewire fixing member 331 to move along the axial direction of the pushing device, afirst slide groove 333 extending along the axial direction of the pushing device is formed in the casing of the operationproximal portion 33, a distal end of thefirst slide groove 333 communicates with a proximal end of thecore wire passage 321, a proximal end of theinner core wire 12 is fixed to the corewire fixing member 331, and the corewire fixing member 331 is slidably engaged with thefirst slide groove 333. When the operator operates the proximal end of theinner core wire 12 to move in the axial direction of the pushing device through theoperation part 30, when the corewire fixing member 331 moves proximally in thefirst chute 333 through thecontrol valve 332, the corewire fixing member 331 drives the proximal end of theinner core wire 12 to move proximally synchronously, so as to increase the hardness of the pushing device; when the corewire fixing member 331 is moved distally in the first slidinggroove 333 by thecontrol valve 332, the corewire fixing member 331 drives the proximal end of theinner core wire 12 to move distally synchronously, so as to increase the softness of the pushing device. When the operator rotates theoperation unit 30, theoperation unit 30 drives the pushingmain body 10 and theinstrument connecting portion 20 to rotate synchronously, so as to detachably connect theinstrument connecting portion 20 and theimplantation instrument 40.
Further, the preferred connection structure between thecontrol valve 332 and the corewire fixing member 331 is: as shown in fig. 7 to 9, theoperation portion 30 further includes avalve connecting member 334, thevalve connecting member 334 is a rod extending along the radial direction of the pushingmain body portion 10, the housing of the operationproximal portion 33 is further provided with a second slidingslot 335 communicating with the first slidingslot 333 and extending along the axial direction of the pushing device, so that the first slidingslot 333 is parallel to the second slidingslot 335, the second slidingslot 335 penetrates through the housing of the operationproximal portion 33 along the radial direction of the pushing device, and thevalve connecting member 334 is inserted into the second slidingslot 335 and is in sliding fit with the second slidingslot 335;control valve 332 is located outside the housing ofproximal section 33, one end ofvalve connector 334 is located outside the housing ofproximal section 33 and is fixed to controlvalve 332, and the other end ofvalve connector 334 is located inside the housing ofproximal section 33 and is fixed towire mount 331. When the operator applies force, when thecontrol valve 332 moves in the axial direction of the pushing device, thecontrol valve 332 drives thevalve connecting member 334 to move synchronously in the second slidinggroove 335, and further drives the corewire fixing member 331 to move synchronously in the first slidinggroove 333; namely: thecontrol valve 332, thevalve connector 334 and the corewire fixing member 331 are moved synchronously in the axial direction of the pushing device. More specifically, as thecontrol valve 332 moves along thesecond runner 335 toward the distal end of the pusher, thecontrol valve 332, thevalve linkage 334, the corewire securing member 331, and the proximal end of theinner core wire 12 move together toward the distal end of the pusher, causing theinner core wire 12 to relax; conversely, when thecontrol valve 332 moves along thesecond runner 335 toward the proximal end of the pusher, thecontrol valve 332, thevalve linkage 334, the corewire securing member 331, and the proximal end of theinner core wire 12 move together toward the proximal end of the pusher, causing theinner core wire 12 to tighten; since the movement of thecontrol valve 332, thevalve linkage 334, thecore wire fixture 331 and theinner core wire 12 towards the distal or proximal end of the pusher is continuous, the loosening or tightening of theinner core wire 12 is also continuous. When theinner core wire 12 is continuously tightened, theouter spring 11 is continuously compressed, and the hardness of the pushing device is continuously increased; when theinner core wire 12 is continuously loosened, theouter spring 11 is continuously restored to the loosened state, and the softness of the pushing device is increased, so that the control of the rigidity and softness of the pushing device is realized.
Further, as shown in fig. 7 and 8, the housing of the operationdistal end portion 32 includes aspring fixing member 322, thespring fixing member 322 is provided at the distal end of thehousing 31 of theoperation portion 30, the proximal end of theouter spring 11 is fixed to the distal end of thespring fixing member 322, and thecore wire passage 321 penetrates thespring fixing member 322 in the axial direction of the pushing apparatus. Thespring fixing member 322 may be made of stainless steel and is welded to the proximal end of theouter spring 11. The housing for operating thedistal end portion 32 may be constituted only by thespring fixing member 322, and in this case, thespring fixing member 322 is integrally connected to the housing for operating theproximal end portion 33 by an injection molding process. Alternatively, the housing of the operationdistal portion 32 is composed of aspring fixing member 322 and a plastic sleeve injection-molded on the outer periphery of thespring fixing member 322, in this case, thespring fixing member 322 and the plastic sleeve are connected as a whole through an injection molding process, and the plastic sleeve is simultaneously connected as a whole with the housing of the operationproximal portion 33 through an injection molding process.
The corewire fixing member 331 shown in fig. 7 and 8 is preferably formed in an elliptical spherical shape, but may be formed in a spherical shape. Similarly, thefirst slide groove 333, thesecond slide groove 335, thespring fixing member 322, and the corewire fixing member 331 may have various axially extending shapes that satisfy the axial movement of theinner core wire 12, and are not limited to the shapes shown in fig. 7 and 8.
In conclusion, the present invention effectively overcomes various disadvantages of the prior art and has high industrial utilization value.
The foregoing embodiments are merely illustrative of the principles and utilities of the present invention and are not intended to limit the invention. Any person skilled in the art can modify or change the above-mentioned embodiments without departing from the spirit and scope of the present invention. Accordingly, it is intended that all equivalent modifications or changes which can be made by those skilled in the art without departing from the spirit and technical spirit of the present invention be covered by the claims of the present invention.

Claims (13)

10. The pushing device of claim 1, wherein: the core wire pushing device is characterized by further comprising an operation part (30) arranged at the near end of the pushing main body part (10), wherein the operation part (30) comprises a shell (31), a core wire fixing part (331) and a control valve (332) for driving the core wire fixing part (331) to move, a core wire channel (321) and a first sliding groove (333) communicated with the near end of the core wire channel (321) and extending along the axial direction of the pushing device are formed in the shell (31), the near end of the outer layer spring (11) is fixed with the shell (31), the near end of the inner layer core wire (12) can be slidably arranged in the core wire channel (321) in a penetrating mode and is fixed with the core wire fixing part (331), and the core wire fixing part (331) is in sliding fit with the first sliding groove (333).
CN202010096333.4A2020-02-182020-02-18Pusher and intervene conveying systemActiveCN110916746B (en)

Priority Applications (1)

Application NumberPriority DateFiling DateTitle
CN202010096333.4ACN110916746B (en)2020-02-182020-02-18Pusher and intervene conveying system

Applications Claiming Priority (1)

Application NumberPriority DateFiling DateTitle
CN202010096333.4ACN110916746B (en)2020-02-182020-02-18Pusher and intervene conveying system

Publications (2)

Publication NumberPublication Date
CN110916746Atrue CN110916746A (en)2020-03-27
CN110916746B CN110916746B (en)2020-07-14

Family

ID=69854843

Family Applications (1)

Application NumberTitlePriority DateFiling Date
CN202010096333.4AActiveCN110916746B (en)2020-02-182020-02-18Pusher and intervene conveying system

Country Status (1)

CountryLink
CN (1)CN110916746B (en)

Cited By (4)

* Cited by examiner, † Cited by third party
Publication numberPriority datePublication dateAssigneeTitle
CN113499125A (en)*2021-06-252021-10-15南京航空航天大学Auxiliary electrode implantation system and electrode implantation method capable of adjusting needle insertion depth for organism
CN113995480A (en)*2020-09-252022-02-01广州博鑫医疗技术有限公司High-speed driving shaft for insertion type rotary grinding device and insertion type rotary grinding device
CN114305818A (en)*2021-12-012022-04-12宁波迪创医疗科技有限公司Implanting instrument and assembling and disassembling tool assembly thereof
CN115363665A (en)*2021-05-182022-11-22上海佐心医疗科技有限公司Pushing device

Citations (7)

* Cited by examiner, † Cited by third party
Publication numberPriority datePublication dateAssigneeTitle
US4215703A (en)*1978-08-291980-08-05Willson James K VVariable stiffness guide wire
US5957903A (en)*1991-10-151999-09-28Advanced Cardiovascular Systems, Inc.Variable stiffness guidewire
US20060106447A1 (en)*2004-01-262006-05-18Nmt Medical, Inc.Adjustable stiffness medical system
CN101496730A (en)*2008-02-022009-08-05先健科技(深圳)有限公司Flexible releasing conveying system
JP2010207251A (en)*2009-03-062010-09-24Olympus CorpGuide wire
CN102223909A (en)*2008-09-232011-10-19伊莱亚斯·哈比布·卡萨布 Intravascular sheath device and method with graded stiffness
US20170143318A1 (en)*2015-11-242017-05-25Bobby HuDelivery Apparatus for a Medical Device

Patent Citations (7)

* Cited by examiner, † Cited by third party
Publication numberPriority datePublication dateAssigneeTitle
US4215703A (en)*1978-08-291980-08-05Willson James K VVariable stiffness guide wire
US5957903A (en)*1991-10-151999-09-28Advanced Cardiovascular Systems, Inc.Variable stiffness guidewire
US20060106447A1 (en)*2004-01-262006-05-18Nmt Medical, Inc.Adjustable stiffness medical system
CN101496730A (en)*2008-02-022009-08-05先健科技(深圳)有限公司Flexible releasing conveying system
CN102223909A (en)*2008-09-232011-10-19伊莱亚斯·哈比布·卡萨布 Intravascular sheath device and method with graded stiffness
JP2010207251A (en)*2009-03-062010-09-24Olympus CorpGuide wire
US20170143318A1 (en)*2015-11-242017-05-25Bobby HuDelivery Apparatus for a Medical Device

Cited By (6)

* Cited by examiner, † Cited by third party
Publication numberPriority datePublication dateAssigneeTitle
CN113995480A (en)*2020-09-252022-02-01广州博鑫医疗技术有限公司High-speed driving shaft for insertion type rotary grinding device and insertion type rotary grinding device
CN113995480B (en)*2020-09-252022-06-24广州博鑫医疗技术有限公司High-speed driving shaft for insertion type rotary grinding device and insertion type rotary grinding device
CN115363665A (en)*2021-05-182022-11-22上海佐心医疗科技有限公司Pushing device
CN113499125A (en)*2021-06-252021-10-15南京航空航天大学Auxiliary electrode implantation system and electrode implantation method capable of adjusting needle insertion depth for organism
CN113499125B (en)*2021-06-252023-02-10南京航空航天大学Auxiliary electrode implantation system and electrode implantation method capable of adjusting needle insertion depth for organism
CN114305818A (en)*2021-12-012022-04-12宁波迪创医疗科技有限公司Implanting instrument and assembling and disassembling tool assembly thereof

Also Published As

Publication numberPublication date
CN110916746B (en)2020-07-14

Similar Documents

PublicationPublication DateTitle
JP7278437B2 (en) Device for introducing and manipulating multiple telescoping catheters
CN110916746B (en)Pusher and intervene conveying system
JP6854356B2 (en) Systems that deliver implantable medical devices and systems that implant heart valves
US11446470B2 (en)Catheter handle with torque mechanism and valve relief component
CN111194193A (en) Active Introducer Sheath System
EP1984061B1 (en)Coaxial PTA balloon
JP2021184830A (en)Radial and trans-endocardial delivery catheter
CN110114114B (en)Delivery devices and methods for leadless cardiac devices
JP2013252338A (en)Medical treatment member
US20240285907A1 (en)Catheter handle with a locking mechanism
JP7059399B2 (en) Medical device with nested seal assembly
WO2021015905A2 (en)Annuloplasty manual internal guidewire navigation
JP2021521965A (en) Electric telescope medical device delivery system
US20210322727A1 (en)Catheter with electrically-actuated articulation
US20250134530A1 (en)Delivery device for occlusive implants
US8021374B2 (en)Method and device for the controlled delivery and placement of securing elements in a body
US20190224010A1 (en)Conductance mode deployment sensors for transcatheter valve system

Legal Events

DateCodeTitleDescription
PB01Publication
PB01Publication
SE01Entry into force of request for substantive examination
SE01Entry into force of request for substantive examination
CB03Change of inventor or designer information

Inventor after:Tang Liang

Inventor after:Li Rui

Inventor after:Yan Wei

Inventor after:Gong Shanshi

Inventor after:Zhao Danru

Inventor before:Li Rui

Inventor before:Yan Wei

Inventor before:Gong Shanshi

Inventor before:Zhao Danru

CB03Change of inventor or designer information
GR01Patent grant
GR01Patent grant
TR01Transfer of patent right

Effective date of registration:20240819

Address after:200333 Room 202, No. 2, Lane 2888, Qilianshan South Road, Putuo District, Shanghai

Patentee after:Shanghai Pushi Medical Equipment Co.,Ltd.

Country or region after:China

Address before:200126 Pudong New Area, Shanghai, China (Shanghai) free trade pilot area 251 Yaohua Road, a layer.

Patentee before:Shanghai interventional medical equipment Co.,Ltd.

Country or region before:China

TR01Transfer of patent right

[8]ページ先頭

©2009-2025 Movatter.jp