Movatterモバイル変換


[0]ホーム

URL:


CN110879192B - Ferrograph measuring method of portable ferrograph and electronic equipment - Google Patents

Ferrograph measuring method of portable ferrograph and electronic equipment
Download PDF

Info

Publication number
CN110879192B
CN110879192BCN201811039040.1ACN201811039040ACN110879192BCN 110879192 BCN110879192 BCN 110879192BCN 201811039040 ACN201811039040 ACN 201811039040ACN 110879192 BCN110879192 BCN 110879192B
Authority
CN
China
Prior art keywords
image
oil
storage container
portable
ferrography
Prior art date
Legal status (The legal status is an assumption and is not a legal conclusion. Google has not performed a legal analysis and makes no representation as to the accuracy of the status listed.)
Active
Application number
CN201811039040.1A
Other languages
Chinese (zh)
Other versions
CN110879192A (en
Inventor
詹姆斯·刘
Current Assignee (The listed assignees may be inaccurate. Google has not performed a legal analysis and makes no representation or warranty as to the accuracy of the list.)
Beijing Zhigan Zhilian Technology Co ltd
Original Assignee
Beijing Zhigan Zhilian Technology Co ltd
Priority date (The priority date is an assumption and is not a legal conclusion. Google has not performed a legal analysis and makes no representation as to the accuracy of the date listed.)
Filing date
Publication date
Application filed by Beijing Zhigan Zhilian Technology Co ltdfiledCriticalBeijing Zhigan Zhilian Technology Co ltd
Priority to CN201811039040.1ApriorityCriticalpatent/CN110879192B/en
Publication of CN110879192ApublicationCriticalpatent/CN110879192A/en
Application grantedgrantedCritical
Publication of CN110879192BpublicationCriticalpatent/CN110879192B/en
Activelegal-statusCriticalCurrent
Anticipated expirationlegal-statusCritical

Links

Images

Classifications

Landscapes

Abstract

The embodiment of the application provides a portable ferrograph, a ferrograph measuring method and electronic equipment, wherein the portable ferrograph comprises an oil storage container, a top cover, a first magnetic device and a second magnetic device; the top cover is positioned at the top of the oil storage container, is movably connected with the oil storage container and forms a cavity, and the cavity is a test cavity; the first magnetic device is arranged on the top cover and is positioned in the test cavity; the bottom of the oil storage container is a plane, and the second magnetic device is arranged below the bottom of the oil storage container. The portable ferrograph, the ferrograph measuring method and the electronic equipment have the advantages of short required testing time, simple operation process and portability, and are favorable for popularization and application of the ferrograph.

Description

Ferrograph measuring method of portable ferrograph and electronic equipment
Technical Field
The application relates to the technical field of particle detection, in particular to an iron spectrum measuring method of a portable iron spectrometer and electronic equipment.
Background
The ferrograph is a device for testing mechanical wear, which separates metal particles in oil by magnetic force, deposits the metal particles on a transparent substrate in sequence without overlapping according to the size of the metal particles (namely, a spectrum plate is manufactured), and observes under a microscope to perform qualitative analysis (which refers to monitoring and analyzing the surface morphology and components such as the morphological characteristics, the size, the difference and the like of abrasive particles). The relative content of the large and small abrasive particles on the spectrum sheet can be quantitatively analyzed by utilizing a densitometer arranged on a ferrograph microscope, and the relative content of the abrasive dust can be subjected to image processing by utilizing a computer so as to obtain the relevant parameters of the abrasive dust. The research of tribology shows that the type and quantity of the abrasive particles and the increasing speed have direct relation with the abrasion degree and the abrasion speed of the friction surface material; the form, color and size of the abrasive grains are closely related to the type and process of wear. Therefore, the ferrograph can play a comprehensive role in judging the positions, the severity, the development trend, the generation reasons and the like of the wear faults.
However, the existing analysis method for the ferrograph needs to obtain the picture of the ferromagnetic particles by means of equipment such as a microscope through processes of sampling, making a spectrum sheet and the like, and the whole process is very complicated and long in time consumption and needs to be completed by a specially trained experimenter.
Disclosure of Invention
The application provides a portable ferrograph, a ferrograph measuring method and electronic equipment, which can solve the problems of complexity and long time consumption of the conventional ferrograph measuring process. The technical scheme adopted by the application is as follows:
in a first aspect, the present application provides a portable iron spectrometer, comprising: the oil storage container, the top cover, the first magnetic device and the second magnetic device;
the top cover is positioned at the top of the oil storage container, is movably connected with the oil storage container and forms a cavity, and the cavity is a test cavity; the first magnetic device is arranged on the top cover and is positioned in the test cavity; the bottom of the oil storage container is a plane, and the second magnetic device is installed below the bottom of the oil storage container.
Optionally, the first magnetic device is a permanent magnet or an electromagnet, and the second magnetic device is a permanent magnet or an electromagnet.
Optionally, the bottom of the oil storage container is a thin sheet made of ferromagnetic substance or paramagnetic substance.
Optionally, the testing device further comprises a movable oil injection device, and the oil injection device is used for injecting an oil sample into the testing cavity.
Optionally, the oil injection device further comprises a controller, and the controller is used for controlling the oil injection device to inject the oil sample into the test cavity according to a preset flow rate.
In a second aspect, the present application provides a ferrography measurement method used in cooperation with the portable ferrography of the first aspect, comprising: and controlling an image acquisition device to acquire the particles adsorbed on the test surface and/or acquiring and storing pictures of the particles adsorbed on the surface of the first magnetic device.
Optionally, when the portable ferrograph includes the controller and an oil injection device, the method further includes:
and sending control information to the controller, wherein the control information comprises an injection speed parameter, so that the controller controls the oil liquid injection device to inject the oil sample into the test cavity according to the flow speed corresponding to the injection speed parameter.
In a third aspect, the present application further provides an electronic device, which includes a processor, a memory, an image acquisition apparatus, and an application program stored on the memory and executable on the processor, and is characterized in that the processor implements the ferrographic measurement method of the second aspect when executing the application program.
Compared with the prior art, the portable ferrograph, the ferrograph measuring method and the electronic device provided by the embodiment of the application have the following beneficial effects:
1. in the measuring process, an oil sample does not need to be processed, a reagent does not need to be added, and the oil sample does not need to be heated, so that the testing time is greatly shortened;
2. the operation process is simple, the requirement on testing personnel is reduced, and the popularization and the application of the ferrograph are facilitated;
3. the portable ferrograph has the advantages that the structure is simple, the size is small, the weight is light, the carrying is convenient, any high-precision sensor or electronic device is not used, the price of the ferrograph is greatly reduced, meanwhile, the portable ferrograph of the embodiment can resist strong vibration and strong impact, the requirement on the use environment is reduced, and the application of the ferrograph is not limited to a laboratory;
4. the images of the particles can be shot from a plurality of different angles, the interference caused by factors such as overlapping, shielding and the like is reduced by comparing the images at different angles, the sizes, forms and numbers of ferromagnetic particles and paramagnetic particles can be reflected more comprehensively, and the measurement accuracy is improved;
5. paramagnetic and ferromagnetic particles can be separated so as to obtain clear images of various particles;
6. the injection speed of the oil sample can be adjusted according to the test requirement, iron spectrum images with different resolutions are obtained, and more information about ferromagnetic particles and paramagnetic particles is obtained by comparing and analyzing the iron spectrum images with different resolutions.
Drawings
In order to more clearly illustrate the technical solutions in the embodiments of the present application, the drawings used in the description of the embodiments of the present application will be briefly described below.
Fig. 1 is a schematic structural diagram of a portable iron spectrometer according to an embodiment of the present application;
FIG. 2 is a schematic structural diagram of a portable ferrograph according to an embodiment of the present application;
FIG. 3 is a schematic structural diagram of a portable iron spectrometer according to another embodiment of the present application;
FIG. 4 is a schematic structural diagram of a portable ferrograph according to another embodiment of the present application;
FIG. 5 is a schematic structural diagram of a portable ferrograph according to yet another embodiment of the present application;
fig. 6 is a schematic structural diagram of a data processing device of the portable ferrograph according to the present application.
Detailed Description
Reference will now be made in detail to embodiments of the present application, examples of which are illustrated in the accompanying drawings, wherein like or similar reference numerals refer to the same or similar elements or elements having the same or similar function throughout. The embodiments described below with reference to the drawings are exemplary only for the purpose of explaining the present application and are not to be construed as limiting the present application.
As used herein, the singular forms "a", "an", "the" and "the" are intended to include the plural forms as well, unless the context clearly indicates otherwise. It will be further understood that the terms "comprises" and/or "comprising," when used in this specification, specify the presence of stated features, integers, steps, operations, elements, and/or components, but do not preclude the presence or addition of one or more other features, integers, steps, operations, elements, components, and/or groups thereof. It will be understood that when an element is referred to as being "connected" or "coupled" to another element, it can be directly connected or coupled to the other element or intervening elements may also be present. Further, "connected" or "coupled" as used herein may include wirelessly connected or wirelessly coupled. As used herein, the term "and/or" includes all or any element and all combinations of one or more of the associated listed items.
First, the related terms referred to in the embodiments of the present application are explained as follows:
ferromagnetic particles: the magnetic field magnetizing device is a particulate matter which has strong response to a magnetic field and can be magnetized to be saturated under the action of a small magnetic field, such as iron, steel, nickel, cobalt and other particulate matters.
Paramagnetic particles: it is a particle material with weak response to magnetic field, i.e. a non-ferromagnetic material (such as platinum, aluminum, copper, silver, chromium, etc.), when the paramagnetic particles move close to the magnetic field, they can be magnetized along the direction of the magnetic field, but they are weak.
The following describes the technical solutions of the present application and how to solve the above technical problems with specific embodiments. The following several specific embodiments may be combined with each other, and details of the same or similar concepts or processes may not be repeated in some embodiments. Embodiments of the present application will be described below with reference to the accompanying drawings.
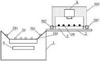
As shown in fig. 1 and 2, an embodiment of the present application provides a portable iron spectrometer, including: oil storage container 1,top cover 2, firstmagnetic means 3 and secondmagnetic means 4.
Thetop cover 2 is located at the top of the oil storage container 1, is movably connected with the oil storage container 1, and forms a cavity which is atesting cavity 5, and the firstmagnetic device 3 is installed on thetop cover 2 and is located in thetesting cavity 5. Thetest chamber 5 is used for storing oil samples for testing.
For example, thetop cover 2 may be movably connected to the oil storage container 1 by a hinge so that thetop cover 2 can be knocked up or closed. As shown in fig. 1, which is a schematic structural view of a portable ferrograph when atop cover 2 is closed, when thetop cover 2 is closed, a firstmagnetic device 3 is located right above atesting surface 101 of an oil storage container 1. Fig. 2 is a schematic structural view of the portable ferrograph when thetop cover 2 is opened.
Thetest surface 101 of the bottom of the oil reservoir 1 is a plane and the secondmagnetic means 4 is mounted below the bottom of the oil reservoir 1. The secondmagnetic means 4 are intended to attract particles in the oil sample flowing over thetest surface 101, said particles mainly comprisingferromagnetic particles 10 andparamagnetic particles 20.
Theferromagnetic particles 10 may be a simple metal, a metal alloy, or other magnetic inorganic material or organic magnetic material. Wherein the metal simple substance is iron, cobalt or nickel. The metal alloy is iron alloy, cobalt alloy or nickel alloy; or AlNiCo or NdFeB. Theparamagnetic particles 20 can be particles of platinum, aluminum, copper, silver, chromium, and the like.
Referring to fig. 1, when the top cover 1 is closed, the firstmagnetic device 3 attracts theferromagnetic particles 10 on thetesting surface 101 to the surface of the firstmagnetic device 3, and when thetop cover 3 is opened, an image of theferromagnetic particles 10 adsorbed on the surface of the firstmagnetic device 3 can be captured.
The bottom of the oil storage container 1 is a thin sheet made of ferromagnetic substance or paramagnetic substance. For example, the bottom of the oil storage container 1 may be a metal sheet, a metal alloy sheet, a non-metallic material sheet, or a plastic sheet.
Thetest surface 101 may be a gold plating layer. Since theferromagnetic particles 10 are generally dark black or gray, and the test surface is gold-plated and light in color, the color contrast between theferromagnetic particles 10 and thetest surface 101 is large, which is beneficial to distinguish the ferromagnetic particles from the collected image.
Of course, if the particles to be detected are yellow, such as copper, thetest surface 101 may also be a silver coating.
Alternatively, the firstmagnetic means 3 and the second magnetic means 13 are permanent magnets or electromagnets.
In a specific implementation, the method for using the portable iron spectrometer of the embodiment comprises the following five steps:
the first step is to open thetop cover 2 and inject an oil sample into thetesting cavity 5, in order to ensure the quality of the images of theferromagnetic particles 10 and theparamagnetic particles 20, the oil sample can be injected into the center of thetesting surface 101 of the oil storage container 1 at a constant speed, and the oil sample diffuses from the center to the periphery. During the diffusion process, theferromagnetic particles 10 and theparamagnetic particles 20 in the oil sample will be attracted to thetest surface 101 at the bottom of the oil reservoir 1. After the oil sample is injected, the oil sample is left standing for a while, so that all theferromagnetic particles 10 and theparamagnetic particles 20 in the oil sample are adsorbed on thetest surface 101.
And secondly, moving theimage acquisition device 8 to the position above the oil storage container 1, aligning the shooting direction of theimage acquisition device 8 with thetest surface 101 of the oil storage container 1, and shooting images of theferromagnetic particles 10 and theparamagnetic particles 20 on thetest surface 101, wherein the images are recorded as a first image, as shown in fig. 2. After the first image is acquired, theimage acquisition device 8 is removed.
When the oil sample diffuses from thetest surface 101 to the surroundings, the larger ferromagnetic particles and paramagnetic particles are more obvious due to the action of gravity, resulting in closer diffusion distance, while the smaller ferromagnetic particles and paramagnetic particles are less due to the action of gravity, resulting in farther diffusion distance. Therefore, after the oil sample in thechamber 5 to be tested is stabilized, the ferromagnetic particles and paramagnetic particles of different sizes are distributed in a ring shape, that is, the ferromagnetic particles and paramagnetic particles of the same size are approximately the same distance from the center of thetesting surface 101, and the larger the ferromagnetic particles and paramagnetic particles are closer to the center, the smaller the ferromagnetic particles and paramagnetic particles are farther from the center.
Third, as shown in fig. 1, thetop cover 2 is closed, and since thetop cover 2 is provided with the firstmagnetic means 3, when thetop cover 2 is buckled on thetesting chamber 5, the firstmagnetic means 3 on thetop cover 2 attracts theferromagnetic particles 10 attracted to thetesting surface 101 of the oil container 1 to the firstmagnetic means 3 on thetop cover 2, and then, thetop cover 2 is opened.
Because of the weaker magnetic properties of theparamagnetic particles 20, theparamagnetic particles 20 will remain at thetest surface 101.
The firstmagnetic means 3 is located directly above thetest surface 101, and ideally the distribution of theferromagnetic particles 10 adsorbed on the firstmagnetic means 3 and the distribution of theferromagnetic particles 10 adsorbed on thetest surface 101 should be mirrored, so that theferromagnetic particles 10 of different sizes on the firstmagnetic means 3 are also distributed substantially in a ring.
Fourthly, as shown in fig. 4, theimage capturing device 8 is moved above the firstmagnetic device 3, and the shooting direction of theimage capturing device 8 is aligned with the surface of the firstmagnetic device 3, and an image of theferromagnetic particles 10 on the surface of the firstmagnetic device 3 is shot and recorded as a second image. After the second image is acquired, theimage acquisition device 8 is removed.
And fifthly, moving theimage acquisition device 8 to the position above the oil storage container 1 again, aligning the shooting direction of theimage acquisition device 8 to thetest surface 101 of the oil storage container 1, and shooting an image of theparamagnetic particles 20 on thetest surface 101, wherein the image is recorded as a third image. After the third image is acquired, theimage acquisition device 8 is removed.
After the oil liquid and the residual particles in thetest cavity 5 and the particles adsorbed on the firstmagnetic device 3 are cleaned, the next measurement can be performed. By repeating the first step to the fifth step, the error in the measuring process can be reduced by measuring for a plurality of times.
It should be noted that the second step, the fourth step, and the fifth step are not necessarily performed. For example, if only the first image needs to be acquired, the fourth and fifth steps may be omitted.
Through the test process, the portable iron spectrometer of the embodiment is utilized, the oil sample does not need to be pretreated, the reagent does not need to be added into the oil sample, and the oil sample does not need to be heated, so that the test time is greatly shortened, the operation process is simple, the requirements on testers are greatly reduced, and the popularization and the application of the iron spectrometer are facilitated.
In addition, the portable iron spectrometer of this embodiment, simple structure, small, the quality is light, portable, owing to do not use any high accuracy sensor or electron device, this greatly reduced the price of iron spectrometer, make the portable iron spectrometer of this embodiment can resist strong vibrations and strong impact simultaneously, reduced the requirement to service environment for the application of iron spectrometer is not being restricted to the laboratory. For example, the portable ferrograph of this embodiment can be used to detect the particulate matter in the lubricating oil of field vehicle, engineering vehicle, private car, even do not have the people of laboratory experience and all accomplish whole test operation to help the car owner to learn the true state of lubricating oil, select the opportunity of changing lubricating oil, reduce vehicle wear, also prevent to change unnecessary waste and environmental pollution that lubricating oil brought in advance simultaneously.
Ferromagnetic particles and paramagnetic particles are not all perfectly regular in shape, the larger the ferromagnetic particles and paramagnetic particles, the more irregular their shape, the angular and sharp points on their surface. The existing ferrograph only obtains images of ferromagnetic particles and paramagnetic particles from one angle, and due to reasons of overlapping, shielding and the like, forms and properties of the ferromagnetic particles at other angles are easy to miss, and based on the images with missing information, a more accurate analysis result is difficult to obtain. In fact, the larger ferromagnetic and paramagnetic particles are the key to analyzing wear of the equipment.
The first image, the second image and the third image in this embodiment are images of ferromagnetic particles and paramagnetic particles taken from different angles, and interference caused by factors such as overlapping and shielding can be reduced. In addition, the portable iron spectrometer of the embodiment can also separate paramagnetic particles and ferromagnetic particles so as to obtain clear images of various particles. Therefore, compared with the existing ferrograph, the portable ferrograph of the embodiment has higher precision.
In the existing ferrograph, the surface for depositing particles is an inclined glass surface, so that paramagnetic substances are easily taken away by flowing oil, and only a small amount of paramagnetic substances can be observed. In the ferrograph of the embodiment of the invention, the test surface for depositing the particles (including ferromagnetic particles and paramagnetic particles) is a plane, and the paramagnetic substance is not easily carried away by flowing oil, so that the paramagnetic substance is more easily observed.
Further, as shown in fig. 3, a first limitingmember 501 is disposed on the oil storage container 1, and the relative position of theimage capturing device 8 and the oil storage container 1 is limited by the first limitingmember 501, so that theimage capturing device 8 captures images of theferromagnetic particles 10 and theparamagnetic particles 20 adsorbed on thetesting surface 101 of the oil storage container 1. Theimage acquisition device 8 is placed in astructural part 503 shown in fig. 3, and thestructural part 503 is matched with the first limitingpart 501.
In the second step, theimage acquisition device 8 is limited to a relatively fixed position from thetest surface 101 by the first limitingmember 501, so that each time an image of the same position is acquired, it is ensured.
Further, as shown in fig. 4, asecond stopper 502 is disposed on one side of thetop cover 2 where the firstmagnetic device 3 is mounted, and the relative position between theimage capturing device 8 and the firstmagnetic device 3 is limited by thesecond stopper 502, so that theimage capturing device 8 captures an image of theferromagnetic particles 10 adsorbed on the surface of the firstmagnetic device 3. Theimage acquisition device 8 is placed in astructural part 503 shown in fig. 4, and thestructural part 503 is matched with the second limitingpart 502.
In the fourth step, theimage capturing device 8 is limited to a relatively fixed position from the surface of the firstmagnetic device 3 by the second limitingmember 502, so that it is ensured that each time an image of the same position is captured.
It should be noted that the image capturing device in the embodiment of the present invention may be a camera, or may be an electronic device with a built-in camera, such as a mobile phone and a tablet computer.
Further, as shown in fig. 5, the portable iron spectrometer of the present embodiment further includes a third limitingmember 701, a throughhole 702 for fixing theoil injection device 7 is formed on the third limitingmember 701, and the third limitingmember 701 is matched with the first limitingmember 501, so that the throughhole 702 is located right above the center of thetesting surface 101.
Before injecting the oil sample into thetesting cavity 5, the third limitingmember 701 is installed on the first limitingmember 501, theoil injection device 7 penetrates through the throughhole 702 to inject the oil sample into the testing cavity, and under the limitation of the third limitingmember 701, the oil sample in theoil injection device 7 falls to the center of thetesting surface 101 and flows to the periphery. Thus, the adsorbedferromagnetic particles 10 andparamagnetic particles 20 exhibit a gradient distribution radiating from the center to the periphery, and such a distribution is helpful for subsequent analysis.
Since the injection speed, injection amount and injection position of the oil all affect the final particle distribution, the portable ferrograph of this embodiment may further include anoil injection device 7 for injecting an oil sample into thetest chamber 5. Theoil injection device 7 is also movable, thetop cover 2 is opened, theoil injection device 7 is moved to the position right above thetesting surface 101 of the oil storage container 1, an oil sample is injected into thetesting cavity 5, and after the injection is finished, theoil injection device 7 is removed.
Theoil injection device 7 used in this embodiment may be a manual injection device such as an injector.
Of course, in order to conveniently control the injection speed of the oil sample, theoil injection device 7 can also adopt an automatic injection device, so as to ensure that the oil sample injected each time has the same initial speed, and to conveniently compare data measured for multiple times. In addition, a preset flow rate may be set by the controller, so that the controller may adjust the injection speed of theoil injection device 7 according to the preset flow rate. Wherein, the automatic injection device can be realized by the existing automatic injector, which is not described in detail herein.
Mechanical analysis is made to particulate matters in the oil sample, so that the flow rate during injection of the oil sample is faster, the particulate matters in the oil sample are farther from the center of thetest surface 101, and the flow rate is larger than large particulate matters in the action of small particulate matters, therefore, the flow rate is faster, the intervals among the particulate matters with different sizes are larger, and the appearance of the particulate matters in the shot image is clearer.
In specific implementation, a tester sets the injection time in advance, and the controller controls the injection speed of the automatic injection device according to the injection time set by the user, so that the oil flows to thetest surface 101 at a preset flow rate, and the relationship between the injection time and the preset flow rate can be determined in advance. Of course, the tester may also set the injection speed directly.
Therefore, by using the portable iron spectrometer of the embodiment, the speed of injecting the oil sample can be automatically adjusted according to the test requirement to obtain images of ferromagnetic particles and paramagnetic particles at different flow rates, the speeds of injecting the oil are different, and the resolution of the obtained iron spectrum images of the particulate matters are different, wherein the resolution refers to the diameter of a ring formed by the ferromagnetic particles and the paramagnetic particles. For example, the tester sets the injection time to 1 second, starts theoil injection device 7, and theoil injection device 7 injects the oil sample into the test chamber at a speed corresponding to 1 second, and then operates according to the steps from the second step to the fifth step to obtain the first image, the second image, and the third image at the injection time of 1 second. And then, setting the injection time to be 3 seconds by the tester, starting theoil injection device 7, injecting an oil sample into the test cavity by theoil injection device 7 at a speed corresponding to 3 seconds, and then operating according to the steps from the second step to the fifth step to obtain a first image, a second image and a third image under the injection time of 3 seconds. Then, the tester sets the injection time to 5 seconds, and acquires the first image, the second image, and the third image at the injection time of 5 seconds in the same manner. Finally, the tester can acquire images of ferromagnetic particles and paramagnetic particles at different injection times (namely different flow rates), so that ferrographic images with different resolutions can be obtained, and more information of the particles can be obtained by comparing and analyzing the ferrographic images with different resolutions.
The tester can realize the control of the controller through the electronic equipment with the built-in related application program. The electronic device can be a mobile phone, a tablet computer, a notebook computer, a personal computer and other devices which can load an application program and send instructions to the controller. The electronic device can also be internally provided with a camera to realize the acquisition of ferrographic images (namely the first image, the second image and the third image).
Therefore, the embodiment of the invention also provides a ferrograph measuring method, which comprises the following steps: and controlling the image acquisition device to acquire the particles adsorbed on the test surface and/or acquiring and storing pictures of the particles adsorbed on the surface of the first magnetic device.
The ferrographic measurement method of the embodiment can be used in cooperation with the portable ferrographic provided by the embodiment to acquire images of particulate matter in oil, so that the number, the particle color, the particle size distribution and the particle morphology of the particulate matter in the oil can be analyzed according to the images.
The electronic device runs the relevant application program to realize the method of the embodiment.
Further, the method of this embodiment further includes the steps of: and recording the shooting times, and generating and recording the experimental information of the currently acquired image according to the current shooting times.
The experimental information may include numbers such as 1, 2, and 3, and may also include specific shot contents such as "ferromagnetic particles and paramagnetic particles", "ferromagnetic particles", "paramagnetic particles", and the like.
Corresponding experimental information is recorded for the shot images according to the shooting times, so that a tester can conveniently sort the shot images.
Taking the test process from the first step to the fifth step as an example, when the electronic device is used to perform the first image shooting (corresponding to the second step), the electronic device records that the shooting frequency is 1, and according to the preset experimental process, the currently shot image is the first image, and then the experimental information is recorded for the first image, and the experimental information of the first image includes the number "1" and "ferromagnetic particles and paramagnetic particles"; when the electronic equipment is used for shooting the image for the second time (corresponding to the fourth step), the electronic equipment changes the shooting frequency to 2, and according to a preset experimental process, the currently shot image is the second image, and then the experimental information is recorded for the second image, and the experimental information of the second image comprises the serial number of 2 and ferromagnetic particles; when the electronic device is used for shooting the image for the third time (corresponding to the fifth step), the electronic device changes the shooting frequency to 3, and according to the preset experimental process, if the current shot image is the third image, the experimental information is recorded for the third image, and the experimental information of the third image comprises the serial number "3" and the "paramagnetic particles".
Of course, different experimental processes and the experimental information recorded each time are different, and the tester can select different experimental processes through electronic equipment. In order to prevent the tester from recording the experimental steps incorrectly and shooting wrong images, the electronic device can prompt the tester of the currently executed operation through a display screen of the electronic device according to the experimental process selected by the tester. For example, when a second image of the ferromagnetic particles on the surface of the firstmagnetic device 3 is currently captured, the electronic device displays a related word such as "ferromagnetic particles" or a picture of the firstmagnetic device 3 through the display screen for prompting.
When the portable ferrograph used cooperatively comprises a controller and an oil injection device, the method of the embodiment further comprises the following steps: and sending control information to the controller, wherein the control information comprises an injection speed parameter, so that the controller controls theoil injection device 7 to inject the oil sample into thetest cavity 5 according to the flow rate corresponding to the injection speed parameter in the control information.
The injection speed parameter may be an injection time or an injection flow rate.
Further, the method of this embodiment further includes the steps of: and recording the injection times, adjusting the injection speed parameter according to the injection times, and sending the adjusted injection speed parameter to the controller to obtain first images at different flow rates.
When the injection speed testing device is implemented specifically, the electronic equipment automatically adjusts the injection speed parameter of each test according to a preset control program and sends the injection speed parameter to the controller. For example, in a conventional test in which the same oil sample is tested at injection times of 1 second, 3 seconds, and 5 seconds, the control program may set the injection time for the first test to be 1 second, the injection time for the second test to be 3 seconds, and the injection time for the third test to be 5 seconds. After the tester fixes the position of theoil injection device 7, the electronic device presses a 'start test' key, the electronic device recognizes that the test is the first test at present, records that the injection frequency is 1, sets the injection time to be 1 second, sends control information to theoil injection device 7, injects an oil sample into the test cavity according to the flow rate corresponding to 1 second by theoil injection device 7, and then operates according to the steps from the second step to the fifth step to obtain a first image, a second image and a third image under the injection time of 1 second. After thetest cavity 5 is cleaned, a tester fixes theoil injection device 7, presses a 'start test' key through the electronic equipment, the electronic equipment recognizes that the injection frequency is 1, then the test is performed for the second time, the injection frequency is modified to be 2, the injection time is set to be 3 seconds, control information is sent to theoil injection device 7, theoil injection device 7 injects an oil sample into the test cavity according to the flow rate corresponding to 3 seconds, and then the operation is performed according to the steps from the second step to the fifth step, so that a first image, a second image and a third image under the injection time of 3 seconds are obtained. After cleaning thetest cavity 5 again, the tester fixes theoil injection device 7, presses the 'start test' key through the electronic equipment, the electronic equipment recognizes that the injection frequency is 2, then the test is performed for the third time, the injection frequency is modified to be 3, the injection time is set to be 5 seconds, control information is sent to theoil injection device 7, theoil injection device 7 injects an oil sample into the test cavity according to the flow rate corresponding to 5 seconds, and then the operation is performed according to the steps from the second step to the fifth step, so that the first image, the second image and the third image under the injection time of 5 seconds are obtained.
The method of the embodiment further comprises the following steps: and calculating the total content of ferromagnetic particles and paramagnetic particles in the oil sample according to the first image.
The method of the embodiment further comprises the following steps: calculating the content of the ferromagnetic particles in the oil sample according to the second image; calculating the content of paramagnetic particles in the oil sample according to the third image; and obtaining the total content of the particles in the oil sample according to the content of the ferromagnetic particles and the content of the paramagnetic particles.
For example, because the ferromagnetic particles are generally dark colors such as black or gray, and the test surface is gold-plated and has light color, the color contrast between the ferromagnetic particles and the test surface is large, the proportion of the black part (corresponding to the ferromagnetic particles) in the image to the test surface is counted, and then the content of the particulate matter is determined according to the proportion value.
As shown in fig. 6, the electronic device of the present example includes at least aprocessor 601, amemory 602, and animage capture apparatus 605. Wherein theprocessor 601 is coupled to thememory 602, such as via abus 603. Optionally, theelectronic device 60 may also include atransceiver 604. It should be noted that, in practical applications, thetransceiver 604 is not limited to one, and the transceiver may be a wireless transceiver or a wired transceiver.
Thememory 602 stores an application program, and theprocessor 601 obtains the application program from thememory 602 and executes the application program to implement a function corresponding to the application program. Thetransceiver 604 includes a receiver and a transmitter, and thetransceiver 604 is used in the embodiment of the present application to realize communication between theprocessor 601 and the controller. The communication mode between theprocessor 601 and the controller includes a wired mode or a wireless mode, and the communication can be performed by using any one of networks such as bluetooth, WiFi, cellular network and the like.
Theprocessor 601 may be a CPU, general purpose processor, DSP, ASIC, FPGA or other programmable logic device, transistor logic device, hardware component, or any combination thereof. Which may implement or perform the various illustrative logical blocks, modules, and circuits described in connection with the disclosure. Theprocessor 601 may also be a combination of computing functions, e.g., comprising one or more microprocessors, DSPs and microprocessors, and the like.
Bus 603 may include a path that transfers information between the above components. Thebus 603 may be a PCI bus or an EISA bus, etc. Thebus 603 may be divided into an address bus, a data bus, a control bus, and the like. For ease of illustration, only one thick line is shown in FIG. 6, but that does not indicate only one bus or one type of bus.
Thememory 602 may be, but is not limited to, a ROM or other type of static storage device that can store static information and instructions, a RAM or other type of dynamic storage device that can store information and instructions, an EEPROM, a CD-ROM or other optical disk storage, optical disk storage (including compact disk, laser disk, optical disk, digital versatile disk, blu-ray disk, etc.), a magnetic disk storage medium or other magnetic storage device, or any other medium that can be used to carry or store desired program code in the form of instructions or data structures and that can be accessed by a computer.
The electronic device of this embodiment may further include a display screen to display the relevant data to the tester. Of course, the display screen can also be a touch display screen, so that a tester can output parameters, appointments and the like through the touch display screen conveniently.
Theprocessor 601 in theelectronic device 60 executes an application program to implement the ferrographic measurement method in the present embodiment.
Theelectronic device 60 of the present embodiment may be a mobile phone. For example, when the owner needs to detect the lubricant of the vehicle to determine whether the lubricant needs to be replaced, the owner first takes a proper amount of lubricant, and drops the lubricant into thetesting chamber 5 of the portable ferrograph of this embodiment, after standing for a moment, opens the application program in the mobile phone, takes a first image from right above thetesting surface 101, then covers thetop cover 2, opens thetop cover 3 after the ferromagnetic particles on thesurface 101 to be tested are attracted to the firstmagnetic device 3, takes an image (i.e. a second image) of the surface of the firstmagnetic device 3, and finally takes an image (i.e. a third image) of the remaining paramagnetic particles on thetesting surface 101, the application program in the mobile phone calculates the parameters such as the number of the particles in the lubricant, the particle color, the particle size distribution, and the particle morphology according to the first image, the second image, and the third image, and judging whether the lubricating oil needs to be replaced or not according to the calculated parameters.
The portable ferrograph provided by the embodiment can be widely applied to effectively detecting abrasion of large machines and parts such as aero-engines, internal combustion engines, gas turbines, gear boxes, bearings, hydraulic systems and the like in various industries so as to ensure safe operation of major equipment, reduce failure and reduce maintenance cost.
The foregoing is only a partial embodiment of the present application, and it should be noted that, for those skilled in the art, several modifications and decorations can be made without departing from the principle of the present application, and these modifications and decorations should also be regarded as the protection scope of the present application.

Claims (7)

CN201811039040.1A2018-09-062018-09-06Ferrograph measuring method of portable ferrograph and electronic equipmentActiveCN110879192B (en)

Priority Applications (1)

Application NumberPriority DateFiling DateTitle
CN201811039040.1ACN110879192B (en)2018-09-062018-09-06Ferrograph measuring method of portable ferrograph and electronic equipment

Applications Claiming Priority (1)

Application NumberPriority DateFiling DateTitle
CN201811039040.1ACN110879192B (en)2018-09-062018-09-06Ferrograph measuring method of portable ferrograph and electronic equipment

Publications (2)

Publication NumberPublication Date
CN110879192A CN110879192A (en)2020-03-13
CN110879192Btrue CN110879192B (en)2022-07-01

Family

ID=69727937

Family Applications (1)

Application NumberTitlePriority DateFiling Date
CN201811039040.1AActiveCN110879192B (en)2018-09-062018-09-06Ferrograph measuring method of portable ferrograph and electronic equipment

Country Status (1)

CountryLink
CN (1)CN110879192B (en)

Citations (4)

* Cited by examiner, † Cited by third party
Publication numberPriority datePublication dateAssigneeTitle
JPS62255849A (en)*1986-04-281987-11-07Fuji Heavy Ind LtdMeasuring device for particle
CN2501048Y (en)*2001-04-282002-07-17西安交通大学 Online Monitoring Ferrography
CN101837321A (en)*2010-04-302010-09-22王小军Red mud superconducting high-gradient magnetic separator
CN107941660A (en)*2017-10-262018-04-20中国科学院电工研究所The error extracting method and device of a kind of magnetic particle detection system

Family Cites Families (11)

* Cited by examiner, † Cited by third party
Publication numberPriority datePublication dateAssigneeTitle
US5790246A (en)*1996-04-181998-08-04Montores Pty. Ltd.Apparatus and network for determining a parameter of a particle in a fluid employing detector and processor
US6672458B2 (en)*2000-05-192004-01-06Becton, Dickinson And CompanySystem and method for manipulating magnetically responsive particles fluid samples to collect DNA or RNA from a sample
EP2275819B1 (en)*2000-10-192019-11-27Mycartis NVMethod for the manipulation of microcarriers for an identification purpose
CN1815176A (en)*2006-02-102006-08-09张超Piezoelectric sensor for on-line monitoring liquid viscosity and grain amount and measuring method
CN101989784A (en)*2009-08-072011-03-23石宗培Method for manufacturing linear motor by using ferro magnetic material and paramagnetic material
SE535918C2 (en)*2010-06-102013-02-19Hemocue Ab Detection of magnetically labeled biological components
CN102323195B (en)*2011-08-012013-05-22西安交通大学 On-line Image Visual Ferrography Device Deposition Parameter Experimental Setting Method
CN104198320B (en)*2013-08-292016-08-24北京至感传感器技术研究院有限公司A kind of hand-held fast reaction iron instrument
CN103983543B (en)*2014-05-152017-01-04西安交通大学A kind of online image visual ferrum spectrum imaging system
CN105699265A (en)*2016-03-292016-06-22北京至感传感器技术研究院有限公司Method and device for detecting ferromagnetic grains in liquid oil
CN205679504U (en)*2016-06-062016-11-09西安国联质量检测技术股份有限公司A kind of ferrograph

Patent Citations (4)

* Cited by examiner, † Cited by third party
Publication numberPriority datePublication dateAssigneeTitle
JPS62255849A (en)*1986-04-281987-11-07Fuji Heavy Ind LtdMeasuring device for particle
CN2501048Y (en)*2001-04-282002-07-17西安交通大学 Online Monitoring Ferrography
CN101837321A (en)*2010-04-302010-09-22王小军Red mud superconducting high-gradient magnetic separator
CN107941660A (en)*2017-10-262018-04-20中国科学院电工研究所The error extracting method and device of a kind of magnetic particle detection system

Also Published As

Publication numberPublication date
CN110879192A (en)2020-03-13

Similar Documents

PublicationPublication DateTitle
US11054357B2 (en)Mobile microscopy system for air quality monitoring
CN207396370U (en)Key-press backlight tests system
CN204128924U (en)Granularity detection device
CN101435826A (en)Detection method in cultural relics identification
Verkouteren et al.Automated mapping of explosives particles in composition c‐4 fingerprints
CN110879192B (en)Ferrograph measuring method of portable ferrograph and electronic equipment
CN107179258B (en) Rare earth metal carbon content rapid detection device
Maniatis et al.Inertial drag and lift forces for coarse grains on rough alluvial beds measured using in-grain accelerometers
CN110879191B (en)Portable iron spectrometer
CN205919881U (en)Fuel gauge test system
CN110879193B (en)Portable iron spectrometer
CN111351796A (en)Water environment analysis system and analysis method based on smart phone
CN208547408U (en)Fuel charger verification system
CN206920387U (en)Digital portable Magnetic testing device
CN101149330A (en) Drop test system and test method
Gu et al.In-situ measurement of dissolved sulfide in surface sediment porewater using diffusive gradients in thin films (DGT) coupled with digital imaging
CN208459236U (en)A kind of novel test camera lens dirt pits detection device
Kuo et al.Fundamental characteristics of wear particle deposition measurement by an improved on-line ferrographic analyzer
Li et al.Holographic imaging platform for particle discrimination based on simultaneous mass density and refractive index measurements
CN205484082U (en)Airtight micro - imaging system
TW201437631A (en)Automatic detection method of precision steel balls and the system thereof
CN103575573A (en)Treatment method for analytical ferrograph ferrogram-making oil sample
CN210180916U (en)Detection apparatus for process of spreading seal inscription printing ink on paper
CN208350649U (en)Drug detecting instrument
CN209486016U (en)Thermal deformation vicat softening point temperature test device for nylon material

Legal Events

DateCodeTitleDescription
PB01Publication
PB01Publication
SE01Entry into force of request for substantive examination
SE01Entry into force of request for substantive examination
GR01Patent grant
GR01Patent grant

[8]ページ先頭

©2009-2025 Movatter.jp