Movatterモバイル変換


[0]ホーム

URL:


CN110874130B - Processing method and electronic device for notification information - Google Patents

Processing method and electronic device for notification information
Download PDF

Info

Publication number
CN110874130B
CN110874130BCN201811010347.9ACN201811010347ACN110874130BCN 110874130 BCN110874130 BCN 110874130BCN 201811010347 ACN201811010347 ACN 201811010347ACN 110874130 BCN110874130 BCN 110874130B
Authority
CN
China
Prior art keywords
chip
notification information
application program
display screen
information
Prior art date
Legal status (The legal status is an assumption and is not a legal conclusion. Google has not performed a legal analysis and makes no representation as to the accuracy of the status listed.)
Active
Application number
CN201811010347.9A
Other languages
Chinese (zh)
Other versions
CN110874130A (en
Inventor
陈岩
Current Assignee (The listed assignees may be inaccurate. Google has not performed a legal analysis and makes no representation or warranty as to the accuracy of the list.)
Guangdong Oppo Mobile Telecommunications Corp Ltd
Original Assignee
Guangdong Oppo Mobile Telecommunications Corp Ltd
Priority date (The priority date is an assumption and is not a legal conclusion. Google has not performed a legal analysis and makes no representation as to the accuracy of the date listed.)
Filing date
Publication date
Application filed by Guangdong Oppo Mobile Telecommunications Corp LtdfiledCriticalGuangdong Oppo Mobile Telecommunications Corp Ltd
Priority to CN201811010347.9ApriorityCriticalpatent/CN110874130B/en
Publication of CN110874130ApublicationCriticalpatent/CN110874130A/en
Application grantedgrantedCritical
Publication of CN110874130BpublicationCriticalpatent/CN110874130B/en
Activelegal-statusCriticalCurrent
Anticipated expirationlegal-statusCritical

Links

Images

Classifications

Landscapes

Abstract

Translated fromChinese

本申请涉及一种通知信息的处理方法和电子设备。所述方法包括:当第一芯片中的通信模块接收到应用程序的通知信息时,通信模块将应用程序的通知信息发送给第二芯片,第二芯片控制触摸显示屏显示应用程序的通知信息,其中,第一芯片的功耗高于第二芯片的功耗。在通信模块接收到应用程序的通知信息时,将应用程序的通知信息发送给功耗较低的第一芯片,由第一芯片控制触摸显示屏显示应用程序的通知信息,可以降低电子设备的功耗,节约资源。

Figure 201811010347

The present application relates to a method and electronic device for processing notification information. The method includes: when the communication module in the first chip receives the notification information of the application program, the communication module sends the notification information of the application program to the second chip, and the second chip controls the touch display screen to display the notification information of the application program, The power consumption of the first chip is higher than the power consumption of the second chip. When the communication module receives the notification information of the application program, it sends the notification information of the application program to the first chip with lower power consumption, and the first chip controls the touch screen to display the notification information of the application program, which can reduce the function of the electronic device. consumption, saving resources.

Figure 201811010347

Description

Notification information processing method and electronic equipment
Technical Field
The present application relates to the field of communications technologies, and in particular, to a notification information processing method and an electronic device.
Background
With the development of communication technology, more and more applications are installed in the electronic device, and more notification information from the applications is received by the electronic device. When the electronic equipment is in a screen-off state, the notification information from the application program can trigger the electronic equipment to light the screen, and the notification information is displayed on the screen, so that the electronic equipment can be displayed on the screen every time the electronic equipment receives one piece of notification information, and the electronic equipment is convenient for a user to check.
However, since the electronic device is displayed on the screen every time it receives one notification message, the electronic device has a problem of high power consumption.
Disclosure of Invention
The embodiment of the application provides a processing method of notification information and electronic equipment, which can reduce the power consumption of the electronic equipment.
A processing method of notification information comprises the following steps:
when a communication module in a first chip receives notification information of an application program, the communication module sends the notification information of the application program to a second chip;
the second chip controls the touch display screen to display the notification information of the application program;
wherein the power consumption of the first chip is higher than the power consumption of the second chip.
An electronic device comprises a first chip, a second chip and a touch display screen, wherein the first chip is connected with the second chip and comprises a communication module, and the power consumption of the first chip is lower than that of the second chip;
the first chip is used for disconnecting with the communication module when the communication module receives notification information of an application program;
the communication module is used for receiving notification information of an application program and sending the notification information of the application program to the second chip;
the second chip is used for controlling the touch display screen to display the notification information of the application program.
According to the processing method of the notification information and the electronic device, when the communication module in the first chip receives the notification information of the application program, the communication module sends the notification information of the application program to the second chip, and the second chip controls the touch display screen to display the notification information of the application program, wherein the power consumption of the first chip is higher than that of the second chip. When the communication module receives the notification information of the application program, the notification information of the application program is sent to the first chip with lower power consumption, and the first chip controls the touch display screen to display the notification information of the application program, so that the power consumption of the electronic equipment can be reduced, and resources are saved.
Drawings
In order to more clearly illustrate the embodiments of the present application or the technical solutions in the prior art, the drawings used in the description of the embodiments or the prior art will be briefly described below, it is obvious that the drawings in the following description are only some embodiments of the present application, and for those skilled in the art, other drawings can be obtained according to the drawings without creative efforts.
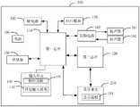
FIG. 1 is a schematic diagram of a partial internal structure of an electronic device according to an embodiment;
FIG. 2 is a diagram illustrating a second chip according to an embodiment;
FIG. 3 is a block diagram of a portion of the structure of a handset in one embodiment;
FIG. 4 is a flowchart illustrating a method for processing notification information according to an embodiment;
FIG. 5 is a schematic diagram of a second chip connected to a communication module according to an embodiment;
FIG. 6 is a flow diagram of a method for a second chip to control presentation of notification information by category, according to one embodiment;
FIG. 7 is a diagram illustrating an interface in which notification information is presented by category, according to one embodiment.
Detailed Description
In order to make the objects, technical solutions and advantages of the present application more apparent, the present application is described in further detail below with reference to the accompanying drawings and embodiments. It should be understood that the specific embodiments described herein are merely illustrative of the present application and are not intended to limit the present application.
It will be understood that, as used herein, the terms "first," "second," and the like may be used herein to describe various elements, but these elements are not limited by these terms. These terms are only used to distinguish one element from another. For example, a first chip may be referred to as a second chip, and similarly, a second chip may be referred to as a first chip, without departing from the scope of the present application. The first chip and the second chip are both chips, but they are not the same chip.
Fig. 1 is a schematic diagram of a partial internal structure of an electronic device according to an embodiment. Theelectronic device 100 may include afirst chip 110, asecond chip 120, and atouch display 130. Thefirst chip 110 may include acommunication module 112, thefirst chip 110 may be connected to thesecond chip 120 and thetouch display screen 130 through a serial Peripheral interface SPI (serial Peripheral interface), and thesecond chip 120 may be connected to thefirst chip 110 and thetouch display screen 130 through an SPI interface. Thecommunication module 112 in thefirst chip 110 may be electrically connected with thesecond chip 120. The power consumption of thefirst chip 110 is greater than the power consumption of thesecond chip 120. When thecommunication module 112 in thefirst chip 110 receives the notification information of the application program, the notification information of the application program may be sent to thesecond chip 120, and thesecond chip 120 controls thetouch display 130 to display the notification information of the application program.
Before thecommunication module 112 in thefirst chip 110 detects the notification information of the application program, thefirst chip 110 may be disconnected from thecommunication module 112, i.e., thecommunication module 112 may not accept the control of thefirst chip 110. Thefirst chip 110 may send information of disconnection from thecommunication module 112 to thesecond chip 120, and after thesecond chip 120 receives the information of disconnection, thesecond chip 120 may establish connection with thecommunication module 112.
In one embodiment, as shown in fig. 2, thesecond chip 120 may include amicrocontroller 122, aprocessor 124, amemory 126, ascreen interface module 128, and acommunication interface module 129. Theprocessor 124 may include a digital Signal processor (dsp) module. Themicrocontroller 122 may be connected to the first chip through thecommunication interface module 129, themicrocontroller 122 may also be connected to theprocessor 124 and thescreen interface module 128, themicrocontroller 122 may communicate with the first chip through thecommunication interface module 129, for example, thesecond chip 120 may receive information that the first chip sends a disconnection through thecommunication interface module 129. Theprocessor 124 is connected to themicrocontroller 122 and thememory 126, respectively, and theprocessor 124 can process the notification information of the application program sent by the first chip, for example, the chat notification information of the chat application program, the news notification information of the news application program, the weather notification information of the weather application program, and the like. Thememory 126 is connected to theprocessor 124 and is used for storing notification information of the application program received by the second chip, such as chat notification information, news notification information, weather notification information, and the like. Thescreen interface module 128 is connected to themicrocontroller 122, and thescreen interface module 128 may also be connected to a touch display screen. When themicrocontroller 122 of thesecond chip 120 receives the information of disconnection sent by the first chip, themicrocontroller 122 may establish a connection with the display screen through thescreen interface module 128.
As shown in fig. 3, in one embodiment, an electronic device is also provided. For convenience of explanation, only the parts related to the embodiments of the present application are shown, and details of the specific technology are not disclosed. The electronic device may be a terminal device including a mobile phone, a tablet computer, a PDA (Personal Digital Assistant), a vehicle-mounted computer, a wearable device, and the like, taking the electronic device as the mobile phone as an example:
fig. 3 is a block diagram of a partial structure of a mobile phone related to an electronic device provided in an embodiment of the present application. Referring to fig. 3, the cellular phone includes: thefirst chip 110, thesecond chip 120, thedisplay unit 210, theinput unit 140, thememory 150, theaudio circuit 160, the wireless fidelity (WiFi)module 170, the Radio Frequency (RF)circuit 180, and thepower supply 190. Those skilled in the art will appreciate that the handset configuration shown in fig. 3 is not intended to be limiting and may include more or fewer components than those shown, or some components may be combined, or a different arrangement of components.
Thefirst chip 110 is a control center of the mobile phone, connects various parts of the whole mobile phone by using various interfaces and lines, and executes various functions and processes data of the mobile phone by running or executing software programs and/or modules stored in thememory 150 and calling data stored in thememory 150, thereby integrally monitoring the mobile phone. In one embodiment,first chip 110 may include one or more processing units. In one embodiment, thefirst chip 110 may integrate an application processor and a modem processor, wherein the application processor mainly processes an operating system, a user interface, an application program, and the like; the modem processor handles primarily wireless communications. It is to be understood that the modem processor described above may not be integrated into thefirst chip 110. Thefirst chip 110 may include a communication module, and when thefirst chip 110 is disconnected from the communication module, the disconnected information may be sent to thesecond chip 120.
The power consumption of thesecond chip 120 is lower than that of thefirst chip 110. Thesecond chip 120 may be connected to thefirst chip 110 through the communication interface module, thesecond chip 120 may also be connected to thedisplay unit 210, and thesecond chip 120 may establish a connection with the communication module in thefirst chip 110 according to the received information of disconnection sent by thefirst chip 110. Thesecond chip 120 may determine whether the received notification information of the application is notification information to be displayed, and when the notification information of the application is the notification information to be displayed, thesecond chip 120 may control the touch display screen to display the notification information. Thesecond chip 120 may also obtain information content in the notification information of the application program, and obtain the category of the notification information of the application program according to the information content. Thesecond chip 120 may control thedisplay unit 210 to display the notification information of the application program according to the category of the notification information of the application program. When thedisplay unit 210 is in the off-screen state, thesecond chip 120 may control thedisplay unit 210 to turn on the screen, and control thedisplay unit 210 to display notification information of the application program in the on-screen state.
Thedisplay unit 210 may be used to display information input by the user or information provided to the user and various menus of the mobile phone. Thedisplay unit 210 may include adisplay panel 211, and thedisplay panel 211 may be thetouch display 130. In one embodiment, theDisplay panel 211 may be configured in the form of a Liquid Crystal Display (LCD), an Organic Light-Emitting Diode (OLED), or the like. In one embodiment, thetouch panel 141 can cover thedisplay panel 211, and when thetouch panel 141 detects a touch operation on or near thetouch panel 141, the touch operation is transmitted to thefirst chip 110 to determine the type of the touch event, and then thefirst chip 110 provides a corresponding visual output on thedisplay panel 211 according to the type of the touch event. Although thetouch panel 141 and thedisplay panel 211 are shown as two separate components in fig. 3 to implement the input and output functions of the mobile phone, in some embodiments, thetouch panel 141 and thedisplay panel 211 may be integrated to implement the input and output functions of the mobile phone.
Theinput unit 140 may be used to receive input numeric or character information and generate key signal inputs related to user settings and function control of thecellular phone 100. Specifically, theinput unit 140 may include atouch panel 141 andother input devices 142. Thetouch panel 141, which may also be referred to as a touch screen, may collect touch operations of a user (e.g., operations of the user on thetouch panel 141 or near thetouch panel 141 using any suitable object or accessory such as a finger or a stylus) thereon or nearby, and drive the corresponding connection device according to a preset program. In one embodiment, thetouch panel 141 may include two parts of a touch detection device and a touch controller. The touch detection device detects the touch direction of a user, detects a signal brought by touch operation and transmits the signal to the touch controller; the touch controller receives touch information from the touch sensing device, converts the touch information into touch point coordinates, sends the touch point coordinates to thefirst chip 110, and can receive and execute commands sent by thefirst chip 110. In addition, thetouch panel 141 may be implemented in various types, such as a resistive type, a capacitive type, an infrared ray, and a surface acoustic wave. Theinput unit 140 may includeother input devices 142 in addition to thetouch panel 141. In particular, theother input devices 142 may include, but are not limited to, one or more of a physical keyboard, function keys (such as volume control keys, switch keys, etc.), and the like.
Thememory 150 may be used to store software programs and modules, and thefirst chip 110 executes various functional applications and data processing of the mobile phone by operating the software programs and modules stored in thememory 150. Thememory 150 may mainly include a program storage area and a data storage area, wherein the program storage area may store an operating system, an application program required for at least one function (such as an application program for a sound playing function, an application program for an image playing function, and the like), and the like; the data storage area may store data (such as audio data, an address book, etc.) created according to the use of the mobile phone, and the like. Further, thememory 150 may include high speed random access memory, and may also include non-volatile memory, such as at least one magnetic disk storage device, flash memory device, or other volatile solid state storage device.
Audio circuitry 160,speaker 161 andmicrophone 162 may provide an audio interface between the user and the handset. Theaudio circuit 160 may transmit the electrical signal converted from the received audio data to thespeaker 161, and convert the electrical signal into a sound signal for output by thespeaker 161; on the other hand, themicrophone 162 converts the collected sound signal into an electrical signal, and the electrical signal is received by theaudio circuit 160 and then converted into audio data, and then the audio data is output to thefirst chip 110 for processing, and then the audio data can be sent to another mobile phone through theRF circuit 180, or the audio data is output to thememory 150 for subsequent processing.
WiFi belongs to short-distance wireless transmission technology, and the mobile phone can help a user to receive and send e-mails, browse webpages, access streaming media and the like through theWiFi module 170, and provides wireless broadband Internet access for the user. Although fig. 3 showsWiFi module 170, it is understood that it does not belong to an essential component ofhandset 100 and may be omitted as desired.
TheRF circuit 180 may be used for receiving and transmitting signals during information transmission or communication, and may receive downlink information of the base station and then process the received downlink information to thefirst chip 110; the uplink data may also be transmitted to the base station. Typically, the RF circuitry includes, but is not limited to, an antenna, at least one Amplifier, a transceiver, a coupler, a Low Noise Amplifier (LNA), a duplexer, and the like. In addition,RF circuit 180 may also communicate with networks and other devices via wireless communication. The wireless communication may use any communication standard or protocol, including but not limited to Global System for Mobile communication (GSM), General Packet Radio Service (GPRS), Code Division Multiple Access (CDMA), Wideband Code Division Multiple Access (WCDMA), Long Term Evolution (LTE)), e-mail, Short Messaging Service (SMS), and the like.
Themobile phone 100 further includes a power supply 190 (such as a battery) for supplying power to each component, and preferably, the power supply may be logically connected to thefirst chip 110 through a power management system, so as to implement functions of managing charging, discharging, and power consumption through the power management system.
In one embodiment, thehandset 100 may also include a camera, a bluetooth module, and the like.
In one embodiment, a method for processing notification information is provided, which is exemplified by being applied to the electronic device, as shown in fig. 4, and includes the following steps:
step 402, when the communication module in the first chip receives the notification information of the application program, the communication module sends the notification information of the application program to the second chip.
The first chip is a part of the electronic device and is used for controlling the operation and processing of the electronic device. For example, the first chip may be a central Processing unit (cpu). The communication module is part of a first chip, which receives or transmits information via the communication module. For example, the first chip may receive notification information of the application program through the communication module. The power consumption of the second chip is lower than that of the first chip. The first chip can be connected with the second chip through a Serial Peripheral Interface (SPI) (serial Peripheral interface), and meanwhile, the first chip can be connected with the touch display screen through the SPI, and the second chip can be connected with the touch display screen through the SPI. The second chip may be electrically connected with the communication module in the first chip.
The notification information of the application program can be divided into local notification information of the application program and push notification information of the application program. The local notification information of the application may be notification information transmitted according to time, for example, the local notification may be notification information that reminds of eating at 6:30 set in a memo. The application program is configured to push the received notification information to the user, where the application program does not run in the foreground, for example, after the chat application program receives notification information of a chat, the chat application program displays the notification information in the touch display screen to push the notification information to the user.
The communication module in the first chip may receive or transmit notification information of the application program. When the communication module in the first chip receives the notification information of the application program, the communication module may transmit the notification information of the application program to the second chip through the electrical connection.
And step 404, the second chip controls the touch display screen to display the notification information of the application program.
Touch screens are also part of electronic devices, including touch screens and display screens. The touch screen is also called a touch screen or a touch panel, and is an inductive display device capable of receiving input signals; a display screen is a display tool for displaying information on a screen and reflecting the information to human eyes, and for example, the display screen can display notification information of an application program. The state of the display screen can be a bright screen state, a dead screen state and the like.
The second chip can be connected with touch display screen through the SPI interface, and the second chip can be connected with first chip through the SPI interface, and the second chip can also be connected with the communication module in the first chip through the mode of electricity connection. After the second chip receives the notification information of the application program sent by the communication module in the first chip, the second chip can control the touch display screen to display the notification information of the application program.
When the communication module in the first chip receives the notification information of the application program, the communication module sends the notification information of the application program to the second chip, and the second chip controls the touch display screen to display the notification information of the application program, wherein the power consumption of the first chip is higher than that of the second chip. When the communication module receives the notification information of the application program, the notification information of the application program is sent to the first chip with lower power consumption, and the first chip controls the touch display screen to display the notification information of the application program, so that the power consumption of the electronic equipment can be reduced, and resources are saved.
In an embodiment, the provided method for processing notification information may further include a process of establishing a connection between the second chip and the communication module, and specifically includes: the first chip is disconnected from the communication module, the first chip sends the disconnected information to the second chip, and the second chip establishes connection with the communication module according to the disconnected information.
The communication module is located in the first chip and controlled by the first chip. The first chip is disconnected from the communication module, i.e. the communication module is not controlled by the first chip. The first chip can be disconnected from the communication module according to the received disconnection instruction, and the disconnection instruction can be generated by triggering of a button on the electronic device by a user. For example, when a user presses a button on the electronic device, the electronic device may generate a disconnection instruction and send the generated disconnection instruction to the first chip, and the first chip disconnects from the communication module according to the disconnection instruction. The disconnection instruction may also be generated by the electronic device according to a display state of the touch display screen. For example, when the electronic device detects that the display state of the touch display screen is the screen-off state, the electronic device may generate a disconnection instruction and send the disconnection instruction to the first chip, and the first chip disconnects from the communication module.
When the first chip is disconnected from the communication module, information of the disconnection may be generated. The first chip may send the information of the disconnection to a second chip, and the second chip establishes a connection with the communication module.
As shown in fig. 5, in an embodiment, theelectronic device 100 may include afirst chip 110 and asecond chip 120. Thefirst chip 110 may include acommunication module 112. When thefirst chip 110 is disconnected from thecommunication module 112, thefirst chip 110 may send the disconnection information to thesecond chip 120, and after thesecond chip 120 receives the disconnection information, thesecond chip 120 may establish a connection with thecommunication module 112.
In an embodiment, the provided notification information processing method may further include a process of determining whether the notification information of the application is notification information to be displayed, and specifically includes: the second chip judges whether the notification information of the application program is the notification information to be displayed or not, and controls the touch display screen to display the notification information of the application program when the notification information of the application program is the notification information to be displayed.
The notification information to be displayed refers to notification information that can be displayed in the touch display screen. The user can set whether the notification information of the application program is the information to be displayed. After receiving the notification information of the application program sent by the communication module, the second chip may determine whether the notification information of the application program is to-be-displayed information. For example, the notification information of the application is chat notification information of a chat application, and the second chip may determine that the chat notification information is to-be-displayed information.
When the second chip determines that the notification information of the application program is the notification information to be displayed, the second chip can control the touch display screen to display the notification information of the application program. For example, the notification information to be displayed set in the electronic device is chat notification information of a chat application, news notification information of a news application, and payment notification information of a bank application. When the notification information of the application program received by the second chip is the chat notification information of the chat application program, the second chip can judge that the chat notification information of the chat application program is the notification information to be displayed, and the second chip can control the touch display screen to display the chat notification information of the chat application program.
And judging whether the notification information of the application program is the notification information to be displayed or not through the second chip, and controlling the touch display screen to display the notification information of the application program when the notification information of the application program is the notification information to be displayed. The second chip is low in power consumption, the second chip judges the received notification information of the application program and controls the touch display screen to display the notification information of the application program, so that the power consumption of the electronic equipment can be reduced, and resources are saved.
In an embodiment, as shown in fig. 6, the provided processing method for notification information may further include a process in which the second chip controls the notification information to be displayed according to categories, and the specific steps include:
instep 602, the second chip extracts the information content in the notification information of the application program.
The information content may be specific text information in the notification information of the application program. After receiving the notification information of the application program, the second chip may extract information content in the notification information of the application program. For example, after the second chip receives the notification information of the application program, the information content in the notification information of the application program can be extracted as "your telephone charge is less than 10 yuan! ".
And step 604, the second chip acquires the type of the notification information of the application program according to the information content.
The second chip can classify the notification information of the application program according to the information content and acquire the category of the notification information of the application program. The category of the notification information of the application may be a financial category, an update category, a verification category, and the like. For example, the information content in the notification information of the application program extracted by the second chip is "your telephone charge is less than 10 yuan! ", the second chip can classify the notification information of the application program into financial classes according to the information content; the information content in the notification information of the application program extracted by the second chip is that "your verification code is: 123456! ", the second chip can classify the notification information of the application program into the verification class according to the information content.
And 606, controlling the touch display screen to display the notification information of the application program according to the type of the notification information of the application program by the second chip.
After the second chip acquires the type of the notification information of the application program, the touch display screen can be controlled to display the notification information of the application program according to the type of the notification information of the application program. For example, the types of the notification information of the application acquired by the second chip are a finance type and an authentication type, the second chip may control the touch display screen to display the notification information of the finance type application together, and the second chip may control the touch display screen to display the notification information of the authentication type application together. When the notification information of the application programs of the same category is multiple, the second chip can control the touch display screen to display according to the receiving time sequence of the notification information of the application programs.
The information content in the notification information of the application program is extracted through the second chip, the second chip obtains the type of the notification information of the application program according to the information content, and the second chip controls the touch display screen to display the notification information of the application program according to the type of the notification information of the application program. The second chip obtains the category of the notification information of the application program according to the information content of the notification information of the application program, and controls the touch display screen to display the notification information of the application program in a classified manner, so that the efficiency of displaying information by the touch display screen can be improved, the power consumption of the electronic equipment is reduced, and resources are saved.
As shown in fig. 7, in an embodiment, after receiving the notification information of the application program, the second chip may extract information content in the notification information of the application program, and obtain a category of the notification information according to the information content. The second chip can control the touch display screen to display the notification information of the application program according to the category of the notification information of the application program. As shown in fig. 7, the second chip may control the touch display to display aninterface 700 for classifying notification information. For example, the second chip divides the notification information of the application intofinancial notification information 710, updatenotification information 720 andverification notification information 730 according to the information content of the notification information of the application, and the second chip may control the touch display screen to sequentially display thefinancial notification information 710, theupdate notification information 720 and theverification notification information 730. As shown in FIG. 7, the financialclass notification message 710 may be "your bank card paid for 11 dollars! "," your bank card has been billed 50 dollars! "," your call charge has been less than 10 Yuan! ", the updateclass notification message 720 may be" your chat application updated! "," your music application has been updated! ", theverification class notification 730 may be" your verification code is: 123456! ".
In an embodiment, the provided processing method for notification information may further include a process in which the second chip controls the touch display screen to display the notification information of the application program, and specifically includes: when the touch display screen is in the screen-off state, the second chip controls the touch display screen to be bright and controls the touch display screen to display notification information of the application program in the bright state.
The second chip can be connected with the touch display screen through the SPI interface. The second chip can detect the display state of touch display screen, and when the touch display screen was in the state of turning off the screen, the second chip can be in the bright screen state through SPI interface control touch display screen after receiving bright screen instruction. The bright screen instruction can be generated by the user through the triggering of a button on the electronic device, or generated by the triggering when the second chip receives the notification information of the application program. The second chip can control the touch display screen to be bright according to the received bright screen instruction.
After the second chip controls the touch display screen to be bright, the second chip can control the touch display screen to display notification information of the application program in a bright screen state.
In one embodiment, a method for processing notification information is provided, and the specific steps for implementing the method are as follows:
the first chip is disconnected from the communication module, the first chip sends the disconnected information to the second chip, and the second chip establishes connection with the communication module according to the disconnected information. The first chip can be disconnected from the communication module according to the received disconnection instruction, and the disconnection instruction can be generated by triggering of a button on the electronic device by a user. The disconnection instruction may also be generated by the electronic device according to a display state of the touch display screen. When the first chip is disconnected from the communication module, information of the disconnection may be generated. The first chip may send the information of the disconnection to a second chip, and the second chip establishes a connection with the communication module.
When the communication module in the first chip receives the notification information of the application program, the communication module sends the notification information of the application program to the second chip. The communication module in the first chip may receive or transmit notification information of the application program. When the communication module in the first chip receives the notification information of the application program, the communication module may transmit the notification information of the application program to the second chip through the electrical connection.
The second chip judges whether the notification information of the application program is the notification information to be displayed or not, and controls the touch display screen to display the notification information of the application program when the notification information of the application program is the notification information to be displayed. The notification information to be displayed refers to notification information that can be displayed in the touch display screen. The user can set whether the notification information of the application program is the information to be displayed. After receiving the notification information of the application program sent by the communication module, the second chip may determine whether the notification information of the application program is to-be-displayed information. When the second chip determines that the notification information of the application program is the notification information to be displayed, the second chip can control the touch display screen to display the notification information of the application program.
The second chip extracts the information content in the notification information of the application program. The information content may be specific text information in the notification information of the application program. After receiving the notification information of the application program, the second chip may extract information content in the notification information of the application program. The second chip acquires the type of the notification information of the application program according to the information content. The second chip can classify the notification information of the application program according to the information content and acquire the category of the notification information of the application program. The second chip controls the touch display screen to display the notification information of the application program according to the type of the notification information of the application program. After the second chip acquires the type of the notification information of the application program, the touch display screen can be controlled to display the notification information of the application program according to the type of the notification information of the application program.
When the touch display screen is in the screen-off state, the second chip controls the touch display screen to be bright and controls the touch display screen to display notification information of the application program in the bright state. The second chip can be connected with the touch display screen through the SPI interface. The second chip can detect the display state of touch display screen, and when the touch display screen was in the state of turning off the screen, the second chip can be in the bright screen state through SPI interface control touch display screen after receiving bright screen instruction. The bright screen instruction can be generated by the user through the triggering of a button on the electronic device, or generated by the triggering when the second chip receives the notification information of the application program. The second chip can control the touch display screen to be bright according to the received bright screen instruction.
It should be understood that, although the steps in the respective flowcharts described above are shown in sequence as indicated by the arrows, the steps are not necessarily performed in sequence as indicated by the arrows. The steps are not performed in the exact order shown and described, and may be performed in other orders, unless explicitly stated otherwise. Moreover, at least a portion of the steps in each of the flowcharts described above may include multiple sub-steps or multiple stages, which are not necessarily performed at the same time, but may be performed at different times, and the order of performing the sub-steps or the stages is not necessarily sequential, but may be performed alternately or alternatingly with other steps or at least a portion of the sub-steps or stages of other steps.
Any reference to memory, storage, database, or other medium used herein may include non-volatile and/or volatile memory. Non-volatile memory can include read-only memory (ROM), Programmable ROM (PROM), Electrically Programmable ROM (EPROM), Electrically Erasable Programmable ROM (EEPROM), or flash memory. Volatile memory can include Random Access Memory (RAM), which acts as external cache memory. By way of illustration and not limitation, RAM is available in a variety of forms, such as Static RAM (SRAM), Dynamic RAM (DRAM), Synchronous DRAM (SDRAM), double data rate SDRAM (DDR SDRAM), Enhanced SDRAM (ESDRAM), synchronous Link (Synchlink) DRAM (SLDRAM), Rambus Direct RAM (RDRAM), direct bus dynamic RAM (DRDRAM), and bus dynamic RAM (RDRAM).
The above-mentioned embodiments only express several embodiments of the present application, and the description thereof is more specific and detailed, but not construed as limiting the scope of the present application. It should be noted that, for a person skilled in the art, several variations and modifications can be made without departing from the concept of the present application, which falls within the scope of protection of the present application. Therefore, the protection scope of the present patent shall be subject to the appended claims.

Claims (10)

1. A method for processing notification information, comprising:
the first chip is disconnected from the communication module in the first chip;
the first chip sends the information of disconnection to a second chip, and the second chip establishes electrical connection with the communication module according to the information of disconnection;
when the communication module in the first chip receives notification information of an application program, the communication module sends the notification information of the application program to the second chip through the electrical connection with the second chip;
the second chip controls the touch display screen to display the notification information of the application program;
wherein the power consumption of the first chip is higher than the power consumption of the second chip;
the second chip controls the touch display screen to display notification information of the application program, and the method comprises the following steps:
the second chip extracts information content in the notification information of the application program;
the second chip acquires the type of the notification information of the application program according to the information content;
and the second chip controls the touch display screen to display the notification information of the application programs of the same type together according to the types of the notification information of the application programs.
2. The method of claim 1, wherein before the second chip controls the touch display screen to display the notification information of the application program, the method further comprises:
the second chip judges whether the notification information of the application program is notification information to be displayed;
and when the notification information of the application program is the notification information to be displayed, the second chip executes a step of controlling the touch display screen to display the notification information of the application program.
3. The method of claim 1, further comprising:
when the touch display screen is in a screen-off state, the second chip controls the touch display screen to be on, and controls the touch display screen to display notification information of the application program in the screen-on state.
4. The method of claim 1, wherein the notification information of the application comprises local notification information of the application and push notification information of the application.
5. The method of claim 1, wherein the first chip is a CPU.
6. An electronic device is characterized by comprising a first chip, a second chip and a touch display screen, wherein the first chip is connected with the second chip and comprises a communication module, and the power consumption of the first chip is higher than that of the second chip;
the first chip is used for disconnecting with the communication module when the communication module receives notification information of an application program;
the communication module is used for receiving notification information of an application program and sending the notification information of the application program to the second chip;
the second chip is used for extracting information content in the notification information of the application program, acquiring the type of the notification information of the application program according to the information content, and controlling the touch display screen to display the notification information of the application programs of the same type together according to the type of the notification information of the application program;
the second chip is also used for judging whether the notification information of the application program is notification information to be displayed;
and when the notification information of the application program is information to be displayed, the second chip is also used for controlling the touch display screen to display the notification information of the application program.
7. The electronic device according to claim 6, wherein the second chip is further configured to control the touch display screen to be turned on when the touch display screen is in an off-screen state, and control the touch display screen to display notification information of the application program in the on-screen state.
8. The electronic device of any of claims 6-7, wherein the second chip comprises:
the microcontroller is used for establishing connection with the touch display screen through an interface and controlling the touch display screen to display notification information of the application program;
the processor is connected with the microcontroller and used for receiving the notification information of the application program and establishing connection with the communication module in the first chip;
and the memory is connected with the processor and used for storing the notification information of the application program.
9. The electronic device of claim 6, wherein the notification information of the application comprises local notification information of the application and push notification information of the application.
10. The electronic device of claim 6, wherein the first chip is a CPU.
CN201811010347.9A2018-08-312018-08-31 Processing method and electronic device for notification informationActiveCN110874130B (en)

Priority Applications (1)

Application NumberPriority DateFiling DateTitle
CN201811010347.9ACN110874130B (en)2018-08-312018-08-31 Processing method and electronic device for notification information

Applications Claiming Priority (1)

Application NumberPriority DateFiling DateTitle
CN201811010347.9ACN110874130B (en)2018-08-312018-08-31 Processing method and electronic device for notification information

Publications (2)

Publication NumberPublication Date
CN110874130A CN110874130A (en)2020-03-10
CN110874130Btrue CN110874130B (en)2021-06-25

Family

ID=69715771

Family Applications (1)

Application NumberTitlePriority DateFiling Date
CN201811010347.9AActiveCN110874130B (en)2018-08-312018-08-31 Processing method and electronic device for notification information

Country Status (1)

CountryLink
CN (1)CN110874130B (en)

Families Citing this family (2)

* Cited by examiner, † Cited by third party
Publication numberPriority datePublication dateAssigneeTitle
CN111831099B (en)*2020-07-062022-05-31Oppo广东移动通信有限公司Electronic device
CN114003120A (en)*2020-07-282022-02-01Oppo广东移动通信有限公司Electronic device

Citations (5)

* Cited by examiner, † Cited by third party
Publication numberPriority datePublication dateAssigneeTitle
CN104731543A (en)*2015-03-232015-06-24深圳市欧珀通信软件有限公司Method and device for displaying screen refresh rate
CN106686225A (en)*2016-12-202017-05-17宇龙计算机通信科技(深圳)有限公司Message displaying method and apparatus
CN107454664A (en)*2017-07-282017-12-08维沃移动通信有限公司A kind of data transmission method and mobile terminal
CN107967050A (en)*2017-12-212018-04-27深圳市沃特沃德股份有限公司Task processing method and device
CN108337363A (en)*2017-12-262018-07-27努比亚技术有限公司A kind of terminal puts out screen display control method, terminal

Family Cites Families (1)

* Cited by examiner, † Cited by third party
Publication numberPriority datePublication dateAssigneeTitle
KR102408876B1 (en)*2015-07-312022-06-15삼성전자주식회사Method and apparatus for displaying in an electronic device

Patent Citations (5)

* Cited by examiner, † Cited by third party
Publication numberPriority datePublication dateAssigneeTitle
CN104731543A (en)*2015-03-232015-06-24深圳市欧珀通信软件有限公司Method and device for displaying screen refresh rate
CN106686225A (en)*2016-12-202017-05-17宇龙计算机通信科技(深圳)有限公司Message displaying method and apparatus
CN107454664A (en)*2017-07-282017-12-08维沃移动通信有限公司A kind of data transmission method and mobile terminal
CN107967050A (en)*2017-12-212018-04-27深圳市沃特沃德股份有限公司Task processing method and device
CN108337363A (en)*2017-12-262018-07-27努比亚技术有限公司A kind of terminal puts out screen display control method, terminal

Also Published As

Publication numberPublication date
CN110874130A (en)2020-03-10

Similar Documents

PublicationPublication DateTitle
CN106933682A (en) Message processing method and terminal
US20190080120A1 (en)Unlocking methods and related products
CN107071147B (en)Parameter adjusting method and device
CN109445917B (en) Application processing method and apparatus, electronic device, computer-readable storage medium
CN108733337B (en) Screen display method and apparatus, electronic device, computer-readable storage medium
CN110928394A (en) Screen display method and electronic device
CN113766468B (en)Smart card sharing method, electronic device and computer readable storage medium
CN106796601A (en) Short message processing method, device and electronic equipment
WO2015043163A1 (en)Method and apparatus for inputting account information
CN108900692B (en)Screen display method and device, electronic equipment and computer readable storage medium
CN107590464A (en) Face recognition method and related products
CN107046595A (en) Notification information processing method, device and mobile terminal
CN110874130B (en) Processing method and electronic device for notification information
CN106407771A (en)Message management method and device
CN108491733A (en) Privacy application recommendation method and device, storage medium, electronic device
CN109523774B (en) Device control method and electronic device
CN107272985A (en)Notification message processing method and related product
CN106714279A (en) A hotspot network switching method and terminal equipment
CN106657544A (en)Incoming call recording method and terminal equipment
CN110785987B (en) Information processing method, device, mobile terminal, and computer-readable storage medium
CN106792434B (en)Hotspot establishing method and terminal equipment
US10528655B2 (en)Method and device for inputting information into an entry field of an electronic communication
CN109188241B (en) Circuit detection method, apparatus, electronic device, and computer-readable storage medium
CN106339865B (en)Electronic resource obtaining method based on mobile terminal and mobile terminal
CN110874463A (en) Screen unlocking method and electronic device

Legal Events

DateCodeTitleDescription
PB01Publication
PB01Publication
SE01Entry into force of request for substantive examination
SE01Entry into force of request for substantive examination
GR01Patent grant
GR01Patent grant

[8]ページ先頭

©2009-2025 Movatter.jp