Movatterモバイル変換


[0]ホーム

URL:


CN110855832A - Method and device for assisting call and electronic equipment - Google Patents

Method and device for assisting call and electronic equipment
Download PDF

Info

Publication number
CN110855832A
CN110855832ACN201911096209.1ACN201911096209ACN110855832ACN 110855832 ACN110855832 ACN 110855832ACN 201911096209 ACN201911096209 ACN 201911096209ACN 110855832 ACN110855832 ACN 110855832A
Authority
CN
China
Prior art keywords
terminal
audio data
call
audio
user
Prior art date
Legal status (The legal status is an assumption and is not a legal conclusion. Google has not performed a legal analysis and makes no representation as to the accuracy of the status listed.)
Pending
Application number
CN201911096209.1A
Other languages
Chinese (zh)
Inventor
唐溢辰
Current Assignee (The listed assignees may be inaccurate. Google has not performed a legal analysis and makes no representation or warranty as to the accuracy of the list.)
Nobel (hangzhou) Technology Co Ltd
Original Assignee
Nobel (hangzhou) Technology Co Ltd
Priority date (The priority date is an assumption and is not a legal conclusion. Google has not performed a legal analysis and makes no representation as to the accuracy of the date listed.)
Filing date
Publication date
Application filed by Nobel (hangzhou) Technology Co LtdfiledCriticalNobel (hangzhou) Technology Co Ltd
Priority to CN201911096209.1ApriorityCriticalpatent/CN110855832A/en
Publication of CN110855832ApublicationCriticalpatent/CN110855832A/en
Pendinglegal-statusCriticalCurrent

Links

Images

Classifications

Landscapes

Abstract

The application provides a method for assisting in communication, wherein the auxiliary application in a first terminal is configured with the permission to call audio data from a telephone communication process, extracts the audio data from the telephone communication process of the first terminal, displays the audio data in a character form, receives second characters corresponding to user operation, converts the second characters into audio and plays the audio, and simulates a user speaking scene of the first terminal, so that the communication process of the first terminal collects sound and sends the sound to the second terminal. By configuring the authority for the auxiliary application, the timeliness of the telephone call is not limited by whether the other party is on-line or not, when the user of the first terminal needs to perform the auxiliary call with the user of the second terminal, the user of the second terminal can timely receive the request, and the telephone call does not need the user of the second terminal to install the auxiliary application in advance, so that the real-time auxiliary call of the two-way call is realized while the call timeliness and the applicability are improved.

Description

Method and device for assisting call and electronic equipment
Technical Field
The present application relates to the field of communications, and in particular, to a method and an apparatus for assisting a call, and an electronic device.
Background
When people exchange information, the situation of difficult communication can occur in some complex scenes: due to the difference of the surrounding environments of the two parties or the difference of the recognition capabilities of the two parties to the information of different carriers, the information sent by the information sending party with one carrier needs to be displayed to the information receiving party with the other carrier, so that the information carried by the carrier can be recognized by the information receiving party. For example, the information sender sends voice to the terminal of the information receiver through the communication software, and the communication software of the information receiver needs to convert the voice information into text information, so that a hearing-impaired person or a user in a complicated scene such as a user in a noisy environment can obtain the information reflected therein according to the text, thereby realizing auxiliary communication.
The method of the auxiliary communication is that both sides install a front-end application with a translation function, the front-end application and a back-end server perform data transmission, and then complete data transmission between terminals of both sides (similar to WeChat voice communication), and then complete conversion of voice and characters by means of the translation function of the auxiliary application.
Disclosure of Invention
The embodiment of the specification provides a method and a device for assisting in communication and electronic equipment, which are used for solving the problem that the existing mode for assisting in communication is poor in applicability and timeliness.
An embodiment of the present specification provides a method for assisting a call, including:
configuring the auxiliary application in the first terminal with the authority to call the audio data from the telephone conversation process;
receiving call data sent by a second terminal to a telephone call process of the first terminal, wherein the call data is used as first audio data;
the auxiliary application extracts the first audio data from the telephone call process of the first terminal;
displaying a first character according to the first audio data;
receiving a second character generated by user operation;
converting the second text into audio data;
playing the audio data with an audio signal;
the telephone conversation process of the first terminal acquires an audio signal through an audio signal acquisition module;
converting the collected audio signal into second audio data;
and sending the second audio data to the second terminal.
Optionally, the converting the second text into audio data includes:
and synthesizing audio data according to the second characters.
Optionally, the configuring, for the auxiliary application in the first terminal, a right to invoke audio data from a phone call process includes:
and acquiring the system administrator permission of the first terminal, and moving the folder of the auxiliary application to an application program directory of the system of the first terminal.
Optionally, the first terminal is a terminal of an open operating system.
Optionally, the extracting, by the secondary application, the first audio data from the telephone call progress of the first terminal includes:
and extracting the first audio data from the telephone call process of the first terminal in a mode of calling the underlying data.
Optionally, the receiving a second word generated by a user operation includes:
and acquiring a second character input by the user.
Optionally, the displaying the first text according to the first audio data further includes:
displaying a first character and a feedback identifier according to the first audio data;
the receiving of the second text generated by the user operation comprises:
and determining the corresponding second characters according to the feedback identification of the received user operation.
Optionally, the receiving a second word generated by a user operation includes:
and receiving user operation in real time, and determining a second character corresponding to the user operation.
An embodiment of the present specification further provides a device for assisting a call, including:
the call module is used for receiving call data sent by a second terminal to the telephone call process of the first terminal and taking the call data as first audio data;
the auxiliary application module is provided with an auxiliary application, and the auxiliary application is configured with the authority of calling audio data from the telephone call process of the first terminal and is used for extracting the first audio data from the telephone call process of the first terminal;
displaying a first character according to the first audio data;
receiving a second character generated by user operation;
converting the second text into audio data;
playing the audio data with an audio signal;
the communication module is also used for acquiring audio signals through the audio signal acquisition module;
converting the collected audio signal into second audio data;
and sending the second audio data to the second terminal.
Optionally, the converting the second text into audio data includes:
and synthesizing audio data according to the second characters.
Optionally, the configuring, for the auxiliary application in the first terminal, a right to invoke audio data from a phone call process includes:
and acquiring the system administrator permission of the first terminal, and moving the folder of the auxiliary application to an application program directory of the system of the first terminal.
Optionally, the first terminal is a terminal of an open operating system.
Optionally, the extracting, by the secondary application, the first audio data from the telephone call progress of the first terminal includes:
and extracting the first audio data from the telephone call process of the first terminal in a mode of calling the underlying data.
Optionally, the receiving a second word generated by a user operation includes:
and acquiring a second character input by the user.
Optionally, the displaying the first text according to the first audio data further includes:
displaying a first character and a feedback identifier according to the first audio data;
the receiving of the second text generated by the user operation comprises:
and determining the corresponding second characters according to the feedback identification of the received user operation.
Optionally, the receiving a second word generated by a user operation includes:
and receiving user operation in real time, and determining a second character corresponding to the user operation.
An embodiment of the present specification further provides an electronic device, where the electronic device includes:
a processor; and the number of the first and second groups,
a memory storing computer-executable instructions that, when executed, cause the processor to perform any of the methods described above.
The present specification also provides a computer readable storage medium, wherein the computer readable storage medium stores one or more programs which, when executed by a processor, implement any of the above methods.
In various embodiments described in this specification, an authority for calling audio data from a telephone call process is configured for an auxiliary application in a first terminal, the auxiliary application extracts the audio data from the telephone call process of the first terminal, displays the audio data in a text form, receives a second text corresponding to a user operation, converts the second text into an audio and plays the audio, and simulates a user speaking scene of the first terminal, so that the call process of the first terminal collects sound and sends the sound to a second terminal. By configuring the authority for the auxiliary application, the timeliness of the telephone call is not limited by whether the other party is on-line or not, when the user of the first terminal needs to perform the auxiliary call with the user of the second terminal, the user of the second terminal can timely receive the request, and the telephone call does not need the user of the second terminal to install the auxiliary application in advance, so that the real-time auxiliary call of the two-way call is realized while the call timeliness and the applicability are improved.
Drawings
The accompanying drawings, which are included to provide a further understanding of the application and are incorporated in and constitute a part of this application, illustrate embodiment(s) of the application and together with the description serve to explain the application and not to limit the application. In the drawings:
FIG. 1 is a schematic diagram illustrating a method for facilitating a dialog according to an embodiment of the present disclosure;
fig. 2 is a schematic diagram of an apparatus for assisting dialog according to an embodiment of the present disclosure;
FIG. 3 is a schematic diagram of an apparatus for facilitating a dialog according to an embodiment of the present disclosure;
fig. 4 is a schematic structural diagram of an electronic device provided in an embodiment of the present specification.
Detailed Description
The applicability of the method for communication in the complex scene is limited to a certain extent, for example, a complex scene user may communicate with a new user who does not have an online social relationship with the complex scene user, and an opposite party may be a user in a normal scene, so that the possibility of installing an auxiliary application by the opposite party is low, the applicability of the method needs to be improved, and the method usually needs to log in by a terminal of the opposite party to receive a request of the complex scene user in time, so the timeliness of the method for communication and communication also needs to be improved.
In order to improve the timeliness and applicability of calls, the applicant thought that the auxiliary call could be made by means of a telephone call.
However, although the terminals can communicate with each other by using the telephone, the system of the terminals does not have an interface for inserting the voice into the telephone communication process, and the auxiliary application cannot directly send the voice to the telephone communication process, so that the text-to-audio conversion function of the auxiliary application cannot be directly combined with the telephone communication process to realize real-time bidirectional auxiliary communication.
Further thinking, telephone conversation is actually realized by combining software and hardware: the audio of the other party is played by the telephone conversation process of the terminal through the audio playing module, and the audio of the other party is acquired by the telephone conversation process through the audio acquiring module.
Therefore, the applicant thinks that if the auxiliary application of the own terminal converts the characters input by the own user into audio, and then the audio is played through the audio playing module of the own terminal to simulate the speaking of the own user, the audio can be obtained in the telephone conversation process, and the limitation of a voice insertion interface is avoided.
Further, in order to implement a two-way call, the auxiliary application needs to acquire the audio of the opposite user, convert the audio of the opposite user into characters, and display the characters to the own user, so that the own user inputs the characters fed back, and then the auxiliary application converts the characters fed back into the audio.
However, because the audio playing module and the audio collecting module of the own terminal are occupied, and in order to avoid sound confusion, at the same time, the audio playing module plays the voice only from one user, so that the following scheme for acquiring the audio of the other side by the auxiliary application cannot be realized: the audio playing module plays the audio of the user of the other party, and the auxiliary application collects the played audio through the audio collecting module.
The applicant further thinks of whether it is possible to obtain the audio of the opposite user directly from the telephone conversation process of the own terminal by using the auxiliary application, and the applicant has analyzed that this is generally not possible because the auxiliary application generally does not have the right to obtain the audio of the opposite user from the telephone conversation process of the own terminal.
The applicant further thinks that the permission for calling the audio data from the telephone call process can be configured for the auxiliary application, so that the telephone call process in the terminal, the audio character conversion function of the auxiliary hardware, the audio playing function of the hardware and the audio acquisition function can be combined, and the real-time auxiliary call of the two-way call can be realized while the call timeliness and the applicability are improved.
Accordingly, an embodiment of the present specification provides a method for assisting a conversation, including:
configuring the auxiliary application in the first terminal with the authority to call the audio data from the telephone conversation process;
receiving call data sent by a second terminal to a telephone call process of the first terminal, wherein the call data is used as first audio data;
the auxiliary application extracts the first audio data from the telephone call process of the first terminal;
displaying a first character according to the first audio data;
receiving a second character generated by user operation;
converting the second text into audio data;
playing the audio data with an audio signal;
the telephone conversation process of the first terminal acquires an audio signal through an audio signal acquisition module;
converting the collected audio signal into second audio data;
and sending the second audio data to the second terminal.
By configuring the authority for the auxiliary application, the timeliness of the telephone call is not limited by whether the other party is on-line or not, when the user of the first terminal needs to perform the auxiliary call with the user of the second terminal, the user of the second terminal can timely receive the request, and the telephone call does not need the user of the second terminal to install the auxiliary application in advance, so that the real-time auxiliary call of the two-way call is realized while the call timeliness and the applicability are improved.
Fig. 1 is a schematic diagram of a method for assisting dialog according to an embodiment of the present disclosure, where the method may include:
s101, configuring the authority of calling audio data from the telephone call process for the auxiliary application in the first terminal.
The first terminal has an auxiliary application for a person speaking and speaking, the person with hearing impairment is the own user, for the convenience of distinguishing, the terminal communicating with the first terminal is used as the second terminal, and the user of the second terminal can be the user with normal hearing and speaking.
In the embodiment of the present specification, the first terminal may be a terminal having a SIM card (subscriber identity module), for example, a mobile phone with a SIM card, and since the first terminal has subscriber identity module hardware and subscriber identity of communication software, it is possible to receive a communication request from another user at any time after the subscriber identity module is activated and accesses the network, and the timeliness is strong.
Optionally, the first terminal may be a terminal of an open operating system, for example, the first terminal is a terminal of an android operating system.
The operating system in the first terminal is used as an interface between the application program and the hardware, and usually limits the access and modification rights of the application program installed in the terminal provider, for example, the access rights of other program processes or system processes, and for this reason, the application program developed by the third party does not have the right to acquire voice data from the telephone call process of the terminal, which makes the third party application program require both users to use the same application program for communication.
In view of this, the applicant thought that the system permission settings of the first terminal could be modified to configure the permission for the secondary application in the first terminal to invoke audio data from the telephone call process.
In this embodiment, configuring, for the auxiliary application in the first terminal, the right to invoke the audio data from the phone call process may include:
and acquiring the system administrator permission of the first terminal, and moving the folder of the auxiliary application to an application program directory of the system of the first terminal.
Specifically, root (obtaining the super administrator authority) is performed on the first terminal, a file of the auxiliary application is placed in an application program directory of the system, and after the first terminal is restarted, the auxiliary application can obtain the final authority so as to call the audio data in real time during the call.
It should be noted that the authority to call audio data from the telephone call process is or the authority to acquire the underlying data, and is not "set-authority-telephone authority" on the desktop of the mobile phone.
S102: and receiving call data sent by a second terminal to the telephone call process of the first terminal as first audio data.
In the embodiment of the present specification, the second terminal has the SIM card, the user of the first terminal can dial the call only when knowing the number of the user of the second terminal, the user of the second terminal can receive the communication request in time, and the telephone call does not require the user of the second terminal to install the auxiliary application in advance, so that the timeliness and the applicability of the communication in a complex scene are improved by the method.
After dialing the call, the telephone call process in the first terminal is started, and the call data sent to the first terminal by the second terminal is received, wherein the data is sent to the first terminal by the opposite user, and can be called as first audio data for convenient distinction.
S103: the auxiliary application extracts the first audio data from the telephone conversation process of the first terminal, displays first characters according to the first audio data, receives second characters generated by user operation, converts the second characters into audio data, and plays the audio data through audio signals.
In the embodiment of the present specification, since the auxiliary application obtains the right to obtain the audio data from the telephone call process, after the telephone call process of the first terminal receives the first audio data, the audio data can be obtained in an internal recording manner, translated into characters, and displayed.
Since the process is performed as an internal recording, it is feasible to pick up the sound at the first terminal and transmit the audio data to the second terminal.
Accordingly, the extracting, by the secondary application, the first audio data from the phone call progress of the first terminal may include:
and extracting the first audio data from the telephone call process of the first terminal in a mode of calling the underlying data.
In the embodiment of the present specification, the voice sent by the second terminal to the first terminal is displayed to the user in a text form, and besides the user of the first terminal can recognize the semantic meaning that the second terminal user wants to express, since the first audio signal sent by the second terminal to the first terminal does not need to be played, the internal recording does not mix the voice of the second terminal user into the environment of the first terminal, and does not occupy the audio playing module and the audio acquisition module of the first terminal.
The voice playing module is used for replacing the pronunciation function of the first terminal user, the speaking process of the user of the first terminal is simulated, the voice can be collected in the conversation process of the first terminal, and then the user of the second terminal can hear the voice, so that the user of the second terminal can hear the sound of a real scene in real time.
In this embodiment of the present specification, the first terminal may receive a second word generated by a user operation, where the first word reflects a semantic meaning that a user of the first terminal wishes to express, convert the second word into audio data, and play the audio data with an audio signal, which may simulate a process of speaking by the user of the first terminal.
Optionally, receiving a second word generated by a user operation may include:
and acquiring a second character input by the user.
In an application scenario, this may represent that the user enters the text of the feedback according to the first text presented by the first terminal.
Optionally, the first text and the corresponding possible feedback information may also be displayed to the user together, so that feedback of the user is easier to operate, for example, when the first text is displayed, a plurality of feedback identifiers corresponding to the first text may be displayed according to possible feedback of the user on the first text, when the user of the first terminal clicks a certain feedback identifier, it indicates that the first terminal user wishes to convey audio data corresponding to semantics, and the feedback identifier is used as an identifier, which may be a text or in other forms, and is not specifically described herein.
Therefore, presenting the first text according to the first audio data may further include:
displaying a first character and a feedback identifier according to the first audio data;
the receiving of the second text generated by the user operation may include:
and determining the corresponding second characters according to the feedback identification of the received user operation.
In the embodiment of the present specification, the processes of displaying the first text and receiving the first text may be real-time, so that a real-time two-way call may be implemented.
The conversion of the second text into the audio data may be implemented by a speech synthesis technique, which is not specifically described herein.
S104: and the telephone conversation process of the first terminal acquires an audio signal through an audio signal acquisition module, converts the acquired audio signal into second audio data and sends the second audio data to the second terminal.
Wherein, the signal acquisition module can be a microphone.
In the various embodiments, the permission for calling the audio data from the telephone call process is configured for the auxiliary application in the first terminal, and because the timeliness of the telephone call is not limited by whether the other party logs in, when the user of the first terminal needs to communicate with the user of the second terminal, the user of the second terminal can receive the communication request in time, and the telephone call does not need the user of the second terminal to install the auxiliary application in advance, the timeliness and the applicability of communication in a complex scene are improved by the method.
Moreover, the method can realize real-time two-way information communication between the first terminal and the second terminal, the communication real-time performance is good and the authenticity is good for a user at one side of normal telephone communication, the communication timeliness is improved while the advantage of real-time communication is provided for a party assisting the communication, and meanwhile, extra hardware is not needed as assistance during the communication, so the operation is convenient, and the user experience is improved.
Based on the same inventive concept, the embodiment of the specification further provides a device for assisting the conversation.
Fig. 2 is a schematic diagram of an apparatus for assisting dialog according to an embodiment of the present disclosure, where the apparatus may include:
a call module 201, configured to receive call data sent by a second terminal to a telephone call process of the first terminal, as first audio data;
an auxiliary application module 202, having an auxiliary application, where the auxiliary application is configured with a permission to call audio data from a phone call process of the first terminal, and is configured to extract the first audio data from the phone call process of the first terminal, display a first word according to the first audio data, receive a second word generated by a user operation, convert the second word into audio data, and play the audio data with an audio signal;
the communication module 201 is further configured to acquire an audio signal through an audio signal acquisition module, convert the acquired audio signal into second audio data, and send the second audio data to the second terminal.
Wherein, the signal acquisition module can be a microphone.
Optionally, the converting the second text into audio data includes:
and synthesizing audio data according to the second characters.
Optionally, the configuring, for the auxiliary application in the first terminal, a right to invoke audio data from a phone call process includes:
and acquiring the system administrator permission of the first terminal, and moving the folder of the auxiliary application to an application program directory of the system of the first terminal.
Optionally, the first terminal is a terminal of an open operating system.
Optionally, the extracting, by the secondary application, the first audio data from the telephone call progress of the first terminal includes:
and extracting the first audio data from the telephone call process of the first terminal in a mode of calling the underlying data.
Optionally, the receiving a second word generated by a user operation includes:
and acquiring a second character input by the user.
Optionally, the displaying the first text according to the first audio data further includes:
displaying a first character and a feedback identifier according to the first audio data;
the receiving of the second text generated by the user operation comprises:
and determining the corresponding second characters according to the feedback identification of the received user operation.
Optionally, the receiving a second word generated by a user operation includes:
and receiving user operation in real time, and determining a second character corresponding to the user operation.
By configuring the authority for calling the audio data from the telephone call process for the auxiliary application in the first terminal, because the timeliness of the telephone call is not limited by whether the other party logs in, when the user of the first terminal needs to communicate with the user of the second terminal, the user of the second terminal can receive the communication request in time, and the telephone call does not need the user of the second terminal to install the auxiliary application in advance, so that the timeliness and the applicability of the communication in a complex scene are improved.
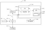
Fig. 3 is a schematic diagram of an apparatus for assisting dialog according to an embodiment of the present disclosure, which may show a signal flow direction of a first terminal.
The apparatus may include:
the system comprises a call module 201, an auxiliary application module 202, an operation acquisition module 203, a display module 204, an audio playing module 205 and an audio acquisition module 206;
after configuring the right to call audio data from the phone call process for the auxiliary application in the first terminal, each module may have the following functions:
a call module 201, configured to start a call process, receive call data sent by a second terminal to a phone call process of the first terminal as first audio data, where a1 in fig. 3 indicates the received first audio data;
and the auxiliary application module 202 extracts the first audio data from the telephone call process of the first terminal through the call module.
The first text is then presented according to the first audio data, the first text is converted according to the first audio data and thus can be represented by a1, and the presentation of the first text can be performed by the presentation module 204, for example, a display screen.
Thus, the process of the user of the first terminal acquiring and recognizing the semantics transmitted by the second terminal is completed.
Next, the user performs some feedback operations, and at this time, the secondary application module may control the operation acquisition module 203 to acquire the user operation data of the first terminal through the operation acquisition module 203, which may be denoted by b 2.
Then, the auxiliary application module determines corresponding audio data according to the received user operation data;
playing audio data corresponding to the user operation data in an audio form through an audio playing module 205 of the first terminal; wherein the audio playing module 205 may be an external speaker;
the call module 202 collects an audio signal through the audio signal collection module 206, converts the collected audio signal into second audio data, and sends the second audio data to the second terminal.
Here, in the entire process of transmitting the second audio data to the second terminal, in order to identify the role of the secondary application module therein, as in the representation method of a1/a1, the operation, data or signal before conversion is collectively represented by B1, and the data and signal after conversion of the secondary application module are collectively represented by B2, which may represent audio data or audio signals, and thus are not distinguished and explained herein.
Based on the same inventive concept, the embodiment of the specification further provides the electronic equipment.
In the following, embodiments of the electronic device of the present invention are described, which may be regarded as specific physical implementations for the above-described embodiments of the method and apparatus of the present invention. Details described in the embodiments of the electronic device of the invention should be considered supplementary to the embodiments of the method or apparatus described above; for details which are not disclosed in embodiments of the electronic device of the invention, reference may be made to the above-described embodiments of the method or the apparatus.
Fig. 4 is a schematic structural diagram of an electronic device provided in an embodiment of the present specification. Anelectronic device 400 according to this embodiment of the invention is described below with reference to fig. 4. Theelectronic device 400 shown in fig. 4 is only an example and should not bring any limitation to the function and the scope of use of the embodiments of the present invention.
As shown in fig. 4,electronic device 400 is embodied in the form of a general purpose computing device. The components ofelectronic device 400 may include, but are not limited to: at least oneprocessing unit 410, at least onememory unit 420, abus 430 that connects the various system components (including thememory unit 420 and the processing unit 410), adisplay unit 440, and the like.
Wherein the storage unit stores program code executable by theprocessing unit 410 to cause theprocessing unit 410 to perform steps according to various exemplary embodiments of the present invention described in the above-mentioned processing method section of the present specification. For example, theprocessing unit 410 may perform the steps as shown in fig. 1.
Thestorage unit 420 may include readable media in the form of volatile storage units, such as a random access memory unit (RAM)4201 and/or acache memory unit 4202, and may further include a read only memory unit (ROM) 4203.
Thestorage unit 420 may also include a program/utility 4204 having a set (at least one) ofprogram modules 4205,such program modules 4205 including, but not limited to: an operating system, one or more application programs, other program modules, and program data, each of which, or some combination thereof, may comprise an implementation of a network environment.
Bus 430 may be any bus representing one or more of several types of bus structures, including a memory unit bus or memory unit controller, a peripheral bus, an accelerated graphics port, a processing unit, or a local bus using any of a variety of bus architectures.
Theelectronic device 400 may also communicate with one or more external devices 500 (e.g., keyboard, pointing device, bluetooth device, etc.), with one or more devices that enable a user to interact with theelectronic device 400, and/or with any devices (e.g., router, modem, etc.) that enable theelectronic device 400 to communicate with one or more other computing devices. Such communication may occur via input/output (I/O) interfaces 450. Also, theelectronic device 400 may communicate with one or more networks (e.g., a Local Area Network (LAN), a Wide Area Network (WAN), and/or a public network, such as the internet) via thenetwork adapter 460. Thenetwork adapter 460 may communicate with other modules of theelectronic device 400 via thebus 430. It should be appreciated that although not shown in FIG. 4, other hardware and/or software modules may be used in conjunction withelectronic device 400, including but not limited to: microcode, device drivers, redundant processing units, external disk drive arrays, RAID systems, tape drives, and data backup storage systems, among others.
Through the above description of the embodiments, those skilled in the art will readily understand that the exemplary embodiments of the present invention described herein may be implemented by software, or by software in combination with necessary hardware. Therefore, the technical solution according to the embodiment of the present invention can be embodied in the form of a software product, which can be stored in a computer-readable storage medium (which can be a CD-ROM, a usb disk, a removable hard disk, etc.) or on a network, and includes several instructions to make a computing device (which can be a personal computer, a server, or a network device, etc.) execute the above-mentioned method according to the present invention. The computer program, when executed by a data processing apparatus, enables the computer readable medium to implement the above-described method of the invention, namely: such as the method shown in fig. 1.
The computer program may be stored on one or more computer readable media. The computer readable medium may be a readable signal medium or a readable storage medium. A readable storage medium may be, for example, but not limited to, an electronic, magnetic, optical, electromagnetic, infrared, or semiconductor system, apparatus, or device, or any combination of the foregoing. More specific examples (a non-exhaustive list) of the readable storage medium include: an electrical connection having one or more wires, a portable disk, a hard disk, a Random Access Memory (RAM), a read-only memory (ROM), an erasable programmable read-only memory (EPROM or flash memory), an optical fiber, a portable compact disc read-only memory (CD-ROM), an optical storage device, a magnetic storage device, or any suitable combination of the foregoing.
The computer readable storage medium may include a propagated data signal with readable program code embodied therein, for example, in baseband or as part of a carrier wave. Such a propagated data signal may take many forms, including, but not limited to, electro-magnetic, optical, or any suitable combination thereof. A readable storage medium may also be any readable medium that is not a readable storage medium and that can communicate, propagate, or transport a program for use by or in connection with an instruction execution system, apparatus, or device. Program code embodied on a readable storage medium may be transmitted using any appropriate medium, including but not limited to wireless, wireline, optical fiber cable, RF, etc., or any suitable combination of the foregoing.
Program code for carrying out operations for aspects of the present invention may be written in any combination of one or more programming languages, including an object oriented programming language such as Java, C + + or the like and conventional procedural programming languages, such as the "C" programming language or similar programming languages. The program code may execute entirely on the user's computing device, partly on the user's device, as a stand-alone software package, partly on the user's computing device and partly on a remote computing device, or entirely on the remote computing device or server. In the case of a remote computing device, the remote computing device may be connected to the user computing device through any kind of network, including a Local Area Network (LAN) or a Wide Area Network (WAN), or may be connected to an external computing device (e.g., through the internet using an internet service provider).
In summary, the invention may be implemented in hardware, or in software modules running on one or more processors, or in a combination thereof. Those skilled in the art will appreciate that some or all of the functionality of some or all of the components in embodiments in accordance with the invention may be implemented in practice using a general purpose data processing device such as a microprocessor or a Digital Signal Processor (DSP). The present invention may also be embodied as apparatus or device programs (e.g., computer programs and computer program products) for performing a portion or all of the methods described herein. Such programs implementing the present invention may be stored on computer-readable media or may be in the form of one or more signals. Such a signal may be downloaded from an internet website or provided on a carrier signal or in any other form.
While the foregoing embodiments have described the objects, aspects and advantages of the present invention in further detail, it should be understood that the present invention is not inherently related to any particular computer, virtual machine or electronic device, and various general-purpose machines may be used to implement the present invention. The invention is not to be considered as limited to the specific embodiments thereof, but is to be understood as being modified in all respects, all changes and equivalents that come within the spirit and scope of the invention.
The embodiments in the present specification are described in a progressive manner, and the same and similar parts among the embodiments are referred to each other, and each embodiment focuses on the differences from the other embodiments.
The above description is only an example of the present application and is not intended to limit the present application. Various modifications and changes may occur to those skilled in the art. Any modification, equivalent replacement, improvement, etc. made within the spirit and principle of the present application should be included in the scope of the claims of the present application.

Claims (12)

CN201911096209.1A2019-11-112019-11-11Method and device for assisting call and electronic equipmentPendingCN110855832A (en)

Priority Applications (1)

Application NumberPriority DateFiling DateTitle
CN201911096209.1ACN110855832A (en)2019-11-112019-11-11Method and device for assisting call and electronic equipment

Applications Claiming Priority (1)

Application NumberPriority DateFiling DateTitle
CN201911096209.1ACN110855832A (en)2019-11-112019-11-11Method and device for assisting call and electronic equipment

Publications (1)

Publication NumberPublication Date
CN110855832Atrue CN110855832A (en)2020-02-28

Family

ID=69601204

Family Applications (1)

Application NumberTitlePriority DateFiling Date
CN201911096209.1APendingCN110855832A (en)2019-11-112019-11-11Method and device for assisting call and electronic equipment

Country Status (1)

CountryLink
CN (1)CN110855832A (en)

Cited By (1)

* Cited by examiner, † Cited by third party
Publication numberPriority datePublication dateAssigneeTitle
CN113938565A (en)*2021-10-182022-01-14北京博瑞彤芸科技股份有限公司 Data processing method and device based on telephone call

Citations (7)

* Cited by examiner, † Cited by third party
Publication numberPriority datePublication dateAssigneeTitle
CN101123630A (en)*2006-08-072008-02-13英华达(南京)科技有限公司Communication method and system for voice and text conversion
CN202713627U (en)*2012-05-252013-01-30深圳信息职业技术学院TTS communication system
CN106254642A (en)*2016-07-302016-12-21吴凤彪A kind of assist earphone and call method thereof
US20170187876A1 (en)*2015-12-282017-06-29Peter HayesRemote automated speech to text including editing in real-time ("raster") systems and methods for using the same
CN107770397A (en)*2017-10-202018-03-06泾县麦蓝网络技术服务有限公司Call control method and phone system
CN108833698A (en)*2018-06-082018-11-16诺百爱(杭州)科技有限责任公司 A mobile device text call method
CN108846281A (en)*2018-05-022018-11-20广州视源电子科技股份有限公司root permission obtaining method and device, terminal equipment and storage medium

Patent Citations (7)

* Cited by examiner, † Cited by third party
Publication numberPriority datePublication dateAssigneeTitle
CN101123630A (en)*2006-08-072008-02-13英华达(南京)科技有限公司Communication method and system for voice and text conversion
CN202713627U (en)*2012-05-252013-01-30深圳信息职业技术学院TTS communication system
US20170187876A1 (en)*2015-12-282017-06-29Peter HayesRemote automated speech to text including editing in real-time ("raster") systems and methods for using the same
CN106254642A (en)*2016-07-302016-12-21吴凤彪A kind of assist earphone and call method thereof
CN107770397A (en)*2017-10-202018-03-06泾县麦蓝网络技术服务有限公司Call control method and phone system
CN108846281A (en)*2018-05-022018-11-20广州视源电子科技股份有限公司root permission obtaining method and device, terminal equipment and storage medium
CN108833698A (en)*2018-06-082018-11-16诺百爱(杭州)科技有限责任公司 A mobile device text call method

Cited By (1)

* Cited by examiner, † Cited by third party
Publication numberPriority datePublication dateAssigneeTitle
CN113938565A (en)*2021-10-182022-01-14北京博瑞彤芸科技股份有限公司 Data processing method and device based on telephone call

Similar Documents

PublicationPublication DateTitle
CN109147784B (en)Voice interaction method, device and storage medium
CN108197572B (en)Lip language identification method and mobile terminal
US8054952B1 (en)Systems and methods for visual presentation and selection of IVR menu
US9843667B2 (en)Electronic device and call service providing method thereof
CN111739553A (en)Conference sound acquisition method, conference recording method, conference record presentation method and device
CN107623614A (en)Method and apparatus for pushed information
CN109947387B (en)Audio acquisition method, audio playing method, system, device and storage medium
CN103139404A (en)System and method for generating interactive voice response display menu based on voice recognition
CN107748500A (en)Method and apparatus for controlling smart machine
TW200426780A (en)Voice browser dialog enabler for a communication system
CN110992955A (en) A voice operation method, device, device and storage medium of a smart device
US20210312143A1 (en)Real-time call translation system and method
CN104144108A (en)Information response method, device and system
CN111540370A (en)Audio processing method and device, computer equipment and computer readable storage medium
CN110365371A (en)The method and its system, electronic equipment that trigger signal realizes translation system control are provided based on bluetooth equipment
CN104851423B (en)Sound information processing method and device
CN110418181B (en)Service processing method and device for smart television, smart device and storage medium
CN112102836A (en)Voice control screen display method and device, electronic equipment and medium
KR101351264B1 (en)System and method for message translation based on voice recognition
CN110855832A (en)Method and device for assisting call and electronic equipment
CN114639392A (en)Audio processing method and device, electronic equipment and storage medium
CN110634478A (en)Method and apparatus for processing speech signal
CN107608718B (en)Information processing method and device
CN108418979B (en)Telephone traffic continuation prompting method and device, computer equipment and storage medium
CN106445456A (en) TTS audio data transmission method and device for navigation function

Legal Events

DateCodeTitleDescription
PB01Publication
PB01Publication
SE01Entry into force of request for substantive examination
SE01Entry into force of request for substantive examination
RJ01Rejection of invention patent application after publication
RJ01Rejection of invention patent application after publication

Application publication date:20200228


[8]ページ先頭

©2009-2025 Movatter.jp