Movatterモバイル変換


[0]ホーム

URL:


CN110812513A - Medical supplies disinfecting equipment - Google Patents

Medical supplies disinfecting equipment
Download PDF

Info

Publication number
CN110812513A
CN110812513ACN201911111599.5ACN201911111599ACN110812513ACN 110812513 ACN110812513 ACN 110812513ACN 201911111599 ACN201911111599 ACN 201911111599ACN 110812513 ACN110812513 ACN 110812513A
Authority
CN
China
Prior art keywords
hook
plate
spring
locking
transmission gear
Prior art date
Legal status (The legal status is an assumption and is not a legal conclusion. Google has not performed a legal analysis and makes no representation as to the accuracy of the status listed.)
Pending
Application number
CN201911111599.5A
Other languages
Chinese (zh)
Inventor
刘金友
Current Assignee (The listed assignees may be inaccurate. Google has not performed a legal analysis and makes no representation or warranty as to the accuracy of the list.)
Individual
Original Assignee
Individual
Priority date (The priority date is an assumption and is not a legal conclusion. Google has not performed a legal analysis and makes no representation as to the accuracy of the date listed.)
Filing date
Publication date
Application filed by IndividualfiledCriticalIndividual
Priority to CN201911111599.5ApriorityCriticalpatent/CN110812513A/en
Publication of CN110812513ApublicationCriticalpatent/CN110812513A/en
Pendinglegal-statusCriticalCurrent

Links

Images

Classifications

Landscapes

Abstract

The invention relates to the field of medical treatment, in particular to a medical article disinfection device. The liquid cleaning and disinfection of medical supplies such as scissors, hemostatic forceps, tweezers and the like can be realized; the invention can realize semi-automation of cleaning and disinfection of medical supplies, and can feed liquid and discharge liquid and automatically clamp the supplies to be cleaned through button control; the liquid level in the equipment is controlled by a floating ball in the liquid inlet control device, when the liquid level reaches a preset position, the floating ball floats upwards to close the liquid inlet through a connecting rod and is fastened with a liquid inlet lock hook, so that the function of automatic liquid inlet is achieved, and when liquid inlet is needed, the liquid inlet lock hook can be released to feed liquid by pressing a liquid inlet button; when the cover opening button is pressed down, the top cover bounces to drive the liquid discharging plug to open, so that the effect of automatic liquid discharging is achieved; in order to meet the cleaning requirements under different conditions, the rotating speed of the stirring rotary plate can be adjusted.

Description

Medical supplies disinfecting equipment
Technical Field
The invention relates to the field of medical treatment, in particular to a medical article disinfection device.
Background
A large amount of medical supplies such as scissors, hemostatic forceps, tweezers and the like are needed in hospital surgeries, and general disinfection equipment needs more manual work and is low in working efficiency.
Disclosure of Invention
The invention aims to provide a medical article disinfection device which can realize the liquid cleaning and disinfection of medical articles such as scissors, hemostatic forceps, tweezers and the like; the semi-automation of medical supplies cleaning and disinfecting is realized to each structure coordination work of accessible, controls the feed liquor through feed liquor controlling means and flowing back and combines together through fixed padlock and fixed lock clamp and reach the purpose that self-holding waited to wash the articles for use, still can adjust the speed of washing according to actual conditions through speed change gear.
The purpose of the invention is realized by the following technical scheme:
the utility model provides a medical supplies disinfecting equipment, includes casing, top cap, feed liquor control device, fixed padlock, fixed collet, speed change gear, feed liquor control device is connected with the casing, and the top cap is connected with the casing, and speed change gear is connected with the casing, and fixed couple is connected with the top cap, and the fixation clamp is connected with the top cap.
As a further optimization of the technical scheme, the medical article disinfection equipment comprises a shell, a buckle hook lock, a spring fixing column, an uncovering spring, a fixing clamp beam and a stirring rotating plate, wherein the buckle hook lock is connected with the shell, the spring fixing column is connected with the shell, the uncovering spring is connected with the spring fixing column, the uncovering spring is connected with the shell, the fixing clamp beam is connected with the shell, and the stirring rotating plate is connected with the shell.
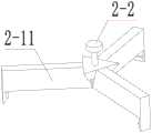
As a further optimization of the technical scheme, the invention relates to a medical article disinfection device, wherein a top cover comprises a cover plate, a cover opening button, a liquid inlet button, a liquid outlet plug, a top cover box, a top cover pillar, a sieve plate, a liquid inlet button spring, a buckle spring fixing column, a buckle spring and a buckle hook, the cover opening button is connected with the cover plate, the liquid inlet button is connected with the cover plate, the top cover box is connected with the cover opening button, the top cover pillar is connected with the top cover box, the sieve plate is connected with the top cover pillar, the sieve plate is connected with the liquid outlet plug, the liquid inlet button spring is connected with the top cover box, the liquid inlet button spring is connected with the liquid inlet button, the liquid inlet button spring is connected with the cover plate, the buckle spring fixing column is connected with the top, the buckle hook is connected with buckle spring fixed column, and the buckle hook is connected with the top cap box, and the buckle hook is connected with the button of uncapping, and the buckle hook is connected with the apron, and the top cap pillar is connected with the spring of uncapping, and the top cap pillar is connected with spring fixed column.
As a further optimization of the technical scheme, the liquid inlet control device comprises a floating ball plug, a liquid inlet lock hook and a liquid inlet device fixing clamping rod, wherein the liquid inlet lock hook is connected with the floating ball plug, the liquid inlet device fixing clamping rod is connected with the liquid inlet lock hook, the liquid inlet device fixing clamping rod is connected with the floating ball plug, and the liquid inlet device fixing clamping rod is connected with the shell.
As a further optimization of the technical scheme, the medical article disinfection equipment comprises a hook, a stop hook, a hook spring, a locking plate, an N-shaped support rod and a hook spring fixing column, wherein the stop hook is connected with the hook through a torsional spring, the hook spring is connected with the hook, the locking plate is connected with the hook spring, the N-shaped support rod is connected with the locking plate, the N-shaped support rod is connected with the stop hook, the hook spring fixing column is connected with the locking plate, the hook spring fixing column is connected with the hook spring, the hook spring fixing column is connected with the locking plate, the hook spring fixing column is connected with the hook, and the hook is connected with a top cover box.
As a further optimization of the technical solution, the invention provides a medical article sterilization device, the fixed locking clamp comprises a locking beam, a locking clamp spring fixing column, a locking clamp gear, a gear shaft, a locking toothed plate, a lower clamping plate, a side baffle, a locking clamp spring and an upper clamping plate, the locking clamp spring fixing column is connected with the locking beam, the locking clamp gear is connected with the locking beam, the gear shaft is connected with the locking clamp gear through a torsion spring, the locking toothed plate is connected with the locking clamp gear, the lower clamping plate is connected with the locking toothed plate, the side baffle is connected with the lower clamping plate, the side baffle is connected with the locking toothed plate, the side baffle is connected with the gear shaft, the side baffle is connected with the locking clamp gear, the locking clamp spring is connected with the locking clamp spring fixing column, the locking clamp spring is connected with the locking beam, the upper clamping plate is connected with the locking clamp spring, and the upper clamping plate is connected with the, the upper clamping plate is connected with the locking beam, and the lower clamping plate is connected with the sieve plate.
As a further optimization of the technical scheme, the invention relates to a medical article disinfection device, which comprises a bottom plate, a side plate, a power device, a bevel gear, an adjusting device, an adjusting rod, a first transmission gear, a second transmission gear, a third transmission gear, a fourth transmission gear, an output shaft, an input shaft, a transmission gear A, a transmission gear B, a transmission gear C, a transmission gear D, a groove A, a groove B, a boss A and a boss B, wherein the side plate is connected with the bottom plate, the power device is connected with the bottom plate, the adjusting rod is connected with the adjusting device, the output shaft is connected with the transmission gear in a four-phase manner, the output shaft is connected with the transmission gear in a three-phase manner, the output shaft is connected with the second transmission gear, the output shaft is connected with the first transmission gear, the transmission gear A is connected with the input shaft, the transmission gear A is connected with the transmission gear four-phase, the transmission gear B is connected with the input shaft, the transmission gear B is connected with the transmission gear two-phase, the transmission gear C is connected with the input shaft, the transmission gear D is connected with the transmission gear one-phase, the groove A is connected with the output shaft, the groove A is connected with the transmission gear three-phase, the groove B is connected with the input shaft, the groove B is connected with the transmission gear C, the boss A is connected with the groove A, the boss A is connected with the output shaft, the boss A is connected with the transmission gear three-phase, the boss B is connected with the groove B, the boss B is connected with the transmission.
The medical article disinfection equipment has the beneficial effects that:
according to the medical article disinfection equipment, the liquid level height in the equipment is controlled through the floating ball in the liquid inlet control device, when the liquid level height reaches a preset position, the floating ball floats upwards to close the liquid inlet through the connecting rod and is fastened with the liquid inlet lock hook, the automatic liquid inlet function is achieved, and when liquid inlet is needed, the liquid inlet lock hook can be released to feed liquid by pressing the liquid inlet button; when the cover opening button is pressed down, the top cover bounces to drive the liquid discharging plug to be opened, so that the effect of automatic liquid discharging is achieved.
Drawings
The invention is described in further detail below with reference to the accompanying drawings and specific embodiments.
FIG. 1 is a first general structural diagram of the present invention;
FIG. 2 is a second overall structural schematic of the present invention;
FIG. 3 is a schematic diagram of the overall structure of the present invention
FIG. 4 is a fourth schematic view of the overall structure of the present invention;
FIG. 5 is a schematic view of the housing construction of the present invention;
FIG. 6 is a first schematic view of the top cover structure of the present invention;
FIG. 7 is a schematic view of the top cover structure of the present invention;
FIG. 8 is a third schematic view of the top cover structure of the present invention;
FIG. 9 is a schematic structural diagram of a liquid inlet control device of the invention;
FIG. 10 is a schematic view of the padlock securing structure of the present invention;
FIG. 11 is a first view of a retaining clip according to the present invention;
FIG. 12 is a second view of the fixing clip structure of the present invention;
FIG. 13 is a first schematic structural view of the transmission of the present invention;
FIG. 14 is a second schematic structural view of the transmission of the present invention;
FIG. 15 is a third schematic structural view of the transmission of the present invention;
FIG. 16 is a fourth schematic structural view of the transmission of the present invention;
FIG. 17 is a fifth schematic structural view of the transmission of the present invention;
fig. 18 is a sixth schematic structural view of the transmission of the present invention.
In the figure: ahousing 1; a housing 1-1; 1-2 of a buckle hook lock; 1-3 spring fixing columns; a cover opening spring 1-4; 1-5 of a fixed clamp beam; 1-6 parts of a stirring rotary plate; atop cover 2; a cover plate 2-1; a cover opening button 2-2; 2-3 of a liquid inlet button; 2-4 parts of a drainage plug; 2-5 of a top cover box; 2-6 of top cover support; 2-7 parts of sieve plate; 2-8 parts of liquid inlet button spring; 2-9 parts of a buckle spring fixing column; 2-10 parts of a buckle spring; 2-11 parts of a buckle hook; a liquidinlet control device 3; 3-1 of a floating ball plug; liquid inlet latch hook 3-2; the liquid inlet device fixes the clamping rod 3-3; afixed padlock 4; 4-1 of a hook; 4-2 of a stop hook; 4-3 of a hook spring; 4-4 of a locking plate; 4-5 of an N-shaped holder roll; 4-6 hook spring fixing columns; afixing lock clamp 5; 5-1 of a locking beam; 5-2, a locking clamp spring fixing column; 5-3 of a locking clamp gear; 5-4 parts of a gear shaft; 5-5 of a locking toothed plate; 5-6 parts of a lower splint; 5-7 parts of side baffle plates; 5-8 parts of a locking clamp spring; 5-9 parts of an upper clamping plate; aspeed change device 6; a bottom plate 6-1; 6-2 of a side plate; a power plant 6-3; 6-4 of a bevel gear; 6-5 of a regulating device; adjusting a rod 6-6; a first transmission gear 6-7; 6-8 parts of a second transmission gear; a third transmission gear 6-9; 6-10 parts of a transmission gear; 6-11 of an output shaft; an input shaft 6-12; transmission gears A6-13; transmission gears B6-14; a transmission gear C6-15; drive gears D6-16; grooves A6-17; grooves B6-18; 6-19 of a boss A; and (4) bosses B6-10.
Detailed Description
The present invention will be described in further detail with reference to the accompanying drawings.
The fixed connection in the device is realized by welding; fixing by means of thread fixing and the like, and using different fixing modes by combining different use environments; the rotary connection means that the bearing is arranged on the shaft in a drying mode, a spring retainer ring groove is formed in the shaft or the shaft hole, and the elastic retainer ring is clamped in the retainer ring groove to achieve axial fixation of the bearing and achieve rotation; the sliding connection refers to the connection through the sliding of the sliding block in the sliding groove or the guide rail; the hinge is formed by a hinge; the pin shaft, the short shaft and other connecting parts are movably connected; the required sealing positions are sealed by sealing rings or O-shaped rings.
The first embodiment is as follows:
the embodiment is described below with reference to fig. 1 to 18, and a medical article disinfection apparatus includes ahousing 1, atop cover 2, a liquidinlet control device 3, afixed padlock 4, afixed locking clip 5, and aspeed change device 6, where the liquidinlet control device 2 is connected to thehousing 1, thetop cover 3 is connected to thehousing 1, thespeed change device 6 is connected to thehousing 1, afixed hook 4 is connected to thetop cover 2, and the fixedclip 5 is connected to thetop cover 2.
The second embodiment is as follows:
the embodiment is described below with reference to fig. 1 to 18, and the embodiment further describes the first embodiment, where thehousing 1 includes a housing 1-1, a snap hook lock 1-2, a spring fixing post 1-3, a cover opening spring 1-4, a fixing clip beam 1-5, and a stirring rotating plate 1-6, the snap hook lock 1-2 is connected to the housing 1-1, the spring fixing post 1-3 is connected to the housing 1-1, the cover opening spring 1-4 is connected to the spring fixing post 1-3, the cover opening spring 1-4 is connected to the housing 1-1, the fixing clip beam 1-5 is connected to the housing 1-1, and the stirring rotating plate 1-6 is connected to the housing 1-1.
The third concrete implementation mode:
the embodiment is described below with reference to fig. 1-18, and the embodiment further describes the first embodiment, thetop cover 2 comprises a cover plate 2-1, a cover opening button 2-2, a liquid inlet button 2-3, a liquid discharge plug 2-4, a top cover box 2-5, a top cover pillar 2-6, a sieve plate 2-7, a liquid inlet button spring 2-8, a buckle spring fixing column 2-9, a buckle spring 2-10, a buckle hook 2-11, the cover opening button 2-2 is connected with the cover plate 2-1, the liquid inlet button 2-3 is connected with the cover plate 2-1, the top cover box 2-5 is connected with the cover opening button 2-2, the top cover pillar 2-6 is connected with the top cover box 2-5, the sieve plate 2-7 is connected with the top cover pillar 2-6, the sieve plate 2-7 is connected with the liquid discharge plug 2-4, the liquid inlet button spring 2-8 is connected with the top cover box 2-5, the liquid inlet button spring 2-8 is connected with the liquid inlet button 2-3, the liquid inlet button spring 2-8 is connected with the cover plate 2-1, the buckle spring fixing column 2-9 is connected with the top cover box 2-5, the buckle spring 2-10 is connected with the buckle spring fixing column 2-9, the buckle spring 2-10 is connected with the top cover box 2-5, the buckle hook 2-11 is connected with the buckle spring 2-10, the buckle hook 2-11 is connected with the buckle spring fixing column 2-9, the buckle hook 2-11 is connected with the top cover box 2-5, the buckle hook 2-11 is connected with the cover opening button 2-, the buckle hook 2-11 is connected with the cover plate 2-1, the top cover pillar 2-6 is connected with the cover opening spring 1-4, and the top cover pillar 2-6 is connected with the spring fixing column 1-3;
the cover opening button 2-2 is pressed down, the three buckle hooks 2-11 slide outwards through extrusion, the buckle springs 2-10 are compressed, the buckle hooks 2-11 are released from the buckle hook locks 1-2, and thetop cover 2 is bounced under the action of the cover opening springs 1-4, so that the cover opening action is realized.
The fourth concrete implementation mode:
the present embodiment is described below with reference to fig. 1 to 18, and the present embodiment further describes the first embodiment, where the liquidinlet control device 3 includes a floating ball plug 3-1, a liquid inlet latch hook 3-2, and a liquid inlet device fixing clamping rod 3-3, the liquid inlet latch hook 3-2 is connected to the floating ball plug 3-1, the liquid inlet device fixing clamping rod 3-3 is connected to the liquid inlet latch hook 3-2, the liquid inlet device fixing clamping rod 3-3 is connected to the floating ball plug 3-1, and the liquid inlet device fixing clamping rod 3-3 is connected to the housing 1-1;
when thetop cover 2 is buckled on theshell 1, the liquid inlet button 2-3 is pressed down, the tail end of the liquid inlet button is contacted with and downwards extrudes the upper end of the liquid inlet lock hook 3-2, the floating ball plug 3-1 is released, the liquid inlet is opened to finish liquid inlet, when the liquid level rises to a preset height, the floating ball plug 3-1 floats upwards and is buckled with the liquid inlet lock hook 3-2 to close the liquid inlet, and the liquid inlet is stopped.
The fifth concrete implementation mode:
the embodiment is described below with reference to fig. 1-18, and the embodiment will be further described, wherein thefixed padlock 4 comprises a hook 4-1, a blocking hook 4-2, a hook spring 4-3, a locking plate 4-4, an N-shaped stick 4-5, and a hook spring fixing post 4-6, the blocking hook 4-2 is connected with the hook 4-1 through a torsion spring, the hook spring 4-3 is connected with the hook 4-1, the locking plate 4-4 is connected with the hook spring 4-3, the N-shaped stick 4-5 is connected with the locking plate 4-4, the N-shaped stick 4-5 is connected with the blocking hook 4-2, the hook spring fixing post 4-6 is connected with the locking plate 4-4, the hook spring fixing post 4-6 is connected with the hook spring 4-3, the hook spring fixing column 4-6 is connected with the locking plate 4-4, the hook spring fixing column 4-6 is connected with the hook 4-1, and the hook 4-1 is connected with the top cover box 2-5;
the stop hook 4-2 is pressed inwards, the locking plate 4-4 is lifted upwards under the action of the N-shaped support rod 4-5, after an object to be hung is hung, the stop hook 4-2 is loosened, the locking plate returns to the original position under the action of the torsion spring, the locking plate 4-4 without support is pressed downwards under the action of the hook spring 4-3, and further fixing of the hung object is completed.
The sixth specific implementation mode:
the embodiment is described below with reference to fig. 1-18, and the embodiment further describes the first embodiment, the fixedlocking clamp 5 includes a locking beam 5-1, a locking clamp spring fixing column 5-2, a locking clamp gear 5-3, a gear shaft 5-4, a locking toothed plate 5-5, a lower clamping plate 5-6, a side baffle 5-7, a locking clamp spring 5-8, and an upper clamping plate 5-9, the locking clamp spring fixing column 5-2 is connected with the locking beam 5-1, the locking clamp gear 5-3 is connected with the locking beam 5-1, the gear shaft 5-4 is connected with the locking clamp gear 5-3 through a torsion spring, the locking toothed plate 5-5 is connected with the locking clamp gear 5-3, the lower clamping plate 5-6 is connected with the locking toothed plate 5-5, the side baffle 5-7 is connected with the lower clamping plate 5-6, the side baffle 5-7 is connected with a locking toothed plate 5-5, the side baffle 5-7 is connected with a gear shaft 5-4, the side baffle 5-7 is connected with a locking clamp gear 5-3, the side baffle 5-7 is connected with a locking beam 5-1, a locking clamp spring 5-8 is connected with a locking clamp spring fixing column 5-2, the locking clamp spring 5-8 is connected with the locking beam 5-1, an upper clamping plate 5-9 is connected with the locking clamp spring 5-8, the upper clamping plate 5-9 is connected with the locking clamp spring fixing column 5-2, the upper clamping plate 5-9 is connected with the locking beam 5-1, and a lower clamping plate 5-6 is connected with a sieve plate 2-7;
when thetop cover 2 is pressed to move downwards, the fixedlocking clamp 5 connected with the top cover simultaneously moves downwards, when the locking toothed plate 5-5 contacts the fixed clamp cross beam 1-5, the locking toothed plate starts to move relative to the side baffle 5-7, and under the action of the locking clamp gear 5-3, the locking beam 5-1 drives the upper clamp plate 5-9 to approach the lower clamp plate 5-6 through the locking clamp spring 5-8, so that the clamping of the to-be-fixed piece is completed.
The seventh embodiment:
the embodiment is described below with reference to fig. 1 to 18, and the embodiment further describes the first embodiment, thespeed changing device 6 comprises a bottom plate 6-1, a side plate 6-2, a power device 6-3, a bevel gear 6-4, an adjusting device 6-5, an adjusting rod 6-6, a transmission gear I6-7, a transmission gear II 6-8, a transmission gear III 6-9, a transmission gear IV 6-10, an output shaft 6-11, an input shaft 6-12, a transmission gear A6-13, a transmission gear B6-14, a transmission gear C6-15, a transmission gear D6-16, the side plate 6-2 is connected with the bottom plate 6-1, the power device 6-3 is connected with the bottom plate 6-1, the adjusting rod 6-6 is connected with the adjusting device 6-5, the output shaft 6-11 is connected with a transmission gear IV 6-10, the output shaft 6-11 is connected with a transmission gear III 6-9, the output shaft 6-11 is connected with a transmission gear II 6-8, the output shaft 6-11 is connected with a transmission gear I6-7, the output shaft 6-11 is connected with a bevel gear 6-4, the output shaft 6-11 is connected with a side plate 6-2, the input shaft 6-12 is connected with a power device 6-3, the input shaft 6-12 is connected with the side plate 6-2, a transmission gear A6-13 is connected with the input shaft 6-12, a transmission gear A6-13 is connected with a transmission gear IV 6-10, a transmission gear B6-14 is connected with the input shaft 6-12, a transmission gear B6-14 is connected with a transmission gear II, the transmission gear C6-15 is connected with the input shaft 6-12, the transmission gear D6-16 is connected with the input shaft 6-12, the transmission gear D6-16 is connected with the transmission gear I6-7, the groove A6-17 is connected with the output shaft 6-11, the groove A6-17 is connected with the transmission gear III 6-9, the groove B6-18 is connected with the input shaft 6-12, the groove B6-18 is connected with the transmission gear C6-15, the boss A6-19 is connected with the groove A6-17, the boss A6-19 is connected with the output shaft 6-11, the boss A6-19 is connected with the transmission gear III 6-9, the boss B6-20 is connected with the groove B6-18, the boss B6-20 is connected with the transmission gear C6-15, the boss B6-20 is connected with the input shaft 6-12, the bottom plate 6-1 is connected with the shell 1-1, and the bevel gear 6-4 is connected with the stirring rotary plate 1-6.
The invention relates to a medical article disinfection device, which has the working principle that: when the cover opening device is used, the cover opening button 2-2 is pressed, the three buckle hooks 2-11 slide outwards through the extrusion action, the buckle springs 2-10 are pressed, the buckle hooks 2-11 are released from the buckle hook locks 1-2, and thetop cover 2 is bounced under the action of the cover opening springs 1-4; the stop hook 4-2 is pressed inwards, the locking plate 4-4 is lifted upwards under the action of the N-shaped support stick 4-5, after a hanging piece is hung, the stop hook 4-2 is loosened, the locking plate returns to the original position under the action of the torsion spring, the locking plate 4-4 without support is pressed downwards under the action of the hook spring 4-3, and further fixing of the hanging piece is completed; placing an article to be fixed between the lower clamping plate 5-6 and the upper clamping plate 5-9, pressing thetop cover 2 to make the top cover move downwards, and making the fixedlocking clamp 5 connected with the top cover move downwards simultaneously, when the locking toothed plate 5-5 contacts the fixed clamp beam 1-5, the locking toothed plate starts to move relative to the side baffle plate 5-7, and under the action of the locking clamp gear 5-3, the locking beam 5-1 drives the upper clamping plate 5-9 to approach the lower clamping plate 5-6 through the locking clamp spring 5-8, so as to finish the clamping of the article to be fixed; when thetop cover 2 descends to the lowest point, the buckling hook 2-11 is buckled with the buckling hook lock 1-2 to complete cover closing, the liquid inlet button 2-3 is pressed down to enable the tail end of the liquid inlet button to contact and downwards extrude the upper end of the liquid inlet locking hook 3-2, the liquid inlet button is enabled to release the floating ball plug 3-1, the liquid inlet is opened to complete liquid inlet, when the liquid level rises to a preset height, the floating ball plug 3-1 floats upwards and is buckled with the liquid inlet locking hook 3-2 to close the liquid inlet, and liquid inlet is automatically stopped; after liquid feeding is finished, the power device 6-3 is turned on, and power is transmitted to the stirring rotary plates 1-6 through thespeed changing device 6, so that the stirring disinfection liquid is used for cleaning and disinfecting medical supplies; after the disinfection is finished, closing the power device 6-3, stopping the rotation of the stirring rotary plate 1-6, pressing the cover opening button 2-2 to open thetop cover 2, and driving the liquid discharge plug 2-4 to move upwards to open the liquid discharge port to finish liquid discharge in the upward movement process of thetop cover 2; when the rotating speed of the stirring rotary plate 1-6 is required to be adjusted according to the situation, the transmission ratio can be changed by moving the transmission gear III 6-9 and the transmission gear C6-15 to slide transversely through the adjusting rod 6-6, power is transmitted from the input shaft 6-12 to the output shaft 6-11 under the matching of the convex blocks in the transmission gear III 6-9 and the transmission gear C6-15 and the grooves in the input shaft 6-12 and the output shaft 6-11, and the speed of the stirring rotary plate 1-6 is changed under the transmission of the bevel gear 6-4 and the bevel gear at the tail end of the stirring rotary plate 1-6.
Of course, the above description is not intended to limit the present invention, and the present invention is not limited to the above examples, and variations can be made by those skilled in the art within the spirit and scope of the present invention; modifying; and the addition or the replacement also belongs to the protection scope of the invention.

Claims (7)

3. The medical article sterilization apparatus according to claim 1, wherein: the top cover (2) comprises a cover plate (2-1), a cover opening button (2-2), a liquid inlet button (2-3), a liquid discharging plug (2-4), a top cover box (2-5), a top cover support (2-6), a sieve plate (2-7), a liquid inlet button spring (2-8), a buckle spring fixing column (2-9), a buckle spring (2-10) and a buckle hook (2-11), the cover opening button (2-2) is connected with the cover plate (2-1), the liquid inlet button (2-3) is connected with the cover plate (2-1), the top cover box (2-5) is connected with the cover opening button (2-2), the top cover support (2-6) is connected with the top cover box (2-5), the sieve plate (2-7) is connected with a top cover support post (2-6), the sieve plate (2-7) is connected with a liquid discharging plug (2-4), a liquid inlet button spring (2-8) is connected with a top cover box (2-5), the liquid inlet button spring (2-8) is connected with a liquid inlet button (2-3), the liquid inlet button spring (2-8) is connected with a cover plate (2-1), a buckle spring fixing column (2-9) is connected with the top cover box (2-5), a buckle spring (2-10) is connected with a buckle spring fixing column (2-9), the buckle spring (2-10) is connected with the top cover box (2-5), a buckle hook (2-11) is connected with the buckle spring (2-10), the buckle hook (2-11) is connected with the buckle spring fixing column (2-9), the buckle hook (2-11) is connected with the top cover box (2-5), the buckle hook (2-11) is connected with the cover opening button (2-2), the buckle hook (2-11) is connected with the cover plate (2-1), the top cover strut (2-6) is connected with the cover opening spring (1-4), and the top cover strut (2-6) is connected with the spring fixing column (1-3).
5. The medical article sterilization apparatus according to claim 1, wherein: the fixed padlock (4) comprises a hook (4-1), a stop hook (4-2), a hook spring (4-3), a locking plate (4-4), an N-shaped support rod (4-5) and a hook spring fixing column (4-6), wherein the stop hook (4-2) is connected with the hook (4-1) through a torsion spring, the hook spring (4-3) is connected with the hook (4-1), the locking plate (4-4) is connected with the hook spring (4-3), the N-shaped support rod (4-5) is connected with the locking plate (4-4), the N-shaped support rod (4-5) is connected with the stop hook (4-2), the hook spring fixing column (4-6) is connected with the locking plate (4-4), the hook spring fixing column (4-6) is connected with the hook spring (4-3), the hook spring fixing column (4-6) is connected with the locking plate (4-4), the hook spring fixing column (4-6) is connected with the hook (4-1), and the hook (4-1) is connected with the top cover box (2-5).
6. The medical article sterilization apparatus according to claim 1, wherein: the fixed locking clamp (5) comprises a locking beam (5-1), a locking clamp spring fixing column (5-2), a locking clamp gear (5-3), a gear shaft (5-4), a locking toothed plate (5-5), a lower clamping plate (5-6), a side baffle (5-7), a locking clamp spring (5-8) and an upper clamping plate (5-9), the locking clamp spring fixing column (5-2) is connected with the locking beam (5-1), the locking clamp gear (5-3) is connected with the locking beam (5-1), the gear shaft (5-4) is connected with the locking clamp gear (5-3) through a torsion spring, the locking toothed plate (5-5) is connected with the locking clamp gear (5-3), the lower clamping plate (5-6) is connected with the locking toothed plate (5-5), the side baffle (5-7) is connected with the lower clamping plate (5-6), the side baffle (5-7) is connected with the locking toothed plate (5-5), the side baffle (5-7) is connected with the gear shaft (5-4), the side baffle (5-7) is connected with the locking and clamping gear (5-3), the side baffle (5-7) is connected with the locking beam (5-1), the locking and clamping spring (5-8) is connected with the locking and clamping spring fixing column (5-2), the locking and clamping spring (5-8) is connected with the locking beam (5-1), the upper clamp plate (5-9) is connected with the locking and clamping spring (5-8), the upper clamp plate (5-9) is connected with the locking and clamping spring fixing column (5-2), the upper clamp plate (5-9) is connected with the locking beam (5-1), and the lower clamp plate (5-6) is connected with the sieve plate (2-7).
7. The medical article sterilization apparatus according to claim 1, wherein: the speed change device (6) comprises a bottom plate (6-1), a side plate (6-2), a power device (6-3), a bevel gear (6-4), an adjusting device (6-5), an adjusting rod (6-6), a first transmission gear (6-7), a second transmission gear (6-8), a third transmission gear (6-9), a fourth transmission gear (6-10), an output shaft (6-11), an input shaft (6-12), a transmission gear A (6-13), a transmission gear B (6-14), a transmission gear C (6-15), a transmission gear D (6-16), a groove A (6-17), a groove B (6-18), a boss A (6-19) and a boss B (6-20), wherein the side plate (6-2) is connected with the bottom plate (6-1), the power device (6-3) is connected with the bottom plate (6-1), the adjusting rod (6-6) is connected with the adjusting device (6-5), the output shaft (6-11) is connected with the transmission gear IV (6-10), the output shaft (6-11) is connected with the transmission gear III (6-9), the output shaft (6-11) is connected with the transmission gear II (6-8), the output shaft (6-11) is connected with the transmission gear I (6-7), the output shaft (6-11) is connected with the bevel gear (6-4), the output shaft (6-11) is connected with the side plate (6-2), the input shaft (6-12) is connected with the power device (6-3), and the input shaft (6-12) is connected with the side plate (6-2), the transmission gear A (6-13) is connected with the input shaft (6-12), the transmission gear A (6-13) is connected with the transmission gear four (6-10), the transmission gear B (6-14) is connected with the input shaft (6-12), the transmission gear B (6-14) is connected with the transmission gear two (6-8), the transmission gear C (6-15) is connected with the input shaft (6-12), the transmission gear D (6-16) is connected with the transmission gear one (6-7), the groove A (6-17) is connected with the output shaft (6-11), the groove A (6-17) is connected with the transmission gear three (6-9), and the groove B (6-18) is connected with the input shaft (6-12), the groove B (6-18) is connected with the transmission gear C (6-15), the boss A (6-19) is connected with the groove A (6-17), the boss A (6-19) is connected with the output shaft (6-11), the boss A (6-19) is connected with the transmission gear III (6-9), the boss B (6-20) is connected with the groove B (6-18), the boss B (6-20) is connected with the transmission gear C (6-15), the boss B (6-20) is connected with the input shaft (6-12), the bottom plate (6-1) is connected with the shell (1-1), and the bevel gear (6-4) is connected with the stirring rotary plate (1-6).
CN201911111599.5A2019-11-142019-11-14Medical supplies disinfecting equipmentPendingCN110812513A (en)

Priority Applications (1)

Application NumberPriority DateFiling DateTitle
CN201911111599.5ACN110812513A (en)2019-11-142019-11-14Medical supplies disinfecting equipment

Applications Claiming Priority (1)

Application NumberPriority DateFiling DateTitle
CN201911111599.5ACN110812513A (en)2019-11-142019-11-14Medical supplies disinfecting equipment

Publications (1)

Publication NumberPublication Date
CN110812513Atrue CN110812513A (en)2020-02-21

Family

ID=69555007

Family Applications (1)

Application NumberTitlePriority DateFiling Date
CN201911111599.5APendingCN110812513A (en)2019-11-142019-11-14Medical supplies disinfecting equipment

Country Status (1)

CountryLink
CN (1)CN110812513A (en)

Cited By (1)

* Cited by examiner, † Cited by third party
Publication numberPriority datePublication dateAssigneeTitle
CN113368286A (en)*2021-07-142021-09-10李世珺Medical equipment atomizing disinfection system

Citations (5)

* Cited by examiner, † Cited by third party
Publication numberPriority datePublication dateAssigneeTitle
CA2256036A1 (en)*1997-12-171999-06-17Ethicon, Inc.Lumen device reprocessor without occlusion
CN203124306U (en)*2013-03-292013-08-14重庆润泽医药有限公司Cleaning support of electric coagulation forceps
CN105641724A (en)*2016-01-212016-06-08中国人民解放军第三军医大学第二附属医院Medical instrument sterilizing device
CN205762588U (en)*2016-05-302016-12-07成都国瑞医疗器械有限公司A kind of Full-automatic soft endoscope cleaning machine
CN207545512U (en)*2017-04-222018-06-29张霞Multifunctional self-sterilizing disk

Patent Citations (6)

* Cited by examiner, † Cited by third party
Publication numberPriority datePublication dateAssigneeTitle
CA2256036A1 (en)*1997-12-171999-06-17Ethicon, Inc.Lumen device reprocessor without occlusion
US6423266B1 (en)*1997-12-172002-07-23Ethicon, Inc.Special container for cleaning or sterilizing lumen devices
CN203124306U (en)*2013-03-292013-08-14重庆润泽医药有限公司Cleaning support of electric coagulation forceps
CN105641724A (en)*2016-01-212016-06-08中国人民解放军第三军医大学第二附属医院Medical instrument sterilizing device
CN205762588U (en)*2016-05-302016-12-07成都国瑞医疗器械有限公司A kind of Full-automatic soft endoscope cleaning machine
CN207545512U (en)*2017-04-222018-06-29张霞Multifunctional self-sterilizing disk

Non-Patent Citations (1)

* Cited by examiner, † Cited by third party
Title
天津市水产学校: "《全国中等水产学校试用教材 制冷设备》", 30 September 1979, 农业出版社*

Cited By (1)

* Cited by examiner, † Cited by third party
Publication numberPriority datePublication dateAssigneeTitle
CN113368286A (en)*2021-07-142021-09-10李世珺Medical equipment atomizing disinfection system

Similar Documents

PublicationPublication DateTitle
CN110812513A (en)Medical supplies disinfecting equipment
CN209060955U (en)A kind of mixing plant of low viscosity building coating
CN207756188U (en)A kind of control laboratory test tube clamp bracket
CN111135609B (en) A kind of laundry liquid and its preparation system and preparation process
CN213191441U (en)Internal medicine household utensils disinfecting equipment
CN212309435U (en)Pharmaceutical is flocculating agent stirring mixing apparatus for sewage treatment
CN216423090U (en)High-efficient mixing arrangement of plastic woven sack raw materials
CN109485081A (en)A kind of fluosilicic acid production low-density aluminum fluoride device
CN113040316B (en)Beautifying and freckle-removing nutrient boiling machine
CN109399736A (en)A kind of sewage-treatment plant
CN209237732U (en)A kind of fertilizer dissolver of liquid manure all-in-one machine
CN214514097U (en) A new type of raw material dispensing device for the production of washing products
CN220990547U (en)Mixing equipment is used in plant stoste production
CN218741501U (en)Cement grinding aid holding vessel
CN207870229U (en)A kind of nougat production heating and stirring device
CN216654530U (en)Environment-friendly dyestuff reation kettle
CN212610673U (en)Biological enzyme reaction device
CN209697600U (en)A kind of electric automatization cleaning equipment
CN207256271U (en)A kind of robot device for being used to capture operation
CN215251722U (en)Cloth tension adjusting mechanism of printing and dyeing washing machine
CN216296258U (en)Replacement device in reaction kettle for hydrophilic silicone oil
CN213078466U (en)Sodium sulfonate preparation is with reation kettle who has clean structure
CN210907191U (en)Belt cleaning device is used in air filter material production
CN217049079U (en)Powder coating filling structure
CN214717744U (en)High-molecular water-absorbent resin spraying device for paper diaper production

Legal Events

DateCodeTitleDescription
PB01Publication
PB01Publication
SE01Entry into force of request for substantive examination
SE01Entry into force of request for substantive examination
RJ01Rejection of invention patent application after publication

Application publication date:20200221

RJ01Rejection of invention patent application after publication

[8]ページ先頭

©2009-2025 Movatter.jp