

技术领域technical field
本发明涉及一种基于远心镜头的高精度光学引伸计及测量方法,属于光学测量及无损检测领域。The invention relates to a high-precision optical extensometer based on a telecentric lens and a measurement method, belonging to the field of optical measurement and non-destructive testing.
背景技术Background technique
应变测量一向是结构失效分析、材料性能检测、工业变形监测等领域的重要目标之一,传统应变测量技术主要包括接触式和非接触式测量技术。Strain measurement has always been one of the important goals in the fields of structural failure analysis, material performance testing, and industrial deformation monitoring. Traditional strain measurement techniques mainly include contact and non-contact measurement techniques.
接触式测量技术如电阻应变片、光纤应变计或机械式引伸计等方法往往会给被测样品添加附加质量,还可能由于粘结剂的使用在一定程度上对样品起到了强化作用,使得这些测量方式越来越不适用于生物材料、薄膜材料等样品的检测。Contact measurement techniques such as resistance strain gauges, fiber optic strain gauges, or mechanical extensometers often add additional mass to the sample to be measured, and may also strengthen the sample to a certain extent due to the use of binders, making these The measurement method is increasingly unsuitable for the detection of biological materials, thin film materials and other samples.
非接触测量技术中,用于全场测量的二维和三维数字图像相关技术对于应变的检测精度还有待提高,目前也已经出现了越来越多基于光学方法的视频引伸计,如Instron公司已商品化的视频引伸计,应变测量精度也不能满足实际应用的需要。更为重要的是,实际的实验条件下样品会由于各种原因产生一定的离面位移,在传统针孔成像模型条件下离面位移会在成像系统的像面上产生虚假位移和虚假应变,会极大地干扰应变测量结果的精度和分辨率。In the non-contact measurement technology, the two-dimensional and three-dimensional digital image-related technologies used for full-field measurement still need to improve the detection accuracy of strain. At present, more and more video extensometers based on optical methods have appeared. The commercialized video extensometer, the strain measurement accuracy can not meet the needs of practical applications. More importantly, under actual experimental conditions, the sample will have a certain out-of-plane displacement due to various reasons. Under the condition of the traditional pinhole imaging model, the out-of-plane displacement will produce false displacement and false strain on the image plane of the imaging system. Can greatly interfere with the accuracy and resolution of strain measurements.
针对该问题白鹏翔等人在2015年提出了一种应变修正方法,在针孔模型下需要额外附加修正片来保证较高的精度。In response to this problem, Bai Pengxiang et al. proposed a strain correction method in 2015, which requires additional correction sheets to ensure higher accuracy under the pinhole model.
发明内容SUMMARY OF THE INVENTION
为了克服现有技术的不足,本发明目的在于提供一种基于远心镜头和多反射镜的高精度光学引伸计及测量方法。使用该光学引伸计和测量方法进行均匀应变检测,可以在使用单相机和单图像芯片的基础上有效消除由于被测样品离面位移而导致的虚假位移和虚假应变,提高均匀应变测量的精度和分辨率。In order to overcome the deficiencies of the prior art, the purpose of the present invention is to provide a high-precision optical extensometer and a measurement method based on a telecentric lens and a multi-reflection mirror. Using the optical extensometer and measuring method for uniform strain detection can effectively eliminate false displacement and false strain caused by the out-of-plane displacement of the measured sample on the basis of using a single camera and a single image chip, and improve the accuracy and accuracy of uniform strain measurement. resolution.
本发明为解决上述技术问题采用以下技术方案:The present invention adopts the following technical solutions for solving the above-mentioned technical problems:
本发明提供一种基于彩色相机的高精度光学引伸计,包括一台数字相机、一个远心镜头、四个反射镜、承载数字相机的相机支架及数据处理装置;其中,The invention provides a high-precision optical extensometer based on a color camera, comprising a digital camera, a telecentric lens, four reflecting mirrors, a camera bracket for carrying the digital camera, and a data processing device; wherein,
四个反射镜置于远心镜头和被测样品之间,被测样品表面的每个目标点上的漫射光场依次经过两个反射镜的两次反射后以平行于远心镜头光轴的方向入射到远心镜头中;Four mirrors are placed between the telecentric lens and the sample to be tested, and the diffuse light field on each target point on the surface of the sample to be tested undergoes two reflections from the two mirrors in turn to be parallel to the optical axis of the telecentric lens. The direction is incident into the telecentric lens;
远心镜头通过接收经过反射的两个目标点上的漫射光场,对被测样品表面的两个目标点进行成像,形成两个目标点的数字图像;The telecentric lens images the two target points on the surface of the measured sample by receiving the diffused light field on the two target points that have been reflected to form a digital image of the two target points;
数字相机同时拍摄两个目标点的数字图像,并将拍摄得到的数字图像传输至数据处理模块,每个目标点的光场信息分别占据数字相机图像芯片的一半画幅,即拍摄得到的数字图像中两个目标点各占据一半,以实现对两个目标点数字图像的同时采集;The digital camera simultaneously captures digital images of two target points, and transmits the captured digital images to the data processing module. The light field information of each target point occupies half of the image chip of the digital camera, that is, in the captured digital images. Each of the two target points occupies half to achieve the simultaneous acquisition of digital images of the two target points;
数据处理装置包括相关运算模块和后处理模块,相关运算模块根据接收到的数字图像获取两个目标点沿着测量方向的位移信息;后处理模块利用相关运算模块获取的位移信息,结合两个目标点的间距信息获得被测样品表面的局部均匀应变信息。The data processing device includes a correlation operation module and a post-processing module. The correlation operation module obtains the displacement information of the two target points along the measurement direction according to the received digital image; the post-processing module uses the displacement information obtained by the correlation operation module to combine the two targets. The distance information of the points can obtain the local uniform strain information on the surface of the tested sample.
作为本发明的进一步技术方案,所述远心镜头为物方远心或双远心镜头。As a further technical solution of the present invention, the telecentric lens is an object-side telecentric or double-telecentric lens.
作为本发明的进一步技术方案,被测样品表面的均匀应变大小为(x2-x1)/s,x1和x2分别为第一和第二目标点沿着测量方向的位移,s为第一和第二目标点的间距。As a further technical solution of the present invention, the uniform strain on the surface of the tested sample is (x2 -x1 )/s, where x1 and x2 are the displacements of the first and second target points along the measurement direction, respectively, and s is The distance between the first and second target points.
本发明还提供一种基于如上任一所述的基于彩色相机的高精度光学引伸计的均匀应变测量方法,包括如下步骤:The present invention also provides a method for measuring uniform strain based on the color camera-based high-precision optical extensometer as described above, comprising the following steps:
(1)在被测样品表面选取两个目标点作为测量点,两目标点的连线方向为测量方向,在目标点人工生成随机散斑或利用样品表面纹理作为变形信息的载体;(1) Select two target points on the surface of the tested sample as the measurement points, and the direction of the line connecting the two target points is the measurement direction, and artificially generate random speckles at the target points or use the surface texture of the sample as the carrier of deformation information;
(2)将数字相机和远心镜头安装在相机支架上,使远心镜头的光轴与被测样品表面垂直;(2) Install the digital camera and the telecentric lens on the camera bracket, so that the optical axis of the telecentric lens is perpendicular to the surface of the tested sample;
(3)安装四个反射镜,使两个目标点上的漫射光场经过两次反射能够进入远心镜头和数字相机进行成像,保证二者之间互不干扰,且每个目标点的光场信息分别占据数字相机图像芯片的一半画幅;(3) Install four reflectors, so that the diffuse light field on the two target points can enter the telecentric lens and the digital camera for imaging after two reflections, to ensure that the two do not interfere with each other, and the light of each target point The field information occupies half the frame of the digital camera image chip;
(4)对四个反射镜和数字相机的位置进行微调,保证从两个目标点经过两次反射进入远心镜头的光程相等,数字相机能够同时对两个目标点进行清晰成像;(4) Fine-tune the positions of the four mirrors and the digital camera to ensure that the optical paths from the two target points into the telecentric lens through two reflections are equal, and the digital camera can simultaneously image the two target points clearly;
(5)根据数字相机得到的数字图像分别得到两个目标点沿着测量方向产生的位移为x1和x2,结合两个目标点的间距s,计算被测样品表面的均匀应变大小为(x2-x1)/s。(5) According to the digital image obtained by the digital camera, the displacements of the two target points along the measurement direction are respectively obtained as x1 and x2 . Combined with the distance s of the two target points, the uniform strain on the surface of the tested sample is calculated as ( x2 -x1 )/s.
本发明采用以上技术方案与现有技术相比,具有以下技术效果:Compared with the prior art, the present invention adopts the above technical scheme, and has the following technical effects:
(1)被测样品表面无损:与工业领域中以应变片为代表的传统接触式测量技术相比,本发明采用了光学测量技术,不需要与样品表面直接接触,无附加质量,对样品没有损伤,不会限制样品变形;(1) The surface of the sample to be tested is non-destructive: compared with the traditional contact measurement technology represented by strain gauges in the industrial field, the present invention adopts optical measurement technology, which does not require direct contact with the surface of the sample, has no additional mass, and has no effect on the sample. damage, will not limit the deformation of the sample;
(2)消除了样品表面离面位移的影响:四个反射镜的布置可以将两个距离较远目标点的光场信息,经过两次反射在空间上拉近距离并组合起来入射到远心镜头中,远心镜头具有一定范围内对深度信息不敏感的特性,使得目标点一定程度的离面位移并不会在数字相机的像面上产生虚假位移,根据位移计算的应变也不包含虚假应变,因而消除了测量过程中由于样品不可避免产生的离面位移而导致的虚假位移和虚假应变,为测量精度的提高提供了基础;(2) The influence of the off-plane displacement of the sample surface is eliminated: the arrangement of four mirrors can make the light field information of two distant target points, after two reflections, shorten the distance in space and combine them into the telecenter. Among the lenses, the telecentric lens has the characteristics of being insensitive to depth information within a certain range, so that a certain degree of off-plane displacement of the target point will not produce false displacement on the image plane of the digital camera, and the strain calculated according to the displacement does not include false displacement. Therefore, the false displacement and false strain caused by the inevitable out-of-plane displacement of the sample during the measurement process are eliminated, which provides a basis for the improvement of the measurement accuracy;
(3)精度提高:相对于基于真空成像模型的单相机测量均匀应变来说测量精度有了极大的提高;基于真空成像模型单相机测量中视场和分辨率是一对矛盾的因素,浪费了大片的视场范围,测量标距受到限制,使得均匀应变测量精度很有限,而四个反射镜的使用使目标点位置的选取更加灵活,在保证位移测量精度的同时,测量标距也不再受到限制,因而极大提升了均匀应变的测量精度;(3) Accuracy improvement: Compared with the single-camera-based measurement of uniform strain based on the vacuum imaging model, the measurement accuracy has been greatly improved; the field of view and resolution in the single-camera measurement based on the vacuum imaging model are a pair of contradictory factors, which is wasted The large field of view and the limited measurement gauge length make the measurement accuracy of uniform strain very limited. The use of four mirrors makes the selection of the target point position more flexible. While ensuring the displacement measurement accuracy, the measurement gauge length is no longer necessary. is limited, thus greatly improving the measurement accuracy of uniform strain;
(4)仅使用单相机:与使用多相机或多个图像芯片的成像系统相比,仅使用一个单图像芯片的单相机避免了多个硬件采集数字图像时存在时间延迟的问题,也不存在硬件或者软件的相机同步的问题。(4) Only using a single camera: Compared with the imaging system using multiple cameras or multiple image chips, the single camera using only one single image chip avoids the problem of time delay when multiple hardwares collect digital images, and there is no Hardware or software camera synchronization issues.
附图说明Description of drawings
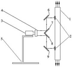
图1是本发明涉及的光学引伸计测量示意图。FIG. 1 is a schematic diagram of the measurement of the optical extensometer involved in the present invention.
图中:1-被测样品,2-两个目标点,3-数字相机,4-远心镜头,5-承载数字相机的相机支架,6-第一个反射镜,7-第二个反射镜,8-第三个反射镜,9-第四个反射镜。In the picture: 1- sample to be tested, 2- two target points, 3- digital camera, 4- telecentric lens, 5- camera bracket carrying digital camera, 6- first reflector, 7- second reflector mirror, 8-third mirror, 9-fourth mirror.
图2为本发明方法中消除离面位移原理示意图。FIG. 2 is a schematic diagram of the principle of eliminating out-of-plane displacement in the method of the present invention.
具体实施方式Detailed ways
下面结合附图对本发明的技术方案做进一步的详细说明:Below in conjunction with accompanying drawing, the technical scheme of the present invention is described in further detail:
如图1所示,本发明实施例公开的一种基于远心镜头和多反射镜的高精度光学引伸计,包括对应于一个目标点的反射镜6和反射镜7、对应于另一个目标点的反射镜8和反射镜9、一台数字相机3、一个远心镜头4、一个相机支架5以及数据处理装置。其中,首先在被测样品1上选取光学引伸计的两个目标点2,将四个反射镜6、7、8、9分为两组6、7和8、9,安放反射镜6、7使之与被测样品1的表面成大约45度,且反射镜6与第一个目标点相对应;安放反射镜8、9使之与被测样品1的表面成大约45度,且反射镜9与第二个目标点对应。一个远心镜头4和一台数字相机3安装在相机支架5上,远心镜头4用来对被测样品1表面的两个目标点成像,借助远心镜头4对深度信息不敏感的特性,消除被测样品1离面位移带来的测量系统误差。一台数字相机3用来同时拍摄被测样品1表面的两个目标点2的数字图像,两个目标点2的光场信息分别占据数字相机3图像芯片的一半画幅,即拍摄到的数字图像中两个目标点2各占据一半,以实现对两个目标点数字图像的同时采集。可承载数字相机的支架5,保证能够稳定地承载数字相机3,使数字相机3的位置在一定范围内可调。数据处理装置,包括相关运算模块和后处理模块。相关运算模块用来对数字相机采集到的数字图像进行数字图像相关运算,获取两个目标点的位移信息;后处理模块利用相关运算模块获取的位移信息,结合两目标点的间距信息进行计算,获得被测样品1表面的均匀应变信息。As shown in FIG. 1 , a high-precision optical extensometer based on a telecentric lens and multiple mirrors disclosed in an embodiment of the present invention includes a mirror 6 and a mirror 7 corresponding to one target point, and a mirror corresponding to another target point.
本发明实施例公开的一种基于远心镜头和多反射镜的高精度光学引伸计及测量方法,能够消除由于被测样品表面产生离面位移而导致测量结果中包含的虚假位移和虚假应变,虚假位移和应变产生原理如图2所示。不使用远心镜头的普通相机和镜头在成像时普遍遵循针孔成像模型,如图2中如果将目标点设定为被测样品表面上远离光轴的一点A,经过镜头会在像面上的a点成像。当被测样品表面产生一定程度的离面位移使A点移动到了B点,根据针孔成像模型将会在像面上与a点存在一定距离的b点成像。在被测样品并未产生变形的条件下,仅仅由于被测样品表面产生离面位移而使同一个点在像面上所成的像点产生了位移,位移的大小为a点和b点的间距,根据位移数据能够计算出相应的应变数据,这就是由离面位移导致的虚假位移和虚假应变。若将普通镜头更换为远心镜头,由于远心镜头对深度信息不敏感的特性,点A移动到点B后,在像面上所成像点的位置不变,即目标点在像面上并未产生位移,也就意味着离面位移并不会导致虚假位移以及后续的虚假应变,测量精度自然能够得到提高。A high-precision optical extensometer and a measurement method based on a telecentric lens and a multi-reflection mirror disclosed in the embodiments of the present invention can eliminate the false displacement and false strain contained in the measurement result caused by the off-plane displacement of the sample surface to be measured, The principle of false displacement and strain generation is shown in Figure 2. Ordinary cameras and lenses that do not use telecentric lenses generally follow the pinhole imaging model when imaging. As shown in Figure 2, if the target point is set to a point A on the surface of the tested sample that is far from the optical axis, it will pass through the lens on the image plane. point a imaging. When a certain degree of off-plane displacement occurs on the surface of the sample to be tested, point A moves to point B, and according to the pinhole imaging model, point b, which is at a certain distance from point a, will be imaged on the image plane. Under the condition that the sample to be tested is not deformed, the image point formed by the same point on the image plane is only displaced due to the off-plane displacement of the surface of the sample to be tested. The magnitude of the displacement is the difference between points a and b. According to the displacement data, the corresponding strain data can be calculated, which is the false displacement and false strain caused by the out-of-plane displacement. If the ordinary lens is replaced with a telecentric lens, due to the insensitivity of the telecentric lens to depth information, after point A is moved to point B, the position of the imaged point on the image plane remains unchanged, that is, the target point is on the image plane. No displacement occurs, which means that the out-of-plane displacement will not cause false displacement and subsequent false strain, and the measurement accuracy can naturally be improved.
本发明实施例公开的一种基于上述的高精度光学引伸计的均匀应变测量方法,包括以下步骤:A method for measuring uniform strain based on the above-mentioned high-precision optical extensometer disclosed in the embodiment of the present invention includes the following steps:
步骤1、在被测样品表面选取两个目标点作为测量点,两目标点的连线方向为测量方向,在目标点人工生成随机散斑或利用样品表面纹理作为变形信息的载体;Step 1. Select two target points on the surface of the sample to be measured as measurement points, the direction of the line connecting the two target points is the measurement direction, and artificially generate random speckles at the target points or use the surface texture of the sample as a carrier of deformation information;
步骤2、将数字相机和远心镜头安装在相机支架上,使远心镜头的光轴与被测样品表面垂直;Step 2. Install the digital camera and the telecentric lens on the camera bracket, so that the optical axis of the telecentric lens is perpendicular to the surface of the tested sample;
步骤3、安装四个反射镜,使两个目标点上的漫射光场经过两次反射能够进入远心镜头和数字相机进行成像,保证二者之间互不干扰,且每个目标点的光场信息分别占据数字相机图像芯片的一半画幅;
步骤4、对四个反射镜和数字相机的位置进行微调,保证从两个目标点经过两次反射进入远心镜头的光程相等,数字相机能够同时对两个目标点进行清晰成像;Step 4. Fine-tune the positions of the four mirrors and the digital camera to ensure that the optical paths from the two target points into the telecentric lens through two reflections are equal, and the digital camera can simultaneously image the two target points clearly;
步骤5、根据数字相机得到的数字图像分别得到两个目标点沿着测量方向产生的位移为x1和x2,结合两个目标点的间距s,计算被测样品表面的均匀应变大小为(x2-x1)/s。Step 5. According to the digital image obtained by the digital camera, the displacements of the two target points along the measurement direction are respectively obtained as x1 and x2 . Combined with the distance s of the two target points, the uniform strain on the surface of the tested sample is calculated as ( x2-x1)/s.
本发明使用远心镜头和多反射镜对被测样品表面的两个目标点进行成像,与传统的单相机相比,两组反射镜的间距,也是两个目标点的间距,同时也是应变测量标距是根据实际需求可调的,具有更高的灵活性。两目标点间距与应变测量精度有着直接的联系,两目标点间距的增大可以扩大应变测量标距,在相对位移精度固定不变的情况下,也能极大增加应变测量的精度和分辨率。The present invention uses a telecentric lens and a multi-reflection mirror to image two target points on the surface of the sample to be measured. Compared with the traditional single camera, the distance between the two groups of mirrors is also the distance between the two target points and the strain measurement. The gauge length is adjustable according to actual needs, with higher flexibility. The distance between the two target points is directly related to the strain measurement accuracy. The increase of the distance between the two target points can expand the gauge length of the strain measurement. When the relative displacement accuracy is fixed, it can also greatly increase the accuracy and resolution of the strain measurement. .
以上内容是结合具体的优选实施方式对本发明所作的进一步详细说明,不能认定本发明的具体实施只局限于这些说明。对于本发明所属技术领域的普通技术人员来说,在不脱离本发明构思的前提下,还可以做出若干简单推演或替代,都应当视为属于本发明的保护范围。The above content is a further detailed description of the present invention in combination with specific preferred embodiments, and it cannot be considered that the specific implementation of the present invention is limited to these descriptions. For those of ordinary skill in the technical field of the present invention, without departing from the concept of the present invention, some simple deductions or substitutions can be made, which should be regarded as belonging to the protection scope of the present invention.
| Application Number | Priority Date | Filing Date | Title |
|---|---|---|---|
| CN201911042917.7ACN110806182A (en) | 2019-10-30 | 2019-10-30 | High-precision optical extensometer and measurement method based on telecentric lens |
| Application Number | Priority Date | Filing Date | Title |
|---|---|---|---|
| CN201911042917.7ACN110806182A (en) | 2019-10-30 | 2019-10-30 | High-precision optical extensometer and measurement method based on telecentric lens |
| Publication Number | Publication Date |
|---|---|
| CN110806182Atrue CN110806182A (en) | 2020-02-18 |
| Application Number | Title | Priority Date | Filing Date |
|---|---|---|---|
| CN201911042917.7APendingCN110806182A (en) | 2019-10-30 | 2019-10-30 | High-precision optical extensometer and measurement method based on telecentric lens |
| Country | Link |
|---|---|
| CN (1) | CN110806182A (en) |
| Publication number | Priority date | Publication date | Assignee | Title |
|---|---|---|---|---|
| CN111829445A (en)* | 2020-07-09 | 2020-10-27 | 河海大学 | A High Precision Optical Extensometer Based on Biprism |
| CN111829448A (en)* | 2020-07-30 | 2020-10-27 | 河海大学 | An optical extensometer and uniform strain measurement method based on lens imaging and double prism reflection |
| CN111829446A (en)* | 2020-07-09 | 2020-10-27 | 河海大学 | A high-precision dual-axis optical extensometer utilizing multiple rhombus prisms |
| CN111964600A (en)* | 2020-07-28 | 2020-11-20 | 河海大学 | High-precision dual-axis optical extensometer and measurement method based on bidirectional field separation |
| CN112414315A (en)* | 2020-12-21 | 2021-02-26 | 常州信息职业技术学院 | Precision measurement device and method for part positioning distance |
| CN112525096A (en)* | 2020-11-30 | 2021-03-19 | 上海大学 | Double-telecentric-lens video extensometer based on field segmentation |
| CN113390337A (en)* | 2021-06-03 | 2021-09-14 | 合肥工业大学 | X-Y-theta three-degree-of-freedom measuring method based on field separation |
| CN113739700A (en)* | 2020-12-25 | 2021-12-03 | 深圳市中图仪器股份有限公司 | Method for adjusting orthogonal axis system of coordinate measuring instrument |
| Publication number | Priority date | Publication date | Assignee | Title |
|---|---|---|---|---|
| DE2526188A1 (en)* | 1975-06-12 | 1976-12-30 | Mueller Falkenberg Konrad | Contactless measurement of length - is for tensile test equipment and uses optical detectors for flexibility and minimal equipment |
| JP2000161927A (en)* | 1998-11-30 | 2000-06-16 | Shimadzu Corp | Video extensometer |
| US6094259A (en)* | 1997-09-18 | 2000-07-25 | Shimadzy Corporation | Optical extensometer and reference line mark therefor |
| CN1837747A (en)* | 2006-02-27 | 2006-09-27 | 王化谦 | Double-camera video frequency large-deformation measurement method and video frequency extension device based thereon |
| US20090225167A1 (en)* | 2008-03-10 | 2009-09-10 | Shimadzu Corporation | Gauge line position measuring device, program for measuring a gauge line position, and gauge line mark |
| CN101943604A (en)* | 2009-09-30 | 2011-01-12 | 卢家金 | Temperature-measurement imaging system and measuring method thereof |
| CN105758719A (en)* | 2016-04-26 | 2016-07-13 | 河海大学 | Homogeneous strain optical measurement device based on double-mirror reflection and method |
| CN109556528A (en)* | 2018-10-30 | 2019-04-02 | 南京理工大学 | A kind of one camera 3 D video extensometer and measurement method |
| Publication number | Priority date | Publication date | Assignee | Title |
|---|---|---|---|---|
| DE2526188A1 (en)* | 1975-06-12 | 1976-12-30 | Mueller Falkenberg Konrad | Contactless measurement of length - is for tensile test equipment and uses optical detectors for flexibility and minimal equipment |
| US6094259A (en)* | 1997-09-18 | 2000-07-25 | Shimadzy Corporation | Optical extensometer and reference line mark therefor |
| JP2000161927A (en)* | 1998-11-30 | 2000-06-16 | Shimadzu Corp | Video extensometer |
| CN1837747A (en)* | 2006-02-27 | 2006-09-27 | 王化谦 | Double-camera video frequency large-deformation measurement method and video frequency extension device based thereon |
| US20090225167A1 (en)* | 2008-03-10 | 2009-09-10 | Shimadzu Corporation | Gauge line position measuring device, program for measuring a gauge line position, and gauge line mark |
| CN101943604A (en)* | 2009-09-30 | 2011-01-12 | 卢家金 | Temperature-measurement imaging system and measuring method thereof |
| CN105758719A (en)* | 2016-04-26 | 2016-07-13 | 河海大学 | Homogeneous strain optical measurement device based on double-mirror reflection and method |
| CN109556528A (en)* | 2018-10-30 | 2019-04-02 | 南京理工大学 | A kind of one camera 3 D video extensometer and measurement method |
| Title |
|---|
| BO DONG 等: "Ultrasensitive video extensometer using single-camera dual field-of-view telecentric imaging system", 《OPTICS LETTERS》* |
| 俞立平等: "使用单个单反相机的三维数字图像相关测量系统", 《北京力学会第24届学术年会》* |
| Publication number | Priority date | Publication date | Assignee | Title |
|---|---|---|---|---|
| CN111829445A (en)* | 2020-07-09 | 2020-10-27 | 河海大学 | A High Precision Optical Extensometer Based on Biprism |
| CN111829446A (en)* | 2020-07-09 | 2020-10-27 | 河海大学 | A high-precision dual-axis optical extensometer utilizing multiple rhombus prisms |
| CN111964600A (en)* | 2020-07-28 | 2020-11-20 | 河海大学 | High-precision dual-axis optical extensometer and measurement method based on bidirectional field separation |
| CN111829448A (en)* | 2020-07-30 | 2020-10-27 | 河海大学 | An optical extensometer and uniform strain measurement method based on lens imaging and double prism reflection |
| CN111829448B (en)* | 2020-07-30 | 2025-04-11 | 河海大学 | An optical extensometer based on lens imaging and dual prism reflection and uniform strain testing method |
| CN112525096A (en)* | 2020-11-30 | 2021-03-19 | 上海大学 | Double-telecentric-lens video extensometer based on field segmentation |
| CN112414315A (en)* | 2020-12-21 | 2021-02-26 | 常州信息职业技术学院 | Precision measurement device and method for part positioning distance |
| CN113739700A (en)* | 2020-12-25 | 2021-12-03 | 深圳市中图仪器股份有限公司 | Method for adjusting orthogonal axis system of coordinate measuring instrument |
| CN113739700B (en)* | 2020-12-25 | 2023-09-01 | 深圳市中图仪器股份有限公司 | Method for adjusting orthogonal axis system of coordinate measuring instrument |
| CN113390337A (en)* | 2021-06-03 | 2021-09-14 | 合肥工业大学 | X-Y-theta three-degree-of-freedom measuring method based on field separation |
| Publication | Publication Date | Title |
|---|---|---|
| CN110806182A (en) | High-precision optical extensometer and measurement method based on telecentric lens | |
| CN111829448B (en) | An optical extensometer based on lens imaging and dual prism reflection and uniform strain testing method | |
| CN108332946B (en) | In-situ detection method of reflection focal length in turning of microlens array mold | |
| CN100410642C (en) | Detection method of the perpendicularity between the optical axis of the optical system and its installation base | |
| CN111964600A (en) | High-precision dual-axis optical extensometer and measurement method based on bidirectional field separation | |
| CN105758719B (en) | A kind of homogeneous strain optical measuring device and method based on bimirror reflection | |
| CN109751964B (en) | High-precision non-contact pipe diameter measuring method and device | |
| CN110763146A (en) | High-precision optical extensometer and measuring method based on double cameras | |
| CN110645903B (en) | A method and device for three-dimensional online monitoring of warpage deformation and defects of packaging modules | |
| CN103363901A (en) | Calibration method oriented towards coaxial counterpoint micro-assembly system | |
| CN110806181A (en) | High-precision optical extensometer and measuring method based on color camera | |
| CN100523720C (en) | Optical non-contact three-dimensional measuring instrument | |
| CN105717511B (en) | Multiple point distance measurement method based on line beam laser device and common camera chip | |
| CN107543502B (en) | Optical device for instant detection of full field thickness | |
| CN112683382B (en) | Structure three-dimensional vibration measurement system and method based on monocular vision | |
| CN112504156A (en) | Structural surface strain measurement system and measurement method based on foreground grid | |
| CN103438803B (en) | Computer vision technique accurately measures the method for Rectangular Parts size across visual field | |
| CN111829445A (en) | A High Precision Optical Extensometer Based on Biprism | |
| CN107607050A (en) | Laser thickness measuring apparatus | |
| CN113251953B (en) | Mirror included angle measuring device and method based on stereo deflection technology | |
| CN212692801U (en) | An Optical Extensometer Based on Lens Imaging and Biprism Reflection | |
| CN109544639B (en) | Multi-mirror single-camera three-dimensional vibration testing device and method | |
| CN105758339B (en) | Optical axis and object plane measuring for verticality method based on geometric error correction technique | |
| CN210426454U (en) | Surface three-dimensional contour detection device for composite surface product | |
| CN107643213A (en) | A kind of high temperature strain measurement method for being used to eliminate off face Influence of Displacement |
| Date | Code | Title | Description |
|---|---|---|---|
| PB01 | Publication | ||
| PB01 | Publication | ||
| SE01 | Entry into force of request for substantive examination | ||
| RJ01 | Rejection of invention patent application after publication | Application publication date:20200218 | |
| RJ01 | Rejection of invention patent application after publication |