






技术领域technical field
本发明涉及显示设备技术领域,尤其涉及一种显示装置及其OLED面板。The present invention relates to the technical field of display devices, and in particular, to a display device and an OLED panel thereof.
背景技术Background technique
OLED是近年来逐渐发展起来的显示照明技术,尤其在显示行业,由于其具有高响应、高对比度、可柔性化等优点,被视为拥有广泛的应用前景。随着识别技术的发展,行业内对基于OLED面板的识别应用需求越来越多,其中包括指纹识别和深度识别。OLED is a display lighting technology that has been gradually developed in recent years, especially in the display industry. Because of its advantages of high response, high contrast, and flexibility, it is considered to have a wide range of application prospects. With the development of identification technology, there are more and more demands in the industry for identification applications based on OLED panels, including fingerprint identification and depth identification.
例如手势识别技术,是通过获取视野内深度信息来进行手势识别,深度信息获取有双目(Multi-camera)视觉法、飞行时间法(Time of Fly,TOF)和结构光(StructureLight)法等。For example, gesture recognition technology is to recognize gestures by acquiring depth information in the field of view. The acquisition of depth information includes binocular (Multi-camera) vision method, Time of Fly (TOF) method, and structured light (StructureLight) method.
屏下光检测技术的一个应用难点在于光传感器与被识别物分别位于OLED面板的两侧,光信号需要穿过OLED面板才能被光传感器接收,导致光信噪比低,影响使用体验。One of the application difficulties of the under-screen light detection technology is that the light sensor and the recognized object are located on both sides of the OLED panel, and the light signal needs to pass through the OLED panel to be received by the light sensor, resulting in a low optical signal-to-noise ratio and affecting the user experience.
发明内容SUMMARY OF THE INVENTION
本发明提供一种显示装置及其OLED面板,以解决相关技术中的不足。The present invention provides a display device and an OLED panel thereof to solve the deficiencies in the related art.
为实现上述目的,本发明实施例的第一方面提供一种OLED面板,包括:To achieve the above object, a first aspect of the embodiments of the present invention provides an OLED panel, including:
红外发射器件,用于发射红外光;Infrared emitting device for emitting infrared light;
偏光片,允许所述红外光中的第一偏振光与第二偏振光择一出射,所述第一偏振光对应于指纹识别,所述第二偏振光对应于深度识别;a polarizer, allowing the first polarized light and the second polarized light in the infrared light to be selectively emitted, the first polarized light corresponding to fingerprint recognition, and the second polarized light corresponding to depth recognition;
隔离柱,允许所述第一偏振光与所述第二偏振光穿过;an isolation column that allows the first polarized light and the second polarized light to pass through;
以及红外接收器件,用于接收反射回的所述第一偏振光与所述第二偏振光,反射回的所述第一偏振光携带被识别物的指纹信息,反射回的所述第二偏振光携带被识别物的深度信息。and an infrared receiving device for receiving the reflected first polarized light and the second polarized light, the reflected first polarized light carries the fingerprint information of the object to be recognized, and the reflected second polarized light Light carries the depth information of the identified object.
可选地,所述OLED面板包括阵列式排布的像素,每一所述像素包括阳极层、阴极层以及设置于所述阳极层和所述阴极层之间的OLED发光层;所述OLED发光层设置在像素定义层的开口内;每一所述开口内,所述像素定义层的各侧壁设置有反光层;所述像素定义层为所述隔离柱。Optionally, the OLED panel includes pixels arranged in an array, and each pixel includes an anode layer, a cathode layer, and an OLED light-emitting layer disposed between the anode layer and the cathode layer; the OLED emits light The layer is arranged in the opening of the pixel definition layer; in each of the openings, each sidewall of the pixel definition layer is provided with a reflective layer; the pixel definition layer is the isolation column.
可选地,所述OLED面板还包括基底,所述阵列式排布的像素设置于所述基底;所述红外发射器件和/或所述红外接收器件设置于所述基底靠近所述像素的一侧或远离所述像素的一侧。Optionally, the OLED panel further includes a substrate, and the pixels arranged in the array are arranged on the substrate; the infrared emitting device and/or the infrared receiving device are arranged on a portion of the substrate close to the pixels. side or the side away from the pixel.
可选地,所述红外发射器件和/或所述红外接收器件在所述基底的正投影位于所述隔离柱在所述基底的正投影内。Optionally, the orthographic projection of the infrared emitting device and/or the infrared receiving device on the substrate is located within the orthographic projection of the isolation column on the substrate.
可选地,所述阵列式排布的像素与所述基底之间设置有像素驱动电路,所述像素驱动电路包括若干第一晶体管;所述红外发射器件和/或所述红外接收器件包括若干第二晶体管;当所述红外发射器件和/或所述红外接收器件设置于所述基底靠近所述像素的一侧时,所述第一晶体管与所述第二晶体管的同一功能层位于同一层。Optionally, a pixel driving circuit is provided between the pixels arranged in the array and the substrate, and the pixel driving circuit includes a plurality of first transistors; the infrared emitting device and/or the infrared receiving device includes a plurality of the second transistor; when the infrared emitting device and/or the infrared receiving device are arranged on the side of the substrate close to the pixel, the first transistor and the second transistor have the same functional layer on the same layer .
可选地,所述第一偏振光为P偏振光,所述第二偏振光为S偏振光;或所述第一偏振光为S偏振光,所述第二偏振光为P偏振光。Optionally, the first polarized light is P-polarized light, and the second polarized light is S-polarized light; or the first polarized light is S-polarized light, and the second polarized light is P-polarized light.
可选地,所述OLED面板还包括准直膜,用于使穿过的所述第一偏振光与所述第二偏振光沿所述隔离柱的厚度方向传播。Optionally, the OLED panel further includes a collimation film, which is used to make the passing first polarized light and the second polarized light propagate along the thickness direction of the isolation column.
可选地,所述OLED面板还包括处理器,用于从所述红外接收器件接收的所述第一偏振光中解析出被识别物的指纹信息,以及从所述第二偏振光中解析出被识别物的深度信息。Optionally, the OLED panel further includes a processor configured to parse out the fingerprint information of the identified object from the first polarized light received by the infrared receiving device, and parse out the fingerprint information of the recognized object from the second polarized light. The depth information of the identified object.
可选地,所述处理器与所述红外接收器件集成在一起。Optionally, the processor is integrated with the infrared receiving device.
本发明实施例的第二方面提供一种显示装置,包括:上述任一项所述的OLED面板。A second aspect of the embodiments of the present invention provides a display device, including: the OLED panel described in any one of the above.
根据上述实施例可知,OLED面板中,红外发射器件发出红外光,红外光经偏光片后,第一偏振光与第二偏振光择一出射,第一偏振光对应于指纹识别,第二偏振光对应于深度识别;第一偏振光与第二偏振光穿过隔离柱后射出OLED面板;碰到被识别物后,将第一偏振光与第二偏振光反射回OLED面板,且第一偏振光携带了被识别物的指纹信息,第二偏振光携带了被识别物的深度信息;反射的第一偏振光与第二偏振光通过隔离柱后,被红外接收器件接收。上述OLED面板,一方面,使用不同偏振方向的红外偏振光分别实现指纹识别与深度识别,功能丰富;另一方面,红外线穿过隔离柱,相对于穿过整面的隔离柱与阵列式像素,光信噪比较高,识别准确度高。According to the above embodiments, in the OLED panel, the infrared emitting device emits infrared light, and after the infrared light passes through the polarizer, the first polarized light and the second polarized light are selectively emitted, the first polarized light corresponds to fingerprint recognition, and the second polarized light is emitted. Corresponding to depth recognition; the first polarized light and the second polarized light pass through the isolation column and then exit the OLED panel; after hitting the recognized object, the first polarized light and the second polarized light are reflected back to the OLED panel, and the first polarized light The fingerprint information of the identified object is carried, and the second polarized light carries the depth information of the identified object; after the reflected first polarized light and the second polarized light pass through the isolation column, they are received by the infrared receiving device. The above-mentioned OLED panel, on the one hand, uses infrared polarized light with different polarization directions to realize fingerprint identification and depth identification respectively, which is rich in functions; The optical signal-to-noise ratio is high, and the recognition accuracy is high.
应当理解的是,以上的一般描述和后文的细节描述仅是示例性和解释性的,并不能限制本发明。It is to be understood that both the foregoing general description and the following detailed description are exemplary and explanatory only and are not restrictive of the invention.
附图说明Description of drawings
此处的附图被并入说明书中并构成本说明书的一部分,示出了符合本发明的实施例,并与说明书一起用于解释本发明的原理。The accompanying drawings, which are incorporated in and constitute a part of this specification, illustrate embodiments consistent with the invention and together with the description serve to explain the principles of the invention.
图1是根据本发明一实施例示出的OLED面板的俯视图;FIG. 1 is a top view of an OLED panel according to an embodiment of the present invention;
图2是图1中的P区域的放大图;Fig. 2 is an enlarged view of the P region in Fig. 1;
图3是沿着图2中AA线的剖视图;Fig. 3 is a sectional view along line AA in Fig. 2;
图4是根据本发明另一实施例示出的OLED面板的局部结构的俯视图;4 is a top view of a partial structure of an OLED panel according to another embodiment of the present invention;
图5是沿图4中BB线的剖视图;Fig. 5 is a sectional view along line BB in Fig. 4;
图6是根据本发明再一实施例示出的OLED面板的截面结构示意图;6 is a schematic cross-sectional structure diagram of an OLED panel according to still another embodiment of the present invention;
图7是根据本发明又一实施例示出的OLED面板的截面结构示意图。FIG. 7 is a schematic cross-sectional structure diagram of an OLED panel according to yet another embodiment of the present invention.
附图标记列表:List of reference numbers:
OLED面板1、2、3、4 红外发射器件11
偏光片12 隔离柱13Polarizer 12
红外接收器件14 基底10
像素15 阳极层15a
阴极层15b OLED发光层15cCathode
平坦化层PLN 反光层131Planarization layer PLN
像素定义层PDL 准直膜16Pixel Definition Layer PDL
处理器17
具体实施方式Detailed ways
这里将详细地对示例性实施例进行说明,其示例表示在附图中。下面的描述涉及附图时,除非另有表示,不同附图中的相同数字表示相同或相似的要素。以下示例性实施例中所描述的实施方式并不代表与本发明相一致的所有实施方式。相反,它们仅是与如所附权利要求书中所详述的、本发明的一些方面相一致的装置和方法的例子。Exemplary embodiments will be described in detail herein, examples of which are illustrated in the accompanying drawings. Where the following description refers to the drawings, the same numerals in different drawings refer to the same or similar elements unless otherwise indicated. The implementations described in the illustrative examples below are not intended to represent all implementations consistent with the present invention. Rather, they are merely examples of apparatus and methods consistent with some aspects of the invention as recited in the appended claims.
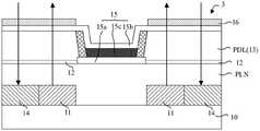
图1是根据本发明一实施例示出的OLED面板的俯视图。图2是图1中的P区域的放大图。图3是沿着图2中AA线的剖视图。FIG. 1 is a top view of an OLED panel according to an embodiment of the present invention. FIG. 2 is an enlarged view of the P region in FIG. 1 . FIG. 3 is a cross-sectional view taken along line AA in FIG. 2 .
参照图1至图3所示,该OLED面板1,包括:1 to 3, the
红外发射器件11,用于发射红外光;an
偏光片12,允许红外光中的第一偏振光与第二偏振光择一出射,第一偏振光对应于指纹识别,第二偏振光对应于深度识别;The
隔离柱13,允许第一偏振光与第二偏振光穿过;The
以及红外接收器件14,用于接收反射回的第一偏振光与第二偏振光,反射回的第一偏振光携带被识别物的指纹信息,反射回的第二偏振光携带被识别物的深度信息。And the
参照图3所示,OLED面板1可以包括基底10。基底10可以为柔性基底,也可以为硬质基底。柔性基底的材料可以为聚酰亚胺,硬质基底的材料可以为玻璃。Referring to FIG. 3 , the
参照图1与图3所示,基底10上设置有阵列式排布的像素15,每一像素15包括阳极层15a、阴极层15b以及设置于阳极层15a和阴极层15b之间的OLED发光层15c。Referring to FIGS. 1 and 3 , the
OLED发光层15c可以为红、绿或蓝,也可以为红、绿、蓝或黄。红绿蓝三基色或红绿蓝黄四基色的像素15交替分布。The OLED light-emitting
一些实施例中,像素15可以为主动驱动发光方式OLED(Active Matrix OLED,AMOLED)。主动驱动发光方式OLED,也称有源驱动发光方式OLED,是采用晶体管阵列控制每个像素发光,且每个像素可以连续发光。因而,阳极层15a与基底10之间设置有像素驱动电路,像素驱动电路可以包括若干第一晶体管。各个第一晶体管上(即远离基底10的一侧)可以设置平坦化层PLN。In some embodiments, the
另一些实施例中,像素15也可以为被动驱动发光方式OLED(Passive MatrixOLED,PMOLED)。被动驱动发光方式,也称无源驱动发光方式,单纯地以阳极、阴极构成矩阵状,以扫描方式点亮阵列中行列交叉点的像素,每个像素都是操作在短脉冲模式下,为瞬间高亮度发光。换言之,阳极层15a与基底10之间无像素驱动电路。In other embodiments, the
阳极层15a可以设置在平坦化层PLN上。图3所示实施例中,相邻阳极层15a之间设置有偏光片12。其它实施例中,平坦化层PLN上也可以设置整面偏光片12,阳极层15a设置在偏光片12上。The
偏光片12可以包括:液晶分子和二向色性染料分子,其中液晶分子作为主体,二向色性染料分子作为宾体。在驱动电场的作用下液晶分子(主体)发生偏转,从而带动二向色性染料分子(宾体)一起偏转,使液晶分子的长轴和二向色性染料分子的吸收轴时刻保持平行。二向色性染料分子为棒状色素分子,具有光吸收度各向异性的性质,对偏振方向平行棒状延伸方向的偏振光吸收量较大,对偏振方向垂直棒状延伸方向的偏振光吸收量较小。棒状延伸方向为吸收轴方向。The
因而,可以利用二向色性染料分子的在电场作用下的不同排列方式实现偏振光的选择。即在第一状态下,驱动电压为第一电压,液晶分子带动二向色性染料分子偏转至棒状延伸方向平行于第一偏振光的偏振方向,垂直于第二偏振光的偏振方向,第二偏振光可穿过偏光片12;第二状态下,驱动电压为第二电压,液晶分子带动二向色性染料分子偏转至棒状延伸方向平行于第二偏振光的偏振方向,垂直于第一偏振光的偏振方向,第一偏振光可穿过偏光片12。Therefore, the selection of polarized light can be realized by utilizing the different arrangement modes of the dichroic dye molecules under the action of the electric field. That is, in the first state, the driving voltage is the first voltage, and the liquid crystal molecules drive the dichroic dye molecules to deflect to the rod-shaped extension direction parallel to the polarization direction of the first polarized light, perpendicular to the polarization direction of the second polarized light, and the second polarized light. The polarized light can pass through the
红外发射器件11发射的红外光包括第一偏振光与第二偏振光。第一偏振光可以为P偏振光,第二偏振光为S偏振光;或第一偏振光可以为S偏振光,第二偏振光为P偏振光。The infrared light emitted by the infrared emitting
红外发射器件11发射的红外光中,第一偏振光可以设定为对应于指纹识别,即第一偏振光的光信号为指纹识别信号;第二偏振光可以设定为对应于深度识别,即第二偏振光的光信号为深度识别信号。上述可以通过软件设定。指纹识别主要是利用光的反射原理,第一偏振光碰到指纹后,在凹凸不平的表面出现反射,且反射回去的第一偏振光的光强分布和相位分布会发生变化。上述变化即携带的被识别物的指纹信息。比较第一偏振光反射前后的光强分布和相位分布,即可得到被识别物的指纹信息。深度识别是将传统的平面二个维度(2D)扩展到包含深度的三个维度(3D),收集反射回的第二偏振光的光强分布和相位分布,与预存的手势样本图案做比对,即可获得手势识别的深度信息,也即被识别物的深度信息。In the infrared light emitted by the infrared emitting
参照图3所示,偏光片12上可以设置像素定义层PDL。像素定义层PDL具有若干开口,每一开口内,像素定义层PDL的各侧壁设置有反光层131。OLED发光层15c设置在该开口内。阴极层15b可以透光,覆盖在像素定义层PDL、反光层131、各OLED发光层15c上。各像素15的阴极层15b可以连接成一面电极。Referring to FIG. 3 , a pixel definition layer PDL may be provided on the
反光层131可以为金属镀层,例如金属银、金属铝等。The
由于反光层131的设置,像素15发出的光经该反光层131反射,无法进入像素定义层PDL内;穿过像素定义层PDL的红外光被反光层131反射,无法进入像素15内。可以看出,设置有反光层131的像素定义层PDL为隔离柱13。Due to the setting of the
图3所示实施例中,红外发射器件11与红外接收器件14设置于基底10靠近阵列式像素15的一侧。一些实施例中,红外发射器件11和/或红外接收器件14可以包括若干第二晶体管;第二晶体管与像素驱动电路的第一晶体管中的同一功能层可以位于同一层。换言之,第二晶体管与第一晶体管同步兼容制作。In the embodiment shown in FIG. 3 , the infrared emitting
其它一些实施例中,红外发射器件11与红外接收器件14也可以设置于基底10远离阵列式像素15的一侧。In some other embodiments, the infrared emitting
图3所示实施例中,红外发射器件11与红外接收器件14在基底10的正投影位于像素定义层PDL在基底10的正投影内。其它实施例中,红外发射器件11与红外接收器件14在基底的正投影也可以全部或部分位于像素15在基底10的正投影内。此外,红外发射器件11围绕像素15设置,红外接收器件14围绕红外发射器件11设置。其它一些实施例中,也可以红外接收器件14围绕像素15设置,红外发射器件11围绕红外接收器件14设置。In the embodiment shown in FIG. 3 , the orthographic projections of the infrared emitting
红外接收器件14接收的信息可以连接至外接的处理器,以从第一偏振光中解析出被识别物的指纹信息,以及从第二偏振光中解析出被识别物的深度信息。The information received by the
OLED面板1的工作过程可以包括:The working process of the
OLED面板1用于指纹识别时:When
红外发射器件11发出红外光,红外光经施加了第二电压的偏光片12,偏光片12允许第一偏振光出射,第一偏振光对应于指纹识别;The infrared emitting
第一偏振光穿过隔离柱13;The first polarized light passes through the
碰到被识别物后,第一偏振光被反射回OLED面板1,且反射回的第一偏振光携带了被识别物的指纹信息;After touching the recognized object, the first polarized light is reflected back to the
反射回的第一偏振光通过隔离柱13后,被红外接收器件14接收。After the reflected first polarized light passes through the
OLED面板1用于深度识别时:When
红外发射器件11发出红外光,红外光经施加了第一电压的偏光片12,偏光片12允许第二偏振光出射,第二偏振光对应于深度识别;The infrared emitting
第二偏振光穿过隔离柱13;The second polarized light passes through the
碰到被识别物后,第二偏振光被反射回OLED面板1,且反射回的第二偏振光携带了被识别物的深度信息;After touching the identified object, the second polarized light is reflected back to the
反射回的第二偏振光通过隔离柱13后,被红外接收器件14接收。The reflected second polarized light is received by the
根据上述实施例可知,上述OLED面板1,一方面,使用不同偏振方向的红外偏振光分别实现指纹识别与深度识别,功能丰富;另一方面,红外线穿过隔离柱13,相对于穿过整面的隔离柱13与阵列式像素15,光信噪比较高,识别准确度高。According to the above embodiment, the above-mentioned
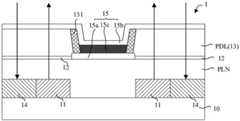
图4是根据本发明另一实施例示出的OLED面板的局部结构的俯视图,图5是沿图4中BB线的剖视图。参照图4与图5所示,本实施例的OLED面板2与图1至图3中的OLED面板1大致相同,区别仅在于:红外发射器件11围绕像素15的部分区域设置,红外接收器件14围绕像素15的其余部分区域设置。FIG. 4 is a top view of a partial structure of an OLED panel according to another embodiment of the present invention, and FIG. 5 is a cross-sectional view along line BB in FIG. 4 . Referring to FIGS. 4 and 5 , the
图6是根据本发明再一实施例示出的OLED面板的截面结构示意图。参照图6所示,本实施例的OLED面板3与图1至图5中的OLED面板1、2大致相同,区别仅在于:OLED面板3还包括准直膜16,用于使穿过的第一偏振光与第二偏振光沿隔离柱13的厚度方向传播。FIG. 6 is a schematic cross-sectional structure diagram of an OLED panel according to still another embodiment of the present invention. Referring to FIG. 6 , the
准直膜16可以如图6所示,位于阴极层15b上。一些实施例中,准直膜16还可以位于阴极层15b与像素定义层PDL之间。再一些实施例中,阴极层15b上可以设置封装层(未图示),准直膜16还可以位于封装层上。The
准直膜16在基底10的正投影位于像素定义层PDL在基底10的正投影内,可以避免减小像素15的发光视角。The orthographic projection of the
图7是根据本发明又一实施例示出的OLED面板的截面结构示意图。参照图7所示,本实施例的OLED面板4与图1至图6中的OLED面板1、2、3大致相同,区别仅在于:OLED面板4还包括处理器17。处理器17用于从红外接收器件14接收的第一偏振光中解析出被识别物的指纹信息,以及从第二偏振光中解析出被识别物的深度信息。处理器17还可以与红外接收器件14集成在一起。FIG. 7 is a schematic cross-sectional structure diagram of an OLED panel according to yet another embodiment of the present invention. Referring to FIG. 7 , the OLED panel 4 of this embodiment is substantially the same as the
基于上述OLED面板1、2、3、4,本发明一实施例还提供一种包括上述任一OLED面板1、2、3、4的显示装置。Based on the
显示装置可以为:电子纸、手机、平板电脑、电视机、笔记本电脑、数码相框、导航仪等任何具有显示功能的产品或部件。The display device can be any product or component with display function, such as electronic paper, mobile phone, tablet computer, television, notebook computer, digital photo frame, and navigator.
需要指出的是,在附图中,为了图示的清晰可能夸大了层和区域的尺寸。而且可以理解,当元件或层被称为在另一元件或层“上”时,它可以直接在其他元件上,或者可以存在中间的层。另外,可以理解,当元件或层被称为在另一元件或层“下”时,它可以直接在其他元件下,或者可以存在一个以上的中间的层或元件。另外,还可以理解,当层或元件被称为在两层或两个元件“之间”时,它可以为两层或两个元件之间唯一的层,或还可以存在一个以上的中间层或元件。通篇相似的参考标记指示相似的元件。It should be noted that, in the drawings, the sizes of layers and regions may be exaggerated for clarity of illustration. It will also be understood that when an element or layer is referred to as being "on" another element or layer, it can be directly on the other element or intervening layers may be present. In addition, it will be understood that when an element or layer is referred to as being "under" another element or layer, it can be directly under the other element, or more than one intervening layer or element may be present. In addition, it will also be understood that when a layer or element is referred to as being 'between' two layers or elements, it can be the only layer between the two layers or elements, or more than one intervening layer may also be present or element. Like reference numerals indicate like elements throughout.
在本发明中,术语“第一”、“第二”仅用于描述目的,而不能理解为指示或暗示相对重要性。术语“若干”指一个、两个或两个以上,除非另有明确的限定。In the present invention, the terms "first" and "second" are used for descriptive purposes only, and cannot be understood as indicating or implying relative importance. The term "several" refers to one, two or more, unless expressly limited otherwise.
本领域技术人员在考虑说明书及实践这里公开的公开后,将容易想到本发明的其它实施方案。本发明旨在涵盖本发明的任何变型、用途或者适应性变化,这些变型、用途或者适应性变化遵循本发明的一般性原理并包括本发明未公开的本技术领域中的公知常识或惯用技术手段。说明书和实施例仅被视为示例性的,本发明的真正范围和精神由下面的权利要求指出。Other embodiments of the invention will readily suggest themselves to those skilled in the art upon consideration of the specification and practice of the disclosure disclosed herein. The present invention is intended to cover any variations, uses or adaptations of the present invention which follow the general principles of the present invention and which include common knowledge or conventional techniques in the technical field not disclosed by the present invention . The specification and examples are to be regarded as exemplary only, with the true scope and spirit of the invention being indicated by the following claims.
应当理解的是,本发明并不局限于上面已经描述并在附图中示出的精确结构,并且可以在不脱离其范围进行各种修改和改变。本发明的范围仅由所附的权利要求来限制。It should be understood that the present invention is not limited to the precise structures described above and illustrated in the accompanying drawings, and that various modifications and changes may be made without departing from its scope. The scope of the present invention is limited only by the appended claims.
| Application Number | Priority Date | Filing Date | Title |
|---|---|---|---|
| CN201911031424.3ACN110767724B (en) | 2019-10-28 | 2019-10-28 | Display device and OLED panel thereof |
| Application Number | Priority Date | Filing Date | Title |
|---|---|---|---|
| CN201911031424.3ACN110767724B (en) | 2019-10-28 | 2019-10-28 | Display device and OLED panel thereof |
| Publication Number | Publication Date |
|---|---|
| CN110767724A CN110767724A (en) | 2020-02-07 |
| CN110767724Btrue CN110767724B (en) | 2022-04-22 |
| Application Number | Title | Priority Date | Filing Date |
|---|---|---|---|
| CN201911031424.3AActiveCN110767724B (en) | 2019-10-28 | 2019-10-28 | Display device and OLED panel thereof |
| Country | Link |
|---|---|
| CN (1) | CN110767724B (en) |
| Publication number | Priority date | Publication date | Assignee | Title |
|---|---|---|---|---|
| CN114583076B (en)* | 2022-02-16 | 2024-08-23 | 深圳市华星光电半导体显示技术有限公司 | Display panel, manufacturing method thereof and electronic device |
| Publication number | Priority date | Publication date | Assignee | Title |
|---|---|---|---|---|
| CN108182424A (en)* | 2018-01-29 | 2018-06-19 | 上海天马微电子有限公司 | Display device and fingerprint identification method thereof |
| CN108598109A (en)* | 2018-04-20 | 2018-09-28 | 上海天马有机发光显示技术有限公司 | Display panel and display device |
| CN109239938A (en)* | 2018-10-11 | 2019-01-18 | 京东方科技集团股份有限公司 | Optical alignment structure and preparation method thereof, fingerprint identification device |
| CN109509781A (en)* | 2018-12-29 | 2019-03-22 | Oppo广东移动通信有限公司 | OLED pixel structure, OLED display screen and electronic equipment |
| CN109752873A (en)* | 2017-11-03 | 2019-05-14 | 华为技术有限公司 | Display and terminal |
| CN209087844U (en)* | 2018-12-29 | 2019-07-09 | Oppo广东移动通信有限公司 | OLED pixel structure, OLED display and electronic equipment |
| Publication number | Priority date | Publication date | Assignee | Title |
|---|---|---|---|---|
| KR102480091B1 (en)* | 2018-01-30 | 2022-12-23 | 삼성디스플레이 주식회사 | display device |
| Publication number | Priority date | Publication date | Assignee | Title |
|---|---|---|---|---|
| CN109752873A (en)* | 2017-11-03 | 2019-05-14 | 华为技术有限公司 | Display and terminal |
| CN108182424A (en)* | 2018-01-29 | 2018-06-19 | 上海天马微电子有限公司 | Display device and fingerprint identification method thereof |
| CN108598109A (en)* | 2018-04-20 | 2018-09-28 | 上海天马有机发光显示技术有限公司 | Display panel and display device |
| CN109239938A (en)* | 2018-10-11 | 2019-01-18 | 京东方科技集团股份有限公司 | Optical alignment structure and preparation method thereof, fingerprint identification device |
| CN109509781A (en)* | 2018-12-29 | 2019-03-22 | Oppo广东移动通信有限公司 | OLED pixel structure, OLED display screen and electronic equipment |
| CN209087844U (en)* | 2018-12-29 | 2019-07-09 | Oppo广东移动通信有限公司 | OLED pixel structure, OLED display and electronic equipment |
| Publication number | Publication date |
|---|---|
| CN110767724A (en) | 2020-02-07 |
| Publication | Publication Date | Title |
|---|---|---|
| US10867155B2 (en) | Fingerprint identification display panel and fabricating method thereof, fingerprint identification display device | |
| US9450033B2 (en) | Organic light emitting diode (OLED) display apparatus having light sensing function | |
| US10678043B2 (en) | Display panel, display device and method for controlling the same | |
| CN101763822B (en) | Organic Light Emitting Diode Panel | |
| CN109491169B (en) | An OLED display device and its working method | |
| WO2019205772A1 (en) | Fingerprint recognition panel, fingerprint recognition method, and display device | |
| US20160283001A1 (en) | Display panel, driving method thereof, and display device | |
| WO2017206558A1 (en) | Display device and fingerprint identification method thereof | |
| US20190121390A1 (en) | Foldable display pannel, display device, image compensation method and image compensation device | |
| US20210083018A1 (en) | Display panel and operation method thereof | |
| WO2017071334A1 (en) | Array substrate, display panel and display device | |
| US10725347B2 (en) | Array substrate and display device | |
| WO2017004950A1 (en) | Display device and drive method therefor | |
| WO2017202180A1 (en) | Touchscreen display device | |
| WO2020199535A1 (en) | Display apparatus and oled display panel thereof | |
| US11342399B2 (en) | Array substrate, driving method thereof, fabrication method thereof, and display apparatus | |
| CN107967870B (en) | Display unit and display screen | |
| WO2020015038A1 (en) | Fingerprint recognition oled display panel and display apparatus | |
| US9568759B2 (en) | Manufacturing method of touch display panel | |
| CN110767724B (en) | Display device and OLED panel thereof | |
| US11258933B2 (en) | Light source module and display module | |
| US20220115443A1 (en) | Display device and image sensing method thereof | |
| US11756329B2 (en) | Fingerprint detection array substrate, fingerprint detection apparatus, method of operating fingerprint detection apparatus | |
| CN109300439B (en) | Display device configured to measure light and adjust display brightness and method of driving the same | |
| US11901376B2 (en) | Display panel, manufacturing method thereof and displaying device |
| Date | Code | Title | Description |
|---|---|---|---|
| PB01 | Publication | ||
| PB01 | Publication | ||
| SE01 | Entry into force of request for substantive examination | ||
| SE01 | Entry into force of request for substantive examination | ||
| GR01 | Patent grant | ||
| GR01 | Patent grant |