Movatterモバイル変換


[0]ホーム

URL:


CN110763810A - Quality inspection system of breath analyzer - Google Patents

Quality inspection system of breath analyzer
Download PDF

Info

Publication number
CN110763810A
CN110763810ACN201911261066.5ACN201911261066ACN110763810ACN 110763810 ACN110763810 ACN 110763810ACN 201911261066 ACN201911261066 ACN 201911261066ACN 110763810 ACN110763810 ACN 110763810A
Authority
CN
China
Prior art keywords
gas
breath
quality inspection
flow
breath analyzer
Prior art date
Legal status (The legal status is an assumption and is not a legal conclusion. Google has not performed a legal analysis and makes no representation as to the accuracy of the status listed.)
Granted
Application number
CN201911261066.5A
Other languages
Chinese (zh)
Other versions
CN110763810B (en
Inventor
韩益苹
韩杰
Current Assignee (The listed assignees may be inaccurate. Google has not performed a legal analysis and makes no representation or warranty as to the accuracy of the list.)
Wuxi Sunvou Medical Treatment Electronic Co Ltd
Original Assignee
Wuxi Sunvou Medical Treatment Electronic Co Ltd
Priority date (The priority date is an assumption and is not a legal conclusion. Google has not performed a legal analysis and makes no representation as to the accuracy of the date listed.)
Filing date
Publication date
Application filed by Wuxi Sunvou Medical Treatment Electronic Co LtdfiledCriticalWuxi Sunvou Medical Treatment Electronic Co Ltd
Priority to CN201911261066.5ApriorityCriticalpatent/CN110763810B/en
Publication of CN110763810ApublicationCriticalpatent/CN110763810A/en
Application grantedgrantedCritical
Publication of CN110763810BpublicationCriticalpatent/CN110763810B/en
Activelegal-statusCriticalCurrent
Anticipated expirationlegal-statusCritical

Links

Images

Classifications

Landscapes

Abstract

The invention provides a quality inspection system of an expiratory analyzer, which is used for detecting the sampling quality and the analysis quality of the expiratory analyzer and comprises: the system comprises an automatic air distribution unit, an expiration sampling quality inspection unit, an expiration analysis quality inspection unit and a master control unit; the automatic gas distribution unit is used for generating simulated exhaled gas with settable gas composition, concentration, temperature, humidity and flow; the breath sampling quality inspection unit can be connected with a breath analyzer to be inspected, and detects the temperature, humidity, flow, pressure and time of the gas distribution passing through the breath analyzer; the breath analysis quality inspection unit is used for detecting the gas concentration result of the gas distribution detected by the breath analyzer to carry out analysis and judgment; the master control unit comprises a control module, a GPRS-4G communication module, a data storage module, a screen and a visual operation interface, and can complete automatic gas distribution and detection of breath sampling analysis quality according to input requirements, so that quality inspection of the breath analyzer is realized.

Description

Quality inspection system of breath analyzer
Technical Field
The invention relates to a quality inspection system of an exhalation analyzer.
Background
With the development of science and technology, molecular diagnosis based on breath markers and related scientific and technological achievements successively receive 5 times of nobel biomedical and chemical prizes, and one of the current 10 medical innovation prizes is honored by the world medical peak held in the united states in 2011. The 2010 exhalation test is promoted, various exhalation analyzers are produced at the same time, and by detecting various gas molecular components and concentrations of known human exhaled air, doctors can be assisted in diagnosing diseases suffered by patients, monitoring disease states and observing treatment effects.
At present, the breath analyzers in the market are various in types, and are mainly applied to two fields, namely a respiratory tract and a digestive tract, because breath detection in the two fields is a common detection item and forms a standard.
The national thoracic society (ATS) and European Respiratory Society (ERS) set up international technical standards for oral or nasal breath sampling and analysis of endogenous NO in 2005, and recommend (1) that gases with NO <5ppb need to be inhaled before testing, so as to avoid the influence of high-concentration environmental NO on the test result; (2) when in test, the mouth expiratory pressure is required to exceed 5cmH2O, the soft palate communicated with the upper respiratory tract and the lower respiratory tract is closed, the gas mixing of the upper respiratory tract and the lower respiratory tract is avoided, but the mouth expiratory pressure is not higher than 20cmH2O, and the subject feels uncomfortable when exceeding 20cmH 2O; (3) the constant flow rate must be kept during testing, the influence of the change of the flow rate on the measurement result is avoided, the standard recommended flow rate is 50ml/s, and the flow range requirement is 45-55 ml/s; (4) there must be sufficient expiratory duration to exclude physiologic dead space, and thus a reliable plateau requiring expiratory flow to remain within the required range for at least 3 seconds. At the same time, the method also puts requirements on analysis accuracy and repeatability, and requires that the instrument be calibrated regularly.
A consensus conference was held in roman in 2007 by a panel of experts in breath testing applications, promulgating the statement of the first consensus on the roman breath hydrogen test. According to the recommended technologies and clinical application indexes in the consensus statement, the recommended sampling mode is to inhale deeply and collect exhaled breath after holding breath for 15 seconds. The statement also explicitly states that since elements such as electrochemistry have relatively short lifetimes and no long-term stability is reported, the accuracy of the instrument is periodically evaluated and the method and frequency of calibration is determined.
The calibration of the known breath analyzer product adopts a mode of regularly calibrating standard steel cylinder gas, but in the actual use process, the transportation and the use of the standard steel cylinder are very inconvenient, the detection range of the breath analyzer is usually low, and the concentration for calibration is also very low, for example, the calibration of the NO analyzer adopts NO gas with the concentration of 50-75ppb, and the storage time and the accuracy of the standard steel cylinder with low concentration are difficult to guarantee.
In addition, the flow, pressure and time of the sampling process of the breath analyzer are not detected at present, and the deviation of the sampling process of the breath analyzer influences the detection result, so that the accuracy of clinical diagnosis is influenced. And the exhalation composition is relatively complicated, some interference components which can influence the test result exist, such as NO, CO, H2S, methyl mercaptan, ethanol, water vapor and the like, and the simple standard steel cylinder gas test cannot completely reflect the anti-interference capability and the selectivity condition of the instrument.
To above problem, this patent proposes a quality inspection system of breath analysis appearance, can make the inspection and judge to breath analysis appearance's sampling process and analysis result to the realization is to breath analysis appearance's quality monitoring.
Disclosure of Invention
The invention provides a quality inspection system of a breath analyzer, which can perform quality inspection on the sampling process and the analysis result of the breath analyzer, wherein the quality inspection consists of two parts, namely, the quality inspection of breath sampling, which is mainly used for inspecting the breath flow, pressure and time specified by a standard; and secondly, the quality inspection of breath analysis, which is mainly used for inspecting the accuracy, selectivity and stability of target gas detection.
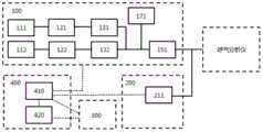
The quality inspection system of the breath analyzer is characterized in that: the quality monitoring system of the breath analyzer is composed of an automatic air distribution unit (100), an expiration sampling quality inspection unit (200), an expiration analysis quality inspection unit (300) and a master control unit (400); the automatic gas distribution unit (100) comprises at least two gas distribution pipelines and a flow sensor (151), wherein each gas distribution pipeline is connected to the flow sensor in parallel; the expiration sampling quality inspection unit (200) comprises a pressure sensor and is connected with an air outlet of the automatic air distribution unit through a pipeline; the master control unit (400) comprises a control module (410), a screen and a visual operation interface (420), and detection of automatic gas distribution and breath sampling analysis quality is completed according to the inspection requirements input by the screen and the visual operation interface (420).
Each gas distribution pipeline of the automatic gas distribution unit (100) is provided with a gas cylinder, a pressure reducing valve and an electromagnetic proportional valve in series, and the gas cylinders, the pressure reducing valve and the electromagnetic proportional valve are all connected to the flow sensor (151) in parallel. The pressure reducing valve is used for reducing the pressure of the gas cylinder, and the connecting port and the pressure configuration are matched with the specification of the gas cylinder, so that the use safety of the gas cylinder is ensured. The electromagnetic proportional valve is arranged behind the pressure reducing valve, and the flow of the passing air flow is adjusted according to the opening proportion to meet the air distribution requirement. The flow sensor (151) is arranged behind the plurality of parallel gas distribution pipelines, and the flow and the total flow from each gas distribution pipeline are ensured to meet the gas distribution requirement. The flow sensor (151) is a mass flow sensor or a volume flow sensor.
The number of the gas distribution pipelines can be set according to the gas distribution requirement, at least two pipelines are arranged, and a high-concentration standard gas cylinder and a dilution gas cylinder are generally arranged. The plurality of gas distribution pipelines and the plurality of gas cylinders can be arranged to configure target concentration standard gas simulating the components of exhaled air of a human body. The gas distribution system for simulating human body exhalation comprises at least three gas paths, namely a diluent gas path containing nitrogen and oxygen, a gas source containing gas to be detected, such as NO, CO, H2S, H2, CH4 and the like, and an interference gas source containing trace concentration, such as NO, CO, H2S, methyl mercaptan, ethanol and the like. A heating and humidifying module (161) can be arranged on a gas distribution pipeline provided with the diluent gas, and the saturated steam can be humidified to obtain the target gas simulating the temperature and humidity of the expiration. Through the arrangement, the automatic gas distribution system can be used for generating the simulated exhaled breath with settable gas components, concentration, temperature, humidity and flow.
The expiration sampling quality inspection unit (200) comprises a pressure sensor (210) and a pipeline, wherein the pressure sensor (210) is connected with an air outlet of the automatic air distribution unit through the pipeline, and the air flow pressure condition of the expiration analyzer in the sampling process can be monitored. A temperature and humidity measuring module (220) can be correspondingly arranged behind the flow sensor (151) and used for feeding back and recording the temperature and humidity of the configured gas. Through the setting, the expiration sampling quality inspection unit can be connected with the expiration analyzer to be inspected, and the temperature, the humidity, the pressure and the sampling time of the configured gas passing through the expiration analyzer are detected.
The breath analysis quality inspection unit (300) is used for analyzing and judging a gas concentration result of gas distribution detected by the breath analyzer, and inspecting the accuracy, selectivity, repeatability and stability of the breath analyzer.
The general control unit (400) comprises a control module (410), a screen and a visual operation interface (420). The screen and the visual operation interface (420) can input the gas configuration and detection requirements and input the sampling and analysis results of the breath analyzer. The quality detection is divided into two parts of sampling detection and analysis detection on the screen and the visual operation interface (420), different contents are input according to different items to be detected, and the monitoring system automatically gives out the steps and the flow of the detection. The control module (410) can control the opening proportion of the electromagnetic proportional valve to complete automatic gas distribution according to the input requirement, can monitor and record the pressure condition of gas flow in the sampling process, judges whether the gas flow pressure meets the specified requirement when the breath analyzer samples, and records the sampling time. The general control unit (400) can also be provided with a GPRS-4G communication module (430) to provide a networking function, and monitoring data can be uploaded to the cloud platform in time. The overall control unit (400) may also be provided with a data storage module (440) for storing data.
In addition, many exhalation analyzers all are provided with the sampling mode of off-line sampling and nasal bleed sampling, all can bleed the accuracy of flow and put forward the requirement to the accuracy of sample is just being guaranteed, and reaches the demand that detects the tolerance. Thus, a branch may be provided between the distribution line and the flow sensor, and a solenoid valve (171) may be provided on the branch. The electromagnetic valve (171) is closed during gas distribution, is opened during detection of the air extraction sampling flow of the exhalation analyzer, and detects whether the air extraction flow meets the set requirements of the instrument or not through the flow sensor (151).
The quality inspection system of the breath analyzer can inspect and judge the sampling process and the analysis result of the breath analyzer according to the input gas distribution body configuration and the detection requirement, thereby realizing the quality monitoring of the breath analyzer. The quality inspection system of a set of breath analyzer arranged in a fixed-point hospital can regularly complete the detection of the sampling process and the analysis process of various breath analyzers, greatly simplifies the original complex quality inspection operation, and enables the part of the detection items which can only be finished in the factory to be finished more efficiently.
Drawings
Fig. 1 is a schematic diagram 1 of a quality control system of a breath analyzer.
Fig. 2 is a schematic diagram 2 of the structure of a quality control system of a breath analyzer.
Fig. 3 is a schematic diagram 3 of the structure of a quality control system of a breath analyzer.
Fig. 4 is a schematic diagram 4 of the structure of a quality control system of a breath analyzer.
Detailed Description
For the purpose of making the objects, technical solutions and advantages of the present invention more apparent, the present invention will be further described in detail with reference to the accompanying drawings and embodiments, it being understood that the specific embodiments described herein are only for the purpose of illustrating the present invention and are not to be construed as limiting the present invention. In the following examples, the quality test system for an exhalation analyzer was used in an assembled breath analyzer. The quality inspection mainly comprises two parts, namely, the quality inspection of the breath sampling, which is mainly used for inspecting the breath flow, pressure and time specified by the standard; and secondly, the quality inspection of breath analysis, which is mainly used for inspecting the accuracy, selectivity, repeatability and stability of target gas detection.
The first embodiment is as follows:
in this embodiment, the quality inspection system for a respiratory analyzer is assembled using the structural diagram of the quality inspection system for a respiratory analyzer, and the quality inspection is performed on the respiratory analyzer for respiratory tract detection.
The quality inspection system of the breath analyzer used in the embodiment is composed of an automatic air distribution unit (100), an expiratory sampling quality inspection unit (200), an expiratory analysis quality inspection unit (300) and a master control unit (400); the automatic gas distribution unit (100) comprises two gas distribution pipelines and a flow sensor (151), wherein each gas distribution pipeline is provided with gas cylinders (111, 112), pressure reducing valves (121, 122) and electromagnetic proportional valves (131, 132) in series and connected to the flow sensor (151) in parallel; the expiratory sampling quality inspection unit (200) comprises a pressure sensor (210), and the pressure sensor (210) is connected with an air outlet of the automatic air distribution unit through a pipeline; the general control unit (400) comprises a control module (410), a screen and a visual operation interface (420).
Wherein the flow sensor (151) is a mass flow sensor, the gas cylinder (112) is a high-concentration NO standard gas cylinder with the concentration of 1500ppb, the gas cylinder (111) is a nitrogen gas cylinder, and the connecting ports and the pressure configuration of the reducing valves (121 and 122) are adapted to the specifications of the corresponding gas cylinders.
The quality inspection system of the breath analyzer (hereinafter referred to as quality inspection system) performs quality inspection on the breath sampling process of the mouth breath test function of the breath analyzer according to the following steps (mainly performs inspection on standard specified breath flow, pressure and time):
1) and inputting the flow range requirement and the pressure requirement of the sampling process on a screen and a visual operation interface of the quality inspection system. The flow range requirement is set to 40-60ml/s, the flow detection point is set to 9 points, and the gas flow pressure requirement is set to >5cmH 2O. During the quality inspection of the expiration sampling process, the airflow is configured only by using a nitrogen gas cylinder.
2) The air inlet of the breath analyzer is connected with the air outlet of the quality inspection system, so that airtightness is guaranteed.
3) After the breath analyzer enters a breath detection mode, the quality inspection system is started to configure airflow with the flow rate of 40ml/s, the detection and recording of the pressure data of the airflow are started, the breath analyzer starts to sample, and the flow indication is displayed on a screen. When the breath analyzer finishes sampling, the pressure sensor of the quality inspection system detects the pressure change, the electromagnetic proportional valve is immediately closed, and the ventilation is finished. Whether sampling is successful or not can be displayed on a screen of the breath analyzer, air flow pressure data and sampling time data can be displayed on a screen of the quality inspection system, and whether sampling is successful or not can be input into the screen of the quality inspection system.
4) The test of the following 8 flow detection points is continued, but the flow of the airflow is changed, and the same operation is performed.
5) After the detection of the 9 flow detection points, the quality inspection system can give an analysis report of the flow range, pressure and time of breath sampling of the breath analyzer and give a suggestion whether the flow and pressure settings of breath analysis are not in accordance with requirements and whether the adjustment is needed.
The quality inspection system of the breath analyzer (hereinafter referred to as quality inspection system) performs quality inspection (mainly, the accuracy, repeatability and stability of target gas detection) on the sample analysis process of the oral exhalation test function of the breath analyzer according to the following steps:
1) the concentration and flow requirements of the configured gas are input on a screen of the quality inspection system and a visual operation interface (420). The accuracy target concentration points were set to 15ppb, 60ppb, 250ppb, 1000ppb, each point was tested 3 times; the target concentration point of repeatability and stability is set to be 60ppb, the repeatability is continuously tested for 10 times, the stability is tested once every half hour, and the test is carried out for 5 times in total; the total flow requirement is set to be 50ml/s, namely 3000ml/min, and the quality inspection system automatically calculates the flow rate of each path to be configured according to the concentration of the gas cylinder, the target concentration and the total flow requirement.
2) The quality inspection system distributes gas according to the set concentration and flow requirements, high-concentration NO standard gas flow is configured firstly, the electromagnetic proportional valve (132) is opened to adjust the opening proportion according to the feedback flow of the flow sensor (151) until the high-concentration NO standard gas flow is the flow to be configured, and the opening proportion of the electromagnetic proportional valve (132) is recorded; then, nitrogen flow is configured, the electromagnetic proportional valve (132) is closed, the electromagnetic proportional valve (131) is opened, and the opening proportion is adjusted according to the feedback flow of the flow sensor (151) until the nitrogen flow is the flow to be configured; and then opening an electromagnetic proportional valve (132) according to the recorded starting proportion, wherein the total flow of the two paths is 3000ml/min, and the stable ventilation is carried out for 5 minutes to ensure the stable air flow.
3) After the breath analyzer enters the breath detection mode, the air inlet of the breath analyzer is well connected with the air outlet of the quality inspection system, and air tightness is guaranteed. The expiratory analyzer starts sampling, the quality inspection system starts detecting and recording air flow pressure data, and after the expiratory analyzer finishes sampling, the pressure sensor detects pressure change, the electromagnetic proportional valve is closed immediately, and ventilation is finished.
4) And after the breath analyzer enters an analysis mode and completes analysis, a detection result is displayed on an interface, and the result is input into a screen and a visual operation interface of the quality inspection system.
5) And (5) repeating the steps 2-4 until the detection of all the points is completed, and analyzing the accuracy, repeatability and stability result according to the input detection result data by the quality inspection system.
6) The quality monitoring report of breath sampling and analysis of the breath analyzer can be given by combining with the sampling process analysis of the previous detection, and the quality monitoring report can be connected with a printer for printout.
The second embodiment is as follows:
in this embodiment, the quality inspection system of the breath analyzer is assembled using the structural diagram of the quality inspection system of the breath analyzer, and the breath analyzer for respiratory tract detection is quality-monitored.
The quality inspection system of the breath analyzer used in the embodiment is composed of an automatic air distribution unit (100), an expiratory sampling quality inspection unit (200), an expiratory analysis quality inspection unit (300) and a master control unit (400); the automatic gas distribution unit (100) comprises three gas distribution pipelines and a flow sensor (151), wherein each gas distribution pipeline is provided with a gas cylinder (111, 112, 113), a pressure reducing valve (121, 122, 123) and an electromagnetic proportional valve (131, 132, 133) in series and is connected to the flow sensor (151) in parallel. The expiratory sampling quality inspection unit (200) comprises a pressure sensor (210), and the pressure sensor (210) is connected with an air outlet of the automatic air distribution unit through a pipeline; a temperature and humidity measuring module (220) is arranged behind the flow sensor (151) and used for feeding back and recording the temperature and the humidity of the configured gas. The general control unit (400) comprises a control module (410), a GPRS-4G communication module (430), a data storage module (440), a screen and a visual operation interface (420).
Wherein the flow sensor (151) is a volumetric flow sensor; the gas cylinder (113) is a high-concentration NO standard gas cylinder, and the concentration is 1500 ppb; the gas cylinder (112) is a simulated expiration gas cylinder containing a trace concentration interference gas source and contains components which can interfere detection in human expiration, such as CO, H2S, methyl mercaptan and ethanol; the gas cylinder (111) is a diluent gas cylinder containing 79% of nitrogen and 16% of oxygen; the connection ports and pressure arrangement of the pressure reducing valves (121, 122, 123) are adapted to the specifications of the corresponding gas cylinders.
The quality inspection of the breath sampling process of the breath analyzer for the mouth breath test function of the breath analyzer by the quality inspection system is basically consistent with that of the first embodiment, which is not repeated, and during the quality inspection of the breath sampling process, the airflow is configured only by using the diluent gas cylinder.
The quality inspection system of the breath analyzer (hereinafter referred to as quality inspection system) performs quality inspection (mainly, inspection of selectivity, accuracy, repeatability and stability of target gas detection) on the sample analysis process of the oral exhalation test function of the breath analyzer according to the following steps:
1) the concentration and flow requirements of the configured gas are input on a screen of the quality inspection system and a visual operation interface (420). The accuracy target concentration points were set to 15ppb, 60ppb, 250ppb, 1000ppb, each point was tested 3 times; the target concentration point of repeatability and stability is set to be 60ppb, the repeatability is continuously tested for 10 times, the stability is tested once every half hour, and the test is carried out for 5 times in total; the total flow requirement is set to be 50ml/s, namely 3000ml/min, and the quality inspection system automatically calculates the flow rate of each path to be configured according to the concentration of the gas cylinder, the target concentration and the total flow requirement.
2) The quality inspection system of the breath analyzer distributes air according to the set concentration and flow requirements, the electromagnetic valve (171) is closed during distribution, high-concentration NO standard air flow is firstly configured, the electromagnetic proportional valve (133) is opened to adjust the opening proportion according to the feedback flow of the flow sensor (151) until the high-concentration NO standard air flow is the flow to be configured, and the opening proportion of the electromagnetic proportional valve (133) is recorded; then, the flow of the simulated expiration gas cylinder is configured, the electromagnetic proportional valve (133) is closed, the electromagnetic proportional valve (132) is opened, the opening proportion is adjusted according to the feedback flow of the flow sensor (151) until the flow of the simulated expiration gas cylinder is the opening proportion of the electromagnetic proportional valve (132) which is recorded according to the configured flow; then, nitrogen flow is configured, the electromagnetic proportional valve (132) is closed, the electromagnetic proportional valve (131) is opened, and the opening proportion is adjusted according to the feedback flow of the flow sensor (151) until the nitrogen flow is the flow to be configured; and then opening the electromagnetic proportional valve (132) and the electromagnetic proportional valve (133) according to the recorded starting proportion, and stably ventilating for 5 minutes to ensure that the airflow is stable.
3) After the breath analyzer enters the breath detection mode, the air inlet of the breath analyzer is well connected with the air outlet of the quality inspection system, and air tightness is guaranteed. The expiratory analyzer starts sampling, the quality inspection system starts detecting and recording air flow pressure data, and after the expiratory analyzer finishes sampling, the pressure sensor detects pressure change, the electromagnetic proportional valve is closed immediately, and ventilation is finished.
4) And after the breath analyzer enters an analysis mode and completes analysis, a detection result is displayed on an interface, and the result is input into a screen and a visual operation interface of the quality inspection system.
5) And (4) repeating the steps 2-4 until the detection of all the points is completed, and analyzing and judging the gas concentration result of the gas distribution detected by the exhalation analyzer by the quality inspection system to obtain the results of selectivity, accuracy, repeatability and stability.
6) The quality monitoring report of breath sampling and analysis of the breath analyzer can be given by combining with the sampling process analysis of the previous detection, and the quality monitoring report can be connected with a printer for printout.
7) The quality monitoring data can be stored in the data storage module (440), and meanwhile, the GPRS-4G communication module (430) can upload the quality monitoring data to the cloud platform in time.
The third concrete embodiment:
in this embodiment, the quality inspection system of the breath analyzer is assembled using the structural diagram of the quality inspection system of the breath analyzer 4, and the breath analyzer for digestive tract examination is quality-monitored.
The quality inspection system of the breath analyzer used in the embodiment is composed of an automatic air distribution unit (100), an expiratory sampling quality inspection unit (200), an expiratory analysis quality inspection unit (300) and a master control unit (400); the automatic air distribution unit (100) comprises three air distribution pipelines and a flow sensor (151), wherein each air distribution pipeline is provided with an air bottle (111, 112, 113, 114), a pressure reducing valve (121, 122, 123, 124) and an electromagnetic proportional valve (131, 132, 133, 134) in series and is connected to the flow sensor (151) in parallel. Wherein, the two gas distribution pipelines are provided with heating and humidifying modules (161, 162) which can obtain target gas simulating expiratory humidity. The expiratory sampling quality inspection unit (200) comprises a pressure sensor (210), and the pressure sensor (210) is connected with an air outlet of the automatic air distribution unit through a pipeline; a temperature and humidity measuring module (220) is arranged behind the flow sensor (151) and used for feeding back and recording the temperature and the humidity of the configured gas. The general control unit (400) comprises a control module (410), a screen and a visual operation interface (420).
The flow sensor (151) is a volume flow sensor, the gas cylinder (114) is a high-concentration CH4 standard gas cylinder with the concentration of 100ppm, the gas cylinder (113) is a high-concentration H2 standard gas cylinder with the concentration of 200ppm, the gas cylinder (112) is a nitrogen gas cylinder, the gas cylinder (111) is an air steel cylinder with the oxygen concentration of 21%, and the connecting ports and the pressure configuration of the pressure reducing valves (121, 122, 123 and 124) are adapted to the specifications of the corresponding gas cylinders.
The quality inspection system of the breath analyzer (hereinafter referred to as quality inspection system) performs quality inspection on the breath sampling process of the mouth breath test function of the breath analyzer according to the following steps (mainly performs inspection on standard specified breath flow, pressure and time):
1) and inputting the flow range requirement and the pressure requirement of the sampling process on a screen and a visual operation interface of the quality inspection system. The flow range requirement is set to 50-150ml/s, the flow detection point is set to 5 points, the gas flow pressure requirement is set to >5cmH2O, and the sample time is set to >8 s. During the quality inspection of the expiration sampling process, the airflow is configured only by using a nitrogen gas cylinder.
2) The air inlet of the breath analyzer is connected with the air outlet of the quality inspection system, so that airtightness is guaranteed.
3) After the breath analyzer enters a breath detection mode, the quality inspection system is started to configure airflow with the flow of 80ml/s, the detection and recording of the pressure data of the airflow are started, the breath analyzer starts to sample, and the flow indication is displayed on a screen. When the breath analyzer finishes sampling, the pressure sensor of the quality inspection system detects the pressure change, the electromagnetic proportional valve is immediately closed, and the ventilation is finished. Whether sampling is successful or not can be displayed on a screen of the breath analyzer, air flow pressure data and sampling time data can be displayed on a screen of the quality inspection system, and whether sampling is successful or not can be input into the screen of the quality inspection system.
4) The test was continued for the next 4 flow detection points, except that the flow rate of the air stream was changed, and the same operation was performed.
5) After the detection of the 5 flow detection points, the quality inspection system can give an analysis report of the flow range, pressure and time of breath sampling of the breath analyzer and give a suggestion whether the flow and pressure settings of breath analysis are not in accordance with requirements and whether the adjustment is needed.
The quality inspection system of the breath analyzer (hereinafter referred to as quality inspection system) performs quality inspection (mainly, inspection of the accuracy of target gas detection) on the sample analysis process of the oral exhalation test function of the breath analyzer according to the following steps:
1) the concentration and flow requirements of the configured gas and the requirements of pressure monitoring are input on a screen and a visual operation interface (420) of a quality inspection system of the respiratory analyzer. The target H2, CH4, and O2 concentrations were set to 20ppm, 10ppm, and 15%, respectively, and tested 3 times; the total flow requirement is set to be 6000ml/min which is 100ml/s, the system automatically calculates the flow rate of each path according to the concentration of the gas cylinder, the target concentration and the total flow requirement, and the requirement of gas humidification is set.
2) The quality inspection system of the breath analyzer distributes air according to the set concentration and flow requirements, the electromagnetic valve (171) is closed during distribution, high-concentration CH4 standard airflow is firstly configured, the electromagnetic proportional valve (134) is opened to adjust the opening proportion according to the feedback flow of the flow sensor (151) until the high-concentration CH4 standard airflow is 600ml/min, and the opening proportion of the electromagnetic proportional valve (134) is recorded; then high-concentration H2 standard gas flow is configured, the electromagnetic proportional valve (134) is closed, the electromagnetic proportional valve (133) is opened to adjust the opening proportion according to the feedback flow of the flow sensor (151) until the high-concentration H2 standard gas flow is 600ml/min, and the opening proportion of the electromagnetic proportional valve (133) is recorded; then, configuring nitrogen flow, closing the electromagnetic proportional valve (133), opening the electromagnetic proportional valve (132), adjusting the opening proportion according to the feedback flow of the flow sensor (151) until the nitrogen flow is 514ml/min, and recording the opening proportion of the electromagnetic proportional valve (132); then configuring air flow, closing the electromagnetic proportional valve (132), opening the electromagnetic proportional valve (131), and adjusting the opening proportion according to the feedback flow of the flow sensor (151) until the air flow is 4286 ml/min; then, the electromagnetic proportional valve (132), the electromagnetic proportional valve (133) and the electromagnetic proportional valve (134) are opened according to the recorded starting proportion, the humidifying modules (161 and 162) are opened, and ventilation is stabilized for 5 minutes to ensure stable air flow.
3) After the breath analyzer enters the breath detection mode, the air inlet of the breath analyzer is well connected with the air outlet of the quality inspection system, and air tightness is guaranteed. The expiratory analyzer starts sampling, the quality inspection system starts detecting and recording air flow pressure data, and after the expiratory analyzer finishes sampling, the pressure sensor detects pressure change, the electromagnetic proportional valve is closed immediately, and ventilation is finished.
4) And after the breath analyzer enters an analysis mode and completes analysis, a detection result is displayed on an interface, and the result is input into a screen and a visual operation interface of the quality inspection system.
5) And (5) repeating the steps 2-4, completing the detection for 3 times, and analyzing and judging the gas concentration result of the gas distribution detected by the exhalation analyzer by the quality inspection system to obtain an accurate result.
6) The quality monitoring report of breath sampling and analysis of the breath analyzer can be given by combining with the sampling process analysis of the previous detection, and the quality monitoring report can be connected with a printer for printout.
The fourth concrete embodiment:
in this embodiment, the quality inspection system of the breath analyzer is assembled using the structural diagram of the quality inspection system of the breath analyzer, and the breath analyzer for respiratory tract detection is quality-monitored.
The quality inspection system of the breath analyzer used in the embodiment is composed of an automatic air distribution unit (100), an expiratory sampling quality inspection unit (200), an expiratory analysis quality inspection unit (300) and a master control unit (400); the automatic gas distribution unit (100) comprises two gas distribution pipelines and a flow sensor (151), wherein each gas distribution pipeline is provided with gas cylinders (111, 112), pressure reducing valves (121, 122) and electromagnetic proportional valves (131, 132) in series and connected to the flow sensor (151) in parallel; a branch is arranged between the gas distribution pipeline and the flow sensor (151), and an electromagnetic valve (171) is arranged on the branch; the expiratory sampling quality inspection unit (200) comprises a pressure sensor (210), and the pressure sensor (210) is connected with an air outlet of the automatic air distribution unit through a pipeline; the general control unit (400) comprises a control module (410), a screen and a visual operation interface (420).
Wherein the flow sensor (151) is a mass flow sensor, the gas cylinder (112) is a high-concentration NO standard gas cylinder with the concentration of 1500ppb, the gas cylinder (111) is a nitrogen gas cylinder, and the connecting ports and the pressure configuration of the reducing valves (121 and 122) are adapted to the specifications of the corresponding gas cylinders.
The quality inspection system of the breath analyzer used in this embodiment is basically the same as the first embodiment in the quality inspection of the breath sampling and breath analysis process of the mouth breath test function of the breath analyzer, and will not be described repeatedly.
The quality inspection system of the breath analyzer used in this embodiment can also perform quality monitoring on the nasal aspiration test or the offline test function of the breath analyzer according to the following steps:
1) the air inlet of the breath analyzer is connected with the air outlet of the quality inspection system, so that airtightness is guaranteed.
2) The monitoring requirement of the air exhaust flow is input on a screen and a visual operation interface (420) of a quality inspection system of the breath analyzer. The bleed air flow rate is required to be set at 10ml/s, i.e. 600 ml/min.
3) After the breath analyzer enters a nasal air suction test or off-line test function, air suction is started, a pressure sensor (210) of a quality test system of the breath analyzer detects negative pressure, an electromagnetic valve (171) is opened, and a flow sensor (151) detects and records air suction flow.
4) The quality inspection system of the breath analyzer can give out an analysis result of the extracted air sampling flow and a quality monitoring report of the breath analyzer, and can be connected with a printer for printing output.
The above embodiments show that the present invention can indeed perform the inspection and judgment on the sampling process and the analysis result of the breath analyzer, thereby realizing the quality detection of the breath analyzer.
The invention is not limited to the embodiments shown and described, but any variations and modifications are within the scope of protection of the appended claims.

Claims (10)

1. A quality inspection system for a breath analyzer, comprising: the quality monitoring system of the breath analyzer is composed of an automatic air distribution unit, an expiration sampling quality inspection unit, an expiration analysis quality inspection unit and a master control unit; the automatic gas distribution unit comprises at least two gas distribution pipelines and a flow sensor, and each gas distribution pipeline is connected to the flow sensor in parallel; the breath sampling quality inspection unit comprises a pressure sensor, and the pressure sensor is connected with an air outlet of the automatic air distribution unit through a pipeline; the master control unit comprises a control module, a screen and a visual operation interface, and completes the detection of automatic gas distribution and breath sampling analysis quality according to the inspection requirements input by the screen and the visual operation interface.
10. A quality inspection system for a breath analyzer, comprising: the quality monitoring system of the breath analyzer is composed of an automatic air distribution unit, an expiration sampling quality inspection unit, an expiration analysis quality inspection unit and a master control unit; the automatic gas distribution unit comprises at least two gas distribution pipelines and a flow sensor, each gas distribution pipeline is connected to the flow sensor in parallel, a branch is arranged between each gas distribution pipeline and the flow sensor, and an electromagnetic valve is arranged on each branch; the breath sampling quality inspection unit comprises a pressure sensor, and the pressure sensor is connected with an air outlet of the automatic air distribution unit through a pipeline; the master control unit comprises a control module, a screen and a visual operation interface, and completes the detection of automatic gas distribution and breath sampling analysis quality according to the inspection requirements input by the screen and the visual operation interface.
CN201911261066.5A2019-12-102019-12-10Quality inspection system of exhale analyzerActiveCN110763810B (en)

Priority Applications (1)

Application NumberPriority DateFiling DateTitle
CN201911261066.5ACN110763810B (en)2019-12-102019-12-10Quality inspection system of exhale analyzer

Applications Claiming Priority (1)

Application NumberPriority DateFiling DateTitle
CN201911261066.5ACN110763810B (en)2019-12-102019-12-10Quality inspection system of exhale analyzer

Publications (2)

Publication NumberPublication Date
CN110763810Atrue CN110763810A (en)2020-02-07
CN110763810B CN110763810B (en)2024-03-15

Family

ID=69341458

Family Applications (1)

Application NumberTitlePriority DateFiling Date
CN201911261066.5AActiveCN110763810B (en)2019-12-102019-12-10Quality inspection system of exhale analyzer

Country Status (1)

CountryLink
CN (1)CN110763810B (en)

Cited By (6)

* Cited by examiner, † Cited by third party
Publication numberPriority datePublication dateAssigneeTitle
CN111595609A (en)*2020-06-192020-08-28中国计量科学研究院 A respiratory rhythm generating device, detection system and detection method thereof
CN113504361A (en)*2021-01-192021-10-15广州瑞普医疗科技有限公司Automatic detection method and system
CN114200087A (en)*2021-12-152022-03-18杭州汇健科技有限公司 A breath tester and method of using the same
CN116256328A (en)*2021-12-102023-06-13辐瑞森生物科技(昆山)有限公司 A dual-mode multi-gas breath analyzer and a dual-mode multi-gas breath analysis method
CN117783436A (en)*2023-12-272024-03-29恩迈智能数字医疗(嘉兴)有限公司 Breath detection device and detection method
CN119423738A (en)*2024-11-052025-02-14中国科学院合肥物质科学研究院 A human body breathing heat metabolism detection device and method based on piston cylinder

Citations (17)

* Cited by examiner, † Cited by third party
Publication numberPriority datePublication dateAssigneeTitle
JPH11174051A (en)*1997-12-151999-07-02Hitachi Tokyo Electron Co LtdExpired gas analyzing device and method
CN101354394A (en)*2008-09-082009-01-28无锡尚沃生物科技有限公司Expiration nitric oxide detection device
CN102937617A (en)*2012-08-132013-02-20尚沃医疗电子无锡有限公司Self-calibration exhaled gas analysis device
JP2013144104A (en)*2011-12-162013-07-25Minato Ikagaku KkExpiration gas analyzer
EP2664918A1 (en)*2012-05-182013-11-20Sentech Korea CorporationBreath analyzer and detachable alcohol sensor module
KR20140012233A (en)*2012-07-192014-02-03주식회사 티테크Apparatus for analysing air-ingredient of portable air respirator
CN203561610U (en)*2013-10-162014-04-23无锡市尚沃医疗电子股份有限公司Self-calibrated expiration nitrogen monoxide analyzer
CN104634951A (en)*2015-02-162015-05-20潘卫江Breath alcohol tester capable of displaying measuring processes and method for measuring breath alcohol
CN204855490U (en)*2015-07-312015-12-09湖北大学Multi -functional gas sensor test system
CN205749438U (en)*2016-05-132016-11-30国家电网公司Wide area dynamic gas mixer is used in the verification of sulfur hexafluoride analyser
CN106289889A (en)*2016-08-302017-01-04无锡市尚沃医疗电子股份有限公司A kind of boil on the nape opposite the mouth is sampled and analytical equipment with nose expiration molecule simultaneously
CN106645587A (en)*2017-01-162017-05-10清华大学Gas sensor evaluation and calibration system
CN107290514A (en)*2017-06-102017-10-24汉威科技集团股份有限公司Possess the alcohol content tester and its automatic calibration method of automatic Calibration function
CN207336479U (en)*2017-09-192018-05-08河南省日立信股份有限公司Mobile gas tester calibrating apparatus
WO2019115473A1 (en)*2017-12-112019-06-20Institut National De La Sante Et De La Recherche Medicale (Inserm)Breathing simulator and method for calibrating a gas analyzer with such a breathing simulator
CN110058054A (en)*2018-01-182019-07-26张晨光A kind of calibrating installation and method of respiration measurement equipment
CN211478225U (en)*2019-12-102020-09-11无锡市尚沃医疗电子股份有限公司Quality inspection device of breath analyzer

Patent Citations (17)

* Cited by examiner, † Cited by third party
Publication numberPriority datePublication dateAssigneeTitle
JPH11174051A (en)*1997-12-151999-07-02Hitachi Tokyo Electron Co LtdExpired gas analyzing device and method
CN101354394A (en)*2008-09-082009-01-28无锡尚沃生物科技有限公司Expiration nitric oxide detection device
JP2013144104A (en)*2011-12-162013-07-25Minato Ikagaku KkExpiration gas analyzer
EP2664918A1 (en)*2012-05-182013-11-20Sentech Korea CorporationBreath analyzer and detachable alcohol sensor module
KR20140012233A (en)*2012-07-192014-02-03주식회사 티테크Apparatus for analysing air-ingredient of portable air respirator
CN102937617A (en)*2012-08-132013-02-20尚沃医疗电子无锡有限公司Self-calibration exhaled gas analysis device
CN203561610U (en)*2013-10-162014-04-23无锡市尚沃医疗电子股份有限公司Self-calibrated expiration nitrogen monoxide analyzer
CN104634951A (en)*2015-02-162015-05-20潘卫江Breath alcohol tester capable of displaying measuring processes and method for measuring breath alcohol
CN204855490U (en)*2015-07-312015-12-09湖北大学Multi -functional gas sensor test system
CN205749438U (en)*2016-05-132016-11-30国家电网公司Wide area dynamic gas mixer is used in the verification of sulfur hexafluoride analyser
CN106289889A (en)*2016-08-302017-01-04无锡市尚沃医疗电子股份有限公司A kind of boil on the nape opposite the mouth is sampled and analytical equipment with nose expiration molecule simultaneously
CN106645587A (en)*2017-01-162017-05-10清华大学Gas sensor evaluation and calibration system
CN107290514A (en)*2017-06-102017-10-24汉威科技集团股份有限公司Possess the alcohol content tester and its automatic calibration method of automatic Calibration function
CN207336479U (en)*2017-09-192018-05-08河南省日立信股份有限公司Mobile gas tester calibrating apparatus
WO2019115473A1 (en)*2017-12-112019-06-20Institut National De La Sante Et De La Recherche Medicale (Inserm)Breathing simulator and method for calibrating a gas analyzer with such a breathing simulator
CN110058054A (en)*2018-01-182019-07-26张晨光A kind of calibrating installation and method of respiration measurement equipment
CN211478225U (en)*2019-12-102020-09-11无锡市尚沃医疗电子股份有限公司Quality inspection device of breath analyzer

Non-Patent Citations (1)

* Cited by examiner, † Cited by third party
Title
肖小玉;黄善洛;陈淑靖;宋元林;金庆辉;赵建龙;: "一种基于压力传感器的穿戴式呼吸监测系统设计", no. 02, pages 126 - 129*

Cited By (6)

* Cited by examiner, † Cited by third party
Publication numberPriority datePublication dateAssigneeTitle
CN111595609A (en)*2020-06-192020-08-28中国计量科学研究院 A respiratory rhythm generating device, detection system and detection method thereof
CN113504361A (en)*2021-01-192021-10-15广州瑞普医疗科技有限公司Automatic detection method and system
CN116256328A (en)*2021-12-102023-06-13辐瑞森生物科技(昆山)有限公司 A dual-mode multi-gas breath analyzer and a dual-mode multi-gas breath analysis method
CN114200087A (en)*2021-12-152022-03-18杭州汇健科技有限公司 A breath tester and method of using the same
CN117783436A (en)*2023-12-272024-03-29恩迈智能数字医疗(嘉兴)有限公司 Breath detection device and detection method
CN119423738A (en)*2024-11-052025-02-14中国科学院合肥物质科学研究院 A human body breathing heat metabolism detection device and method based on piston cylinder

Also Published As

Publication numberPublication date
CN110763810B (en)2024-03-15

Similar Documents

PublicationPublication DateTitle
CN110763810B (en)Quality inspection system of exhale analyzer
US5303712A (en)Calibration method for single-breath carbon monoxide lung diffusing capacity test system
Graham et al.Executive Summary: 2017 ERS/ATS standards for single-breath carbon monoxide uptake in the lung
CN101547716B (en)Side-stream respiratory gas monitoring system and method
US4233842A (en)Apparatus for measurement of expiration fluids
CN209629654U (en) A human body exhaled gas sampling and metabolic analysis device
JPH0363035A (en)Metabolism monitoring and its device
CN101393199A (en)Breath detection device
Jensen et al.Diffusing capacity: how to get it right
CN211478225U (en)Quality inspection device of breath analyzer
CN111999375A (en)Exhaled volatile organic compound quantification method based on real-time online mass spectrometry
CN110554028B (en)Gas detection method and gas detection system based on same
CN205228892U (en)Last sampling device of exhaling
CN115886784B (en) A test system and test device for a diffusion spirometer
CN101158676B (en)Analysis method and device for evaluating blood and crucifixes oxygen carrying and oxygen releasing function thereof
CN104391087B (en)A kind of moisture is exhaled and is measured Exhaled nitric oxide concentration method and device
CN118697325A (en) A mixed cavity type human energy metabolism detection device and method
CN114403853B (en)Portable dispersion residual qi lung function tester
CN117462112A (en)Resting metabolic rate detection equipment and detection device
US20060000256A1 (en)System for testing performance of medical gas or vapor analysis apparatus
Feenstra et al.Design and validation of an automatic metabolic monitor
EP3509488A1 (en)System for controlled and selective sampling of exhaled air and corresponding operating procedure
CN210742134U (en)Gas detection system
CN108186019A (en)A kind of Exhaled nitric oxide measuring method for not needing to control expiratory gas flow
JP6140404B2 (en) Calibration of the delay time of the breath gas analyzer

Legal Events

DateCodeTitleDescription
PB01Publication
PB01Publication
SE01Entry into force of request for substantive examination
SE01Entry into force of request for substantive examination
GR01Patent grant
GR01Patent grant

[8]ページ先頭

©2009-2025 Movatter.jp